ГОСТ 30196-94
МЕЖГОСУДАРСТВЕННЫЙ СТАНДАРТ
ГОЛОВКИ КОЛОННЫЕ
ТИПЫ, ОСНОВНЫЕ ПАРАМЕТРЫ И ПРИСОЕДИНИТЕЛЬНЫЕ
РАЗМЕРЫ
МЕЖГОСУДАРСТВЕННЫЙ СОВЕТ
ПО СТАНДАРТИЗАЦИИ, МЕТРОЛОГИИ И СЕРТИФИКАЦИИ
МИНСК
Предисловие
1 РАЗРАБОТАН Азербайджанским научно-исследовательским и проектно-конструкторским институтом нефтяного машиностроения (АзинМАШ) Государственной компании «АЗНЕФТЕХИММАШ» Азербайджанской Республики
ВНЕСЕН Техническим секретариатом Межгосударственного Совета по стандартизации, метрологии и сертификации
2 ПРИНЯТ Межгосударственным Советом по стандартизации, метрологии и сертификации (протокол № 10 от 4 октября 1996 г.)
За принятие проголосовали:
|
Наименование государства |
Наименование национального органа по стандартизации |
|
Азербайджанская Республика |
Азгосстандарт |
|
Республика Беларусь |
Госстандарт Беларуси |
|
Республика Казахстан |
Госстандарт Республики Казахстан |
|
Киргизская Республика |
Киргизстандарт |
|
Республика Молдова |
Молдовастандарт |
|
Российская Федерация |
Госстандарт России |
|
Туркменистан |
Главная государственная инспекция Туркменистана |
|
Республика Узбекистан |
Узгосстандарт |
|
Украина |
Госстандарт Украины |
Настоящий стандарт соответствует стандарту Американского нефтяного института (США) API Spec 6A «Спецификация на устьевое оборудование и фонтанную арматуру», Издание 16, 1989 г., раздел 906 и 907 в части типов, основных параметров и присоединительных размеров колонных головок
3 Постановлением Государственного комитета Российской Федерации по стандартизации и метрологии от 26 марта 1999 г. № 93 межгосударственный стандарт ГОСТ 30196-94 введен в действие непосредственно в качестве государственного стандарта Российской Федерации с 1 января 2001 г.
4 ВЗАМЕН СТ СЭВ 4353-83
Введение
Настоящий межгосударственный стандарт предусматривает идентификацию основных параметров и присоединительных размеров колонных головок с принятыми в международной практике.
В отличие от ранее действовавших стандартов аналогичного содержания (ОСТ 26-02-775-73 и СТ СЭВ 4353-83) настоящий стандарт предусматривает расширение номенклатуры типоразмеров колонных головок и состава гармонизированных параметров в качестве нормативного обеспечения разработки, производства и эксплуатации колонных головок, в том числе и для целей сертификации.
ГОСТ 30196-94
МЕЖГОСУДАРСТВЕННЫЙ СТАНДАРТ
|
ГОЛОВКИ КОЛОННЫЕ Типы, основные параметры и присоединительные размеры Gasing
heads. |
Дата введения 2001-01-01
Настоящий стандарт распространяется на колонные головки - составные части устьевых колонных обвязок нефтяных и газовых скважин.
Стандарт не распространяется на колонные головки скважин с подводным расположением устья, а также на колонные головки, разработанные до введения настоящего стандарта, если их техническая документация не соответствует настоящему стандарту.
Требования настоящего стандарта гармонизированы со стандартом Американского нефтяного института (США) API Spec 6A. Объем гармонизации требований стандарта приведен в приложении А.
Стандарт пригоден для целей сертификации.
Обязательные требования к качеству продукции, обеспечивающие ее безопасность для жизни, здоровья и имущества населения, охраны окружающей среды, изложены в 4.2.2 - 4.2.3.1; 4.3.3.1; 4.3.4; 4.3.6 и 4.3.7 и должны рассматриваться совместно с требованиями ГОСТ 12.2.132.
В настоящем стандарте использованы ссылки на следующие стандарты:
ГОСТ 12.2.132-93 Система стандартов безопасности труда. Оборудование нефтепромысловое устьевое добычное. Требования безопасности
ГОСТ 632-80 Трубы обсадные и муфты к ним
ГОСТ 633-80 Трубы насосно-компрессорные и муфты к ним
ГОСТ 28919-91 Фланцевые соединения устьевого оборудования. Типы, основные параметры и размеры
ГОСТ 28996-91 Оборудование нефтепромысловое устьевое. Термины и определения.
3.1 В настоящем стандарте применяют термины и определения, касающиеся устьевого оборудования, по ГОСТ 28996 со следующими дополнениями:
3.1.1 Верхний уплотнитель: устьевой уплотнитель обсадной колонны, закрепляемой в трубодержателе колонной головки.
Примечание - Верхний уплотнитель конструктивно может быть объединен с трубодержателем.
3.1.2 нижний уплотнитель: Устьевой уплотнитель обсадной колонны, конец которой входит в нижнюю часть двухфланцевой колонной головки.
3.1.3 диаметр стволового прохода: Диаметр самого узкого участка стволового прохода, ограничивающего возможность пропуска через него скважинного оборудования - приборов, инструмента, приспособлений.
3.1.4 обсадная колонна в основании колонной головки: Колонна обсадных труб, на которой установлена однофланцевая колонная головка или которая уплотняется нижним уплотнителем двухфланцевой колонной головки.
3.1.5 полнопроходная колонная головка: Колонная головка, диаметр стволового прохода которой соответствует условию прохождения через него шаблона для проверки внутреннего диаметра труб обсадной колонны в основании колонной головки.
3.1.6 неполнопроходная колонная головка: Колонная головка, диаметр стволового прохода которой меньше диаметра, соответствующего условию прохождения через него шаблона для проверки внутреннего диаметра труб обсадной колонны в основании колонной головки.
3.2 В настоящем стандарте применяют следующие обозначения:
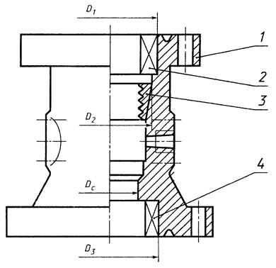
Dy - условный проход;
Рр - рабочее давление;
Dc - диаметр стволового прохода;
D1 - наибольший диаметр расточки верхнего стволового фланца;
D2 - наибольший наружный диаметр трубодержателя;
D3 - наибольший диаметр расточки нижнего стволового фланца.
4.1 Классификация
4.1.1 Колонные головки классифицируются:
а) по виду стволовых подсоединений корпуса:
- с фланцевым соединением;
- с хомутовым соединением (в настоящем стандарте не рассматриваются);
б) по количеству стволовых фланцев (рисунок 1):
- однофланцевая - тип ГК1;
- двухфланцевая - тип ГК2;
в) по виду трубодержателя:
К - клиньевая;
Р - резьбовая;
г) по количеству трубодержателей в одном корпусе:
- с одним трубодержателем (рисунок 1);
- с двумя и более трубодержателями (в настоящем стандарте не рассматриваются);
д) по соответствию стволового прохода внутреннему диаметру обсадной трубы в основании колонной головки:
- полнопроходная;
- неполнопроходная;
е) по виду элементов подсоединения к боковым отводам:
- с резьбовыми боковыми отводами;
- с фланцевыми боковыми отводами;
ж) по элементу подсоединения нижнего присоединительного конца корпуса однофланцевых колонных головок:
- с резьбовым присоединительным концом корпуса;
- с присоединительным концом корпуса, выполненным под приварку к обсадной колонне;
и) по конструкции резьбового присоединительного конца корпуса:
- с внутренней резьбой;
- с наружной резьбой;
к) по конструкции присоединительного конца корпуса, выполненного под приварку к обсадной колонне:
- с приваркой внутри корпуса;
- с приваркой снаружи корпуса (в настоящем стандарте не рассматривается);
л) по соотношению значений рабочих давлений стволовых фланцев двухфланцевых колонных головок:
- с равными значениями рабочих давлений;
- с разными значениями рабочих давлений;
м) по соотношению размеров стволовых фланцев двухфланцевых колонных головок:
- с одноразмерными фланцами;
- с разноразмерными фланцами.
Тип ГК1
Тип ГК2

1 - корпус; 2 - верхний уплотнитель; 3 - трубодержатель; 4 - нижний уплотнитель
Рисунок 1
Примечание - Колонные головки с одинаковыми условными проходами стволовых фланцев, но с разными значениями их рабочих давлений классифицируются как головки с разноразмерными фланцами.
4.2 Основные параметры
4.2.1 Основные параметры однофланцевых колонных головок должны соответствовать приведенным в таблице 1, а двухфланцевых - в таблице 2.
Таблица 1 - Основные параметры однофланцевых колонных головок
Размеры в миллиметрах
|
Рр, МПа |
Колонна обсадных труб по ГОСТ 632, на которую устанавливается колонная головка |
Dc, не менее |
Условный диаметр труб по ГОСТ 632 обсадной колонны, закрепляемой в трубодержателе |
|
||
|
Условный диаметр |
Толщина стенки* |
|
||||
|
(180) |
14 |
178 |
5,9 |
164 |
114; 127 |
|
|
21 |
6,9 |
162 |
|
|||
|
35 |
8,1 |
159 |
114 |
|
||
|
(230) |
14 |
194 |
7,6 |
176 |
114 - 140 |
|
|
21 |
8,3 |
175 |
|
|||
|
35 |
9,5 |
173 |
114; 127 |
|
||
|
14 |
219 |
6,7 |
204 |
114 - 146 |
|
|
|
21 |
8,9 |
199 |
|
|||
|
35 |
10,2 |
197 |
|
|||
|
280 |
14 |
6,7 |
204 |
|
||
|
21 |
8,9 |
199 |
|
|||
|
35 |
10,2 |
197 |
|
|||
|
14; 21 |
245 |
8,9 |
224 |
114 - 178 |
|
|
|
35 |
12,0 |
217 |
|
|||
|
14; 21 |
273 |
8,9 |
252 |
114 - 194 |
|
|
|
35 |
11,4 |
247 |
|
|||
|
350 |
14; 21 |
299 |
9,5 |
276 |
140 - 219 |
|
|
35 |
12,4 |
271 |
|
|||
|
14 |
324 |
9,5 |
302 |
140 - 245 |
|
|
|
21 |
11,0 |
299 |
|
|||
|
35 |
12,4 |
296 |
|
|||
|
14 |
340 |
9,7 |
317 |
|
||
|
21 |
10,9 |
315 |
|
|||
|
35 |
13,1 |
310 |
|
|||
|
14 |
351 |
10,0 |
327 |
140 - 273 |
|
|
|
21 |
11,0 |
325 |
|
|||
|
35 |
13,0 |
321 |
140 - 245 |
|
||
|
425 |
14 |
377 |
10,0 |
353 |
194 - 299 |
|
|
21 |
12,0 |
349 |
194 - 273 |
|
||
|
35 |
13,0 |
347 |
|
|||
|
14 |
406 |
9,5 |
383 |
194 - 324 |
|
|
|
21; 35 |
12,6 |
377 |
194 - 299 |
|
||
|
14 |
426 |
10,0 |
406 |
194 - 440 |
|
|
|
21; 35 |
12,0 |
398 |
|
|||
|
(480) |
35 |
406 |
12,6 |
377 |
219 - 299 |
|
|
426 |
12,0 |
398 |
219 - 340 |
|
||
|
473 |
11,1 |
447 |
219 - 377 |
|
||
|
540 |
14; 21; 35 |
273 - 377 |
||||
|
508 |
11,1 |
482 |
|
|||
|
530 |
12,0 |
502 |
273 - 426 |
|
||
|
680 |
14; 21 |
560 |
12,0 |
531 |
340 - 426 |
|
|
630 |
12,0 |
601 |
340 - 530 |
|
||
|
660 |
12,0 |
631 |
340 - 560 |
|
||
|
760 |
14 |
720 |
12,0 |
691 |
406 - 630 |
|
|
* Наименьшая толщина стенки колонн обсадных труб, которая соответствует параметрам колонной головки. Примечание - В ГОСТ 632 не предусмотрены обсадные трубы с условным диаметром более 508 мм, а также с условными диаметрами 351 и 377 мм и толщиной стенки 13 мм. |
|
|||||
Таблица 2 - Основные параметры двухфланцевых колонных головок
Размеры в миллиметрах
|
Колонна обсадных труб по ГОСТ 632, уплотняемая нижним уплотнителем |
Dc, не менее |
Условный диаметр труб по ГОСТ 632 обсадной колонны, закрепляемой в трубодержателе |
|||||
|
верхний |
нижний |
||||||
|
Dу |
Рр, МПа |
Dу |
Рр, МПа |
Условный диаметр |
Толщина стенки* |
||
|
280 |
14 |
280 |
14 |
178 |
5,9 |
164 |
114; 127 |
|
194 |
7,6 |
176 |
114 - 140 |
||||
|
350 |
219 |
6,7 |
204 |
114 - 146 |
|||
|
245 |
8,9 |
224 |
114 - 178 |
||||
|
273 |
252 |
114 - 194 |
|||||
|
425 |
299 - 351 |
- |
252** |
||||
|
21 |
280 |
21 |
178 |
6,9 |
162 |
114; 127 |
|
|
194 |
7,6 |
176 |
114 - 140 |
||||
|
350 |
14 |
219 |
6,7 |
204 |
114 - 146 |
||
|
245 |
8,9 |
224 |
114 - 178 |
||||
|
273 |
8,9 |
252 |
114 - 194 |
||||
|
21 |
219 |
8,9 |
199 |
114 - 146 |
|||
|
245 |
8,9 |
224 |
114 - 178 |
||||
|
273 |
8,9 |
252 |
114 - 194 |
||||
|
425 |
14 |
299 - 351 |
- |
252** |
|||
|
21 |
299 - 340 |
||||||
|
35 |
280 |
21 |
178 |
6,9 |
162 |
114; 127 |
|
|
194 |
8,3 |
175 |
114 - 140 |
||||
|
35 |
178 |
8,1 |
160 |
114; 127 |
|||
|
194 |
9,5 |
173 |
|||||
|
21 |
219 |
8,9 |
199 |
114 - 146 |
|||
|
350 |
245 |
224 |
114 - 178 |
||||
|
273 |
8,9 |
252 |
114 - 194 |
||||
|
35 |
219 |
10,2 |
197 |
114 - 146 |
|||
|
245 |
12,0 |
217 |
114 - 178 |
||||
|
425 |
21 |
299 - 340 |
- |
247** |
114 - 194 |
||
|
35 |
273; 299 |
||||||
|
70 |
280 |
178 |
8,1 |
159 |
114 |
||
|
194 |
9,5 |
173 |
114; 127 |
||||
|
70 |
10,9 |
170 |
|||||
|
350 |
35 |
219 |
10,2 |
197 |
114 - 146 |
||
|
245 |
12,0 |
217 |
114 - 178 |
||||
|
70 |
219 |
11,4 |
194 |
114 - 146 |
|||
|
245 |
13,8 |
214 |
114 - 168 |
||||
|
425 |
35 |
273 - 299 |
- |
247** |
114 - 194 |
||
|
(480) |
324 - 377 |
||||||
|
105 |
280 |
70 |
178 |
10,4 |
155 |
114 |
|
|
194 |
10,9 |
170 |
114; 127 |
||||
|
105 |
178 |
13,7 |
148 |
114 |
|||
|
194 |
13,7 |
164 |
114; 127 |
||||
|
350 |
70 |
219 |
11,4 |
194 |
114 - 146 |
||
|
245 |
13,8 |
214 |
114 - 168 |
||||
|
105 |
219 |
14,2 |
189 |
114 - 140 |
|||
|
245 |
13,8 |
214 |
114 - 168 |
||||
|
425 |
70 |
273 |
242 |
114 - 178 |
|||
|
299 |
- |
245** |
114 - 194 |
||||
|
(480) |
70 |
324 - 377 |
|||||
|
140 |
280 |
105 |
178 |
13,7 |
148 |
114 |
|
|
194 |
164 |
114; 127 |
|||||
|
140 |
178 |
148 |
114 |
||||
|
194 |
164 |
114; 127 |
|||||
|
350 |
105 |
219 |
14,2 |
189 |
114 - 140 |
||
|
245 |
13,8 |
214 |
114 - 168 |
||||
|
350 |
14 |
350 |
14 |
219 |
6,7 |
204 |
127 - 146 |
|
245 |
8,9 |
224 |
127 - 178 |
||||
|
273 |
252 |
127 - 194 |
|||||
|
21 |
21 |
219 |
199 |
127 - 146 |
|||
|
245 |
224 |
127 - 178 |
|||||
|
273 |
252 |
127 - 194 |
|||||
|
425 |
14 |
299 |
9,5 |
276 |
140 - 219 |
||
|
324 |
302 |
140 - 245 |
|||||
|
340 |
9,7 |
317 |
|||||
|
351 |
- |
312** |
|||||
|
21 |
299 |
9,5 |
276 |
140 - 219 |
|||
|
324 |
11,0 |
299 |
140 - 245 |
||||
|
340 |
10,9 |
315 |
|||||
|
540 |
14 |
377 - 426 |
- |
312** |
|||
|
21 |
351 - 426 |
||||||
|
35 |
350 |
35 |
219 |
10,2 |
197 |
127 - 146 |
|
|
245 |
12,0 |
217 |
127 - 178 |
||||
|
425 |
21 |
299 |
9,5 |
276 |
140 - 219 |
||
|
324 |
11,0 |
299 |
140 - 245 |
||||
|
340 |
9,7 |
317 |
|||||
|
35 |
273 |
11,4 |
247 |
140 - 194 |
|||
|
299 |
12,4 |
271 |
140 - 219 |
||||
|
(480) |
324 |
296 |
140 - 245 |
||||
|
340 |
13,1 |
310 |
|||||
|
351; 377 |
- |
310** |
|||||
|
540 |
21 |
351 - 426 |
|||||
|
70 |
425 |
35 |
273 |
11,4 |
247 |
140 - 194 |
|
|
299 |
12,4 |
271 |
140 - 219 |
||||
|
70 |
273 |
13,8 |
242 |
140 - 178 |
|||
|
299 |
12,4 |
271 |
140 - 219 |
||||
|
(480) |
35 |
324 |
296 |
140 - 245 |
|||
|
340 - 377 |
- |
310** |
|||||
|
70 |
324 |
12,4 |
296 |
||||
|
340 - 377 |
- |
310** |
|||||
|
540 |
35 |
324 |
12,4 |
296 |
|||
|
340 - 406 |
- |
310** |
|||||
|
105 |
425 |
70 |
273 |
13,8 |
242 |
140 - 178 |
|
|
299 |
12,4 |
271 |
140 - 219 |
||||
|
(480) |
324 |
296 |
140 - 245 |
||||
|
34 - 406 |
- |
310** |
|||||
|
425 |
21 |
540 |
14 |
377 |
10,0 |
353 |
194 - 299 |
|
406 |
9,5 |
383 |
194 - 324 |
||||
|
426 |
- |
390** |
|||||
|
680 |
473 - 560 |
||||||
|
35 |
540 |
21 |
351 |
11,0 |
325 |
194 - 273 |
|
|
377 |
12,0 |
349 |
|||||
|
406 |
12,6 |
377 |
194 - 299 |
||||
|
426 |
- |
385** |
194 - 324 |
||||
|
680 |
473 - 560 |
||||||
|
70 |
540 |
35 |
324 |
12,4 |
296 |
194 - 245 |
|
|
340 |
13,1 |
310 |
|||||
|
351 |
13,0 |
321 |
|||||
|
377 |
347 |
194 - 273 |
|||||
|
406 |
12,6 |
377 |
194 - 299 |
||||
|
(480) |
35 |
21 |
351 |
11,0 |
325 |
219 - 273 |
|
|
377 |
12,0 |
349 |
|||||
|
406 |
12,6 |
377 |
219 - 299 |
||||
|
426 |
12,0 |
398 |
219 - 340 |
||||
|
680 |
473 - 560 |
- |
446** |
219 - 377 |
|||
|
70 |
540 |
35 |
406 |
12,6 |
377 |
219 - 299 |
|
|
426 |
12,0 |
398 |
219 - 340 |
||||
|
540 |
21 |
680 |
14 |
473 |
-11,1 |
447 |
273 - 377 |
|
508 |
482 |
||||||
|
530 - 560 |
- |
482** |
|||||
|
760 |
14 |
600 - 630 |
|||||
|
35 |
680 |
21 |
473 |
-11,1 |
447 |
273 - 377 |
|
|
508 |
482 |
||||||
|
530 - 560 |
- |
495** |
273 - 426 |
||||
|
680 |
21 |
760 |
14 |
600 |
12,0 |
571 |
340 - 508 |
|
630 |
601 |
340 - 530 |
|||||
|
* Наименьшая толщина стенки колонн обсадных труб, которая соответствует параметрам колонной головки. ** Размеры неполнопроходных колонных головок рекомендуемые. Примечание - В ГОСТ 632 не предусмотрены обсадные трубы с условным диаметром свыше 508 мм, а также с условными диаметрами 351 и 377 мм, толщиной стенки 13 мм и с условными диаметрами 178 и 194 мм, толщиной стенки 13,7 мм. |
|||||||
Примечания
1 Размеры, указанные в скобках, менее предпочтительны.
2 В таблицах 1 и 2 приведены параметры полнопроходных колонных головок. Неполнопроходные двухфланцевые колонные головки, параметры которых приведены в таблице 2, могут использоваться, например, при исключении в процессе строительства нефтяной или газовой скважины одной из предусмотренных в ее проекте промежуточных обсадных колонн.
3 Условия назначения диаметра стволового прохода Dc полнопроходных колонных головок приведены в приложении Б.
4.2.2 Корпуса колонных головок, включая их боковые отводы, должны быть рассчитаны на опрессовку пробным давлением Рпр в соответствии с таблицей 3 - в зависимости от значения рабочего давления Рр верхнего фланца. Исключение составляет нижняя часть корпуса двухфланцевых колонных головок с разными значениями рабочих давлений Рр для верхнего и нижнего фланцев. В этом случае полость корпуса ниже нижнего уплотнителя должна быть рассчитана на опрессовку пробным давлением Рпр, соответствующим в таблице 3 рабочему давлению Рр нижнего фланца.
Таблица 3
|
Пробное давление Рпр при рабочем давлении Рр, МПа |
||||||
|
14 |
21 |
35 |
70 |
105 |
140 |
|
|
До 350 |
2Рр |
1,5Рр |
||||
|
Св. 35 |
1,5Рр |
2Рр |
||||
4.2.3 Трубодержатель колонной головки должен быть рассчитан на нагрузку, передаваемую обсадной колонной, закрепленной в трубодержателе, а в случае его конструктивного объединения с верхним уплотнителем - также и на восприятие усилий от давления скважиной среды на верхний уплотнитель.
При этом вызываемая им деформация, приводящая к уменьшению внутреннего диаметра обсадной трубы, закрепленной в трубодержателе, не должна препятствовать прохождению через нее шаблона для проверки ее внутреннего диаметра.
а) от полной массы обсадной колонны;
б) от веса обсадной колонны с наибольшей толщиной стенки для рассматриваемого условного диаметра, за вычетом выталкивающей силы гидростатического столба жидкости в скважине;
в) по другой методике, используемой изготовителем.
4.2.4 Условные обозначения колонных головок - по приложению В.
4.3 Присоединительные размеры
4.3.1 Фланцы колонных головок должны соответствовать ГОСТ 28919.
4.3.2 Резьба нижнего присоединительного резьбового конца корпуса однофланцевой колонной головки должна соответствовать короткой треугольной резьбе обсадных труб по ГОСТ 632.
По требованию заказчика может быть изготовлена резьба другого типа (другое соединение) по ГОСТ 632 или по иному стандарту.
4.3.3 Корпуса колонных головок должны иметь по два соосных боковых отвода, имеющих присоединительные элементы в виде резьбы по ГОСТ 633 или в виде фланцев.
4.3.4 Наибольшие диаметры расточки верхнего стволового фланца D1 и трубодержателя D2 приведены в таблице 4.
Таблица 4 - Диаметры расточки верхнего фланца
Размеры в миллиметрах
|
Dу |
Рр, МПа |
D1 |
D2 |
|
180 |
14; 21; 35 |
181,8 |
178,05 |
|
230 |
14; 21; 35 |
229,4 |
226,90 |
|
280 |
14; 21; 35; 70; 105; 140 |
280,2 |
277,32 |
|
350 |
14; 21; 35; 70; 105 |
346,9 |
343,48 |
|
425 |
14; 21; 35; 70 |
426,2 |
422,28 |
|
480 |
35; 70 |
477,0 |
473,08 |
|
540 |
14; 35 |
540,5 |
536,58 |
|
21 |
527,8 |
523,88 |
|
|
680 |
14; 21 |
680,2 |
(676,28) |
|
760 |
14 |
762,8 |
(758,88) |
|
Примечание - Значения, приведенные в скобках, следует рассматривать как ориентировочные. |
|||
4.3.5 Рекомендуемые диаметры расточки D3 нижнего стволового фланца под нижний уплотнитель приведены в таблице 5.
Таблица 5 - Диаметры расточки нижнего фланца
Размеры в миллиметрах
|
D3 |
||
|
Dу |
Рр, МПа |
|
|
280 |
14; 21 |
242,8 |
|
35 |
231,8 |
|
|
70; 105; (140) |
217,5 |
|
|
350 |
14; 21 |
296,9 |
|
35; 70; (105) |
283,5 |
|
|
425 |
14; 21 |
354,0 |
|
35; 70 |
346,1 |
|
|
480 |
35; 70 |
425,5 |
|
540 |
14; (35) |
443,0 |
|
(21) |
(431,8) |
|
|
680 |
(14; 21) |
(558,8) |
|
760 |
(14) |
(635,0) |
|
Примечания 1 Для значений рабочих давлений, приведенных в скобках, значения D3 следует рассматривать как ориентировочные. 2 Диаметры D3 под нижние уплотнители колонных головок приведены для колонных головок, верхний фланец которых имеет значение рабочего давления (Рр по таблице 3) на ступень выше, чем нижний. |
||
Таблица А.1
|
Наименование раздела настоящего стандарта |
Объем гармонизации стандартов |
Отличие настоящего стандарта от API 6A |
|
1 Область применения |
Стандарты гармонизированы в части одно- и двухфланцевых колонных головок |
- |
|
3 Определения |
Не достигнута полная гармонизация терминов и их определений, но определения терминов обоих стандартов взаимосвязаны |
В настоящем стандарте термин «полнопроходная колонная головка» имеет более широкое толкование (в стандарте API 6A аналогичный термин применен только для колонных головок с самым большим условным диаметром обсадной колонны в основании колонной головки конкретных параметров). Соответственно термин «неполнопроходная колонная головка» имеет более узкое толкование |
|
4.2 Основные параметры |
Гармонизированы основные параметры колонных головок: - условные проходы; - рабочие давления; - пробные давления; - диаметры стволового прохода колонных головок; - диаметры обвязываемых обсадных колонн |
В таблицах 1 и 2 дополнительно приведены сочетания основных параметров одно- и двухфланцевых колонных головок для всех условных диаметров колонн обсадных труб по ГОСТ 632 |
|
4.3 Присоединительные размеры |
Гармонизированы присоединительные размеры колонных головок: - фланцевые соединения; - присоединительные резьбы; - наибольшие диаметры трубодержателей; - диаметры расточки под нижний уплотнитель |
- |
|
- |
Дополнительно приведены условные обозначения колонных головок в метрической системе |
Б.1 Диаметр стволового прохода Dc может быть образован непосредственно расточкой в корпусе колонной головки или с помощью специальных приспособлений - направления долота, центрирующего кольца и пр.
Б.2 Диаметры стволового прохода полнопроходных колонных головок в таблицах 1 и 2 определены из условия, что в основании колонной головки применяется колонна обсадных труб по ГОСТ 632 с наименьшей толщиной стенки, соответствующей параметрам колонной головки, а диаметр Dc на 0,8 мм превышает диаметр шаблона по ГОСТ 632 для проверки внутреннего диаметра этих обсадных труб.
Б.3 В случае, если трубы обсадной колонны в основании колонной головки применяются с размерами, отличающимися от приведенных в таблицах 1 и 2 (большая толщина стенки или иной условный диаметр), - то для того, чтобы колонная головка соответствовала полнопроходной, ее диаметр стволового прохода Dc также должен на 0,8 мм превышать диаметр шаблона для проверки внутреннего диаметра этих обсадных труб.
В.1 Условное обозначение колонной головки в общем случае должно состоять из слов «Головка колонная», шифра, построенного по одной из приведенных ниже структурных схем, и обозначения нормативного документа на поставку.
В.2 Структурная схема построения шифров однофланцевых колонных головок:

1 - обозначение типа колонной головки по 4.1.1, перечисление «б»; 2 - обозначение вида трубодержателя - по 4.1.1, перечисление «в»; 3 - условный диаметр обсадной колонны, на которую устанавливается колонная головка; 4 - обозначение верхнего стволового фланца; 5 - условный диаметр обсадной колонны, закрепляемой в трубодержателе; 6 - исполнение в зависимости от условий применения (скважинной среды) - в соответствии с таблицей В.1 (для коррозионностойкого исполнения); 7 - обозначение предприятия-изготовителя (при необходимости).
Таблица В.1 - Обозначение коррозионностойкого исполнения колонных головок
|
Параметры скважинной среды |
|
|
К1 |
Среда с объемным содержанием СО2 до 6 % |
|
К2 |
Среда с объемным содержанием СО2 и H2S до 6 % |
|
К3 |
Среда с объемным содержанием СО2 и H2S до 25 % |
Примеры условных обозначений однофланцевых колонных головок:
устанавливаемой на обсадную колонну с условным диаметром 194 мм, со стволовым фланцем 280´14, с клиньевым трубодержателем под обсадную колонну с условным диаметром 146 мм обычного (некоррозионностойкого) исполнения:
Головка колонная ГК1К-194-280´14-146 ГОСТ 30196-94
То же, для коррозионностойкого исполнения К1:
Головка колонная ГК1К-194-280´14-146 К1 ГОСТ 30196-94
В.2.1 В шифре колонных головок, выполненных под приварку к обсадной колонне, после условного диаметра обсадной колонны, на которую устанавливается колонная головка, дополнительно указывают индекс «С».
Пример:
ГК1К-194 С-280´14-146
В.3 Структурная схема построения шифров двухфланцевых колонных головок:

1 - обозначение типа колонной головки по 4.1.1, перечисление «б»; 2 - обозначение вида трубодержателя по 4.1.1, перечисление «в»; 3 - обозначение нижнего стволового фланца; 4 - условный диаметр обсадной колонны, уплотняемой нижним уплотнителем; 5 - обозначение верхнего стволового фланца; 6 - условный диаметр обсадной колонны, закрепляемой в трубодержателе; 7 - исполнение в зависимости от условий применения (скважинной среды) - в соответствии с таблицей В.1 (для коррозионностойкого изделия); 8 - обозначение предприятия-изготовителя (при необходимости).
В.4 В шифрах колонных головок, у которых в резьбовом трубодержателе и (или) на нижнем присоединительном конце корпуса выполнены резьбы, отличающиеся от короткой треугольной резьбы по ГОСТ 632, перед обозначением условного диаметра соответствующей обсадной колонны должно быть приведено обозначение типа резьбы (соединения) обсадных труб.
Пример:
ГК1Р-У 194-280´35-ОТТМ 146
Примечание - В зависимости от производственной необходимости схема шифра может быть упрощена за счет сокращения отдельных составляющих структурной схемы, за исключением обозначения типа колонной головки, обозначения стволовых фланцев и условного диаметра колонны обсадных труб, на которой устанавливается однофланцевая колонная головка.
Примеры:
1 ГК1-194-280´14.
2 ГК1Р-194-280´14.
3 ГК2К-350´35-280´70 К2.
Ключевые слова: колонные головки, колонные обвязки, трубодержатель, условный проход, рабочее давление, пробное давление, условные диаметры колонн обсадных труб, диаметр стволового прохода, диаметр расточки верхнего стволового фланца, диаметр расточки нижнего стволового фланца, условные обозначения колонных головок
СОДЕРЖАНИЕ