Гост 31.1066.03-97
МЕЖГОСУДАРСТВЕННЫЙ СТАНДАРТ
Приспособления к металлорежущим станкам
ОПРАВКИ ЦЕНТРОВЫЕ ДЛЯ ТОЧНЫХ
РАБОТ
Общие технические условия
МЕЖГОСУДАРСТВЕННЫЙ СОВЕТ
ПО СТАНДАРТИЗАЦИИ, МЕТРОЛОГИИ И СЕРТИФИКАЦИИ
Минск
Предисловие
1 РАЗРАБОТАН Техническим комитетом по стандартизации ТК 224 «Технологическая оснастка»
ВНЕСЕН Госстандартом России
2 ПРИНЯТ Межгосударственным советом по стандартизации, метрологии и сертификации (протокол № 11 от 25 апреля 1997 г.)
За принятие проголосовали:
|
Наименование национального органа по стандартизации |
|
|
Азербайджанская Республика |
Азгосстандарт |
|
Республика Армения |
Армгосстандарт |
|
Республика Беларусь |
Госстандарт Беларуси |
|
Республика Казахстан |
Госстандарт Республики Казахстан |
|
Республика Молдова |
Молдовастандарт |
|
Российская Федерация |
Госстандарт России |
|
Республика Таджикистан |
Таджикгосстандарт |
|
Туркменистан |
Главная государственная инспекция Туркменистана |
|
Республика Узбекистан |
Узгосстандарт |
|
Украина |
Госстандарт Украины |
3 Постановлением Государственного комитета Российской Федерации по стандартизации, метрологии и сертификации от 27 ноября 1997 г. № 387 межгосударственный стандарт ГОСТ 31.1066.03-97 введен в действие непосредственно в качестве государственного стандарта Российской Федерации с 1 июля 1998 г.
4 ВЗАМЕН ГОСТ 16211-70, ГОСТ 16212-70, ГОСТ 16213-70
5 ПЕРЕИЗДАНИЕ
Гост 31.1066.03-97
МЕЖГОСУДАРСТВЕННЫЙ СТАНДАРТ
Приспособления к металлорежущим станкам
ОПРАВКИ ЦЕНТРОВЫЕ ДЛЯ ТОЧНЫХ РАБОТ
Общие технические условия
Attachments for metal-cutting tools.
Centre arbors for precision machining.
General specifications
Дата введения 1998-07-01
Настоящий стандарт распространяется на центровые оправки (далее - оправки), предназначенные для установки деталей с цилиндрическим базовым отверстием при точной обработке их на токарных, шлифовальных и других металлорежущих станках.
Требования настоящего стандарта являются обязательными, кроме раздела 4.
В настоящем стандарте использованы ссылки на следующие стандарты:
ГОСТ 9.014-78 Единая система защиты от коррозии и старения. Временная противокоррозионная защита изделий. Общие требования
ГОСТ 9.301-86 Единая система защиты от коррозии и старения. Покрытия металлические и неметаллические неорганические. Общие требования
ГОСТ 9.302-88 Единая система защиты от коррозии и старения. Покрытия металлические и неметаллические неорганические. Методы контроля
ГОСТ 9.306-85 Единая система защиты от коррозии и старения. Покрытия металлические и неметаллические неорганические. Обозначения
ГОСТ 515-77 Бумага упаковочная битумированная и дегтевая. Технические условия
ГОСТ 1435-99 Прутки, полосы и мотки из инструментальной нелегированной стали. Общие технические условия
ГОСТ 4543-71 Прокат из легированной конструкционной стали. Технические условия
ГОСТ 8820-69 Канавки для выхода шлифовального круга. Формы и размеры
ГОСТ 9012-59 Металлы. Метод измерения твердости по Бринеллю
ГОСТ 9378-93 Образцы шероховатости поверхности (сравнения). Общие технические условия
ГОСТ 14034-74 Отверстия центровые. Размеры
ГОСТ 14192-96 Маркировка грузов
ГОСТ 15150-69 Машины, приборы и другие технические изделия. Исполнения для различных климатических районов. Категории и условия эксплуатации, хранения и транспортирования в части воздействия климатических факторов внешней среды
ГОСТ 18617-83 Ящики деревянные для металлических изделий. Технические условия
ГОСТ 22267-76 Станки металлорежущие. Схемы и способы измерений геометрических параметров
ГОСТ 24597-81 Пакеты тарно-штучных грузов. Основные параметры и размеры
ГОСТ 24643-81 Основные нормы взаимозаменяемости. Допуски формы и расположения поверхностей. Числовые значения
3.1 Оправки должны изготавливаться по чертежам приложения А, трех типов:
1 - оправки конические центровые для деталей с базовым отверстием длиной до l,5d, изготовленным с полями допусков по Н6, G6, Js6, Н7, G7, Js7, Н8 и Н9;
2 - оправки цилиндрические центровые для деталей с базовым отверстием, изготовленным с полями допусков по Н6, G6, Js6, К6, М6, N6, Н7, G7, Js7, К7, М7, N7;
3 - оправки цилиндрические ступенчатые центровые для деталей с базовым отверстием, изготовленным с полями допусков по Н6, G6, Js6, К6, Н7, Js7, K7.
3.2 Материал для оправок диаметром d £ 20 мм - сталь марки У8А по ГОСТ 1435, для оправок диаметром d > 20 мм - сталь марки 20Х по ГОСТ 4543. Допускается замена на сталь других марок с механическими свойствами не ниже, чем у стали марок У8А и 20Х.
3.3 Твердость - 57 ... 63 HRCЭ. Оправки из стали марки 20Х цементировать на глубину h 1,2 ... 1,5 мм.
3.4 Покрытие - Хим. Окс. прм., кроме поверхностей оправок Б, В и Г. Обозначение покрытия - по ГОСТ 9.306.
Технические требования к неметаллическим неорганическим покрытиям - по ГОСТ 9.301.
3.5 Неуказанные предельные отклонения размеров: Н14, h14, ![]()
3.6 Допуски радиальных биений поверхностей оправок Б, В и Г относительно оси центров оправок - по 3-й степени точности ГОСТ 24643.
3.7 Форма и размеры канавок для выхода шлифовального круга - по ГОСТ 8820.
3.8 На поверхностях оправок не должно быть трещин, царапин, волосовин, забоин, вмятин, поджогов, окалины и коррозии.
3.9 Маркировка оправок должна содержать следующие данные:
- товарный знак предприятия-изготовителя;
- условное обозначение;
- размер d.
3.10 Для оправок диаметром до 20 мм маркировку следует наносить на таре или упаковке для партии одного типоразмера, а на оправке - только размер d.
3.11 Маркировку тары - по ГОСТ 14192, при этом на ящике дополнительно указывают:
- условное обозначение оправок одного типоразмера;
- количество оправок;
- дату упаковки.
3.12 Оправки должны быть упакованы в тару по ГОСТ 18617. Транспортная тара должна быть выложена изнутри упаковочной бумагой по ГОСТ 515.
При транспортировании в один адрес нескольких грузовых мест необходимо формировать их в транспортные пакеты по ГОСТ 24597.
3.13 Оправки должны быть подвергнуты консервации по ГОСТ 9.014 (II группа изделий).
Дата и срок сохраняемости без консервации должны быть указаны в эксплуатационной документации.
3.14 В каждый ящик должен быть вложен сопроводительный документ, в котором указаны:
- наименование или товарный знак предприятия-изготовителя;
- количество упакованных оправок;
- дата упаковки;
- штамп технического контроля предприятия-изготовителя.
3.15 Сопроводительный документ должен находиться в таре с оправками в отдельной влагонепроницаемой упаковке.
4.1 Для проверки соответствия оправок требованиям настоящего стандарта предприятие-изготовитель должно проводить приемосдаточные и периодические испытания.
4.2 При приемосдаточных испытаниях проверяют оправки на соответствие требованиям 3.2 - 3.11 настоящего стандарта.
При единичном производстве проверяют каждую оправку, при серийном - каждую десятую от партии, превышающей 10 шт.
Партией считают количество изделий, совместно прошедших производственный цикл и одновременно предъявляемых к приемке по одному документу. Результаты испытаний являются окончательными и распространяются на всю партию.
4.3 Периодические испытания проводят один раз в полгода. Периодическим испытаниям подвергают пять изделий от партии на соответствие пунктам, указанным для приемосдаточных испытаний.
5.1 Внешний вид оправок, наличие канавок для выхода шлифовального круга, а также требования 3.8 проверяют визуально.
5.2 Линейные и угловые размеры проверяют средствами измерений, обеспечивающими требуемую точность.
5.3 Методы контроля радиального биения - по ГОСТ 22267, разделы 15 и 16.
5.4 Шероховатость поверхностей оправок проверяют сравнением с образцами шероховатости по ГОСТ 9378 или измерением параметров шероховатости профилометром.
5.5 Контроль твердости - по ГОСТ 9012.
5.6 Методы контроля качества покрытий - по ГОСТ 9.302.
5.7 Маркировку оправок проверяют визуально.
6.1 Транспортирование оправок допускается всеми видами закрытых транспортных средств в соответствии с правилами перевозок грузов, действующими на конкретных видах транспорта.
6.2 Готовые оправки должны храниться в упакованном виде в сухом закрытом помещении. Условия хранения - по ГОСТ 15150.
7.1 Изготовитель гарантирует соответствие оправок требованиям настоящего стандарта при соблюдении условий транспортирования, хранения и эксплуатации.
7.2 Гарантийный срок эксплуатации - 12 мес со дня ввода оправки в эксплуатацию.
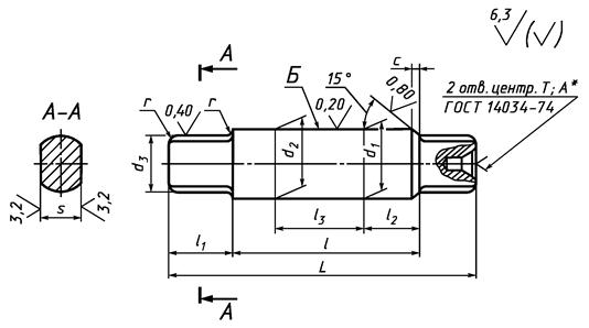
А.1 Оправки типа 1
А.1.1 Конструкция и размеры оправок типа 1 должны соответствовать указанным на рисунке А.1 и в таблицах А.1, А.2.
* Для d до 7,1 мм, где d - номинальный диаметр отверстия обрабатываемой детали.
Рисунок А.1
Таблица А.1
Размеры в миллиметрах
|
Уменьшение диаметра оправок на длине 100 мм |
Угол наклона |
|
|
От 3 до 6 |
0,055 |
56" |
|
Св. 6 « 18 |
0,050 |
52" |
|
« 18 |
0,040 |
42" |
Таблица А.2
Размеры в миллиметрах
|
Номер оправок |
Обозначение оправок |
Применяемость |
d |
L |
d1 |
d2 |
d3 |
l |
l1 |
l2 |
l3 |
S** d11 |
с |
r |
Масса, кг, не более |
||
|
js5 |
|||||||||||||||||
|
7110-0361 |
1 |
7110-0361-1 |
|
3,0 |
52 |
2,995 |
3,010 |
2,8 |
38 |
7 |
5 |
27 |
2,2 |
0,3 |
0,2 |
0,003 |
|
|
2 |
7110-0361-2 |
|
3,005 |
3,025 |
|||||||||||||
|
7110-0362 |
1 |
7110-0362-1 |
|
3,2 |
65 |
3,194 |
3,212 |
3,0 |
51 |
33 |
2,4 |
0,004 |
|||||
|
2 |
7110-0362-2 |
|
3,206 |
3,230 |
43 |
||||||||||||
|
7110-0363 |
1 |
7110-0363-1 |
|
3,6 |
3,594 |
3,612 |
3,2 |
6 |
33 |
2,5 |
0,6 |
0,005 |
|||||
|
2 |
7110-0363-2 |
|
3,606 |
3,630 |
43 |
||||||||||||
|
7110-0364 |
1 |
7110-0364-1 |
|
4,0 |
3,994 |
4,012 |
3,6 |
33 |
3,0 |
0,006 |
|||||||
|
2 |
7110-0364-2 |
|
4,006 |
4,030 |
43 |
||||||||||||
|
7110-0365 |
1 |
7110-0365-1 |
|
4,5 |
4,494 |
4,512 |
4,0 |
33 |
3,2 |
0,008 |
|||||||
|
2 |
7110-0365-2 |
|
4,506 |
4,530 |
43 |
||||||||||||
|
7110-0366 |
1 |
7110-0366-1 |
|
5,0 |
75 |
4,994 |
5,012 |
4,5 |
55 |
10 |
8 |
33 |
3,6 |
1,0 |
0,011 |
||
|
2 |
7110-0366-2 |
|
5,006 |
5,030 |
43 |
||||||||||||
|
7110-0367 |
1 |
7110-0367-1 |
|
5,6 |
5,594 |
5,612 |
5,0 |
33 |
4,0 |
0,014 |
|||||||
|
2 |
7110-0367-2 |
|
5,606 |
5,630 |
43 |
||||||||||||
|
7110-0368 |
1 |
7110-0368-1 |
|
6,3 |
90 |
6,293 |
6,315 |
5,6 |
70 |
9 |
44 |
4,5 |
0,4 |
0,018 |
|||
|
2 |
7117-0368-2 |
|
6,307 |
6,336 |
7 |
58 |
|||||||||||
|
7110-0369 |
1 |
7110-0369-1 |
|
7,1 |
7,093 |
7,115 |
6,3 |
72 |
12 |
12 |
44 |
5,0 |
0,025 |
||||
|
2 |
7110-0369-2 |
|
7,107 |
7,136 |
9 |
58 |
|||||||||||
|
7110-0370 |
1 |
7110-0370-1 |
|
8,0 |
7,993 |
8,015 |
7,1 |
12 |
44 |
6,0 |
1,6 |
0,6 |
0,032 |
||||
|
2 |
7110-0370-2 |
|
8,007 |
8,036 |
9 |
58 |
|||||||||||
|
7110-0371 |
1 |
7110-0371-1 |
|
9,0 |
95 |
8,993 |
9,015 |
8,0 |
15 |
44 |
0,045 |
||||||
|
2 |
7110-0371-2 |
|
9,007 |
9,036 |
10 |
58 |
|||||||||||
|
7110-0372 |
1 |
7110-0372-1 |
|
10,0 |
9,993 |
10,015 |
9,0 |
15 |
44 |
7,0 |
0,054 |
||||||
|
2 |
7110-0372-2 |
|
10,007 |
10,036 |
10 |
58 |
|||||||||||
|
7110-0373 |
1 |
7110-0373-1 |
|
11,0 |
105 |
10,991 |
11,018 |
10,0 |
78 |
14 |
18 |
54 |
8,0 |
0,072 |
|||
|
2 |
7110-0373-2 |
|
11,009 |
11,043 |
6 |
68 |
|||||||||||
|
7110-0374 |
1 |
7110-0374-1 |
|
12,0 |
11,991 |
12,018 |
11,0 |
18 |
54 |
0,085 |
|||||||
|
2 |
7110-0374-2 |
|
12,009 |
12,043 |
6 |
68 |
|||||||||||
|
7110-0375 |
1 |
7110-0375-1 |
|
13,0 |
12,991 |
13,018 |
20 |
54 |
2,5 |
1,0 |
0,097 |
||||||
|
2 |
7110-0375-2 |
|
13,009 |
13,043 |
6 |
68 |
|||||||||||
|
7110-0376 |
1 |
7110-0376-1 |
|
14,0 |
13,991 |
14,018 |
12,0 |
20 |
54 |
10,0 |
0,113 |
||||||
|
2 |
7110-0376-2 |
|
14,009 |
14,043 |
6 |
68 |
|||||||||||
|
7110-0377 |
1 |
7110-0377-1 |
|
15,0 |
125 |
14,991 |
15,018 |
13,0 |
93 |
16 |
24 |
54 |
10,0 |
2,5 |
1,0 |
0,156 |
|
|
2 |
7110-0377-2 |
|
15,009 |
15,043 |
15 |
68 |
|||||||||||
|
7110-0378 |
1 |
7110-0378-1 |
|
16,0 |
15,991 |
16,018 |
14,0 |
24 |
54 |
0,177 |
|||||||
|
2 |
7110-0378-2 |
|
16,009 |
16,043 |
15 |
68 |
|||||||||||
|
7110-0379 |
1 |
7110-0379-1 |
|
17,0 |
16,991 |
17,018 |
15,0 |
26 |
54 |
0,198 |
|||||||
|
2 |
7110-0379-2 |
|
17,009 |
17,043 |
15 |
68 |
|||||||||||
|
7110-0380 |
1 |
7110-0380-1 |
|
18,0 |
17,991 |
18,018 |
16,0 |
26 |
54 |
0,223 |
|||||||
|
2 |
7110-0380-2 |
|
18,009 |
18,043 |
15 |
68 |
|||||||||||
|
7110-0381 |
1 |
7110-0381-1 |
|
19,0 |
165 |
18,990 |
19,021 |
130 |
18 |
30 |
77 |
1,6 |
0,331 |
||||
|
2 |
7110-0381-2 |
|
19,010 |
19,052 |
20 |
105 |
|||||||||||
|
7110-0382 |
1 |
7110-0382-1 |
|
20,0 |
19,990 |
20,021 |
17,0 |
30 |
77 |
14,0 |
4,0 |
0,377 |
|||||
|
2 |
7110-0382-2 |
|
20,010 |
20,052 |
20 |
105 |
|||||||||||
|
7110-0383 |
1 |
7110-0383-1 |
|
21,0 |
20,990 |
21,021 |
18,0 |
32 |
77 |
0,415 |
|||||||
|
2 |
7110-0383-2 |
|
21,010 |
21,052 |
20 |
105 |
|||||||||||
|
7110-0384 |
1 |
7110-0384-1 |
|
22,0 |
21,990 |
22,021 |
19,0 |
32 |
77 |
0,455 |
|||||||
|
2 |
7117-0384-2 |
|
22,010 |
22,052 |
20 |
105 |
|||||||||||
|
7110-0385 |
1 |
7110-0385-1 |
|
24,0 |
170 |
23,990 |
24,021 |
20,0 |
135 |
36 |
77 |
17,0 |
0,558 |
||||
|
2 |
7110-0385-2 |
|
24,010 |
24,052 |
25 |
105 |
|||||||||||
|
7110-0386 |
1 |
7110-0386-1 |
|
25,0 |
24,990 |
25,021 |
22,0 |
38 |
77 |
0,613 |
|||||||
|
2 |
7110-0386-2 |
|
25,010 |
25,052 |
25 |
105 |
|||||||||||
|
7110-0387 |
1 |
7110-0387-1 |
|
26,0 |
25,990 |
26,021 |
38 |
77 |
0,656 |
||||||||
|
2 |
7110-0387-2 |
|
26,010 |
26,052 |
25 |
105 |
|||||||||||
|
7110-0388 |
1 |
7110-0388-1 |
|
28,0 |
185 |
27,990 |
28,021 |
25,0 |
140 |
22 |
42 |
77 |
20,0 |
0,829 |
|||
|
2 |
7110-0388-2 |
|
28,010 |
28,052 |
25 |
105 |
|||||||||||
|
7110-0389 |
1 |
7110-0389-1 |
|
30,0 |
29,990 |
30,021 |
42 |
77 |
0,929 |
||||||||
|
2 |
7110-0389-2 |
|
30,010 |
30,052 |
25 |
105 |
|||||||||||
|
7110-0390 |
1 |
7110-0390-1 |
|
32,0 |
215 |
31,988 |
32,025 |
28,0 |
170 |
48 |
92 |
6,0 |
1,247 |
||||
|
2 |
7110-0390-2 |
|
32,012 |
32,062 |
30 |
125 |
|||||||||||
|
7110-0391 |
1 |
7110-0391-1 |
|
34,0 |
33,988 |
34,025 |
48 |
92 |
1,386 |
||||||||
|
2 |
7110-0391-2 |
|
34,012 |
34,062 |
30 |
125 |
|||||||||||
|
7110-0392 |
1 |
7110-0392-1 |
|
36,0 |
230 |
35,988 |
36,025 |
32,0 |
180 |
25 |
55 |
92 |
24,0 |
1,713 |
|||
|
2 |
7110-0392-2 |
36,012 |
36,062 |
30 |
125 |
||||||||||||
|
7110-0393 |
1 |
7110-0393-1 |
|
38,0 |
37,988 |
38,025 |
55 |
92 |
6,0 |
1,874 |
|||||||
|
2 |
7110-0393-2 |
|
38,012 |
38,062 |
30 |
125 |
|||||||||||
|
7110-0394 |
1 |
7110-0394-1 |
|
40,0 |
240 |
39,988 |
40,025 |
36,0 |
185 |
28 |
60 |
92 |
28,0 |
2,5 |
2,218 |
||
|
2 |
7110-0394-2 |
|
40,012 |
40,062 |
45 |
125 |
|||||||||||
|
7110-0395 |
1 |
7110-0395-1 |
|
42,0 |
41,988 |
42,025 |
60 |
92 |
2,405 |
||||||||
|
2 |
7110-0395-2 |
|
42,012 |
42,062 |
45 |
125 |
|||||||||||
|
7110-0396 |
1 |
7110-0396-1 |
|
45,0 |
265 |
44,988 |
45,025 |
40,0 |
200 |
32 |
72 |
92 |
32,0 |
3,063 |
|||
|
2 |
7110-0396-2 |
|
45,012 |
45,062 |
45 |
125 |
|||||||||||
|
7110-0397 |
1 |
7110-0397-1 |
|
48,0 |
47,988 |
48,025 |
72 |
92 |
3,407 |
||||||||
|
2 |
7110-0397-2 |
|
48,012 |
48,062 |
45 |
125 |
|||||||||||
|
7110-0398 |
1 |
7110-0398-1 |
|
50,0 |
49,988 |
50,025 |
72 |
92 |
3,649 |
||||||||
|
2 |
7110-0398-2 |
|
50,012 |
50,062 |
45 |
125 |
|||||||||||
|
7110-0399 |
1 |
7110-0399-1 |
|
52,0* |
310 |
51,985 |
52,030 |
45,0 |
238 |
36 |
80 |
112 |
36,0 |
8,0 |
4,774 |
||
|
2 |
7110-0399-2 |
|
52,015 |
52,074 |
60 |
147 |
|||||||||||
|
7110-0400 |
1 |
7110-0400-1 |
|
53,0 |
52,985 |
53,030 |
80 |
112 |
4,929 |
||||||||
|
2 |
7117-0400-2 |
|
53,015 |
53,074 |
60 |
147 |
|||||||||||
|
7110-0401 |
1 |
7110-0401-1 |
|
55,0* |
315 |
54,985 |
55,030 |
242 |
80 |
112 |
5,246 |
||||||
|
2 |
7110-0401-2 |
|
55,015 |
55,074 |
60 |
147 |
|||||||||||
|
7110-0402 |
1 |
7110-0402-1 |
|
56,0 |
55,985 |
56,030 |
85 |
112 |
5,486 |
||||||||
|
2 |
7110-0402-2 |
|
56,015 |
56,074 |
65 |
147 |
|||||||||||
|
7110-0403 |
1 |
7110-0403-1 |
|
58,0* |
57,985 |
58,030 |
85 |
112 |
5,826 |
||||||||
|
2 |
7110-0403-2 |
|
58,015 |
58,074 |
65 |
147 |
|||||||||||
|
7110-0404 |
1 |
7110-0404-1 |
|
60,0 |
59,985 |
60,030 |
85 |
112 |
6,178 |
||||||||
|
2 |
7110-0404-2 |
|
60,015 |
60,074 |
65 |
147 |
|||||||||||
|
7110-0405 |
1 |
7110-0405-1 |
|
63,0 |
350 |
62,985 |
63,030 |
50,0 |
270 |
40 |
98 |
112 |
42,0 |
7,750 |
|||
|
2 |
7110-0405-2 |
|
63,015 |
63,074 |
80 |
147 |
|||||||||||
|
7110-0406 |
1 |
7110-0406-1 |
|
65,0* |
64,985 |
65,030 |
98 |
112 |
8,175 |
||||||||
|
2 |
7110-0406-2 |
|
65,015 |
65,074 |
80 |
147 |
|||||||||||
|
7110-0407 |
1 |
7110-0407-1 |
|
67,0 |
66,985 |
67,030 |
98 |
112 |
8,615 |
||||||||
|
2 |
7110-0407-2 |
|
67,015 |
67,074 |
80 |
147 |
|||||||||||
|
7110-0408 |
1 |
7110-0408-1 |
|
70,0* |
360 |
69,985 |
70,030 |
280 |
105 |
112 |
10,144 |
||||||
|
2 |
7110-0408-2 |
|
70,015 |
70,074 |
90 |
147 |
|||||||||||
|
7110-0409 |
1 |
7110-0409-1 |
|
71,0 |
70,985 |
71,030 |
105 |
112 |
10,387 |
||||||||
|
2 |
7110-0409-2 |
|
71,015 |
71,074 |
90 |
147 |
|||||||||||
|
7110-0410 |
1 |
7110-0410-1 |
|
75,0 |
380 |
74,985 |
75,030 |
60,0 |
290 |
45 |
115 |
112 |
50 |
12,145 |
|||
|
2 |
7110-0410-2 |
|
75,015 |
75,074 |
100 |
147 |
|||||||||||
|
7110-0411 |
1 |
7110-0411-1 |
|
78,0* |
77,985 |
78,030 |
115 |
112 |
12,975 |
||||||||
|
2 |
7110-0411-2 |
|
78,015 |
78,074 |
100 |
147 |
|||||||||||
|
7110-0412 |
1 |
7110-0412-1 |
|
80,0 |
79,985 |
80,030 |
115 |
112 |
13,530 |
||||||||
|
2 |
7110-0412-2 |
|
80,015 |
80,074 |
100 |
147 |
|||||||||||
|
7110-0413 |
1 |
7110-0413-1 |
|
82,0* |
405 |
81,983 |
82,035 |
305 |
50 |
130 |
130 |
10,0 |
14,730 |
||||
|
2 |
7110-0413-2 |
|
82,017 |
82,087 |
80 |
175 |
|||||||||||
|
7110-0414 |
1 |
7110-0414-1 |
|
85,0 |
84,983 |
85,035 |
130 |
130 |
15,675 |
||||||||
|
2 |
7110-0414-2 |
|
85,017 |
85,087 |
80 |
175 |
|||||||||||
|
7110-0415 |
1 |
7110-0415-1 |
|
88,0* |
87,983 |
88,035 |
130 |
130 |
16,650 |
||||||||
|
2 |
7110-0415-2 |
|
88,017 |
88,087 |
80 |
175 |
|||||||||||
|
7110-0416 |
1 |
7110-0416-1 |
|
90,0 |
89,983 |
90,035 |
130 |
130 |
60 |
17,320 |
|||||||
|
2 |
7117-0416-2 |
|
90,017 |
90,087 |
80 |
175 |
|||||||||||
|
7110-0417 |
1 |
7110-0417-1 |
|
92,0 |
435 |
91,983 |
92,035 |
70,0 |
325 |
55 |
150 |
130 |
20,700 |
||||
|
2 |
7110-0417-2 |
|
92,017 |
92,087 |
100 |
175 |
|||||||||||
|
7110-0418 |
1 |
7110-0418-1 |
|
95,0 |
94,983 |
95,035 |
150 |
130 |
20,980 |
||||||||
|
2 |
7110-0418-2 |
|
95,017 |
95,087 |
100 |
175 |
|||||||||||
|
7110-0419 |
1 |
7110-0419-1 |
|
98,0 |
97,983 |
98,035 |
150 |
130 |
22,150 |
||||||||
|
2 |
7110-0419-2 |
|
98,017 |
98,087 |
100 |
175 |
|||||||||||
|
7110-0420 |
1 |
7110-0420-1 |
|
100,0 |
99,983 |
100,035 |
150 |
130 |
23,560 |
||||||||
|
2 |
7110-0420-2 |
|
100,017 |
100,087 |
100 |
175 |
|||||||||||
|
* Оправки указанных размеров применять в технически обоснованных случаях. ** Оправки для обработки деталей диаметром d до 5,6 мм допускается изготавливать без плоскостей под поводковый патрон. Примечание - Допускается в технически обоснованных случаях изготавливать оправки для обработки деталей с отверстиями промежуточных диаметров d. Оправки промежуточных диаметров следует изготавливать по размерам ближайшего диаметра, кроме размеров d1 и d2, которые рассчитывают следующим образом. Для оправки номер 1 d1 = d минус нижнее отклонение отверстия по Js7. d2 = d плюс верхнее отклонение отверстия по Н8. Для оправки номер 2 d1 = d плюс верхнее отклонение по Js7. d2 = d плюс верхнее отклонение по Н7. |
|||||||||||||||||
Пример условного обозначения комплекта конических оправок для отверстия диаметром d = 3,0 мм:
Комплект оправок 7110-0361-3,0 ГОСТ 31.1066.03-97
То же, для оправки номер 1:
Оправка 7110-0361-1-3,0 ГОСТ 31.1066.03-97
То же, для оправки номер 2:
Оправка 7110-0361-2-3,0 ГОСТ 31.1066.03-97
То же, для комплекта конических оправок для отверстия промежуточного диаметра d = 9,76 мм:
Комплект оправок 7110-0372-9,76 ГОСТ 31.1066.03-97
То же, для оправки номер 1:
Оправка 7110-0372-1-9,76 ГОСТ 31.1066.03-97
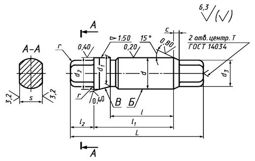
А.2 Оправки типа 2
А.2.1 Конструкция и размеры оправок типа 2 должны соответствовать указанным на рисунке А.2 и в таблице A.3.
Рисунок А.2
Таблица A.3
Размеры в миллиметрах
|
Применяемость |
d h6; k6 |
l |
L |
d1 h6 |
d2 h6 |
d3 |
l1 |
l2 |
S d11 |
с |
r |
Масса, кг, не более |
|
|
7110-0431 |
|
8 |
8 |
36 |
7,991 |
8,090 |
7,1 |
16 |
10 |
6 |
1,6 |
0,6 |
0,012 |
|
7110-0432 |
|
16 |
44 |
24 |
0,015 |
||||||||
|
7110-0433 |
|
9 |
10 |
42 |
8,991 |
9,090 |
8,0 |
18 |
12 |
0,017 |
|||
|
7110-0434 |
|
18 |
48 |
24 |
0,020 |
||||||||
|
7110-0435 |
|
10 |
10 |
42 |
9,991 |
10,090 |
9,0 |
18 |
7 |
0,020 |
|||
|
7110-0436 |
|
20 |
52 |
28 |
0,026 |
||||||||
|
7110-0437 |
|
11 |
12 |
50 |
10,989 |
10,110 |
10,0 |
22 |
14 |
8 |
1,6 |
0,6 |
0,030 |
|
7110-0438 |
|
22 |
60 |
32 |
0,038 |
||||||||
|
7110-0439 |
|
12 |
12 |
50 |
11,989 |
12,110 |
11,0 |
22 |
0,035 |
||||
|
7110-0440 |
|
25 |
63 |
35 |
0,046 |
||||||||
|
7110-0441 |
|
13 |
14 |
52 |
12,989 |
13,110 |
24 |
2,5 |
1,0 |
0,040 |
|||
|
7110-0442 |
|
25 |
63 |
35 |
0,052 |
||||||||
|
7110-0443 |
|
14 |
14 |
52 |
13,989 |
14,110 |
12,0 |
24 |
10 |
0,058 |
|||
|
7110-0444 |
|
28 |
66 |
38 |
0,075 |
||||||||
|
7110-0445 |
|
15 |
14 |
56 |
14,989 |
15,110 |
13,0 |
24 |
16 |
0,061 |
|||
|
7110-0446 |
|
28 |
70 |
38 |
0,080 |
||||||||
|
7110-0447 |
|
16 |
16 |
58 |
15,989 |
16,110 |
14,0 |
26 |
0,071 |
||||
|
7110-0448 |
|
32 |
74 |
42 |
0,096 |
||||||||
|
7110-0449 |
|
17 |
16 |
58 |
16,989 |
17,110 |
15 |
26 |
0,079 |
||||
|
7110-0450 |
|
32 |
74 |
42 |
0,107 |
||||||||
|
7110-0451 |
|
18 |
18 |
60 |
17,989 |
18,110 |
16 |
28 |
0,093 |
||||
|
7110-0452 |
|
36 |
78 |
46 |
0,129 |
||||||||
|
7110-0453 |
|
19 |
18 |
66 |
18,987 |
19,130 |
30 |
18 |
1,6 |
0,109 |
|||
|
7110-0454 |
|
36 |
84 |
48 |
0,149 |
||||||||
|
7110-0455 |
|
20 |
20 |
68 |
19,987 |
20,130 |
17 |
32 |
14 |
4,0 |
0,135 |
||
|
7110-0456 |
|
40 |
88 |
52 |
0,185 |
||||||||
|
7110-0457 |
|
21 |
20 |
68 |
20,987 |
21,130 |
18 |
32 |
0,149 |
||||
|
7110-0458 |
|
40 |
88 |
52 |
0,203 |
||||||||
|
7110-0459 |
|
22 |
22 |
70 |
21,987 |
22,130 |
19 |
34 |
0,169 |
||||
|
7110-0460 |
|
45 |
94 |
48 |
0,210 |
||||||||
|
7110-0461 |
|
24 |
25 |
74 |
23,987 |
24,130 |
20 |
38 |
17 |
0,216 |
|||
|
7110-0462 |
|
50 |
98 |
62 |
0,302 |
||||||||
|
7110-0463 |
|
25 |
25 |
74 |
24,987 |
25,130 |
22 |
38 |
0,239 |
||||
|
7110-0464 |
|
50 |
98 |
62 |
0,332 |
||||||||
|
7110-0465 |
|
26 |
25 |
74 |
25,987 |
26,130 |
38 |
0,252 |
|||||
|
7110-0466 |
|
50 |
98 |
62 |
0,351 |
||||||||
|
7110-0467 |
|
28 |
28 |
84 |
27,987 |
28,130 |
25 |
40 |
22 |
20 |
0,345 |
||
|
7110-0468 |
|
56 |
112 |
68 |
0,481 |
||||||||
|
7110-0469 |
|
30 |
30 |
86 |
29,987 |
30,130 |
42 |
0,385 |
|||||
|
7110-0470 |
|
60 |
116 |
72 |
0,551 |
||||||||
|
7110-0471 |
|
32 |
32 |
92 |
31,984 |
32,160 |
28 |
48 |
6,0 |
0,477 |
|||
|
7110-0472 |
|
63 |
122 |
78 |
0,667 |
||||||||
|
7110-0473 |
|
34 |
34 |
95 |
33,984 |
34,160 |
50 |
0,531 |
|||||
|
7110-0474 |
|
67 |
125 |
82 |
0,759 |
||||||||
|
7110-0475 |
|
36 |
36 |
100 |
35,984 |
36,160 |
32 |
50 |
25 |
24 |
0,671 |
||
|
7110-0476 |
|
71 |
135 |
85 |
0,950 |
||||||||
|
7110-0477 |
|
38 |
38 |
102 |
37,984 |
38,160 |
52 |
0,734 |
|||||
|
7110-0478 |
|
75 |
140 |
90 |
1,072 |
||||||||
|
7110-0479 |
|
40 |
40 |
110 |
39,984 |
40,160 |
36 |
55 |
28 |
28 |
2,5 |
0,925 |
|
|
7110-0480 |
|
80 |
150 |
95 |
1,320 |
||||||||
|
7110-0481 |
|
42 |
42 |
115 |
41,984 |
42,160 |
58 |
1,013 |
|||||
|
7110-0482 |
|
85 |
155 |
100 |
1,480 |
||||||||
|
7110-0483 |
|
45 |
45 |
125 |
44,984 |
45,160 |
40 |
60 |
32 |
32 |
1,315 |
||
|
7110-0484 |
|
90 |
170 |
105 |
1,877 |
||||||||
|
7110-0485 |
|
48 |
48 |
128 |
47,984 |
48,160 |
64 |
1,475 |
|||||
|
7110-0486 |
|
95 |
175 |
110 |
2,129 |
||||||||
|
7110-0487 |
|
50 |
50 |
120 |
49,984 |
50,160 |
66 |
1,583 |
|||||
|
7110-0488 |
|
100 |
180 |
116 |
2,353 |
||||||||
|
7110-0489 |
|
52* |
53 |
145 |
51,981 |
52,190 |
45 |
72 |
36 |
36 |
8,0 |
2,007 |
|
|
7110-0490 |
|
105 |
195 |
124 |
2,875 |
||||||||
|
7110-0491 |
|
53 |
53 |
145 |
52,981 |
53,190 |
72 |
2,064 |
|||||
|
7110-0492 |
|
105 |
195 |
124 |
2,964 |
||||||||
|
7110-0493 |
|
55* |
56 |
145 |
54,981 |
55,190 |
74 |
2,197 |
|||||
|
7110-0494 |
|
110 |
200 |
128 |
3,204 |
||||||||
|
7110-0495 |
|
56 |
56 |
145 |
55,981 |
56,190 |
74 |
2,248 |
|||||
|
7110-0496 |
|
110 |
200 |
128 |
3,292 |
||||||||
|
7110-0497 |
|
60 |
56 |
145 |
59,981 |
60,190 |
74 |
2,459 |
|||||
|
7110-0498 |
|
110 |
200 |
128 |
3,658 |
||||||||
|
7110-0499 |
|
62* |
63 |
162 |
61,981 |
62,190 |
50 |
82 |
40 |
42 |
3,079 |
||
|
7110-0500 |
|
125 |
225 |
145 |
4,572 |
||||||||
|
7110-0501 |
|
63 |
63 |
162 |
62,981 |
63,190 |
82 |
3,152 |
|||||
|
7110-0502 |
|
125 |
225 |
145 |
4,694 |
||||||||
|
7110-0503 |
|
65* |
63 |
162 |
64,981 |
65,190 |
82 |
3,282 |
|||||
|
7110-0504 |
|
125 |
225 |
145 |
4,923 |
||||||||
|
7110-0505 |
|
67 |
63 |
162 |
66,981 |
67,190 |
82 |
3,416 |
|||||
|
7110-0506 |
|
125 |
225 |
145 |
5,159 |
||||||||
|
7110-0507 |
|
70* |
71 |
170 |
69,981 |
70,190 |
90 |
3,864 |
|||||
|
7110-0508 |
|
140 |
240 |
160 |
5,980 |
||||||||
|
7110-0509 |
|
71 |
71 |
170 |
70,981 |
71,190 |
90 |
3,942 |
|||||
|
7110-0510 |
|
140 |
240 |
160 |
6,117 |
||||||||
|
7110-0511 |
|
75 |
71 |
190 |
74,981 |
75,190 |
60 |
90 |
50 |
52 |
5,213 |
||
|
7110-0512 |
|
140 |
260 |
160 |
7,640 |
||||||||
|
7110-0513 |
|
78* |
80 |
200 |
77,981 |
78,190 |
100 |
5,843 |
|||||
|
7110-0514 |
|
160 |
280 |
180 |
8,844 |
||||||||
|
7110-0515 |
|
80 |
80 |
200 |
79,981 |
80,190 |
100 |
6,038 |
|||||
|
7110-0516 |
|
160 |
280 |
180 |
9,194 |
||||||||
|
* Оправки указанных размеров применять в технически обоснованных случаях. Примечание - Допускается в технически обоснованных случаях изготавливать оправки для обработки деталей с отверстиями промежуточных размеров d. Оправки промежуточных диаметров следует изготавливать по размерам ближайшего большого диаметра, кроме размеров d1 и d2, которые рассчитывают следующим образом: d1 = d минус нижнее отклонение отверстия по h6. d2 = d плюс верхнее отклонение отверстия по Н11. |
|||||||||||||
Пример условного обозначения оправки размерами d = 8 мм, с полем допуска размера d по h6:
Оправка 7110-0431-8 h6 ГОСТ 31.1066.03-97
То же, с полем допуска размера d по k6:
Оправка 7110-0431-8 k6 ГОСТ 31.1066.03-97
То же, оправки для промежуточного диаметра d = 9,76 мм, l = 10 мм, с полем допуска размера d по h6:
Оправка 7110-0435-9,76 h6 ГОСТ 31.1066.03-97
То же, с полем допуска размера d по k6:
Оправка 7110-0435-9,76 k6 ГОСТ 31.1066.03-97
А.2.2 Характер соединения оправок с обрабатываемой деталью в зависимости от предельных отклонений оправки и базового отверстия указан в справочных таблицах А.4 и А.5.
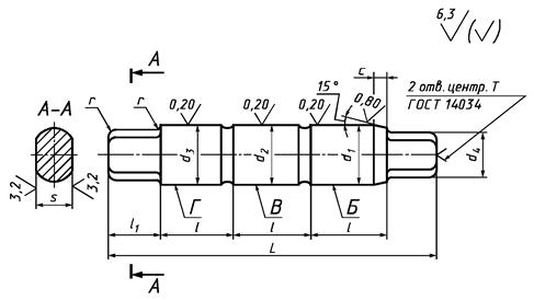
А.3 Оправки типа 3
А.3.1 Конструкция и размеры оправок типа 3 должны соответствовать указанным на рисунке A.3 и в таблице А.6.
Рисунок A.3
Характер соединения оправки с обрабатываемой деталью в зависимости от предельных отклонений посадочного диаметра d оправки и базового отверстия детали
Таблица А.4 - Оправки с предельными отклонениями посадочного диаметра d по h6
|
Поля допусков диаметра базового отверстия детали, мкм |
||||||||||||||||||||||||
|
Н6 |
G6 |
Js6 |
К6 |
М6 |
N6 |
Н7 |
G7 |
Js7 |
К7 |
М7 |
N7 |
|||||||||||||
|
Зазоры |
Зазор |
Затяг |
Зазор |
Натяг |
Зазор |
Натяг |
Зазор |
Натяг |
Зазоры |
Зазор |
Затяг |
Зазор |
Натяг |
Зазор |
Натяг |
Зазор |
Натяг |
|||||||
|
Наим. |
Наиб. |
Наим. |
Наиб. |
Наиб. |
Наим. |
Наиб. |
Наим. |
Наиб. |
Наиб. |
|||||||||||||||
|
От 8 до 10 |
0 |
18 |
5 |
23 |
14 |
5 |
11 |
7 |
6 |
12 |
2 |
16 |
0 |
24 |
5 |
29 |
16 |
7 |
14 |
10 |
9 |
15 |
5 |
19 |
|
Св. 10 » 18 |
0 |
22 |
6 |
28 |
17 |
6 |
13 |
9 |
7 |
15 |
2 |
20 |
0 |
29 |
6 |
35 |
18 |
9 |
17 |
12 |
11 |
18 |
6 |
23 |
|
» 18 » 30 |
0 |
26 |
7 |
33 |
20 |
7 |
15 |
11 |
9 |
17 |
2 |
24 |
0 |
34 |
7 |
41 |
23 |
10 |
19 |
15 |
13 |
21 |
6 |
28 |
|
» 30 » 50 |
0 |
32 |
9 |
41 |
24 |
8 |
19 |
13 |
12 |
20 |
4 |
28 |
0 |
41 |
9 |
50 |
28 |
12 |
23 |
18 |
16 |
25 |
8 |
33 |
|
» 50 » 80 |
0 |
38 |
10 |
48 |
29 |
10 |
23 |
15 |
14 |
24 |
5 |
33 |
0 |
49 |
10 |
59 |
34 |
15 |
28 |
21 |
19 |
30 |
10 |
39 |
Таблица А.5 - Оправки с предельными отклонениями посадочного диаметра d по k6
|
Поля допусков диаметра базового отверстия детали, мкм |
||||||||||||||||||||||||
|
Н6 |
G6 |
Js6 |
К6 |
М6 |
N6 |
Н7 |
G7 |
Js7 |
К7 |
М7 |
N7 |
|||||||||||||
|
Зазор |
Натяг |
Зазор |
Натяг |
Зазор |
Натяг |
Зазор |
Натяг |
Натяги |
Зазор |
Затяг |
Зазор |
Затяг |
Зазор |
Затяг |
Зазор |
Натяг |
Натяги |
|||||||
|
Наиб. |
Наим. |
Наиб. |
Наим. |
Наиб. |
Наиб. |
Наим. |
Наиб. |
Наим. |
Наиб. |
|||||||||||||||
|
От 8 до 10 |
8 |
10 |
13 |
5 |
4 |
15 |
1 |
17 |
4 |
22 |
8 |
28 |
14 |
10 |
19 |
5 |
6 |
17 |
4 |
20 |
1 |
25 |
5 |
29 |
|
Св. 10 » 18 |
10 |
12 |
16 |
6 |
5 |
18 |
1 |
21 |
5 |
27 |
10 |
32 |
17 |
12 |
23 |
6 |
8 |
21 |
5 |
24 |
1 |
30 |
6 |
35 |
|
» 18 » 30 |
11 |
15 |
18 |
8 |
5 |
22 |
0 |
26 |
6 |
32 |
13 |
39 |
19 |
15 |
26 |
8 |
8 |
25 |
4 |
30 |
2 |
36 |
9 |
43 |
|
» 30 » 50 |
14 |
18 |
23 |
9 |
6 |
26 |
1 |
31 |
6 |
38 |
14 |
46 |
23 |
18 |
32 |
9 |
10 |
30 |
5 |
36 |
2 |
43 |
10 |
51 |
|
» 50 » 80 |
17 |
21 |
27 |
11 |
8 |
31 |
2 |
36 |
7 |
45 |
16 |
54 |
28 |
21 |
38 |
11 |
13 |
36 |
7 |
42 |
2 |
51 |
11 |
60 |
Таблица А.6
Размеры в миллиметрах
|
Номер оправок |
Обозначение оправок |
Применяемость |
d |
l |
L |
d1 |
d2 |
d3 |
d4 |
l1 |
S d11 |
с |
r |
Масса, кг, не более |
||
|
js5 |
||||||||||||||||
|
7110-0526 |
1 |
7110-0526-1 |
|
8 |
8 |
44 |
7,993 |
8,000 |
8,005 |
7,1 |
10 |
6 |
1,6 |
0,6 |
0,015 |
|
|
2 |
7110-0526-2 |
|
8,007 |
8,015 |
8,020 |
|||||||||||
|
7110-0527 |
1 |
7110-0527-1 |
|
12 |
56 |
7,993 |
8,000 |
8,005 |
0,020 |
|||||||
|
2 |
7110-0527-2 |
|
8,007 |
8,015 |
8,020 |
|||||||||||
|
7110-0528 |
1 |
7110-0528-1 |
|
9 |
10 |
54 |
8,993 |
9,000 |
9,005 |
8,0 |
12 |
0,023 |
||||
|
2 |
7110-0528-2 |
|
9,007 |
9,015 |
9,020 |
|||||||||||
|
7110-0529 |
1 |
7110-0529-1 |
|
14 |
64 |
8,993 |
9,000 |
9,005 |
0,028 |
|||||||
|
2 |
7110-0529-2 |
|
9,007 |
9,015 |
9,020 |
|||||||||||
|
7110-0530 |
1 |
7110-0530-1 |
|
10 |
10 |
54 |
9,993 |
10,000 |
10,005 |
9,0 |
7 |
0,028 |
||||
|
2 |
7110-0530-2 |
|
10,007 |
10,015 |
10,020 |
|||||||||||
|
7110-0531 |
1 |
7110-0531-1 |
|
16 |
72 |
9,993 |
10,000 |
10,005 |
0,038 |
|||||||
|
2 |
7110-0531-2 |
|
10,007 |
10,015 |
10,020 |
|||||||||||
|
7110-0532 |
1 |
7110-0532-1 |
|
11 |
12 |
64 |
10,991 |
11,000 |
11,006 |
10,0 |
14 |
8 |
0,041 |
|||
|
2 |
7110-0532-2 |
|
11,009 |
11,018 |
11,024 |
|||||||||||
|
7110-0533 |
1 |
7110-0533-1 |
|
18 |
82 |
10,991 |
11,000 |
11,006 |
0,055 |
|||||||
|
2 |
7110-0533-2 |
|
11,009 |
11,018 |
11,024 |
|||||||||||
|
7110-0534 |
1 |
7110-0534-1 |
|
12 |
12 |
64 |
11,991 |
12,000 |
12,006 |
11,0 |
0,047 |
|||||
|
2 |
7110-0534-2 |
|
12,009 |
12,018 |
12,024 |
|||||||||||
|
7110-0535 |
1 |
7110-0535-1 |
|
18 |
82 |
11,991 |
12,000 |
12,006 |
0,065 |
|||||||
|
2 |
7110-0535-2 |
|
12,009 |
12,018 |
12,024 |
|||||||||||
|
7110-0536 |
1 |
7110-0536-1 |
|
13 |
14 |
70 |
12,991 |
13,000 |
13,006 |
2,5 |
1,0 |
0,059 |
||||
|
2 |
7110-0536-2 |
|
13,009 |
13,018 |
13,024 |
|||||||||||
|
7110-0537 |
1 |
7110-0537-1 |
|
20 |
88 |
12,991 |
13,000 |
13,006 |
0,078 |
|||||||
|
2 |
7110-0537-2 |
|
13,009 |
13,018 |
13,024 |
|||||||||||
|
7110-0538 |
1 |
7110-0538-1 |
|
14 |
14 |
70 |
13,991 |
14,000 |
14,006 |
12,0 |
10 |
0,079 |
||||
|
2 |
7110-0538-2 |
|
14,009 |
14,018 |
14,024 |
|||||||||||
|
7110-0539 |
1 |
7110-0539-1 |
|
22 |
94 |
13,991 |
14,000 |
14,006 |
0,108 |
|||||||
|
2 |
7110-0539-2 |
|
14,009 |
14,018 |
14,024 |
|||||||||||
|
7110-0540 |
1 |
7110-0540-1 |
|
15 |
14 |
74 |
14,991 |
15,000 |
15,006 |
13,0 |
16 |
0,086 |
||||
|
2 |
7110-0540-2 |
|
15,009 |
15,018 |
15,024 |
|||||||||||
|
7110-0541 |
1 |
7110-0541-1 |
|
22 |
98 |
14,991 |
15,000 |
15,006 |
0,119 |
|||||||
|
2 |
7110-0541-2 |
|
15,009 |
15,018 |
15,024 |
|||||||||||
|
7110-0542 |
1 |
7110-0542-1 |
|
16 |
16 |
80 |
15,991 |
16,000 |
16,006 |
14,0 |
0,106 |
|||||
|
2 |
7110-0542-2 |
|
16,009 |
16,018 |
16,024 |
|||||||||||
|
7110-0543 |
1 |
7110-0543-1 |
|
25 |
107 |
15,991 |
16,000 |
16,006 |
0,148 |
|||||||
|
2 |
7110-0543-2 |
|
16,009 |
16,018 |
16,024 |
|||||||||||
|
7110-0544 |
1 |
7110-0544-1 |
|
17 |
16 |
80 |
16,991 |
17,000 |
17,006 |
15,0 |
0,118 |
|||||
|
2 |
7110-0544-2 |
|
17,009 |
17,018 |
17,024 |
|||||||||||
|
7110-0545 |
1 |
7110-0545-1 |
|
25 |
107 |
16,991 |
17,000 |
17,006 |
0,166 |
|||||||
|
2 |
7110-0545-2 |
|
17,009 |
17,018 |
17,024 |
|||||||||||
|
7110-0546 |
1 |
7110-0546-1 |
|
18 |
18 |
86 |
17,991 |
18,000 |
18,006 |
16,0 |
0,145 |
|||||
|
2 |
7110-0546-2 |
|
18,009 |
18,018 |
18,024 |
|||||||||||
|
7110-0547 |
1 |
7110-0547-1 |
|
28 |
116 |
17,991 |
18,000 |
18,006 |
0,205 |
|||||||
|
2 |
7110-0547-2 |
|
18,009 |
18,018 |
18,024 |
|||||||||||
|
7110-0548 |
1 |
7110-0548-1 |
|
19 |
18 |
90 |
18,990 |
19,000 |
19,007 |
17 |
1,6 |
0,162 |
||||
|
2 |
7110-0548-2 |
|
19,010 |
19,021 |
19,028 |
|||||||||||
|
7110-0549 |
1 |
7110-0549-1 |
|
28 |
120 |
18,890 |
19,000 |
19,007 |
0,249 |
|||||||
|
2 |
7110-0549-2 |
|
19,010 |
19,021 |
19,028 |
|||||||||||
|
7110-0550 |
1 |
7110-0550-1 |
|
20 |
20 |
96 |
19,990 |
20,000 |
20,007 |
17,0 |
18 |
14 |
4,0 |
0,204 |
||
|
2 |
7110-0550-2 |
|
20,010 |
20,021 |
20,028 |
|||||||||||
|
7110-0551 |
1 |
7110-0551-1 |
|
30 |
126 |
19,990 |
20,000 |
20,007 |
0,278 |
|||||||
|
2 |
7110-0551-2 |
|
20,010 |
20,021 |
20,028 |
|||||||||||
|
7110-0552 |
1 |
7110-0552-1 |
|
21 |
20 |
96 |
20,990 |
21,000 |
21,007 |
18,0 |
0,225 |
|||||
|
2 |
7110-0552-2 |
|
21,010 |
21,021 |
21,028 |
|||||||||||
|
7110-0553 |
1 |
7110-0553-1 |
|
32 |
132 |
20,990 |
21,000 |
21,007 |
0,323 |
|||||||
|
2 |
7110-0553-2 |
|
21,010 |
21,021 |
21,028 |
|||||||||||
|
7110-0554 |
1 |
7110-0554-1 |
|
22 |
22 |
102 |
21,990 |
22,000 |
22,007 |
19,0 |
17 |
0,264 |
||||
|
2 |
7110-0554-2 |
|
22,010 |
22,021 |
22,028 |
|||||||||||
|
7110-0555 |
1 |
7110-0555-1 |
|
34 |
138 |
21,990 |
22,000 |
22,007 |
0,372 |
|||||||
|
2 |
7110-0555-2 |
|
22,010 |
22,021 |
22,028 |
|||||||||||
|
7110-0556 |
1 |
7110-0556-1 |
|
24 |
25 |
120 |
23,990 |
24,000 |
24,007 |
20,0 |
0,344 |
|||||
|
2 |
7110-0556-2 |
|
24,010 |
24,021 |
24,028 |
|||||||||||
|
7110-0557 |
1 |
7110-0557-1 |
|
36 |
144 |
23,990 |
24,000 |
24,007 |
0,465 |
|||||||
|
2 |
7110-0557-2 |
|
24,010 |
24,021 |
24,028 |
|||||||||||
|
7110-0558 |
1 |
7110-0558-1 |
|
25 |
25 |
120 |
24,990 |
25,000 |
25,007 |
22,0 |
0,378 |
|||||
|
2 |
7110-0558-2 |
|
25,010 |
25,021 |
25,028 |
|||||||||||
|
7110-0559 |
1 |
7110-0559-1 |
|
38 |
150 |
24,990 |
25,000 |
25,007 |
0,532 |
|||||||
|
2 |
7110-0559-2 |
|
25,010 |
25,021 |
25,028 |
|||||||||||
|
7110-0560 |
1 |
7110-0560-1 |
|
26 |
25 |
120 |
25,990 |
26,000 |
26,007 |
0,401 |
||||||
|
2 |
7110-0560-2 |
|
26,010 |
26,021 |
26,028 |
|||||||||||
|
7110-0561 |
1 |
7110-0561-1 |
|
40 |
156 |
25,990 |
26,000 |
26,007 |
0,593 |
|||||||
|
2 |
7110-0561-2 |
|
26,010 |
26,021 |
26,028 |
|||||||||||
|
7110-0562 |
1 |
7110-0562-1 |
|
28 |
28 |
128 |
27,990 |
28,000 |
28,007 |
25,0 |
22 |
20 |
0,558 |
|||
|
2 |
7110-0562-2 |
|
28,010 |
28,021 |
28,028 |
|||||||||||
|
7110-0563 |
1 |
7110-0563-1 |
|
42 |
170 |
27,990 |
28,000 |
28,007 |
0,761 |
|||||||
|
2 |
7110-0563-2 |
|
28,010 |
28,021 |
28,028 |
|||||||||||
|
7110-0564 |
1 |
7110-0564-1 |
|
30 |
30 |
134 |
29,990 |
30,000 |
30,007 |
0,651 |
||||||
|
2 |
7110-0564-2 |
|
30,010 |
30,021 |
30,028 |
|||||||||||
|
7110-0565 |
1 |
7110-0565-1 |
|
45 |
180 |
29,990 |
30,000 |
30,007 |
0,906 |
|||||||
|
2 |
7110-0565-2 |
|
30,010 |
30,021 |
30,028 |
|||||||||||
|
7110-0566 |
1 |
7110-0566-1 |
|
32 |
32 |
140 |
31,988 |
32,000 |
32,012 |
28,0 |
6,0 |
0,780 |
||||
|
2 |
7110-0566-2 |
|
32,012 |
32,025 |
32,034 |
|||||||||||
|
7110-0567 |
1 |
7110-0567-1 |
|
50 |
194 |
31,988 |
32,000 |
32,012 |
1,121 |
|||||||
|
2 |
7110-0567-2 |
|
32,012 |
32,025 |
32,034 |
|||||||||||
|
7110-0568 |
1 |
7110-0568-1 |
|
34 |
34 |
146 |
33,988 |
34,000 |
34,012 |
0,901 |
||||||
|
2 |
7110-0568-2 |
|
34,012 |
34,025 |
34,034 |
|||||||||||
|
7110-0569 |
1 |
7110-0569-1 |
|
50 |
194 |
33,988 |
34,000 |
34,012 |
1,234 |
|||||||
|
2 |
7110-0569-2 |
|
34,012 |
34,025 |
34,034 |
|||||||||||
|
7110-0570 |
1 |
7110-0570-1 |
|
36 |
36 |
158 |
35,988 |
36,000 |
36,012 |
32,0 |
25 |
24 |
1,134 |
|||
|
2 |
7110-0570-2 |
|
36,012 |
36,025 |
36,034 |
|||||||||||
|
7110-0571 |
1 |
7110-0571-1 |
|
56 |
218 |
35,988 |
36,000 |
36,012 |
1,613 |
|||||||
|
2 |
7110-0571-2 |
|
36,012 |
36,025 |
36,034 |
|||||||||||
|
7110-0572 |
1 |
7110-0572-1 |
|
38 |
38 |
164 |
37,988 |
38,000 |
38,012 |
2,5 |
1,285 |
|||||
|
2 |
7110-0572-2 |
|
38,012 |
38,025 |
38,034 |
|||||||||||
|
7110-0573 |
1 |
7110-0573-1 |
|
56 |
218 |
37,988 |
38,000 |
38,012 |
1,766 |
|||||||
|
2 |
7110-0573-2 |
|
38,012 |
38,025 |
38,034 |
|||||||||||
|
7110-0574 |
1 |
7110-0574-1 |
|
40 |
40 |
176 |
39,988 |
40,000 |
40,012 |
36,0 |
28 |
28 |
1,577 |
|||
|
2 |
7110-0574-2 |
|
40,012 |
40,025 |
40,034 |
|||||||||||
|
7110-0575 |
1 |
7110-0575-1 |
|
63 |
245 |
39,988 |
40,000 |
40,012 |
2,258 |
|||||||
|
2 |
7110-0575-2 |
|
40,012 |
40,025 |
40,034 |
|||||||||||
|
7110-0576 |
1 |
7110-0576-1 |
|
42 |
42 |
182 |
41,988 |
42,000 |
42,012 |
1,763 |
||||||
|
2 |
7110-0576-2 |
|
42,012 |
42,025 |
43,034 |
|||||||||||
|
7110-0577 |
1 |
7110-0577-1 |
|
63 |
245 |
41,988 |
42,000 |
42,012 |
2,449 |
|||||||
|
2 |
7110-0577-2 |
|
42,012 |
42,025 |
42,034 |
|||||||||||
|
7110-0578 |
1 |
7110-0578-1 |
|
45 |
45 |
200 |
44,988 |
45,000 |
45,012 |
40,0 |
32 |
32 |
2,266 |
|||
|
2 |
7110-0578-2 |
|
45,012 |
45,025 |
45,034 |
|||||||||||
|
7110-0579 |
1 |
7110-0579-1 |
|
67 |
265 |
44,988 |
45,000 |
45,012 |
3,083 |
|||||||
|
2 |
7110-0579-2 |
|
45,012 |
45,025 |
45,034 |
|||||||||||
|
7110-0580 |
1 |
7110-0580-1 |
|
48 |
48 |
208 |
47,988 |
48,000 |
48,012 |
2,617 |
||||||
|
2 |
7110-0580-2 |
|
48,012 |
48,025 |
48,034 |
|||||||||||
|
7110-0581 |
1 |
7110-0581-1 |
|
75 |
290 |
47,988 |
48,000 |
48,012 |
3,767 |
|||||||
|
2 |
7110-0581-2 |
|
48,012 |
48,025 |
48,034 |
|||||||||||
|
7110-0582 |
1 |
7110-0582-1 |
|
50 |
50 |
215 |
49,988 |
50,000 |
50,012 |
2,893 |
||||||
|
2 |
7110-0582-2 |
|
50,012 |
50,025 |
50,034 |
|||||||||||
|
7110-0583 |
1 |
7110-0583-1 |
|
75 |
290 |
49,988 |
50,000 |
50,012 |
4,049 |
|||||||
|
2 |
7110-0583-2 |
|
50,012 |
50,025 |
50,034 |
|||||||||||
|
Примечание - Допускается в технически обоснованных случаях изготовление оправок для обработки деталей с отверстиями промежуточных диаметров d. Оправки промежуточных диаметров следует изготавливать по размерам ближнего большего диаметра, кроме размеров d1, d2 и d3 которые рассчитывают следующим образом. Для оправки номер 1 d1 = d минус нижнее отклонение отверстия по Js7; d2 = d; d2 = d плюс нижнее отклонение отверстия по G7. Для оправки номер 2 d1 = d плюс верхнее отклонение отверстия по Js7; d2 = d плюс верхнее отклонение отверстия по Н7; d3 = d плюс верхнее отклонение отверстия по G7. |
||||||||||||||||
Пример условного обозначения комплекта цилиндрических оправок для отверстия диаметром d = 8 мм и l = 8:
Комплект оправок 7110-03526-8 ГОСТ 31.1066.03-97
То же, для оправки номер 1:
Оправка 7110-0526-1-8 ГОСТ 31.1066.03-97
То же, для оправки номер 2:
Оправка 7110-0526-2-8 ГОСТ 31.1066.03-97
То же, комплект цилиндрических оправок для отверстия промежуточного диаметра d = 9,76 мм и l = 10 мм:
Комплект оправок 7110-0530-9,76 ГОСТ 31.1066.03-97
То же, для оправки номер 1:
Оправка 7110-0530-1-9,76 ГОСТ 31.1066.03-97
Ключевые слова: оправки, центровые, отверстия, базовые, цилиндрические, точная обработка
СОДЕРЖАНИЕ