Rubber-metallic ship bearings. Specifications

ГОСТ 7199-77

МЕЖГОСУДАРСТВЕННЫЙ СТАНДАРТ

 

ПОДШИПНИКИ
РЕЗИНО-МЕТАЛЛИЧЕСКИЕ СУДОВЫЕ

ТЕХНИЧЕСКИЕ УСЛОВИЯ

 

 

 

ИПК ИЗДАТЕЛЬСТВО СТАНДАРТОВ

Москва

 

МЕЖГОСУДАРСТВЕННЫЙ СТАНДАРТ

ПОДШИПНИКИ РЕЗИНО-МЕТАЛЛИЧЕСКИЕ СУДОВЫЕ

Технические условия

Rubber-metallic ship bearings. Specifications

ГОСТ
7199-77

Дата введения 01.01.78

Настоящий стандарт распространяется на опорные резино-металлические подшипники для гребных валов и валов судовых механизмов диаметром от 30 до 240 мм, устанавливаемых на судах и плавсредствах всех типов и назначений неограниченного района плавания.

(Измененная редакция, Изм. № 1, 2).

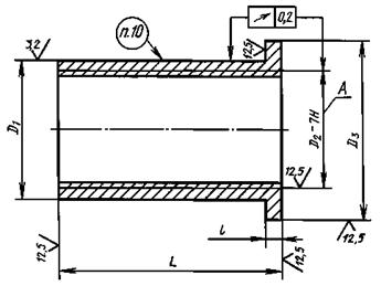
1. ТИПЫ, ОСНОВНЫЕ ПАРАМЕТРЫ И РАЗМЕРЫ

1.1. Подшипники должны изготовляться двух типов в зависимости от конструкции втулки:

I - бесфланцевые;

II - фланцевые.

1.2. Подшипники в зависимости от длины должны изготовляться трех исполнений:

Д - удлиненными;

Н - нормальными;

К - укороченными.

1.3. Подшипники в зависимости от района плавания судов и плавсредств должны иметь следующие климатические исполнения и категории размещения по ГОСТ 15150:

климатическое исполнение У, категория размещения 5 - для речных и озерных бассейнов;

климатическое исполнение ОМ, категория размещения 5 - для морских бассейнов.

Подшипники должны быть работоспособны при температуре от минус 4 до плюс 50 °С.

Подшипники для районов с тропическим климатом, кроме того должны соответствовать требованиям для группы III ГОСТ 15152, категорий размещения изделий 3 - 5 по ГОСТ 15150.

(Измененная редакция, Изм. № 3).

1.4. Типы и основные размеры подшипников должны соответствовать указанным на чертеже и в табл. 1, а втулок - в приложении 1 к настоящему стандарту.

Условное обозначение подшипника должно содержать слово «Подшипник», тип, диаметр вала (облицовки), исполнение и зависимости от длины, климатическое исполнение и категорию размещения, обозначение настоящего стандарта, материал втулки и обозначение стандарта на материал втулки.

Пример условного обозначения подшипника типа I для диаметра вала 150 мм, исполнения Д, климатического исполнения ОМ, категории размещения 5, с втулкой из латуни марки ЛС 59-1:

Подшипник

То же, типа II для диаметра вала 130 мм, исполнения Н, климатического исполнения У, категории размещения 5, с втулкой из стали марки Ст 3:

Подшипник

Пример условного обозначения подшипника типа I для диаметра вала 240 мм, исполнения К, климатического исполнения ОМ, категории размещения 5, с втулкой из стали марки 20:

Подшипник

То же типа II для диаметра вала 30 мм, исполнения Д, климатического исполнения ОМ, категории размещения 5, для районов с тропическим климатом, с втулкой из латуни ЛЦ 40Мц1,5:

Подшипник

Подшипник типа I

Подшипник типа II

1 - втулка; 2 - резиновая часть

* Размеры для справок.

Таблица 1

Размеры в мм

Диаметр вала (облицовки) под подшипник (пред. откл. по h8)

D

L (пред. откл. -1,5) подшипников исполнений

D1 (пред. откл. по h8)

D¢1, не менее

D2 (пред. откл. по Н16)

D3 (пред. откл. по h12)

l (пред. откл. по h12)

r (пред. откл. по js14)

r1 (пред. откл. по js14)

Количество канавок

Масса, кг, удлиненного подшипника типа

Номин.

Пред. откл.

Д

Н

К

I

II

30

30

+0,4; +0,1

110

90

-

47

45

34

80

8

6

1

8

0,54

0,77

35

35

125

105

54

50

39

85

8

0,87

1,10

40

40

140

120

62

55

46

95

2

1,25

1,53

45

45

155

135

66

65

51

100

10

1,27

1,58

50

50

+0,6; +0,1

170

150

72

70

57

105

12

1,56

1,87

55

55

190

150

80

75

63

110

15

2,33

2,64

60

60

210

165

86

85

68

120

2,82

3,20

65

65

230

180

92

90

73

125

20

3,63

3,75

70

70

250

190

96

95

78

130

4,03

4,44

75

75

270

210

108

100

82

135

25

4

7,21

7,56

80

80

+0,8; +0,2

290

220

-

113

105

89

155

10

25

4

8

8,14

8,90

85

85

300

240

114

110

93

160

6,96

7,81

90

90

320

250

128

120

100

170

10,67

11,52

95

95

340

260

128

125

104

175

30

8,83

9,80

100

100

350

280

138

130

112

185

13

5

12,63

13,96

105

105

370

290

138

135

115

190

10,37

11,87

110

110

385

300

154

145

121

200

35

19,72

21,15

115

115

400

320

154

150

127

205

40

17,00

18,61

120

120

420

330

167

160

133

215

22,55

24,16

125

125

440

340

167

165

137

220

19,37

21,17

130

130

450

360

182

170

142

225

45

31,22

32,76

135

135

+1,0; +0,3

460

370

182

175

147

230

27,16

28,89

140

140

480

380

240

184

180

152

265

18

30

10

25,53

29,95

150

150

520

410

260

194

190

163

275

35

29,30

33,91

160

160

550

440

275

204

200

173

285

40

38,32

43,13

170

170

580

460

290

214

210

183

295

45

42,56

47,57

180

180

620

500

310

224

220

192

305

50

4

12

47,88

53,09

190

190

650

520

325

234

230

202

315

55

52,62

58,02

200

200

+1,2; +0,4

680

550

340

254

250

214

325

25

5

71,83

76,83

210

210

720

580

360

264

260

226

335

30

79,30

84,47

220

220

750

600

375

274

270

236

345

35

85,99

91,33

230

230

800

620

400

284

280

246

355

40

95,32

100,84

240

240

840

650

420

294

290

256

365

45

103,88

109,56

Примечания:

1. Для достройки и ремонта судов и плавсредств допускается изготовление подшипников с размерами, отличающимися от указанных в табл. 1, по чертежам, согласованным между изготовителем и потребителем.

2. Величина размера D¢1 достигается путем дополнительной обработки поверхности D1 перед монтажом.

3. В табл. 1 масса указана для подшипников с втулками из латуни. Для определения массы подшипника с втулкой из стали указанные в табл. 1 значения величины массы необходимо умножить на 0,915. Для определения массы подшипника нормальной или укороченной длины значения величины массы удлиненного подшипника необходимо умножить на 0,8 или 0,5 соответственно (при вычислении массы в расчет принимался диаметр D1, а справочные плотности материалов принимались:

для резины - 1500 кг/м3;

для латуни - 8600 кг/м3;

для стали - 7850 кг/м3).

4. Для судов речного флота допускается изготовление подшипников с размером D1, отличающимся от указанного в табл. 1, но не менее D¢1, по чертежам, согласованным между изготовителем и потребителем.

(Измененная редакция, Изм. № 1, 3).

2. ТЕХНИЧЕСКИЕ ТРЕБОВАНИЯ

2.1. Подшипники должны изготовляться в соответствии с требованиями настоящего стандарта и рецептурой, утвержденной в установленном порядке.

2.2. Подшипники должны изготовляться из маслостойкой резины на основе каучука СКН-26СМ по ТУ 38 103247 или СКН-26АСМ по ТУ 38 103495.

(Измененная редакция, Изм. № 4).

2.3. Физико-механические показатели резины должны соответствовать указанным в табл. 2.

Таблица 2

Наименование показателя

Норма

Метод испытания

1. Условная прочность при растяжении, МПа (кгс/см2), не менее

16,5 (169)

По ГОСТ 270 на образцах типа I толщиной 2 мм

2. Относительное удлинение при разрыве, %, не менее

300

То же

3. Твердость в международных единицах или единицах Шора А

60 - 75

По ГОСТ 20403 или ГОСТ 263

4. Сопротивление истиранию, Дж/мм3, не менее

11,5

По ГОСТ 426

5. Сопротивление раздиру, Н/мм (кгс/см), не менее

45 (45)

По ГОСТ 262 на образцах типа А или Б при температуре 23 °С

6. Прочность связи резины с металлом при отрыве, МПа (кгс/см2), не менее

2,9 (30)

По ГОСТ 209, метод В

7. (Исключен, Изм. № 4).

 

 

8. Изменение массы образца после воздействия смеси 70 % объема изооктана по ГОСТ 12433 и 30 % объема толуола по ГОСТ 5789 в течение 24 ч при температуре 23 °С, %, не более

30

По ГОСТ 9.030

(Измененная редакция, Изм. № 3, 4).

2.4. На поверхности резиновой части не допускаются:

возвышения и углубления более 0,5 мм;

трещины, надрывы, пузыри, поры, раковины, посторонние включения;

облой, заусенцы по месту разъема пресс-формы высотой более 1 мм, зарезы, выхваты, вырывы глубиной и шириной более 3 мм;

в канавках следы от литников высотой и глубиной более 3 мм.

(Измененная редакция, Изм. № 4).

2.5. С торцов подшипника резиновая часть должна быть обрезана до уровня металлической втулки. Допускается подрезка резиновой части совместно с металлической втулкой в пределах допуска на длину L и l.

2.6. Не допускается отслаивание резиновой части от металла на глубину более 3 мм от торца. Общая длина ее не должна быть более 1/3 длины окружности.

2.7. На поверхности металлической втулки подшипника не допускаются:

ржавчина и окалина;

забоины длиной более 3 мм и глубиной более 0,5 мм. Количество забоин не должно превышать трех на подшипниках для валов диаметром от 30 до 100 мм и пяти - на подшипниках для валов диаметром свыше 100 мм.

2.8. Установленный срок службы подшипников - 10 лет.

Установленный срок сохраняемости подшипников - 5 лет.

Допускается увеличение установленного срока сохраняемости за счет соответствующего снижения установленного срока службы.

(Измененная редакция, Изм. № 1).

2.9. 80 %-ный ресурс подшипников в условиях морских и других бассейнов - 25000 ч, речных бассейнов - 6000 ч, водоемов Средней Азии - 2000 ч.

Установленный ресурс подшипников - 2000 ч.

Критерием отказа является превышение износа резины подшипника, указанного в табл. 4.

(Измененная редакция, Изм. № 1, 3).

2.10. Подшипники должны изготавливаться в пресс-формах, шероховатость формующих поверхностей которых должна быть не более Ra 0,32 мкм.

(Измененная редакция, Изм. № 3).

3. ПРАВИЛА ПРИЕМКИ

3.1. Для контроля изготовителем соответствия качества подшипников требованиям настоящего стандарта их подвергают приемо-сдаточным и периодическим испытаниям по характеристикам, указанным в табл. 3.

Таблица 3

Характеристика

Вид испытаний

приемо-сдаточные

периодические

1. Внешний вид подшипников по пп. 2.4 - 2.7

+

-

2. Длина подшипника L; l

+

-

3. Размеры подшипников D; D2 : r и r1

-

+

4. Показатели качества резины (по табл. 2)

-

+

Примечание. Знак «+» означает проведение испытаний, знак «-» - отсутствие испытаний.

3.2. При приемо-сдаточных испытаниях каждый подшипник подвергают контролю по пп. 1 и 2 табл. 3.

3.3. Подшипники принимают партиями. За партию принимают количество подшипников одного типоразмера, но не более 100 шт.

3.4. Периодические испытания по п. 3 табл. 3 проводят при приемке новых и отремонтированных пресс-форм, а также в процессе производства не реже одного раза в квартал на трех образцах от каждой пресс-формы.

При получении неудовлетворительных результатов испытаний подшипников хотя бы по одной из характеристик проводят проверку на удвоенной выборке, взятой от той же партии подшипников. Результаты повторных испытаний являются окончательными.

3.5. Периодические испытания по п. 4 табл. 3 проводят не реже одного раза в неделю по показателям, указанным в пп. 1 - 4 табл. 2, не реже одного раза в две недели по показателям, указанным в пп. 5 - 9 табл. 2, на одной текущей закладке резиновой смеси.

При получении неудовлетворительных результатов испытаний хотя бы по одному из показателей проводят повторные испытания на удвоенном количестве образцов, взятых из той же закладки. Результаты повторных испытаний являются окончательными. При получении неудовлетворительных результатов испытаний изготовление изделий из этой закладки не допускается. Испытания по невыдержанному показателю проводятся далее на каждой закладке до получения положительных результатов от пяти закладок подряд.

(Измененная редакция, Изм. № 1).

3.6. Потребитель проводит приемку каждого подшипника в соответствии с пп. 1 - 3 табл. 3.

3.7. Правила приемки подшипников представителем заказчика устанавливаются по согласованию между изготовителем и заказчиком.

3.8. Подшипники, предназначенные для комплектации судов с классом Регистра СССР, должны приниматься соответствующим органом государственного технического надзора.

4. МЕТОДЫ КОНТРОЛЯ

4.1. Проверку размеров подшипников производят универсальным и специальным измерительным инструментом.

4.2. Внешний вид подшипников проверяется визуально.

4.3. Показатели качества резины должны контролировать в соответствии с методами испытаний по стандартам, указанным в табл. 2.

4.4. Для контроля по пп. 2.4, 2.5, 2.7 применяют штангенциркуль ШЦ-I по ГОСТ 166, цена деления 0,1, мм и контрольные образцы внешнего вида, согласованные в установленном порядке.

(Измененная редакция, Изм. № 3).

5. МАРКИРОВКА, УПАКОВКА, ТРАНСПОРТИРОВАНИЕ И ХРАНЕНИЕ

5.1. В канавке подшипника на расстоянии 5 - 7 мм от края должна быть рельефная маркировка, содержащая:

товарный знак или условное обозначение предприятия-изготовителя;

обозначение подшипника без слова «подшипник», без обозначения материала втулки и стандарта на материал втулки, без указания климатического исполнения и категории размещения подшипника.

Пример рельефной маркировки подшипника

II-30Д ОМ 5 ГОСТ 7199-77,

Сталь 20 ГОСТ 1050-74

изготовленного Ленинградским производственным объединением «Красный треугольник»;

 II-30Д ГОСТ 7199-77.

До износа имеющихся в обращении пресс-форм допускается изготавливать подшипники с рельефной маркировкой, приведенной в приложении 2.

Климатическое исполнение и категории размещения должны быть указаны в документе, удостоверяющим качество подшипников.

Для подшипников, предназначенных для районов с тропическим климатом, допускается наносить краской букву Т, а также обозначение марки материала втулки.

Остальные требования к маркировке подшипников для районов с тропическим климатом - по ГОСТ 15152.

На торце подшипника водостойкой краской должна быть указана дата изготовления (месяц и две последние цифры года).

Допускается указывать на торце номер пресс-формы.

(Измененная редакция, Изм. № 1, 3).

5.2. Готовые подшипники одного типоразмера (предварительно завернутые в оберточную бумагу по ГОСТ 8273) должны быть уложены в дощатые неразборные ящики по ГОСТ 15841, ГОСТ 16536, ГОСТ 16511, выложенные водонепроницаемой по ГОСТ 8828 или парафинированной бумагой по ГОСТ 9569.

Масса ящика брутто должна быть не более 80 кг. Допускается упаковывание подшипников различных типоразмеров в общей таре, при этом каждый подшипник должен быть завернут в водонепроницаемую бумагу.

5.3. На каждом ящике должен быть ярлык по ГОСТ 14192 с указанием:

товарного знака предприятия-изготовителя или его условного обозначения;

условного обозначения подшипников;

количества подшипников в ящике;

даты изготовления (год, месяц);

массы брутто, кг.

5.4. Каждая партия подшипников должна сопровождаться документом, удостоверяющим их качество, с указанием:

товарного знака предприятия-изготовителя или его условного обозначения;

условного обозначения подшипников;

количества подшипников в партии;

даты изготовления (год, месяц);

номера партии;

шифра резиновой смеси;

штампа технического контроля.

(Измененная редакция, Изм. № 1).

5.5. Подшипники могут транспортироваться в таре любым видом транспорта.

5.6. Подшипники должны храниться в условиях Л, С, Ж2, ОЖ2, ОЖ4 по ГОСТ 15150. После хранения при температуре ниже минус 4 °С подшипники перед монтажом должны быть выдержаны при температуре от 15 до 25 °С не менее 24 ч.

5.7. Подшипники не должны подвергаться воздействию солнечного излучения и веществ, разрушающих резину: кислот, щелочей, масел нефтяного происхождения и других агрессивных веществ.

5.8. Подшипники, установленные в узел, допускается хранить при статических нагрузках при температуре ниже минус 4 °С. Перед началом работы вала подшипник должен быть выдержан при температуре эксплуатации не менее 24 ч.

5.9. При температуре ниже минус 4 °С в период хранения или в момент докования (вал демонтирован из подшипника) подшипники должны подвергаться консервации техническим глицерином по ГОСТ 6259.

6. УКАЗАНИЕ ПО ЭКСПЛУАТАЦИИ

6.1. Подшипник предназначается для эксплуатации при условных удельных давлениях до 0,34 МПа (3,5 кгс/см2) и окружной скорости вала от 0,5 до 10,0 м/с.

Условное удельное давление на подшипник q в кгс/см2 рассчитывают по формуле

где Р - нагрузка на подшипник, кгс;

D - диаметр подшипника, см;

L - длина подшипника, см.

6.2. Подшипники, изготовленные с применением стальных втулок, предназначены для эксплуатации в пресной воде.

6.3. Для охлаждения и смазки подшипников с диаметром валов до 140 мм следует принимать расход воды не менее 1,5 м3/ч, а для диаметров свыше 140 мм - не менее 2,0 м3/ч.

6.4. Бесфланцевые подшипники рекомендуется монтировать по посадке Н7/r6, фланцевые - H8/js7.

6.5. При установке подшипника потребитель должен обеспечить исключение проворачивания и осевого смещения каждого подшипника.

6.6. Допускается устанавливать при монтаже два или более подшипников друг за другом без зазора. При этом продольные канавки в резине должны совпадать.

6.7. Параметр шероховатости вала (облицовки) при монтаже должен быть Ra £ 1,25 мкм по ГОСТ 2789.

6.8. Износ резины подшипников при 80 %-ном и установленном ресурсах не должен превышать значений, указанных в табл. 4.

Таблица 4

Диаметр вала (облицовки), под подшипник, мм

Величина износа резины, % от диаметра вала

От 30 до 100 включ.

4

» 100 » 150     »

3

» 150 » 240     »

2,5

Примечание. Значение износа является расчетным и определяется с учетом типа судна и условий эксплуатации (см. п. 2.9).

(Измененная редакция, Изм. № 3).

7. ГАРАНТИИ ИЗГОТОВИТЕЛЯ

7.1. Изготовитель должен гарантировать соответствие подшипников требованиям настоящего стандарта при соблюдении условий эксплуатации (хранения, применения по назначению и транспортирования).

7.2. Гарантийный срок хранения - три года с момента изготовления подшипников. Гарантийный срок эксплуатации подшипников - 5 лет со дня ввода в эксплуатацию при гарантийной наработке в условиях морских и других бассейнов - 2000 ч.

Днем ввода подшипников в эксплуатацию считается день установки их в сборочные единицы.

(Измененная редакция, Изм. № 3).

7.3. (Исключен, Изм. № 3).

ПРИЛОЖЕНИЕ 1

Обязательное

ВТУЛКИ

1. Втулки подшипников должны изготовляться из латуни марок ЛС 59-1 и Л63 по ГОСТ 15527, ЛЦ16Кч, ЛЦ40Мц1,5, ЛЦ40Мц3Ж по ГОСТ 17711, сталей марок 10 и 20 по ГОСТ 1050 и Ст3 по ГОСТ 380.

2. Втулки подшипников должны поставляться двух типов:

I - бесфланцевые;

II - фланцевые.

3. Втулки в зависимости от длины должны поставляться трех исполнений:

Д - удлиненными;

Н - нормальными;

К - укороченными.

4. Конструкция и основные размеры втулок должны соответствовать указанным на чертеже и в таблице настоящего приложения.

5. Не допускается изготовление втулок способом литья без последующей механической обработки.

Втулка типа I

Втулка типа II

Примечание. С 01.01.86 параметры шероховатости должны быть 12,5 мкм.

Размер А предприятию-изготовителю резино-технических изделий не контролировать.

мм

Диаметр вала (облицовки) под подшипник

L (пред. откл. -0,3) подшипников исполнений

D1 (пред. откл. по h8)

D2 (пред. откл. по чертежу)

D3 (пред. откл. по h12)

l (пред. откл. по h12)

Д

Н

К

30

110

90

-

47

М40´1,5

80

8

35

125

105

54

М45´1,0

85

40

140

120

62

М52´1,0

95

45

155

135

66

М58´1,5

100

50

170

150

72

М64´1,0

105

55

190

150

80

М70´1,5

110

60

210

165

86

М76´1,0

120

65

230

180

92

М82´2,0

125

70

250

190

96

М85´1,5

130

75

270

210

108

М90´1,5

135

80

290

220

113

М95´1,5

155

10

85

300

240

114

М100´1,5

160

90

320

250

128

М110´1,5

170

95

340

260

128

М115´1,5

175

100

350

280

138

М120´1,5

185

13

105

370

290

138

М125´1,5

190

110

385

300

154

М130´1,5

200

115

400

320

154

М135´1,5

205

120

420

330

167

М145´1,5

215

125

440

340

167

М150´1,5

220

130

450

360

182

М155´2,0

225

135

460

370

182

М160´2,0

230

140

480

380

240

184

М165´2,0

265

18

150

520

410

260

194

М175´2,0

275

160

550

440

275

204

М180´2,0

285

170

580

460

290

214

М190´2,0

295

180

620

500

310

224

М200´2,0

305

190

650

520

325

234

М210´З,0

315

200

680

550

340

254

М225´3,0

325

210

720

580

360

264

М235´3,0

335

220

750

600

375

274

М245´3,0

345

230

800

620

400

284

М255´3,0

355

240

840

650

420

294

М265´3,0

365

Примечания:

1. Для достройки и ремонта судов и плавсредств допускается изготовление втулок с размерами, отличающимися от указанных в таблице, по чертежам, согласованным между изготовителем и потребителем.

2. Условное обозначение втулки аналогично обозначению подшипника без указания группы резины, климатического исполнения и категории размещения.

6. Поверхность втулок должна быть без оттенков побежалости, окалины, ржавчины, пор, трещин. На наружной поверхности втулок не допускаются забоины длиной более 3 мм и глубиной более 0,5 мм. Количество забоин не должно превышать 3 шт. на втулках для подшипников диаметром до 100 мм и 5 шт. на втулках для подшипников диаметром более 100 мм.

7. Торцы втулок не должны иметь заусениц.

8. Для предохранения от коррозии втулки из сталей должны быть обработаны 20 - 30 %-ным водным раствором нитрита натрия по ГОСТ 19906 (выдержка в растворе в течение 3 - 5 мин при температуре 40 - 50 °С) с последующей упаковкой в оберточную бумагу по ГОСТ 8273, смоченную тем же раствором.

По согласованию сторон допускается применение других способов консервации по ГОСТ 9.014.

9. Одновременно с втулкой по требованию предприятия-изготовителя подшипников должны представляться образцы из материала втулки для проведения испытаний по п. 7 табл. 2 настоящего стандарта. Размеры образца - по ГОСТ 209. На торце меньшего диаметра образца наносится марка материала способом, обеспечивающим сохранность маркировки при транспортировании и хранении.

10. Каждую втулку в месте, указанном на чертеже, маркируют краской с указанием обозначения втулки.

11. Втулки упаковывают в любую тару, обеспечивающую защиту от загрязнения, повреждения, коррозии, а также сохранность при транспортировании.

12. Для предохранения втулки от коррозии тара должна быть внутри выложена любой водонепроницаемой бумагой. Применение промасленного толя и рубероида не допускается.

13. Масса одного упаковочного места не должна превышать 50 кг. Если масса втулки превышает 50 кг, в одно упаковочное место помещается только одна втулка.

14. Маркировку тары производят по ГОСТ 14192 с дополнительным указанием: наименования и условного обозначения втулки, количества, номера отгрузочной квитанции.

15. Каждую партию втулок сопровождают паспортом с указанием:

предприятия-изготовителя;

наименования и условного обозначения втулки;

документации на втулки;

марки металла и нормативно-технического документа;

наличия образцов по ГОСТ 209;

даты изготовления;

штампа технического контроля предприятия-изготовителя.

16. Для судов речного флота допускается изготовление втулок подшипников с размером D1, превышающим указанные в таблице, по чертежам, согласованным изготовителем и потребителем.

(Измененная редакция, Изм. № 1).

ПРИЛОЖЕНИЕ 2

Обязательное

ДОПУСКАЕМЫЕ ВАРИАНТЫ РЕЛЬЕФНОЙ МАРКИРОВКИ

1. До износа имеющихся в обращении пресс-форм допускается изготовлять подшипники с рельефной маркировкой по ГОСТ 7199 и знаком в виде точки после текста маркировки.

Пример рельефной маркировки подшипника ,

изготовленного Ленинградским производственным объединением «Красный треугольник» в пресс-форме с маркировкой по ГОСТ 7199, I-240K ГОСТ 7199-77.

2. До износа имеющихся в обращении пресс-форм допускается изготовлять подшипники с рельефной маркировкой по ГОСТ 7199, содержащей обозначение 1 или 2 группы резины.

Пример рельефной маркировки подшипника ,

изготовленного Ленинградским производственным объединением «Красный треугольник», II-1-30Д ГОСТ 7199-77.

ПРИЛОЖЕНИЕ 2. (Измененная редакция, Изм. № 3).

 

ИНФОРМАЦИОННЫЕ ДАННЫЕ

 

1. РАЗРАБОТАН И ВНЕСЕН Министерством нефтеперерабатывающей и нефтехимической промышленности СССР

РАЗРАБОТЧИКИ

В.Ю. Фрадков; В.В. Михайлов (руководитель темы); Г.Р. Хачатрян, канд. техн. наук; Л.А. Яковлев, канд. техн. наук; В.Е. Билецкий; Н.А. Сухих; Г.Т. Измакина; В.А. Пенкин; Б.Х. Аврущенко; З.А. Ковачева

2. УТВЕРЖДЕН И ВВЕДЕН В ДЕЙСТВИЕ Постановлением Государственного комитета стандартов Совета Министров СССР от 18.02.77 № 425

3. ССЫЛОЧНЫЕ НОРМАТИВНО-ТЕХНИЧЕСКИЕ ДОКУМЕНТЫ

Обозначение НТД, на который дана ссылка

Номер пункта

Обозначение НТД, на который дана ссылка

Номер пункта

ГОСТ 9.014-78

Приложение 1

ГОСТ 9569-79

5.2

ГОСТ 9.030-74

2.3

ГОСТ 12433-83

2.3

ГОСТ 166-89

4.4

ГОСТ 14192-96

5.3; приложение 1

ГОСТ 209-75

2.3; приложение 1

ГОСТ 15150-69

1.3; 5.6

ГОСТ 262-93

2.3

ГОСТ 15152-69

1.3; 5.1

ГОСТ 263-75

2.3

ГОСТ 15527-70

1.4; приложение 1

ГОСТ 270-75

2.3

ГОСТ 15841-88

5.2

ГОСТ 380-94

1.4; приложение 1

ГОСТ 16511-86

5.2

ГОСТ 426-77

2.3

ГОСТ 16536-90

5.2

ГОСТ 1050-88

1.4; 5.1; приложения 1 и 2

ГОСТ 17711-93

1.4; приложение 1

ГОСТ 2789-73

6.7

ГОСТ 19906-74

Приложение 1

ГОСТ 5789-78

2.3

ГОСТ 20403-75

2.3

ГОСТ 6259-75

5.9

ТУ 38 103247-86

2.2

ГОСТ 8273-75

5.2; приложение 1

ТУ 38 103495-85

2.2

ГОСТ 8828-89

5.2

 

 

4. Ограничение срока действия снято по протоколу № 5-94 Межгосударственного Совета по стандартизации, метрологии и сертификации (ИУС 11-12-94)

5. ИЗДАНИЕ (апрель 2002 г.) с Изменениями № 1, 2, 3, 4, утвержденными в апреле 1985 г., июне 1987 г., мае 1989 г., июне 1990 г. (ИУС 7-85, 9-87, 8-89, 9-90)

 

СОДЕРЖАНИЕ

1. Типы, основные параметры и размеры.. 1

2. Технические требования. 4

3. Правила приемки. 5

4. Методы контроля. 6

5. Маркировка, упаковка, транспортирование и хранение. 6

6. Указание по эксплуатации. 7

7. Гарантии изготовителя. 8

Приложение 1. Втулки. 8

Приложение 2. Допускаемые варианты рельефной маркировки. 11