ГОСТ 9.704-80
МЕЖГОСУДАРСТВЕННЫЙ СТАНДАРТ
ЕДИНАЯ СИСТЕМА ЗАЩИТЫ ОТ КОРРОЗИИ И СТАРЕНИЯ
РЕЗИНЫ
МЕТОДЫ ОПРЕДЕЛЕНИЯ РАБОТОСПОСОБНОСТИ
УПЛОТНИТЕЛЬНЫХ ДЕТАЛЕЙ НЕПОДВИЖНЫХ
СОЕДИНЕНИЙ ПРИ РАДИАЦИОННО-ТЕРМИЧЕСКОМ
И ТЕРМИЧЕСКОМ СТАРЕНИИ
ИПК ИЗДАТЕЛЬСТВО СТАНДАРТОВ
Москва
ИНФОРМАЦИОННЫЕ ДАННЫЕ
1. РАЗРАБОТАН И ВНЕСЕН Министерством химической и нефтеперерабатывающей промышленности СССР
2. ВВЕДЕН ВПЕРВЫЕ
3. УТВЕРЖДЕН Постановлением Госстандарта СССР от 11.09.80 № 4661
4. ССЫЛОЧНЫЕ НОРМАТИВНО-ТЕХНИЧЕСКИЕ ДОКУМЕНТЫ
|
Обозначение НТД, на который дана ссылка |
Номер пункта |
5. Ограничение срока действия снято по протоколу № 5-94 Межгосударственного Совета по стандартизации, метрологии и сертификации (ИУС 11-12-94)
6. ИЗДАНИЕ (июнь 2002 г.) с Изменениями № 1, 2, утвержденными в январе 1986 г., октябре 1990 г. (ИУС 5-86, 1-91)
МЕЖГОСУДАРСТВЕННЫЙ СТАНДАРТ
|
Единая система защиты от коррозии и старения РЕЗИНЫ Методы определения работоспособности уплотнительных деталей неподвижных соединений при радиационно-термическом и термическом старении Unified system of corrosion and ageing protection. Vulcanized rubbers. Methods of determination of the packing parts for the fixed joints working capacity during the radiation-thermal ageing |
ГОСТ |
Дата введения 01.07.81
Настоящий стандарт распространяется на резиновые уплотнительные детали неподвижных неразъемных соединений сборочных единиц, машин, агрегатов, запасных частей и принадлежностей и устанавливает два метода определения работоспособности:
А - при радиационно-термическом старении;
Б - при термическом старении.
Показателем работоспособности является максимальная поглощенная доза ионизирующего излучения или продолжительность облучения при заданной мощности поглощенной дозы излучения (по методу А) и продолжительность воздействия температуры и кислорода воздуха (по методу Б), при которых уплотнительные детали обеспечивают герметичность системы в месте уплотнения.
Герметичность системы определяют по заданному значению остаточного давления воздуха в вакуумной системе.
Методы применяют для сравнительной оценки работоспособности резиновых уплотнительных деталей в условиях радиационно-термического и термического старения.
(Измененная редакция, Изм. № 1, 2).
1.1. Образцы для испытаний изготовляют в соответствии с требованиями ГОСТ 269 и пп. 1.2-1.4.
1.2. Образцы в виде колец вулканизуют в пресс-форме или вырезают из готовых изделий. Шероховатость рабочих поверхностей пресс-форм Ra по ГОСТ 2789 должна быть от 0,63 до 0,32 мкм.
Размеры образцов должны соответствовать следующим:
наружный диаметр - (15,0±0,5) мм;
внутренний диаметр - (5,0±0,5) мм;
высота - (8,0±2,5) мм.
(Измененная редакция, Изм. № 1).
1.3. Условия вулканизации образцов устанавливают в стандартах или технических условиях на резиновые изделия.
1.4. Количество образцов для испытаний должно быть не менее трех.
(Измененная редакция, Изм. № 1).
2.1. Источник излучения в соответствии с требованиями ГОСТ 9.706.
2.2. Установка для испытаний, схема которой приведена на чертеже, должна включать:

1 - вакуумный насос; 2, 4, 7, 12 - резиновые вакуумные трубки; 3 - металлическая труба; 5 - трехходовой кран; 6 - ловушка; 8 - вакуумметр; 9 - манометрический преобразователь; 10 - тройник; 11 - двухходовой кран; 13 - струбцина
насос вакуумный типа НВР, двухступенчатый по НТД с быстротой действия 1,0 дм3/с и предельным парциальным остаточным давлением 6,7ּ10-5 кПа;
вакуумметр с пределом измерения (100-10-1) Па, класса точности 2, с манометрическим термопарным преобразователем типа ПМТ-2 по НТД;
ловушку стеклянную вакуумную разъемную по НТД;
струбцину, обеспечивающую деформацию сжатия образцов 25-30 %. Нижняя плита струбцины должна быть снабжена тремя отверстиями, соединенными с боковых сторон металлическими трубками для откачки воздуха. Плиты струбцины должны быть изготовлены из стали марок 12Х18Н9Т, 12Х18Н9 или 40X13 по ГОСТ 5632. Схема струбцины приведена в приложении 1. Шероховатость поверхности плит, контактирующей с образцами, Ra по ГОСТ 2789 должна быть от 1,25 до 0,63 мкм;
трубки стеклянные с наружным диаметром (10±2) или (12±2) мм по НТД;
трубу стальную бесшовную по ГОСТ 8734 длиной (100±10) мм, наружным диаметром 14 мм, толщиной стенки 1,8 или 2,0 мм;
трубки резиновые вакуумные по НТД. Размеры резиновых трубок приведены в табл. 1.
Таблица 1
Размеры в мм
|
Длина, не более |
Внутренний диаметр |
Толщина стенки |
|
|
2 |
200 |
12 |
12 |
|
4 |
1500 |
10 |
7 |
|
7 |
100 |
8 |
7 |
|
12 |
100 |
2 или 3 |
4 |
кран стеклянный вакуумный двухходовой по ГОСТ 7995;
кран стеклянный вакуумный трехходовой по ГОСТ 7995;
тройник стеклянный наружным диаметром 10 или 12 мм по НТД.
2.2а. Профилограф-профилометр по ГОСТ 19300.
2.2. 2.2а. (Измененная редакция, Изм. № 1, 2).
2.3. Термостат в соответствии с требованиями ГОСТ 9.024.
2.4. Толщиномер индикаторный по ГОСТ 11358 с ценой деления 0,01 мм.
2.5. Сосуд Дьюара стеклянный по техническим условиям.
2.6. Шнур резиновый мягкий с диаметром или длиной стороны (2,0±0,2) мм и относительным удлинением не менее 350 % по ГОСТ 6467 или пластина резиновая с относительным удлинением не менее 350 % и толщиной (0,20±0,05) мм по техническим условиям.
2.7. Перкаль хлопчатобумажный технический по ГОСТ 12125.
2.8. Бензин-растворитель по НТД.
2.9. Ацетон по ГОСТ 2768 или ГОСТ 2603.
2.10. Спирт этиловый ректификованный по ГОСТ 5962*.
*На территории Российской Федерации действует ГОСТ Р 51652-2000.
2.11. Азот жидкий по ГОСТ 9293.
2.12. Часы электрические вторичные показывающие по НТД с погрешностью хода ±60 с за 24 ч.
2.13. Термометр стеклянный по ГОСТ 28498 с диапазоном измерений от 0 до 100 °С с допускаемой погрешностью ±1 °С.
Примечание. Допускается применять другие средства измерений с соответствующими диапазонами измерений и погрешностями не более указанных.
2.12, 2.13. (Введены дополнительно, Изм. № 2).
3.1. Образцы подвергают испытаниям не ранее, чем через 16 ч после вулканизации.
3.2. Образцы до и после радиационно-термического и термического старения хранят в условиях, исключающих воздействие прямых солнечных лучей, при температуре (23±2) °С и относительной влажности (50±5) %.
(Измененная редакция, Изм. № 1, 2).
3.3. Внутренние поверхности струбцины протирают перкалем, смоченным бензином, затем этиловым спиртом или ацетоном.
3.4. Образцы маркируют порядковым номером на боковой поверхности. Поверхности образцов, контактирующие с металлом, протирают перкалем, смоченным этиловым спиртом или ацетоном. Измеряют толщиномером высоту каждого образца.
3.5. Образцы и ограничители помещают между плитами струбцины, отполированными перед каждым испытанием, при этом отверстия в нижней плите струбцины должны совпадать с отверстиями в образцах. Заданную шероховатость поверхности струбцин определяют профилографом-профилометром.
В одну струбцину помещают образцы, отличающиеся по высоте не более, чем на 0,05 мм.
(Измененная редакция, Изм. № 1).
3.6. Образцы подвергают деформации сжатия, затягивая болты струбцины до тех пор, пока верхняя плита струбцины не придет в соприкосновение с ограничителями.
3.7. Образцы выдерживают в деформированном состоянии не менее 24 ч и не более 7 сут.
4.2. Производят настройку вакуумметра в соответствии с инструкцией по его эксплуатации и откачивают воздух из системы установки до остаточного давления 5,3 Па.
Установку считают герметичной, если при закрытом кране 11 остаточное давление в системе не превышает 5,3 Па в течение (10±1) мин.
4.3. Присоединяют одну из отводных трубок струбцины 13 к резиновой трубке 12, как показано на чертеже. Герметичность соединения обеспечивают обжатием трубки резиновым шнуром или лентой, вырезанной из пластины.
4.4. Открывают кран 11 и откачивают воздух из системы до остаточного давления 5,3 Па.
Если остаточное давление равно или менее 5,3 Па в течение (10±1) мин, считают, что образец обеспечивает герметичность системы установки в месте уплотнения.
Если остаточное давление в системе превышает указанное значение, считают, что образец не обеспечивает герметичность системы в месте уплотнения и его следует заменить.
4.5. Закрывают кран 11, снимают резиновую трубку с отводной трубки струбцины. Присоединяют последовательно две другие отводные трубки струбцины к вакуумной системе установки, определяя, как указано в пп. 4.1-4.4, герметичность системы.
4.6. Отключают насос и поворачивают кран 5 в положение, при котором насос соединяется с атмосферой.
4.7. Струбцины с образцами, обеспечивающими герметичность системы, помещают в поле источника излучения и подвергают воздействию ионизирующего излучения в соответствии с требованиями ГОСТ 9.701. Мощность поглощенной дозы определяют в местах размещения образцов в струбцине.
В случае облучения при температуре от 50 до 100 °С струбцину с образцами помещают в термостат, нагретый до заданной температуры, и вводят (включают) источник в рабочее положение.
(Измененная редакция, Изм. № 1).
4.8. В процессе облучения образцов источник излучения периодически выводят (выключают) из рабочего положения, струбцины с образцами извлекают из поля источника в соответствии с требованиями ГОСТ 9.701 и определяют герметизирующую способность образцов после облучения в соответствии с требованиями пп. 4.1-4.5.
Интервалы поглощенных доз, через которые повторяют определение герметизирующей способности образцов в зависимости от типа полимера и температуры испытаний, указаны в приложении 2.
4.9. Испытания заканчивают после облучения до поглощенной дозы, при которой два из трех образцов не обеспечивают герметичность системы в заданном месте уплотнения.
4.10. Форма записи результатов испытаний образцов после облучения приведена в табл. 2.
Таблица 2
|
Поглощенная доза излучения, Гр |
Результаты испытания образцов |
|||
|
1 |
2 |
3 |
||
|
Р |
D1 |
+ |
+ |
+ |
|
Р |
D2 |
+ |
+ |
+ |
|
|
D3 |
+ |
+ |
+ |
|
|
… |
… |
… |
… |
|
|
Dn |
+ |
+ |
+ |
|
|
Dn+1 |
+ |
- |
+ |
|
|
Dn+2 |
+ |
- |
- |
Примечания:
1. Р - мощность поглощенной дозы излучения, определяемая в соответствии с требованиями ГОСТ 9.701-79.
2. D1, D2, D3 … Dn - поглощенные дозы излучения, при которых все образцы обеспечивают герметичность системы;
Dn+1 - поглощенная доза излучения, при которой один образец не обеспечивает герметичность системы;
Dn+2 - поглощенная доза излучения, при которой два образца не обеспечивают герметичность системы. При этом D1 < D2 < D3< … Dn < Dn+1 < Dn+2.
3. Знак «+» означает, что образец обеспечивает герметичность системы; знак «-» - не обеспечивает герметичность системы.
(Измененная редакция, Изм. № 1).
4.11. Разность Dn+2 и Dn+1 не должна превышать 10 % при значениях поглощенных доз, не превышающих 3000·104 Гр, и 5 % - при значениях поглощенных доз свыше 3000·104 Гр.
Если разность Dn+2 и Dn+1 превышает указанные значения, испытания повторяют.
4.12. Результаты испытаний записывают в протокол по форме, приведенной в приложении 3.
5.1. За результат испытаний принимают максимальное значение поглощенной дозы излучения Dn в Гр, при котором все испытуемые образцы обеспечивают герметичность системы установки или продолжительность облучения tn в часах, определяемую по формуле
![]()
где Р - мощность поглощенной дозы излучения, Гр/с.
5.2. Сопоставимыми считают результаты испытаний, полученные на образцах, изготовленных одним способом при одинаковых условиях и продолжительности хранения, облучение которых проводилось при одних и тех же значениях температуры и мощности поглощенной дозы излучения.
5а.1. Отбор образцов
Отбор образцов - по пп. 1.1-1.4.
5а.2. Аппаратура и материалы
Аппаратура и материалы - по пп. 2.1-2.11.
5а.3. Подготовка к испытаниям
Подготовка к испытаниям - по пп. 3.1-3.7.
5а.4. Проведение испытаний
5а.4.1. Испытания на герметичность - по п. 4.1-4.6.
5а.4.2. Струбцины с образцами, обеспечивающими герметичность системы по п. 4.5, помещают в термостат, нагретый до заданной температуры. Температуру старения устанавливают по ГОСТ 9.029 в зависимости от типа полимера, на основе которого изготовлен образец.
Ориентировочную продолжительность старения (t) при различных температурах в зависимости от типа полимера и вулканизующей группы устанавливают по приложению 2а.
Отсчет продолжительности старения начинают с момента помещения струбцины с образцами в термостат.
После старения струбцину с образцами вынимают из термостата, охлаждают на воздухе до температуры (23±2) °С, выдерживая от 12 до 24 ч, и при этой же температуре определяют герметичность системы после старения по п. 4.5.
5а.4.3. Периодичность контроля герметичности уплотнительного соединения устанавливают:
1-2 сут - при t от 10 до 20 сут;
3-5 сут - при t свыше 20 до 100.
При t свыше 100 проводят 2-4 определения герметичности через 20-40 сут, а затем через каждые 10-20 сут.
5а.4.4. Испытания заканчивают, если из трех образцов два не обеспечивают герметичность системы в месте уплотнения.
Форма записи результатов испытания приведена в табл. 3.
Таблица 3
|
Продолжительность, сут |
Результаты испытания образцов |
|||
|
1 |
2 |
3 |
||
|
t1 |
t1 |
+ |
+ |
+ |
|
|
t2 |
+ |
+ |
+ |
|
|
t3 |
+ |
+ |
+ |
|
|
… |
… |
… |
… |
|
|
tn |
+ |
+ |
+ |
|
|
tn+1 |
+ |
- |
+ |
|
|
tn+2 |
+ |
- |
- |
Примечания:
1. t1 - температура термического старения.
2. t1, t2, t3, … tn - продолжительности старения, при которых всех образцы обеспечивают герметичность системы:
tn+1 - продолжительность старения, при которой один образец не обеспечивает герметичность системы;
tn+1 - продолжительность старения, при которой два образца не обеспечивают герметичность системы. При этом t1 < t2 < t3 < … tn < tn+1 < tn+2.
3. Знак «+» означает, что образец обеспечивает герметичность системы; знак «-» - образец не обеспечивает герметичность системы.
5а.4.5 Разность tn+2 и tn+1 не должна превышать 10 % при продолжительности старения до 150 сут и 5 % - при продолжительности старения свыше 150 сут.
Если разность tn+2 и tn+1 превышает указанные значения, испытания повторяют.
5а.4.6. Форма записи результатов испытания приведена в приложении 3.
5а.5. Обработка результатов
5а.5.1. За результат испытаний принимают максимальную продолжительность старения, при которой все испытуемые образцы обеспечивают герметичность системы.
5а.5.2. Сопоставимыми считают результаты испытаний, полученные на образцах, изготовленных одним способом при одинаковых условиях и продолжительности хранения, старение которых проводилось при одних и тех же значениях температуры.
5а.1-5а.5.1. (Введены дополнительно, Изм. № 1).
6.1. Помещение для испытаний должно быть оборудовано приточно-вытяжной вентиляцией, и соответствовать требованиям ГОСТ 12.1.005 и ГОСТ 12.1.004.
6.2. Аппаратура должна соответствовать требованиям ГОСТ 12.1.019 и ГОСТ 12.1.030 в части требований электробезопасности.
6.3. При подготовке и проведении испытаний должны соблюдаться типовые правила пожарной безопасности для промышленных предприятий, утвержденные ГУПО МВД СССР, и соответствующие требованиям ГОСТ 12.3.002.
6.4. Не допускается производить ремонт включенной в сеть энергопитания аппаратуры.
6.1-6.4. (Измененная редакция, Изм. № 1).
6.5. При проведении испытаний на установке с источником ионизирующего излучения необходимо соблюдать требования, установленные Санитарными правилами устройства и эксплуатации мощных изотопных гамма-установок (№ 1170-74). Нормами радиационной безопасности (НРБ-76) и Общими санитарными правилами (ОСП-72/80).
(Измененная редакция, Изм. № 1, 2).
6.6. Сосуд Дьюара должен быть обшит по всей длине плотной светлой тканью и находиться в тонкостенном металлическом сосуде, на дне которого помещено асбестовое волокно.
Перед заполнением сосуда Дьюара жидким азотом необходимо пользоваться воронкой, изготовленной из картона, и защитными очками.
6.7. Каждый работающий на установке должен пройти инструктаж по технике безопасности и эксплуатации установки и получить допуск к работе.
6.8. На каждом рабочем участке должны быть инструкции по технике безопасности и промышленной санитарии, а также журнал проведения инструктажа работающих по установленной форме.
6.9. Все работающие должны быть в халатах и теплоизолирующих перчатках.
6.6-6.9. (Измененная редакция, Изм. № 1).
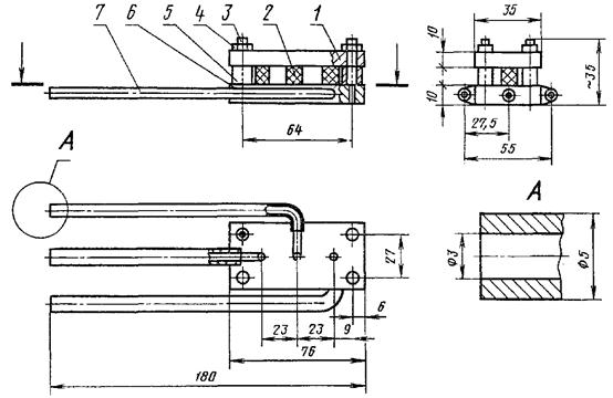
Рекомендуемое

1 - верхняя плита; 2 - образец; 3 - болт; 4 - гайка; 5 - ограничитель; 6 - нижняя плита; 7 - отводная металлическая трубка
Обязательное
|
Тип полимера |
Интервал поглощенных доз ·10 , Гр |
|
Бутилкаучуки |
10 |
|
Силоксановые (СКТВ) и фторсилоксановые (СКТФТ) |
100, далее до конца 25 |
|
Фторкаучуки (СКФ-26, СКФ-32, СКФ-260) |
100, 100, далее до конца 50 |
|
Бутадиен-нитрильные (СКН-40, СКН-50), бутадиен-метилстирольные (СКМС-10, СКМС-30АРКМ-15), хлоропреновые и акрилатные каучуки |
100, 100, 100, 100, далее до конца 50 |
|
Бутадиен-нитрильные (СКН-18, СКН-26), натуральный, стереорегулярные изопреновые (СКИ-3), стереорегулярные цисбутадиеновые (СКД), пероксидатный (СКПО), бутадиен-метилстирольные (СКМС-30АРК, СКМС-50П), бутадиен-стирольный (СКС-30С), сополимеры этилена с пропиленом (СКЭП), сополимеры этилена с пропиленом и диеном (СКЭПТ), уретановые (СКУ-50, СКУ-ПФ, СКУ-ПФЛ, СКУ-8ПГ) каучуки |
200, 200, 200, далее до конца 100 |
|
Бутадиен-стирольный каучук (СКС-85) |
300 до 2400, затем 200 до 3000, далее до конца 100 |
|
Уретановый каучук (СКУ-ПФД) |
500 до 9000, далее до конца 200 |
Примечание. Предельные допустимые отклонения поглощенных доз должны быть:
±1,0 Гр - при интервалах до 50·10 Гр;
±2,0 Гр - при интервалах свыше 50·104 до 200·104 Гр;
±5,0 Гр - при интервалах свыше 200·104 до 500·104 Гр.
ИНТЕРВАЛЫ ПОГЛОЩЕННЫХ ДОЗ ДЛЯ ИСПЫТАНИЯ ПРИ ТЕМПЕРАТУРЕ ОБЛУЧЕНИЯ СВЫШЕ 50 ДО 100 °С
|
Тип полимера |
Интервал поглощенных доз ·104, Гр |
|
Силоксановые (СКТВ), фторсилоксановые (СКТФТ), уретановые (СКУ-8ПГ, СКУ-50, СКУ-ПФ, СКУ-ПФЛ) каучуки |
50, далее до конца 25 |
|
Фторкаучуки (СКФ-32, СКФ-260, СКФ-26) |
100, далее до конца 50 |
|
Сополимеры этилена с пропиленом (СКЭП), сополимеры этилена с пропиленом и диеном (СКЭПТ), пероксидатный (СКПО), бутадиен-нитрильные (СКН-40, СКН-50, СКН-26), бутадиен-метилстирольные (СКМС-10, СКМС-30АРКМ-15), стереорегулярные изопреновые (СКИ-3), натуральный, акрилатные, бутадиен-метилстирольный (СКМС-50) |
100, 100, далее до конца 50 |
|
Бутадиен-нитрильные (СКН-18, СКН-26, СКН-40), стереорегулярный изопреновый (СКИ-3) свулканизованный с помощью тиурама, сульфазана, сантакюра, каучуки |
100 до 500, далее до конца 50 |
|
Бутадиен-стирольный каучук (CKC-85) |
200 до 800, далее до конца 100 |
|
Уретановый каучук (СКУ-ПФД) |
200 |
Примечание. Предельно допустимые отклонения поглощенных доз должны быть:
±1,0 Гр - при интервалах до 50·104 Гр;
±2,0 Гр - при интервалах свыше 50·104 до 200·104 Гр;
Справочное
|
Тип полимера, вулканизующая группа |
Температура старения, °С |
Ориентировочная продолжительность старения t, сут |
|
СКИ-3 (тиурам, сульфазан, сантокюр) |
90±1 100±1 110±1 125±1 |
180 120 70 40 |
|
Наирит (окись магния, окись цинка) |
90±1 100±1 |
20 12 |
|
СКМС-30 АРКМ-15 (тиурам+сера) |
120±1 |
80 |
|
ДССК-18 (ускоритель+сера) |
100±1 |
35 |
|
ДССК-18 (ускоритель без серы) |
100±1 |
170 |
|
ДССК-18 (ускоритель без серы) |
130±1 |
30 |
|
ДССК-18 (пероксид) |
100±1 |
270 |
|
ДССК-18 (пероксид) |
130±1 |
80 |
|
СКЭП (пероксид) |
130±1 150±1 175±2 |
200 80 20 |
|
СКН-18 (ускоритель+сера) |
110±1 |
15 |
|
СКН-18 (пероксид) |
150±2 |
155 |
|
СКН-26 (пероксид) |
150±2 |
90 |
|
СКН-26+ОЭА (пероксид) |
150±2 175±2 |
202 45 |
|
СКН-40 (пероксид) |
150±2 |
80 |
|
СКН-26+СКН-40 (пероксид) |
150±2 175±2 (без ДБФ) 175±2 (с ДБФ) |
90 75 40 |
|
СКФ-26 (бис-фурилиденгексаметилендиамин) с минеральными наполнителями |
200±2 250±3 |
35 5 |
|
СКФ-26 (бис-фурилиденгексаметилендиамин) с техническим углеродом марки ТГ-10 |
250±3 |
18 |
|
СКТВ (пероксид) |
200±2 |
590 |
|
250±3 |
75 |
|
|
СКТФВ-803 (пероксид) |
|
|
|
150±2 |
1000 |
|
|
175±2 |
730 |
|
|
200±2 |
190 |
|
|
250±3 |
40 |
ПРИЛОЖЕНИЕ 2а. (Введено дополнительно, Изм. № 1).
Рекомендуемое
Протокол испытаний должен содержать:
условное обозначение резины и тип полимера, на основе которого она изготовлена;
условия вулканизации образцов;
вид старения - радиационно-термическое или термическое;
температуру термического старения;
мощность поглощенной дозы излучения;
температуру облучения;
максимальную поглощенную дозу излучения или максимальную продолжительность термического старения, при которых все испытуемые образцы обеспечивают герметичность в месте уплотнения;
продолжительность облучения образцов до максимального значения поглощенной дозы излучения;
обозначение настоящего стандарта.
ПРИЛОЖЕНИЕ 3. (Измененная редакция, Изм. №1).
СОДЕРЖАНИЕ
|
3. Подготовка к испытаниям.. 4 Приложение 1 Схема струбцины.. 8 Приложение 2 Интервалы поглощенных доз для испытания при температуре облучения до 50 °с.. 8 |