Radial drilling machines. Standards of accuracy and rigidity

ГОСУДАРСТВЕННЫЙ СТАНДАРТ СОЮЗА ССР

 

СТАНКИ РАДИАЛЬНО-СВЕРЛИЛЬНЫЕ

НОРМЫ ТОЧНОСТИ И ЖЕСТКОСТИ

 

ГОСТ 98-83

 

 

Государственный комитет ссср по стандартам

Москва

 

РАЗРАБОТАН Министерством станкостроительной и инструментальной промышленности

ИСПОЛНИТЕЛИ

А.П. Пупин, Е.Л. Глозман, В.И. Любчиков, А.И. Аликов, А.Л. Гольберг, Г.А. Монахов, М.М. Левин, Н.Ф. Хлебалин, В.Л. Косовский, Л.М. Кордыш, С.С. Кедров, Е.И. Жукова

ВНЕСЕН Министерством станкостроительной и инструментальной промышленности

Зам. министра Н.А. Паничев

УТВЕРЖДЕН И ВВЕДЕН В ДЕЙСТВИЕ Постановлением Государственного комитета СССР по стандартам от 13 июля 1983 г. № 3107

 

 

ГОСУДАРСТВЕННЫЙ СТАНДАРТ СОЮЗА ССР

СТАНКИ РАДИАЛЬНО-СВЕРЛИЛЬНЫЕ

Нормы точности и жесткости

Radial drilling machines. Standards of
accuracy and rigidity

ГОСТ
98-83

Взамен
ГОСТ 98-71

Постановлением Государственного комитета СССР по стандартам от 13 июля 1983 г. № 3107 срок действия установлен

с 01.07.85

до 01.07.95

Несоблюдение стандарта преследуется по закону

Настоящий стандарт распространяется на стационарные радиально-сверлильные станки класса точности Н и координатно-сверлильные станки на их базе классов точности Н и П, в том числе с программным управлением по ГОСТ 1222-80, изготовляемые для нужд народного хозяйства и на экспорт.

Стандарт соответствует международному стандарту ИСО 2423-74 в части, касающейся станков с поворотным рукавом.

Станки проверяются закрепленными на фундаменте и, если нет специального указания, то в среднем положении рукава на колонне, в среднем положении сверлильной головки на рукаве, а для исполнений 1 - 3 по ГОСТ 1222-80 - при положении рукава в продольной плоскости станка.

1. ТОЧНОСТЬ СТАНКА

1.1. Общие требования к испытаниям станков на точность - по ГОСТ 8-82.

1.2. Схемы и способы измерений геометрических параметров - по ГОСТ 22267-76.

1.3. Нормы точности станков классов точности Н и П не должны превышать значений, указанных в пп. 1.3.1 - 1.3.12.

1.3.1. Плоскостность рабочей поверхности фундаментной плиты (тумбы, стола-плиты)

Черт. 1

Черт. 2

Черт. 3

Черт. 4

Таблица 1

Длина измерения L (В), мм

Допуск, мкм, для станков класса точности

Н

П

До   630

40

25

Св.   630   до   1000

50

30

»      1000  »    1600

60

40

»      1600  »    2500

80

50

»      2500  »    4000

100

60

Выпуклость не допускается

Измерения - по ГОСТ 22267-76, разд. 4, методы 2, 3 и 6 (черт. 1 - 3) не менее, чем в двух продольных, трех поперечных и двух диагональных сечениях плиты (тумбы, стола-плиты) (черт. 4).

Расстояние между точками измерения не должно превышать 0,2 длины проверяемой поверхности в продольном и в поперечном направлениях.

Начальная точка измерения в контролируемых сечениях должна отстоять от края плиты на 0,5 расстояния между точками измерения.

Для плиты (тумбы, откидного стола, стола-плиты) с соотношением L:В свыше 2 измерение в диагональных сечениях не производят.

Для станков исполнения 3 по ГОСТ 1222-80 проверять плоскостность плиты и откидного стола.

1.3.2. Параллельность траектории перемещения сверлильной головки по рукаву поверхности фундаментной плиты (тумбы, откидного стола, стола-плиты)

Черт. 5

Таблица 2

Наибольшая длина перемещения, мм

Допуск, мкм, для станков класса точности

Н

П

До  1000

200

100

Св.  1000   до   1600

300

160

»     1600     »    2500

400

200

»     2500     »    4000

500

250

Допускается отклонение только к плите при положении сверлильной головки на конце рукава.

Измерения - по ГОСТ 22267-76, разд. 6, метод 2а (черт. 5).

На станках исполнения 3 по ГОСТ 1222-80 проверку производят относительно фундаментной плиты и относительно откидного стола.

Откидной стол устанавливается в среднем положении по высоте, а его пазы должны быть параллельны продольной плоскости станка. Рабочая поверхность наклонно поворотного откидного стола устанавливается в горизонтальной плоскости по отсчетному устройству.

Во время проверки относительно фундаментной плиты откидной стол находится в отведенном на 90 - 120° от плиты по часовой стрелке положения.

На станках исполнения 4 по ГОСТ 1222-80 проверку производят относительно поверочного стола, установленного рядом со станиной и выверенного в поперечной плоскости станка.

Примечания:

1. Продольной плоскостью станка считают вертикальную плоскость, проходящую через ось шпинделя параллельно пазам фундаментной плиты (тумбы, стола-плиты), либо направляющих станины (для станков исполнения 4 по ГОСТ 1222-80).

2. Поперечной плоскостью станка считают вертикальную плоскость, проходящую через ось шпинделя перпендикулярно продольной плоскости.

1.3.3. Параллельность плоскости поворота рукава рабочей поверхности фундаментной плиты (тумбы, откидного стола) для станков с поворотным рукавом

Черт. 6

На длине измерения 300 мм допуск равен 50 мкм.

Средства измерения: показывающий измерительный прибор, поверочная линейка.

Измерение производят показывающим измерительным прибором 4 (черт. 5 и 6), закрепленным на шпинделе 3 так, чтобы его измерительный наконечник касался рабочей поверхности поверочной линейки 1 и был перпендикулярен ей.

Поверочную линейку 1 устанавливают на опорах 2 на фундаментной плите (тумбе, откидном столе) 5 параллельно базовой плоскости. Концы линейки должны отстоять от плоскости на равные расстояния.

Крайние точки измерения могут быть расположены на любом участке по ширине базовой плоскости плиты (тумбы, откидного стола).

Измерение производят в трех положениях сверлильной головки: на минимальном вылете шпинделя (lmin), на середине величины хода головки  и на максимальном вылете шпинделя (lmax).

В каждом из трех положений сверлильная головка должна быть зажата.

В точке а (в либо д) снимают показание и рукав поворачивают в точку б (г либо е).

Отклонение равно наибольшей алгебраической разности показаний измерительного прибора на длине измерения между точками а и б (либо е и г, либо д и е).

На станках исполнения 3 по ГОСТ 1222-80 проверку производят относительно фундаментной плиты и относительно откидного стола. При этом установка откидного стола аналогична установке в проверке п. 1.3.2.

На станках исполнения 4 по ГОСТ 1222-80 проверку производят относительно поверочного стола, установленного рядом со станиной и выверенного по уровню в горизонтальной плоскости. Рукав устанавливают в поперечной плоскости станка.

1.3.4. Радиальное биение конического отверстия шпинделя:

а) у торца шпинделя;

б) на расстоянии l = 300 мм

Черт. 7

Таблица 3

Наибольший условный диаметр сверления, мм

Номер пункта

Допуск, мкм, для станков класса точности

Н

П

До 63

1.3.4а

16

10

1.3.4б

25

16

Св. 63 до 125

1.3.4а

20

12

1.3.4б

30

20

Измерение - по ГОСТ 22267-76, разд. 15, метод 2 (черт. 7). Колонна, рукав и сверлильная головка зажаты.

1.3.5. Перпендикулярность оси вращения шпинделя к рабочей поверхности фундаментной плиты (тумбы, откидного стола, стола-плиты)

(Поправка).

Черт. 8

Таблица 4

Ширина рабочей поверхности фундаментной плиты (тумбы, откидного стола, стола-плиты), мм

2l, мм

Допуск, мкм, для станков класса точности

Н

П

До 1000

300

50

25

Св. 1000 до 2500

600

80

40

Примечание. Наклон конца шпинделя в продольной плоскости станка допускают только к колонне. Для станков на круглой колонне с подъемным столом допуски увеличивают в 1,25 раза.

Измерение - по ГОСТ 22267-76, разд. 10, метод 1 (черт. 8). Перед измерением колонну, рукав и сверлильную головку зажимают. Гильзу шпинделя выдвигают на 0,5 величины хода.

Измерение производят при последовательном расположении рукава на колонне: в верхнем, среднем и нижнем положении.

На станках исполнения 3 по ГОСТ 1222-80 проверку производят относительно фундаментной плиты и относительно откидного стола. При этом установка откидного стола аналогична установке при выполнении проверки по п. 1.3.2, но в двух положениях по высоте: верхнем и нижнем.

На станках исполнения 4 по ГОСТ 1222-80 проверку производят относительно поверочного стола, установленного рядом со станиной и выверенного по уровню в горизонтальной плоскости. Рукав устанавливают в поперечной плоскости станка.

Допускается взамен плоскопараллельной концевой меры длины использовать поверочную линейку.

1.3.6. Перпендикулярность траектории перемещения шпинделя к рабочей поверхности фундаментной плиты (тумбы, откидного стола, стола-плиты)

Черт. 9

Таблица 5

Наибольшая длина перемещения шпинделя по ГОСТ 1222-80, мм

Допуск, мкм, для станков класса точности

Н

П

До   250

80

40

Св.   250   до     400

100

50

  »    400    »      630

120

60

Примечание. Допускается отклонение конца шпинделя только к колонне.

Измерение производят по ГОСТ 22267-76, разд. 9, метод 16 (черт. 9).

Перед измерением колонну, рукав и сверлильную головку зажимают. Поверочный угольник устанавливают на поверочную линейку или на плоско параллельные меры длины.

На станках исполнения 3 по ГОСТ 1222-80 проверку производят относительно фундаментной плиты и относительно откидного стола, при этом установка его над фундаментной плитой аналогична установке в проверке п. 1.3.2.

На станках исполнения 4 по ГОСТ 1222-80 измерение производят относительно поверочного стола, установленного рядом со станиной и выверенного по уровню в горизонтальной плоскости.

Рукав устанавливают в поперечной плоскости станка.

1.3.7. Перпендикулярность направления перемещения салазок к перемещению сверлильной головки (для станков исполнения 5 по ГОСТ 1222-80).

Черт. 10

Таблица 6

Наибольшая длина перемещения, мм

Длина измерения, мм

Допуск, мкм, для станков класса точности

Н

П

До  1000

300

40

20

Св. 1000  до   4000

600

80

40

Измерения производят показывающим измерительным прибором 3 (черт. 10); закрепленным на шпинделе (или сверлильной головке) 4.

На середине плоскости стола-плиты 2 устанавливают поверочный угольник (раму) с углом 90° 1 таким образом, чтобы одна из его рабочих поверхностей была параллельна направлению перемещения салазок (показания показывающего прибора 3, измерительный наконечник которого касается этой поверхности угольника, должны быть одинаковыми в крайних точках хода). Затем показывающий прибор устанавливают на шпинделе (или сверлильной головке) 4 таким образом, чтобы его измерительный наконечник касался другой рабочей поверхности угольника и был перпендикулярен ей. Сверлильную головку перемещают на всю длину проверяемого хода.

Отклонение от перпендикулярности направлений прямолинейных перемещений равно алгебраической разности показаний показывающего прибора в крайних положениях сверлильной головки.

1.3.8. Прямолинейность траектории перемещения салазок (для станков исполнения 5 по ГОСТ 1222-80)

Черт. 11

Черт. 12

Таблица 7

Наибольшая длина перемещения, мм

Допуск, мкм, для станков класса точности

Н

П

До 1000

40

20

Св. 1000  до   1600

50

25

»    1600    »    2500

60

30

»    2500    »    4000

80

40

Измерение производят по ГОСТ 22267-76, разд. 3, метод 1а либо 5 (черт. 11, 12) в горизонтальной и вертикальной продольной плоскостях.

1.3.9. Параллельность траектории перемещения салазок рабочей поверхности стола-плиты (для станков исполнения 5 по ГОСТ 1222-80)

Черт. 13

Таблица 8

Наибольшая длина перемещения, мм

Допуск, мкм, для станков класса точности

Н

П

До 1000

60

30

Св. 1000  до   1600

80

40

»    1600    »    2500

100

50

»    2500    »    4000

125

60

Измерения производят по ГОСТ 2226.7-76, разд. 6, метод 2а либо 2б (черт. 5, 12) в среднем сечении стола-плиты.

Салазки перемещают на всю длину хода.

Расстояние между точками измерения не должно превышать 0,1 длины перемещения.

1.3.10. Постоянство углового положения салазок (для станков исполнения 5 по ГОСТ 1222-80):

а) постоянство углового положения в двух взаимно перпендикулярных плоскостях, параллельных направлению перемещения;

б) постоянство углового положения в вертикальной плоскости, перпендикулярной направлению перемещения

Черт. 14

Черт. 15

Черт. 16

Таблица 9

Номер проверки

Допуск, мкм, для станков класса точности

Н

П

1.3.10а

25

12

1.3.10б

12

6

Измерения по всей длине перемещения салазок в проверке п. 1.3.10а производят при помощи автоколлиматора и плоского зеркала.

Автоколлиматор 1 (черт. 14) устанавливают на столе-плите 4 так, чтобы его оптическая ось была расположена примерно параллельно направлению перемещения салазок 2, на которых укрепляют плоское зеркало 3 на уровне положения оптической оси и перпендикулярно ей.

Салазки перемещают на заданную длину шагами. Измерение производят в двух взаимно перпендикулярных плоскостях.

Изменение положения салазок в угловых единицах равно наибольшей алгебраической разности показаний автоколлиматора на заданной длине перемещения.

Измерение по всей длине перемещения салазок в проверке п. 1.3.10б производят по ГОСТ 22267-76, разд. 13, метод 1 либо 2 (черт. 15, 16).

Расстояние между точками измерения не должно превышать 0,1 длины перемещения.

1.3.11. Параллельность боковой стороны направляющего паза стола-плиты траектории перемещения салазок (для станков исполнения 5 по ГОСТ 1222-80)

Таблица 10

Наибольшая длина перемещения, мм

Допуск, мкм, для станков класса точности

Н

П

До 1000

60

30

Св. 1000  до   1600

80

40

»    1600    »    2500

100

50

»    2500    »    4000

120

60

Черт. 17

Измерение производят показывающим измерительным прибором 2 (черт. 17), закрепленные на шпинделе или сверлильной головке 3 так, чтобы его измерительный наконечник касался боковой стороны паза 1, салазки перемещают на всю длину паза или на всю длину перемещения салазок (в случае, когда перемещение салазок меньше длины паза).

Расстояние между точками измерения не должно превышать 0,1 длины перемещения. Начальная точка измерения должна отстоять от края паза примерно на 0,5 расстояния между точками измерения.

Допускается при измерении располагать между проверяемой поверхностью и измерительным наконечником показывающего прибора концевую меру длины или специальный сухарь длиной не более ширины паза.

Отклонение от параллельности боковой стороны направляющего паза траектории перемещения равно наибольшей алгебраической разности показаний показывающего прибора на всей длине перемещения.

1.3.12. Точность линейного позиционирования салазок, сверлильной головки, шпинделя (для станков с программным управлением);

а) точность одностороннего позиционирования (допуск М в табл. 11)

б) стабильность одностороннего позиционирования (допуск Rmax в табл. 12);

в) точность двухстороннего позиционирования (допуск Маr в табл. 13)

Черт. 18

Черт. 19

Таблица 11

Наибольшая длина перемещения, мм

Допуск М, мкм, для станков класса точности

Н

П

До 1000

40

25

Св. 1000  до   1600

50

30

»    1600    »    2500

60

40

»    2500    »    4000

80

50

Таблица 12

Наибольшая длина перемещения, мм

Допуск Rmax, мкм, для станков класса точности

Н

П

До 1000

20

12

Св. 1000  до   1600

25

16

»    1600    »    2500

30

20

»    2500    »    4000

40

25

Таблица 13

Наибольшая длина перемещения, мм

Допуск Мar, мкм, для станков класса точности

Н

П

До 1000

50

30

Св. 1000  до   1600

60

40

»    1600    »    2500

80

50

»    2500    »    4000

100

60

Примечания:

1. Допуски в табл. 11 - 13 установлены при условии применения в станках классов точности Н и П преобразователей линейных перемещений соответственно классов точности 5 и 4 по ГОСТ 20965-75.

Допускается в технически обоснованных случаях применение преобразователей измерительных линейных перемещений грубее указанных с введением коррекции ошибок измерительной системы с помощью устройств управления; в этом случае при отсутствии возможности введения коррекции в необходимой степени, допуски могут быть увеличены по сравнению с указанными в табл. 11 - 13, но не более, чем в 1,6 раза.

2. Допуски позиционирования для станков классов точности Н и П, оснащенных измерительными системами косвенного измерения положения рабочих органов, увеличивают по сравнению с указанными в табл. 11 - 13 в 2,5 раза.

3. Допуски по оси шпинделя (Z) в технически обоснованных случаях могут быть увеличены для станков с измерительной системой прямого измерения, положения рабочих органов в 2,5 раза, для станков с измерительной системой косвенного измерения положения рабочих органов - в 4 раза по сравнению с указанными в табл. 11 - 13.

Измерение производят по ГОСТ 22267-76, разд. 19, метод 2 или 3 (черт. 18, 19).

При измерении точности линейного позиционирования образцовую штриховую меру устанавливают по возможности ближе к среднему (осевому) сечению проверяемого рабочего органа.

Измерение точности и стабильности позиционирования производят по каждой координате в произвольных точках j, расположенных с интервалами lj, примерно равными 0,08 длины измеряемого перемещения.

Крайние из j точек измерения располагают на расстоянии, не превышающем 0,25lj от начала и конца перемещения проверяемого органа.

В исходных (нулевых) точках, которые определяются заданными расстояниями между какими-либо базовыми элементами контролируемого или другого рабочего органа, например, шпинделя, определяют стабильность одностороннего позиционирования.

При определении точности и стабильности одностороннего позиционирования производят последовательные перемещения контролируемого рабочего органа, в заданные положения в одном направлении не менее пяти раз.

Точность одностороннего позиционирования М определяют как наибольшую разность вероятных отклонений от заданного положения контролируемого рабочего органа, измеренных в пределах его перемещения при позиционировании в заданные положения в одном направлении.

Стабильность одностороннего позиционирования Rmax определяют как наибольшее значение рассеяния отклонений от заданного положения контролируемого рабочего органа, измеренное в пределах его перемещения при позиционировании в заданные положения в одном направлении.

При измерении точности двухстороннего позиционирования производят последовательные перемещения контролируемого рабочего органа в заданные положения в двух противоположных направлениях не менее пяти раз в каждом направлении.

Точность двухстороннего позиционирования Мar определяют как наибольшую разность вероятных отклонений от заданного положения контролируемого рабочего органа, измеренных в пределах его перемещения при позиционировании в заданные положения в двух противоположных направлениях.

Методика математической обработки и порядок оформления результатов определения параметров точности линейного позиционирования - по ГОСТ 370-81, справочное приложение.

2. ТОЧНОСТЬ ОБРАЗЦА-ИЗДЕЛИЯ

2.1. Нормы точности образца-изделия для станков классов точности Н и П не должны превышать значений, указанных в п. 2.2.

2.2. Точность отверстий и межосевых расстояний образца-изделия (для станков с программным управлением).

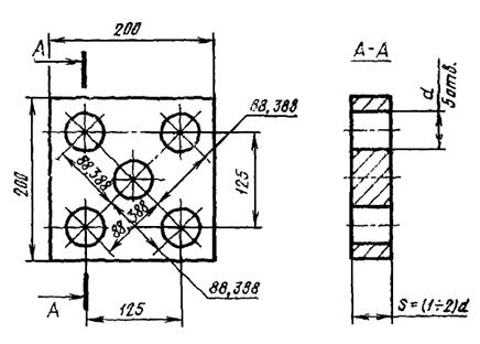
Черт. 20

Черт. 21

Для контрольной обработки используют предварительно обработанный образец-изделие (черт. 20) из чугуна, стали или алюминиевого сплава. Поверхности, используемые как технологические, должны быть обработаны окончательно.

Для станков с отношением перемещений X и Y более 1,6 рекомендуется использовать два образца-изделия (черт. 24), расположенных вдоль оси X на расстоянии между осями симметрии образцов-изделий, равном 0,5 перемещения X.

Образец-изделие с окончательно обработанными поверхностями устанавливают на столе или в приспособлении, установленном на столе, и производят обработку по контрольной программе в следующем порядке: сверление, рассверливание, зенкерование и развертывание отверстия d.

Измерение диаметра отверстия образца-изделия производят с использованием универсальных средств измерения внутренних диаметров. Допуск диаметра просверленного отверстия не должен превышать Н12 - для станков класса точности Н; Н11 - для станков класса точности П. При необходимости для измерения после сверления на станке производят развертывание отверстий.

Таблица 14

Наибольшая длина перемещения, мм

Допуск, мкм, для станков класса точности

Н

П

До 1000

60

40

Св. 1000  до   1600

80

50

»    1600    »    2500

100

60

»    2500    »    4000

120

80

Примечания:

1. В случае увеличения допуска согласно примечаний 1 и 2 к п. 1.12 допуск, указанный в табл. 14, увеличивают во столько же раз.

2. Для станков с отношением продольного и поперечного перемещений не более 1,6 допуски межосевых расстояний устанавливают по наибольшему из указанных перемещений; для станков с отношением указанных перемещений более 1,6 допуски устанавливают в 1,6 раза больше, чем для меньших из этих перемещений.

Измерение межосевых расстояний производят с помощью:

а) оправок, вставляемых в обработанные отверстия d, и плоско-параллельных концевых мер длины (плиток);

б) координатно-измерительной машины, инструментального или универсального микроскопа;

в) специального приспособления, предназначенного для измерения межосевых расстояний.

Погрешность межосевых расстояний равна разности заданного и фактического расстояний между осями любых двух отверстий.

3. ЖЕСТКОСТЬ СТАНКА

3.1. Общие условия испытания станков на жесткость - по ГОСТ 7035-75.

Нормы жесткости станков классов точности Н и П не должны превышать значений, указанных в п. 3.2.

3.2. Перпендикулярность оси нагруженного шпинделя к рабочей поверхности фундаментной плиты (тумбы, стола-плиты):

а) в продольной плоскости станка

б) в поперечной плоскости станка

(Поправка).

Черт. 22

Таблица 15

Наибольший условный диаметр сверления, мм

Нагружающая сила Р, Н, для станков классов точности Н, П

Допуск, на длине измерения L = 1000 мм для станков классов точности

Н

П

25

6000

3,0

2,0

32

8000

40

11200

50

15000

63

19000

80

25000

100

33500

Для станков исполнения 4 по ГОСТ 1222-80 допуск увеличивают в 1,6 раза

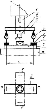
Средства измерения: контрольная оправка; поперечина, два показывающих измерительных прибора, две измерительные стойки, базовая плита, нагружающее устройство и кронштейн.

Измерение производят на максимальном вылете сверлильной головки в верхнем положении рукава, при этом сверлильную головку и рукав закрепляют.

На станках исполнения 4 по ГОСТ 1222-80 измерение производят относительно поверочного стола, установленного рядом со станиной в поперечной плоскости станка и выверенного по уровню в горизонтальной плоскости. Рукав закрепляют в поперечной плоскости станка.

На фундаментной плите (тумбе, поверочном столе, столе-плите) устанавливают кронштейн 8 (черт. 22), высота которого в зависимости от исполнения станков должна быть такой, чтобы в сборе с остальными средствами измерения составить максимальное расстояние до торца шпинделя. Два показывающих измерительных прибора 4 закрепляют на двух измерительных стойках 5, установленных симметрично относительно оси шпинделя на базовой плите 6 так, чтобы наконечники показывающих измерительных приборов касались поперечины 3, укрепленной на конце шпинделя 1. В отверстие шпинделя вставляют оправку 2. Шпиндель отведен. На базовой плите 6 устанавливают нагружающее устройство 7, определяющее величину нагружающей силы Р.

При помощи механизма подачи шпинделя между фундаментной плитой (тумбой, поверочным столом, столом-плитой) и шпинделем создают плавно возрастающую до заданного предела нагружающую силу Р, направленную по оси шпинделя, и фиксируют отклонение.

Отклонение от перпендикулярности оси нагруженного шпинделя к рабочей поверхности фундаментной плиты (тумбы, поверочного стола, стола-плиты) определяют как разность показаний измерительных приборов, расположенных друг от друга на длине измерения L = 1000 мм.

Допускается уменьшать длину измерения L, но не менее чем на 200 мм с пересчетом допуска в соответствии с ГОСТ 8-82, приложение 4.

 

СОДЕРЖАНИЕ

1. Точность станка. 2

2. Точность образца-изделия. 12

3. Жесткость станка. 13