ГОСТ Р 50405-92
(ИСО 1207-83)
ГОСУДАРСТВЕННЫЙ СТАНДАРТ РОССИЙСКОЙ ФЕДЕРАЦИИ
ВИНТЫ С ЦИЛИНДРИЧЕСКОЙ
ГОЛОВКОЙ С ПРЯМЫМ ШЛИЦЕМ
КЛАССОВ ТОЧНОСТИ А и В
Технические условия
ГОССТАНДАРТ РОССИИ
Москва
Предисловие
1 ПОДГОТОВЛЕН И ВНЕСЕН Техническим комитетом по стандартизации ТК 229 «Крепежные изделия»
2 УТВЕР)КДЕН И ВВЕДЕН В ДЕЙСТВИЕ Постановлением Госстандарта России от 23 ноября 1992 г. № 1506
Стандарт разработан методом прямого применения ИСО 1207-83 «Винты с цилиндрической головкой с прямым шлицем. Класс А» с дополнительными требованиями, отражающими потребности народного хозяйства
3ВВЕДЕН ВПЕРВЫЕ
4 ПЕРЕИЗДАНИЕ
ГОСУДАРСТВЕННЫЙ СТАНДАРТ РОССИЙСКОЙ ФЕДЕРАЦИИ
|
ВИНТЫ С ЦИЛИНДРИЧЕСКОЙ
ГОЛОВКОЙ С Технические условия Slotted cheese head screws. |
ГОСТ P |
Дата введения 1994-01-01
Настоящий стандарт распространяется на винты с цилиндрической головкой с прямым шлицем классов точности А и В с номинальным диаметром резьбы от 1 до 20 мм.
Требования настоящего стандарта являются обязательными.
Дополнительные требования, отвечающие потребностям народного хозяйства, выделены подчеркиванием, а также приведены в приложении.
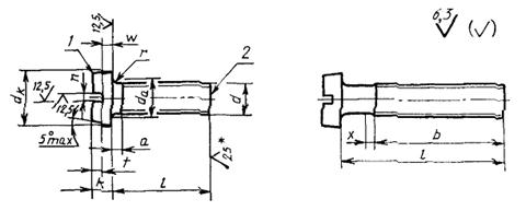
Конструкция и размеры винтов должны соответствовать указанным на чертеже и в табл. 1 и 2.
* Для винтов, обработанных резанием, в остальных случаях не нормируют.
1 - кромка скругленная или острая; 2 - конец в состоянии накатки
В миллиметрах
|
M1 |
M1,2 |
M1,4 |
M1,6 |
М2 |
M2,5 |
М3 |
(М3,5)1) |
М4 |
М5 |
М6 |
М8 |
М10 |
М12 |
М14 |
M16 |
М18 |
М20 |
||
|
p2) |
крупный |
0,25 |
0,25 |
0,3 |
0,35 |
0,4 |
0,45 |
0,5 |
0,6 |
0,7 |
0,8 |
1,0 |
1,25 |
1,5 |
1,75 |
2,0 |
2,0 |
2,5 |
2,5 |
|
мелкий |
- |
- |
- |
- |
- |
- |
- |
- |
- |
- |
- |
1,0 |
1,25 |
1,25 |
1,5 |
1,5 |
1,5 |
1,5 |
|
|
а, не более |
крупный шаг |
0,5 |
0,5 |
0,6 |
0,7 |
0,8 |
0,9 |
1,0 |
1,2 |
1,4 |
1,6 |
2,0 |
2,5 |
3,0 |
3,5 |
4,0 |
4,0 |
5,0 |
5,0 |
|
мелкий шаг |
- |
- |
- |
- |
- |
- |
- |
- |
- |
- |
- |
2,0 |
2,5 |
2,5 |
3,0 |
3,0 |
3,0 |
3,0 |
|
|
b |
не менее |
25 |
25 |
25 |
25 |
25 |
25 |
25 |
38 |
38 |
38 |
38 |
38 |
38 |
38 |
38 |
38 |
42 |
46 |
|
dk, не менее |
не более |
2,0 |
2,3 |
2,6 |
3,0 |
3,8 |
4,5 |
5,5 |
6,0 |
7,0 |
8,5 |
10 |
13 |
16 |
18 |
21 |
24 |
27 |
30 |
|
А |
1,86 |
2,16 |
2,46 |
2,86 |
3,62 |
4,32 |
5,32 |
5,82 |
6,78 |
8,28 |
9,78 |
12,73 |
15,73 |
17,73 |
20,67 |
23,67 |
26,67 |
29,67 |
|
|
В |
1,75 |
2,05 |
2,35 |
2,75 |
3,5 |
4,2 |
5,2 |
5,7 |
6,64 |
8,14 |
9,64 |
12,57 |
15,57 |
17,57 |
20,48 |
23,48 |
26,48 |
29,48 |
|
|
da |
не более |
1,4 |
1,6 |
1,8 |
2,0 |
2,6 |
3,1 |
3,6 |
4,1 |
4,7 |
5,7 |
6,8 |
9,2 |
11,2 |
14,2 |
16,2 |
18,2 |
20,2 |
22,4 |
|
k |
не более |
0,7 |
0,8 |
0,9 |
1,0 |
1,3 |
1,6 |
2,0 |
2,4 |
2,6 |
3,3 |
3,9 |
5 |
6 |
7 |
8 |
9 |
10 |
11 |
|
А |
0,56 |
0,66 |
0,76 |
0,86 |
1,16 |
1,46 |
1,86 |
2,26 |
2,46 |
3,12 |
3,6 |
4,7 |
5,7 |
6,64 |
7,64 |
8,64 |
9,64 |
10,57 |
|
|
не менее |
В |
0,56 |
0,66 |
0,76 |
0,86 |
1,05 |
1,35 |
1,75 |
2,15 |
2,35 |
3 |
3,6 |
4,7 |
5,7 |
6,64 |
7,64 |
8,64 |
9,64 |
10,57 |
|
п |
номин. |
0,25 |
0,3 |
0,3 |
0,4 |
0,5 |
0,6 |
0,8 |
1 |
1,2 |
1,2 |
1,6 |
2 |
2,5 |
3 |
3 |
4 |
4 |
5 |
|
не менее |
0,31 |
0,36 |
0,36 |
0,46 |
56 |
0,66 |
0,86 |
1,06 |
1,26 |
1,26 |
1,66 |
2,06 |
2,56 |
3,06 |
3,06 |
4,07 |
4,07 |
5,07 |
|
|
не более |
0,45 |
0,5 |
0,5 |
0,6 |
0,7 |
0,8 |
1 |
1,2 |
1,51 |
1,51 |
1,91 |
2,31 |
2,81 |
3,31 |
3,31 |
4,37 |
4,37 |
5,37 |
|
|
r |
не менее |
0,1 |
0,1 |
0,1 |
0,1 |
0,1 |
0,1 |
0,1 |
0,1 |
0,2 |
0,2 |
0,25 |
0,4 |
0,4 |
0,6 |
0,6 |
0,6 |
0,6 |
0,8 |
|
t |
не менее |
0,25 |
0,3 |
0,4 |
0,45 |
0,5 |
0,6 |
0,7 |
1 |
1,1 |
1,3 |
1,6 |
2 |
2,4 |
3,2 |
3,6 |
4 |
4,5 |
5 |
|
ω |
не менее |
0,16 |
0,21 |
0,21 |
0,26 |
0,36 |
0,36 |
0,56 |
1 |
1,1 |
1,3 |
1,6 |
2 |
2,4 |
3,2 |
3,6 |
4 |
4,5 |
5 |
|
х, не более |
крупный шаг |
0,6 |
0,6 |
0,75 |
0,9 |
1 |
1,1 |
1,25 |
1,5 |
1,75 |
2 |
2,5 |
3,2 |
3,8 |
4,3 |
5 |
5 |
6,3 |
6,3 |
|
мелкий шаг |
- |
- |
- |
- |
- |
- |
- |
- |
- |
- |
- |
2,5 |
3,2 |
3,2 |
3,8 |
3,8 |
3,8 |
3,8 |
|
|
1) Размеры, заключенные в скобки, применять не рекомендуется. 2) Р - шаг резьбы. |
|||||||||||||||||||
В миллиметрах

Диаметр стержня приблизительно равен среднему диаметру резьбы или равен наружному диаметру резьбы.
|
Углеродистая сталь |
Коррозионно-стойкая жаропрочная, жаростойкая и теплоустойчивая сталь |
Цветные сплавы |
|||
|
Общие технические требования |
|||||
|
Резьба |
размеры |
Профиль и основные размеры |
|||
|
стандарт |
|||||
|
допуски |
6g |
||||
|
стандарт |
|||||
|
Механические свойства |
Классы прочности и группы |
3.6, 4.6, 4.8, 5.6, 5.8, 6.6, 8.8 |
21 - 26 |
31 - 36 |
|
|
стандарт |
|||||
|
Допуски |
класс точности |
А и В |
|||
|
стандарт |
неуказанные в табл. 1 и 2 допуски размеров, отклонений формы и расположения поверхностей - ГОСТ 1759.1. |
||||
|
Поверхность изделия |
Допустимые дефекты поверхности - ГОСТ 1759.2 Без покрытия и с покрытием - ГОСТ 1759.0, ГОСТ 9.301, ГОСТ 9.303 |
||||
|
Методы контроля |
Размеры, отклонения формы и расположения поверхностей - ГОСТ 1759.1 |
||||
|
Дефекты поверхности - ГОСТ 1759.2 |
|||||
|
Механические свойства |
|||||
|
Покрытие - ГОСТ 9.302 |
|||||
|
Приемка |
|||||
|
Маркировка и упаковка |
|||||
Пример условного обозначения винта с цилиндрической головкой, класса точности А, диаметром резьбы d = 8 мм, с крупным шагом резьбы, с полем допуска резьбы 6 g, длиной l = 50 мм, класса прочности 4.8, без покрытия:
Винт АМ8-6g´50.48 ГОСТ Р 50405-92
То же, класса точности В, с мелким шагом резьбы, с цинковым покрытием толщиной 6 мкм, хроматированным:
Винт М8´1-6 g´50.48.016 ГОСТ Р 50405-92
Теоретическая масса винтов указана в приложении.
|
Длина винта l, мм |
Масса 1000 шт. стальных винтов с крупным шагом резьбы, кг ≈ при номинальном диаметре резьбы d, мм |
|||||||||||||||||
|
M1 |
M1,2 |
M1,4 |
M1,6 |
М2 |
М2,5 |
M3 |
М3,5 |
М4 |
М5 |
M6 |
M8 |
M10 |
M12 |
М14 |
M16 |
M18 |
M20 |
|
|
2 |
0,024 |
0,037 |
0,053 |
0,073 |
- |
- |
- |
- |
- |
- |
- |
- |
- |
- |
- |
- |
- |
- |
|
2,5 |
0,027 |
0,040 |
0,057 |
0,079 |
0,151 |
- |
- |
- |
- |
- |
- |
- |
- |
- |
- |
- |
- |
- |
|
3 |
0,029 |
0,044 |
0,061 |
0,084 |
0,160 |
0,272 |
0,470 |
- |
- |
- |
- |
- |
- |
- |
- |
- |
- |
- |
|
3,5 |
0,031 |
0,047 |
0,066 |
0,090 |
0,169 |
0,286 |
0,492 |
- |
- |
- |
- |
- |
- |
- |
- |
- |
- |
- |
|
4 |
0,033 |
0,050 |
0,070 |
0,096 |
0,178 |
0,301 |
0,513 |
0,727 |
1,022 |
- |
- |
- |
- |
- |
- |
- |
- |
- |
|
5 |
0,037 |
0,057 |
0,079 |
0,107 |
0,196 |
0,330 |
0,597 |
0,785 |
1,098 |
- |
- |
- |
- |
- |
- |
- |
- |
- |
|
6 |
0,042 |
0,064 |
0,088 |
0,118 |
0,214 |
0,360 |
0,600 |
0,844 |
1,175 |
2,078 |
- |
- |
- |
- |
- |
- |
- |
- |
|
7 |
0,046 |
0,070 |
0,097 |
0,129 |
0,232 |
0,389 |
0,643 |
0902 |
1,251 |
2,200 |
3,394 |
- |
- |
- |
- |
- |
- |
- |
|
8 |
0,050 |
0,077 |
0,106 |
0,141 |
0,250 |
0,418 |
0,687 |
0,961 |
1,328 |
2,322 |
3,569 |
- |
- |
- |
- |
- |
- |
- |
|
9 |
0,055 |
0,084 |
0,115 |
0,152 |
0,268 |
0,448 |
0,730 |
1,019 |
1,404 |
2,445 |
3,743 |
- |
- |
- |
- |
- |
- |
- |
|
10 |
0,059 |
0,090 |
0,124 |
0,163 |
0,286 |
0,477 |
0,773 |
1,078 |
1,481 |
2,567 |
3,918 |
7,886 |
- |
- |
- |
- |
- |
- |
|
11 |
- |
0,097 |
0,133 |
0,174 |
0,304 |
0,506 |
0,816 |
1,136 |
1,557 |
2,689 |
4,093 |
8,201 |
- |
- |
- |
- |
- |
- |
|
12 |
- |
0,104 |
0,142 |
0,186 |
0,322 |
0,535 |
0,860 |
1,195 |
1,634 |
2,811 |
4,267 |
8,516 |
14,60 |
- |
- |
- |
- |
- |
|
13 |
- |
- |
- |
0,197 |
0,340 |
0,565 |
0,903 |
1,254 |
1,710 |
2,933 |
4,142 |
8 ,831 |
15,10 |
- |
- |
- |
- |
- |
|
14 |
- |
- |
- |
0,208 |
0,358 |
0,594 |
0,946 |
1,312 |
1,786 |
3,056 |
4,617 |
9,146 |
15,60 |
- |
- |
- |
- |
- |
|
16 |
- |
- |
- |
0,231 |
0,394 |
0,653 |
1,033 |
1,429 |
1,932 |
3,300 |
4,966 |
9,777 |
16,60 |
- |
- |
- |
- |
- |
|
18 |
- |
- |
- |
- |
0,431 |
0,711 |
1,120 |
1,546 |
2,092 |
3,544 |
5,315 |
10,408 |
17,59 |
25,64 |
- |
- |
- |
- |
|
20 |
- |
- |
- |
- |
0,468 |
0,770 |
1,206 |
1,663 |
2,245 |
3,789 |
5,664 |
11,040 |
18,58 |
27,08 |
- |
- |
- |
- |
|
22 |
- |
- |
- |
- |
- |
0,829 |
1,293 |
1,780 |
2,398 |
4,033 |
6,014 |
11,670 |
19,58 |
28,53 |
- |
- |
- |
- |
|
25 |
- |
- |
- |
- |
- |
0,917 |
1,423 |
1,956 |
2,627 |
4,400 |
6,537 |
12,617 |
21,08 |
30,70 |
44,68 |
- |
- |
- |
|
28 |
- |
- |
- |
- |
- |
- |
1,553 |
2,132 |
2,857 |
4,766 |
7,061 |
13,563 |
22,57 |
32,87 |
47,64 |
- |
- |
- |
|
30 |
- |
- |
- |
- |
- |
- |
1,640 |
2,249 |
3,010 |
5,011 |
7,411 |
14,194 |
23,57 |
34,32 |
49,62 |
68,70 |
- |
- |
|
32 |
- |
- |
- |
- |
- |
- |
- |
2,366 |
3,162 |
5,255 |
7,760 |
14,824 |
24,57 |
35,77 |
51,00 |
71,35 |
- |
- |
|
35 |
- |
- |
- |
- |
- |
- |
- |
2,541 |
3,392 |
5,622 |
8,284 |
15,771 |
26,05 |
37,91 |
54,57 |
75,33 |
98,76 |
- |
|
38 |
- |
- |
- |
- |
- |
- |
- |
- |
3,621 |
5,988 |
8,808 |
16,717 |
27,56 |
40,11 |
57,53 |
79,31 |
103,70 |
- |
|
40 |
- |
- |
- |
- |
- |
- |
- |
- |
3,774 |
6,232 |
9,157 |
17,348 |
28,56 |
41,56 |
59,51 |
81,96 |
107,00 |
138,2 |
|
42 |
- |
- |
- |
- |
- |
- |
- |
- |
- |
6,477 |
9,506 |
17,979 |
29,55 |
43,01 |
61,49 |
84,62 |
110,29 |
142,3 |
|
45 |
- |
- |
- |
- |
- |
- |
- |
- |
- |
6,844 |
10,031 |
18,925 |
31,05 |
45,18 |
64,46 |
88,60 |
115,23 |
148,5 |
|
48 |
- |
- |
- |
- |
- |
- |
- |
- |
- |
7,210 |
10,554 |
19,872 |
32,55 |
47,35 |
67,43 |
92,57 |
120,17 |
154,7 |
|
50 |
- |
- |
- |
- |
- |
- |
- |
- |
- |
7,464 |
10,904 |
20,503 |
33,54 |
48,80 |
69,40 |
95,22 |
123,47 |
158,9 |
|
55 |
- |
- |
- |
- |
- |
- |
- |
- |
- |
- |
11,777 |
22,080 |
36,04 |
52,42 |
74,35 |
101,85 |
131,70 |
169,3 |
|
60 |
- |
- |
- |
- |
- |
- |
- |
- |
- |
- |
12,650 |
23,657 |
38,53 |
56,03 |
79,29 |
108,49 |
139,94 |
179,6 |
|
65 |
- |
- |
- |
- |
- |
- |
- |
- |
- |
- |
- |
25,234 |
41,02 |
59,65 |
84,23 |
115,11 |
148,18 |
190,1 |
|
70 |
- |
- |
- |
- |
- |
- |
- |
- |
- |
- |
- |
26,811 |
43,52 |
63,27 |
89,18 |
121,75 |
156,41 |
200,4 |
|
75 |
- |
- |
- |
- |
- |
- |
- |
- |
- |
- |
- |
28,388 |
46,01 |
66,89 |
94,12 |
128,38 |
164,65 |
210,8 |
|
80 |
- |
- |
- |
- |
- |
- |
- |
- |
- |
- |
- |
29,965 |
48,50 |
70,51 |
99, 07 |
135,01 |
172,89 |
221,2 |
|
85 |
- |
- |
- |
- |
- |
- |
- |
- |
- |
- |
- |
- |
51,00 |
74,12 |
104,02 |
141,64 |
181,12 |
231,5 |
|
90 |
- |
- |
- |
- |
- |
- |
- |
- |
- |
- |
- |
- |
53,49 |
77,74 |
108,96 |
148,27 |
189,37 |
241,9 |
|
95 |
- |
- |
- |
- |
- |
- |
- |
- |
- |
- |
- |
- |
55,98 |
81,36 |
113,90 |
154,90 |
197,60 |
252,3 |
|
100 |
- |
- |
- |
- |
- |
- |
- |
- |
- |
- |
- |
- |
58,48 |
84,98 |
118,84 |
161,52 |
205,84 |
262,7 |
|
110 |
- |
- |
- |
- |
- |
- |
- |
- |
- |
- |
- |
- |
- |
- |
- |
- |
222,31 |
283,4 |
|
120 |
- |
- |
- |
- |
- |
- |
- |
- |
- |
- |
- |
- |
- |
- |
- |
- |
- |
304,2 |
|
Примечание. Для определения массы винтов из алюминиевого сплава значения масс, указанные в таблице, следует умножить на коэффициент 0,356, из латуни - на 1,08. |
||||||||||||||||||