ГОСТ Р 51386-99
ГОСУДАРСТВЕННЫЙ СТАНДАРТ РОССИЙСКОЙ ФЕДЕРАЦИИ
АППАРАТУРА РАДИОРЕЛЕЙНАЯ
ЦЕПИ СТЫКА
МЕТОДЫ ИЗМЕРЕНИЙ ПАРАМЕТРОВ
ГОССТАНДАРТ РОССИИ
МОСКВА
Предисловие
1 РАЗРАБОТАН Государственным научно-исследовательским институтом радио ВНЕСЕН Госкомсвязи России
2 ПРИНЯТ И ВВЕДЕН В ДЕЙСТВИЕ Постановлением Госстандарта России от 30 ноября 1999 г. № 484-ст
3 Стандарт разработан с учетом Рекомендаций Международного союза электросвязи (МСЭ)
4 ВВЕДЕН ВПЕРВЫЕ
ГОСТ Р 51386-99
ГОСУДАРСТВЕННЫЙ СТАНДАРТ РОССИЙСКОЙ ФЕДЕРАЦИИ
|
Аппаратура радиорелейная ЦЕПИ СТЫКА Методы измерений параметров Radiorelay equipment. Interfaces. Measurements methods |
Дата введения 2000-07-01
Настоящий стандарт распространяется на вновь разрабатываемую аппаратуру радиорелейных систем передачи прямой видимости диапазонов ультравысоких частот (УВЧ), сверхвысоких частот (СВЧ) и крайне высоких частот (КВЧ), в которой модуляция несущего колебания осуществляется цифровыми или аналоговыми сигналами.
Стандарт устанавливает методы измерений параметров сигналов в цепях стыка в аппаратуре радиорелейных систем передачи прямой видимости по ГОСТ Р 50765.
В настоящем стандарте использованы ссылки на следующие стандарты:
ГОСТ 11515-91 Каналы и тракты звукового вещания. Основные параметры качества. Методы измерений
ГОСТ 21879-88 Телевидение вещательное. Термины и определения
ГОСТ 22348-86 Система связи автоматизированная единая. Термины и определения
ГОСТ 22670-77 Сеть связи цифровая интегральная. Термины и определения
ГОСТ 24375-80 Радиосвязь. Термины и определения
ГОСТ 26886-86 Стыки цифровых каналов передачи и групповых трактов первичной сети ЕАСС. Основные параметры
ГОСТ Р 50765-95 Аппаратура радиорелейная. Классификация. Основные параметры цепей стыка
В настоящем стандарте применяют следующие сокращения:
ЧРК - частотное разделение каналов
СИАС - сигнал индикации аварийного состояния
ЦРЛТ - цифровой радиорелейный линейный тракт
РРЛ - радиорелейные линии передачи
ЧМ - частотная модуляция
ПЧ - промежуточная частота
МЧ - модулированная частота
ТЧ - тональная частота
ГЧ - групповая частота
ОП - основная полоса
АЧХ - амплитудно-частотная характеристика
ИТ - измеряемый тракт
ЕИ - единичный интервал
ПСП - псевдослучайная последовательность
В настоящем стандарте применяют следующие термины:
диапазон УВЧ: По ГОСТ 24375.
диапазон СВЧ: По ГОСТ 24375.
диапазон КВЧ: По ГОСТ 24375.
аналоговый сигнал: По ГОСТ 22670.
цифровой сигнал: По ГОСТ 22670.
скорость передачи: Количество бит, передаваемых в единицу времени.
радиорелейная линия передачи: По ГОСТ 22348.
канал изображения: По ГОСТ 22348.
канал звукового вещания: По ГОСТ 11515.
5.1 Различают следующие цепи стыка аппаратуры радиорелейных систем:
- на входе и выходе для цифрового сигнала в аппаратуре цифровых радиорелейных систем передачи;
- на входе и выходе тракта основной полосы частот аппаратуры аналоговых радиорелейных систем передачи;
- на входе и выходе тракта ПЧ;
- на входе и выходе каналов изображения и звука аппаратуры аналоговых радиорелейных систем передачи.
5.2 Цепи стыка в аппаратуре радиорелейных систем передачи указаны на рисунке 1.
R¢/R - цепи стыка по цифровому сигналу (вход/выход аппаратуры цифровых радиорелейных систем) или цепи стыка по групповой частоте (вход/выход аппаратуры аналоговых радиорелейных систем); Z¢/Z - цепи стыка по ПЧ (вход/выход аппаратуры тракта ПЧ); СВЧ¢/СВЧ - цепи стыка выход/вход аппаратуры по СВЧ; 1, 4 - оборудование цифровых стыков, модулятор и демодулятор или оборудование аналоговых стыков, модулятор и демодулятор; 2, 3 - блоки аппаратуры тракта ПЧ-СВЧ
Рисунок 1 - Цепи стыка аппаратуры цифровых и аналоговых радиорелейных систем
6.1 Измерение параметров цепей стыка на выходе ЦРЛТ
6.1.1 Параметры импульсов цифрового сигнала на выходе ИТ - цепь стыка R - измеряют при помощи осциллографа с высокоомным входом путем сравнения формы импульса с наложенной на экран соответствующей трафаретной маской. Схема измерений приведена на рисунке 2.
Примечание - Условные обозначения средств измерений и вспомогательного оборудования на рисунках 2, 10 - 20, 22 - 31 приведены в приложении А.
Рисунок 2 - Схема измерения формы импульса на выходе ЦРЛТ
При отсутствии сигнала на входе, на выходе тракта в цепи стыка R наблюдается сигнал индикации аварийного состояния (СИАС), который замещает информационный сигнал на время аварии. Эквивалентным двоичным содержанием сигнала СИАС является длительная последовательность двоичных единиц.
При измерениях в цепях первичного стыка (2048 кбит/с) с симметричным подключением используют дифференциальный вход осциллографа.
Для плезиохронной цифровой иерархии (скорости передачи 2048, 8448, 34368 и 139264 кбит/с) и синхронной цифровой иерархии (скорость передачи 155520 кбит/с) параметры импульсов на выходе тракта должны соответствовать ГОСТ Р 50765. Трафаретные маски для импульсов приведены на рисунках 3 - 9.
Рисунок 3 - Маска импульса на стыке 2,048 Мбит/с

Рисунок 4 - Маска импульса на стыке 8,448 Мбит/с

Рисунок 5 - Маска импульса на стыке 34,368 Мбит/с
*) Установившееся значение амплитуды импульса не должно превышать 0,55 В. Выбросы и другие переходные процессы должны укладываться в отмеченную точками область, ограниченную уровнями амплитуд 0,55 и 0,6 В.
Примечание - Каждый импульс в закодированной последовательности импульсов должен находиться в пределах соответствующей маски, независимо от состояния предшествующего и последующего импульсов.
Рисунок 6 - Маска импульса, соответствующего двоичному «0», на стыке 139,264 Мбит/с

*) Установившееся значение амплитуды импульса не должно превышать 0,55 В. Выбросы и другие переходные процессы должны укладываться в отмеченную точками область, ограниченную уровнями амплитуд 0,55 и 0,6 В.
Примечание - Каждый импульс в закодированной последовательности импульсов должен находиться в пределах соответствующей маски, независимо от состояния предшествующего и последующего импульсов.
Рисунок 7 - Маска импульса, соответствующего двоичной «1», на стыке 139,264 Мбит/с

*) Установившееся значение амплитуды импульса не должно превышать 0,55 В. Выбросы и другие переходные процессы должны укладываться в отмеченную точками область, ограниченную уровнями амплитуд 0,55 и 0,6 В.
Примечание - См. примечание к рисунку 6.
Рисунок 8 - Маска импульса, соответствующего двоичному «0», на стыке 155,52 Мбит/с
*) Установившееся значение амплитуды импульса не должно превышать 0,55 В. Выбросы и другие переходные процессы должны укладываться в отмеченную точками область, ограниченную уровнями амплитуд 0,55 и 0,6 В.
Примечание - См. примечание к рисунку 6.
Рисунок 9 - Маска импульса, соответствующего двоичному «1», на стыке 155,52 Мбит/с
Рисунок 10 - Схема измерения полного размаха фазового дрожания и коэффициента передачи фазового дрожания
6.1.2 Полный размах фазового дрожания измеряют при помощи прибора для измерения фазового дрожания при подаче на вход ИТ испытательного сигнала псевдослучайной последовательности (ПСП), соответствующей данному стыку согласно ГОСТ 26886. Схема измерений приведена на рисунке 10.
Полный размах фазового дрожания на выходе ЦРЛТ должен находиться в пределах значений по ГОСТ Р 50765 (п. 4.3.1.3, таблица 12).
6.1.3 Коэффициент передачи фазового дрожания определяют по схеме рисунка 10 путем считывания показаний измерителя фазового дрожания (ИФ) при подаче сигнала ПСП с синусоидальным фазовым дрожанием на вход ИТ и расчета по формуле
(1)
где jt - коэффициент передачи фазового дрожания, дБ;
j0 - измеренное фазовое дрожание на выходе ИТ (п. 6.1.2), в долях ЕИ;
jе - собственное фазовое дрожание ИТ, ЕИ;
ji - фазовое дрожание входного сигнала, ЕИ.
Полный размах входного фазового дрожания должен находиться в пределах значений по ГОСТ Р 50765 (п. 4.3.2.4, таблицы 13, 14).
Максимальное значение коэффициента передачи фазового дрожания должно быть не более 1 дБ (ГОСТ Р 50765, п. 4.3.1.4).
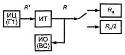
6.1.4 Выходное сопротивление Zвых в цепи стыка R определяют по схеме рисунка 11 и рассчитывают по формуле
где U1 - амплитуда импульса выходного сигнала на номинальной нагрузке Rн;
U2 - амплитуда импульса выходного сигнала на нагрузке Rн/2.
Амплитуды импульсов U1 и U2 измеряют при помощи ИО соответственно на сопротивлениях Rн и Rн/2 при подаче на вход (R¢) ИТ импульсного сигнала от ИЦ.
Рисунок 11 - Схема измерения выходного сопротивления ЦРЛТ и линейного тракта в цепи стыка R
Значение выходного сопротивления Zвых должно соответствовать ГОСТ Р 50765 (пп. 4.3.1.1 и 4.3.1.2, таблицы 9 - 11).
6.1.5 Значение затухания несогласованности Авых, дБ, на выходе ЦРЛТ плезиохронной 4-го уровня и синхронной 1-го уровня цифровой иерархии определяют по формуле
где Zвых - выходное сопротивление ЦРЛТ;
Rн - номинальная нагрузка ЦРЛТ.
Значение затухания несогласованности Авых должно соответствовать ГОСТ Р 50765 (пп. 4.3.1.1 и 4.3.1.2, таблицы 10 и 11).
6.2 Измерение параметров цепей стыка на входе ЦРЛТ
6.2.1 Параметры импульсов цифрового сигнала на входе ЦРЛТ (R¢) измеряют при помощи осциллографа путем сравнения формы импульса с наложенной на экран трафаретной маской, соответствующей параметрам стыка для данной скорости цифрового сигнала. Трафаретные маски изображены на рисунках 3 - 9. Схема измерений приведена на рисунке 12.
Форма импульса должна находиться в пределах трафаретной маски. При этом должны учитываться искажения, вызванные соединительным кабелем, затухание в котором на полутактовой частоте должно быть в пределах:
для скорости передачи 2,048 и 8,448 Мбит/с........................................... 0 - 6 дБ
» » » 34,368 и 139,264 Мбит/с........................................ 0 - 12 дБ
» » » 155,52 Мбит/с......................................... 0 - 12,7 дБ
Рисунок 12 - Схема измерения параметров импульса на входе ЦРЛТ
6.2.2 Устойчивость ИТ к фазовому дрожанию цифрового сигнала на входе цепи стыка (R¢) проверяют по отсутствию ошибок и проскальзываний по схеме рисунка 13 путем подачи на вход ЦРЛТ сигнала ПСП с соответствующей скоростью передачи и периодом 2n - 1 при введении в ПСП синусоидального фазового дрожания (A/2)sin2pft, размах А которого для систем плезиохронной цифровой иерархии и синхронной цифровой иерархии определяется ГОСТ Р 50765 (п. 4.3.2.2, таблицы 13, 14, рисунки 11, 12).
Рисунок 13 - Схема проверки устойчивости ИТ к фазовому дрожанию цифрового сигнала на входе цепи стыка R¢
6.2.3 Входное сопротивление ЦРЛТ Zвх в цепи стыка R¢ определяют по схеме рисунка 14.
Рисунок 14 - Схема измерения входного сопротивления ЦРЛТ и линейного тракта в цепи стыка R¢
Резистор R1 должен быть равен ожидаемому значению входного сопротивления цепи стыка. Выходной сигнал ИГ должен иметь частоту, равную 0,5 тактовой частоты для данной аппаратуры. Значения напряжений U1 и U2 определяют по милливольтметру с высокоомным входом. Вначале измеряют напряжение U1 при коротком замыкании резистора R1 и записывают значение U1¢. Затем короткое замыкание устраняют, напряжение генератора повышают до получения U2 = U1¢ и записывают значение напряжения U1² на выходе ИГ.
Входное сопротивление Zвх на полутактовой частоте рассчитывают по формуле
6.2.4 Затухание несогласованности на входе ЦРЛТ Авх, дБ, рассчитывают по формуле
где Zвх - входное сопротивление ЦРЛТ;
Rн - номинальное нагрузочное сопротивление ЦРЛТ.
Затухание несогласованности на входе ЦРЛТ Aвх должно соответствовать ГОСТ Р 50765 (п. 4.3.2.3, таблица 15).
6.2.5 Устойчивость ЦРЛТ к составному сигналу проверяют по схеме рисунка 15 при подаче на его вход составного сигнала через эквивалент кабельной линии.
Составной сигнал представляет собой сумму полезного цифрового сигнала и помехи, причем и сигнал, и помеха должны иметь скорости передачи в пределах, заданных в ГОСТ 26886 (п. 2.3.4.4). Кроме того, помеха должна быть асинхронной по отношению к сигналу и отвечать следующим требованиям:
- уровень помехи должен обеспечивать отношение сигнал/помеха для скорости передачи:
2,048 Мбит/с - 18 дБ (при R2 = 270 Ом);
8,448 и 34,368 Мбит/с - 20 дБ (при R3 = 330 Ом);
- помеха должна быть представлена ПСП с периодом для скорости передачи: 2,048 и 8,448 Мбит/с - 215 - 1 (ГОСТ 26886, пп. 4.5.3, 5.5.4);
34,368 Мбит/с - 223 - 1 (ГОСТ 26886, п. 6.5.3).
Рисунок 15 - Схема проверки устойчивости ЦРЛТ к составному сигналу
Примечание - Параметры цепей стыка по ПЧ аппаратуры ЦРЛТ должны соответствовать ГОСТ Р 50765 (п. 4.2.1.1, таблица 2).
Рисунок 16 - Схема измерений номинального значения ПЧ
7.1 Измерение параметров цепей стыка по ПЧ
7.1.1 Частоту сигнала на выходе тракта ПЧ (цепь стыка ПЧ¢) или на входе тракта ПЧ (цепь стыка ПЧ) измеряют на согласованной нагрузке (СН) при помощи частотомера (Ч1) по схеме рисунка 16.
Измерение ПЧ выполняют при отсутствии модуляции. Полосовой фильтр (ПФ) используют только в случае, если наряду с полезным сигналом ПЧ присутствуют паразитные сигналы, наличие которых можно определить по анализатору спектра. Аттенюатор/усилитель (АУ) ПЧ требуется только в том случае, когда уровень измеряемого сигнала не соответствует уровню входного сигнала частотомера.
Параметры цепей стыка по ПЧ приведены в ГОСТ Р 50765 (п. 4.2.1.1, таблица 2).
7.1.2 Эффективное значение напряжения ПЧ на входе/выходе тракта ПЧ измеряют при помощи высокочастотного милливольтметра (MB) с высоким входным сопротивлением по схеме рисунка 17.
При измерении в цепь стыка включают нагрузку (СН), согласованную с номинальным входным/выходным сопротивлением тракта ПЧ. Напряжение сигнала ПЧ должно соответствовать ГОСТ Р 50765 (п. 4.2.1.1, таблица 2).
7.1.3 Затухание несогласованности и полное сопротивление на входе/выходе тракта ПЧ определяют при помощи рефлектометра с генератором качающейся частоты, например измерителя группового времени запаздывания (ИГВЗ).
При этом ИГВЗ подключают ко входу тракта ПЧ и определяют затухание несогласованности Lвх, дБ, на входе в соответствии с инструкцией по эксплуатации данного прибора.
Значение входного сопротивления тракта ПЧ Rвх связано с коэффициентом отражения по напряжению r формулой
где R0 - номинальное входное сопротивление тракта ПЧ, равное 75 Ом.
Затухание несогласованности на входе Lвх выражают через коэффициент r формулой
(7)
Рисунок 17 - Схема измерений напряжения ПЧ
Рисунок 18 - Схема измерения номинальных уровней сигнала и основной полосы частот линейного тракта
По найденному значению Lвх определяют значение r. Подставляя в (6) значения r и R0, находят Rвх.
Аналогично определяют затухание несогласованности Lвых на выходе тракта ПЧ и затем вычисляют номинальное выходное сопротивление Rвых по формуле (6).
Значения затухания несогласованности Lвх и полного сопротивления на входе/выходе тракта ПЧ должно соответствовать ГОСТ Р 50765 (п. 4.2.1.1, таблица 2).
При измерениях на выходе тракта ПЧ, содержащего частотный модулятор, последний на время измерений выключают.
7.2 Измерение параметров цепей стыка радиорелейной системы в основной полосе частот
7.2.1 Номинальные уровни сигнала на входе/выходе линейного тракта в основной полосе частот измеряют при помощи милливольтметров МЦ по схеме рисунка 18.
Частоту генератора Г1 устанавливают соответствующей частоте «нулевых» предыскажений для соответствующего числа каналов тональной частоты (ТЧ). Значения частот «нулевых» предыскажений для различного числа каналов ТЧ приведены в ГОСТ Р 50765 (приложение В, таблица В.1).
Регулировкой выходного аттенюатора генератора на входе измеряемого линейного тракта в цепи стыка R¢ по показаниям МЦ, подключенного к этой цепи, устанавливают номинальный уровень сигнала.
По показаниям МЦ, подключенного к согласованной нагрузке на выходе линейного тракта в цепи стыка R, определяют значение уровня выходного сигнала, который должен соответствовать ГОСТ Р 50765 (п. 4.2.2.1, таблица 3).
7.2.2 Основную полосу частот ИТ измеряют по схеме рисунка 18.
На выходе генератора Г1 устанавливают сигнал на одной из частот в пределах границ основной полосы частот линейного тракта. Уровень этого сигнала должен быть на 6 дБ выше номинального уровня сигнала в цепи стыка R¢ для соответствующего числа каналов ТЧ, указанных в ГОСТ Р 50765 (п. 4.2.2.1, таблица 3).
Изменяя частоту генератора и поддерживая уровень выходного сигнала генератора постоянным по показаниям МЦ, подключенного к цепи стыка R¢, определяют границы основной полосы частот линейного тракта по снижению уровня сигнала на 3 дБ на выходе группового тракта в цепи стыка R. Снижение выходного уровня сигнала в цепи стыка R контролируют милливольтметром, подключенным к согласованной нагрузке.
Параметры цепей стыка аппаратуры образования аналоговых многоканальных линейных трактов приведены в ГОСТ Р 50765 (п. 4.2.2.1, таблица 3).
7.2.3 Выходное сопротивление Zвых.л в цепи стыка R определяют по схеме рисунка 11. В схеме вместо ИЦ используют генератор сигналов Г1 на диапазон частот, соответствующий рассматриваемому стыку, а вместо ИО - селективный вольтметр (ВС) с высоким входным сопротивлением.
Измеряют соответственно напряжение первых гармоник выходного сигнала U1, (при Rн) и U2 (при Rн/2). По формуле (2) рассчитывают значение Zвых.л. Значение выходного сопротивления должно соответствовать ГОСТ Р 50765 (п. 4.2.2.1, таблица 3).
7.2.4 Входное сопротивление Zвых.л линейного тракта в цепи стыка R¢ определяют по схеме рисунка 14, в которой ИГ заменяют генератором сигналов Г1 на диапазон частот, соответствующий рассматриваемому стыку, а милливольтметры MB - селективными вольтметрами ВС.
Измеряют напряжение первых гармоник U1¢ и U1² на средних частотах основной полосы частот (ГОСТ Р 50765 п. 4.2.2.1, таблица 3) соответственно при замкнутом и разомкнутом резисторе R1. Затем по формуле (4) рассчитывают значение Zвх.л. Значение входного сопротивления должно соответствовать ГОСТ Р 50765 (п. 4.2.2.1, таблица 3).
7.2.5 Затухание несогласованности Aвых.л дБ, на выходе линейного тракта в цепи стыка R определяют по формуле (3), в которой Zвых = Zвых.л, a Rн - номинальная нагрузка линейного тракта. Значение затухания несогласованности должно соответствовать ГОСТ Р 50765 (п. 4.2.2.2).
7.2.6 Затухание несогласованности Aвх.л, дБ, на входе линейного тракта в цепи стыка R¢ определяют по формуле (5), в которой Zвх = Zвх.л, а Rн - номинальное сопротивление стыка R¢. Значение затухания несогласованности должно соответствовать ГОСТ Р 50765 (п. 4.2.2.2).
Рисунок 19 - Схема измерения девиации несущей частоты, вызванной сигналом основной полосы, и девиации несущей частоты, вызванной пилот-сигналом
7.2.7 Эффективное значение девиации несущей частоты, вызванной сигналом основной полосы с номинальным измерительным уровнем, измеряют при помощи анализатора спектра (А) по схеме рисунка 19.
Регулировкой аттенюатора Г1 на его выходе устанавливают сигнал с уровнем, соответствующим номинальному измерительному уровню для данного числа каналов ТЧ, на частоте «нулевых» предыскажений. Номинальные измерительные уровни для различного числа каналов ТЧ приведены в ГОСТ Р 50765 (п. 4.2.2.1, таблица 3). Частоты «нулевых предыскажений» приведены в ГОСТ Р 50765 (приложение В, таблица В.1).
По соотношению спектральных составляющих на несущей частоте сигнала и на первой боковой частоте сигнала, полученных на экране А, находят соответствующий индекс модуляции mпик, используя функции Бесселя.
Индекс модуляции представляют в виде mпик = DFпик/Fмод, где DFпик - пиковая девиация несущей частоты сигнала, Fмод - частота модулирующего сигнала.
Эффективное значение девиации несущей частоты сигнала будет равно mпик/1,41.
Эффективные значения девиации несущей частоты сигнала, вызванные сигналом номинального измерительного уровня, должны соответствовать ГОСТ Р 50765 (п. 4.2.2.3, таблица 4).
7.2.8 Девиацию несущей частоты сигнала, вызванной пилот-сигналом, измеряют по схеме рисунка 19.
На выходе Г1 устанавливают сигнал с частотой, равной частоте пилот-сигнала для данного числа каналов ТЧ. Уровень сигнала от Г1 в цепи стыка R¢ устанавливают на 3 дБ ниже номинального уровня в этой же цепи для данного числа каналов ТЧ. По соотношению спектральных составляющих частотно-модулированной несущей, измеренных на А, по методике 7.2.7 вычисляют эффективное значение девиации несущей частоты сигнала, вызванной пилот-сигналом, которое должно соответствовать ГОСТ Р 50765 (п. 4.2.2.5, таблица 5).
7.3 Измерение параметров цепей стыка аппаратуры образования каналов передачи сигналов изображения и звукового сопровождения
7.3.1 Цепи стыка аппаратуры образования каналов передачи сигналов изображения и звукового сопровождения указаны на рисунке 20.
R¢в, Rв - цепи стыка по каналу передачи сигналов изображения, вход/выход радиорелейной системы для передачи сигналов изображения (видео¢/видео); R¢зв, Rзв - цепи стыка по каналу передачи звукового сопровождения, вход/выход радиорелейной системы для передачи сигналов звукового сопровождения (звук¢/звук); ПЧ¢/ПЧ - цепи стыка по ПЧ, выход/вход аппаратуры тракта ПЧ; 1, 2 - блоки аппаратуры для обработки сигналов в полосе частот (ВИДЕО/ЗВУК)-ОП¢/ОП-(ВИДЕО/ЗВУК); 3, 4 - блоки аппаратуры для обработки сигналов в полосе частот ОП¢-ПЧ/ПЧ-ОП
Рисунок 20 - Цепи стыка аппаратуры образования каналов передачи сигналов изображения и звукового сопровождения
Рисунок 21 - Схема измерения верхней граничной частоты канала передачи сигналов изображения и размаха полного цветового телевизионного сигнала
7.3.2 Измерение верхней граничной частоты канала изображения выполняют по схеме рисунка 21.
На вход измеряемого тракта (R¢в) подают от Г3 измерительный сигнал II испытательной строки. Осциллографом, установленным в режим выделения строки, выделяют строку измерительного сигнала II, который содержит пакеты синусоидальных колебаний на шести дискретных частотах и контрольный импульс С1.
Определяют
относительные значения отклонений размахов пакетов на шести дискретных частотах
от размаха импульса С1. Относительное отклонение размаха
пакета на шестой дискретной частоте не должно превышать размах импульса С1
на
дБ.
Параметры цепей стыка для сигналов изображения должны соответствовать ГОСТ Р 50765 (п. 4.2.3.1, таблица 6).
7.3.3 Сопротивление на выходе/входе канала передачи сигналов изображения в цепях стыка Rв/R¢в рассчитывают соответственно по формулам (2) и (4), с учетом изложенного в 7.2.3 и 7.2.4. Значения сопротивлений должны соответствовать ГОСТ Р 50765 (п. 4.2.3.1, таблица 6).
7.3.4 Затухание несогласованности на выходе/входе канала передачи сигналов изображения в цепи стыка Rв/R¢в определяют соответственно по формулам (3) и (5) с учетом изложенного в 7.2.5 и 7.2.6. Значения затуханий несогласованности должны соответствовать ГОСТ Р 50765 (п. 4.2.3.1, таблица 6).
7.3.5 Номинальный размах полного цветового телевизионного сигнала в цепи стыка Rв от уровней синхронизирующих импульсов до уровня белого измеряют при помощи осциллографа с блоком выделения строки по схеме рисунка 21.
На вход измеряемого тракта R¢в подают от Г3 измерительный сигнал I испытательной строки.
Осциллографом, установленным в режим выделения строки, выделяют строку, содержащую измерительный сигнал I. Размах полного цветового телевизионного сигнала определяют по изображению на экране осциллографа от уровня синхронизирующих импульсов до уровня белого. Номинальный размах полного цветового телевизионного сигнала должен соответствовать ГОСТ Р 50765 (п. 4.2.3.1, таблица 6).
7.3.6 Девиацию частоты сигнала в канале передачи сигнала изображения, вызванной измерительным синусоидальным сигналом, измеряют анализатором спектра по схеме рисунка 22.
Спектральная картина ЧМ сигнала зависит от индекса модуляции m = DFпик/Fмод, где DFпик - пиковая девиация частоты, зависящая от уровня модулирующего сигнала, Fмод - частота модулирующего сигнала. При значении индекса модуляции, равном 2,63, первая и вторая боковые составляющие спектра имеют равные амплитуды. Соответствующая нормам девиация частоты ± 4 МГц при модуляции сигналом с частотой 1,512 МГц (коэффициент передачи контура предыскажений на этой частоте составляет 0 дБ) обеспечивает индекс модуляции m = 2,66 (характеристики предыскажений для канала передачи сигналов изображения приведены в ГОСТ Р 50765 (приложение Г, рисунок Г.1). Значения m = 2,63 и 2,66 близки, поэтому данный метод используют для измерений с точностью в пределах ± 1 %. От генератора сигналов на вход измеряемого тракта в цепь стыка R¢в с входным сопротивлением 75 Ом подают синусоидальный сигнал с частотой 1,512 МГц. Увеличивая амплитуду сигнала от минимального значения по изображению на экране анализатора спектра, подключенного к цепи стыка ПЧ, добиваются равенства амплитуд первой и второй боковых составляющих спектра сигнала.
Нормированное значение девиации частоты сигнала в канале передачи сигнала изображения, вызванной измерительным синусоидальным сигналом, приведено в ГОСТ Р 50765 (п. 4.2.3.1, таблица 6).
7.3.7 Полярность модуляции сигналом изображения по ПЧ проверяют при помощи анализатора спектра по схеме рисунка 23.
Рисунок 22 - Схема измерения девиации частоты сигнала, вызванной измерительным синусоидальным сигналом
Рисунок 23 - Схема измерения полярности модуляции по ПЧ
Рисунок 24 - Схема измерения частоты пилот-сигнала в канале передачи сигнала изображения
Рисунок 25 - Схема измерения девиации несущей частоты сигнала, вызванной пилот-сигналом в канале передачи сигнала изображения
На вход R¢в ИТ подают от Г3 полный телевизионный сигнал. При положительной полярности модуляции составляющая спектра сигнала, соответствующая импульсам синхронизации, будет меньше по амплитуде и появится на экране в низкочастотной области спектра слева относительно составляющей спектра сигнала, соответствующей опорным импульсам белого. Полярность модуляции сигналом изображения по ПЧ должна соответствовать ГОСТ Р 50765 (п. 4.2.3.1, таблица 6).
7.3.8 Частоту пилот-сигнала при наличии контрольного выхода в цепи генератора пилот-сигнала измеряют при помощи частотомера. При отсутствии контрольного выхода в цепи пилот-сигнала частоту пилот-сигнала измеряют частотомером, подключенным к цепи стыка ОП по схеме рисунка 24. Модулирующий сигнал в цепи стыка R¢зв при измерениях выключают.
Частота пилот-сигнала должна соответствовать ГОСТ Р 50765 (п. 4.2.3.1, таблица 6).
7.3.9 Эффективное значение девиации несущей частоты сигнала, вызванной пилот-сигналом, измеряют при помощи анализатора спектра, включенного в цепь стыка ПЧ по схеме рисунка 25. Модулирующие сигналы в цепях стыка R¢зв и R¢в при измерениях выключают.
Генератор пилот-сигнала находится внутри ИТ. Его сигнал, воздействуя на частотный модулятор канала передачи сигнала изображения, вызывает девиацию частоты несущей канала передачи сигнала изображения.
По соотношению спектральных составляющих на несущей частоте сигнала и первой боковой частоте сигнала, полученных на экране А, находят соответствующий индекс модуляции mпик, используя функции Бесселя.
Индекс модуляции представляют в виде mпик = DFпик/Fмод, где DFпик - пиковая девиация несущей частоты сигнала, Fмод - частота модулирующего сигнала.
Эффективное значение девиации несущей частоты сигнала будет равно mпик/1,41.
Эффективное значение девиации несущей частоты сигнала, вызванное пилот-сигналом, должно соответствовать ГОСТ Р 50765 (п. 4.2.3.1, таблица 6).
7.3.10 Входной и выходной уровни сигнала в канале звукового сопровождения измеряют при помощи милливольтметров МЦ по схеме рисунка 26.
На вход цепи стыка R¢зв ИТ по Г2 подают измерительный сигнал частотой 1000 Гц с номинальным напряжением 275 мВ эфф. на сопротивлении 600 Ом, измеренном МЦ, что соответствует входному уровню минус 9 дБм. На выходе в цепи стыка Rзв на согласованном сопротивлении 600 Ом при помощи МЦ измеряют напряжение, которое должно быть равно номинальному значению 1,53 В эфф., что соответствует выходному уровню 6 дБм. Аналогично проверяют максимальное входное (0,775 В эфф.) и выходное (4,31 В эфф.) напряжения, что соответствует входному уровню 0 дБм и выходному уровню 15 дБм.
Параметры канала звукового сопровождения приведены в ГОСТ Р 50765 (п. 4.2.3.3, таблица 7; п. 4.2.3.4, таблица 8).
7.3.11 Сопротивления на выходе/входе канала звукового сопровождения в цепях стыка Rзв/R¢зв рассчитывают соответственно по формулам (2) и (4) с учетом изложенного в 7.2.3 и 7.2.4. Значения сопротивлений должны соответствовать ГОСТ Р 50765 (п. 4.2.3.3, таблица 7).
7.3.12 Затухание несогласованности на входе канала звукового сопровождения в цепи стыка R¢зв определяют по формуле (5) с учетом изложенного в 7.2.6. Значение затухания несогласованности должно соответствовать ГОСТ Р 50765 (п. 4.2.3.3, таблица 7).
Рисунок 26 - Схема измерения уровней сигнала в канале звука
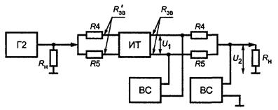
7.3.13 Затухание асимметрии входа цепи стыка R¢зв канала передачи сигналов звукового сопровождения определяют по схеме рисунка 27.
R4 = R5 = Rн/2; Rн = 600 Ом - сопротивление нагрузки, равное номинальному значению сопротивления измеряемого тракта в цепи стыка R¢зв. Резисторы R4 и R5 (точность 0,5 - 1 %) подбирают так, чтобы их разность была меньше 0,1 %.
Схему предварительно проверяют по затуханию собственной асимметрии. Для этого необходимо вход цепи стыка R¢зв ИТ заменить на номинальное сопротивление входа цепи стыка R¢зв и провести измерения, приведенные ниже. Затухание собственной асимметрии должно быть на 10 - 20 дБ выше измеряемого.
От Г2 подают синусоидальный сигнал с частотой 1000 Гц и уровнем, не превышающим максимально допустимого входного уровня для цепи стыка R¢зв. Напряжения U1 и U2 измеряют при помощи ВС, имеющего высокоомный или симметричный вход. Затухание асимметрии aвх, дБ, на входе канала звукового сопровождения определяют по формуле
Затухание асимметрии должно соответствовать ГОСТ Р 50765 (п. 4.2.3.3, таблица 7).
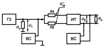
7.3.14 Затухание асимметрии выхода цепи стыка Rзв канала передачи сигналов звукового сопровождения определяют по схеме рисунка 28.
R4 = R5 = Rн/2; Rн = 600 Ом - сопротивление нагрузки, равное номинальному значению сопротивления измеряемого тракта в стыках R¢зв и Rзв. Резисторы R4 и R5 (точность 0,5 - 1 %) подбирают так, чтобы их разность была меньше 0,1 %. Схему предварительно проверяют по затуханию собственной асимметрии выходной цепи. Для этого необходимо отсоединить R4 и R5 от цепи стыка Rзв и на них подать сигнал от генератора Г2. Проводят измерения, приведенные ниже. Затухание собственной асимметрии должно быть на 10 - 20 дБ выше измеряемого. На выходе Г2 устанавливают синусоидальный сигнал с частотой 1000 Гц и уровнем, равным номинальному уровню для цепи стыка R¢зв. Напряжения U1 и U2 измеряют при помощи ВС, имеющего высокоомный или симметричный вход.
Затухание асимметрии на выходе канала звукового сопровождения aвых, дБ, определяют по формуле (8). Затухание асимметрии должно соответствовать ГОСТ Р 50765 (п. 4.2.3.3, таблица 7).
7.3.15 Эффективное значение девиации поднесущей частоты сигнала в канале звука при модуляции синусоидальным сигналом измеряют при помощи измерителя модуляции по схеме рисунка 29.
От Г2 в цепь стыка R¢зв подают сигнал модулирующей частоты 1 кГц в канал соответствующей поднесущей частоты сигнала. Устанавливают напряжение модулирующей частоты, равное 0,775 В эфф., на сопротивлении 600 Ом, что соответствует уровню 0 дБм. Измеренное эффективное значение девиации частоты сигнала должно быть равно 106 кГц для поднесущей частоты сигнала 8000 кГц и 70 кГц - для всех остальных поднесущих частот.
Рисунок 27 - Схема определения затухания асимметрии входа цепи стыка R¢зв
Рисунок 28 - Схема определения затухания асимметрии выхода цепи стыка Rзв
Рисунок 29 - Схема измерения девиации поднесущей частоты сигнала при модуляции синусоидальным сигналом
Рисунок 30 - Схема измерения девиации ПЧ, вызванной поднесущей частотой
Девиацию частоты измеряют ИМ, подключенным к контрольному выходу частотного модулятора поднесущей частоты сигнала.
Эффективное значение девиации поднесущей частоты сигнала должно соответствовать ГОСТ Р 50765 (п. 4.2.3.3, таблица 7).
7.3.16 Эффективное значение девиации ПЧ, вызванной сигналом поднесущей частоты в канале звука, измеряют по схеме рисунка 30.
Выключают сигнал поднесущей частоты. Измеряют уровень немодулированного сигнала ПЧ на анализаторе спектра. Этот уровень принимают за 100 %. Затем включают сигнал поднесущей частоты. В спектре сигнала измеряют уровень составляющих сигнала ПЧ на несущей частоте и первой боковой частоте сигнала в процентах от амплитуды немодулированного сигнала ПЧ.
По соотношению этих уровней и таблицам функций Бесселя определяют индекс модуляции m. По известному значению Fпод и вычисленному значению m по формуле (9) находят эффективное значение девиации частоты ПЧ Dfэфф.
Эффективное значение девиации частоты ПЧ, вызванное сигналом на поднесущей частоте, должно соответствовать ГОСТ Р 50765 (п. 4.2.3.3, таблица 7; п. 4.2.3.4, таблица 8).
(справочное)
|
Наименование |
Тип прибора |
Требуемый диапазон |
Кол. |
Условное обозначение |
Примечание |
|
Анализатор ошибок и фазового дрожания |
SF-60 W & G |
Скорости передачи 2,048; 8,448; 34,368; 139,264; 155,520 Мбит/с |
1 |
ИЦ |
|
|
Погрешность ± 2 × 10-6 |
|||||
|
Коды: HDB3, CMI |
|||||
|
ПСП: 223 - 1; 215 - 1 |
|||||
|
Диапазон измерения фазового дрожания 0,01 - 20 ЕИ |
|||||
|
Диапазон распределения фазового дрожания по частоте 0 - 3500 кГц |
|||||
|
Собственное фазовое дрожание 0,006 ЕИ |
|||||
|
Измеритель фазового дрожания |
PJM-4S W & G |
Скорости передачи 2,048; 8,448; 34,368; 139,264; 155,520 Мбит/с |
1 |
ИФ |
|
|
Диапазон измерения фазового дрожания 0,01 - 20 ЕИ |
|||||
|
Диапазон распределения фазового дрожания по частоте 0 - 3500 кГц |
|||||
|
Генератор сигналов |
Г4-154 |
0,1 - 50 МГц |
1 |
Г1 |
|
|
100 мкВ - 10 В |
|||||
|
Нестабильность частоты ± 1 × 10-5f |
|||||
|
Генератор сигналов низкочастотный |
Г3-118 |
10 Гц - 200 кГц |
1 |
Г2 |
|
|
10 В/600 Ом |
|||||
|
Нестабильность частоты ± 50 × 10-4f |
|||||
|
Генератор телевизионных измерительных сигналов |
Г6-35 |
Номинальный размах импульса (700 ± 7) мВ |
1 |
Г3 |
|
|
Импеданс выходной 75 Ом |
|||||
|
Генерирует полный телевизионный сигнал и измерительные сигналы № 2 - 8 |
|||||
|
Генератор сигналов |
Г4-153 |
10 Гц - 10 МГц |
1 |
ИГ |
|
|
100 мкВ - 10 В |
|||||
|
Нестабильность частоты ± 1 × 10-5f |
|||||
|
Специализированный цифровой осциллограф для связи |
CSA-803A+ SD22 TEKTRONIX |
Ширина полосы до 50 ГГц; |
1 |
ИО |
Возможна замена на С9-9А, 0 - 18 ГГц; t £ 50 пс; 0,05 - 10 В. Погрешность измерения: напряжения £ 2 %, временных интервалов £ 1 % |
|
Время нарастания / ширина полосы для SD22: 28 пс/12,5 ГГц |
|||||
|
Чувствительность по вертикали: 2 - 255 мВ/деление |
|||||
|
Погрешность ± 1 % |
|||||
|
Коэффициент развертки: 1 пс/дел. - 5 мс/дел. |
|||||
|
Погрешность при длительностях импульсов: |
|||||
|
³ 10 нс - 0,01 % × Т + 8 пс, |
|||||
|
1 нс - 10 пс |
|||||
|
Осциллограф |
С1-81 |
Чувствительность по вертикали от 0,01 до 5 В/см |
1 |
О |
|
|
Коэффициент развертки от 50 до 0,1 мс/см |
|||||
|
Погрешность по вертикали ± 2 % при изображении 6 ... 8 см |
|||||
|
Погрешность по горизонтали ± 4 % |
|||||
|
Полоса пропускания частот канала вертикального отклонения 0 - 20 МГц |
|||||
|
Частотомер электронно-счетный |
Ч3-63/1 |
0,1 Гц - 1,5 ГГц |
1 |
Ч1 |
|
|
0,03 - 10 В эфф. |
|||||
|
Относительная погрешность измерения частоты не более ± 5 × 10-7 |
|||||
|
Входное сопротивление 1 МОм (50 Ом) |
|||||
|
Входная емкость 50 пФ |
|||||
|
Частотомер электронно-счетный |
Ч3-62 |
10 Гц - 10 МГц |
1 |
Ч2 |
|
|
0,01 - 10 В эфф. |
|||||
|
Относительная погрешность измерения частоты не более ± 1,5 × 10-5 |
|||||
|
Входное сопротивление 1 МОм |
|||||
|
Входная емкость 50 пФ |
|||||
|
Анализатор спектра |
С4-74 |
300 Гц - 300 МГц |
1 |
А |
|
|
300 нВ - 3 В |
|||||
|
Полоса обзора 20 Гц - 150 МГц |
|||||
|
Динамический диапазон 70 - 80 дБ |
|||||
|
Погрешность измерения частоты не более ± 10-7f |
|||||
|
Входное сопротивление 50 Ом |
|||||
|
Измеритель модуляции вычислительный |
СКЗ-45 |
0,1 - 1000 МГц |
1 |
ИМ |
|
|
Модулирующие частоты 0,02 - 200 кГц |
|||||
|
Девиация частоты 1 - 106 Гц |
|||||
|
Погрешность измерения девиации частоты ± 2 % |
|||||
|
Милливольтметр высокочастотный |
В3-62 |
10 кГц - 1500 МГц |
2 |
MВ |
|
|
0,7 мВ - 300 В |
|||||
|
Погрешность измерения напряжения ± 1,5 % |
|||||
|
Входное сопротивление 300 кОм |
|||||
|
Входная емкость 2,5 пФ |
|||||
|
Селективный микровольтметр |
SMV-11 |
Полоса пропускания 0,2 кГц при частотах 0,009 - 0,15 МГц, 9 кГц при частотах 0,15 - 30 МГц, 120 кГц при частотах 30 - 1000 МГц |
1 |
ВС |
|
|
Диапазон измерения напряжений 1 мкВ - 3 В |
|||||
|
Входное сопротивление 100 кОм |
|||||
|
Входная емкость 50 пФ |
|||||
|
Милливольтметр цифровой широкополосный |
В3-59 |
0,265 мВ - 300 В |
1 |
МЦ |
|
|
10 Гц - 100 МГц |
|||||
|
Погрешность измерения напряжения ± (0,4 - 2,5) % |
|||||
|
Входное сопротивление (с пробником) 20 МОм |
|||||
|
Входная емкость (с пробником) 8 пФ |
|||||
|
Измеритель группового времени запаздывания в составе: |
Ф4-15А |
Диапазон рабочих частот 45 - 95 МГц |
1 |
ИГВЗ |
|
|
Предел измерения: |
|||||
|
характеристики ГВЗ 0 - 200 нс, дифференциальной фазы 0 - 18°, |
|||||
|
- устройство передающее |
Я3Ф-85А |
дифференциального усиления 0 - 15 % |
1 |
||
|
- устройство приемное |
Я3Ф-86А |
Собственная неравномерность: |
1 |
||
|
- рефлектометр |
ЦЮ2.744.118 |
характеристики ГВ3 1 нс, 1 |
|||
|
- устройство решающее индикаторное |
Я9Ф-32А |
дифференциальной фазы 0,8°, 1 |
|||
|
дифференциального усиления 0,4 % |
|||||
|
Нагрузка коаксиальная |
ЦЮ2.240.053 |
1 |
НК |
||
|
Эквивалент кабельной линии |
РК-75-1-13 |
Затухание 6 дБ на 1,024 МГц |
100 м |
ЭК |
2,048 Мбит/с |
|
Затухание 6 дБ на 4,224 МГц |
50 м |
8,448 Мбит/с |
|||
|
Затухание 12 дБ на 17,184 МГц |
48 м |
34,368 Мбит/с |
|||
|
Затухание 12 дБ на 69,632 МГц |
24 м |
139,264 Мбит/с |
|||
|
Затухание 12,7 дБ на 77,760 МГц |
24 м |
155,520 Мбит/с |
|||
|
Резистор |
270 Ом ± 1 % |
R2 |
2,048 Мбит/с |
||
|
330 Ом ± 1 % |
R3 |
8,448 и 34,368 Мбит/с |
|||
|
300 Ом ± (0,5 - 1) % |
R4 |
Разность между R4 и R5 должна быть £ 0,1 % |
|||
|
300 Ом ± (0,5 - 1) % |
R5 |
||||
|
Примечание - Указанные в таблице приборы могут быть заменены аналогичными, обеспечивающими необходимую точность измерений. |
|||||
Ключевые слова: аппаратура радиорелейная, цепи стыка, аппаратура аналоговых и цифровых радиорелейных систем прямой видимости, аппаратура образования каналов передачи сигналов изображения и звукового сопровождения, аппаратура аналоговых многоканальных линейных трактов, аппаратура цифровых радиорелейных линейных трактов
СОДЕРЖАНИЕ
|
5 Классификация цепей стыка. 2 6 Методы измерений параметров цепей стыка аппаратуры ЦРЛТ. 3 Приложение А Перечень средств измерений и вспомогательного оборудования. 18 |