Inland navigation vessels. Customs sealing systems. Basic technical requirements

ГОСТ Р ИСО 6205-92

ГОСУДАРСТВЕННЫЙ СТАНДАРТ РОССИЙСКОЙ ФЕДЕРАЦИИ

 

СУДА ВНУТРЕННЕГО ПЛАВАНИЯ.
СИСТЕМЫ ТАМОЖЕННОГО
ОПЛОМБИРОВАНИЯ

ОСНОВНЫЕ ТЕХНИЧЕСКИЕ ТРЕБОВАНИЯ

 

 

 

ГОССТАНДАРТ РОССИИ

Москва

 

ГОСУДАРСТВЕННЫЙ СТАНДАРТ РОССИЙСКОЙ ФЕДЕРАЦИИ

СУДА ВНУТРЕННЕГО ПЛАВАНИЯ.

СИСТЕМЫ ТАМОЖЕННОГО ОПЛОМБИРОВАНИЯ

Основные технические требования

Inland navigation vessels.

Customs sealing systems.

Basic technical requirements

ГОСТ Р
ИСО 6205-92

Дата введения 01.07.93

1. НАЗНАЧЕНИЕ И ОБЛАСТЬ ПРИМЕНЕНИЯ

Настоящий стандарт устанавливает основные технические требования, предъявляемые к системам таможенного опломбирования, применяемые на судах внутреннего плавания при пломбировании грузовых помещений.

Стандарт не определяет конструкцию систем таможенного опломбирования и не содержит специальных данных, подлежащих внесению в «Удостоверение о пригодности судна к перевозке грузов под таможенным пломбированием» или в другие документы, принятые национальными таможенными органами или соответствующими международными организациями.

Примеры исполнения и применения систем таможенного опломбирования приведены на черт. 1 - 6.

2. ОПРЕДЕЛЕНИЯ

2.1. Система таможенного опломбирования - совокупность устройств, приспособлений и элементов, обеспечивающих опломбирование грузовых и других помещений судна.

2.2. Пломба - приспособление из металла или другого материала, соединяющее два конца связывающего элемента таким образом, что их разъединение становится невозможным без заметного повреждения этого приспособления.

2.3. Связывающий элемент - проволока, шнур, лента и т.п., применяемые вместе с пломбой в системе таможенного опломбирования.

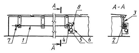
Пример применения системы таможенного опломбирования с использованием каната с наконечником для пломбирования закрытий брезентом

1 - пеньковый или сизальский канат; 2 - прозрачная нерастягиваемая оболочка; 3 - металлический наконечник; 4 - полая заклепка; 5 - пломба; 6 - связывающий элемент; 7 - предохранительная коробка; 8 - крепежное ушко

Черт. 1

Пример применения системы таможенного опломбирования с использованием каната с наконечниками и специального замка для пломбирования закрытий грузовых люков

Примечание. Количество крепежных ушек показано условно.

1 - стальной проволочный канат; 2 - наконечник; 3 - замок; 4 - пломба; 5 - связывающий элемент; 6 - крепежное ушко

Черт. 2

3. ТЕХНИЧЕСКИЕ ТРЕБОВАНИЯ

3.1. Конструкция и крепление деталей систем таможенного опломбирования должны быть такими, чтобы:

1) их нельзя было снять снаружи опечатанного помещения и вновь поставить на место без оставления видимых следов повреждения самих деталей или конструкции, на которой они установлены;

2) грузы не могли извлекаться из опечатанного помещения или загружаться в него без оставления видимых следов повреждения таможенной пломбы или связывающего элемента;

3) в них отсутствовали места, которые могли бы быть использованы для сокрытия груза.

Пример применения системы таможенного опломбирования с использованием каната с наконечником и головкой для пломбирования накладных люковых крышек

1 - канат; 2 - крепежное ушко; 3 - стальная пластина; 4 - связывающий элемент; 5 - пломба; 6 - предохранительная коробка; 7 - головка; 8 - наконечник

Черт. 3

Пример применения системы таможенного опломбирования с использованием прутка для пломбирования накладных люковых крышек

1 - пруток; 2 - крепежное ушко; 3 - стальная пластина; 4 - связывающий элемент; 5 - пломба; 6 - предохранительная коробка

Черт. 4

3.2. В случае использования каната, он должен состоять из одного куска и иметь:

либо металлические наконечники на обоих концах,

либо на одном конце наконечник, а на другом - стационарно закрепленную головку, которая должна препятствовать прохождению каната через отверстие крепежного ушка, сквозь которое продет канат.

Пример применения системы таможенного опломбирования с использованием ленточного устройства для пломбирования

1 - дверь; 2 - вращающаяся часть; 3 - штырь; 4 - поворотная втулка; 5 - стопорный винт; 6 - рычаг; 7 - ленточное устройство для пломбирования; 8 - задняя пластина замка; 9 - стопорный болт или винт (головка деформирована сваркой); 10 - крепежная пластина

Черт. 5

Запирающее устройство каждого наконечника должно иметь полую заклепку, проходящую через канат, для продевания связывающего элемента таможенной пломбы. Канат должен быть видимым с каждой стороны полой заклепки для того, чтобы можно было убедиться, что он состоит из одного куска.

Наконечник с двумя полыми заклепками не допускается.

Канат должен быть:

либо стальной проволочный диаметром не менее 3 мм,

либо пеньковый или сизальский диаметром не менее 8 мм, заключенный в прозрачную нерастягиваемую оболочку по всей длине.

3.3. В случае применения прутка, форма и размеры его головки должны исключать возможность поворота прутка вокруг своей оси. На другом конце прутка должно быть одно или два отверстия, через которые может быть продернут связывающий элемент.

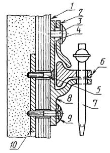
Пример применения таможенного опломбирования с использованием люковой задрайки для пломбирования закрытий грузовых люков

1 - задрайка; 2 - упор; 3 - связывающий элемент; 4 - пломба

Черт. 6

3.4. Длина прутка и расположение в нем отверстий для связывающего элемента должны выбираться так, чтобы после установления пломбы или закрепления ленты было невозможно вынуть пруток из крепежного ушка, даже если связывающий элемент ослаб.

3.5. Поверхности отверстий для связывающего элемента должны быть хорошо обработаны, острые кромки удалены.

3.6. В целях предохранения от коррозии металлические детали систем таможенного опломбирования должны быть оцинкованы или заключены в прозрачную нерастягиваемую оболочку.

3.7. Если необходимо, связывающий элемент и пломба должны быть предохранены от случайных повреждений. Предохранительное устройство не должно препятствовать выполнению требований п. 3.1.

3.8. Канат и связывающий элемент должны иметь минимальные слабины и провисания, исключающие доступ к опечатанному помещению.

3.9. Связывающий элемент не должен подвергаться механическим усилиям.

ИНФОРМАЦИОННЫЕ ДАННЫЕ

1. ПОДГОТОВЛЕН И ВНЕСЕН Департаментом судостроительной промышленности Российской Федерации

РАЗРАБОТЧИКИ:

Ю.В. Леухин, Н.И. Тепин, О.И. Бирюков

2. УТВЕРЖДЕН И ВВЕДЕН В ДЕЙСТВИЕ Постановлением Госстандарта России от 05.10.92 № 1300

Настоящий стандарт подготовлен методом прямого применения международного стандарта ИСО 6205-88 «Суда и плавсредства внутреннего плавания. Системы таможенного опломбирования. Основные технические требования» и полностью ему соответствует

3. Срок проверки - 1997 г., периодичность проверки - 5 лет.

4. ВВЕДЕН ВПЕРВЫЕ

 

СОДЕРЖАНИЕ

1. Назначение и область применения. 1

2. Определения. 1

3. Технические требования. 3