МИНИСТЕРСТВО ЭНЕРГЕТИКИ И ЭЛЕКТРИФИКАЦИИ СССР

ГЛАВНОЕ НАУЧНО-ТЕХНИЧЕСКОЕ УПРАВЛЕНИЕ ЭНЕРГЕТИКИ И ЭЛЕКТРИФИКАЦИИ

 

ИНСТРУКЦИЯ
ПО ЭКСПЛУАТАЦИИ
СКРУББЕРА ВЕНТУРИ СВУ

И 34-70-026-86

(РД 34.27.507)

 

 

 

СОЮЗТЕХЭНЕРГО

Москва 1989

 

РАЗРАБОТАНО предприятием «Уралтехэнерго» Производственного объединения по наладке, совершенствованию технологии и эксплуатации электростанций и сетей «Союзтехэнерго»

ИСПОЛНИТЕЛЬ Б.А. ЗУБАРЕВ

УТВЕРЖДЕНО Главным научно-техническим управлением энергетики и электрификации 02.12.86

Заместитель начальника                           В.И. ГУЩА

ИНСТРУКЦИЯ ПО ЭКСПЛУАТАЦИИ
СКРУББЕРА ВЕНТУРИ СВУ

И 34-70-026-86

Срок действия установлен

с 01.01.87 г.

до 01.01.96 г.

1. ВВЕДЕНИЕ

1.1. В Инструкции изложены сведения об устройстве скрубберов Вентури конструкции Уралтехэнерго (в дальнейшем - скрубберы), принципе действия, а также технические и другие данные, необходимые для их изучения с целью обеспечения эффективной и надежной работы пылеуловителей и поддержания их в постоянной готовности к работе.

1.2. Инструкция предназначена для инженерно-технического персонала электростанций, в функции которого входят монтаж, организация эксплуатации, наладки и ремонта оборудования топливоподачи, а также для предприятий Союзтехэнерго и проектных организаций (Атомтеплоэлектропроекта, ВНИПИэнергопрома и др.).

1.3. Скрубберы являются составной частью установок обеспыливания воздуха топливоподач ТЭС и предназначены для очистки аспирационного воздуха до санитарной нормы [1].

Устройство и технические данные скруббера приведены в приложениях 1, 2.

1.4. Персонал, обслуживающий скрубберы, должен руководствоваться местной инструкцией по эксплуатации установок обеспыливания воздуха, составленной с учетом данной Инструкции и конкретных условий топливоподачи, а также [2 - 5, 7, 8].

2. ОБЩИЕ УКАЗАНИЯ

2.1. Скрубберы в составе установок обеспыливания воздуха подлежат регистрации в региональной инспекции по охране атмосферного воздуха Госкомгидромета СССР с целью их учета.

2.2. Персонал, обслуживающий скрубберы, определяется начальником топливно-транспортного цеха и утверждается руководством электростанции; для него должны быть разработаны должностные инструкции, организованы техническая учеба и проверка знаний.

Персонал, ответственный за эксплуатацию и обслуживание скрубберов, обязан обеспечить соблюдение требований нормативно-технических документов [2 - 5, 7, 8] и должностных инструкций.

2.3. Скрубберы должны работать надежно, бесперебойно, с показателями, соответствующими проектным или полученным в результате наладочных работ и согласованными с организацией-разработчиком проекта.

Скрубберы должны быть обеспечены запасными частями и материалами в количестве, достаточном для их нормальной эксплуатации и своевременного ремонта.

2.4. Не реже одного раза в полугодие скрубберы должны подвергаться осмотру для оценки их технического состояния комиссией, назначаемой руководством электростанции. При осмотрах следует обращать внимание на:

- состояние оборудования, наличие и исправность приборов и средств автоматизации;

- отклонения от оптимальных режимов работы;

- герметичность скрубберов и отсутствие в них отложений пыли;

- чистоту (визуально) воздуха, выбрасываемого вентилятором в атмосферу;

- исправность удаления шлама.

По результатам осмотра составляется акт и при необходимости разрабатываются мероприятия по устранению обнаруженных недостатков. Акт прилагается к техническому паспорту установки, в состав которой входит скруббер.

2.5. Не реже одного раза в год, а также в случаях работы технологического оборудования на измененном режиме более 3 мес или при переводе его на новый постоянный режим работы, после капитального ремонта или реконструкции скрубберы должны подвергаться проверке соответствия фактических параметров (подача аспирационного воздуха, гидравлическое сопротивление, степень очистки) проектным в соответствии с типовой методикой эксплуатационных испытаний установок обеспыливания воздуха. При несоответствии параметров работы скруббера проектным должны приниматься необходимые меры для его наладки, реконструкции или замены.

2.6. Изменение конструкции и модернизация скрубберов без согласования с организацией-разработчиком проекта запрещаются. Мероприятия по модернизации скрубберов, позволяющие повысить их надежность и степень очистки, должны выполняться, как правило, при проведении капитального ремонта.

2.7. Каждый случай технической неисправности скрубберов или нарушения режима работы, приведший к снижению их эффективности, останову установки обеспыливания воздуха или отказу, должен быть расследован, должны быть разработаны мероприятия по приведению пылеуловителей в исправное состояние и предупреждению повторений аналогичных дефектов.

3. УКАЗАНИЯ МЕР БЕЗОПАСНОСТИ

3.1. Персонал, занятый обслуживанием скрубберов, обязан знать их устройство и инструкцию по эксплуатации, обеспечивать соблюдение оптимальных режимов и установленных параметров работы пылеуловителей, поддерживать их в исправном состоянии, исключать случаи травмирования людей и отказа оборудования.

Проверку знаний персонала, обслуживающего скрубберы, следует производить при сдаче экзаменов по правилам техники безопасности и технической эксплуатации.

3.2. Скрубберы должны быть оснащены удовлетворительным (не менее 50 лк) освещением площадок обслуживания; подсоединенный к ним всасывающий воздуховод должен быть оборудован взрывными клапанами, установленными в местах наиболее вероятного отложения пыли.

3.3. Обслуживание, ремонт и внутренний осмотр скрубберов следует производить только после отключения электродвигателя установки от сети, вывески на пусковой аппаратуре запрещающего плаката «Не включать - работают людии полного останова вращающихся частей. При осмотрах не допускается пользоваться переносными лампами напряжением свыше 12 В.

3.4. Обслуживание электромагнитного клапана должно производиться только персоналом цеха тепловой автоматики и измерений.

4. КОНТРОЛЬНО-ИЗМЕРИТЕЛЬНЫЕ ПРИБОРЫ

4.1 Поддержание оптимального давления воды, поступающей в форсунку трубы Вентури и сопла каплеуловителя, является условием эффективной и надежной работы скрубберов. При падении давления воды, поступающей в трубу Вентури, ниже 0,3 МПа (3 кгс/см2), а в каплеуловитель - ниже 0,02 МПа (0,2 кгс/см2) резко снижается степень очистки скруббера и появляется опасность засорения каплеуловителя. При давлении воды, поступающей в трубу Вентури, выше 0,5 МПа (5 кгс/см2), а в каплеуловитель выше 0,04 МПа (0,4 кгс/см2) возникает повышенный брызгоунос (большое содержание капель воды в вентиляционном воздухе), вызывающий коррозию вентилятора установки, а в зимнее время обледенение нагнетательного воздуховода. Кроме того, при этом возрастают эксплуатационные затраты на пылеулавливание.

4.2. Контроль давления воды, поступающей в каплеуловитель, осуществляется с помощью манометра ОБМ-1 [предел измерений 0 - 0,1 МПа (0 - 1 кгс/см2)]; в трубу Вентури - ЭКМ-IV [предел измерений 0 - 0,6 МПа (0 - 6 кгс/см2)]. Кроме того, манометр ЭКМ-IV отключает электродвигатель установки при падении давления воды ниже допустимого предела [0,3 МПа (3 кгс/см2)] во избежание засорения скруббера и вывода из строя оборудования установки.

4.3. Контроль расхода воды осуществляется c помощью водосчетчика ВСКМ (предел измерений 0,001 - 16,0 м3/ч).

5. РАЗМЕЩЕНИЕ И МОНТАЖ

5.1. Размещать скрубберы следует в местах, доступных для их осмотра и обслуживания, монтировать в строгом соответствии с технической документацией организации-разработчика проекта и требованиями к монтажу завода-изготовителя оборудования, входящего в состав пылеуловителей, а также [5 - 6].

5.2. Производить установку скрубберов надо строго вертикально на заранее подготовленные опоры, постаменты, кронштейны, перекрытия.

5.3. Следует проверить герметичность, создав при гидравлических испытаниях давление в скруббере до 2500 Па (2,5 · 10-2 кгс/см2). Считать скруббер герметичным, если в течение 1 ч давление снизится не более чем на 200 Па (2,0 · 10-3 кгс/см2).

5.4. Необходимо следить, чтобы сварные соединения воздуховодов со скрубберами были герметичными.

6. МАРКИРОВКА

Скрубберы обозначаются в соответствии с документацией организации-разработчика проекта. Обозначение наносится несмываемой краской на корпус скруббера.

Кроме того, на корпус скруббера наносится регистрационный номер, оформленный соответствующей записью в паспорте установки и документе регистрации региональной инспекции по охране атмосферного воздуха Госкомгидромета СССР. Размер надписей 200´150 мм.

7. ПОДГОТОВКА К РАБОТЕ

7.1. Проверить после монтажа и капитального ремонта скруббера:

- установку фильтра 13 для воды (рис. 1) (правильное положение фильтра - вертикальное сливной пробкой вниз; состояние фильтрующего элемента - очищен от грязи, шлам удален);

- установку электромагнитного клапана 19, которая должна удовлетворять следующим условиям: монтаж клапана - на горизонтальном участке водопровода электромагнитным приводом вверх; движение воды - в направлении, указанном стрелкой на корпусе клапана; размещение клапана - в месте, доступном для осмотра и обслуживания;

- отсутствие посторонних предметов (электродов и др.) внутри трубы Вентури 1, каплеуловителя 2 и гидрозатвора 22;

- состояние внутренней поверхности трубы Вентури 1 и каплеуловителя 2 (отсутствие незачищенных сварных соединений, неровностей и выступов, особенно в зоне орошения);

- наличие форсунки 7 [отрегулировать ее соосность с трубой Вентури 1 и высоту расположения, при которой при давления воды 0,3 МПа (3 кгс/см2) орошающий факел перекрывает среднюю зону конфузора 3];

- наличие сопл 8, отсутствие засорения, правильность их установки, при которой струя воды давлением 0,04 МПа (0,4 кгс/см2) касается корпуса каплеуловителя на минимальном расстоянии от сопла и направлена вниз под углом 10° по ходу вращения аспирационного воздуха;

- отсутствие засорения муфтовых клапанов 15 и 20;

- наличие и работоспособность манометров 16 и 17, водосчетчика 18; правильность установки: манометра ЭКМ-IV на трубопроводе подачи воды в трубу Вентури, манометра ОБМ-1 на трубопроводе подачи воды в каплеуловитель, водосчетчика на горизонтальном участке водопровода циферблатом вверх (подводящие и отводящие участки трубопровода, на которых монтируется счетчик, должны находиться на общей прямолинейной оси; направление, указанное стрелкой на корпусе, должно совпадать с направлением потока воды в трубопроводе);

- устройство гидрозатвора (плотность прилегания к срезу трубы 1 (рис. 2) клапана 2, легкость вращения его на шарнирах 6.

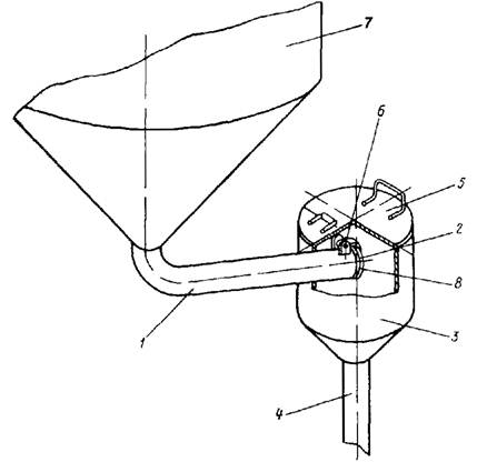
Рис. 1. Скруббер:

1 - труба Вентури; 2 - каплеуловитель; 3 - конфузор; 4 - горловина; 5 - диффузор; 6 - труба; 7 - форсунка; 8 - сопло; 9 - входной патрубок; 10 - выходной патрубок; 11 - переход; 12 - смотровой люк; 13 - фильтр; 14 - распределитель; 15 и 20 - муфтовые клапаны; 16 - манометр ОБМ-1; 17 - манометр ЭКМ-IV; 18 - водосчетчик; 19 - электромагнитный клапан; 21 - днище; 22 - гидрозатвор

7.2. Произвести в период пробного пуска следующие операции:

- открыть электромагнитный клапан 19 (см. рис. 1);

- установить муфтовым клапаном 15 по показаниям манометра 17 давление воды, поступающей в трубу Вентури 1, не более 0,5 МПа (5 кгс/см2), по показаниям манометра 16 давление воды, поступающей в каплеуловитель 2, не более 0,04 МПа (0,4 кгс/см2) и проверять равномерность истечения шлама (орошающей воды) из гидрозатвора 22;

- проверить при снятых смотровых люках 12 правильность орошения трубы Вентури и каплеуловителя, уделяя особое внимание брызгоуносу (редуцировать давление воды муфтовыми клапанами 15 при наличии следов капель выше яруса сопл 8: минимально допустимое давление воды, поступающей в трубу Вентури, - 0,3 МПа (3 кгс/см2), в каплеуловитель - 0,02 МПа (0,2 кгс/см2); максимально допустимое давление - соответственно 0,5 и 0,04 МПа (5 и 0,4 кгс/см2);

- проверить действие блокировок (производится персоналом цеха тепловой автоматики и измерений) привода электромагнитного клапана 19 с электродвигателем вентилятора установки - привод электромагнитного клапана должен включаться (отключаться) одновременно с включением (отключением) электродвигателя вентилятора; электроконтактного манометра 17 с электродвигателем вентилятора - при падении давления воды, поступающей в трубу Вентури 1, ниже 0,3 МПа (3 кгс/см2) контакты манометра должны размыкать электрическую цепь двигателя вентилятора.

Рис. 2. Гидрозатвор:

1 - труба; 2 - клапан; 3 - корпус; 4 - шламопровод; 5 - крышка; 6 - шарнир; 7 - каплеуловитель; 8 - прокладка

7.3. После окончания пробного пуска следует закрыть электромагнитный клапан, а также смотровые люки трубы Вентури и каплеуловителя. Скруббер готов к работе.

8. ПОРЯДОК РАБОТЫ

8.1. Режим работы:

8.1.1. Наиболее эффективным является режим работы скрубберов, при котором их характеристика соответствует техническим данным проекта или полученным в результате наладочных работ и согласованным с организацией-разработчиком проекта.

8.1.2. Не допускается повышение давления воды, поступающей в трубу Вентури, более 0,5 МПа (5 кгс/см2), в каплеуловитель - более 0,04 МПа (0,4 кгс/см2) так как это приведет к повышенному брызгоуносу и затратам на пылеулавливание.

8.1.3. Не допускается снижение давления воды, поступающей в трубу Вентури, ниже 0,3 МПа (3 кгс/см2), в каплеуловитель - ниже 0,02 МПа (0,2 кгс/см2) так как это повлечет уменьшение степени очистки скруббера и опасность засорения каплеуловителя и гидрозатвора шламом и пылью.

8.1.4. Регулирование давления и подачи воды производится вручную муфтовыми клапанами 15 (см. рис. П1.1), контроль давления - по показаниям манометров 16 и 17, подачи - по показаниям водосчетчика 18.

8.2. Пуск и останов:

8.2.1. Так как скрубберы являются составной частью установок обеспыливания воздуха, пуск и останов их производится автоматически одновременно с пуском и остановом электродвигателя вентилятора соответствующей установки.

8.2.2. В автоматическом режиме работы подача воды в скруббер производится одновременно с включением электродвигателя вентилятора благодаря блокировке привода электромагнитного клапана 19 с двигателем вентилятора.

8.2.3. В автоматическом режиме работы прекращение подачи воды в скруббер производится одновременно с отключением электродвигателя вентилятора.

8.2.4. На периоды пробного пуска, наладки, испытаний и ремонта предусмотрено управление подачей воды в скруббер вручную.

8.2.5. В режиме неавтоматического управления подача воды в скруббер производится нажатием кнопки «Пуск» на щите управления вентилятором или открыванием муфтовых клапанов 15.

8.2.6. В режиме неавтоматического управления прекращение подачи воды в скруббер производится нажатием кнопки «Стоп» на щите управления вентилятором или закрыванием муфтовых клапанов 15.

8.3. Обслуживание в процессе работы:

8.3.1. Следить во время работы скруббера периодически, но не реже двух раз в смену за:

- отсутствием течи корпуса;

- давлением воды (по показаниям манометра 17), поступающей в форсунку 7 трубы Вентури 1, которое должно быть в пределах 0,3 - 0,5 МПа (3 - 5 кгс/см2);

- давлением воды (по показаниям манометра 16), поступающей в сопла 8 каплеуловителя 2, которое должно быть в пределах 0,02 - 0,04 МПа (0,2 - 0,4 кгс/см2);

- обеспечением равномерного истечения шлама из гидрозатвора 22;

- чистотой (визуально) воздуха, выбрасываемого вентилятором в атмосферу (при нормальной работе скруббера отсутствует серо-черный шлейф).

8.3.2. Работа скрубберов в аварийном режиме воспрещается. Аварийным считается режим, при котором:

- неисправен один или несколько узлов скруббера;

- в скруббер не поступает вода или ее давление ниже 0,3 МПа (3 кгс/см2);

- из гидрозатвора каплеуловителя не стекает шлам.

9. ПРОВЕРКА ТЕХНИЧЕСКОГО СОСТОЯНИЯ СКРУББЕРА

9.1. Проверка технического состояния скруббера в целях выявления неисправностей и объема ремонтных работ должна производиться не реже одного раза в полугодие комиссией, состав которой определяется руководством электростанции.

Перед проверкой следует:

- ознакомиться с содержанием записей предыдущей проверки в журнале осмотров и ремонтов для сосредоточения внимания на наиболее повреждаемых узлах скруббера;

- разобрать электрическую схему двигателя вентилятора (производится персоналом электроцеха);

- установить специальный переключатель на щите управления вентилятором в положение «О» - «Отключено»;

- вывесить на ручке специального переключателя запрещающий плакат «Не включать - работают люди!».

9.2. Производить проверку технического состояния скруббера следует в объеме, приведенном в таблице.

Проверяемый узел

Способ проверки

Технические требования

Площадка обслуживания, опорные конструкции

Визуальный контроль

Надежное соединение и крепление отдельных элементов к строительным конструкциям, удовлетворительное (не менее 50 лк) освещение

Фильтр для воды

Визуальный осмотр, разборка фильтра с использованием отвеса

Установлен вертикально сливной пробкой вниз; шлам удален; фильтрующий элемент очищен; заменены прокладки после каждой разборки фильтра

Электромагнитный клапан

Проверка расположения с помощью отвеса и транспортира

Установлен на горизонтальном участке водопровода электромагнитным приводом вверх (допускается наклон на угол не более 15°), движение воды в направлении стрелки на корпусе клапана, фланцы водопровода установлены без перекосов

Визуальный осмотр

Контакты выключателя чистые; на механической части электромагнитного привода отсутствуют следы ржавчины, поломки пружин, ослабления винтов, повреждения изоляции; сальник и прокладочные соединения герметичны, сальник смазан смазкой ЦИАТИМ-221 ГОСТ 6267-74

Троекратное включение и отключение электромагнитного привода

Безотказная работа клапана

Манометры и водосчетчик

Изменение подачи воды с помощью муфтовых клапанов

Работоспособное состояние (стрелка реагирует на изменение подачи воды)

Труба Вентури

Визуальный осмотр корпуса

Сварные соединения плотные; отсутствуют проржавевшие участки, отложения пыли в конфузоре; смотровой люк герметичен

Осмотр форсунок с открыванием смотрового люка и подачей воды под давлением 0,3 МПа (3 кгс/см2)

Аксиальное расположение; засорение отверстия впрыска и внутренней полости отсутствует

Визуальный осмотр корпуса каплеуловителя с использованием отвеса и открыванием смотрового люка

Оси взаимно перпендикулярны; сварные соединения плотные; отсутствуют проржавевшие участки, незачищенные сварные соединения на внутренней поверхности, отложения пыли в выходном патрубке и днище; смотровой люк герметичен

Визуальный осмотр сопл с открыванием смотрового люка, подачей воды под давлением 0,02 МПа (0,2 кгс/см2)

Наличие комплекта; отсутствуют порывы резиновых трубок, засорения отверстия впрыска и внутренней полости

Гидрозатвор

Открывание крышки, подача воды в трубу Вентури и каплеуловитель под давлением соответственно 0,5 и 0,04 МПа (5 и 0,4 кгс/см2)

Сварные соединения плотные; отсутствуют отложения пыли, засорения трубы; клапан легко вращается на шарнирах; резиновая прокладка в удовлетворительном состоянии; плотность прижатия клапана к срезу трубы (при отсутствии воды); равномерное истечение воды

9.3. После проведения проверки следует сделать запись в журнале осмотров и ремонтов с указанием даты, выявленных неисправностей и работ по их устранению.

10. ВОЗМОЖНЫЕ НЕИСПРАВНОСТИ И СПОСОБЫ ИХ УСТРАНЕНИЯ

Неисправность, внешнее проявление и дополнительные признаки

Вероятная причина

Способ устранения

Исполнитель

1. Отсутствие или недостаточное давление воды, поступающей в скруббер; показания манометров ниже оптимальных значений давления, визуальное увеличение запыленности вентиляционного воздуха, отсутствие или минимальное истечение из гидрозатвора шлама с повышенным содержанием топливной пыли

Засорение фильтрующего элемента фильтра для воды

Промыть фильтрующий элемент, заменить прокладки

Слесарь ТТЦ

Блок-контакт тягового электромагнитного клапана срабатывает слишком рано

Отпустить перемычку блок-контакта. Зашунтировать контакты, разрывающие цепь катушки, проволочным сопротивлением или лампой накаливания. Мощность лампы подбирается экспериментально

Электрослесарь ЦТАИ

Износ или оплавление контактов электромагнитного клапана

Зачистить или заменить контакты

То же

Сработка шариков или головки штифта; поломка пружины штифта электромагнитного клапана

Заменить неисправную деталь

Электрослесарь ЦТАИ

Преждевременное срабатывание контакта реле электромагнитного клапана

Увеличить выдержку времени размыкания контакта реле

То же

Уменьшенный зазор между угольником якоря и штырем блок-контактов электромагнитного клапана

Увеличить зазор

Электрослесарь ЦТАИ

Пережатие сальника, заедание в трущихся деталях электромагнитного клапана

Разобрать и устранить заедание

То же

Слишком высокая установка перемычки блок-контакта электромагнита защелки электромагнитного клапана

Опустить перемычку блок-контакта

-"-

Повреждение проводки или обрыв катушки электромагнитного клапана

Проверить цепь катушки защелки и устранить неисправность

-"-

2. Поступление воды в скруббер при отключенном вентиляторе установки обеспыливания воздуха; аудиально слышен шум воды внутри корпуса скруббера, истечение из гидрозатвора шлама с пониженным содержанием топливной пыли

Заедание сердечника или штыря, пережатие сальника электромагнитного клапана

Устранить заедание, ослабить затяжку сальника

-"-

Повреждение проводки электромагнита электромагнитного клапана

Проверить цепь катушки и устранить неисправность

-"-

Износ контактов электромагнита электромагнитного клапана

Заменить контакты

Электрослесарь ЦТАИ

Заниженная установка перемычки блок-контактов главного электромагнита электромагнитного клапана

Поднять перемычку блок-контакта 11-12

То же

Несрабатывание блок-контакта электромагнита электромагнитного клапана

Опустить перемычку блок-контакта 11-12

-"-

Неправильная сборка электромагнита (слишком глубокое завинчивание штока) электромагнитного клапана

Проверить соединение штока с сердечником

-"-

3. Течь корпуса; из трубы Вентури, каплеуловителя или гидрозатвора течет шлам

Неплотность сварных соединений, негерметичность смотровых люков

Определить и устранить неплотности, заменить уплотнение смотровых люков

Слесарь ТТЦ

4. Снижение производительности установки: визуальное увеличение поступления запыленного воздуха из укрытия технологического оборудования, подсосы воздуха в каплеуловитель, истечение из гидрозатвора шлама с пониженным содержанием топливной пыли

Отложение пыли в конфузоре трубы Вентури и выходном патрубке каплеуловителя

Очистить конфузор и выходной патрубок

То же

Давление воды, поступающей в форсунку трубы Вентури, более 0,5 МПа (5 кгс/см2)

Редуцировать муфтовым клапаном давление воды, но не ниже 0,3 МПа (3 кгс/см2)

-"-

Неплотное прижатие клапана гидрозатвора к срезу трубы

Отрегулировать плотное прижатие, заменить резиновую прокладку

Слесарь ТТЦ

Заедание клапана гидрозатвора

Ревизовать шарниры, устранить заедание

То же

5. Снижение степени очистки скруббера; визуальное увеличение запыленности вентиляционного воздуха

Неправильное расположение форсунки трубы Вентури

Отрегулировать аксиальное положение форсунки на высоте, позволяющей факелу при давлении воды 0,3 МПа (3 кгс/см2) перекрывать среднюю зону конфузора

-"-

Давление воды, поступающей в форсунку трубы Вентури, ниже 0,3 МПа (3 кгс/см2)

Отрегулировать муфтовым клапаном давление в пределах 0,3 - 0,5 МПа (3 - 5 кгс/см2)

-"-

Некомплектность сопл каплеуловителя

Восстановить комплектность

-"-

Разрыв резиновых трубок сопл каплеуловителя

Заменить дефектные трубки

-"-

Засорение сопл каплеуловителя

Прочистить отверстие впрыска и внутреннюю полость сопл

-"-

Давление воды, поступающей в сопла каплеуловителя, ниже 0,02 МПа (0,2 кгс/см2)

Отрегулировать муфтовым клапаном давление в пределах 0,02 - 0,04 МПа (0,2 - 0,4 кгс/см2)

Слесарь ТТЦ

6. Повышенный брызгоунос; наличие капель в вентиляционном воздухе, вызывающих намокание гибких вставок вентилятора, в зимнее время - обледенение выхлопного воздуховода вентилятора

Незачищенные сварные соединения на внутренней поверхности каплеуловителя

Зачистить сварные соединения

То же

Давление воды, поступающей в сопла каплеуловителя, выше 0,04 МПа (0,4 кгс/см2)

Редуцировать муфтовым клапаном давление, но не ниже 0,02 МПа (0,2 кгс/см2)

-"-

Неперпендикулярность корпуса каплеуловителя

Установить корпус строго перпендикулярно

-"-

7. Отсутствие истечения шлама из гидрозатвора; переполнение каплеуловителя шламом

Засорение сливной трубы гидрозатвора

Прочистить сливную трубу

-"-

Заедание клапана гидрозатвора

Ревизовать шарниры клапана, устранить заедание

-"-

Приложение 1

УСТРОЙСТВО И ПРИНЦИП ДЕЙСТВИЯ СКРУББЕРА

1. Скруббер состоит из трубы Вентури и каплеуловителя, а также включает систему орошения и гидрозатвор.

2. Труба Вентури 1 (см. рис. 1) состоит из конфузора 3, горловины 4 и диффузора 5 и служит для коагуляции (укрупнения) пылевых частиц аспирационного воздуха. Для улучшения турбулентности воздуха горловина выполнена в форме перехода с круглого на прямоугольное сечение, что, кроме того, позволило совместить диффузор и поворотное колено в одном элементе. Для выравнивания пылевоздушного потока по сечению трубы Вентури перед конфузором предусмотрен прямолинейный участок трубы 6. Угол сужения конфузора составляет 24 - 28°, а угол раскрытия диффузора 12°. Орошение трубы Вентури осуществляется с помощью аксиально установленной форсунки 7. Корпус выполнен из стального листа толщиной 4 мм.

Режим работы трубы Вентури:

- скорость аспирационного воздуха в горловине 57 - 63 м/с;

- удельный расход воды на орошение при нормальных условиях и давлении воды 0,3 - 0,5 МПа (3 - 5 кгс/см2) 0,12 - 0,19 кг/м3.

3. Каплеуловитель 2 представляет собой центробежный циклон с тангенциальным вводом аспирационного воздуха, пленочным орошением внутренней поверхности цилиндрического корпуса, выполненного из стального листа толщиной 4 мм, и служит для сепарации частиц пыли.

Пленочное орошение каплеуловителя осуществляется с помощью яруса сопл 8, которые подают воду касательно к корпусу под углом 10° вниз (во избежание разбрызгивания струи о соседнее сопло).

Соотношение межосевого расстояния входного и выходного патрубков и внутреннего диаметра каплеуловителя 3:1. Входной и выходной 10 патрубки прямоугольного сечения с соотношением высоты и ширины, равным 2:1, при этом входной патрубок наклонен под углом 7°30' к горизонту для самотечного слива шлама из трубы Вентури в каплеуловитель. Выходной патрубок оканчивается переходом 11, присоединительный размер которого соответствует диаметру входного патрубка вентилятора.

Режим работы каплеуловителя:

- скорость аспирационного воздуха в сечении входного и выходного патрубков 20 - 22 м/с;

- удельный расход воды на создание пленки при нормальных условиях и давлении воды 0,02 - 0,04 МПа (0,2 - 0,4 кгс/см2) 0,12 - 0,28 г/м3.

4. Система орошения служит для бесперебойной подачи необходимого количества воды в скруббер. Для осмотра форсунки трубы Вентури и сопл каплеуловителя предусмотрены быстросъемные смотровые люки 12.

Во избежание засорения форсунки, сопл и водопроводной арматуры вода очищается от механических примесей в фильтре 13. Фильтрующим элементом его является металлическая сетка с размером ячейки 0,9´0,9 мм.

Для выравнивания давления воды предусмотрен распределитель 14, представляющий полую цилиндрическую емкость.

Подача воды в скруббер регулируется вручную с помощью муфтового клапана 15. Регистрация давления и расхода воды на пылеулавливание производится по показаниям манометров 16 и 17 и водосчетчика 18. Для автоматизации подачи воды предусмотрен электромагнитный клапан 19, привод которого блокируется с электродвигателем вентилятора установки, в состав которой входит скруббер.

Для аварийного отключения подачи воды вручную предусмотрен муфтовый клапан 20.

5. Нижняя часть каплеуловителя выполнена в виде конусного днища 21 с гидрозатвором 22, который служит для ликвидации подсосов, значительно снижающих степень очистки скруббера и объем аспирируемого из укрытия технологического оборудования воздуха.

Гидрозатвор представляет собой трубу 1 (см. рис. 2) с клапаном 2, шарнирно установленным на этой трубе, помещенные в корпус 3. Клапан герметично закрывает срез трубы под действием собственного веса и разрежения, создаваемого вентилятором. При наполнении трубы шламом давление его превышает действие сил разрежения и составляющей веса клапана, при этом клапан приоткрывается и осуществляется равномерное самопроизвольное истечение шлама при сохранении в трубе определенного постоянного объема, который и является надежным гидрозатвором скруббера. Для осмотра клапана и шламопровода 4 в корпусе предусмотрена крышка 5.

6. Принцип работы скруббера следующий: аспирационный воздух поступает в трубу Вентури, в горловине которой достигает наивысших скоростей. Капли орошающей воды, разбрызгиваемые форсункой, дробятся воздушным потоком и ускоряются. В конфузоре и горловине трубы Вентури воздух приобретает относительно большую скорость в сравнении с водой, в результате чего имеет место его фильтрация сквозь капли, на которых осуществляется инерционное осаждение пылевых частиц. Этому также способствует безыскровая подзарядка воды под действием электрического поля электрета, каковым является сопло форсунки из фторопласта.

Капли с частицами пыли сепарируют в каплеуловителе за счет тангенциального ввода воздуха, создающего их закручивание, осаждаются на смоченной внутренней поверхности корпуса и смываются подвижной пленкой воды.

Приложение 2

ТЕХНИЧЕСКИЕ ДАННЫЕ СКРУББЕРА

1. Труба Вентури и каплеуловитель

Подача аспирируемого воздуха, тыс. м3

5,0

7,5

10,0

12,5

15,0

17,5

Диаметр, мм:

горловины трубы Вентури

170

210

240

270

290

330

каплеуловителя

600

700

940

1000

1150

1240

Количество сопл, шт.

6

6

10

10

12

12

Объемный расход воды на пылеулавливание, м3

1,89 - 2,64

3,06 - 4,44

3,42 - 6,10

Давление воды, МПа (кгс/см2), поступающей:

в трубу Вентури

0,3 - 0,5 (3 - 5)

каплеуловитель

0,02 - 0,04 (0,2 - 0,4)

Гидравлическое сопротивление, Па

1500 - 2000

Степень очистки, %

97,0 - 99,5

2. Система орошения

2.1. Муфтовые клапаны 15кч18р

Диаметр условного прохода, мм

15

50

Количество, шт.

2

1

Рабочая среда

Вода

Температура рабочей среды, °С

До 50

Пробное давление, МПагс/см2)

1,6 (16)

Рабочее давление, МПа (кгс/см2)

1,0 (10)

Герметичность 3-й класс по ГОСТ

9544-75

2.2. Водосчетчик ВСКМ

Диаметр условного прохода, мм

50

Расход, воды, м3/ч:

минимальный

0,30

эксплуатационный

12,0

номинальный

15,0

максимальный

30,0

Максимальный объем воды, м3:

за 1 сут

450

за 1 мес

8700

Порог чувствительности, м3, не более

0,01

Масса, кг

12,0

2.3. Фильтр для воды А10А017.000

Диаметр условного прохода, мм

50

Рабочая; среда

Вода

Рабочее давление, МПа (кгс/см2)

До 1,0 (до 10)

Пробное давление, МПа (кгс/см2)

1,6 (16)

2.4. Электромагнитный клапан 15кч892п4

Диаметр условного прохода, мм

50

Рабочее давление, МПагс/см2)

0 - 1,6 (0 - 16)

Рабочая жидкость

Напряжение питания, В

380

Ток

Переменный

Потребляемая мощность, Вт:

Техническая вода

основного электромагнита

800

электромагнитной защелки

350

Наработка на отказ, циклов, не менее

8000

Средний ресурс службы, циклов, не менее

10000

Срок службы, лет, не менее

10

Масса, кг, не более

22

3. Гидрозатвор

Подача шлама, м3/ч, не более

10

Диаметр, мм:

корпуса

300

сливной трубы

108

Габаритные размеры, мм

320´710´800

Масса, кг, не более

17

Список использованной литературы

1. НОРМЫ проектирования. Отопление, вентиляция и кондиционирование воздуха. СНиП II-33-75 - М.: Стройиздат, 1976.

2. ПРАВИЛА технической эксплуатации электрических станций и сетей. - М.: Энергия, 1977.

3. ПРАВИЛА техники безопасности при эксплуатации тепломеханического оборудования электростанций и тепловых сетей. - М.: Энергоатомиздат, 1984.

4. ПРАВИЛА взрывопожаробезопасности топливоподач электростанций. - М.: Энергия, 1975.

5. ПРАВИЛА производства и приемки работ. Санитарно-техническое оборудование зданий и сооружений. СНиП III-28-75. - М.: Стройиздат, 1976.

6. ПРАВИЛА производства и приемки монтажных работ. Оборудование очистки газов. СНиП III-10.12-66. - М.: Стройиздат, 1967.

7. ТИПОВАЯ инструкция по эксплуатации топливоподачи тепловых электростанций. - М.: СПО Союзтехэнерго, 1985.

8. ПРАВИЛА эксплуатации установок очистки газа. - М.: ЦИНТИхимнефтемаш, 1984.

9. ТИПОВАЯ инструкция по эксплуатации золоуловителей с трубой Вентури типа МВ. - М.: СПО Союзтехэнерго, 1980.

10. ЗАПОРНАЯ арматура (Вентили). Каталог, ч. 1. М.: ЦИНТИхимнефтемаш, 1981.

СОДЕРЖАНИЕ

1. Введение. 1

2. Общие указания. 2

3. Указания мер безопасности. 2

4. Контрольно-измерительные приборы.. 3

5. Размещение и монтаж.. 3

6. Маркировка. 3

7. Подготовка к работе. 4

8. Порядок работы.. 6

9. Проверка технического состояния скруббера. 7

10. Возможные неисправности и способы их устранения. 8

Приложение 1. Устройство и принцип действия скруббера. 10

Приложение 2. Технические данные скруббера. 12