МИНИСТЕРСТВО ЭНЕРГЕТИКИ И ЭЛЕКТРИФИКАЦИИ СССР
ГЛАВНОЕ ТЕХНИЧЕСКОЕ УПРАВЛЕНИЕ ПО ЭКСПЛУАТАЦИИ ЭНЕРГОСИСТЕМ
ТИПОВАЯ
ИНСТРУКЦИЯ
ПО ПУСКУ ИЗ РАЗЛИЧНЫХ
ТЕПЛОВЫХ СОСТОЯНИЙ
И ОСТАНОВУ ДУБЛЬ-БЛОКА МОЩНОСТЬЮ 300 МВт
С ТУРБИНОЙ К-300-240 ЛМЗ
ПО МОНОБЛОЧНОЙ СХЕМЕ

СОЮЗТЕХЭНЕРГО
МОСКВА 1980
Типовая инструкция составлена ПО «Союзтехэнерго» и Всесоюзным дважды ордена Трудового Красного Знамени теплотехническим научно-исследовательским институтом им. Ф.Э. Дзержинского. Составители инженеры В.Г. Зайцев, В.М. Кременчугский, В.В. Уютов - Союзтехэнерго; канд. техн. наук Е.Р. Плоткин, инж. Ю.А. Радин - ВТИ.
В основу Типовой инструкции положены результаты экспериментальных и исследовательских работ, выполненных Союзтехэнерго и ВТИ на блоках 300 МВт, и технологические принципы организации режимов пуска и останова, согласованные с заводами для моноблоков 300 МВт.
Типовая инструкция рассмотрена и согласована рабочей группой, в состав которой помимо авторов входили инженеры А.П. Берсенев, Е.Е. Говердовский, Б.Я. Директор, В.С. Поляков (Союзтехэнерго); канд. техн. наук Б.И. Шмуклер (ВТИ).
СОДЕРЖАНИЕ
|
Утверждаю: Главный инженер Главтехуправления В.И. ГОРИН 3 января 1980 г. |
1.1. Настоящая Типовая инструкция разработана для дубль-блоков 300 МВт с турбинами К-300-240 ЛМЗ, прямоточными котлами и типовой пусковой схемой1, обязательными элементами которой являются шиберные клапаны Др-4 на отводе пара из встроенных сепараторов (Др-4), растопочный расширитель Р-20, байпасы промежуточного пароперегревателя, пусковые впрыски в главные паропроводы с системой регулируемого давления воды.
Типовая инструкция ориентирована на принятую технологию пуска моноблоков 300 МВт с турбинами К-300-240 ЛМЗ2 при параллельной растопке корпусов котла.
Типовая инструкция может быть использована для дубль-блоков как при полной модернизации типовой пусковой схемы с переходом на схему моноблока, исключающей однокорпусный режим работы блока, так и при ее частичной модернизации (рис. 1, 2).
Решение об упрощении типовой пусковой схемы дубль-блоков в соответствии с приложением 1 принимается по представлению электростанций, районным энергетическим управлением (производственным энергетическим объединением).
Обязательным условием для перехода на моноблочную пусковую схему (см. рис. 1) является одновременное с упрощением пусковой схемы, внесение изменений в условия технологических защит дубль-блока в соответствии с приложением 2.
1 Типовая пусковая схема дубль-блоков мощностью 300 МВт. М.: СЦНТИ ОРГРЭС, 1969.
2 Типовая инструкция по пуску из различных тепловых состояний и останову моноблока мощностью 300 МВт с турбиной К-300-240 ЛМЗ. М.: СПО ОРГРЭС, 1975.
1.2. Типовая инструкция ориентирована на ограниченное число пусков и остановов блоков, при котором регулирование нагрузки энергосистем преимущественно осуществляется путем изменения нагрузки блоков в регулировочном диапазоне. Допускается 15 - 20 плановых остановов каждого блока в год на выходные дни. Остановы блока на ночь могут производиться только в случаях, когда глубина провала нагрузки не позволяет ограничиться разгрузкой блоков.
1.3. Указания Типовой инструкции и графики-задания ориентированы на проведение пусков и остановов блока обычным составом оперативной вахты без привлечения дополнительного персонала.
Рекомендации по смещению во времени однотипных технологических операций на корпусах котла при их параллельной растопке и действиям в случае рассогласования текущего теплового состояния корпусов котла в процессе пуска блока приведены в основном тексте настоящей Типовой инструкции и в приложении 3.
На основе Типовой инструкции должны быть разработаны местные инструкции и графики-задания пусков и остановов с учетом особенностей оборудования, вида сжигаемого топлива и характеристик естественного остывания основных элементов блока. В рабочих графиках-заданиях должны быть дополнительно указаны параметры, характеризующие расход топлива в процессе пуска (число включенных форсунок, горелок, молотковых мельниц, температура газов в поворотной камере).
При составлении местных инструкций принципиальные положения Типовой инструкции разрешается изменять только на основании соответствующих экспериментальных данных после согласования с Союзтехэнерго.
1.4. Типовая инструкция составлена применительно к условиям эксплуатации блока с использованием в полном объеме КИП, автоматики и защит, предусмотренных соответствующими руководящими указаниями и технологическими условиями.
Растопочный расход воды в котел при пуске и останове должен контролироваться по растопочным расходомерам с датчиками, рассчитанными на пониженный перепад давлений.
Разбивка защит по группам и порядок их включения при пуске блока приведены в приложениях 4, 5.
В приложении 6 указан порядок включения основных и пусковых регуляторов при пуске блока.
В состав пусковых регуляторов, без которых пуск дубль-блока по моноблочной схеме запрещается, должны быть включены:
- регуляторы пусковых впрысков;
- регулятор давления воды в системе впрысков;
- регуляторы давления среды перед встроенными задвижками котла;
- регуляторы сброса среды из встроенных сепараторов;
- регуляторы (стабилизаторы) растопочного расхода воды.
1.5. В Типовой инструкции указаны последовательность и условия проведения основных технологических операций при пуске и останове блока и приведены графики-задания пуска и останова.
Основные технологические принципы организации режимов пуска и останова блока изложены в приложении 3. Инструктивные указания и графики-задания пуска разработаны для блоков, имеющих систему обогрева фланцевого соединения корпусов ЦВД и ЦСД, модернизированную в соответствии с рекомендациями ЛМЗ-ВТИ. Краткая характеристика режимов пуска блока из различных тепловых состояний приведена в приложении 7.
В приложении 8 приведен перечень обозначений операций и параметров, принятых в графиках-заданиях.
1.6. Режимы пуска и останова блока и графики-задания разработаны исходя из соблюдения критериев надежности, заданных заводами-изготовителями.
1.6.1. Применительно к заданной в Типовой инструкции технологии пуска блока необходимо руководствоваться следующими изменениями и дополнениями инструкции ЛМЗ для турбин К-300-240.
Разность температур должна составов пять, °С:
- по ширине фланцев ЦВД и ЦСД.................................................................... 50 ÷ +80
- фланца и шпильки ЦВД и ЦСД (температура фланца измеряется
вблизи внутренней поверхности, а температура шпильки - посредине
высоты верхнего фланца)................................................................................... 20 ÷ +60
Допустимая скорость прогрева стопорного клапана, °С/мин:
- для этапов предварительного прогрева, повышения частоты
вращения ротора и включения в сеть............................................................... 4
- для этапа нагружения:
при t0 ≤ 450 °С........................................................................................ 3
при t0 > 450 °С........................................................................................ 2
Допустимая скорость прогрева перепускных труб высокого давления, °С/мин:
- для пусков из горячего состояния......................................................... не более 30
- для пусков после простоя 18 ч и более................................................. не более 20
1.6.2. Показатели надежности при пуске и останове оборудования должны тщательно контролироваться в соответствии с указаниями местных инструкций по эксплуатации основного и вспомогательного оборудования. Отклонения параметров от рекомендуемых графиков-заданий допускаются не более ±20 °С по температуре свежего пара и пара промперегрева и ±0,5 МПа (±5 кгс/см2) по давлению свежего пара.
1.6.3. При нагружении блока ток статора генератора не должен возрастать быстрее активной нагрузки.
1.7. Программы и графики-задания пуска блока в зависимости от исходного теплового состояния разработаны в двух модификациях: с ограниченным предварительным прогревом паропроводов горячего промперегрева и без предварительного прогрева этих паропроводов.
- температура металла концевых участков паропроводов перед ЦСД турбины (контрольных точек по нижней образующей в начале и конце горизонтального участка перед подъемом к ЦСД) - не менее 100 °С;
- разница температуры металла верха паровпуска ЦСД турбины и основной трассы паропроводов - не более 80 °С.
Тепловое состояние основной трассы каждого паропровода должно контролироваться измерениями температуры:
- перед последним по ходу пара гибом паропровода в горизонтальной плоскости (по нижней образующей);
- в средней части вертикального участка паропровода.
1.7.2. Для тепловых состояний оборудования, при которых требуется предварительный прогрев системы промперегрева, Типовая инструкция ориентирована на применение технологии совмещенного прогрева с подводом пара через ЦВД турбины при обеспаренных ЦСД и ЦНД.
При сохранении на блоке соответствующих элементов типовой пусковой схемы (байпасов ГПЗ-2, задвижек ППХ и подвода пара в систему промперегрева от Р-20) разрешается применение технологии раздельного прогрева паровпускных деталей ЦВД и паропроводов горячего промперегрева с ее использованием в соответствии с местной инструкцией.
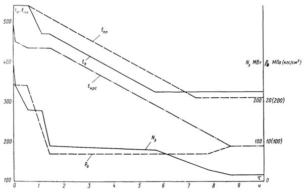
1.8. В графиках-заданиях пуска блока указаны диапазоны начальных температур металла ЦВД и ЦСД турбины в зоне паровпусков, в пределах которого должен реализовываться заданный график нагружения, и сетка кривых изменения температуры свежего пара (за пусковым впрыском) и пара промперегрева (перед ЦСД турбины).
Температуру свежего пара и пара промперегрева следует выдерживать в соответствии с кривыми, отвечающими фактической начальной температуре металла верха паровпуска ЦВД И ЦСД.
При промежуточном тепловом состоянии турбины, не предусмотренном в графиках-заданиях, пуск блока производится по графику-заданию для ближайшего температурного состояния ЦСД турбины.
Если начальные температуры ЦВД и ЦСД турбины в зоне паровпуска отвечают двум смежным графикам-заданиям, пуск блока может производиться по любому из них.
1.9. При задержках нагружения турбины следует:
- в период нагружения на скользящем давлении (до Nэ 240 МВт) температуру свежего пара и пара промперегрева повышать в заданном темпе до номинального значения. Дальнейшее нагружение турбины может быть ускорено (до нагрузки, соответствующей температурам пара, но не выше 240 МВт). При этом должны соблюдаться критерии надежности оборудования, указанные в инструкциях заводов-изготовителей;
- в период нагружения блока после достижения номинального давления температура свежего пара должна быть не менее 520 °С и должна поддерживаться постоянной. Температуру пара промперегрева повышать в заданном темпе до номинального значения. Темп нагружения турбины должен соответствовать графику-заданию.
1.10. Для обеспечения надежности пуска блока из горячего резерва на прямоточном режиме необходимо строгое соблюдение не только последовательности, но и времени выполнения отдельных технологических операций.
Для обеспечения оптимальных условий пуска следует:
- выполнить прямую сигнальную связь между блочным щитом управления (БЩУ) и фронтом котла для четкой синхронизации подачи воды и топлива в котел;
- задействовать устройства автоматического запала форсунок (горелок) котла;
- четко разграничить в местных инструкциях (сетевых графиках) пусковые операции между работниками оперативной вахты.
1.11. Основным показателем, характеризующим паропроизводительность котла, необходимую для обеспечения графика-задания пуска блока до перехода на прямоточный режим, является температура среды перед встроенной задвижкой. Начальный расход топлива и график его изменения на сепараторной фазе пуска приняты в графиках-заданиях при условии включения ПВД с учетом динамических свойств котла и требуемой по режиму пуска температуры свежего пара перед толчком турбины и температуры пара промперегрева после взятия начальной нагрузки.
Начальный расход топлива и температура газов в поворотной камере при пуске из горячего состояния уточняются для каждого типа котла по условиям обеспечения надежности температурного режима отключенного пароперегревателя.
1.12. Пуск блока запрещается:
1.12.1. При неисправностях и условиях, оговоренных для основного и вспомогательного оборудования в ПТЭ и заводских инструкциях.
1.12.2. При неисправности любой из защит, действующих на останов оборудования блока.
1.12.4. При неготовности к включению блочной обессоливающей установки (БОУ).
1.12.5. При неплотностях в пароводяном тракте блока.
1.12.6. При повреждении опор и пружинных подвесок паропроводов.
Примечание. При неплотностях во фланцевых соединениях, сальниковых уплотнениях арматуры, неисправности отдельных регуляторов, блокировок, а также защит и дистанционного управления, кроме указанных в пп. 1.12.2 и 1.12.3, пуск блока допускается только с разрешения главного инженера электростанции. С учетом требований инструкций заводов-изготовителей оборудования главным инженером электростанции может быть разрешен пуск блока при неисправности отдельных приборов.
1.13. Пуск блока из горячего резерва на прямоточном режиме разрешается:
1.13.1. Если по результатам испытаний головного образца котла в этом режиме обеспечивается надежность поверхностей нагрева.
1.13.2. Если длительность простоя не превысила 30 мин при сохранившемся состоянии горячего резерва (сверхкритическое давление среды в пароводяном тракте котла и температура газов в поворотной камере не менее 400 °С).
1.14. Загрязнения выводятся из цикла при растопках котла на сепараторном режиме путем сброса воды из Р-20 в циркуляционный водовод или в бак грязного конденсата (БГК).
1.14.1. При пуске блока после простоя более трех суток должно предусматриваться время для отмывки пароводяного тракта до встроенной задвижки (ВЗ). При менее продолжительном простое специальное время для отмывки не предусматривается; загрязнения из пароводяного тракта блока выводятся за время, предусмотренное графиком-заданием на сепараторную фазу пуска.
1.14.2. При пуске блока после простоя более трех суток пароводяной тракт котла до ВЗ отмывается при огневом подогреве и температуре среды перед ВЗ, равной 180 - 220 °С.
Отмывка пароводяного тракта заканчивается при снижении в питательной воде на входе в котел содержания соединений железа и кремниевой кислоты до 100 мкг/кг, меди - до 20 мкг/кг и жесткости - до 3 мкг-экв/кг.
1.14.3. Переключение сброса воды на БОУ производится при уменьшении содержания соединений железа (в пересчете на Fe) и кремниевой кислоты (в пересчете на SiO3) в сбросной воде до 300 мкг/кг.
1.14.4. Время проведения операции по подключению пароперегревателя котла при пусках после простоя любой продолжительности определяется только технологическими условиями и не ограничивается показателями водного режима.
1.15. Отмывка тракта котла за ВЗ производится после капитального ремонта, а также после ремонтных или реконструктивных работ, связанных с массовой заменой труб в поверхностях нагрева за ВЗ. Отмывка производится на неработающем блоке.
1.16. Отмывка тракта котла до ВЗ при останове или в период простоя блока производится в случае, если предшествующая непрерывная работа котла составляла более 1500 ч или в период работы имели место резкие нарушения норм ПТЭ по качеству питательной воды. Отмывка в этом случае проводится без огневого подогрева при температуре питательной воды 100 - 120 °С*.
* Более подробные указания по проведению отмывок пароводяного тракта блока приведены в «Типовой инструкции по водным отмывкам пароводяного тракта блока 300 МВт». (М.: СЦНТИ ОРГРЭС, 1972).
2.1.1. Перед пуском блока осмотреть все вспомогательное и основное оборудование и подготовить его к пуску в соответствии с инструкциями по эксплуатации. При этом необходимо убедиться:
- в окончании всех работ на оборудовании; снятии перемычек и заземлений; в завершении уборки оборудования, лестниц и площадок;
- в исправном состоянии телефонной связи, рабочего и аварийного освещения на рабочих местах, блочного щита управления и местных щитов;
- в наличии противопожарного инвентаря по всем постам.
2.1.2. В оперативном журнале начальника смены ответственным лицом должна быть сделана запись о завершении всех работ, закрытии нарядов и о времени начала пусковых операций на блоке.
2.1.3. Предупредить о предстоящем пуске блока:
- начальника смены электроцеха - для подготовки к сборке схем электродвигателей вспомогательного оборудования и арматуры;
- начальника смены химического цеха - для подготовки к анализам воды, пара, конденсата, газа, к контролю за заполнением корпуса генератора водородом, к включению БОУ и увеличению расхода обессоленной воды;
- начальника смены цеха тепловой автоматики и измерений - для подготовки и включения контрольно-измерительных приборов, авторегуляторов, защит, блокировок и технологической сигнализации;
- начальника смены топливно-транспортного цеха - для подготовки к бесперебойному обеспечению топливом.
2.1.4. Проверить:
- наличие запаса обессоленной воды в баках и ее качество;
- давление газа в станционных газопроводах;
- наличие запаса мазута в баках, его подогрев и готовность оборудования мазутного хозяйства к подаче мазута в котельную;
- наличие запаса топлива в бункерах сырого угля;
- наличие запального газа для розжига мазутных форсунок, а также работу защитно-запальных устройств (ЗЗУ);
- наличие комплектов тарированных рабочих и резервных мазутных форсунок;
- схему соединений и надежность питания собственных нужд блока, состояние изоляции обмотки статора и цепей возбуждения генератора. Опробовать дистанционное управление выключателем блока и автоматом гашения поля (АГП).
2.1.5. Проверить готовность действующего оборудования электростанции к обеспечению блока паром от стороннего источника.
2.1.6. Собрать электрические схемы электродвигателей дистанционного управления арматурой и шиберами. Подать напряжение на контрольно-измерительные приборы, устройства защит, блокировок, автоматики и сигнализации.
2.1.7. Включить все контрольно-измерительные приборы и отметить время включения регистрирующих приборов на диаграммах. Опробовать дистанционное управление оперативной арматурой и шиберами с контролем сигнализации их положений.
2.1.8. Собрать схему и опробовать в испытательном положении дистанционное управление приводами выключателей трансформатора собственных нужд и электродвигателей 6 кВ.
2.1.9. Подготовить схемы и опробовать насосы систем смазки турбоагрегата, уплотнения вала и охлаждения статора генератора, проверить их блокировки и оставить в работе по одному насосу с электродвигателями переменного тока.
Включить в работу регуляторы давления масла и системы уплотнений генератора. Начать операции по заполнению системы охлаждения генератора.
2.1.10. Собрать рабочую схему системы огнестойкой жидкости, поочередно опробовать насосы системы регулирования и их блокировки, после чего оставить в работе один насос с электродвигателем переменного тока. Проверить работу узлов парораспределения и регулирования турбины.
2.1.11. Проверить технологические защиты, блокировки и сигнализацию в соответствии с местной инструкцией по эксплуатации автоматики и защит блока. В оперативном журнале записать результаты проверки.
Отключить защиты, препятствующие пуску блока (см. приложение 4).
2.1.12. Собрать рабочие электрические схемы всех электродвигателей собственных нужд блока.
2.1.13. Подготовить к синхронизации силовую и вторичные схемы генератора (блока генератор-трансформатор):
а) систему охлаждения генератора;
б) систему возбуждения;
в) систему охлаждения трансформаторов;
г) схему открытого распределительного устройства (ОРУ).
Примечание. Операции по п. б проводятся после проведения операций по п. а. Операции по пп. в и г проводятся параллельно с операциями по пп. а и б.
2.1.14. Поставить под давление коллектор собственных нужд блока, для чего:
- убедиться в том, что задвижки на трубопроводах подачи пара из коллектора собственных нужд блока к уплотнениям турбины, мазутным форсункам, деаэратору и другим потребителям закрыты;
- проверить отключение деаэратора по пару от уплотнений и отборов турбины, а также от расширителя Р-20;
- открыть дренажи на подключаемых трубопроводах, прогреть их паром от общестанционной магистрали и поставить под давление.
2.1.15. Собрать схемы газовоздушного тракта котла, подачи природного газа, паромазутопроводов, технического водоснабжения, пожаротушения и очистки регенеративных воздухоподогревателей (РВП) в соответствии с местными инструкциями.
2.1.16. Подготовить к включению тягодутьевое оборудование котла, системы пылеприготовления, электрофильтры, системы механизированного шлакоудаления и гидрозолоудаления, установку дробеструйной очистки, паровую обдувку и калориферную установку котла в соответствии со специальными инструкциями.
2.1.17. В соответствии с указаниями инструкции по пуску и обслуживанию турбоагрегата и специальных инструкций произвести следующие операции:
а) собрать схему циркуляционного водоснабжения турбины и технического водоснабжения вспомогательных механизмов;
б) включить циркуляционные насосы, проверить разрежение в сливных циркуляционных водоводах и отрегулировать расход охлаждающей воды.
Подготовить к пуску и опробовать насосы системы газоохлаждения генератора, проверить их блокировки и остановить в резерв;
в) включить систему регенерации низкого давления по основному конденсату, пару, воздуху и конденсату греющего пара с каскадным отводом дренажа всех подогревателей в конденсатор турбины и включить регуляторы уровня в ПНД;
г) закрыть задвижки на отборах турбины к редукционной установке РУ 4,0/1,3 МПа (40/13 кгс/см2), калориферах котла, бойлерам и другим потребителям пара;
д) собрать схему подпитки блока обессоленной водой в конденсатор и заполнить его на 3/4 по водоуказательному стеклу.
Включить в работу по одному КЭН-I и КЭН-II с подачей воды через БОУ и рециркуляцией после КЭН-II в конденсатор. Поочередно опробовать работу конденсатных насосов, их блокировки и оставить в работе по одному насосу;
е) собрать систему регенерации высокого давления по пару, воздуху, конденсату греющего пара с каскадным отводом дренажа в ПНД, включить регуляторы уровня и защиты ПВД. Подготовить ПВД к заполнению водой, для чего открыть задвижки на питательных трубопроводах до и после них и арматуру на байпасе впускного клапана и закрыть задвижку на обводе ПВД.
Примечание. При наличии дополнительных трубопроводов для промывки парового пространства ПВД собрать схему слива воды в конденсатор;
ж) включить регулятор уровня в конденсаторе и заполнить обессоленной водой деаэратор, бустерные насосы (БН) и питательные насосы. При этом задвижки на линиях напора и отбора из промежуточной ступени питательного электро- и турбонасоса (ПЭН и ПТН) должны быть закрыты, а на линиях рециркуляции всех насосов - открыты.
В процессе заполнения питательных насосов подать конденсат на их уплотнения со сливом в конденсатор турбины и включить регулятор давления1.
1 При отсутствии в схеме сливной линии на конденсатор собрать схему слива сразу на деаэратор.
После достижения нормального уровня воды в деаэраторе включить регулятор уровня.
Поочередно опробовать работу БН, их блокировки и оставить в работе один насос;
з) подать пар из коллектора собственных нужд блока в деаэратор, поднять давление в нем до 0,02 - 0,05 МПа (0,2 - 0,5 кгс/см2) и включить регулятор давления. Нагреть воду в деаэраторе до температуры насыщения (104 - 110 °С);
и) открыть дренажи первых и вторых перепускных труб, цилиндров и отборов турбинной установки;
к) вращая маховик механизма управления против часовой стрелки, открыть стопорные клапаны высокого и среднего давления, не допуская при этом открытия регулирующих клапанов турбины. Механизм расхаживания быстровключающихся клапанов (БВК) вывести в сторону «Открыть» до упора. С помощью механизмов расхаживания закрыть стопорные клапаны среднего давления.
2.1.18. Собрать схему для заполнения обоих корпусов котла водой и прокачки воды по контуру деаэратор - тракт котла до ВЗ - встроенные сепараторы (ВС) - Р-20 - циркуляционные водоводы.
При этом выполнить следующие операции:
ОТКРЫТЬ:
- задвижки БЗ-1;
- арматуру на трубопроводе сброса воды из коллектора впрысков в деаэратор (СЗ ВПР и РКС-4);
- регулирующие питательные клапаны котла (РПК);
- арматуру на трубопроводах перед ВС (Др-1);
- арматуру на трубопроводах сброса среды из ВС (Др-2, Др-3, СЗ-1 и СЗ-2);
- арматуру на трубопроводе сброса воды из Р-20 в циркуляционный канал (РКС-1 и СЗ-4);
- арматуру на воздушниках питательных трубопроводов и тракта котла до ВЗ;
- арматуру на импульсных линиях контрольно-измерительных приборов, автоматики и защит;
- арматуру на линиях отбора проб пара и воды в местах отборов.
ЗАКРЫТЬ:
- арматуру на линии заполнения котла (РКЗ, КЗ-1 и КЗ-II);
- арматуру на трубопроводе подвода воды в коллектор впрысков (СЗ-16);
- арматуру на трубопроводах всех впрысков (задвижки и клапаны);
- встроенные задвижки (ВЗ);
- регулирующие клапаны на трубопроводах отвода пара из ВС (Др-4);
- арматуру на линиях продувки впрысков обратным ходом;
- арматуру на байпасах задвижек СЗ-1;
- арматуру на дренажах питательных трубопроводов и тракта котла до и после ВЗ;
- арматуру на воздушниках тракта после ВЗ и промежуточного пароперегревателя котла;
- арматуру на трубопроводе сброса воды из Р-20 в конденсатор и в БЗК (СЗ-13 и СЗ-3);
- арматуру на трубопроводе отвода пара из Р-20 в конденсатор (РКС-2 и СЗ-5);
- арматуру на дренажах и продувках импульсных линий контрольно-измерительных приборов, автоматики и защит;
- арматуру на линиях отбора проб пара и воды у холодильников.
Примечания:
1. Если перед сборкой схемы пароперегреватель был заполнен водой, ее необходимо сдренировать.
2. Если котел был заполнен консервирующим раствором, вытеснение раствора проводить в соответствии с инструкцией по консервации.
3. При открытии клапанов Др-2 и закрытии Др-4 проверить соответствие хода клапанов указателям положения (УП).
4. На блоках с полной типовой пусковой схемой (рис. 2) необходимо дополнительно открыть (закрыть) арматуру, не упомянутую в указаниях, на линиях, перечисленных в соответствующих подразделах п. 2.1.18.
Открыть: БЗ-2, СЗ-17, СЗ-18, СЗ-20, СЗ-21;
Закрыть: СЗ-18 и вентиль на байпасе СЗ-19.
2.1.19. Подготовить схему паропроводов блока к растопке:
ОТКРЫТЬ:
- главные паровые задвижки (ГПЗ);
- пускосбросные устройства (ПСБУ);
- задвижки на линиях подвода воды к пароохладителям ПСБУ;
- арматуру на дренажах паропроводов свежего пара перед ГПЗ;
- арматуру на дренажах паропроводов промперегрева;
- задвижки на сбросных трубопроводах из горячих паропроводов промперегрева (СЗ-12);
- арматуру на импульсных линиях контрольно-измерительных приборов, автоматики и защит;
- арматуру на линиях отбора проб пара в местах отборов.
ЗАКРЫТЬ:
- арматуру на байпасах ГПЗ;
- регулирующие клапаны на линиях подвода воды к пароохладителям ПСБУ;
- арматуру на линиях подвода воды к впрыскам в сбросные трубопроводы из горячих паропроводов промперегрева;
- арматуру на паровых байпасах промежуточного пароперегревателя (ППБ);
- арматуру на дренажах и продувках импульсных линий контрольно-измерительных приборов, автоматики и защит;
- вентили на линиях отбора проб пара у холодильников.
Примечание. На блоках с полной типовой пусковой схемой (см. рис. 2) дополнительно к указаниям п. 2.1.19 необходимо: открыть ГПЗ-1, ППХ, ППР, ППГ-1 и ППГ-2; закрыть СЗ-10, СЗ-11, байпасы задвижек ППХ, СЗ-6, РКС-3, СЗ-8, СЗ-9.
2.1.20. Включить в работу валоповоротное устройство (ВПУ) турбины, основные водоструйные эжекторы и начать набор вакуума. Подать пар из коллектора собственных нужд на уплотнения турбины и включить регулятор давления. Включить эжектор отсоса из охладителя уплотнений и отрегулировать работу системы уплотнений. Установить вакуум в конденсаторе 660 гПа (около 500 мм рт. ст.).
2.1.21. После окончания предпусковой деаэрации при содержании кислорода в питательной воде не более 10 мкг/кг приступить к заполнению котла водой, для чего:
а) открыть задвижку на линии напора ПЭН и закрыть задвижку на рециркуляции БН;
б) с момента подачи воды в котел контролировать уровни в баках запаса конденсата (БЗК), конденсаторе, деаэраторе и режим деаэрации. По мере заполнения ПВД и котла водой закрывать воздушники;
в) после заполнения котла водой от БН прикрыть все РПК и клапаны ДР-1 до 10 - 15 % по УП, установить гидромуфту в положение максимального скольжения и включить ПЭН с открытой рециркуляцией.
2.1.22. Клапанами ДР-1 поднять давление воды перед ВЗ до 25 МПа (250 кгс/см2) и включить регуляторы давления перед ВЗ.
2.1.23. После повышения давления в тракте котла до ВЗ и открытия впускного клапана ПВД опробовать защиту ПВД по первому пределу (с контролем закрытия впускного клапана), после чего восстановить схему включения ПВД по пару и питательной воде. Закрыть арматуру на байпасе впускного клапана ПВД.
2.1.24. Произвести прокачку воды по потокам котла в соответствии с указаниями местной инструкции по обслуживанию котла. При необходимости прокачки воды с расходом, превышающим 300 т/ч, во избежание срыва деаэрации питательной воды, прокачку производить раздельно по потокам.
2.1.25. После окончания прокачки установить растопочный расход воды по 65 т/ч на поток и включить растопочные регуляторы питания.
Примечание. Видимому значению расхода воды 65 т/ч при температуре 100 - 150 °С соответствует действительный расход питательной воды 75 т/ч.
2.1.26. Включить дымососы, дутьевые вентиляторы, РВП и другое вспомогательное оборудование в соответствии с указаниями местной инструкции по эксплуатации котла.
2.1.27. Провентилировать газовоздушный тракт котла. При растопке на мазуте повысить температуру воздуха перед воздухоподогревателями котла не менее чем до 70 °С.
2.1.28. При растопке на газе заполнить газом и продуть газопроводы котла.
2.1.29. При растопке на мазуте поставить под давление и прогреть мазутопроводы котла; установить растопочное давление и необходимую температуру мазута перед форсунками.
2.2.1. При вакууме в конденсаторе 660 гПа (около 500 мм рт. ст.), устойчивом поддержании растопочного расхода воды в котел и давления перед ВЗ около 25 МПа (250 кгс/см2) включить форсунки (горелки). Установить расход топлива на уровне 6 - 7 % номинального исходя из повышения температуры среды перед ВЗ до 180 - 220 °С, необходимой для проведения горячей отмывки.
2.2.2. После розжига одной - двух форсунок (горелок) каждого из корпусов котла открыть клапаны Др-4 в один прием. Включить впрыск в пароприемное устройство конденсатора.
2.2.3. При повышении давления среды в Р-20 до 0,2 - 0,3 МПа (2 - 3 кгс/см2) открыть задвижку СЗ-5 на сбросе пара в конденсатор и включить регулятор РКС-2 с уставкой 1,6 - 1,8 МПа (16 - 18 кгс/см2); установить уровень воды в Р-20 и включить регулятор уровня.
2.2.4. По указанию начальника смены химического цеха перевести сброс воды из Р-20 в конденсатор, для чего открыть задвижку СЗ-13 и закрыть СЗ-4.
2.2.5. После окончания водной отмывки увеличить расход топлива до 14 - 15 % номинального исходя из повышения температуры среды перед ВЗ примерно до 300 °С.
2.2.6. При повышении температуры пара в сбросном трубопроводе после ПСБУ до 180 - 200 °С ввести в работу впрыск.
2.2.7. При температуре свежего пара за пусковым впрыском около 280 °С включить в работу пусковой впрыск и его регулятор для поддержания указанной температуры. Включить регулятор давления воды в системе впрысков.
2.2.8. При достижении температуры среды перед ВЗ 260 - 270 °С перевести деаэратор на питание паром из Р-20, для чего открыть задвижку СЗ-7, закрыть задвижку II-0 от коллектора 1,3 МПа (13 кгс/см2), отключить воздействие регулятора и полностью открыть клапан греющего пара деаэратора, закрыть задвижку СЗ-3 и проверить закрытие регулятором клапана РКС-2.
2.2.9. При температуре среды перед ВЗ около 270 °С начать прикрытие клапанов Др-2, включив их регуляторы.
Примечание. При отсутствии регуляторов прикрытие клапанов Др-2 производить по мере роста температуры среды перед ВЗ в соответствии с указаниями местной инструкции по эксплуатации котла.
2.2.10. При повышении температуры пара в стопорных клапанах высокого давления до 250 - 260 °С начать прогрев паропроводов промперегрева, для чего открытием регулирующих клапанов турбины произвести толчок ротора и в течение 10 мин повысить частоту его вращения примерно до 800 об/мин.
2..2.11. При повышении температуры пара в сбросных трубопроводах из горячих паропроводов промперегрева до 180 - 200 °С ввести в работу впрыски.
2.2.12. В зависимости от теплового состояния ЦСД выполнить следующие операции:
а) при температуре металла верха ЦСД в зоне паровпуска выше 100 °С:
- после повышения частоты вращения ротора турбины примерно до 800 об/мин увеличить расход топлива до 21 - 22 % номинального исходя из повышения температуры среды перед ВЗ примерно до 370 °С;
- после повышения температуры металла участков горячих паропроводов промперегрева перед ЦСД турбины не менее чем до 100 °С начать повышение вакуума в конденсаторе до номинального;
- подать пар в ЦСД турбины, для чего открыть стопорные клапаны среднего давления и с помощью механизмов расхаживания закрыть сбросные клапаны (БВК); отключить впрыски в сбросные трубопроводы промперегрева;
б) при температуре металла верха ЦСД турбины в зоне паровпуска, равной или меньшей 100 °С:
- после повышения температуры металла участков паропроводов перед ЦСД турбины не менее чем до 100 °С подать пар в ЦСД, для чего открыть стопорные клапаны среднего давления и с помощью механизмов расхаживания закрыть БВК; отключить впрыски в сбросные трубопроводы промперегрева;
- выдержать режим работы турбины с частотой вращения ротора около 800 об/мин в течение 90 мин для прогрева ротора среднего давления;
- за 25 - 30 мин до окончания указанной выдержки увеличить расход топлива до 21 - 22 % номинального; за 10 мин до окончания выдержки начать повышение вакуума в конденсаторе до номинального.
2.2.13. Подать пар на обогрев фланцевого соединения корпуса ЦВД турбины и при достижении вакуума в конденсаторе не менее 300 гПа (около 600 мм рт. ст.) начать повышение частоты вращения ротора до 3000 об/мин с помощью регулирующих клапанов турбины при полностью открытых клапанах ПСБУ.
При частоте вращения ротора 3000 об/мин вакуум в конденсаторе должен быть не менее 860 гПа (около 650 мм рт. ст.).
2.2.14. При достижении в стопорных клапанах среднего давления температуры пара 270 °С включить в работу паровые байпасы промежуточного пароперегревателя и поддерживать температуру в соответствии с графиком-заданием.
2.2.15. При частоте вращения ротора турбины 3000 об/мин:
- проверить (при необходимости) автомат безопасности турбины;
- возбудить генератор и проверить оборудование под рабочим напряжением;
- синхронизировать и включить генератор в сеть, открыть полностью четыре регулирующих клапана турбины, закрыть клапаны ПСБУ и их впрыски, отключить впрыск в пароприемное устройство конденсатора. Взять нагрузку не менее 20 МВт; загрузить генератор реактивной нагрузкой 10 - 20 Мвар;
- закрыть дренажи паропроводов свежего пара и пара промперегрева, перепускных труб турбины.
2.2.16. Сразу после включения генератора в сеть подать пар на обогрев фланцевого соединения корпуса ЦСД турбины.
2.2.17. По окончании выдержки на начальной нагрузке закрыть дренажи турбины, приступить к дальнейшему увеличению расхода топлива для перевода котла на прямоточный режим и нагружения блока до 90 - 100 МВт в соответствии с графиком-заданием.
2.2.18. При нагрузке 30 - 40 МВт перевести электрические собственные нужды блока на рабочее питание и включить АВР питания секций 6 кВ.
2.2.19. При достижении температуры пара промперегрева за котлом 520 - 540 °С (для котлов ТКЗ) ввести аварийные впрыски и снизить температуру пара за ними на 40 - 50 °С. Управление температурой пара перед ЦСД турбины в соответствии с графиком-заданием при дальнейшем нагружении блока вести с помощью паровых байпасов вплоть до номинальной нагрузки.
Примечание. Для котлов З и О применение указаний п. 2.2.19 разрешается только после согласования с заводом результатов их опытной проверки. При отсутствии разрешения отключение паровых байпасов производить при нагрузке блока 90 - 100 МВт и параллельно с этим включить аварийные впрыски. При проведении этих операций нагрузку блока поддерживать постоянной. Внести соответствующие изменения в графики-задания.
2.2.20. При нагрузке 70 - 80 МВт перевести деаэратор на питание паром IV отбора турбины, отключив его от Р-20. При этом открыть задвижки II-IV и СЗ-5, закрыть задвижку СЗ-7.
2.2.21. Перевести слив из уплотнений ПЭН с конденсатора на деаэратор.
2.2.22. После повышения температуры среды перед ВЗ до 410 °С перевести котел на прямоточный режим, для чего проверить закрытие клапанов Др-2, плавно закрыть клапаны Др-3 и задвижки СЗ-1 и СЗ-2. Параллельно во избежание срыва вакуума в конденсаторе закрыть задвижки СЗ-5 и СЗ-13 и проверить закрытие регулятором клапанов РКС-1 и РКС-2. Снять напряжение с приводом задвижек СЗ-1, СЗ-2 и клапанов Др-2.
2.2.23. Продолжить нагружение блока до 180 МВт в соответствии с графиком-заданием путем увеличения нагрузки котла и перевода его на основное топливо.
Примечание. При работе на твердом топливе с выходом летучих более 15 % переход на его сжигание допускается при тепловой нагрузке топки менее 30 % номинальной (уточняется местной инструкцией).
2.2.24. При нагрузке 100 - 110 МВт приступить к прогреву турбопривода питательного насоса от III отбора турбины при частоте вращения ротора 1000 об/мин.
2.2.25. При нагрузке 140 - 150 МВт дополнительно включить в работу по одному насосу КЭН-I и КЭН-II.
2.2.26. При нагрузке около 180 МВт выполнить следующие операции:
- включить второй БН;
- перейти с ПЭН на ПТН;
- отключить защиту по снижению давления перед ВЗ;
- отключить воздействие регуляторов на клапаны Др-1, полностью открыть эти клапаны;
- приоткрыть ВЗ и после выдержки около 5 мин полностью открыть их;
- снять напряжение с приводов ВЗ, клапанов Др-1 и Др-4;
- установить переключатель блокировки ПЭН в положение АВР.
2.2.27. При давлении свежего пара перед турбиной 23 - 24 МПа (230 - 240 кгс/см2):
- включить регулятор давления свежего пара «до себя», воздействующий на регулирующие клапаны турбины;
- перевести систему впрысков на полное давление, для чего отключить воздействие регулятора на клапан РКС-4, закрыть этот клапан и задвижку СЗ ВПР, открыть задвижку СЗ-16.
Примечание. На блоках с полной типовой пусковой схемой для перевода системы впрысков на полное давление - закрыть клапан РКС-4, открыть задвижки СЗ-16, СЗ-19, после чего закрыть задвижки СЗ-17, СЗ-18, СЗ-20, СЗ-21.
2.2.28. Продолжить нагружение блока. При достижении номинальной или заданной нагрузки продолжить повышение температуры свежего пара и пара промперегрева в соответствии c графиком-заданием.
2.2.29. При нагрузке блока около 250 МВт после достижения давления в деаэраторе 0,6 МПа (6 кгс/см2) включить регулятор давления.
2.2.30. Системы обогрева фланцевых соединений корпусов ЦВД и ЦСД отключить после окончания нагружения и достижения температур свежего пара и пара промперегрева перед турбиной 540 °С.
2.2.31. В процессе нагружения блока (по указанию начальника смены химического цеха) перевести сброс конденсата греющего пара ПВД в деаэратор, а ПНД - в тракт основного конденсата с помощью сливного насоса.
2.2.32. В процессе нагружения блока регулировать температуру свежего пара пусковыми впрысками, периодически изменяя задание регуляторам, вплоть до ее номинального значения. Пусковой впрыск поддерживать в диапазоне регулирования с помощью впрыска II, а последний - впрыском I.
При достижении номинальных значений температуры свежего пара за поверхностями нагрева, контролируемыми штатными впрысками, перевести их на автоматическое управление. Пусковые впрыски отключить при достижении номинальных значений свежего пара перед турбиной.
Примечание. До получения разрешения ЗиО на расширение диапазона регулирования паровыми байпасами на блоках с котлоагрегатами этого завода температуру пара перед ЦСД турбины в процессе нагружения блока регулировать с помощью штатных средств, начиная с нагрузки 80 - 100 МВт, в соответствии с указаниями примечания к п. 2.2.19.
3.1. Убедиться в нормальной работе оборудования блока, которое не отключалось после останова.
3.2. Выполнить необходимые подготовительные операции к пуску блока в соответствии с пп. 2.1.1 - 2.1.8 и 2.1.10 - 2.1.29 со следующими изменениями и дополнениями.
3.2.1. Открыть дренажи из трубопроводов за ВЗ, до клапанов Др-4 и за ними, если температура металла любого из толстостенных элементов тракта сверхкритического давления (выходных камер котла, тройников, стопорных клапанов высокого давления турбины) равна или выше 80 °С.
3.2.2. Дренажи вторых перепускных труб, цилиндров и отборов турбинной установки не открывать.
Примечание. Если разность температуры стопорных клапанов и паропроводов свежего пара (перед ГПЗ) перед пуском блока превышает 50 °С, ГПЗ не открывать.
3.3. Выполнить операции по пуску блока в соответствии с пп. 2.2.1 - 2.2.33 со следующими изменениями и дополнениями:
3.3.1. При пусках блока, когда не предусматривается специальное время для проведения водной отмывки тракта до ВЗ:
- при температуре толстостенных элементов тракта сверхкритического давления менее 80 °С операцию по п. 2.2.5 проводить через 5 - 10 мин после выполнения операции по п. 2.2.2;
- при температуре толстостенных элементов 80 °С или более расход топлива 14 - 15 % номинального установить при розжиге форсунок (горелок).
3.3.2. При исходной температуре металла толстостенных элементов тракта СКД более 80 °С:
а) перевод питания деаэратора на пар из Р-20 производить в соответствии с п. 2.2.8, но при температуре среды перед ВЗ 200 - 210 °С;
б) подключение пароперегревателя начать при температуре среды перед ВЗ около 260 °С открытием клапанов Др-4 на 5 % по УП. С интервалами 2 - 3 мин открывать клапаны Др-4 ступенями по 15 - 20 %. После полного открытия клапанов Др-4 закрыть дренажи из трубопроводов за ВЗ до клапанов Др-4 и за ними; открыть вентили отбора проб пара за котлом;
в) в начале подключения пароперегревателя включить впрыск в пароприемное устройство конденсатора;
г) после подключения пароперегревателя установить расход топлива 21 - 22 % номинального.
Примечание. При разности температуры стопорных клапанов и паропроводов свежего пара перед пуском более 50 °С начальный прогрев паропроводов ведется при закрытых ГПЗ.
После повышения температуры свежего пара за пусковыми впрысками до уровня температуры металла стопорных клапанов начать прогрев ГПЗ и стопорных клапанов свежего пара, для чего приоткрыть одну из четырех ГПЗ и после выдержки 5 - 10 мин полностью открыть все ГПЗ.
3.3.3. Включение пусковых впрысков свежего пара, их регуляторов и регулятора давления воды в системе впрысков производить при температуре свежего пара за впрыском на 80 - 100 °С выше температуры металла верха паровпуска ЦВД турбины.
3.3.4. Толчок ротора турбины проводить при повышении температуры металла паропроводов перед ГПЗ до температуры верха паровпуска ЦВД, уменьшении разности температур металла стопорных клапанов и верха паровпуска ЦВД до 50 °С при соблюдении условия п. 3.3.3.
3.3.5. Перед толчком ротора:
- открыть дренажи вторых перепускных труб, цилиндров и отборов турбины;
- открыть задвижку СЗ-5, примерно за 15 мин прикрыть клапаны Др-4 до 25 - 30 % по УП; проверить открытие клапана РКС-2 под воздействием регулятора.
Примечание.
1. При повышении давления в деаэраторе до 0,6 МПа (6 кгс/см2) включить регулятор давления.
2. Если импульсом для регулятора сброса из встроенных сепараторов служит перепад давления на импульсной шайбе в сбросном трубопроводе перед Др-2, то до начала прикрытия клапанов Др-4 отключить воздействие регуляторов на клапаны Др-2 и вновь подключить их только после полного открытия Др-4.
3.3.6. После повышения частоты вращения ротора до 800 об/мин скорректировать степень открытия клапанов Др-4, исходя из условия открытия не менее четырех регулирующих клапанов ЦВД турбины.
3.3.7. Прогрев системы промперегрева при частоте вращения ротора турбины 800 об/мин проводить исходя из повышения температуры металла участков паропроводов перед ЦСД не менее чем до 100 °С и уменьшения разницы температур металла основной трассы паропроводов и верха паровпуска ЦСД до 80 °С.
3.3.8. После окончания прогрева паропроводов промперегрева открыть клапаны Др-4 и закрыть задвижку СЗ-5.
3.3.9. Увеличение расхода топлива свыше 21 - 22 % номинального для вывода котла на прямоточный режим начать после включения генератора в сеть.
3.3.10. Включение системы обогрева фланцевого соединения корпуса ЦВД турбины производить через 10 - 20 мин после синхронизации генератора.
3.3.11. Темп нагружения блока и температуру пара выдерживать в соответствии с графиками-заданиями.
4.1. Убедиться в нормальной работе оборудования блока, которое не отключалось после останова.
4.2. При сохранившемся избыточном давлении в тракте котла до ВЗ выполнить подготовительные операции к пуску блока в соответствии с пп. 2.1.1 - 2.1.5, 2.1.8, 2.1.10 - 2.1.20, 2.1.28, 2.1.29 со следующими изменениями:
4.2.1. Не подготавливать схему для прогрева системы обогрева фланцевого соединения корпусов ЦВД.
4.2.2. Не открывать дренажи вторых перепускных труб, цилиндров и отборов турбины.
4.2.3. Не воздействовать на механизм расхаживания стопорных клапанов среднего давления и сбросных клапанов (БВК); не открывать задвижки на сбросных трубопроводах из горячих паропроводов промперегрева СЗ-12.
4.2.4. Подготовить схему для прогрева турбопривода питательного насоса, для чего открыть задвижки на подводе и отводе пара, дренажи паропроводов и цилиндра.
4.2.5. Подать пар на уплотнения турбопривода при наборе вакуума в конденсаторе.
4.2.6. Не проводить проверки состояния изоляции обмотки статора генератора.
4.2.7. Открыть дренажи трубопроводов за ВЗ и за клапанами Др-4.
4.2.8. Не открывать задвижки ВЗ-1, клапаны Др-2, Др-3, задвижки СЗ-1, СЗ-2, воздушники питательного тракта и поверхностей нагрева котла до ВЗ.
Примечание. Если разность температуры стопорных клапанов и паропроводов свежего пара перед пуском блока превышает 50 °С, сборку схемы для прогрева паропроводов свежего пара и операции по открытию ГПЗ выполнять с учетом указаний примечаний к пп. 3.2 и 3.3.2.
4.3.1. Включить ПЭН на рециркуляцию при закрытой задвижке на линии напора. С помощью гидромуфты установить давление за ПЭН 27 - 28 МПа (270 - 280 кгс/см2).
4.3.2. Сдренировать и прогреть сбросные трубопроводы из ВС в Р-20, для чего открыть задвижку СЗ-2 и байпас задвижки СЗ-1.
4.3.3. При повышении давления пара в Р-20 до 0,2 - 0,3 МПа (2 - 3 кгс/см2) открыть задвижку СЗ-5 и включить регулятор РКС-2 с уставкой 1,6 - 1,8 МПа (16 - 18 кгс/см2).
Примечание. Следить за вакуумом в конденсаторе, и при его ухудшении закрыть задвижку СЗ-5, повторно открыв ее после включения форсунок (горелок).
При появлении уровня в Р-20 открыть задвижку СЗ-13 и включить регулятор уровня в расширителе (РКС-1).
4.3.4. Прикрыть до 50 % клапаны Др-1 перед встроенными сепараторами.
4.3.5. Открыть задвижки КЗ-1 и СЗ-1.
С помощью клапанов РКЗ и РПК установить расход воды на каждый поток первого корпуса 40 - 50 т/ч.
4.3.6. С началом роста давления в ВС поддерживать его на уровне, близком к начальному, открытием клапанов Др-3 и Др-2.
4.3.7. Плавно повысить давление среды перед ВЗ примерно до 25 МПа (250 кгс/см2), воздействуя на клапаны Др-1. Включить регуляторы давления перед ВЗ и начать снижение давления в ВС со скоростью 1 МПа (10 кгс/см2) в минуту, открывая клапаны Др-2, открыть дренажи перед клапанами Др-4.
4.3.8. Установить растопочный расход воды 65 т/ч на каждый поток, включить стабилизаторы питания.
4.3.9. Перейти на основную схему питания первого корпуса котла, для чего открыть задвижки перед и за ПВД БЗ-1 первого корпуса, после чего закрыть задвижку КЗ-1.
4.3.10. Проверить закрытие рециркуляции ПЭН, а в случае отсутствия блокировки закрыть рециркуляцию ПЭН вручную.
4.4. За 10 - 15 мин до установления растопочного расхода включить тягодутьевое оборудование.
4.5. Провентилировать газовоздушный тракт корпуса котла. При растопке на мазуте повысить температуру воздуха перед воздухоподогревателями не менее чем до 70 °С.
Установить расход топлива 17 - 18 % номинального при пусках после простоя от 18 до 55 ч или 21 - 22 % - после простоя менее 18 ч.
4.7. При температуре среды перед ВЗ не менее 200 - 210 °С и при установленном растопочном расходе питательной воды перевести деаэратор на пар из Р-20, для чего открыть задвижку СЗ-7, закрыть задвижку П-0 и клапан РКС-2. Увеличить уставку регулятору давления в деаэратор до 0,6 МПа (6 кгс/см2).
4.8. При температуре среды перед ВЗ около 260 °С начать подключение пароперегревателя, открыв клапаны Др-4 на 5 %.
С интервалами 2 - 3 мин открывать клапаны Др-4 ступенями по 15 - 20 %. После полного открытия клапанов Др-4 закрыть дренажи перед и за ними, а также за ВЗ.
4.9. После подключения пароперегревателя на первом корпусе котла провести операции на втором корпусе в соответствии с пп. 4.3.2, 4.3.4 - 4.3.9, 4.4 - 4.6; 4.8.
4.10. В начале подключения пароперегревателя включить впрыск в пароприемное устройство конденсатора.
4.11. При повышении температуры пара в сбросном трубопроводе ПСБУ до 180 - 200 °С включить впрыск.
4.12. После открытия клапанов Др-4 обоих корпусов котла увеличить расход топлива:
4.12.1. При пусках после простоев продолжительностью от 18 до 55 ч - до 21 - 22 % номинального.
4.12.2. При пусках после простоев продолжительностью менее 18 ч - до 30 % номинального с коррекцией из условия получения температуры свежего пара до пускового впрыска около 530 °С.
4.13. При температуре среды перед ВЗ 280 - 300 °С начать прикрытие клапанов Др-2, включив их регуляторы.
Примечание. При отсутствии регуляторов прикрытие клапанов Др-2 вести по мере роста температуры среды перед ВЗ в соответствии с указаниями местной инструкции по эксплуатации котла.
4.14. Включение пусковых впрысков, толчок ротора турбины и повышение частоты его вращения до 800 об/мин проводить в соответствии с пп. 3.3.3 - 3.3.6.
4.15. Открыть задвижку СЗ-12, начать повышение вакуума в конденсаторе турбины до номинального значения.
4.16. При вакууме в конденсаторе не менее 798 гПа (около 600 мм рт. ст.) выполнить следующие операции:
4.16.1. Открыть клапаны Др-4, после чего закрыть задвижку СЗ-5.
4.16.2. Подать пар для обогрева фланцев и шпилек ЦВД, если температура металла верха паровпуска ЦВД равна или менее 300 °С.
4.16.3. Открытием регулирующих клапанов повысить частоту вращения ротора до 3000 об/мин при полностью открытом клапане ПСБУ.
Примечание. При частоте вращения ротора 3000 об/мин вакуум в конденсаторе должен быть не менее 865 гПа (около 650 мм рт. ст.).
4.17. Синхронизировать и включить генератор в сеть, полностью открыть четыре регулирующих клапана турбины. Закрыть ПСБУ и его впрыск, дренажи паропроводов и турбоустановки. Отключить впрыск в пароприемное устройство конденсатора.
4.18. После включения генератора в сеть начать увеличение расхода топлива для перевода котла на прямоточный режим и нагружение блока в соответствии с графиком-заданием.
Подать пар для обогрева фланцев и шпилек ЦСД.
4.19. При повышении температуры пара в стопорных клапанах среднего давления до уровня, требуемого графиком-заданием, включить в работу паровые байпасы промежуточного пароперегревателя.
4.20. При нагрузке 30 - 40 МВт выполнить следующие операции.
4.20.1. Начать прогрев турбопривода питательного насоса, для чего открытием дроссельного клапана установить частоту вращения ротора около 1000 об/мин.
4.20.2. Перевести электрические собственные нужды блока на рабочее питание и включить АВР питания секций 6 кВ.
4.21. Провести нагружение блока в соответствии с пп. 2.2.20 - 2.2.23; 2.2.25 - 2.2.33 и требованиями графиков-заданий.
4.22. При отсутствии давления в тракте котла до ВЗ выполнить подготовительные операции к пуску блока в соответствии с пп. 2.1.1 - 2.1.8; 2.1.10 - 2.1.29 с изменениями и дополнениями в соответствии с пп. 4.2.2 - 4.2.7.
Если температура металла верха паровпуска ЦВД выше 300 °С, схему для прогрева системы обогрева фланцевого соединения корпуса ЦВД не подготавливать.
4.23. Операции по пуску блока выполнить в соответствии с пп. 4.6 - 4.8, 4.10 - 4.20 с дополнением в соответствии с п. 2.2.3.
4.24. Провести нагружение блока в соответствии с пп. 2.2.20 - 2.2.23; 2.2.25 - 2.2.33 и графиками-заданиями.
5.1. Убедиться в нормальной работе оборудования блока, которое не отключалось после останова.
5.2. Выполнить подготовительные операции к пуску блока в соответствии с п. 4.2 со следующими изменениями:
5.2.1. Не проводить операций по пп. 2.1.8 и 2.1.12.
5.2.2. Не открывать задвижку СЗ-4 и клапан РКС-1.
5.2.3. Не открывать задвижки БЗ-1.
5.3. Выполнить операции по установлению растопочного расхода и повышению давления в тракте котла до ВЗ одного (первого) из корпусов котла, в соответствии с п. 4.3.
5.4. Выполнить операции по вентиляции газоходов корпуса, установлению начального расхода топлива и переводу деаэратора на питание паром от Р-20 в соответствии с пп. 4.4 - 4.7.
5.5. При повышении температуры газов в поворотной камере до 470 - 500 °С и полностью открытых клапанах Др-2 подключить пароперегреватель, открыв за 10 - 12 мин клапаны Др-4, после чего закрыть дренажи из трубопроводов перед и за ними, а также за ВЗ.
5.6. В начале подключения пароперегревателя включить впрыск в пароприемное устройство конденсатора. При повышении температуры пара в сбросном трубопроводе за ПСБУ до 180 - 200 °С ввести в работу впрыск.
5.7. После открытия клапанов Др-1 плавно прикрыть клапаны Др-2 до положения, соответствующего температуре среды перед ВЗ, и включить регулятор.
5.8. Выполнить операции по подготовке и растопке второго корпуса котла в соответствии с пп. 4.3.2 - 4.3.9, 5.4 - 5.7.
5.9. После открытия клапанов Др-4 на втором корпусе выполнить следующие операции.
5.9.1. Увеличить расход топлива на обоих корпусах котла примерно до 30 % номинального, скорректировав его исходя из повышения температуры пара перед пусковым впрыском примерно до 530 °С.
5.9.2. Закрыть задвижку СЗ-5, проверить закрытие регулятором клапана РКС-2.
5.9.3. Начать набор вакуума в конденсаторе турбины до номинального значения.
5.9.4. При повышении температуры свежего пара за пусковым впрыском на 80 - 100 °С выше температуры металла верха паровпуска ЦВД, но не более 520 °С, включить в работу пусковой впрыск для поддержания температуры пара за ним на указанном уровне. Включить в работу регуляторы пускового впрыска и давления воды в системе впрысков.
5.10. При повышении температуры металла паропроводов перед ГПЗ до температуры верха паровпуска ЦВД, разности температур металла стопорного клапана и верха паровпуска ЦВД не более 50 °С, вакуума в конденсаторе не ниже 865 гПа (около 650 мм рт. ст.) выполнить следующие операции:
5.10.1. Открыть дренажи вторых перепускных труб, цилиндров и отборов турбины.
5.10.2. Открытием регулирующих клапанов произвести толчок ротора и повысить частоту его вращения до 3000 об/мин; открыть задвижки СЗ-12.
5.10.3. Синхронизировать и включить генератор в сеть.
5.10.4. Открыть полностью четыре регулирующих клапана турбины, закрыть клапаны ПСБУ и их впрыски, отключить впрыск в пароприемное устройство конденсатора.
5.10.5. Закрыть все дренажи паропроводов и турбины.
5.10.6. Подать пар на обогрев фланцевого соединения корпуса ЦСД турбины, если температура металла верха паровпуска ЦСД равна или менее 420 °С.
5.11. После включения генератора в сеть начать увеличение расхода топлива для перевода котла на прямоточный режим и приступить к прогреву турбопривода питательного насоса в соответствии с п. 4.20.1.
Перевести электрические собственные нужды блока на рабочее питание и включить АВР питания секций 6 кВ.
5.12. Дальнейшее нагружение блока выполнить в соответствии с графиком-заданием и пп. 2.2.20 - 2.2.23, 2.2.25 - 2.2.33.
6.1. После проверки выполнения операций по аварийному останову подготовить блок к пуску, для чего выполнить следующие операции:
6.1.1. Открыть газовые шиберы перед и после РВВ, включить дымосос, дутьевой вентилятор, установить разрежение в топке 30 - 50 Па (3 - 5 кгс/м2) (при закрытом направляющем аппарате дымососа).
6.1.2. При растопке на газе немедленно после начала вентиляции газового тракта корпуса котла начать заполнение и продувку газопроводов к горелкам. Минимальная продолжительность этой операции должна быть уточнена местными инструкциями исходя из содержания кислорода в газе не более 1 %; при растопке на мазуте и на мазуте с пылью установить растопочное давление мазута перед форсунками.
6.1.3. Включить ПЭН на рециркуляцию и с помощью гидромуфты установить давление питательной воды 27 - 28 МПа (270 - 280 кгс/см2).
6.1.4. Проверить включение (включить) регуляторов давления ПСБУ.
6.1.5. Подать напряжение на приводы ВЗ, клапанов Др-1, задвижек СЗ-16, СЗ ВПР и клапана РКС-4; закрыть клапаны КОС на отборах турбины.
6.2. Через 6 - 7 мин после начала вентиляции газового тракта (при сжигании газа немедленно после окончания заполнения газопроводов) выполнить следующие операции:
6.2.1. Открыть запорную задвижку на линии напора ПЭН и с помощью РПК растапливаемого корпуса установить расход воды по 65 т/ч на поток (по растопочным водомерам).
6.2.2. Включить растопочные (либо основные) регуляторы питания и регулятор разрежения в топке.
6.2.3. Проверить положение впускного клапана ПВД и, если он закрылся, открыть арматуру на его байпасе. После открытия клапана арматуру на байпасе закрыть.
6.2.4. При снижении давления пара в деаэраторе до 0,2 МПа (2,0 кгс/см2) подать пар в деаэратор из коллектора собственных нужд; включить регулятор давления с уставкой 0,2 МПа (2,0 кгс/см2).
6.3. Через 1 - 1,5 мин после подачи воды в котел приступить к включению форсунок (горелок) и в течение 2 - 3 мин установить расход топлива на уровне 38 - 40 % номинального. При растопке на газе закрыть продувочные свечи.
Растопочный уровень тепловыделения контролировать по температуре газов в поворотной камере, которая должна находиться на уровне 640 - 660 °С, и по температуре пара перед ВЗ. Корректировку уровня тепловыделения при растопке на смеси мазута и пыли проводить путем изменения частоты вращения питателей пыли.
Начать набор вакуума в конденсаторе до номинального значения.
6.4. После повышения температуры свежего пара за котлом до 545 °С выполнить следующие операции:
6.4.1. Закрыть ВЗ проверить включение (включить) регуляторов давления среды черед ВЗ, отключить воздействие регулятора давления на клапан ПСБУ и за 5 - 6 мин полным открытием клапана ПСБУ снизить давление свежего пара до 16 - 18 МПа (160 - 180 кгс/см2).
6.4.2. Закрыть задвижку СЗ-16, открыть задвижку СЗ ВПР и включить регулятор давления воды в системе впрысков. Открыть запорные задвижки основных впрысков котла и включить их регуляторы.
6.5. Вентиляцию газового тракта второго корпуса котла начинать в процессе включения форсунок (горелок) первого корпуса. Операции по растопке второго корпуса котла проводить в соответствии с пп. 6.1.1; 6.1.2; 6.2.1; 6.2.2; 6.3; 6.4.
6.6. При устойчивом поддержании параметров свежего пара на обоих корпусах котла и вакууме в конденсаторе не менее 860 гПа (около 650 мм рт. ст.) выполнить следующие операции.
6.6.1. Открыть ГПЗ.
6.6.2. Подать пар в турбину открытием регулирующих клапанов и за 3 - 5 мин повысить частоту вращения ротора до 3000 об/мин.
6.6.3. Синхронизировать и включить генератор в сеть.
6.6.4. Открытием регулирующих клапанов турбины взять нагрузку около 90 МВт (до полного закрытия клапанов ПСБУ).
6.7. Открытием дроссельного клапана произвести толчок и начать повышение частоты вращения ротора турбопривода питательного насоса.
Перевести электрические собственные нужды блока на рабочее питание и ввести АВР питания секций 6 кВ.
Проверить включение в работу (по блокировке) сливных насосов ПНД.
6.8. Продолжить нагружение блока в соответствии с графиком-заданием.
6.8.1. При нагрузке около 120 МВт перевести сброс конденсата греющего пара ПВД в деаэратор.
6.8.2. При нагрузке 140 - 150 МВт дополнительно включить в работу по одному КЭН-I и КЭН-II; перевести деаэратор на пар от IV отбора турбины, отключить воздействие регулятора и открыть клапан греющего пара деаэратора.
6.8.3. При нагрузке 170 - 180 МВт включить второй БН и перейти с ПЭН на ПТН. Переключатель блокировки ПЭН установить в положение АВР.
6.8.4. При нагрузке 180 МВт:
- воздействием на регулирующие клапаны установить давление пара перед турбиной 18 - 19 МПа (180 - 190 кгс/см2);
- отключить воздействие регуляторов на клапаны Др-1, полностью открыть эти клапаны;
- приоткрыть ВЗ и после выдержки около 5 мин полностью открыть их; снять напряжение с приводов ВЗ клапанов Др-1 и Др-4.
6.8.5. При нагрузке блока около 250 МВт после повышения давления в деаэраторе до 0,6 МПа (6 кгс/см2) включить регулятор давления.
6.8.6. После повышения давления свежего пара перед турбиной примерно до 24 МПа (240 кгс/см2) выполнить следующие операции:
- включить регулятор давления свежего пара «до себя», воздействующий на регулирующие клапаны турбины;
- перевести систему впрысков на полное давление, для чего отключить воздействие регулятора на клапан РКС-4, закрыть клапан РКС-4 и задвижку СЗ ВПР, открыть задвижку СЗ-16 и снять напряжение с их приводов.
7.1. Перед разгружением блока выполнить следующие операции:
7.1.1. Очистить поверхности нагрева котла.
7.1.2. Перевести уплотнения турбины на питание паром от коллектора собственных нужд блока.
7.1.3. Отключить бойлерную установку, редукционную установку РУ 4,0/1,3 МПа (40/13 кгс/см2) и другие посторонние потребители пара.
7.1.4. Убедиться в отсутствии заеданий стопорных и сбросных клапанов турбины путем их частичного расхаживания.
7.1.5. Подать напряжение на приводы ВЗ и клапанов Др-4.
7.2. Разгрузить блок за 5 - 7 мин с 300 МВт до 240 МВт при номинальных параметрах пара. Дальнейшее разгружение блока проводить следующим образом:
7.2.1. На блоках, не допускающих работу при скользящем давлении, - до 150 МВт (газомазутные блоки) или до минимальной устойчивой нагрузки без подсветки мазутом (пылеугольные блоки), со скоростью 2 МВт/мин, при номинальных параметрах пара.
7.2.2. На блоках, эксплуатирующихся при скользящем давлении, - до минимальной разрешенной нагрузки при открытых четырех регулирующих клапанах турбины с учетом условий п. 7.2.1, со скоростью 10 МВт/мин (газомазутные блоки) или 5 МВт/мин (пылеугольные блоки), при номинальной температуре пара. При этом предварительно отключить воздействие регулятора давления «до себя» на регулирующие клапаны турбины.
Примечание. При останове блока на ночь разгружение проводить по п. 7.2.1, если блок работал в зоне номинального давления, и по п. 7.2.2 - при исходном режиме в зоне скользящего давления.
7.3. При разгружении блока проверить действие следующих блокировок.
7.3.1. При нагрузке около 230 МВт - перевод деаэратора на питание паром от III отбора и калориферов котла от V отбора турбины.
7.3.2. При нагрузке около 200 МВт - переключение конденсата греющего пара ПВД № 6 в ПНД № 4 (или в конденсатор), а ПВД № 7 - в деаэратор.
Примечание. Если блокировки по пп. 7.3.1 и 7.3.3 не задействованы, ручные переключения не производить.
7.4. По окончании разгружения блока выполнить следующие операции.
7.4.1. Отключить калориферы котла по пару и конденсату греющего пара.
7.4.2. Ключами ПЗ-1, ПЗ-2 отключить соответствующие группы защит.
7.4.3. Перевести собственные нужды блока на резервный трансформатор.
7.4.4. Установить ключ останова котла в положение «Останов». Проверить выполнение всех воздействий на механизмы и арматуру и в случае отказов выполнить необходимые операции вручную.
7.4.6. После снижения нагрузки до 90 - 100 МВт проверить автоматическое срабатывание защиты на останов турбины и в случае отказа ее в работе выполнить необходимые операции вручную.
Примечания:
1. Если электрическими схемами защит предусматривается одновременный останов котла и турбины при воздействии на ключ останова котла, операции по останову котла выполнить вручную, а при снижении нагрузки до 90 - 100 МВт ключом останова турбины отключить ее и проверить правильность срабатывания защит и блокировок.
2. При разгружении на скользящем давлении операцию по п. 7.4.5 выполнить вручную, снизить нагрузку турбогенератора до 90 МВт.
7.4.7. Убедиться в том, что стопорные клапаны турбины закрыты, а ГПЗ закрываются.
Снизить вакуум в конденсаторе до 860 гПа (около 650 мм рт. ст.). Проверить автоматическое отключение генератора от сети.
7.5. После останова блока выполнить следующие операции.
7.5.1. После обеспаривания системы промперегрева в случае присоединения ее сбросных трубопроводов к трубопроводам за ПСБУ - закрыть задвижки СЗ-12.
7.5.2. Продуть линии впрысков котла обратным ходом.
7.5.3. Закрыть ВЗ, клапаны Др-4 и выпустить пар из пароперегревателя в конденсатор через ПСБУ, после чего ПСБУ закрыть.
7.5.4. В соответствии с требованиями ПТЭ провентилировать топку и газоходы котла, после чего отключить тягодутьевые машины и закрыть шиберы перед и за РВВ.
7.6. После останова ротора турбины включить валоповоротное устройство и отключить электронасос системы регулирования; дренажи турбоустановки не открывать.
7.7. После выпуска пара из пароперегревателя и закрытия ПСБУ остановить подъемные насосы эжекторов и при снижении вакуума в конденсаторе до нуля прекратить подачу пара на уплотнения турбины и на деаэратор. Остановить конденсатные и бустерные насосы.
7.8. Остановить циркуляционные насосы после снижения температуры выхлопного патрубка турбины до 55 °С.
7.9. Заключительные операции по останову блока выполнить в соответствии с местными инструкциями по обслуживанию оборудования.
8.1. Перед разгружением блока выполнить следующие операции:
8.1.1. Выполнить операции в соответствии с пп. 7.1.1 - 7.1.4.
8.1.2. Подать напряжение на приводы ВЗ, клапанов Др-1, задвижек СЗ ВПР, СЗ-16 и клапана РКС-4.
8.1.3. Подать пар на обогрев фланцевого соединения корпуса ЦСД турбины.
8.2. Разгрузить блок с 300 до 240 МВт за 5 - 7 мин и далее со скоростью 2 МВт/мин до 180 МВт при номинальных параметрах пара.
При нагрузке 180 МВт выполнить следующие операции.
8.2.1. Закрыть ВЗ, включить регуляторы давления среды перед ВЗ, отключить воздействие регулятора давления «до себя» на регулирующие клапаны турбины.
8.2.2. Закрыть задвижку СЗ-16, открыть задвижку СЗ ВПР и включить регулятор давления воды в системе впрысков.
8.2.3. Отключить защиту, действующую при снижении температуры свежего пара.
8.2.4. Отключить воздействие регуляторов на регулирующие клапаны основных впрысков.
8.2.5. В соответствии с графиком-заданием снизить давление свежего пара за счет полного открытия регулирующих клапанов турбины и температуру свежего пара с 540 примерно до 470 °С. Снижение температуры свежего пара производить пусковыми впрысками (с периодическим изменением задания регуляторам), поддерживая их в диапазоне регулирования основными впрысками; при выходе из диапазона регулирования основных впрысков уменьшать расход топлива.
Правильность соотношения «давление-температура» контролировать по температуре пара в регулирующей ступени турбины, которая должна поддерживаться постоянной (около 435 °С).
8.3. Разгрузить блок со 180 МВт до 90 МВт со скоростью 5 - 6 МВт/мин при открытых регулирующих клапанах турбины и постоянной температуре свежего пара.
8.4. При разгружении блока с 300 до 90 МВт в соответствии с графиком-заданием снизить температуру пара промперегрева с 540 до 510 °С с помощью аварийных впрысков. При нагрузке менее 90 МВт аварийный впрыск должен быть закрыт.
8.5. В процессе разгружения блока с 300 МВт до 90 МВт выполнить следующие операции.
8.5.1. При достижении на пылеугольных котлах предела устойчивой нагрузки топки включить подсветку мазутом (газом).
8.5.2. Проверить действие блокировок в соответствии с пп. 7.3.1 - 7.3.3.
Примечание. Если блокировки по пп. 7.3.1 и 7.3.3 не задействованы, при нагрузке около 160 МВт перевести питание деаэратора с IV отбора на коллектор собственных нужд блока.
8.5.3. При нагрузке около 150 МВт перейти с ПТН на ПЭН. Отключить один БН и по одному КЭН-I и КЭН-II.
8.5.4. Проверить автоматический перевод конденсата греющего пара ПВД № 8 и ПВД № 7 на ПНД № 4 (в конденсатор) и конденсата греющего пара ПНД № 2 в конденсатор.
8.6. В соответствии с графиком-заданием при нагрузке 90 МВт снизить температуру свежего пара с 470 до 325 °С. Температуру свежего пара регулировать в соответствии с п. 8.2.5.
8.7. Поддерживая температуру свежего пара постоянной (около 325 °С), продолжить снижение нагрузки турбины примерно до 30 МВт, постепенно прикрывая регулирующие клапаны турбины. Открытием клапанов ПСБУ поддерживать давление свежего пара постоянным на уровне около 7 МПа (70 кгс/см2). Включить в работу впрыски ПСБУ и в пароприемное устройство конденсатора.
Перевести собственные нужды блока на резервный трансформатор.
С момента полного открытия клапанов ПСБУ (при нагрузке около 30 МВт) продолжать разгружение турбины примерно до 15 МВт прикрытием регулирующих клапанов при полностью открытых ПСБУ и возрастающем давлении свежего пара.
8.8. Выдержать турбину при нагрузке 15 МВт не менее 1 ч для стабилизации теплового состояния ее корпуса. По окончании выдержки отключить систему обогрева фланцев и шпилек ЦСД.
8.9. При разгружении блока с 90 до 15 МВт в соответствии с графиком-заданием снизить температуру пара промперегрева с 510 до 310 °С с помощью паровых байпасов (ППБ), периодически изменяя задание регуляторам.
8.10. Остановить блок воздействием на ключи останова. Убедиться в том, что стопорные клапаны турбины закрыты, а ГПЗ закрываются.
Снизить вакуум в конденсаторе до 865 МПа (около 650 мм рт. ст.).
Проверить автоматическое отключение генератора от сети.
8.11. После останова блока выполнить операции в соответствии с пп. 7.5.1 и 7.5.2, отключить воздействие регуляторов на клапаны Др-1, плавно открыть клапаны Др-1 и ПСБУ.
8.12. Заключительные операции по останову блока выполнить в соответствии с пп. 7.5.4, 7.6 - 7.9.
9.11. Выполнить подготовительные операции, разгружение и останов блока в соответствии с п. 7.1 - 7.6 со следующими изменениями и дополнениями.
9.1.1. Не подавать напряжение на приводы клапанов Др-4.
9.1.2. Разгрузку блока проводить при постоянном давлении пара - номинальном или, если блок работал в зоне скользящего давления, исходном перед разгрузкой со скоростью, указанной в пп. 7.2 и 7.2.1.
9.1.3. Не проводить операцию по п. 7.5.3.
9.1.4. Отключить воздействие регулятора и закрыть клапан греющего пара деаэратора.
9.2. Закрыть ВЗ, проверить открытие клапана Др-1 и Др-4 и приступить к расхолаживанию котла и паропроводов выпуском пара через дренажи перед ГПЗ. Регулирующие клапаны на дренажах перед ГПЗ (РКД) открывать ступенчато в соответствии с графиком-заданием.
9.3. После снижения температуры свежего пара примерно до 420 °С выполнить следующие операции.
9.3.1. Включить ПЭН на рециркуляцию, с помощью гидромуфты установить давление за ПЭН 27 - 28 МПа (270 - 280 кгс/см2).
9.3.2. Открыть РПК на 10 - 15 % по УП. Начать подпитку котла водой через байпас узла питания с общим расходом 80 т/ч (по растопочным водомерам). С помощью РПК распределить расход воды по потокам равномерно по 20 т/ч.
9.3.3. За счет частичного прикрытия РКД повысить давление пара за котлом до 14 МПа (140 кгс/см2).
9.3.4. При снижении давления в деаэраторе до 0,05 МПа (0,5 кгс/см2) подать пар в деаэратор из коллектора собственных нужд блока и установить давление 0,02 - 0,05 МПа (0,2 - 0,5 кгс/см2); включить регулятор давления.
9.4. При температуре среды за котлом 300 - 320 °С полностью открыть РКД, увеличить расход воды до 30 - 40 т/ч на поток, открыть газовые шиберы перед и за РВВ, включить тягодутьевые машины и продолжать расхолаживание котла и паропроводов до температуры питательной воды.
9.5. После окончания расхолаживания котла и паропроводов выполнить следующие операции:
8.5.1. Прекратить подачу воды в котел, остановив ПЭН. Закрыть РПК, задвижки на питательном байпасе КЗ-1, КЗ-II и клапан РКЗ.
9.5.2. Остановить бустерный насос и прекратить подачу пара в деаэратор.
9.5.3. Остановить подъемные насосы эжекторов и при снижении вакуума в конденсаторе до нуля прекратить подачу пара па уплотнения турбины. Остановить конденсатные насосы.
9.5.4. Остановить циркуляционные насосы, если температура выхлопного патрубка турбины менее 55 °С.
9.5.5. Сдренировать котел.
9.5.6. Вентиляцию котла продолжить до начала ремонтных работ.
9.5.7. Выполнить заключительные операции по останову блока в соответствии с местными инструкциями по обслуживанию оборудования.
10.1. Выполнить подготовительные операции, разгружение и останов блока в соответствии с пп. 7.1 - 7.6 со следующими дополнениями:
10.1.1. Подать напряжение на приводы задвижек СЗ-1 и СЗ-2, клапанов Др-1, Др-2 и Др-3.
10.1.2. На нагрузке 140 - 150 МВт открыть задвижки СЗ-2 и через байпасы СЗ-1 прогреть сбросные трубопроводы сепараторов. При повышении давления в растопочном расширителе до 1,0 - 1,5 МПа (10 - 15 кгс/см2) открыть задвижку СЗ-5 и клапаном РКС-2 поддерживать давление на указанном уровне.
10.1.3. Отключить регулятор давления греющего пара деаэратора и закрыть регулирующий клапан.
10.2. После отключения котла подготовить тракт до ВЗ и сбросные трубопроводы к прокачке воды, для чего:
10.2.1. Убедиться в закрытии задвижек КЗ-I и КЗ-II и клапана РКЗ.
10.2.2. Открыть задвижку СЗ-1, предварительно убедившись, что клапаны Др-2 и Др-3 закрыть, а клапаны Др-1 открыты.
10.3. Включить ПЭН, открыть задвижку КЗ соответствующего корпуса котла и с помощью клапанов РПК и РКЗ установить расход воды по 40 - 50 т/ч на каждый поток, после чего открыть клапаны Др-3.
При появлении уровня в Р-20 открыть задвижку СЗ-13 на сбросе в конденсатор турбины, включить регулятор уровня в Р-20, воздействующий на клапан РКС-1.
При снижении давления в деаэраторе до 0,05 МПа (0,5 кгс/см2) подать пар в деаэратор из коллектора собственных нужд блока и установить давление 0,02 - 0,05 МПа (0,2 - 0,5 кгс/см2); включить регулятор давления.
10.4. Прокачку воды вести до снижения температуры среды перед ВЗ до 180 - 150 °С. К концу прокачки открыть клапаны Др-2 и увеличить расход воды до 70 - 100 т/ч.
10.5. После окончания расхолаживания прекратить подачу воды в котел, остановив ПЭН. Закрыть задвижки СЗ-1, их байпасы, СЗ-2, КЗ-1, КЗ-П, клапаны РКЗ, РПК, Др-1, Др-2, Др-3, остановить БН и прекратить подачу пара в деаэратор.
10.6. Выполнить заключительные операции по останову блока в соответствии с пп. 9.5.3 - 9.5.7.
11.1. При аварийном отключении блока системой защит или с помощью ключей останова проверить выполнение всех воздействий на механизмы и арматуру, предусмотренные системами защит и блокировок. Обратить особое внимание на закрытие стопорных и регулирующих клапанов турбины, а также обратных клапанов на ее отборах. Проверить отключение генератора. Сквитировать ключи отключенного оборудования, ключами ПЗ-1, ПЗ-2 отключить соответствующие группы защит.
11.2. Не ожидая выяснения причины аварийного отключения, принять меры по обеспечению возможности последующего пуска блока из состояния горячего резерва, для чего выполнить следующие операции.
11.2.1. Отключить дутьевые вентиляторы на газомазутных котлах (на пылеугольных их отключает защита) и через 2 - 3 мин - дымососы.
11.2.2. Закрыть направляющие аппараты тягодутьевых машин, газовые шиберы перед и за РВВ.
11.2.3. При работе на газе открыть газовые свечи.
11.2.4. Оставить в работе по одному БН, КЭН-I, КЭН-II.
11.2.5. Отключить регуляторы впрысков и давления греющего пара деаэратора и закрыть регулирующие клапаны.
11.2.6. Проверить наличие запального газа для розжига мазутных форсунок и работу ЗЗУ.
11.3. После обеспаривания системы промперегрева, в случае присоединения сбросных трубопроводов к трубопроводам за ПСБУ, закрыть задвижки СЗ-12.
11.4. Не допускать повышения давления свежего пара свыше 27 МПа (270 кгс/см2), выпуская избыток пара через ПСБУ.
11.5. Оставить в работе конденсационную установку, поддерживая вакуум не менее 798 гПа (около 600 мм рт. ст.), перевести уплотнения турбины на питание паром из коллектора собственных нужд блока. После останова ротора турбины включить валоповоротное устройство.
11.6. Если за время до 10 мин установлено, что причина аварийного отключения не препятствует пуску, немедленно приступить к подготовке пуска в соответствии с пп. 6.1 и 6.2, а затем к пуску из горячего резерва.
11.7. Если причина аварийного отключения блока за время до 10 мин не установлена, либо ожидаемая продолжительность простоя превышает 20 мин, либо потеряно состояние горячего резерва, выполнять операции согласно п. 7.4 и в дальнейшем вести пуск в соответствии с тепловым состоянием блока.
11.8. В случае невозможности пуска блока (необходим ремонт оборудования) дальнейшие операции по останову проводятся в зависимости от характера предстоящих ремонтных работ.
1. При полной модернизации, с переходом на схему моноблока (без сохранения возможности работы в однокорпусном режиме) выполняются следующие мероприятия.
1.1. Демонтируется следующее оборудование:
- главные паровые задвижки ГПЗ-1;
- байпасы ГПЗ-2 с регулирующими клапанами и задвижками;
- задвижки ППХ;
- задвижки ППГ-1, ППГ-2;
- поворотные заслонки ППР;
- сбросные линии из паропроводов горячего промперегрева с пароохладителями и арматурой СЗ-10, СЗ-11;
- линия питания впрысков от одного корпуса котла с задвижками СЗ-19 и шайбовым набором Ш-3;
- трубопроводы подвода пара от Р-20 в холодные линии промперегрева с РКС-3, СЗ-6, СЗ-8, СЗ-9;
- задвижки БЗ-2 на питательном узле котла;
- запорная арматура СЗ-20, СЗ-21 на сбросных линиях от коллектора впрысков в деаэратор одного из корпусов котла.
1.2. Запорная арматура СЗ-17, СЗ-18 на сбросных линиях от коллектора впрысков в деаэратор другого корпуса котла переносится на общую линию перед РКС-4.
1.3. Устанавливается пароохладитель на сбросном трубопроводе из паропроводов горячего промперегрева, используемом при обеспаривании и прогреве.
2. При частичной модернизации с сохранением всех режимных и ремонтных возможностей, обеспечиваемых типовой пусковой схемой дубль-блока, на одном из корпусов котла устанавливается задвижка для отключения шайбового набора Ш-3.
1. Перевести на останов блока действие следующих корпусных защит, производящих отключение корпуса котла от турбины с его остановом или переводом на растопочную нагрузку.
В число этих защит должны войти защиты при:
- повышении давления перед задвижкой, встроенной в тракт котла;
- понижении давления перед задвижкой, встроенной в тракт котла;
- разрыве трубы водяного экономайзера;
- прекращении поступления питательной воды в котел;
- понижении давления газа перед горелками (при растопке на газе);
- понижении давления воздуха, поступающего к горелкам (при растопке на газе);
- понижении давления мазута перед горелками (при растопке на мазуте);
- отключении дымососа;
- отключении дутьевого вентилятора;
- отключении вентилятора первичного воздуха;
- прекращении расхода через промежуточный пароперегреватель;
- погасании факела;
- отключении всех регенеративных воздухоподогревателей корпуса.
2. Из объема защит исключаются:
а) температурные защиты при:
- повышении температуры свежего пара за корпусом котла;
- понижении температуры свежего пара за корпусом котла;
- повышении температуры пара промперегрева за корпусом котла;
б) защиты, действующие на снижение нагрузки блока при отключении одного из корпусов котла;
в) защита, действующая на останов турбины при переводе одного корпуса котла на растопочную нагрузку при отключенном втором корпусе.
1. В зависимости от теплового состояния оборудования, определяющего особенности технологии, режимы пуска блока с турбиной К-300-240 ЛМЗ условно подразделяются на следующие основные группы:
а) из холодного состояния - при полностью остывших котле и паропроводах и температуре металла паровпускных частей ЦВД или ЦСД турбины, разной или ниже соответственно 150 и 100 °С.
б) из неостывшего состояния - при температуре металла паровпускных частей ЦВД и ЦСД турбины до 400 °С;
в) из горячего состояния - при температуре металла паровпускных частей ЦВД и ЦСД турбины выше 400 °С и сохранившемся избыточном давлении в тракте котла до ВЗ.
2. Пуск блока из любого теплового состояния проводится на сепараторном режиме по унифицированной технологии. После короткого простоя, если соблюдены условия п. 1.13 настоящей Типовой инструкции, пуск блока может проводиться также на прямоточном режиме из горячего резерва.
3. Унифицированная технология пуска блока на сепараторном режиме ориентирована на останов котла с выпуском пара из пароперегревателя. Принятая технология останова исключает тепловые удары в камерах котла и главных паропроводах из-за попадания в них влаги, образующейся в необеспаренном пароперегревателе в процессе простоя вследствие конденсации пара.
4. Основными особенностями унифицированной технологии пуска блока на сепараторном режиме являются:
а) заполнение водой тракта котла только до ВЗ и проведение начального этапа растопки при «отсечке» пароперегревателя со стороны входа среды;
б) низкие параметры свежего пара перед толчком турбиной и пониженный вакуум в конденсаторе 860 гПа (около 500 мм рт. ст.), обеспечивающие открытие не менее четырех регулирующих клапанов и равномерный прогрев вторых перепускных труб за этими клапанами при повышении частоты вращения роторов турбины до 800 об/мин в период пуска блока из холодного и неостывшего состояния.
Снижение давления свежего пара перед турбиной при пусках блока из неостывшего состояния обеспечивается при этом за счет частичного прикрытия клапанов Др-4;
в) совмещенный с разворотом роторов турбины прогрев системы промперегрева (если он требуется), который производится свежим паром через ЦВД турбины при частоте вращения роторов около 800 об/мин, закрытых защитных клапанах ЦСД и открытых сбросах из паропроводов горячего промперегрева;
г) пониженный уровень вакуума 660 гПа (около 500 мм рт. ст.) в конденсаторе турбины на этапах:
- от растопки котла до окончания прогрева системы промперегрева (либо ротора среднего давления турбины) при пуске из холодного состояния;
- от растопки котла до повышения частоты вращения ротора турбины до 800 об/мин (либо до окончания прогрева системы промперегрева) при пусках из неостывшего состояния;
- от растопки котла до окончания прогрева паропроводов свежего пара при пусках из горячего состояния;
д) использование специальных средств (пусковых впрысков, паровых байпасов) для регулирования температуры свежего пара и пара промперегрева;
е) использование растопочного расширителя как источника пара для деаэрации питательной воды и для вывода загрязнений из цикла при пусках блока.
5. Пониженный уровень вакуума в конденсаторе турбины на начальных этапах пуска поддерживается в целях обеспечения:
а) при пусках из холодного состояния:
- прогрева ротора среднего давления конденсацией пара, подаваемого на уплотнения;
- открытия не менее четырех регулирующих клапанов турбины при частоте вращения ротора около 800 об/мин для равномерного прогрева вторых перепускных труб и регулирующих клапанов, открываемых после синхронизации турбогенератора;
- интенсификации предварительного прогрева паропроводов горячего промперегрева;
- прогрева ротора среднего давления при выдержке на частоте вращения 800 об/мин, если такой прогрев необходим по условиям хладоломкости;
б) при пусках из неостывшего состояния:
- уменьшения охлаждения паровпускных частей ЦВД и ЦСД уплотняющим паром;
- открытия не менее четырех регулирующих клапанов турбины при частоте вращения ротора около 800 об/мин;
- интенсификации предварительного прогрева паропроводов горячего промперегрева, если такой прогрев требуется;
в) при пусках из горячего состояния:
- уменьшения охлаждения паровпускных частей ЦВД и ЦСД уплотняющим паром.
6. При разработке режимов и графиков-заданий пуска блока в качестве лимитирующих факторов принято термонапряженное состояние роторов турбины.
При определении допустимых скоростей прогрева и охлаждения роторов высокого и среднего давления приняты следующие исходные положения:
а) при прогреве допускается такая пластическая деформация сжатия в зоне концентраторов на поверхности роторов, при которой остаточные напряжения на стационарном режиме не превышают предела длительной прочности для соответствующей температуры;
б) при охлаждении не допускается пластическая деформация растяжения в зоне концентраторов на поверхности роторов;
в) размах деформаций не должен превышать значения, вызывающего при заданном числе режимов накопление циклической составляющей повреждаемости, равной допустимой;
г) все оценки допустимых разностей температур и скоростей прогрева производилось с учетом сложной формы деталей, концентрации напряжений в тепловых канавках, зависимости теплофизических свойств и прочностных характеристик материала от температуры, а также с учетом отклонений температуры пара от заданной на ±20 °С.
7. Разработка инструктивных указаний и графиков-заданий пуска блока велась из расчета реализации режимов с параллельной растопкой корпусов котла при включенных пусковых регуляторах обычным составом оперативной вахты без привлечения дополнительного персонала.
Графики-задания пуска блока из холодного и неостывшего состояний построены с учетом допустимого смещения во времени розжига мазутных форсунок (горелок) второго корпуса котла на 5 - 10 мин по сравнению с первым. Графики-задания и указания по установлению растопочного расхода питательной воды и розжигу мазутных форсунок (горелок) второго корпуса при пусках с избыточным давлением в тракте котла до ВЗ ориентированы на смещение во времени по отношению к первому корпусу на 10 - 15 мин с началом выполнения этих операций на втором корпусе после подключения пароперегревателей на первом.
При такой организации начальной стадии пуска блока:
- тепловое состояние корпусов котла практически выравнивается к окончанию прогрева паропроводов свежего пара;
- обеспечиваются расчетные режимы работы сбросных трубопроводов из растопочного расширителя;
- сохраняются обычные условия работы оперативного персонала.
С учетом удвоения числа потоков по сравнению с моноблоком 300 МВт продолжительность операций по снижению давления свежего пара прикрытием клапанов Др-4 перед подачей пара в турбину предусмотрена 15 мин.
В местных инструкциях следует указать, что в случае несинхронного прогрева корпусов котла на сепараторной фазе нагружения блока - после перевода одного из корпусов на прямоточный режим нагружение его следует приостановить до перевода на прямоточный режим второго корпуса. После этого нагружение блока следует вести одновременно обоими корпусами котла.
8. Выбор начального уровня и последующего графика изменения расхода топлива на сепараторной фазе пуска блока определяется комплексом режимных условий, в число которых входит:
- обеспечение предварительного прогрева главных паропроводов за приемлемое время до требуемого уровня и надежности температурного режима толстостенных элементов тракта сверхкритического давления при прогреве;
- обеспечение заданных параметров свежего пара и пара промперегрева;
- выход на холостой ход турбогенератора при полностью открытых ПСБУ и взятие начальной нагрузки на менее 20 МВт после синхронизации за счет закрытия ПСБУ;
- минимальный при соблюдении указанных ранее условий расход топлива на этой фазе пуска блока.
Моменты подфорсировок по расходу топлива выбраны с учетом разгонных характеристик котла по паропроизводительности.
Начальный расход топлива принимается на уровне:
- 14 - 15 % номинального при пусках из холодного состояния и после простоя в течение 60 - 90 ч по условиям получения расхода пара, необходимого для прогрева главных паропроводов;
- 17 - 18 % номинального при пусках после простоя длительностью около 55 ч для получения необходимой для прогрева главных паропроводов температуры свежего пара и при меньшей длительности простоя вплоть до 18 ч по условиям плавного прогрева толстостенных выходных камер котла (либо тройников) при подключении пароперегревателя;
- 21 - 22 % номинального при пусках после простоя длительностью менее 18 ч по температурным условиям работы неохлаждаемого пароперегревателя (температура газов в поворотной камере не должна превышать 530 °С).
Первая подфорсировка котла по расходу топлива до 21 - 22 % номинального проводится при пусках из холодного и из неостывшего состояний после простоя длительностью более 18 ч для повышения частоты вращения ротора турбины до 3000 об/мин без прикрытия ПСБУ и для взятия сразу после синхронизации генератора нагрузки не менее 20 МВт. Этот уровень расхода топлива необходим также при пусках после простоев менее 55 ч по условиям прогрева главных паропроводов и получения заданной температуры пара промперегрева после включения генератора в сеть.
Первая подфорсировка котла по расходу топлива проводится при пусках из холодного состояния и после простоя в течение 60 - 90 ч во время выдержки на частоте вращения 800 об/мин*, а при пусках после простоя меньшей длительности - по окончании открытия клапанов Др-4.
* При длительной выдержке турбины на частоте вращения 800 об/мин для прогрева ротора среднего давления подфорсировка должна проводиться за 25 - 30 мин до начала повышения частоты вращения ротора до 3000 об/мин
Первая подфорсировка котла по расходу топлива до 30 % номинального проводится при пусках из горячего состояния и после простоя менее 18 ч по условиям обеспечения заданной температуры пара промперегрева после включения генератора в сеть.
Вторая подфорсировка котла по расходу топлива проводится:
- при пуске из холодного состояния после окончания выдержки на начальной нагрузке;
- при меньшей длительности простоя сразу после синхронизации генератора.
Последующее увеличение расхода топлива проводится в соответствии с графиком нагружения блока.
9. Принятая в настоящей Инструкции методика подключения пароперегревателя имеет применительно к различному начальному тепловому состоянию оборудования следующие особенности:
а) подключение пароперегревателя при пусках из холодного и близкого к нему состояний при начальной температуре металла толстостенных элементов тракта СКД (выходных камер котла, тройников, стопорных клапанов турбины) менее 80 °С производится полным, в один прием, открытием клапанов на выпаре из встроенных сепараторов сразу после включения одной - двух форсунок (горелок). Это позволяет исключить тепловые удары в толстостенных элементах вследствие конденсации пара на их холодных поверхностях, наблюдающиеся при скачкообразном повышении давления пара в паропроводах до 0,3 - 0,4 МПа (3 - 4 кгс/см2), которое трудно избегать при более позднем подключении пароперегревателя;
б) при простоях меньшей длительности (не более 55 ч), когда температура металла толстостенных элементов тракта сверхкритического давления составляет более 80 °С (τпр ≤ 55 ч), подключение пароперегревателя начинается при температуре среды перед ВЗ 260 - 270 °С, что обеспечивает достаточно эффективную работу встроенных сепараторов. Плавное открытие клапанов на выпаре и дренирование паропроводов от сепараторов и за ВЗ гарантируют надежный температурный режим пароперегревателя и камер котла;
в) при пусках из горячего и близкого к нему состояний (при сохранившемся избыточном давлении в тракте котла до ВЗ) для исключения захолаживания выходных камер котла и паропроводов в качестве второго критерия, определяющего начало подключения пароперегревателя, принимается температура газов в поворотной камере котла, которая должна находиться на уровне около 500 °С при пусках после простоя длительностью до 8 ч и около 400 °С при пусках после простоя большей длительности.
10. Работа встроенных сепараторов организуется с проскоком пара, гарантирующим исключение забросов влаги в пароперегреватель.
Управление сбросом среды из встроенных сепараторов ведется по температуре среды перед ВЗ по единой для пусков из всех тепловых состояний программе, которая должна быть указана в местной инструкции.
11. В том случае, если характеристики естественного остывания стопорных клапанов ЦВД турбины и главных паропроводов близки (разность температуры этих элементов при простое блока не превысила 50 °С), предварительный прогрев главных паропроводов можно проводить сразу до регулирующих клапанов турбины, совмещая его с прогревом ГПЗ и стопорных клапанов, которые открываются при сборке схемы.
Если разность температур стопорных клапанов и главных паропроводов перед пуском блока превышает 50 °С, то первоначально прогрев главных паропроводов проводится при закрытых ГПЗ, которые открываются после повышения температуры свежего пара за пусковыми впрысками до уровня температуры металла стопорных клапанов. Дальнейший прогрев главных паропроводов совмещается с прогревом ГПЗ и стопорных клапанов при закрытых регулирующих клапанах ЦВД турбины.
При пусках блока из холодного состояния предварительный прогрев главных паропроводов до подачи пара в турбину завершается после повышения температуры пара в стопорных клапанах турбины до 250 - 260 °С, при которой обеспечивается превышение над температурой насыщения 50 - 60 °С и исключается попадание в турбину влажного пара.
При пусках из неостывшего и горячего состояний критериями завершения предварительного прогрева всей трассы главных паропроводов до регулирующих клапанов являются:
- прогрев стопорных клапанов до температуры, отличающейся от температуры металла верха ЦВД в зоне паровпуска не более чем на 50 °С;
- догрев главных паропроводов перед ГПЗ до температуры металла верха ЦВД в зоне паровпуска.
По этим условиям температура свежего пара (за пусковым впрыском) перед толчком ротора устанавливается примерно на 100 °С выше температуры металла верха ЦВД в зоне паровпуска, но не выше номинальной. При пусках блока из холодного состояния температура свежего пара перед толчком ротора турбины устанавливается на минимальном по условиям регулирования уровне (около 280 °С).
13. При соответствии тепловой изоляции паропроводов горячего промперегрева требованиям «Временной инструкции по приемке тепловой изоляции энергоблоков из монтажа» (М.: СПО Союзтехэнерго, 1978) температура указанных паропроводов после простоя блока в резерве типичной продолжительности (30 - 35 ч) незначительно отличается от температуры ЦСД турбины в зоне паровпуска1. Это позволяет применять технологию пуска блока из неостывшего состояния без предварительного прогрева системы промперегрева, не опасаясь недопустимого захолаживания ЦСД турбины.
1 Мероприятия, позволяющие обеспечить в эксплуатации требуемую эффективность тепловой изоляции паропроводов, приведены в экспресс-информации серии «Эксплуатация и ремонт оборудования электростанций и сетей», № 16 (313). М.: Информэнерго, 1978 (СПО Союзтехэнерго).
Пуск блока без предварительного прогрева системы промперегрева может проводиться при следующем начальном тепловом состоянии оборудования:
- температура металла концевых участков паропроводов перед ЦСД турбины не менее 100 °С;
- разница температур металла ЦСД турбины в зоне паровпуска и основной трассы паропроводов не более 80 °С.
Места контроля температуры паропроводов указаны в п. 1.7.1 настоящей Типовой инструкции.
При несоблюдении критериев, позволяющих проводить пуск без предварительного прогрева, пуск блока производится с ограниченным предварительным прогревом системы промперегрева, до достижения указанных выше уровней и разностей температуры.
Указанная в графиках-заданиях выдержка на частоте вращения 800 об/мин (около 10 мин) после завершения прогрева системы промперегрева задана для выполнения операций, которые должны предшествовать повышению частоты вращения ротора турбины до 3000 об/мин:
- по повышению вакуума в конденсаторе турбины до значения не менее 798 гПа (600 мм рт. ст.);
- по открытию защитных клапанов ЦСД турбины и закрытию сбросов из паропроводов горячего промперегрева;
- по открытию клапанов Др-4 на выпаре из встроенных сепараторов.
14. В целях обеспечения допустимой скорости прогрева и уровня напряжений в регулирующих клапанах и вторых перепускных трубах ЦВД турбины кроме пониженного вакуума в конденсаторе турбины при пусках блока из холодного и неостывшего состояний и частичного (примерно до 30 % по УП) прикрытия клапанов Др-4 при пусках из неостывшего состояния предусматривается также плавное, за 10 мин, повышение частоты вращения ротора турбины до 800 об/мин с последующей выдержкой не менее 10 мин. Соответственно при пусках блока из неостывшего состояния без предварительного прогрева системы промперегрева полное открытие клапанов на выпаре из встроенных сепараторов производится примерно через 10 мин после повышения частоты вращения ротора турбины до 800 об/мин.
15. При пуске блока из холодного состояния и начальной температуре ЦСД турбины менее 100 °С продолжительность выдержки на 800 об/мин после открытия защитных клапанов определяется прогревом РСД по условиям его хладоломкости.
16. При пусках без предварительного прогрева системы промперегрева во избежание попадания холодного пара из трубопроводов за ПСБУ в паропроводы горячего промперегрева через возможные неплотности обратного клапана задвижки на линиях сброса из паропроводов горячего промперегрева при сборке схемы закрываются. Задвижки открываются после толчка ротора, когда обеспечивается закрытие клапанов обеспаривания системой регулирования турбины.
17. Для ограничения охлаждения деталей паровпуска ЦСД турбины на этапе разворота и скорости их прогрева на холостом ходу и после включения генератора в сеть, кроме условий, сформулированных в п. 12, температура пара перед ЦСД турбины после взятия начальной нагрузки должна превышать начальную температуру металла верха ЦСД в зоне паровпуска на 80 - 100 °С (но не более номинального значения). При пусках из холодного состояния температура пара перед ЦСД турбины к моменту выхода на холостой ход поддерживается на минимальном по условиям регулирования уровне (около 270 °С).
18. Включение системы обогрева фланцевого соединения корпуса ЦСД турбины рекомендуется при начальной температуре фланцев не более 420 °С и производится после синхронизации генератора. Применение системы обогрева фланцевого соединения корпуса ЦВД турбины целесообразно при начальной температуре фланцев до 360 °С; включение системы обогрева при пуске из неостывшего состояния следует производить через 10 - 20 мин после синхронизации генератора, а при пуске из холодного состояния - перед повышением частоты вращения ротора турбины до номинальной.
19. Отключение системы обогрева фланцевых соединений корпусов ЦВД и ЦСД следует производить после окончания нагружения и достижения номинальной температуры свежего пара и пара промперегрева.
20. Нагружение блока производится в два этапа:
- при скользящем давлении свежего пара и полностью открытых четырех регулирующих клапанах турбины - до нагрузки примерно 240 МВт;
- при номинальном давлении свежего пара и последовательном открытии пяти - семи регулирующих клапанов, начиная с нагрузки примерно 240 МВт.
Повышение давления свежего пара до уровня, допускающего открытие ВЗ, происходит в процессе нагружения через байпасы ВЗ (пусковые узлы котла) на первом этапе. Открытие ВЗ предусматривается при нагрузке 180 МВт, что при существующих конструктивных характеристиках клапанов Др-1 обеспечивает достаточный запас (10 - 15 % хода клапанов Др-1) на регулирование давления среды в тракте котла до ВЗ к концу нагружения блока с закрытыми ВЗ. Такая нагрузка (60 % от номинальной) не превышает также разрешенной заводами-изготовителями по условиям прочности внутренних устройств встроенных сепараторов.
Перед открытием ВЗ за счет полного открытия клапанов Др-1 давление перед ВЗ снижается примерно до 22 МПа (220 кгс/см2), что обеспечивает умеренный перепад давления на ВЗ 1,5 - 2,0 МПа (15 - 20 кгс/см2). Предварительно должна быть отключена защита по снижению давления перед ВЗ. Это возможно, поскольку на этом и последующих этапах пуска, равно как и при работе в регулировочном диапазоне нагрузок, для всех типов котлов, установленных в составе дубль-блоков с турбиной К-300-240 ЛМЗ, защита топочных экранов от снижения давления не требуется. После открытия ВЗ нагружение блока до достижения номинального давления перед турбиной производится при неизменном положении регулирующих клапанов турбины.
Последующее нагружение производится при номинальном давлении свежего пара и последовательном открытии остальных регулирующих клапанов турбины.
21. При пусках блока из горячего состояния термонапряженное состояние деталей не лимитирует продолжительность нагружения, и она определяется технологическими условиями и возможностями оперативного персонала.
22. При пусках блока из холодного и неостывшего состояний скорость нагружения турбины определяется по термонапряженному состоянию роторов исходя из обеспечения таких условий их прогрева, при которых на протяжении всего пуска напряжения (или соответствующие им характерные перепады температуры в металле) поддерживаются на допустимом уровне с учетом запаса на эксплуатационные отклонения температуры пара от заданной графиком-заданием ±20 °С.
Момент завершения прогрева определяется нагревом поверхностей расточек обоих роторов, при котором допустим выход на номинальную нагрузку при температуре пара 520 °С. Продолжительность нагружения блока определяется по тому из роторов, который требует наибольшего времени для прогрева.
23. Диапазоны температурных состояний турбины для характерных длительностей простоев блока приняты с учетом разброса характеристик естественного остывания, полученных в результате обобщения эксплуатационных данных.
Время нагружения блока для характерных длительностей простоев принято по минимальной начальной температуре того из цилиндров, ротор которого определяет темп прогрева. Кроме того, в графиках-заданиях при простоях менее 30 ч принят эксплуатационный запас на время нагружения:
- при простое 18 - 30 ч - 10 мин;
- при простое 10 - 16 ч - 20 мин.
При простоях менее 8 ч время нагружения определено исходя из возможностей оперативного персонала.
24. Графики-задания повышения температуры свежего пара (за пусковым впрыском) и пара промперегрева (перед ЦСД турбины) в каждом диапазоне температурных состояний турбины выполнены следующим образом.
24.1. График-задание повышения температур пара, определяющий время нагружения для каждого диапазона, построен исходя из:
- выполнения условий прогрева роторов турбины, указанных в п. 22;
- изменения соотношения температур свежего пара и пара в камере регулирующей ступени по сравнению с нагружением при полностью открытых регулирующих клапанах.
При нагружении блока от 240 до 300 МВт, когда последовательно открываются регулирующие клапаны № 5 - 7 турбины, температура свежего пара поддерживается постоянной на уровне не ниже 520 °С (минимально разрешенном для работы с номинальной нагрузкой), а скорость прогрева РВД при этом определяется только ростом температуры пара в камере регулирующей ступени за счет уменьшения дросселирования в регулирующих клапанах.
24.2. Для более горячих состояний турбины в данном диапазоне графики повышения температур построены эквидистантно графику, указанному в п. 24.1.
25. Прогрев ПТН производится паром от III отбора турбины при частоте вращения ротора ПТН около 1000 об/мин. При пусках блока после простоя длительностью более 55 ч прогрев начинается при нагрузке 100 - 110 МВт. При пусках после простоев меньшей длительности прогрев турбопривода для снятия ограничений по скорости нагружения блока следует начинать на более раннем этапе при нагрузке блока 30 - 40 МВт. Схема для прогрева турбопривода должна собираться одновременно со схемой паропроводов блока.
Перевод питания с ПЭН на ПТН должен проводиться при нагрузке блока около 180 МВт.
26. Температура свежего пара при пусках блока регулируется пусковым впрыском и штатными средствами.
Пусковой впрыск, имеющий широкодиапазонный задатчик на БЩУ, включается при достижении температурой свежего пара значения, необходимого для толчка турбины, и используется на всех этапах пуска блока до повышения температуры пара до номинальной.
Диапазон регулирования пускового впрыска обеспечивается вводом впрыска II, а последнего - вводом впрыска I. При достижении расчетной температуры пара за котлом (до пускового впрыска) и за поверхностью нагрева, контролируемой впрыском I, соответствующие впрыски переводятся на автоматическое управление.
Регуляторы, контролирующие температуру пара в промежуточном сечении тракта котла до впрыска I (топлива или питания), должны включаться в работу в зависимости от местных условий и режима пуска при нагрузке блока 40 - 60 % номинальной.
27. Температура пара промперегрева при пусках блока регулируется паровыми байпасами промежуточного пароперегревателя и штатными средствами. Указания по использованию паровых байпасов ориентированы на выполнение последних вблизи турбины. При другой компоновке паровых байпасов указания о моменте включения их в работу в местных инструкциях должны быть скорректированы.
Паровые байпасы включаются при повышении температуры пара перед ЦСД турбины до требуемой по графику-заданию и используются на всех этапах пуска блока до повышения температуры пара перед турбиной до номинальной.
Для соблюдения этого требования при пусках блока после простоя более 60 ч паровые байпасы следует включать на холостом ходу турбогенератора; при пусках после простоя около 55 ч и менее после взятия начальной нагрузки и лишь при значительных задержках - на холостом ходу.
При повышении температуры пара промперегрева до 520 - 540 °С (при нагрузке более 70 МВт) включаются аварийные впрыски и температура пара непосредственно за ними снижается на 40 - 50 °С. После этого управление аварийными впрысками прекращается до момента полного закрытия паровых байпасов в процессе повышения температуры пара перед ЦСД турбины в соответствии с графиком-заданием; перепад температуры пара на аварийных впрысках с возрастанием нагрузки блока уменьшается соответственно увеличению расхода пара и давления в системе промперегрева. После полного закрытия паровых байпасов дальнейшее повышение температуры пара перед ЦСД турбины производится за счет плавного отключения аварийных впрысков и, при необходимости, нагружения дымососов рециркуляции газов.
Однократное снижение температуры пара перед выходным пакетом промежуточного пароперегревателя позволяет скорректировать статическую зависимость температуры пара промперегрева от нагрузки и обеспечить надежность температурного режима труб как выходного, так и входного пакетов промперегрева (последнего - за счет снижения температуры газов на входе в него при регулировании температуры пара перед ЦСД турбины паровыми байпасами вплоть до номинальной нагрузки.
Температурный режим промежуточного пароперегревателя контролируется по штатным термопарам, измеряющим температуру пара за входным пакетом (до аварийного впрыска) и за котлом. Если в процессе нагружения блока сверх 90 МВт температура пара промперегрева в динамике превысит номинальное значение, нагружение следует приостановить до момента нормализации температурного режима промежуточного пароперегревателя.
На блоках с котлами ЗиО расширение диапазона регулирования температуры пара перед ЦСД турбины паровыми байпасами может быть разрешено только после опытной проверки и согласования ее результатов с заводом. При отсутствии такого разрешения отключение паровых байпасов следует производить при нагрузке блока 90 - 100 МВт и параллельно с этим включать аварийные впрыски. При проведении этих операций нагрузку блока необходимо поддерживать постоянной; в рабочих графиках-заданиях должна быть предусмотрена выдержка для выполнения этих операций.
28. Применение технологии пуска блока из горячего резерва на прямоточном режиме позволяет наиболее быстро восстановить исходную нагрузку блока; номинальная нагрузка может быть достигнута через 65 - 70 мин после включения форсунок (горелок) котла.
Основными особенностями технологии пуска блока из горячего резерва, обеспечивающими уменьшение расхолаживания котла, главных паропроводов и турбины, являются:
- минимальная с учетом требований ПТЭ длительность вентиляции газовоздушного тракта котла перед пуском;
- установление растопочного расхода воды в котел за 1,0 - 1,5 мин непосредственно перед розжигом форсунок с последующим быстрым, за 2 - 3 мин, увеличением расхода топлива до растопочного;
- снижение давления свежего пара перед турбиной перед толчком ротора до 16 - 18 МПа (160 - 180 кгс/см2).
29. В зависимости от применяемой технологии остановы блока подразделяются на следующие группы:
- без расхолаживания оборудования;
- с расхолаживанием турбины;
- с расхолаживанием котла и паропроводов;
- с расхолаживанием тракта котла до ВЗ;
- аварийный.
30. Останов без расхолаживания оборудования производится при выводе блока в резерв, а также для ремонтных работ, не связанных с тепловым состоянием котла, паропроводов и турбины. Технология останова предусматривает разгрузку блока примерно до 150 МВт с последующим погашением котла, быстрой разгрузкой турбины до 90 - 100 МВт и ее отключением. После отключения котла сохраняется давление до ВЗ и выпускается пар из пароперегревателя.
31. Останов с расхолаживанием турбины производится при выводе блока в капитальный ремонт, а также в случаях, когда предполагаются ремонтные работы, требующие остывания турбины. Расхолаживание турбины проводится с глубокой разгрузкой блока и плавным снижением температуры свежего пара до 310 - 320 °С и пара промперегрева примерно до 300 °С. Более глубокое расхолаживание ЦВД турбины (до температуры пара в камере регулирующей ступени около 180 °С) обеспечивается на завершающей стадии путем прикрытия регулирующих клапанов ЦВД (при переводе котла на ПСБУ) с поддержанием постоянного давления перед ними.
Для упрощения операций технология останова ориентирована на изменение на каждом этапе расхолаживания лишь одного из регулируемых параметров (нагрузки, давления, температуры свежего пара, положения регулирующих клапанов ЦВД).
32. Останов с расхолаживанием котла и паропроводов производится при необходимости выполнения ремонтных работ на котле и главных паропроводах, если он не вызван разрывом труб поверхностей нагрева. Расхолаживание производится после отключения турбины медленным выпуском пара из котла, а затем прокачкой через котел воды со сбросом среды через дренаж перед ГПЗ, который должен иметь дистанционное управление с БЩУ.
33. Останов с расхолаживанием тракта котла до ВЗ производится при необходимости выполнения ремонтных работ в топке и на пароводяном тракте до ВЗ. Расхолаживание ведется после отключения турбины выпуском пара и последующей прокачкой воды со сбросом среды из встроенных сепараторов в растопочный расширитель.
34. При аварийном отключении блока защитами или персоналом до установления причины останова производится консервация котла с сохранением давления во всем водопаровом тракте и уплотнение газовоздушного тракта.
После установления причины останова, но не позднее чем через 10 мин после отключения, блок должен готовиться к пуску на прямоточном или сепараторном режиме либо должны быть продолжены операции по выводу оборудования в ремонт.
|
Защита |
Результаты действия защиты |
Включение защиты при пуске блока |
|
Защиты, включаемые автоматически |
||
|
При осевом смещении ротора турбины |
Останов турбины и блока |
При подаче напряжения в цепи технологических защит |
|
При внутренних повреждениях генератора |
Останов блока |
То же |
|
При повышении уровня в любом подогревателе высокого давления до II предела |
-"- |
-"- |
|
При повышении давления перед задвижкой, встроенной в тракт котла |
Останов котла и блока |
-"- |
|
При разрыве труб водяного экономайзера котла |
То же |
-"- |
|
При понижении уровня масла в демпферном бачке системы уплотнений генератора |
Останов турбины и блока |
-"- |
|
При отключении всех масляных насосов системы уплотнений генератора |
То же |
-"- |
|
При прекращении протока охлаждающей воды через статор генератора |
-"- |
После включения генератора в сеть |
|
При понижении давления масла в системе смазки турбины до III предела |
Останов турбины |
При подаче напряжения в цепи технологических защит |
|
Останов блока |
При включении ВПУ или при открытии стопорных клапанов турбины |
|
|
При понижении вакуума в конденсаторе турбины |
Останов турбины и блока |
При достижении заданного значения вакуума |
|
При отключении генератора от сети из-за внешних повреждений |
Останов блока |
При включении генератора в сеть и открытии стопорных клапанов турбины |
|
При понижении давления масла в системе смазки питательного турбонасоса (ПТН) |
Останов питательного турбонасоса |
При подаче напряжения в цепи технологических защит |
|
При осевом смещении ротора приводной турбины насоса |
То же |
То же |
|
При понижении давления воды на стороне всасывания турбонасоса |
Останов питательного турбонасоса |
При подаче напряжения в цепи технологических защит |
|
При осевом смещении ротора турбонасоса |
То же |
То же |
|
При повышении давления на стороне нагнетания (до обратного клапана) ПТН |
-"- |
-"- |
|
При увеличении частоты вращения ротора турбонасоса сверх допустимого значения |
-"- |
-"- |
|
При понижении давления воды на стороне нагнетания (до обратного клапана) питательного турбонасоса |
-"- |
При пуске ПТН и повышении давления масла за насосом регулятором |
|
При понижении давления в системе смазки питательного электронасоса (ПЭН) |
Останов питательного электронасоса |
При подаче напряжения в цепи технологических защит |
|
При осевом смещении ротора ПЭН |
То же |
То же |
|
При понижении давления на стороне всасывания ПЭН |
-"- |
-"- |
|
При понижении давления на стороне нагнетания (до обратного клапана) ПЭН |
-"- |
При включении ПЭН с задержкой на время его разворота |
|
При прекращении протока охлаждающей воды через ротор или статор электродвигателя ПЭН |
-"- |
При подаче напряжения в цепи технологических защит |
|
Защиты, включаемые оперативным персоналом с помощью ключа № 1 (ПЗ-1) |
||
|
При прекращении поступления питательной воды в котел (корпус) |
Останов котла и блока |
После розжига форсунок |
|
При понижении давления среды перед задвижкой, встроенной в тракт котла (корпуса) |
То же |
-"- |
|
При понижении давления газа перед горелками котла (при растопке на газе) |
-"- |
-"- |
|
При понижении давления воздуха, поступающего к горелкам корпуса (при растопке на газе) |
-"- |
-"- |
|
При понижении давления мазута перед горелками котла (при растопке на мазуте) |
Останов котла и блока |
После розжига форсунок |
|
При отключении дымососа |
-"- |
-"- |
|
При отключении дутьевого вентилятора |
-"- |
-"- |
|
При отключении всех регенеративных подогревателей корпуса |
-"- |
-"- |
|
Защиты, включаемые оперативным персоналом с помощью ключа № 2 (ПЗ-2) |
||
|
При отключении вентилятора первичного воздуха |
Останов котла и блока |
При нагрузке корпуса 30 % его номинальной нагрузки |
|
При прекращении расхода пара через промежуточный пароперегреватель котла |
-"- |
При нагрузке корпуса 30 % номинальной |
|
При погасании факела в топке котла |
-"- |
То же |
|
Защиты, включаемые оперативным персоналом с помощью ключа № 3 (ПЗ-3) |
||
|
При понижении температуры свежего пара перед турбиной |
Останов турбины и блока |
После достижения номинальных значений температуры пара в стопорных клапанах турбины |
|
Защита |
Результаты действия защит |
Включение защиты при пуске блока |
|
Защиты, включаемые автоматически |
||
|
При осевом смещении ротора турбины |
Останов турбины и блока |
При подаче напряжения в цепи технологических защит |
|
При внутренних повреждениях генератора |
Останов блока |
То же |
|
При повышении уровня в любом подогревателе высокого давления до II предела |
То же |
-"- |
|
При повышении давления среды перед задвижкой, встроенной в тракт котла |
Останов корпуса котла |
-"- |
|
При повышении температуры свежего пара за котлом |
Останов корпуса котла или перевод на растопочную нагрузку с отключением от турбины |
-"- |
|
При повышении температуры пара промперегрева за котлом |
То же |
-"- |
|
При разрыве труб водяного экономайзера котла |
Останов корпуса котла |
-"- |
|
При понижении уровня масла в демпферном баке системы уплотнений генератора |
Останов блока |
-"- |
|
При отключении всех масляных насосов уплотнений генератора |
-"- |
-"- |
|
При прекращении протока охлаждающей воды через статор генератора |
Останов турбины |
После включения генератора в сеть |
|
При понижении давления масла в системе смазки турбины |
Останов турбины |
При подаче напряжения в цепи технологических защит |
|
Останов блока |
При включении ВПУ или при открытии стопорных клапанов |
|
|
При понижении вакуума в конденсаторе турбины |
Останов турбины и блока |
При достижении заданного значения вакуума |
|
При останове обоих корпусов котла |
Останов блока |
При открытии любой из задвижек ГПЗ-2 или ППГ-2 от первого или второго корпуса котла |
|
При отключении генератора от сети из-за внешних повреждений |
Останов блока или перевод на холостой ход |
При включении генератора в сеть и открытии стопорных клапанов турбины |
|
При отключении турбины |
Останов блока или перевод котлов на растопочную нагрузку |
При включении генератора в сеть |
|
При понижении давления в системе смазки питательного турбонасоса |
Останов питательного турбонасоса |
При подаче напряжения в цепи технологических защит |
|
При осевом смещении ротора приводной турбины насоса |
То же |
То же |
|
При осевом смещении ротора турбонасоса |
-"- |
-"- |
|
При понижении давления на стороне всасывания турбонасоса |
-"- |
-"- |
|
При повышении давления на стороне нагнетания (до обратного клапана турбонасоса) |
-"- |
-"- |
|
При увеличении частоты вращения ротора турбонасоса сверх допустимого значения |
-"- |
-"- |
|
При понижении давления на стороне нагнетания (до обратного клапана) |
-"- |
При пуске ПТН и повышении давления масла за насосом-регулятором |
|
При понижении давления в системе смазки питательного электронасоса (ПЭН) |
Останов питательного электронасоса |
При подаче напряжения в цепи технологических защит |
|
При осевом смещении ротора ПЭН |
То же |
То же |
|
При понижении давления на стороне всасывания ПЭН |
-"- |
-"- |
|
При понижении давления на стороне нагнетания (до обратного клапана ПЭН) |
Останов питательного электронасоса |
После подачи команды включенных ПЭН с задержкой на время его разворота |
|
При прекращении протока охлаждающей воды через статор или ротор электродвигателя ПЭН |
То же |
То же |
|
Защиты, включаемые оперативным персоналом с помощью ключа № 1 (ПЗ-1) |
||
|
При прекращении поступления питательной воды в котел |
Останов корпуса котла |
После розжига форсунок |
|
При понижении давления среды перед задвижкой, встроенной в тракт котла |
Останов корпуса котла |
После розжига форсунок |
|
При понижении давления газа перед горелками котла (при растопке на газе) |
То же |
-"- |
|
При понижении давления воздуха, поступающего к горелкам (при растопке на газе) |
-"- |
-"- |
|
При понижении давления мазута перед горелками котла (при растопке на мазуте) |
-"- |
-"- |
|
При отключении дымососа |
-"- |
-"- |
|
При отключении дутьевого вентилятора |
-"- |
-"- |
|
При отключении всех регенеративных воздухоподогревателей |
-"- |
-"- |
|
Защиты, включаемые оперативным персоналом с помощью ключа № 2 (ПЗ-2) |
||
|
При отключении вентилятора первичного воздуха |
Останов корпуса |
При нагрузке корпуса 30 % номинальной |
|
При прекращении расхода пара через промежуточный пароперегреватель котла. |
-"- |
То же |
|
При погасании факела в топке котла |
-"- |
-"- |
|
Защиты, включаемые оперативным персоналом с помощью ключа № 3 (ПЗ-3) |
||
|
При понижении температуры свежего пара за котлом |
Останов корпуса котла или перевод на растопочную нагрузку |
После достижения номинального значения температуры пара в стопорных клапанах турбины |
|
При понижении температуры свежего пара перед турбиной |
Останов турбины |
То же |
|
Регулятор |
Функции при пуске |
Момент включения припуске |
|
Регуляторы уровня в ПНД |
Поддержание постоянного уровня |
При сборке схемы ПНД |
|
Регуляторы уровня в ПВД |
То же |
При сборке схемы ПВД |
|
Регулятор давления масла в системе уплотнений генератора |
Поддержание постоянного давления масла (прижимного) |
При включении масляных насосов системы уплотнений генератора |
|
Регулятор перепада давления «масло-водород» |
Поддержание постоянного перепада давлений уплотняющего масла и водорода |
То же |
|
Регулятор уровня в конденсаторе турбины |
Поддержание постоянного уровня |
При включении конденсатных насосов II ступени |
|
Регулятор давления конденсата на уплотнения питательных насосов |
Поддержание постоянного давления |
При заполнении питательных насосов водой |
|
Регулятор давления в деаэраторе |
Поддержание заданного давления |
При подаче пара в деаэратор |
|
Регулятор подачи пара на уплотнения турбины |
Поддержание постоянного давления пара |
При подаче пара на уплотнения турбины |
|
Регулятор уровня в деаэраторе |
Поддержание постоянного уровня |
При заполнении деаэратора (после достижения нормального уровня) |
|
Регуляторы давления перед встроенной задвижкой (ВЗ) |
Поддержание постоянного давления |
После установления давления до ВЗ оператором |
|
Растопочные (или основные) регуляторы питания |
Поддержание заданного (оператором) расхода питательной воды |
После установления растопочного расхода питательной воды |
|
Регуляторы разряжения в топках |
Поддержание постоянного разряжения |
При включении тягодутьевых машин |
|
Стабилизатор расхода мазута или газа |
Поддержание расхода топлива в соответствии с заданием |
В соответствии с местными инструкциями |
|
Регуляторы уровней в растопочных расширителях |
Поддержание постоянных уровней |
При установлении нормального уровня в расширителях |
|
Регулятор давления воды в системе впрысков |
Поддержание заданного перепада давлений на линиях впрысков |
Перед включением регуляторов пусковых впрысков |
|
Регуляторы сброса среды из встроенных сепараторов |
Поддержание заданного проскока пара |
После открытия клапанов Др-4 при температуре перед ВЗ около 270 °С |
|
Регуляторы пусковых впрысков свежего пара |
Поддержание заданной температуры свежего пара за пусковыми впрысками |
При достижении заданной для данного вида пуска температуры пара |
|
Регуляторы производительности ПЭН |
Поддержание давления питательной воды в соответствии с нагрузкой турбины |
При нагрузке более 30 % номинальной |
|
Основные регуляторы питания |
Поддержание температуры пара в промежуточных точках трактов |
При достижении расчетных температур в промежуточных точках трактов |
|
Поддержание заданного расхода воды |
При нагрузке 50 - 80 %, либо 30 % номинальной (по местным условиям) |
|
|
Основные регуляторы топлива |
Поддержание заданного расхода топлива |
При нагрузке 40 % номинальной |
|
Поддержание температуры пара в промежуточных точках трактов |
При достижении расчетных значений температур в промежуточных точках трактов и нагрузке 60 % номинальной |
|
|
Регуляторы впрысков I и II |
Поддержание температуры свежего пара |
При достижении расчетных значений регулируемой температуры свежего пара |
|
Регуляторы температуры пара промперегрева |
Поддержание температуры пара промперегрева |
При достижении расчетной температуры пара промперегрева |
|
Регуляторы аварийных впрысков |
То же |
То же |
|
Регулятор производительности ПТН |
В соответствии с выполненной схемой |
После перехода на ПТН |
|
Регулятор давления «до себя» на турбине |
Поддержание давления 24 МПа (240 кг/см2) |
При достижении давления пара 24 МПа (240 кгс/см2) |
|
Регуляторы общего воздуха |
В соответствии с проектной схемой |
По окончании пуска |
|
Регулятор давления в растопочном расширителе |
Поддержание заданного давления в растопочном расширителе |
После повышения давления в растопочном расширителе до 0,2 - 0,3 МПа (2 - 3 кгс/см2) |
|
Регуляторы давления ПСБУ |
Поддержание заданного давления перед турбиной |
После включения генератора в сеть и закрытия ПСБУ |
|
Исходная температура верха корпуса турбины в зоне паровпуска |
Ориентировочная продолжительность простоя блока, ч |
Продолжительность пуска от розжига горелок до толчка ротора турбины, ч-мин |
Параметры пара перед толчком ротора турбины |
Продолжительность повышения частоты вращения ротора турбины3*, ч-мин |
Продолжительность нагружения до 300 МВт, ч-мин |
Параметры пара4* к моменту окончания нагружения до 300 МВт |
Общая продолжительность пуска блока, ч-мин |
||||
|
ЦВД |
ЦСД |
P01* МПа (кгс/см2) |
t0 °С |
tпп2* °С |
t0 °С |
tпп °С |
|||||
|
150 |
100 |
- |
0-455* |
1,6 (16) |
280 |
270 |
0-55 (2-25)6* |
3-30 |
520 |
520 |
5-10 (С момента окончания горячей отмывки) |
|
280 - 180 |
220 - 160 |
60 - 80 |
1-30 |
1,6 (16) |
380 - 280 |
320 - 280 |
0-40 |
3-30 |
520 |
540 |
5-40 (Без горячей отмывки) |
|
340 - 280 |
300 - 220 |
32 - 53 |
2-10 |
1,6 (16) |
440 - 380 |
400 - 320 |
0-40 |
2-30 |
530 |
520 |
5-20 |
|
360 - 320 |
340 - 300 |
18 - 30 |
2-10 |
1,6 (16) |
460 - 420 |
440 - 400 |
0-40 |
2-00 |
530 |
535 |
4-50 |
|
400 - 360 |
400 - 340 |
10 - 16 |
1-35 |
1,6 (16) |
500 - 460 |
500 - 440 |
0-30 |
1-40 |
540 |
540 |
3-45 |
|
Не менее 400 |
Не менее 420 |
2 - 8 |
1-05 |
6 - 7 (60 - 70) |
520 |
520 |
0-15 |
1-30 |
540 |
540 |
2-50 |
|
Не более 1-00 |
0-35 |
18 (180) |
540 |
540 |
0-05 |
0-35 |
540 |
540 |
1-15 (С момента окончания вентиляции корпуса 1) |
||
1* Давление свежего пара за котлом после прикрытия клапанов Др-4.
2* Температура пара в стопорных клапанах ЦСД турбины примерно через 10 мин после включения генератора в сеть.
3* С учетом синхронизации генератора.
4* Температуры даны с учетом эксплуатационного запаса на время нагружения, введенного в графики-задания.
5* Время розжига взято от подфорсировки котла после окончания горячей отмывки.
6* При исходной температуре ЦСД меньше 100 °С.
1 - розжиг горелок (форсунок);
2-21 - открытие клапанов Др-4;
3 - ввод пусковых впрысков в главные паропроводы;
4-41 - прикрытие клапанов Др-4;
5-51 - прогрев паропроводов промперегрева и вторых перепускных труб ЦВД турбины;
6 - повторное открытие Др-4;
7 - открытие стопорных и регулирующих клапанов ЦСД, закрытие сбросных клапанов;
8 - включение байпасов промежуточного пароперегревателя;
9 - включение генератора в сеть, закрытие ПСБУ, полное открытие 4-х регулирующих клапанов турбины;
10 - включение системы обогрева фланцевого соединения корпуса ЦВД;
11 - включение системы обогрева фланцевого соединения корпуса ЦСД;
12 - включение аварийных впрысков промперегревателя;
13 - перевод котла на прямоточный режим;
14 - начало прогрева ПТН;
15 - переход с ПЭН на ПТН;
16 - открытие встроенных задвижек котла;
17 - отключение системы обогрева фланцевого соединения корпуса ЦВД;
18 - отключение системы обогрева фланцевого соединения корпуса ЦСД;
19 - отключение пусковых впрысков в главные паропроводы;
20 - отключение паровых байпасов и аварийных впрысков промежуточного пароперегревателя;
Nэл - электрическая нагрузка;
n - частота вращения ротора турбогенератора;
V - вакуум в конденсаторе;
P0 - давление свежего пара перед турбиной;
Wк - расход воды на поток;
B - расход топлива;
t¢ВЗ - температура среды перед встроенной задвижкой;
t0 - температура свежего пара за пусковым впрыском;
tо.с.к - температура пара в стопорном клапане;
tк.р.с - температура пара в камере регулирующей ступени;
tп.п - температура вторично перегретого пара перед ЦСД;
УПркд - положение регулирующего клапана дренажей паропроводов свежего пара перед ГПЗ.
Рис. 1. Полностью модернизированная типовая пусковая схема дубль-блока 300 МВт с турбиной К-300-240 ЛМЗ:
1 - общестанционная магистраль 1,3 МПа (13 кгс/см2); 2 - от пусковой котельной; 3 - от РУ 4,0/1,3 МПа (40/13 кгс/см2); 4 - на уплотнения турбины; 5 - к мазутным форсункам; 6 - в циркуляционный водовод; 7 - в БГК; 8 - от насосов БЗК
Рис. 2. Частично модернизированная типовая пусковая схема дубль-блока 300 МВт с турбиной К-300-240 ЛМЗ
(Обозначения см. на рис. 1)
Рис. 3. График-задание пуска блока из холодного состояния (температура паровпуска ЦВД 150 °С, температура паровпуска ЦСД 100 °С)
(Обозначения см. в приложении 8)
Примечание. При температуре металла ЦСД в зоне паровпуска менее 100 °С продолжительность работы турбины с частотой вращения ротора 800 об/мин увеличивается на 90 мин.
Рис. 4. График-задание пуска блока из неостывшего состояния (температура паровпуска ЦВД 280 - 180 °С, температура паровпуска ЦСД 220 - 160 °С, продолжительность простоя 60 - 90 ч)
(Обозначения см. в приложении 8)
Примечание. Если проводится водная промывка котла, то операции 1 и 2 проводятся в начале ее
Рис. 5. График-задание пуска блока из неостывшего состояния (температура паровпуска ЦВД 340 - 280 °С, температура паровпуска ЦСД 300 - 320 °С, продолжительность простоя 32 - 55 ч)
(Обозначения см. в приложении 8)
Рис. 6. График-задание пуска блока из неостывшего состояния (температура паровпуска ЦВД 360 - 320 °С, температура паровпуска ЦСД 340 - 300 °С, продолжительность простоя 18 - 30 ч)
(Обозначения см. в приложении 8)
Рис. 7. График-задание пуска блока из неостывшего состояния (температура паровпуска ЦВД 400 - 360 °С, температура паровпуска ЦСД 400 - 340 °С продолжительность простоя 10 - 16 ч)
(Обозначения см. в приложении 8)
Рис. 8. График-задание пуска блока из горячего состояния (температура паровпуска ЦВД ³ 400 °С, температура паровпуска ЦСД ³ 420 °С, продолжительность простоя 2 - 8 ч)
(Обозначения см. в приложении 8)
Рис. 9. График-задание пуска блока из состояния горячего резерва при растопке обоих корпусов котла на прямоточном режиме:
I - начало вентиляции газовоздушного тракта; II - подача воды в котел; III - IV - снижение давления в пароперегревателе котла (Остальные обозначения см. в приложении 8)
Рис. 10. График-задание останова блока с расхолаживанием турбины
(Обозначения см. в приложении 8)
Рис. 11. График-задание расхолаживания котла и паропроводов
(Обозначения см. в приложении 8)