ЕВРАЗИЙСКИЙ СОВЕТ ПО СТАНДАРТИЗАЦИИ,
МЕТРОЛОГИИ И СЕРТИФИКАЦИИ
(ЕАСС)
EURO-AZIAN COUNCIL FOR
STANDARDIZATION,
METROLOGY AND CERTIFICATION
(EASC)
|
|
межгосударственный |
ГОСТ |
ВОРОТА МЕТАЛЛИЧЕСКИЕ
ОБЩИЕ ТЕХНИЧЕСКИЕ УСЛОВИЯ
МЕЖГОСУДАРСТВЕННАЯ НАУЧНО-ТЕХНИЧЕСКАЯ
КОМИССИЯ
ПО СТАНДАРТИЗАЦИИ, ТЕХНИЧЕСКОМУ НОРМИРОВАНИЮ
И СЕРТИФИКАЦИИ В СТРОИТЕЛЬСТВЕ
(МНТКС)
Москва
Предисловие
Евразийский совет по стандартизации, метрологии и сертификации (ЕАСС) представляет собой региональное объединение национальных органов по стандартизации государств, входящих в Содружество Независимых Государств. В дальнейшем возможно вступление в ЕАСС национальных органов по стандартизации других государств.
При ЕАСС действует Межгосударственная научно-техническая комиссия по стандартизации, техническому нормированию и сертификации в области строительства (МНТКС), которой предоставлено право принятия межгосударственных стандартов в области строительства.
Цели, основные принципы и основной порядок проведения работ по межгосударственной стандартизации установлены ГОСТ 1.0-92 «Межгосударственная система стандартизации. Основные положения» и МСН 1.01-01-96 «Система межгосударственных нормативных документов в строительстве. Основные положения».
Сведения о стандарте
1 РАЗРАБОТАН ОАО «ЦНИИПромзданий» и фирмой ООО «DoorHan» с участием Центра по сертификации оконной и дверной техники
2 ВНЕСЕН Госстроем России
3 ПРИНЯТ Межгосударственной научно-технической комиссией по стандартизации, техническому нормированию и сертификации в строительстве (МНТКС) 14 мая 2003 г.
За принятие проголосовали:
|
Краткое наименование страны по МК (ИСО 3166) 004-97 |
Код страны по МК (ИСО 3166) 004-97 |
Сокращенное наименование органа государственного управления строительством |
|
Армения |
AM |
Министерство градостроительства Республики Армения |
|
Казахстан |
KZ |
Казстройкомитет Республики Казахстан |
|
Киргизия |
KG |
Госкомархстрой Кыргызской Республики |
|
Молдова |
MD |
Министерство экологии, строительства и развития территории Республики Молдова |
|
Российская Федерация |
RU |
Госстрой России |
|
Таджикистан |
TJ |
Комархстрой Республики Таджикистан |
|
Узбекистан |
UZ |
Госархитектстрой Республики Узбекистан |
4 ВВЕДЕН ВПЕРВЫЕ
5 ВВЕДЕН В ДЕЙСТВИЕ с 1 марта 2004 г. в качестве государственного стандарта Российской Федерации постановлением Госстроя России от 20 июня 2003 г. № 78
Информация о введении в действие (прекращении действия) настоящего стандарта и изменений к нему на территории указанных выше государств публикуется в указателях национальных (государственных) стандартов, издаваемых в этих государствах.
Информация об изменениях к настоящему стандарту публикуется в указателе (каталоге) «Межгосударственные стандарты», а текст изменений - в информационных указателях «Межгосударственные стандарты». В случае пересмотра или отмены настоящего стандарта соответствующая информация будет опубликована в информационном указателе «Межгосударственные стандарты».
СОДЕРЖАНИЕ
ГОСТ 31174-2003
МЕЖГОСУДАРСТВЕННЫЙ СТАНДАРТ
ВОРОТА МЕТАЛЛИЧЕСКИЕ
Общие технические условия
Gates of metall. General specifications
Дата введения 2004-03-01
Настоящий стандарт распространяется на металлические ворота (воротные системы), устанавливаемые в стеновые проемы зданий и сооружений различного назначения, в том числе гаражей. Допускается распространять требования стандарта на конструкции ворот, используемые в системах ограждений на открытых площадках.
Стандарт не распространяется на лифтовые и шлюзовые ворота, ворота специального назначения в части дополнительных требований к пожаробезопасности, защиты от взлома и др., а также на механизмы автоматического привода ворот.
Область применения конкретных марок изделий устанавливают в зависимости от условий эксплуатации в соответствии с действующими строительными нормами и правилами с учетом требований настоящего стандарта.
Требования к конструкциям устройств безопасности и к безопасной эксплуатации ворот устанавливают в нормативной и технической документации на конкретные типы изделий.
Стандарт может быть применен для целей сертификации.
ГОСТ 9.032-74* ЕСЗКС. Покрытия лакокрасочные. Группы, технические требования и обозначения
Издание официальное
ГОСТ 9.303-84 ЕСЗКС. Покрытия металлические и неметаллические неорганические. Общие требования к выбору
ГОСТ 9.401-91* ЕСЗКС. Покрытия лакокрасочные. Общие требования и методы ускоренных испытаний на стойкость к воздействию климатических факторов
ГОСТ 9.402-80* ЕСЗКС. Покрытия лакокрасочные. Подготовка металлических поверхностей перед окрашиванием
ГОСТ 166-89* Штангенциркули. Технические условия
ГОСТ 427-75* Линейки измерительные металлические. Технические условия
ГОСТ 538-2001 Изделия замочные и скобяные. Общие технические условия
ГОСТ 1759.0-87* Болты, винты, шпильки и гайки. Технические условия
ГОСТ 5089-2003 Замки и защелки для дверей. Технические условия
ГОСТ 5264-80 Ручная дуговая сварка. Соединения сварные. Основные типы. Конструктивные элементы и размеры
ГОСТ 7502-98 Рулетки измерительные металлические. Технические условия
ГОСТ 8242-88 Детали профильные из древесины и древесных материалов для строительства. Технические условия
ГОСТ 8713-79* Сварка под флюсом. Соединения сварные. Основные типы, конструктивные элементы и размеры
ГОСТ 10354-82* Пленка полиэтиленовая. Технические условия
ГОСТ 11533-75* Автоматическая и полуавтоматическая дуговая сварка под флюсом. Соединения сварные под острыми и тупыми углами. Основные типы, конструктивные элементы и размеры
ГОСТ 11534-75* Ручная дуговая сварка. Соединения сварные под острыми и тупыми углами. Основные типы, конструктивные элементы и размеры
ГОСТ 14192-96* Маркировка грузов
ГОСТ 14771-76 Дуговая сварка в защитном газе. Соединения сварные. Основные типы, конструктивные элементы и размеры
ГОСТ 15140-78* Материалы лакокрасочные. Методы определения адгезии
ГОСТ 21778-81 Система обеспечения точности геометрических параметров в строительстве. Основные положения
ГОСТ 21779-82 Система обеспечения точности геометрических параметров в строительстве. Технологические допуски
ГОСТ 21780-83 Система обеспечения точности геометрических параметров в строительстве. Расчет точности
ГОСТ 22233-2001 Профили прессованные из алюминиевых сплавов для светопрозрачных ограждающих конструкций. Технические условия
ГОСТ 23118-99 Конструкции стальные строительные. Общие технические условия
ГОСТ 23518-79 Дуговая сварка в защитных газах. Соединения сварные под острыми и тупыми углами. Основные типы, конструктивные элементы и размеры
ГОСТ 24866-99 Стеклопакеты клееные строительного назначения. Технические условия
ГОСТ 26433.0-85 Система обеспечения точности геометрических параметров в строительстве. Правила выполнения измерений. Общие положения
ГОСТ 26433.1-89 Система обеспечения точности геометрических параметров в строительстве. Правила выполнения измерений. Элементы заводского изготовления
ГОСТ 26602.1-99 Блоки оконные и дверные. Методы определения сопротивления теплопередаче
ГОСТ 26602.3-99 Блоки оконные и дверные. Метод определения звукоизоляции
ГОСТ 26602.5-2001 Блоки оконные и дверные. Методы определения сопротивления ветровой нагрузке
ГОСТ 30698-2000 Стекло закаленное строительное. Технические условия
ГОСТ 30778-2001 Прокладки уплотняющие из эластомерных материалов для оконных и дверных блоков. Технические условия
ГОСТ 30826-2001 Стекло многослойное строительного назначения. Технические условия
ГОСТ 30972-2002 Заготовки и детали деревянные клееные для оконных и дверных блоков. Технические условия
В настоящем стандарте применены следующие термины с соответствующими определениями:
ворота: Подвижная ограждающая конструкция, предназначенная для обеспечения функциональной связи между двумя смежными пространствами (помещениями, территориями).
ворота для зданий (сооружений): Конструкция подвижного ограждения стенового проема, предназначенная для обеспечения транспортных и других функциональных связей между внутренними помещениями и прилегающей территорией (или между собой).
воротная система: Совокупность различных устройств, механизмов, узлов и деталей, конструктивно связанных между собой с целью обеспечения определенных функциональных, архитектурных, эргономических и других задач, включающая в себя подвижное полотно, обладающее возможностью перемещения относительно жестко закрепленных несущих элементов обрамления стенового проема посредством ручного механического или автоматического приводов, а также устройств уравновешивания, безопасности, запирающих приборов, элементов уплотнения.
полотно ворот: Подвижная составляющая часть ворот, имеющая щитовую, секционную или рулонную конструкцию, соединенная с жестко закрепленными несущими элементами обрамления стенового проема (или других ограждающих элементов) посредством шарнирной или скользящей механической связи.
несущие элементы обрамления: Рамные (замкнутые или П-образные), стоечные или балочные, жестко зафиксированные металлопрофильные элементы конструкции ворот, предназначенные для навески (или установки в пазы) подвижных полотен.
дополнительные элементы обрамления: Профильные элементы из стали или других материалов, предназначенные для перекрытия зазоров между полотном и несущими элементами обрамления (в том числе для установки уплотнителей).
щитовое полотно: Полотно, состоящее из единой жесткой рамки, обшитой металлическими листами (листом) с изоляционным заполнением (или без него).
секционное полотно: Полотно, состоящее из нескольких панельных элементов (секций), подвижно соединенных между собой и имеющих возможность перемещения по криволинейным (или прямолинейным) направляющим при открывании-закрывании.
сэндвич-панель: Многослойная (как правило, трехслойная) панель (секция), состоящая из тонколистовых металлических обечаек, механически скрепленных между собой по периметру, с заполнением внутреннего пространства утеплителем.
рулонное роллетное полотно: Полотно, состоящее из малогабаритных планочных деталей (роллет, ламелей), подвижно соединенных между собой и имеющих возможность наматываться (разматываться) на барабан при открывании (закрывании).
устройство уравновешивания: Система противовесов, пружин, тросов, обеспечивающая нахождение полотна в состоянии «безразличного» равновесия в любом положении при его открывании (закрывании).
устройство безопасности: Система механизмов, обеспечивающих безопасную эксплуатацию изделий: исключающая самопроизвольное перемещение или падение полотна (нарушение баланса устройства уравновешивания, обрыва троса, пружины и др.) и защемление пальцев в подвижных соединениях при открывании (закрывании) полотна.
запирающие приборы: Замки, защелки, задвижки и другие устройства, предназначенные для предотвращения несанкционированного прохода через ворота или их самопроизвольного открывания.
рабочий проем ворот: Часть стенового проема (за вычетом элементов обрамления и минимальных зазоров безопасности), ограниченная размерами, обеспечивающими функциональное назначение ворот.
4.1 Ворота классифицируют по следующим признакам:
способам (направлению) открывания;
конструкциям и вариантам исполнения полотна;
месту расположения полотна ворот относительно стенового проема;
сопротивлению теплопередаче полотна;
звукоизоляции;
сопротивлению ветровой нагрузке;
категориям безотказности;
механизму открывания;
специальным характеристикам.
4.2 По способам (направлению) открывания ворота классифицируют на:
распашные;
откатные:
с верхним расположением опорной балки (в том числе с телескопической балкой);
с нижним расположением опорной балки;
секционные;
подъемные:
подъемно-секционные;
подъемно-поворотные;
подъемно-вертикальные;
рулонные роллетные;
складывающиеся.
Распашные и складывающиеся ворота подразделяют на следующие: с открыванием наружу, с открыванием внутрь помещения.
Распашные, откатные и складывающиеся ворота могут быть левого, правого и симметричного открывания.
Схемы открывания ворот приведены на рисунке 1.
4.3 По конструкциям и вариантам исполнения полотна ворота подразделяют на:
- щитовые; рамочные решетчатые; секционные; рулонные (роллетные);
- неутепленные; утепленные;
- глухие; с частичным заполнением полотна (филенками, элементами остекления, профильными деталями, вентиляционными решетками и т.д.);
- с дверью; без двери.
4.4 По месту расположения полотна ворот относительно стенового проема ворота классифицируют:
с расположением полотна снаружи проема;
с расположением полотна внутри помещения;
с расположением полотна в проеме.
А - распашные с щитовыми полотнами; Б - откатные подвесные с верхним расположением опорной балки с щитовым полотном; В - то же, с нижним расположением опорной балки; Г - откатные секционные; Д - подъемно-поворотные с щитовым полотном; Е - подъемно-поворотные с секционным полотном; Ж - подъемные вертикальные с щитовым или секционным полотном; З - рулонные (роллетные); И - складывающиеся
Рисунок 1 - Схемы открывания ворот
4.5 По показателю приведенного сопротивления теплопередаче ворота подразделяют на классы:
А - с сопротивлением теплопередаче свыше 1,0 м2 · °С/Вт;
Б - с сопротивлением теплопередаче 0,70 - 0,99 м2 · °С/Вт;
В - с сопротивлением теплопередаче 0,40 - 0,69 м2 · °С/Вт.
Изделиям с сопротивлением теплопередаче ниже 0,30 м2 · °С/Вт класс не присваивают.
4.6 По показателю звукоизоляции (индекс изоляции воздушного шума Rw, дБ) ворота подразделяют на классы:
А - индекс изоляции воздушного шума св. 20;
Б - » » » » 16-20;
В - » » » » 10-15.
Изделиям с индексом изоляции воздушного шума менее 10 дБ класс не присваивают.
4.7 По показателю сопротивления ветровой нагрузке, Па, ворота подразделяют на классы:
А - свыше 700;
Б - 500 - 699;
В - 300 - 499.
Значение показателя сопротивления ветровой нагрузке 300 Па является минимальным для всех типов наружных ворот.
4.8 По показателю безотказности изделия классифицируют на категории:
1 - св. 50000 циклов открывания-закрывания;
2 - 25000 - 50000 » » »;
3 - 10000 - 24999 » » ».
4.9 Ворота классифицируют по механизму открывания на следующие:
с ручным механическим открыванием;
с автоматическим открыванием посредством электро-, пневмо- или гидропривода.
4.10 Структура условного обозначения ворот должна включать в себя: буквенное обозначение наименования изделия (ВМ - ворота металлические); буквенно-цифровое обозначение конструкции ворот по технической документации завода-изготовителя (артикул); размеры рабочего проема по высоте и ширине, мм; массу полотен; обозначение настоящего стандарта.
Артикул должен содержать исчерпывающую информацию о конструкции ворот согласно технической документации завода-изготовителя, включая классификационные признаки согласно настоящему разделу, наличие калитки, вид отделочных материалов, архитектурный рисунок и другие сведения, характеризующие конструкцию изделия.
Полное содержание артикула должно быть раскрыто в договоре (заказе) и паспорте изделия.
Пример условного обозначения ворот:
ВМ ДН2047.17.03.МЛ 2900×2600-330 ГОСТ 31174-2003 - ворота металлические, артикул ворот по технической документации изготовителя ДН2047.17.03.МЛ, высотой 2900 мм и шириной 2600 мм, массой полотна 330 кг.
Допускается вводить в условное обозначение дополнительную информацию с соответствующим буквенно-цифровым кодом, при условии отражения этого дополнения в технической документации.
5.1.1 Ворота должны соответствовать требованиям настоящего стандарта, стандартов и технических условий (ТУ) на конкретные виды изделий, ГОСТ 23118 и изготавливаться по технической документации, утвержденной руководителем предприятия-изготовителя.
5.1.2 Основные параметры, габаритные размеры, архитектурные рисунки, а также массу полотен ворот устанавливают в рабочей проектной документации или в технической документации изготовителя и в договоре (заказе) на изготовление изделий. Примеры конструкций различных типов ворот и их элементов приведены в приложении А.
5.1.3 Конструктивное решение ворот должно предусматривать безотказный доступ рабочего персонала (владельца) и транспортных средств в ограждаемое помещение (территорию), защиту помещения (территории) от несанкционированного проникновения и составлять единое целое с архитектурной и функциональной принадлежностью объекта, встроенной частью которого является данное изделие.
5.1.4 Изделия должны иметь необходимую точность геометрических параметров и заданный уровень собираемости, обеспечивающий безпроблемную сборку ворот, поставляемых комплектно.
5.1.5 Детали, элементы и узлы конструкции изделий (петли, пружины, тросы и др.) должны быть рассчитаны на нагрузки и условия эксплуатации с учетом массы, размеров и вида открывания ворот для обеспечения достаточной жесткости и прочности изделий согласно действующим строительным нормам и правилам.
5.1.6 Максимальные размеры открывающихся элементов и расчетный прогиб нагруженных (несущих) элементов изделий устанавливают в нормативной и технической документации на конкретные виды изделий с учетом момента сопротивления поперечного сечения деталей, схем открывания, массы открывающихся элементов и расчетных эксплуатационных (в том числе ветровых) нагрузок.
5.1.7 Требования к материалам и комплектующим деталям (изделиям) устанавливают в рабочей проектной или технической документации. Материалы и комплектующие детали, применяемые для изготовления ворот, определяют в рабочей проектной, нормативной и технической документации (далее - НД).
5.1.8 Конструкции полотен ворот и калиток для отапливаемых помещений должны обеспечивать требуемое сопротивление теплопередаче и другие эксплуатационные характеристики, определяемые при проектировании изделий. Конструкция применяемых сэндвич-панелей должна иметь разрыв мостика холода (приложение А, рисунок А.10).
5.1.9 Конструкция наружных ворот и устройство поверхности (в том числе уклон) примыкающей территории должны исключать проникновение дождевой воды во внутренние помещения при расчетных ветровых нагрузках.
5.1.10 Изделия должны быть безопасными при эксплуатации и обслуживании. Условия безопасной эксплуатации изделий должны быть подробно изложены в инструкции по эксплуатации изделий.
Конструкция и крепление элементов, обеспечивающих функционирование и безопасность эксплуатации ворот (торсионных пружин, тросов, пружинных амортизаторов, запирающих приборов и др.), должны позволять производить возможность их замены без нарушения целостности деталей изделия.
5.1.11 Конструкция ворот должна включать в себя механизмы защиты и уравновешивания, рассчитанные на заданную массу, габаритные размеры и траекторию перемещения полотен ворот, а также устройства безопасности от обрывов троса и пружин.
Конструкции всех типов ворот должны иметь в своем составе устройства, ограничивающие перемещение полотен ворот в заданном безопасном диапазоне.
5.1.12 В случае комплектации изделий электрическими механизмами, приборами и устройствами автоматики возможность применения этих комплектующих должна быть подтверждена соответствующей технической документацией, сертификатами соответствия и безопасности в установленном порядке.
При наличии электрических механизмов запирания конструкция ворот должна иметь запирающие устройства, действующие при отсутствии электропривода или электроэнергии.
При комплектации изделий электрическими механизмами, приборами и устройствами автоматики конструкция ворот должна предусматривать площадки и крепежные элементы для их установки.
5.1.13 Изделия, в которых применяются полимерные или синтетические материалы (или полимерные материалы для их изготовления), должны иметь санитарно-эпидемиологическое заключение органов Госсанэпиднадзора, оформленное в установленном порядке.
5.1.14 Применяемость изделий в строительных конструкциях с повышенными (специальными) требованиями к пожароопасности, агрессивности среды и ударопрочности подтверждается заключением (результатами испытаний и сертификатами) компетентных органов, оформленным в установленном порядке.
5.1.15 Требования безопасности и охраны окружающей среды при производстве изделий, а также порядок их контроля должны быть установлены в технической документации на производство изделий в соответствии с действующей НД, строительными нормами и правилами, а также санитарными нормами, методиками и другими документами, утвержденными органами здравоохранения.
5.1.16 Изделия должны быть запроектированы, изготовлены и применены в соответствии с требованиями действующих строительных норм и правил.
5.2.1 Геометрические параметры (а также предельные отклонения от них) элементов, узлов и деталей ворот, функциональных и монтажных отверстий, зазоров в притворах, сварных соединений и основные монтажные размеры должны быть приведены в рабочей проектной документации и конструкторской документации предприятия-изготовителя.
5.2.2 Предельные отклонения от номинальных габаритных размеров полотен изделий не должны превышать ± 5,0 мм.
5.2.3 Рамочные элементы изделий и их детали должны иметь правильную геометрическую форму. Разность длин диагоналей прямоугольных элементов не должна превышать 3 мм при наибольшей длине стороны до 2000 мм и 5 мм - свыше 2000 мм.
5.2.4 Точность геометрических параметров рассчитывают в соответствии с ГОСТ 21778, ГОСТ 21779, ГОСТ 21780 с учетом особенностей конкретных конструкций и технологических условий изготовления и монтажа.
5.2.5 Размеры сварных швов должны соответствовать их рабочим сечениям, установленным в технической документации. Отклонения размеров швов от заданных не должны превышать значений, указанных в ГОСТ 5264, ГОСТ 8713, ГОСТ 11533, ГОСТ 11534, ГОСТ 14771, ГОСТ 23518.
5.2.6 Номинальные диаметры отверстий под болтовые соединения и предельные отклонения от них, установленные в зависимости от способа образования и типа болтового соединения, принимают согласно ГОСТ 23118.
5.3.1 Основные эксплуатационные характеристики ворот приведены в таблице 1.
5.3.2 Подъемно-секционные, подъемно-вертикальные и подъемно-поворотные ворота должны выдерживать ударную нагрузку (рассчитываемую исходя из массы ворот и наибольшей высоты падения), возникающую при падении ворот под собственной массой на предмет достаточной прочности (например, фундаментный бетонный блок) размером 300×300×300 мм, без разрушений.
5.3.3 Конструкции воротных систем должны быть защищены от коррозии способами, устанавливаемыми в проектной документации, при этом в технической документации изготовителя рекомендуется указывать сроки возобновляемости защитных покрытий.
Таблица 1 - Основные эксплуатационные характеристики ворот
|
Значение показателя для ворот вида |
||||||||
|
Распашные |
Откатные |
Подъемно-поворотные |
Подъемно-секционные |
Подъемно-вертикальные |
Складывающиеся |
Откатные секционные |
Рулонные роллетные |
|
|
Сопротивление теплопередаче полотна ворот, м2 · °С/Вт, класс (для ворот отапливаемых помещений)* |
0,4 - 1,2 А, Б, В |
0,4 - 0,8 Б, В |
0,4 - 0,8 Б, В |
0,4 - 0,8 Б, В |
0,4 - 0,8 Б, В |
0,4 - 0,8 Б, В |
0,4 - 0,8 Б, В |
- |
|
Изоляция воздушного шума, дБ, класс* |
До 35, А, Б, В |
До 20, Б, В |
До 20, Б, В |
До 15, В |
До 20, Б, В |
До 15, В |
До 20, Б, В |
До 15, В |
|
Сопротивление статической нагрузке, действующей в плоскости полотна ворот, Н (для изделий с рамочными полотнами) |
2000 |
1500 |
1500 |
- |
2000 |
1500 |
- |
- |
|
Сопротивление ветровой нагрузке, Па, класс (для наружных изделий)* |
Св. 700, А |
До 700, Б, В |
До 700, Б, В |
До 500, В |
До 500, В |
До 500, В |
До 500, В |
До 400, В |
|
Безотказность, количество циклов открывания-закрывания, не менее, категория |
20000, 1, 2, 3 |
20000, 1, 2, 3 |
20000, 1, 2, 3 |
20000, 1, 2, 3 |
20000, 1, 2, 3 |
20000, 1, 2, 3 |
20000, 1, 2, 3 |
20000, 1, 2, 3 |
|
Усилие ручного открывания и закрывания ворот, Н, не более |
100 |
150 |
100 |
150 |
150 |
100 |
150 |
100 |
|
Прочность крепления секций составного полотна ворот (панелей, створок, ламелей) между собой, Н, не менее |
- |
- |
- |
1000 |
- |
1000 |
1000 |
300 |
|
Прочность крепления ручек к полотну, Н, не менее |
1000 |
1000 |
1000 |
1000 |
1000 |
1000 |
1000 |
- |
|
Сопротивление удару мягким телом, Дж, не менее* |
210 |
210 |
210 |
150 |
210 |
150 |
150 |
- |
|
Высота падения тела h, м |
0,7 |
0,7 |
0,7 |
0,5 |
0,7 |
0,5 |
0,5 |
|
|
Масса тела m, кг* |
30 |
30 |
30 |
30 |
30 |
30 |
30 |
|
|
* Показатели применяют для конкретных типов ворот в том случае, если их значения установлены в рабочей проектной, нормативной или технической документации и подтверждены соответствующими испытаниями. |
||||||||
5.3.4 Требования к качеству защитно-декоративного (защитного) покрытия.
Металлические поверхности деталей перед нанесением лакокрасочного и полимерного покрытия должны соответствовать ГОСТ 9.402.
Толщина защитных и защитно-декоративных полимерных покрытий должна быть не менее 30 мкм.
Требования к лакокрасочным покрытиям - по ГОСТ 9.401, обозначение покрытий и показатели внешнего вида - по ГОСТ 9.032.
Требования к адгезии и толщине покрытий устанавливают в НД на конкретные типы изделий.
5.3.5 Сварные швы должны удовлетворять требованиям, контролируемым визуально:
металл шва и граничной зоны не должен иметь трещин, кратеры швов в местах остановки (окончания) сварки должны быть переварены (заварены);
швы должны иметь гладкую или равномерно чешуйчатую поверхность без резких переходов к основному металлу;
швы должны быть плотными по всей длине и не иметь прожогов, сужений, наплавов, непроваров, шлаковых включений и пр.
5.3.6 Временное сопротивление разрыву металла сварного соединения должно быть не ниже требований, предъявляемых к основному металлу.
Характеристики категорий и уровня качества сварных соединений - по ГОСТ 23118.
5.3.7 Внешний вид изделий (цвет, глянец, качество поверхности) должны соответствовать образцам-эталонам, утвержденным руководителем предприятия-изготовителя.
Дефекты поверхности, различимые невооруженным глазом с расстояния 1,5 м при освещении не менее 300 лк, не допускаются.
Лицевые поверхности сэндвич-панелей и алюминиевых профильных элементов полотен должны быть защищены самоклеющейся пленкой, удаляемой после монтажа изделия.
5.4.1 Материалы и комплектующие детали, применяемые для изготовления изделий, должны соответствовать требованиям стандартов, технических условий, технических свидетельств, утвержденных в установленном порядке.
5.4.2 Материалы и комплектующие детали, применяемые для изготовления ворот, должны быть стойкими к климатическим воздействиям.
5.4.3 Резиновые эластомеры и уплотнители, устанавливаемые по периметру ворот и между панельными элементами, должны быть стойкими к климатическим и атмосферным воздействиям и отвечать требованиям ГОСТ 30778.
5.4.4 Барабаны, петли, кронштейны, торсионные пружины, тросы, ролики и другие детали должны иметь сертификаты или другие документы, подтверждающие безопасность их применения при расчетных эксплуатационных нагрузках.
5.4.5 Алюминиевые профильные элементы, применяемые для производства полотен ворот, должны соответствовать требованиям ГОСТ 22333.
5.4.6 Стальные детали конструкций должны иметь марки, обеспечивающие прочностные характеристики конструктивных элементов, сварных, болтовых и других соединений в зависимости от характера и условий их работы.
5.4.7 Деревянные клееные филенки заполнения должны отвечать требованиям ГОСТ 30972, профильные погонажные деревянные детали - ГОСТ 8242.
5.4.8 Для остекления полотен ворот применяют закаленное стекло по ГОСТ 30698, многослойное стекло по ГОСТ 30826, стеклопакеты по ГОСТ 24866, а также стекла из полимерных материалов по НД.
5.4.9 Элементы остекления устанавливают на эластомерных прокладках по ГОСТ 30778, при этом касание кромок стекол металлических поверхностей конструкций не допускается.
5.5.1 При изготовлении изделий применяют запирающие приборы и петли, специально предназначенные для применения в конструкциях ворот.
5.5.2 Тип, расположение и способ крепления запирающих приборов и петель устанавливают в рабочей документации исходя из размера и массы открывающихся элементов изделия, а также условий эксплуатации изделий с учетом требований, устанавливаемых в технической документации.
5.5.3 Запирающие приборы должны обеспечивать надежное запирание открывающихся элементов изделий. Открывание и закрывание должно происходить легко, плавно, без заеданий.
5.5.4 Конструкция и крепление запирающих приборов и петель должны обеспечивать невозможность открытия или демонтажа изделий с наружной стороны.
5.5.5 Запирающие приборы, замки, петли и крепежные детали должны отвечать требованиям ГОСТ 538 и иметь защитно-декоративное (или защитное) покрытие по ГОСТ 9.303.
5.5.6 Замки, применяемые для закрывания ворот, должны соответствовать ГОСТ 5089.
5.5.7 Панели секционных ворот соединяют на неразъемных петлях, которые крепят при помощи самонарезающих винтов или болтового соединения.
5.5.8 Усилие ручного открывания и закрывания, прочность крепления ручек к полотну должны отвечать требованиям таблицы 1.
5.6.1 Комплектация изделий при их поставке потребителю должна соответствовать требованиям, установленным в заказе (договоре) и согласована с потребителем.
5.6.2 Полотна изделий должны иметь установленные уплотнительные прокладки и иметь защитную пленку на лицевых поверхностях.
5.6.3 При поставке изделий неполной заводской готовности ответственность за качество готовых изделий, монтируемых сторонними организациями, устанавливают в договоре на поставку.
5.6.4 В комплект поставки должны входить спецификация деталей, узлов и отправочных элементов комплекта, документ о качестве (паспорт), а также инструкция по эксплуатации изделий. Поставку сборно-разборных изделий сопровождают инструкцией по их сборке.
5.6.5 Входящие в состав изделия замки, запирающие приборы, светопрозрачные элементы и другие комплектующие детали должны сопровождаться технической документацией на эту продукцию, если это предусмотрено условиями договора.
5.6.6 По требованию потребителя изготовитель предоставляет ему типовую инструкцию по монтажу изделий.
Каждое изделие маркируют водостойкой краской или ярлыком (этикеткой) с указанием наименования (товарного знака) предприятия, условного обозначения, даты его изготовления и (или) номера заказа, знака (штампа), подтверждающего приемку изделий техническим контролем. Изделие маркируют, как правило, на одной из сторон полотна. Маркировка должна быть устойчива к атмосферным воздействиям и расположена на видном месте.
Ответственные узлы и изделия воротных систем могут иметь собственную маркировку, определенную в технической документации завода-изготовителя.
6.1 Изделия должны быть приняты техническим контролем предприятия-изготовителя на соответствие требованиям настоящего стандарта, а также условиям, определенным в договоре на изготовление и поставку изделий. Подтверждением приемки изделий техническим контролем предприятия-изготовителя является их маркировка, а также оформление документов о приемке (качестве) изделий.
Изделия принимают партиями или поштучно. При приемке изделий на предприятии-изготовителе за партию принимают число изделий, изготовленных в пределах одной смены и оформленных одним документом о качестве. За объем партии может быть принято число изделий одного конструктивного исполнения, изготавливаемого по одному заказу.
6.2 Требование к качеству продукции, установленные в настоящем стандарте, подтверждают:
входным контролем материалов и комплектующих деталей;
операционным производственным контролем;
приемочным контролем готовых изделий;
контрольными приемосдаточными испытаниями партии изделий, проводимыми службой качества предприятия-изготовителя;
периодическими испытаниями изделий в независимых испытательных центрах;
квалификационными и сертификационными испытаниями.
6.3 Порядок проведения входного контроля и операционного производственного контроля на рабочих местах устанавливают в технологической документации.
6.4 Приемочный контроль качества готовой продукции проводят поэлементно, методом сплошного контроля. При этом проверяют:
внешний вид и качество сварных соединений (отсутствие дефектов, видимых невооруженным глазом) и качество отделки изделий;
комплектацию изделий.
Готовые изделия, прошедшие приемочный контроль, маркируют. Изделия, не прошедшие приемочный контроль хотя бы по одному показателю, бракуют.
показатели, указанные в 6.4;
отклонения от номинальных контролируемых размеров*;
разность длин диагоналей;
расположение и функционирование запирающих приборов;
адгезию лакокрасочных покрытий;
требования к маркировке, упаковке.
* Перечень контролируемых размеров устанавливают в технологической документации.
В случае отрицательного результата испытаний хотя бы по одному показателю, проводят повторную проверку качества изделий на удвоенном числе образцов по показателю, имевшему отрицательный результат испытаний. При повторном обнаружении несоответствия показателя установленным требованиям, контролируемую и последующую партии изделий подвергают сплошному контролю. При положительном результате сплошного контроля возвращаются к установленному порядку контроля.
6.6 Результаты входного, производственного и приемочного контроля, проводимого службой качества предприятия-изготовителя, должны фиксироваться в текущих журналах контроля.
6.7 В том случае, когда изделия поставляются комплектно и монтаж изделий осуществляется силами предприятия-изготовителя, приемку изделий проводят путем сплошного контроля по показателям, приведенным в 6.5. Приемку работы комплектующих узлов и механизмов, не попадающих под действие настоящего стандарта, проводят по технической документации, оформленной в установленном порядке.
Приемку изделий оформляют актом сдачи-приемки работ.
6.8 Испытания по эксплуатационным показателям, указанным в таблице 1 и 5.3.2, проводят при внесении изменений в конструкцию изделий или технологию их изготовления, но не реже одного раза в пять лет. Испытания проводят в испытательных центрах, аккредитованных на право их проведения.
6.9 При постановке продукции на производство качество изделий подтверждают квалификационными испытаниями по всем требованиям настоящего стандарта. В обоснованных случаях допускается совмещать проведение квалификационных и периодических испытаний.
6.10 Потребитель имеет право проводить контрольную проверку качества изделий, соблюдая при этом приведенный порядок отбора образцов и методы испытаний, указанные в настоящем стандарте.
6.11 При приемке изделий потребителем партией считают число изделий, отгружаемое по конкретному заказу.
6.12 При приемке изделий потребителем рекомендуется использовать план одноступенчатого контроля качества изделий, установленный в таблице 2.
Таблица 2
|
Объем выборки, шт. |
Приемочное число |
||
|
Малозначительные дефекты |
Критические и значительные дефекты |
||
|
От 1 до 12 |
Сплошной контроль |
3 |
0 |
|
13 - 24 |
5 |
3 |
0 |
|
25 и более |
8 |
4 |
1 |
|
Примечание - К значительным и критическим дефектам относят дефекты, неустранимые без замены части изделия, разукомплектованность изделий и т.д. К малозначительным дефектам относят устранимые дефекты, не влияющие на функциональные характеристики изделий. |
|||
6.13 Каждая партия изделий должна сопровождаться документом о качестве (паспортом), в котором указывают:
наименование и адрес предприятия-изготовителя или его товарный знак;
условное обозначение изделия;
информацию о сертификации изделий;
номер партии (заказа);
количество изделий в партии (шт.);
спецификацию комплектующих деталей;
дату отгрузки.
Документ о качестве должен иметь знак (штамп), подтверждающий приемку партии изделий техническим контролем предприятия-изготовителя. Рекомендуется в документе о качестве указывать основные технические характеристики изделий и гарантийные обязательства.
6.14 По договоренности сторон приемка изделий потребителем может производиться на складе изготовителя, на складе потребителя или в ином, оговоренном в договоре на поставку, месте.
6.15 Приемка изделий потребителем не освобождает изготовителя от ответственности при обнаружении скрытых дефектов, приведших к нарушению эксплуатационных характеристик изделий в течение гарантийного срока.
7.1.1 Геометрические размеры изделий определяют с использованием методов, установленных в ГОСТ 26433.0 и ГОСТ 26433.1.
Предельные отклонения номинальных размеров изделий и их элементов, разность длин диагоналей и другие размеры определяют при помощи металлической измерительной рулетки по ГОСТ 7502, штангенциркуля по ГОСТ 166, щупов по НД.
7.1.2 Внешний вид, качество сварных швов, цвет и качество отделки изделий оценивают визуально путем сравнения с образцами-эталонами, утвержденными в установленном порядке. Дефекты поверхности, различимые невооруженным глазом с расстояния 1,5 м при естественном освещении не менее 300 лк, не допускаются.
7.1.3 Адгезию (прочность сцепления лакокрасочных покрытий с поверхностью металла) определяют методом решетчатых надрезов по ГОСТ 15140.
7.1.4 Плотность прилегания и правильность установки уплотнителей, запирающих приборов, крепежных и других деталей, маркировку и упаковку проверяют визуально.
7.1.5 Работу петель проверяют пятиразовым открыванием-закрыванием полотна ворот. В случае обнаружения отклонений в работе приборов производят их наладку и повторную проверку.
7.2.1 Испытания по показателям, указанным в таблице 1 (безотказность, прочность крепления ручек, прочность крепления секций составного полотна, усилие открывания-закрывания ворот, сопротивление удару мягким телом, сопротивление статической нагрузке, действующей в плоскости полотна ворот), а также в 5.3.2, проводят по методикам, утвержденным в установленном порядке.
7.2.2 Сопротивление теплопередаче определяют по ГОСТ 26602.1.
7.2.3 Изоляцию ударного шума определяют по ГОСТ 26602.3
7.2.4 Сопротивление ветровой нагрузке определяют по ГОСТ 26602.5.
7.3 Методы контроля качества сварных соединений (5.3.6) устанавливают в технической документации изготовителя.
7.4 Методы испытаний при входном контроле качества материалов и комплектующих изделий устанавливают в технологической документации в соответствии с требованиями НД на эти материалы и детали.
7.5 Методы испытаний при проведении производственного операционного контроля устанавливают в технологической документации с учетом требований настоящего стандарта.
8.1 Упаковка изделий должна обеспечивать их сохранность при хранении, погрузочно-разгрузочных работах и транспортировании.
8.2 Рекомендуется упаковывать изделия и комплектующие детали в полиэтиленовую пленку по ГОСТ 10354 или в другой упаковочный материал, обеспечивающий их сохранность.
8.3 Открывающиеся части изделий перед упаковкой и транспортированием должны быть закрыты на все запорные приборы.
8.4 Членение конструкции на отправочные элементы должно производиться с учетом возможностей подъемно-транспортного оборудования и условий транспортирования. При необходимости отправочный элемент должен иметь детали для строповки и быть укомплектован сборочными деталями для закрепления в проектном положении.
8.5 Изделия транспортируют всеми видами транспорта в соответствии с правилами перевозки грузов, действующими на данном виде транспорта. Для перевозки изделий рекомендуется применение контейнеров. В случае безконтейнерного транспортирования изделия упаковывают в пакеты, пачки или раскрепляют на поддонах согласно схемам, установленным в технической документации. Маркировка грузов - по ГОСТ 14192.
8.6 При хранении и транспортировании изделий должно быть обеспечено их предохранение от механических повреждений и воздействия атмосферных осадков.
8.7 При хранении и транспортировании изделий не рекомендуется ставить их друг на друга, между изделиями рекомендуется устанавливать прокладки из эластичных материалов.
8.8 Полотна, сборочные узлы, профильные детали хранят на деревянных подкладках, поддонах в крытых помещениях.
8.9 Требования к упаковке, хранению и транспортировке конкретных отгрузочных комплектов устанавливают в технической документации предприятия-изготовителя с учетом требований ГОСТ 23118.
9.1 Требования к монтажу изделий устанавливают в рабочей проектной документации на объекты строительства, а также в типовой инструкции по монтажу, утвержденной руководителем предприятия-изготовителя.
9.2 Монтаж изделий должен осуществляться специализированными строительными фирмами или монтажными бригадами предприятия-изготовителя ворот согласно инструкции по монтажу конкретных видов ворот, утвержденной руководителем предприятия-изготовителя. Окончание монтажных работ должно подтверждаться актом сдачи-приемки, включающим в себя гарантийные обязательства производителя работ.
9.3 Типовая инструкция по монтажу ворот должна включать:
чертежи (схемы) типовых монтажных узлов;
перечень применяемых материалов и деталей (в том числе крепежных);
последовательность и содержание технологических операций по монтажу ворот (включая строительные работы);
правила техники безопасности при проведении монтажных и строительных работ.
9.4 При монтаже ворот рекомендуется использовать болтовые бессварные соединения.
9.5 Провисание полотна сдвижных и распашных ворот и калитки должно быть не более 1/250 ширины проема.
10.1 Предприятие-изготовитель гарантирует соответствие изделий требованиям настоящего стандарта при условии соблюдения потребителем правил транспортировки, хранения, монтажа, эксплуатации, а также области применения, установленных в нормативной и проектной документации.
10.2 Гарантийный срок ворот оговаривают в договоре на поставку и паспорте изделия.

1 - несущие элементы обрамления проема; 2 - щитовое полотно; 3 - нащельник притвора с уплотнительной прокладкой; 4 - замок; 5 - ручка; 6 - задвижка; 7 - петля; 8 - металлический профиль рамки (каркаса) полотна; 9 - заполнение полотна (сэндвич-панель)
Рисунок А.1 - Пример конструкции распашных ворот с утепленным щитовым полотном

1 - щитовое полотно; 2 - элементы обрамления проема; 3 - ручка; 4 - запирающее устройство; 5 - нижняя опорная балка; 6 - привод; 7 - силовая (несущая) рама; 8 - роликовые опоры
Рисунок А.2 - Пример конструкции откатных ворот с нижней опорной балкой

1 - элементы обрамления стенового проема; 2 - направляющие профили; 3 - устройства безопасности ворот; 4 - поворотно-уравновешивающая система; 5 - запирающие устройства; 6 - полотно ворот; 7 - уплотнитель
Рисунок А.3 - Пример конструкции подъемно-поворотных ворот

1 - полотно ворот; 2 - система уравновешивания полотна; 3 - уплотнитель; 4 - элементы обрамления проема; 5 - привод; 6 - направляющие профили; 7 - задвижка; 8 - ручка; 9 - запирающее устройство
Рисунок А.4 - Пример конструкции подъемно-секционных ворот

Рисунок А.5 - Схемы вариантов подъемов подъемно-секционных ворот

1 - полотно ворот; 2 - направляющие профили; 3 - система уравновешивания полотна; 4 - привод; 5 - задвижка; 6 - уплотнители; 7 - ручка
Рисунок А.6 - Пример конструкции подъемно-вертикальных ворот

1 - створки полотна ворот; 2 - элементы обрамления проема; 3 - направляющие профили; 4 - роликовое устройство перемещения; 5 - петли; 6 - запирающие устройства и замок; 7 - ручки; 8 - уплотнитель
Рисунок А.7 - Пример конструкции складывающихся ворот

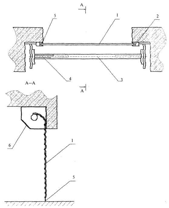
1 - полотно ворот; 2 - направляющий профиль; 3 - устройство намотки полотна; 4 - привод; 5 - уплотнитель; 6 - защитный короб
Рисунок А.8 - Пример конструкции рулонных роллетных ворот

Рисунок А.9 - Варианты расположения полотна относительно проема (на примере рулонных роллетных ворот)

Рисунок А.10 - Примеры конструкции сэндвич-панелей с терморазъемом
Настоящий стандарт разработан рабочей группой специалистов в составе:
Ханин А.Д., ООО «DoorHan»;
Ханин С.А., ООО «DoorHan»;
Стешин Д.Б., ООО «DoorHan»;
Александров Ю.П., ОАО «ЦНИИПромзданий»;
Власова Т.В., Центр по сертификации оконной и дверной техники;
Шведов Д.Н., Центр по сертификации оконной и дверной техники;
Кияшко Б.Н., ЦПКТБ Госстроя России;
Ивашкевич В.Е., ОАО «ВНИИДМАШ»;
Могутов В.А., НИИСФ РААСН;
Тихомирнов С.И., НИУПЦ «МИО»;
Савич B.C., ФГУП ЦНС Госстроя России;
Мильков В.Г., ФГУП ФЦС;
Шведов Н.В., Госстрой России.