МИНИСТЕРСТВО ЭНЕРГЕТИКИ И ЭЛЕКТРИФИКАЦИИ СССР

ГЛАВНОЕ НАУЧНО-ТЕХНИЧЕСКОЕ УПРАВЛЕНИЕ
ЭНЕРГЕТИКИ И ЭЛЕКТРИФИКАЦИИ

 

МЕТОДИЧЕСКИЕ УКАЗАНИЯ
ПО РАСЧЕТУ И ПРОЕКТИРОВАНИЮ
СИСТЕМ СОЛНЕЧНОГО ТЕПЛОСНАБЖЕНИЯ

 

РД 34.20.115-89

 

 

СЛУЖБА ПЕРЕДОВОГО ОПЫТА ПО «СОЮЗТЕХЭНЕРГО»

Москва 1990

 

РАЗРАБОТАНО Государственным ордена Трудового Красного Знамени научно-исследовательским энергетическим институтом им. Г.М. Кржижановского

ИСПОЛНИТЕЛИ М.Н. ЕГАЙ, О.М. КОРШУНОВ, А.С. ЛЕОНОВИЧ, В.В. НУШТАЙКИН, В.К. РЫБАЛКО, Б.В. ТАРНИЖЕВСКИЙ, В.Г. БУЛЫЧЕВ

УТВЕРЖДЕНО Главным научно-техническим управлением энергетики и электрификации 07.12.89 г.

Начальник В.И. ГОРИЙ

 

МЕТОДИЧЕСКИЕ УКАЗАНИЯ ПО РАСЧЕТУ И ПРОЕКТИРОВАНИЮ СИСТЕМ СОЛНЕЧНОГО ТЕПЛОСНАБЖЕНИЯ

РД 34.20.115-39

Срок действия устанавливается

с 01.01.90

до 01.01.92

Настоящие Методические указания устанавливают порядок выполнения расчета и содержат рекомендации по проектированию систем солнечного теплоснабжения жилых, общественных и промышленных зданий и сооружений.

Методические указания предназначены для проектировщиков и инженерно-технических работников, занимающихся разработкой систем солнечного теплоснабжения и горячего водоснабжения.

1. ОБЩИЕ ПОЛОЖЕНИЯ

1.1. Методические указания распространяются на активные системы солнечного теплоснабжения (ССТ) с плоскими солнечными коллекторами, принудительной циркуляцией жидкого теплоносителя в теплоприемном контуре и предусматривают использование трехконтурной системы для покрытия нагрузок круглогодичного теплоснабжения и двухконтурной - для горячего водоснабжения (ГВС). Терминология по солнечному теплоснабжению приведена в приложении 1.

1.2. Данная методика используется при расчете ССТ для населенных пунктов, расположенных южнее 53° северной широты и от 22,5 до 84° восточной долготы.

1.3. Целесообразность и эффективность применения ССТ зависит от доли тепловой нагрузки (коэффициента замещения), обеспечиваемой за счет солнечной энергии f, и в каждом конкретном случае определяется технико-экономическим расчетом.

1.4. Методика расчета удельной теплопроизводительности, отнесенной к единице площади поверхности солнечных коллекторов (СК), базируется на среднегодовых долгосрочных данных суммарной солнечной радиации, приходящей на горизонтальную поверхность, и теплотехнических характеристиках солнечных коллекторов, приведенных в приложении 2.

1.5. Расчет годовой удельной теплопроизводительности ССТ производится при следующих условиях:

удельный расход антифриза в теплоприемном контуре g равен 50 кг/(м2 · ч);

эффективность водяного теплообменника ε1 равна 0,7;

удельная вместимость бака-аккумулятора (БА) Va, приходящаяся на 1 м2 площади поверхности СК, равна 75 л/м2;

эффективность водовоздушного теплообменника ε2 удовлетворяет условию ε2СminV ³ 2, где Сmin меньший из водяных эквивалентов водовоздушного теплообменника;

удельная суточная нагрузка ГВС равна 517 Вт · ч/м2;

разность температур горячей tг и холодной воды tх равна 40 °С.

1.6. Тепловой расчет ССТ служит основой для расчетов гидродинамических и конструктивных параметров.

1.7. Выбор и расчет ССТ, площади поверхности СК, их типа, бака-аккумулятора рекомендуется осуществлять с учетом следующих основных факторов:

потерь теплоты в окружающую среду;

гидравлических сопротивлений по потокам теплоносителей;

габаритных размеров;

массы и металлоемкости;

экологии окружающей среды;

ремонтоспособности;

технологичности узлов;

соответствия требованиям действующих стандартов.

1.8. Исходные данные для расчетов должны входить в техническое задание на проектирование ССТ. Разработка, порядок согласования и утверждение технического задания регламентируются ГОСТ 15.001-73*. Техническое задание на разработку ССТ должно содержать:

местонахождение объекта, на котором устанавливается система теплоснабжения (населенный пункт), географическая широта;

тип дублирующего источника, его КПД и стоимость вырабатываемой теплоты;

тепловую нагрузку по месяцам, приходящуюся на отопление и ГВС;

теплотехнические (λ, К) и габаритные показатели здания (V, S);

температуру горячей воды;

температуру питательной (холодной) воды.

1.9. Критерием для выбора оптимальной доли тепловой нагрузки, обеспечиваемой ССТ, является минимум приведенных затрат.

2. ОСНОВНОЕ ОБОРУДОВАНИЕ СИСТЕМЫ СОЛНЕЧНОГО ТЕПЛОСНАБЖЕНИЯ

2.1. Для установок солнечного теплоснабжения следует применять солнечные коллекторы с одинарным или двойным остеклением. Технические характеристики солнечных коллекторов, выпускаемых в СССР, приведены в приложении 3.

2.2. В установках солнечного теплоснабжения следует использовать водяные насосы, применяемые в системах отопления и горячего водоснабжения зданий.

При использовании в теплоприемном контуре антифриза целесообразно применять насосы типов ЦВЦ, ВС, ВКО и ХО.

2.3. При установке насосов в жилых домах следует применять малошумные насосы или принимать меры к снижению шума и вибрации до норм, допустимых СНиП 11.12.77.

2.4. В качестве теплообменников для ССТ рекомендуется применять водоводяные подогреватели для тепловых сетей, выпускаемые по ТУ 400-28-429-82Е, и скоростные теплообменники типа ТТ, разработанные ВНИИнефтемаш Минхиммаш СССР.

Технические характеристики проточных теплообменников типа ТТ приведены в приложении 4.

2.5. В системе солнечного теплоснабжения рекомендуется применять воздушно-отопительные агрегаты А02-10-02УЗ, А0Д2-10-02УЗ, АСУ2-10-02УЗ по ТУ 36-2552-82, калориферы стальные пластинчатые КВСБ-ПУЗ, КВББ-ПУЗ и калориферы биметаллические со спиральнонакатным оребрением КСк3-01ХЛЗА и КСк3-02ХЛЗА.

3. РАСЧЕТЫ СИСТЕМ СОЛНЕЧНОГО ТЕПЛОСНАБЖЕНИЯ И ГОРЯЧЕГО ВОДОСНАБЖЕНИЯ

3.1. Общие положения

3.1.1. При расчете ССТ и горячего водоснабжения учитывается круглогодичность их работы.

3.1.2. Теплопроизводительность ССТ за годичный период ее эксплуатации (Qс) определяется по уравнению

Qс = fQ,                                                            (3.1)

где f - доля полной среднегодовой тепловой нагрузки, обеспечиваемой за счет солнечной энергии;

Q - полная годовая нагрузка теплоснабжения, кВт·ч.

3.1.3. Удельная годовая теплопроизводительность ССТ определяется по формуле

q = Qс/F,                                                           (3.2)

где F - площадь поверхности СК, м2.

3.1.4. Удельная годовая теплопроизводительность q является функцией следующих параметров:

географической и климатических характеристик (φ, Н, tнв);

характеристик солнечного коллектора (UL, (τα), Fr, ε);

режимных параметров (tг, tх, g);

параметров системы (ε1, Va, f).

3.1.5. Характеристики солнечных коллекторов различных конструкций обобщены в трех типах - I, II, III, которые используются при нахождении удельной годовой теплопроизводительности ССТ q, и приведены в приложении 1.

3.1.6. Для ССТ рекомендуется применять одностекольный селективный коллектор (тип II) и двухстекольный неселективный коллектор (тип III). Для систем ГВС - одностекольные коллекторы (типов I, II).

3.2. Принципиальные схемы систем солнечного теплоснабжения

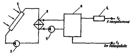
3.2.1. Принципиальная схема системы солнечного теплоснабжения приведена на рис. 1 и предусматривает работу установки в режимах:

Рис. 1. Принципиальная схема системы солнечного теплоснабжения

отопления и горячего водоснабжения;

горячего водоснабжения.

Система ССТ включает три контура циркуляции:

первый контур, состоящий из солнечных коллекторов 1, циркуляционного насоса 8 и жидкостного теплообменника 3;

второй контур, состоящий из бака-аккумулятора 2, циркуляционного насоса 8 и теплообменника 3;

третий контур, состоящий из бака-аккумулятора 2, циркуляционного насоса 8, водовоздушного теплообменника (калорифера) 5.

Функционирует ССТ следующим образом. Теплоноситель (антифриз) теплоприемного контура, нагреваясь в солнечных коллекторах 1, поступает в теплообменник 3, где теплота антифриза передается воде, циркулирующей в межтрубном пространстве теплообменника 3 под действием насоса 8 второго контура. Нагретая вода поступает в бак-аккумулятор 2.

Из бака-аккумулятора вода забирается насосом ГВС 8, доводится при необходимости до требуемой температуры в дублере 7 и поступает в систему ГВС здания. Подпитка бака-аккумулятора осуществляется из водопровода.

Для отопления вода из бака-аккумулятора 2 подается насосом третьего контура 8 в калорифер 5, через который с помощью вентилятора 9 пропускается воздух и, нагревшись, поступает в здание 4.

В случае отсутствия солнечной радиации или нехватки тепловой энергии, вырабатываемой солнечными коллекторами, в работу включается дублер 6.

3.2.2. Принципиальная схема системы ГВС приведена на рис. 2.

Работа СГВС осуществляется следующим обрезом. Циркуляционный насос 5 прокачивает теплоноситель через солнечные коллекторы 1, где он, нагреваясь, отдает в теплообменнике 2 теплоту воде второго контура. Второй контур образован теплообменником 2, баком-аккумулятором 3 и насосом 5, соединенными между собой трубопроводом. Вода из бака-аккумулятора 3 через дублер 4 поступает в систему горячей воды здания. Холодная вода для подпитки поступает в нижнюю часть БА из водопровода.

Рис. 2. Принципиальная схема системы солнечного горячего водоснабжения

3.3. Расчет системы солнечного теплоснабжения

3.3.1. Основным параметром ССТ является годовая удельная теплопроизводительность, определяемая из уравнения

q = а + b·(Н - 1000), кВт · ч/м2,                                            (3.3)

где Н - среднегодовая суммарная солнечная радиация на горизонтальную поверхность, кВт · ч/м2; находится из приложения 5;

а, b - параметры, определяемые из уравнения (3.4) и (3.5)

a = (α1 + α2r + α3r2) + (α4 + α5r + α6r2)f + (α7 + α8r + α9r2)f2;                            (3.4)

b = (β1 + β2r + β3r2) + (β4 + β5r + β6r2)f + (β7 + β8r + β9r2)f2;                           (3.5)

где r - характеристика теплоизолирующих свойств ограждающих конструкций здания при фиксированном значении нагрузки ГВС, представляет собой отношение суточной нагрузки отопления при температуре наружного воздуха равной 0 °С к суточной нагрузке ГВС. Чем больше r, тем больше доля отопительной нагрузки по сравнению с долей нагрузки ГВС и тем менее совершенной является конструкция здания с точки зрения тепловых потерь; r = 0 принимается при расчете только системы ГВС. Характеристика определяется по формуле

r = (λm + вCpв)Vtв/ls,                                                 (3.6)

где λ - удельные тепловые потери здания, Вт/(м3 · °С);

m - количество часов в сутках;

k - кратность вентиляционного обмена воздуха, 1/сут;

ρв - плотность воздуха при 0 °С, кг/м3;

Cpв - теплоемкость воздуха при 0 °С и постоянном давлении, Вт · ч/(кг · °С);

V - объем здания, м3;

tв - температура воздуха внутри здания, °С;

l - суточная нагрузка ГВС, равная 517 Вт · ч/м2;

s - жилая площадь здания, м2;

α1 ... α9; β1 .... β9 - коэффициенты, находятся из табл. 3.1 и 3.2;

f - коэффициент замещения, ориентировочно принимается от 0,2 до 0,4.

Уравнение (3.3) применимо при использовании схемы, приведенной на рис. 1.

Значения λ, k, V, tв, s закладываются при проектировании ССТ.

Значения коэффициента α для солнечных коллекторов II и III типов

Таблица 3.1

Тип коллектора

Значения коэффициентов

α1

α2

α3

α4

α5

α6

α7

α8

α9

II

607,0

-80,0

-3,0

-1340,0

437,5

22,5

1900,0

-1125,0

25,0

III

298,0

148,5

-61,5

150,0

1112,0

337,5

-700,0

1725,0

-775,0

Таблица 3.2

Значения коэффициента β для солнечных коллекторов II и III типов

Тип коллектора

Значения коэффициентов

β1

β2

β3

β4

β5

β6

β7

β8

β9

II

1,177

-0,496

0,140

-2,6

3,6

-0,995

3,350

-5,05

1,400

III

1,062

-0,434

0,158

-2,465

2,958

-1,088

3,550

-4,475

1,775

Уравнение (3.3) применимо при значениях:

1050 £ Н £ 1900;     1 £ r £ 3;    0,2 £ f £ 0,4.

3.3.2. Общая площадь поверхности солнечных коллекторов находится по формуле

F = Qf/q, м2.                                                            (3.7)

3.4. Расчет системы солнечного горячего водоснабжения (СГВС)

3.4.1. Удельная годовая теплопроизводительность СГВС (схема на рис. 2) определяется по формуле

q = а + b(H - 1050), кВт · ч/м2                                          (3.8)

Значения коэффициентов а и b находятся из табл. 3.3.

Таблица 3.3

Значения коэффициентов а и b в зависимости от типа солнечного коллектора

Тип коллектора

Значения коэффициентов

a

b

I

235

0,75

II

355

0,80

Уравнение (3.8) справедливо при f = 0,5 и 1050 £ Н £ 1900.

3.4.2. При других значениях коэффициента замещения f для рассматриваемых типов коллекторов I и II значение удельной годовой теплопроизводительности q должно быть увеличено (уменьшено) в соответствии с данными табл. 3.4 и определяется по формуле

qi = q(1 + Δq/100) , кВт · ч/м2,                                            (3.9)

где qi - удельная годовая теплопроизводительность СГВС при значениях f, отличных от 0,5;

Δq - изменение годовой удельной теплопроизводительности СГВС, %.

Таблица 3.4

Изменение значения удельной годовой теплопроизводительности Δq от годового поступления солнечной радиации на горизонтальную поверхность H и коэффициента f

Значения H, кВт · ч/м2

Значения Δq, % при

f = 0,3

f = 0,4

f = 0,5

f = 0,6

Менее 1500

+17

+9

0

-10

Более 1500

+10

+5

0

-6

Значение f больше 0,6 достигается при H ³ 1700.

3.4.3. Общая площадь поверхности солнечных коллекторов СГВС определяется по формуле

F = Qf/q, м2.                                                         (3.10)

4. РЕКОМЕНДАЦИИ ПО ПРОЕКТИРОВАНИЮ СИСТЕМ СОЛНЕЧНОГО ТЕПЛОСНАБЖЕНИЯ

4.1. Размещение солнечных коллекторов производится на кровле зданий или площадках с учетом ландшафта и застройки местности.

4.2. При проектировании установки теплоснабжения следует произвести расчет опорных конструкций с учетом ветровой и снеговой нагрузок, а при необходимости - с учетом сейсмических воздействий.

4.3. Оптимальная ориентация солнечных коллекторов - южная. Отклонение от южной ориентации на восток до 15° ведет к уменьшению прихода солнечной радиации на 5 %, а на запад до 30° - на 10 %.

4.4. Угол наклона солнечных коллекторов к горизонту при круглогодичной работе установки должен приниматься равным широте местности для солнечного ГВС и φ + 15° для ССТ.

4.5. Расстояние между рядами солнечных коллекторов по горизонтали рассматривается из условия незатенения по наименьшему значению высоты солнца над горизонтом, приведенной в приложении 6, в зависимости от географической широты местонахождения объекта.

4.6. Для обеспечения высокой эффективности солнечных коллекторов и выбора циркуляционного насоса производится гидравлический расчет по общепринятой методике. Сопротивление солнечного коллектора при расходе 50 кг/(м2 · ч) не превышает 500 Па.

4.7. Для равномерного распределения потока теплоносителя в системах солнечные коллекторы соединяются в последовательно-параллельные и параллельно-последовательные группы с учетом удобства технического обслуживания и ремонта.

4.8. В установках солнечного теплоснабжения с большой площадью поверхности солнечных коллекторов следует предусматривать возможность отключения отдельных секций в случае выхода их из строя без вывода из эксплуатации всей установки.

4.9. Для удаления воздуха из системы необходимо предусматривать воздушный клапан, устанавливаемый в наивысшей точке системы. Допускается удаление воздуха с помощью расширительного бака, установленного выше уровня статического давления в гелиоконтуре.

4.10. В системе теплоснабжения необходимо предусматривать арматуру для заполнения системы, а в нижней части - для спуска теплоносителя с уклоном трубопровода 0,002.

4.11. Рекомендуется предусматривать 10 %-ный запас площади поверхности солнечных коллекторов на случай выхода части ее из строя, ухудшения теплопередающих свойств и загрязнения поверхности остекления.

4.12. Движение теплоносителей в контурах следует принимать по противоточной схеме.

4.13. Тепловые потери через изоляцию БА, теплообменников и трубопроводов не должны превышать 5 % теплопроизводительности СК.

4.14. Для поддержания постоянной температуры горячей воды, подаваемой к потребителю, установки должны обеспечиваться автоматическими регуляторами температуры.

4.15. При использовании в гелиоконтуре в качестве теплоносителя воды необходимо предусмотреть ее химическую обработку и деаэрирование перед заполнением системы.

4.16. При круглогодичной эксплуатации ССТ в теплоприемном контуре рекомендуется применять антифриз. Свойства антифризов приведены в приложении 7.

Давление антифриза в теплоприемном контуре во избежание попадания его в БА при нарушении герметичности теплообменника должно быть ниже, чем давление воды в тепловоспринимающем контуре.

4.17. Система теплоснабжения должна включать дублер, работающий совместно с солнечной установкой при длительном отсутствии солнечной радиации, обеспечивающий 100 %-ное покрытие тепловой нагрузки здания.

5. ОБОСНОВАНИЕ ЭКОНОМИЧЕСКОЙ ЦЕЛЕСООБРАЗНОСТИ ПРИМЕНЕНИЯ СОЛНЕЧНОЙ СИСТЕМЫ ТЕПЛОСНАБЖЕНИЯ

5.1. Применение ССТ считается целесообразным, если выполняется условие

Зс £ Зб,                                                               (5.1)

где Зс - удельные приведенные затраты на единицу вырабатываемой тепловой энергии ССТ, руб./ГДж;

Зб - удельные приведенные затраты на единицу вырабатываемой тепловой энергии базовой установкой, руб./ГДж.

5.2. Удельные приведенные затраты на единицу вырабатываемой энергии (стоимость единицы тепловой энергии) для солнечной установки определяется по формуле

Зс = Сс/Q,                                                              (5.2)

где Сc - приведенные затраты на ССТ и дублер, руб./год;

Сс = (кс + кв)Eн + Эскс + Эвкв + ЦNд - кэ - кп,                                      (5.3)

где кс - капитальные затраты на ССТ, руб.;

кв - капитальные затраты на дублер, руб.;

Eн - нормативный коэффициент сравнительной эффективности капитальных вложений (0,1);

Эс - доля эксплуатационных расходов от капитальных затрат на ССТ;

Эв - доля эксплуатационных расходов от капитальных затрат на дублер;

Ц - стоимость единицы тепловой энергии, вырабатываемой дублером, руб./ГДж;

Nд - количество тепловой энергии, вырабатываемой дублером в течение года, ГДж;

кэ - эффект от снижения загрязнения окружающей среды, руб.;

кп - социальный эффект от экономии зарплаты персонала, обслуживающего дублер, руб.

Удельные приведенные затраты определяются по формуле

Зб = Сб/Q,                                                           (5.4)

где Сб - приведенные затраты на базовую установку, руб./год;

Сб = кбЕн + Эбкб,                                                     (5.5)

где кб - капитальные затраты на базовый источник тепловой энергии, руб.;

Эб - доля эксплуатационных расходов от капитальных затрат на базовый источник тепловой энергии.

5.3. Эффект от снижения загрязнения окружающей среды учитывается для приведения к сопоставимому виду сравниваемых вариантов и рассчитывается в соответствии с действующей «Временной типовой методикой определения экономической эффективности осуществления природоохранных мероприятий и оценки экономического ущерба, причиняемого народному хозяйству загрязнением окружающей среды» (Госплан СССР, Госстрой СССР, АН СССР, 1983) и «Руководством по расчету количества и удельных показателей выбросов вредных веществ в атмосферу» (М.: ВПТИтрансстрой, 1982).

5.4. Социальный эффект от экономии зарплаты персонала, обслуживающего дублер кп при отключении дублера в период полного покрытия тепловой нагрузкой ССТ, определяется по формуле

                                                          (5.6)

где Зп - среднегодовая удельная зарплата с начислениями эксплуатационного персонала дублера, руб./год;

τпн - период полного покрытия тепловой нагрузки ССТ, мес.

5.5. Расчет экономии топлива в пересчете на условное (т) за счет использования солнечной энергии следует определять по формуле

                                                         (5.7)

где Qнр - низшая теплота сгорания условного топлива, кВт·ч/кг;

η - КПД замещаемого источника энергии.

6. ОБОЗНАЧЕНИЯ

Зс - удельные приведенные затраты на единицу вырабатываемой тепловой энергии ССТ, руб./ГДж;

Зб - удельные приведенные затраты на единицу вырабатываемой тепловой энергии базовой установкой, руб./ГДж;

Зп - среднегодовая удельная зарплата с начислениями эксплуатационного персонала дублера, руб./год;

кс - капитальные затраты на ССТ, руб.;

кв - капитальные затраты на дублер, руб.;

кэ - эффект от снижения загрязнения окружающей среды, руб.;

кп - социальный эффект от экономии зарплаты персонала обслуживающего дублер, руб.;

Ен - нормативный коэффициент сравнительной эффективности капитальных вложений;

Сс - приведенные затраты на ССТ и дублер, руб./год;

Сб - приведенные затраты на базовую установку, руб./год;

Эс - доля эксплуатационных расходов от капитальных затрат на ССТ;

Эв - доля эксплуатационных расходов от капитальных затрат на дублер;

Эб - доля эксплуатационных расходов от капитальных затрат на базовый источник тепловой энергии;

Ц - стоимость единицы тепловой энергии, вырабатываемой дублером, руб./ГДж;

В - экономия топлива в пересчете на условное за эксплуатационный период солнечной установки, т/год;

Н - среднегодовая суммарная солнечная радиация, приходящая на горизонтальную поверхность, кВт · ч;

Q - полная годовая нагрузка теплоснабжения, кВт · ч;

Qнр - низшая теплота сгорания условного топлива, кВт · ч/кг;

Qс - годовая теплопроизводительность ССТ, кВт · ч;

F - площадь поверхности СК, м2;

UL - общий коэффициент тепловых потерь, Вт/(м2 · °С);

FR - коэффициент эффективности солнечного коллектора;

Va - удельная вместимость бака-аккумулятора, л/м2;

V - объем здания, м3;

S - жилая площадь здания, м2;

Nд - количество тепловой энергии, вырабатываемой дублером за год, ГДж;

а - параметр;

b - параметр;

tг - температура горячей воды на выходе из СК, °С;

tх - температура холодной воды на входе в БА, °С;

tнв - температура наружного воздуха, °С;

tв - температура воздуха внутри здания, °С;

q - годовая удельная теплопроизводительность ССТ, отнесенная к единице площади солнечных коллекторов, кВт · ч/м2;

f - доля полной среднегодовой тепловой нагрузки, обеспечиваемой за счет солнечной энергии (коэффициент замещения);

φ - географическая широта, град.;

ε - степень черноты поглощательной поверхности СК в диапазоне рабочих температур коллектора;

ε1 - эффективность водяного теплообменника;

ε2 - эффективность водовоздушного теплообменника;

τп - пропускательная способность остекления;

τпн - период полного покрытия тепловой нагрузки ССТ, мес.;

(τα) - приведенная поглощательная способность солнечного коллектора;

g - удельный расход антифриза в теплоприемном контуре, кг/(м2 · ч);

α - поглощательная способность теплоприемной поверхности;

α1 ... α9 - коэффициенты;

β1 ... β9 - коэффициенты;

r - характеристика теплоизолирующих свойств ограждающих конструкций здания при фиксированном значении нагрузки ГВС;

λ - удельные тепловые потери здания, Вт/(м3 · °С);

m - количество часов в сутках;

к - кратность вентиляционного обмена воздуха, 1/сут;

ρв - плотность воздуха при 0 °С, кг/м3;

Срв - теплоемкость воздуха при 0 °С и постоянном давлении, Вт · ч/(кг · °С);

l - удельная суточная нагрузка ГВС, Вт · ч/м2;

Сmin - меньший из водяных эквивалентов водовоздушного теплообменника, Вт/°С;

η - КПД замещаемого источника энергии.

Приложение 1

Терминология по солнечному теплоснабжению

Термин

Определение термина

Солнечный коллектор

Устройство для улавливания солнечной радиации и преобразования ее в тепловую и другие виды энергии

Часовая (суточная, месячная и т.д.) теплопроизводительность

Количество тепловой энергии, отводимой от коллектора за час (сутки, месяц и т.д.) работы

Плоский солнечный коллектор

Нефокусирующий солнечный коллектор с поглощающим элементом плоской конфигурации (типа «труба в листе», только из труб и т.п.) и плоской прозрачной изоляцией

Площадь тепловоспринимающей поверхности

Площадь поверхности поглощающего элемента, освещенная солнцем в условиях нормального падения лучей

Коэффициент тепловых потерь через прозрачную изоляцию (днище, боковые стенки коллектора)

Поток тепла в окружающую среду через прозрачную изоляцию (днище, боковые стенки коллектора), отнесенный к единице площади тепловоспринимающей поверхности, при разности средних температур поглощающего элемента и наружного воздуха в 1 °С

Удельный расход теплоносителя в плоском солнечном коллекторе

Расход теплоносителя в коллекторе, отнесенный к единице площади тепловоспринимающей поверхности

Коэффициент эффективности

Величина, характеризующая эффективность переноса тепла от поверхности поглощающего элемента к теплоносителю и равная отношению фактической теплопроизводительности к теплопроизводительности при условии, что все термические сопротивления передачи тепла от поверхности поглощающего элемента к теплоносителю равны нулю

Степень черноты поверхности

Отношение интенсивности излучения поверхности к интенсивности излучения черного тела при той же температуре

Пропускательная способность остекления

Пропускаемая прозрачной изоляцией доля солнечного (инфракрасного, видимого) излучения, падающего на поверхность прозрачной изоляции

Дублер

Традиционный источник тепловой энергии, обеспечивающий частичное или полное покрытие тепловой нагрузки и работающий в сочетании с системой солнечного теплоснабжения

Система солнечного теплоснабжения

Система, обеспечивающая покрытие нагрузки отопления и горячего водоснабжения за счет солнечной энергии

Приложение 2

Теплотехнические характеристики солнечных коллекторов

Наименование величины

Тип коллектора

I

II

III

Общий коэффициент тепловых потерь UL, Вт/(м2 · °С)

7,5

4,3

4,4

Поглощательная способность тепло-приемной поверхности α

0,95

0,90

0,95

Степень черноты поглощательной поверхности в диапазоне рабочих температур коллектора ε

0,95

0,10

0,95

Пропускательная способность остекления τп

0,87

0,87

0,72

Коэффициент эффективности FR

0,91

0,93

0,95

Максимальная температура теплоносителя, °С

80

100

80

Примечание. I - одностекольный неселективный коллектор; II - одностекольный селективный коллектор; III - двухстекольный неселективный коллектор.

Приложение 3

Технические характеристики солнечных коллекторов

Основные параметры и характеристики солнечного коллектора

Изготовитель

Братский завод отопительного оборудования

Спецгелиотепломонтаж ГССР

КиевЗНИИЭП

Бухарский завод гелиоаппаратуры

Длина, мм

1530

1000 - 3000

1624

1100

Ширина, мм

630

600

1008

650

Высота, мм

98

70 - 100

100

111

Масса, кг

50,5

30 - 50

37

36

Тепловоспринимающая поверхность, м

0,8

0,6 - 1,5

1,5

0,62

Рабочее давление, МПа

0,6

0,2 - 0,6

0,6

0,6

Приложение 4

Технические характеристики проточных теплообменников типа ТТ

Тип теплообменника

Диаметр наружный/внутренний, мм

Проходное сечение

Поверхность нагрева одной секции, м2

Длина секции, мм

Масса одной секции, кг

внутренней трубы, см2

кольцевого канала, см2

внутренней трубы

наружной трубы

ТТ 1-25/38-10/10

25/20

38/32

3,14

1,13

1,4

1500

140

 

ТТ 2-25/38-10/10

25/20

38/32

6,28

6,26

1,4

1500

140

 

Приложение 5

Годовой приход суммарной солнечной радиации на горизонтальную поверхность (Н), кВт · ч/м2

Населенный пункт

Н

Азербайджанская ССР

 

Баку

1378

Кировобад

1426

Мингечаур

1426

Армянская ССР

 

Ереван

1701

Ленинакан

1681

Севан

1732

Нахичевань

1783

Грузинская ССР

 

Телави

1498

Тбилиси

1396

Цхакая

1365

Казахская ССР

 

Алма-Ата

1447

Гурьев

1569

Форт-Шевченко

1437

Джезказган

1508

Ак-Кум

1773

Аральское море

1630

Бирса-Кельмес

1569

Кустанай

1212

Семипалатинск

1437

Джаныбек

1304

Колмыково

1406

Киргизская ССР

 

Фрунзе

1538

Тянь-Шань

1915

РСФСР

 

Алтайский край

 

Благовещенка

1284

Астраханская область

 

Астрахань

1365

Волгоградская область

 

Волгоград

1314

Воронежская область

 

Воронеж

1039

Каменная степь

1111

Краснодарский край

 

Сочи

1365

Куйбышевская область

 

Куйбышев

1172

Курская область

 

Курск

1029

Молдавская ССР

 

Кишинев

1304

Оренбургская область

 

Бузулук

1162

Ростовская область

 

Цимлянск

1284

Гигант

1314

Саратовская область

 

Ершов

1263

Саратов

1233

Ставропольский край

 

Ессентуки

1294

Узбекская ССР

 

Самарканд

1661

Тамдыбулак

1752

Тахнаташ

1681

Ташкент

1559

Термез

1844

Фергана

1671

Чурук

1610

Таджикская ССР

 

Душанбе

1752

Туркменская ССР

 

Ак-Молла

1834

Ашхабад

1722

Гасан-Кули

1783

Кара-Богаз-Гол

1671

Чарджоу

1885

Украинская ССР

 

Херсонская область

 

Херсон

1335

Аскания Нова

1335

Сумская область

 

Конотоп

1080

Полтавская область

 

Полтава

1100

Волынская область

 

Ковель

1070

Донецкая область

 

Донецк

1233

Закарпатская область

 

Берегово

1202

Киевская область

 

Киев

1141

Кировоградская область

 

Знаменка

1161

Крымская область

 

Евпатория

 1386

Карадаг

1426

Одесская область

 

Одесса

1385

Приложение 6

Высота солнца над горизонтом, град.

Географическая широта, ° с.ш.

Месяцы

I

II

III

IV

V

VI

VII

VIII

IX

X

XI

XII

38

30,8

39,2

49,8

61,7

70,8

75,3

73,6

66,2

55,1

43,6

33,6

28,7

40

28,8

37,2

47,8

59,7

68,8

73,3

71,6

64,2

53,1

41,6

31,6

26,7

42

26,8

35,2

45,8

57,7

66,8

71,3

69,6

62,2

51,1

39,6

29,6

24,7

44

24,8

33,2

43,8

55,7

64,8

69,3

67,5

60,2

49,1

37,6

27,6

22,7

46

22,8

31,2

41,8

53,7

62,8

67,3

65,6

58,2

47,1

35,6

25,6

20,7

48

20,8

29,2

39,8

51,7

60,8

65,3

63,6

56,2

45,1

33,6

23,6

18,7

50

18,8

27,2

37,8

49,7

58,8

63,3

61,6

54,2

43,1

31,6

21,6

16,7

52

16,8

25,2

35,8

47,7

56,8

61,3

59,6

52,2

41,1

29,6

19,6

14,7

54

14,8

23,2

33,8

45,7

54,8

59,3

57,6

50,2

39,1

27,6

17,6

12,7

Приложение 7

Свойства антифризов, применяемых в солнечных системах теплоснабжения

Наименование

Хлористый натрий

(23,1 %-й

раствор)

Хлористый кальций

(29,9 %-й раствор)

Пропилен гликоль (60 %-й раствор)

Этилен гликоль (60 %-й раствор)

Углекислый калий

Температура замерзания, °С

-21,2

-55,0

-52

-53

-57

Температура кипения, °С

106,0

110,0

107,5

105,0

113,0

Вязкость, 10-3 Па · с:

 

 

 

 

 

при температуре 5 °С

2,6

5,15

-

6,38

-

при температуре 20 °С

-

-

-

-

7,65

при температуре -40 °С

7,75

35,3

-

28,45

-

Плотность, кг/м3

-

-

-

1077

1483 - 1490

Теплоемкость кДж/(м3 · °С):

 

 

 

 

 

при температуре 5 °С

3900

3524

-

-

-

при температуре 20 °С

-

-

-

3340

3486

Коррозионная способность

Сильная

Средняя

Слабая

Слабая

Сильная

Токсичность

Нет

Средняя

Нет

Слабая

Нет

Примечание. Теплоносители на основе углекислого калия имеют следующие составы (массовая доля):

Рецептура 1                    Рецептура 2

Калий углекислый, 1,5-водный                                                        51,6                                   42,9

Натрий фосфорнокислый, 12-водный                                            4,3                                      3,57

Натрий кремнекислый, 9-водный                                                    2,6                                      2,16

Натрий тетраборнокислый, 10-водный                                         2,0                                      1,66

Флуоресцоин                                                                                         0,01                                   0,01

Вода                                                                                                         До 100                              До 100

 

СОДЕРЖАНИЕ

1. Общие положения. 1

2. Основное оборудование системы солнечного теплоснабжения. 2

3. Расчеты систем солнечного теплоснабжения и горячего водоснабжения. 3

4. Рекомендации по проектированию систем солнечного теплоснабжения. 6

5. Обоснование экономической целесообразности применения солнечной системы теплоснабжения. 7

6. Обозначения. 8

Приложение 1. Терминология по солнечному теплоснабжению.. 10

Приложение 2. Теплотехнические характеристики солнечных коллекторов. 10

Приложение 3. Технические характеристики солнечных коллекторов. 10

Приложение 4. Технические характеристики проточных теплообменников типа ТТ. 11

Приложение 5. Годовой приход суммарной солнечной радиации на горизонтальную поверхность. 11

Приложение 6. Высота солнца над горизонтом.. 13

Приложение 7. Свойства антифризов, применяемых в солнечных системах теплоснабжения. 13