РУКОВОДЯЩИЕ УКАЗАНИЯ
ПО ОГРАНИЧЕНИЮ ТОКОВ ОДНОФАЗНЫХ КОРОТКИХ
ЗАМЫКАНИЙ В ЭЛЕКТРИЧЕСКИХ СЕТЯХ 110 - 220 кВ ЭНЕРГОСИСТЕМ

ИСПОЛНИТЕЛИ К.М. АНТИПОВ, В.М. МАКСИМОВ, В.Ф. МОГУЗОВ (Главтехуправление); Ч.М. ДЖУВАРЛЫ, Е.В. ДМИТРИЕВ, А.М. ГАШИMOB (Институт физики АН АзССР); Г.А. ДОРФ, Ю.Н. ЛЬВОВ (ВНИИЭ); И.И. МАГДА (ПО "Днепроэнерго")

СОГЛАСОВАНЫ с Всесоюзным научно-исследовательским, проектно-конструкторским и технологическим институтом трансформаторостроения (ВИГ) 30.05.84

УТВЕРЖДЕНЫ Главным техническим управлением по эксплуатации энергосистем Минэнерго СССР 10.12.84

Начальник В.И. ГОРИН

Руководящие указания устанавливают основные положения по ограничению токов однофазных коротких замыканий в электрических сетях 110 - 220 кВ энергосистем Минэнерго СССР.

1. ОБЩИЕ ПОЛОЖЕНИЯ

1.1. Основной целью ограничения токов однофазных коротких замыканий (КЗ) является приведение их значений в соответствие с допустимыми, указанными в технических условиях и стандартах на проводники, аппараты и оборудование распределительных устройств электрических станций, подстанций и линий электропередачи, а также на повышение надежности работы названного оборудования.

1.2. Ограничение токов однофазных КЗ - в электрических сетях 110 кВ должно выполняться при их значениях, больших 30 ÷ 35 кА, а в электрических сетях 220 кВ - при токах, больших 35 ÷ 40 кА.

Ограничению подлежат также токи сквозных КЗ, протекающих через обмотки автотрансформаторов со средним напряжением до 220 кВ включительно, если их кратность на стороне среднего напряжения превышает 80 % допустимой по техническим условиям и стандартам при питании со стороны высокого напряжения и отсутствии нагрузки (источника питания) со стороны низшего напряжения.

1.3. В условиях Крайнего Севера ограничение токов однофазных КЗ должно выполняться, исходя из параметров оборудования и требований к охране окружающей среды.

1.4. При реализации мероприятий по ограничению токов однофазного КЗ должен соблюдаться системный подход к решению вопроса, при котором расстановке токоограничивающих устройств на объектах рассматриваемой энергосистемы должен предшествовать расчет токов КЗ во всей сети энергосистемы с учетом указанных устройств.

1.5. Значения эквивалентных сопротивлений на границах раздела энергосистемы, где проводятся мероприятия по ограничению тока КЗ, с соседними энергосистемами должны сообщаться последним не позднее, чем за 30 дн до ввода в работу токоограничивающих устройств.

2. РЕКОМЕНДУЕМЫЕ СПОСОБЫ ОГРАНИЧЕНИЯ ТОКОВ ОДНОФАЗНЫХ КЗ

2.1. До внедрения в эксплуатацию аппаратов и оборудования, серийно выпускаемых и рассчитанных на воздействие существующих значений токов однофазных КЗ в электрических сетях 110 - 220 кВ, рекомендуется применять следующие способы их ограничения:

- деление сети;

- частичное разземление нейтралей трансформаторов;

- заземление нейтралей через реакторы.

2.2. При выборе способа ограничения токов однофазных КЗ следует исходить из следующих основных факторов:

- допустимых уровней повышения напряжения промышленной частоты на неповрежденных фазах сети;

- допустимых уровней напряжения на нейтралях трансформаторов и автотрансформаторов;

- допустимых параметров восстанавливающегося напряжения при отключении токов КЗ;

- обеспечения селективности и чувствительности защит;

- технических параметров, габаритных размеров и технико-экономических характеристик устройств для ограничения токов КЗ;

- надежности электроснабжения потребителей;

- наличия на объекте автотрансформаторов;

- наличия на стороне низшего напряжения трансформаторов на подстанциях, выполненных отпайками от ВЛ, генерирующих источников и электродвигателей большой мощности;

- технико-экономических показателей;

- ограничения по площади на действующем объекте.

2.3. Деление сети (стационарное и автоматическое) для ограничения токов КЗ должно выполняться в следующих случаях:

- деление существенно не снижает надежности работы сети, не увеличивает сквозных токов однофазного КЗ через автотрансформаторы свыше кратности, указанной в п. 1.2, и не вызывает увеличения параметров восстанавливающегося напряжения более значений, указанных в ГОСТ 687-78;

- ограничение тока однофазного КЗ в сочетании с опережающим делением при двух- и трехфазных КЗ неэффективно.

2.4. Частичное разземление нейтралей трансформаторов 110 кВ подстанций, выполненных на отпайках от ВЛ, допустимо при отсутствии на стороне низшего напряжения трансформатора генерирующих источников и электродвигателей большой мощности.

Частичное разземление нейтралей трансформаторов 110 кВ в распределительных устройствах электростанций допустимо при отсутствии на них автотрансформаторов связи с сетями других классов напряжения. При этом должны быть приняты меры, исключающие действия релейной защиты и системной автоматики, которые могут привести к выделению участков сети без трансформаторов с заземленными нейтралями; проверено отсутствие существенного возрастания параметров восстанавливающегося напряжения при отключении однофазного КЗ.

Разземленные нейтрали трансформаторов должны быть защищены вентильными разрядниками в соответствии с существующими нормативными документами, стандартами и техническими условиями на трансформаторы.

2.5. Заземление нейтралей трансформаторов 110 - 220 кВ и автотрансформаторов через реакторы рекомендуется осуществлять в распределительных устройствах электростанций и подстанций с автотрансформаторами, а также при отсутствии автотрансформаторов, если по условиям надежности частичное разземление нейтралей недопустимо.

3. ВЫБОР ТОКООГРАНИЧИВАЩИХ РЕАКТОРОВ И МЕСТ ИХ УСТАНОВКИ

3.1. До проведения мероприятий по ограничению токов КЗ в электрической сети 110 - 220 кВ должен быть выполнен расчет токов однофазного КЗ для нормального (максимального) режима и выявлены точки, в которых необходимо ограничение токов с учетом перспективы развития сети.

3.2. Расчет токов однофазного КЗ должен производиться для нормальной схемы сети. При расчете токов КЗ в сети, где выполнено деление КЗ, последнее не должно предусматриваться.

3.3. При выборе токоограничивающих реакторов необходимо руководствоваться следующим:

- уровень напряжения на нейтрали трансформатора или автотрансформатора при включении в нейтраль реактора в указанных ниже режимах (пп. 3.4, 3.5) не должен превышать приведенного в приложении 1 допустимого уровня напряжения с учетом его продолжительности;

- за расчетное время воздействия тока однофазного КЗ на реактор и длительность повышения напряжения частоты 50 Гц на нейтрали, на оборудовании и изоляции неповрежденных фаз должно приниматься время действия первых ступеней резервных токовых защит нулевой последовательности трансформаторов и автотрансформаторов;

- реактор, включаемый в нейтраль, должен длительно выдерживать прохождение тока естественной несимметрии сети, ограничивать ток КЗ до заданного значения, выдерживать воздействие токов КЗ, а также токов при неполнофазных режимах в сети в течение расчетного времени;

- при включении в нейтраль реакторов должно сохраняться эффективное заземление нейтрали автотрансформаторов (напряжение на неповрежденных фазах при однофазном КЗ, а также напряжение "фаза-земля" при неполнофазных режимах не должно во всех случаях превышать значения 1,37 Uф.н.р, соответствующего напряжению гашения вентильных разрядников);

- при включении в нейтраль реактора для ограничения грозовых перенапряжений на нейтрали трансформаторов и автотрансформаторов параллельно реактору должна быть включена резисторная установка с номинальным значением сопротивления 850 ± 150 Ом (приложение 1).

3.4. Расчетным режимом для определения значения сопротивления реактора, включаемого в нейтраль автотрансформатора со средним напряжением 220 кВ, и уровня напряжения на нейтрали является режим включения (трехфазного) автотрансформатора со стороны высокого напряжения на однофазное КЗ на стороне среднего напряжения.

3.5. Расчетным режимом для определения значения сопротивления реактора, включаемого в нейтраль автотрансформатора со средним напряжением 110 или 150 кВ, и уровня напряжения на нейтрали является сохранение эффективного заземления нейтрали автотрансформатора при отключении его со стороны среднего напряжения.

3.6. Значение индуктивного сопротивления токоограничивающего реактора, включаемого в нейтраль силового (блочного) трансформатора электростанции, выбирается из условия сохранения эффективного заземления нейтрали автотрансформаторов и рассматриваемого блочного трансформатора, а также ограничения напряжения на их нейтралях до уровня, не превышающего указанный в приложении 1.

3.7. Расчетные формулы и схемы замещения для определения значения индуктивного сопротивления токоограничивающих реакторов приведены в приложении 2.

Рекомендуемые значения индуктивных сопротивлений реакторов, рассчитанных при сопротивлениях примыкающей системы X1 = X2 = X0 = 0, и типы реакторов, предназначенных для включения в нейтрали силовых (блочных) трансформаторов и автотрансформаторов, даны в приложении 3.

Значения индуктивных сопротивлений токоограничивающих реакторов рассчитаны на основе положений пп. 3.3 - 3.7 и значений предельных мощностей (токов) КЗ, указанных в технических условиях и стандартах на трансформаторы и автотрансформаторы.

Выбор значений сопротивлений реакторов более указанных в приложении 3 для соответствующих типов трансформаторов и автотрансформаторов не рекомендуется. При необходимости более глубокого ограничения токов однофазных КЗ сопротивления реакторов могут быть приняты с учетом реального сопротивления прямой, обратной и нулевой последовательностей сети высшего напряжения. Расчет и выбор реакторов должен быть произведен с учетом изложенного в пп. 3.3 ÷ 3.6 и приложения 2. При этом необходимо корректировать значения сопротивлений реакторов по мере развития энергосистемы.

3.8. При выбранных значениях сопротивления и местах установки токоограничивающих реакторов должны быть произведены расчет токов однофазного КЗ в сети с учетом изложенного в п. 3.2 и сравнение их с допустимыми значениями.

3.9. В случаях, когда при исключении стационарного деления сети токи трехфазного КЗ становятся выше допустимых для оборудования, следует предусматривать опережающее деление сети при трехфазных и двухфазных КЗ.

3.10. При получении от установки реакторов большего, чем требуется эффекта токоограничения, целесообразно часть трансформаторов блоков электростанций (один-два) оставить с глухозаземленной нейтралью и повторно произвести расчет токов однофазного КЗ в сети.

3.11. Схема включения реакторов в нейтрали силовых трансформаторов и автотрансформаторов приведена на рис. 1.

Рис. 1. Схема включения реакторов в нейтрали трансформаторов и автотрансформаторов:

1, 2 - разъединители РНД-35-100 УХЛ1;
3 - роговой разрядник (устанавливается при соответствующем обосновании);
4 - резисторная установка БРУ-Н; 5 - реактор ТРОС-35-Х-Х;
6 - фазные обмотки ВН трансформатора (автотрансформатора)

3.12. При выбранных значениях сопротивлений реакторов и местах их расстановки в сети 110 - 220 кВ следует:

- перестроить уставки релейных защит для обеспечения необходимой чувствительности;

- оценить (при необходимости) на "слабых связях" в электрических сетях влияние реакторов на статическую устойчивость параллельной работы при ОАПВ.

3.13. После выполнения токоограничивающих мероприятий в сети 110 - 220 кВ не допускается шунтирование в нормальном режиме реакторов, установленных в нейтралях автотрансформаторов.

3.14. Примеры выполнения токоограничивающих мероприятий и расчета их эффективности приведены в приложении 4.

3.15. Токоограничивающий реактор, устанавливаемый в нейтраль автотрансформатора (со средним напряжением 110 кВ) с вольтодобавочным трансформатором со стороны нейтрали, выбирается без учета трансформатора.

Значение сопротивления реактора, включаемого в нейтраль автотрансформатора со средним напряжением 150 кВ и вольтодобавочным трансформатором со стороны нейтрали, принимается вдвое меньшим, чем значение, полученное в соответствии с п. 3.5.

Выбор токоограничивающего реактора, устанавливаемого в нейтраль автотрансформатора со средним напряжением 220 кВ и вольтодобавочным трансформатором со стороны нейтрали, должен быть согласован с Главтехуправлением.

Приложение 1

УРОВНИ ДОПУСТИМЫХ ЗНАЧЕНИЙ НАПРЯЖЕНИЯ
ПРОМЫШЛЕННОЙ ЧАСТОТЫ НА ОБОРУДОВАНИИ

Класс напряжения, кВ

Вид электрооборудования

Напряжение испытательное (1 мин), кВ

Допустимое напряжение

Длительность, с

Значение, кВ

110

Трансформаторы

85

0,1

85

1,0

75

3

65

Длительно

40,5

100

0,1

100

1,0

90

3

75

Длительно

50

220

Трансформаторы и автотрансформаторы

85

0,1

85

1,0

75

3

65

Длительно

40,5

200

0,1

160

1,0

140

3

135

Длительно

126

35

Токоограничивающие реакторы (ТРОС-35-Х-Х)

85 (80)*

0,1

-

1,0

75

3,0

65

20

25

Длительно

1,0-4,5**

35

Резисторная установка (БРУ-Н)

0,1

85

1,0

75

-

3,0

65

20

25

1800

4

3600

3

Длительно

1,5

____________

* Испытательное напряжение (1 мин) внутренней изоляции реакторов (относительно корпуса).

** Допустимое напряжение в зависимости от типа реактора.

Приложение 2

РАСЧЕТНЫЕ ФОРМУЛЫ ДЛЯ ОПРЕДЕЛЕНИЯ ЗНАЧЕНИЯ ИНДУКТИВНОГО
СОПРОТИВЛЕНИЯ ТОКООГРАНИЧИВАЩИХ РЕАКТОРОВ,
ВКЛЮЧАЕМЫХ В НЕЙТРАЛИ АВТОТРАНСФОРМАТОРОВ

1. Режим при трехфазном включении автотрансформатора со стороны высокого напряжения на однофазное КЗ на стороне среднего напряжения 220 кВ.

Значение сопротивления (Ом) токоограничивающего реактора находится из выражения:

(1.1)

где UN - допустимое напряжение на нейтрали автотрансформатора, кВ (UN = 65 кВ);

 - номинальное фазное напряжение сети со стороны высшего напряжения автотрансформатора, кВ;

, ,  - сопротивления схемы нулевой последовательности со стороны соответственно высшего, среднего и низшего напряжений автотрансформатора, Ом, представленного нетрадиционной схемой замещения (рис. 2);

X0 - результирующее сопротивление нулевой последовательности сети высшего напряжения, приведенное к стороне среднего напряжения, Ом.

Рис. 2. Нетрадиционная схема замещения нулевой последовательности
автотрансформаторов с реактором в нейтрали

, ,  определяются по формулам:

(1.2)

(1.3)

(1.4)

где n - коэффициент трансформации автотрансформатора (ВН - СН).

XВН, XСН, XНН - результирующие сопротивления схемы прямой (обратной) последовательности со стороны соответственно высшего, среднего и низшего напряжений автотрансформатора, представленного традиционной схемой замещения (рис. 3), приведенные к напряжению на стороне среднего напряжения, Ом;

Рис. 3. Традиционная схема замещения нулевой последовательности
автотрансформатора с реактором в нейтрали

XВС1 = XВН1 + XСН1 + (X1 - X1ГОСТ)

XВС2 = XВН2 + XСН2 + (X2 - X2ГОСТ),

(1.5)

где Х1, Х2 - соответственно результирующие сопротивления прямой и обратной последовательностей сети высшего напряжения, приведенные к стороне среднего напряжения, Ом;

Х1ГОСТ, Х2ГОСТ - сопротивления соответственно прямой и обратной последовательностей, определенные по нормируемым ГОСТ на автотрансформаторы значениям динамической устойчивости обмоток, приведенные к стороне среднего напряжения, Ом.

В приложении 3 приведены рекомендуемые значения индуктивных сопротивлений токоограничивающих реакторов, вычисленные по (1.1) и (1.6).

2. Режим после отключения автотрансформатора со средним напряжением 110 - 150 кВ со стороны среднего напряжения.

Значение сопротивления (Ом) токоограничивающего реактора находится из выражения:

(1.6)

Расчетные формулы для определения значения индуктивного сопротивления
токоограничивающих реакторов, включаемых в нейтрали блочных
трансформаторов электростанций

1. Значение сопротивления (Ом) токоограничивающего реактора, включаемого в нейтраль блочного трансформатора, принимается исходя из следующих выражений:

Xp ≤ 3,7XT1

(2.1)

- для трансформатора класса напряжения 110 кВ;

Xp ≤ 3XT1

(2.2)

- для трансформатора класса напряжения 150 кВ;

Xp ≤ 2XT1

(2.3)

- для трансформатора класса напряжения 220 кВ,

где XT1 - сопротивление прямой последовательности блочного трансформатора.

Учет сопротивления реактора в традиционной схеме
замещения нулевой последовательности автотрансформатора

1. Сопротивление реактора, включаемого в нейтраль автотрансформатора, учитывается в каждой из трех ветвей схемы замещения нулевой последовательности автотрансформатора (см. рис. 3) с третичной обмоткой, соединенной в треугольник, значением, умноженным на соответствующий коэффициент: в ветвь ВН 3Xp·(1-n), в ветвь СН 3Xp·(n-1)n, в ветвь НН - 3Xpn, где сопротивления приведены к напряжению стороны ВН. При приведении сопротивлений к напряжению стороны СН значения следует разделить на n2.

Учет реактора в нетрадиционной схеме замещения
нулевой последовательности автотрансформатора

1. При расчетах токов КЗ в схемах автотрансформаторов с сопротивлениями в нейтралях рекомендуется использовать новую схему замещения автотрансформатора, имеющую точку, в которой может быть определен потенциал нейтрали по отношению к земле. Она применима в схемах замещения всех последовательностей сети, в которой параметры сети со стороны высшего и среднего напряжения приведены каждая к своему классу напряжения.

2. Нетрадиционная схема нулевой последовательности представлена на рис. 2, а ее параметры находятся по выражениям (1.2), (1.3), (1.4).

Приложение 3

Рекомендуемые значения индуктивных сопротивлений токоограничивающих реакторов, предназначенных для включения в нейтрали автотрансформаторов, приведены в табл. П3.1.

Таблица П3.1

Тип автотрансформатора

Рекомендуемое значение сопротивления реактора, Ом

Тип реактора

1. АТДЦТН 125000/220

40

ТРОС-35-100-40

2. АТДЦТН 200000/220

30

ТРОС-35-150-30

3. АТДЦТН 250000/220

20

ТРОС-35-200-20

4. АТДЦТН 125000/330

20

ТРОС-35-150-20

5. АТДЦТН 200000/330

10

ТРОС-35-200-10

6. АТДЦТН 250000/500

6

ТРОС-35-300-6

7. АТДЦТ 250000/330

20/10*

ТРОС-35-150-20(10)

8. АТДЦТ 240000/330

40

ТРОС-35-60-40

9. АОДЦТН 133000/330/220

20

ТРОС-35-100-20

10. АОДЦТН 167000/500

10

ТРОС-35-200-10

11. АОДЦТН 267000/500

6

ТРОС-35-300-6

* Для автотрансформатора с вольтодобавочным трансформатором.

Рекомендуемые значения индуктивных сопротивлений токоограничивающих реакторов, предназначенных для включения в нейтрали блочных трансформаторов, приведены в табл. П3.2

Таблица П3.2

Тип трансформатора

Рекомендуемое значение сопротивления реактора, Ом

Тип реактора

1. ТДЦ 400000/110

10

ТРОС-35-100-10

2. ТДЦ 250000/110

20

ТРОС-35-100-20

3. ТДЦ 200000/110

20

ТРОС-35-50-20

4. ТДЦ 125000/110

30

ТРОС-35-50-30

5. ТЦ 400000/150

20

ТРОС-35-100-20

6. ТЦ 250000/150

30

ТРОС-35-50-30

7. ТДЦ 400000/220

20

ТРОС-35-50-20

8. ТДЦ 250000/220

40

ТРОС-35-50-40

9. ТДЦ 200000/220

40

ТРОС-35-50-40

10.ТДЦ 125000/220

40

ТРОС-35-50-40

Приложение 4

ПРИМЕРЫ РАСЧЕТА ЭФФЕКТИВНОСТИ МЕРОПРИЯТИЙ ПО ОГРАНИЧЕНИЮ ТОКОВ ОДНОФАЗНОГО КЗ

1. ГРЭС-1.

РУ 110 кВ ГРЭС содержит три блока по 50 МВт (Б1, Б2, Б3), один блок 100 МВт (Б5), два блока по 165 МВт (Б6, Б7), два автотрансформатора связи 330/110 кВ по 200 MB·А каждый (АТ1,АТ2).

Ток однофазного КЗ на шинах 110 кВ ГРЭС составляет 37 кА, трехфазного - 31,5 кА. Номинальный ток отключения выключателей 110 кВ ГРЭС - 35 кА, поэтому в РУ 110 кВ ГРЭС необходимо ограничение токов однофазного КЗ.

В соответствии с приложением 3 для автотрансформаторов выбираем реакторы с сопротивлением ХРАТ1 = ХРАТ2 = 10 Ом, для блоков 165 МВт: ХРБ6 = ХРБ7 = 20 Ом, для блока 100 МВт: ХРБ5 = 30 Ом, для блока 50 МВт: ХРБ1 = ХРБ2 = ХРБ3 = 40 Ом.

Схемы замещения прямой, обратной и нулевой последовательностей сети 110 кВ ГРЭС представлены на рис. 4.

Рис. 4. Схемы замещения сети 110 кВ ГРЭС-1:

а - схема прямой и обратной последовательностей (автотрансформаторы введены традиционной схемой);
б - схема нулевой последовательности (автотрансформаторы введены нетрадиционной схемой)

Результирующее сопротивление схемы прямой последовательности равно Х1 = 2,1 Ом, нулевой последовательности без реакторов - 1,2 Ом, с реактором - 4,8 Ом.

В результате включения токоограничивающих реакторов в нейтрали трансформаторов и автотрансформаторов ток однофазного КЗ на шинах 110 кВ ГРЭС уменьшается до 22 кА. Суммарный сквозной ток через автотрансформаторы АТ1 и АТ2 уменьшается с 12,75 до 7,5 кA, т.е. в 1,7 раза.

Если оставить глухо заземленными нейтрали трансформаторов Т1, Т2, Т3 и Т5, то ток однофазного КЗ ограничится до 28 кА, а сквозной ток через автотрансформаторы в выводах СН ограничится в 1,6 раза.

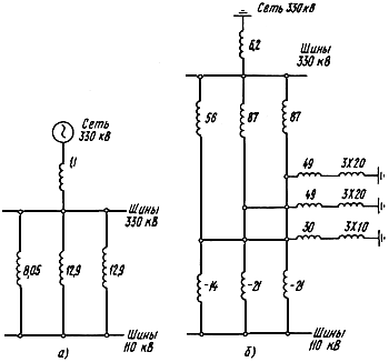
2. ГРЭС-2.

РУ 220 кВ ГРЭС содержит четыре блока по 300 МВт (Б1, Б2, Б3, Б4), два автотрансформатора 500/220 кВ по 3×267 MB·А каждый. К третичной обмотке каждого автотрансформатора подключен генератор 300 МВт. Ток однофазного КЗ на шинах 220 кВ ГРЭС составляет 45,7 кА, трехфазного - 37 кА. Номинальный ток отключения выключателей - 40 кА. Поэтому на ГРЭС необходимо ограничение тока однофазного КЗ.

В соответствии с приложением 3 для автотрансформаторов выбираем реакторы с сопротивлением ХРАТ = 6 Ом, для блоков 300 МВт: ХРБ1 = ХРБ2 = ХРБ3 = ХРБ4 = 30 Ом.

Схемы замещения прямой, обратной и нулевой последовательностей сети 220 кВ ГРЭС представлены на рис. 5.

Рис. 5. Схемы замещения сети 220 кВ ГРЭС-2:

а - схема прямой и обратной последовательностей (автотрансформаторы введены традиционной схемой);
б - схема нулевой последовательности (автотрансформаторы введены традиционной схемой)

Результирующее сопротивление схемы прямой последовательности равно 3,6 Ом, нулевой последовательности без реакторов - 1,52 Ом, с реакторами - 4,72 Ом.

В результате включения токоограничивающих реакторов ток однофазного КЗ на шинах 220 кВ ГРЭС уменьшается до 33,4 кА. Суммарный сквозной ток через автотрансформаторы АТ1 и АТ2 уменьшается с 25 до 17,3 кА, т.е. почти в 1,5 раза.

3. Подстанция 330 кВ.

РУ 330 кВ содержит один автотрансформатор 330/110 кВ 200 МВ·А и два автотрансформатора 330/110 кВ по 125 MB·А. Ток однофазного КЗ на шинах 110 кВ РУ составляет 15,2 кА. Кратность сквозных токов в общих обмотках автотрансформаторов при однофазном КЗ близка к нормированному значению динамической стойкости. В соответствии с приложением 3 для автотрансформатора 200 МВ·А выбирается реактор с сопротивлением 10 Ом, для автотрансформаторов 125 МВ·А - реакторы по 20 Ом. Заземление нейтрали автотрансформаторов через реакторы ограничивает сквозной ток КЗ в общих обмотках в 1,5 раза. Наибольшее напряжение на нейтрали автотрансформатора при однофазном КЗ на шинах 110 кВ составляет 27 кВ.

Схемы замещения для расчетов токов КЗ и напряжения на нейтрали представлены на рис. 6.

Рис. 6. Схемы замещения участка сети, примыкающего к подстанции 330 кВ:

а - схема прямой и обратной последовательностей;
б - схема нулевой последовательности (автотрансформаторы введены нетрадиционной схемой)

Содержание

1. ОБЩИЕ ПОЛОЖЕНИЯ

2. РЕКОМЕНДУЕМЫЕ СПОСОБЫ ОГРАНИЧЕНИЯ ТОКОВ ОДНОФАЗНЫХ КЗ

3. ВЫБОР ТОКООГРАНИЧИВАЩИХ РЕАКТОРОВ И МЕСТ ИХ УСТАНОВКИ

Приложение 1 УРОВНИ ДОПУСТИМЫХ ЗНАЧЕНИЙ НАПРЯЖЕНИЯ ПРОМЫШЛЕННОЙ ЧАСТОТЫ НА ОБОРУДОВАНИИ

Приложение 2 РАСЧЕТНЫЕ ФОРМУЛЫ ДЛЯ ОПРЕДЕЛЕНИЯ ЗНАЧЕНИЯ ИНДУКТИВНОГО СОПРОТИВЛЕНИЯ ТОКООГРАНИЧИВАЩИХ РЕАКТОРОВ, ВКЛЮЧАЕМЫХ В НЕЙТРАЛИ АВТОТРАНСФОРМАТОРОВ

Приложение 3

Приложение 4 ПРИМЕРЫ РАСЧЕТА ЭФФЕКТИВНОСТИ МЕРОПРИЯТИЙ ПО ОГРАНИЧЕНИЮ ТОКОВ ОДНОФАЗНОГО КЗ