МИНИСТЕРСТВО ТОПЛИВА И ЭНЕРГЕТИКИ РОССИЙСКОЙ ФЕДЕРАЦИИ
МЕТОДИЧЕСКИЕ УКАЗАНИЯ
ПО ПРИМЕНЕНИЮ УСТРОЙСТВ ОГРАНИЧЕНИЯ
НАЛИПАНИЯ МОКРОГО СНЕГА НА ПРОВОДА ВЛ
10 - 220 кВ
РД 34.20.568-91
РАЗРАБОТАНО Всесоюзным научно-исследовательским институтом энергетики (ВНИИЭ)
ИСПОЛНИТЕЛЬ В.А. ШКАПЦОВ
УТВЕРЖДЕНО бывшим Главным производственно-техническим управлением электрических сетей и сельской электрификации Минэнерго СССР 15.11.91 г.
Начальник И.И. БАТЮК
Значительное число воздушных линий (ВЛ) электропередачи в различных регионах страны (Северо-запад, Поволжье, Дальневосточное приморье и т.д.) подвержено в зимнее время года и в осенне-зимних и весенне-зимних сезонах налипанию мокрого снега на провода. Есть энергосистемы (Краснодарэнерго, Киевэнерго), где интенсивные налипания мокрого снега на провода ВЛ наблюдаются каждые 2 - 3 года. Весьма тяжелые ситуации, когда масса налипающего снега на каждый погонный метр провода достигает 5 - 6 кг, отмечены на линиях Сахалинэнерго.
До недавнего времени основными средствами борьбы с отрицательными последствиями налипания мокрого снега были усиление ВЛ (установка дополнительных опор, применение более прочных проводов и опор), плавка снега и профилактический обогрев проводов с целью предотвращения образования тяжелых отложений.
В начале 70-х годов в Японии разработаны и получают все более широкое применение снегоотталкивающие провода. В энергетической компании Хоккайдо Электрик Пауэр такими проводами оборудовано 95 % общей протяженности воздушных линий.
Настоящие Методические указания распространяются на ВЛ напряжением 10 - 220 кВ с одиночными проводами, требующими защиты от налипания мокрого снега. В основу разработки предлагаемых средств защиты от налипания мокрого снега положен опыт энергетических компаний Японии. Предлагаемые средства защиты достаточно просты по конструкции и по технологии их применения на ВЛ.
2.1.1. Налипание снега происходит при прохождении зоны низкого атмосферного давления, как правило, в осенне-зимнем и весенне-зимнем сезонах. Выпадение снега с большим содержанием воды (до 32 %) происходит при температуре воздуха на уровне земли от -2 до +2 °С.
2.1.2. Налипание снега на провода в подавляющем большинстве случаев происходит при действии ветра скоростью от 10 до 25 м/с. Снежные муфты, образующиеся на проводах, имеют прочное сцепление с ними и не разрушаются даже при действии порывистых ветров скоростью до 35 - 40 м/с.
2.1.3. При определении погонной массы налипшего на провода снега обычно принимают его плотность g = 0,2 г/см3, однако в зависимости от содержания воды плотность мокрого снега может достигать значений 0,6 - 0,8 г/см3, что необходимо учитывать при оценках механических нагрузок на провода и опоры ВЛ.
2.1.4. В процессе налипания мокрого снега по мере увеличения эксцентриситета отложения и роста толщины его стенки происходит проскальзывание снежного осадка вдоль наружного повива в нижнюю часть провода (рис. 1), а также закручивание провода при более прочном сцеплении с ним эксцентричного одностороннего отложения. На боковой поверхности провода со стороны несущего снег воздушного потока продолжается процесс налипания [1]. В зависимости от крутильной жесткости провода и влагосодержания снега (определяющей способность снега скользить вдоль повива провода) образуются отложения с формой, близкой к цилиндрической (рис. 2, а), либо с разной степенью эксцентричности (рис. 2, б, в, г). Обычно толщина стенки отложения находится в пределах от 40 до 140 мм. Известны случаи, когда толщина налипающего снега достигает 160 - 200 мм.
Рис. 1. Процесс образования снежной муфты на проводе

Рис.2. Формы и размеры отложений мокрого снега на проводах
2.2.1. Опасность налипания снега состоит в увеличении статических механических нагрузок на провода, линейную арматуру и опоры ВЛ. Масса налипающего снега соизмерима с массой провода, а иногда и значительно превышает последнюю, достигая 6 - 8 кг/м.
2.2.2. Прохождение области пониженного атмосферного давления, сопровождающееся выпадением мокрого снега, обычно происходит при действии ветров скоростью от 10 до 25 м/с. Значительное число аварий на ВЛ происходит при метеоусловиях, когда мокрый снег налипает на провода и конструкции опор при действии поперечных трассам ВЛ ветров скоростью от 25 до 40 м/с. При этом к нагрузкам от действия массы налипающего снега добавляются весьма значительные ветровые нагрузки, обусловленные действием ветра высокой скорости на увеличенное снежным отложением сечение провода, металлоконструкции и т.д.
2.2.3. Аварийные отключения ВЛ, связанные с налипанием мокрого снега, происходят как из-за повреждений элементов линий, вызванных действием превышающих допустимые значения механических нагрузок, так и по причине возникновения перекрытий из-за приближения проводов к заземленным конструкциям опор, к деревьям и проч. При действии сильных порывистых ветров на провисающие под влиянием массы мокрого снега провода наблюдаются схлестывания проводов разных фаз, а также проводов с грозотросами.
2.2.4. На ВЛ 10 - 220 кВ механические перегрузки от действия мокрого снега и ветра приводят к обрывам проводов и грозозащитных тросов, повреждениям изолирующей подвески, к поломкам траверс и стоек опор. На линиях со штыревыми изоляторами наиболее частыми последствиями снежных штормов являются обрывы вязок. Обрывы проводов нередко сопровождаются в распределительных сетях каскадным повреждением опор.
3.1.1. Для защиты проводов от налипания мокрого снега рекомендуется применение снегоотталкивающих колец и грузов-ограничителей закручивания проводов [2]. Установка под проводами грузов увеличивает крутильную жесткость проводов. Это необходимо для того, чтобы предотвратить закручивание провода отложением снега, первоначально нарастающим со стороны несущего воздушного потока. Гребешок снега, налипающего на провод с повышенной, благодаря установке грузов, крутильной жесткостью, приобретает более вытянутую в сторону несущего аэродинамического потока форму. Отложения резко выраженной эксцентричной формы осыпаются по мере их роста. Предотвращается образование массивных снежных муфт цилиндрической формы.
3.1.2. Конструкция груза сферической формы, выполняемого заодно с тягой, обеспечивающей эксцентричное положение груза по отношению к центру кручения провода, показана на рис. 3. Груз крепится к проводу стандартным болтовым плашечным зажимом. Для защиты провода в месте установки груза от износа и усталостных повреждений, вызываемых вибрацией и другими видами колебаний провода, предусмотрено применение армирующих прутков. Прутки в количестве 3 шт. могут быть установлены поверх плашечного зажима (см. рис. 3), либо под зажимом (рис. 4). В последнем случае прутки должны образовать в пределах своей строительной длины дополнительный защитный повив, а плашечный зажим груза выбирается большего типоразмера - по диаметру провода с армирующими прутками.
Рис. 3. Груз-ограничитель закручивания сферической формы с одним элементом крепления армирующими прутками:
1 - груз с тягой; 2 - плашечный зажим; 5 - провод; 4 - армирующие прутки
Рис. 4. Груз сферической формы с зажимом, устанавливаемым на армирующие прутки
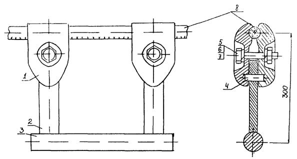
3.1.3. Конструкция груза цилиндрической формы с двумя тягами и двумя элементами крепления к проводу показана на рис. 5.
Рис. 5. Груз-ограничитель закручивания цилиндрической формы с двумя элементами крепления:
1 - плашка; 2 - тяга; 3 - груз; 4 - палец; 5, 6, 7 - болт, гайка, шайба; 8 - провод
Поскольку статические и динамические механические напряжения в местах крепления к проводу груза с двумя плашечными зажимами, значительно уменьшены, а на участке между зажимами груза вибрация отсутствует, такие грузы-ограничители кручения могут применяться без дополнительных средств защиты от вибрации, т.е. без армирующих прутков.
3.1.4. Посредником разработки и размещения заказов на изготовление грузов-ограничителей закручивания проводов и армирующих прутков может быть ВНИИЭ.
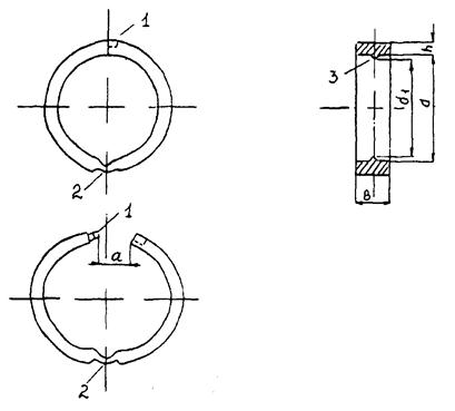
3.2.1. Кольца являются основными элементами защиты проводов от налипания снега. Снег с большим содержанием влаги, налипающей на провод эксцентрично со стороны несущего аэродинамического потока, проскальзывает в нижнюю часть провода вдоль скрутки наружного повива. Кольца, установленные на проводе, препятствуют скольжению налипающего снега вдоль скрутки провода и способствуют его осыпанию (рис. 6).
3.2.2. Кольца изготавливаются из пластмассы с помощью прессования, имеют замок и пружинящий элемент. В исходном состоянии кольца разомкнуты. Пружинящий элемент позволяет перед установкой раскрыть кольцо для того, чтобы надеть его на провод. При закреплении на проводе кольца обжимаются клещами, замок скрепляет устройство в замкнутое кольцо. Рекомендуемые размеры колец: толщина 3 - 5 мм, ширина 6 - 10 мм, причем для проводов большего диаметра должны применяться кольца большей толщины и ширины (рис. 7).
3.2.3. Размещение заказов на разработку и изготовление снегоотталкивающих колец может быть выполнено при посредничестве МО СКТБ ВПО «Союзэлектросетьизоляция».
Рис. 6. Провод с кольцами, препятствующими скольжению снега по спирали наружного повива

Рис. 7. Снегоотталкивающее кольцо:
1 - замок; 2 - пружинящий элемент; 3 - выступ
4.1.1. Применения защиты от налипания снега требуют линии и их участки, на которых не реже одного раза в пять лет наблюдаются отложения мокрого снега с толщиной стенки 60 мм и более.
4.1.2. Не требуется защита от налипания снега на участках линий, проходящих по просеке с высотой деревьев лесного массива более высоты подвеса всех проводов на опорах, на территории города с высокой застройкой, а также на участках линий, проходящих по низу горных долин и направленных вдоль них. В указанных случаях провода ВЛ либо экранированы от несущих снег аэродинамических потоков, либо направлены вдоль потоков, вследствие чего образование значительных по размерам эксцентричных отложений снега на проводах маловероятно.
4.2.1. В целях унификации производства грузов-ограничителей предусматривается применение грузов массой 1, 3, 5 и 7 кг. Количество грузов, устанавливаемых в пролете ВЛ зависит от крутильной жесткости провода, на значение которой существенное влияние оказывают диаметр стального сердечника и провода в целом. Для проводов 29 различных марок, применяемых на ВЛ 10 - 220 кВ, массы грузов-ограничителей закручивания и рекомендуемое для установки в пролетах различной длины количество грузов приведены в табл. 1.
Таблица 1
|
Масса груза, кг |
Длина пролета (м) при рекомендуемом количестве грузов в пролете |
|||||
|
1 |
2 |
3 |
4 |
5 |
||
|
АС 50/8 |
1 |
70 - 120 |
120 - 190 |
190 - 250 |
- |
- |
|
AC 70/11 |
||||||
|
АС 95/16 |
3 |
70 - 120 |
120 - 190 |
190 - 250 |
250 - 310 |
310 - 360 |
|
АС 70/72 |
||||||
|
AC 120/19 |
||||||
|
AC 120/27 |
||||||
|
AC 150/19 |
||||||
|
AC 150/24 |
||||||
|
AC 150/34 |
5 |
80/140 |
140 - 210 |
210 - 280 |
280 - 350 |
350 - 420 |
|
AC 185/24 |
||||||
|
AC 185/29 |
||||||
|
AC 185/43 |
||||||
|
АС 205/27 |
90 - 180 |
180 - 270 |
270 - 350 |
350 - 400 |
400 - 540 |
|
|
АС 240/32 |
||||||
|
АС 240/39 |
||||||
|
АС 240/56 |
7 |
100 - 190 |
190 - 280 |
280 - 370 |
370 - 450 |
450 - 570 |
|
АС 300/39 |
||||||
|
АС 300/48 |
||||||
|
АС 300/66 |
||||||
|
АС 300/67 |
||||||
|
АС 330/30 |
||||||
|
АС 330/43 |
120 - 200 |
200 - 290 |
290 - 380 |
380 - 470 |
470 - 600 |
|
|
AC 400/18 |
||||||
|
AC 400/22 |
||||||
|
AC 400/51 |
||||||
|
AC 400/64 |
||||||
|
AC 500/26 |
||||||
|
AC 500/27 |
||||||
|
AC 500/64 |
||||||
4.2.2. На линиях, где отсутствует опасность пляски проводов, грузы-ограничители закручивания могут устанавливаться в пролетах через равные интервалы. На линиях, где существует опасность пляски проводов и случаи пляски наблюдались, грузы рекомендуется устанавливать в пролете асимметрично и с неравными интервалами (табл.2). В этом случае грузы в определенной степени будут выполнять роль гасителей пляски маятникового типа.
Таблица 2
|
Места установки грузов в долях длины пролета |
|||||
|
1-й груз |
2-й груз |
3-й груз |
4-й груз |
5-й груз |
|
|
1 |
10/23 |
- |
- |
- |
- |
|
2 |
9/23 |
16/23 |
- |
- |
- |
|
3 |
3/23 |
10/23 |
16/23 |
- |
- |
|
4 |
3/23 |
9/23 |
13/23 |
16/23 |
- |
|
5 |
3/23 |
7/23 |
10/23 |
15/23 |
19/23 |
4.3.1. Кольца на проводах ВЛ устанавливаются вручную (путем обжатия клещами) с применением подъемного механизма до уровня проводов, либо тележки, перемещающейся по проводу.
4.3.2. Высокий эффект применения колец для защиты от налипания снега достигается при установке их с интервалами не более двух шагов скрутки наружного повива провода. Рекомендуемые интервалы между кольцами для проводов различных диаметров даны в табл. 3.
Таблица 3
|
Интервалы между кольцами, мм |
|
|
9 - 14 |
200 |
|
14 - 16 |
250 |
|
16 - 20 |
300 |
|
20 - 25 |
400 |
|
25 - 30 |
500 |
|
30 - 35 |
600 |
1. Asai S. et al. Improvement of countermeasures for snow accretion. 5-th International workshop on Atmostheric Icing of Structures, 1990, Tokyo, Japan, report B7-2.
2. Yasui M. et al. Ехреrimental study on countermeasure for snow accretion on power transmission lines 5-th International Workshop on Atmostheriс Icing of Structures, 1990, Tokyo, Japan, report B7-1.
СОДЕРЖАНИЕ