Российское акционерное общество энергетики и электрификации
«ЕЭС России»

УТВЕРЖДАЮ:

Президент РАО «ЕЭС России»

_____________ А.Ф. Дьяков

_____________ 1996 г.

 

Основные научно-технические требования
к созданию и развитию автоматизированных
систем управления районов электрических сетей
(АСУ РЭС)

Отраслевой методический материал

СОГЛАСОВАНО:

Начальник Департамента электрических сетей РАО «ЕЭС России»

Ю.А. Дементьев

Зам. генерального директора АО «ВНИИЭ»

Ю.И. Моржин

Генеральный директор АО «ГВЦ Энергетики»

В.И. Баланчевадзе

 

Зам. генерального

директора

АО РОСЭП

Ю.М. Кадыков

 

 

Москва 1996

 

АННОТАЦИЯ

Настоящая работа представляет собой отраслевой методический материал, в котором дана характеристика района электрических сетей как объекта управления и автоматизации, рассмотрены организационная и функциональная структуры автоматизированной системы управления районами электрических сетей (АСУ РЭС), приведен перечень задач и изложены перспективы развития основных автоматизированных систем управления в составе АСУ РЭС: автоматизированной системы диспетчерского управления (АСДУ), автоматизированной системы производственно-технического и организационно-экономического управления (АСПТОУ), автоматизированной системы контроля и управления электропотреблением (АСКУЭ) и автоматизированной системы управления технологическими процессами (АСУТП) подстанций РЭС. Сформулированы основные научно-технические требования к техническому, программному и информационному обеспечению АСУ РЭС и основным этапам их развития.

Работа выполнена в соответствии с заданием «Комплексное организационно-методическое обеспечение ИОАСУ-Энергия» отраслевой научно-технической программы 0.05. «Интегрированная автоматизированная система управления «ИОАСУ-Энергия» и является развитием и конкретизацией применительно к АСУ РЭС отраслевого методического материала «Основные научно-технические требования к созданию и развитию интегрированных автоматизированных систем управления предприятий электрических сетей (ИАСУ ПЭС)». С учетом последних достижений в программном обеспечении и создании локальных и многоуровневых вычислительных сетей в работе уточнены и дополнены отдельные положения «Концепции осуществления и развития районов электрических сетей (РЭС) в период 1991 - 2000 г.г.».

В работе использованы общеотраслевые и отраслевые материалы и действующие государственные стандарты по созданию ИАСУ предприятий, а также учтен опыт разработки отечественных и зарубежных АСУ распределительными электрическими сетями.

Работа выполнена АО ВНИИЭ, АО «ГВЦ Энергетики» и институтом «Сельэнергопроект».

Состав участников:

От АО ВНИИЭ

Воротницкий В.Э.

Горлов И.Г.

Кагаловский М.А.

Владимирова Е.Г.

От АО «ГВЦ Энергетики»

Шумилин В.Ф.

От АО РОСЭП

Чирков Г.С.

Принимали участие в обсуждении материалов работы:

Слоев В.В.                                   - РАО «ЕЭС России»

Штейнгауз В.Е.                           - АО «ГВЦ Энергетики»

Семена О.А.                                - ИВЦ Мосэнерго

Терешко О.А.                              - фирма «ОРГРЭС»

 

СОДЕРЖАНИЕ

Введение. 2

1. Район электрических сетей как объект управления и автоматизации. 3

2. Назначение, организационная и функциональная структуры АСУ РЭС.. 8

3. Автоматизированная система диспетчерского управления. 10

4. Автоматизированная система производственно-технического и организационно-экономического управления. 12

5. Автоматизированная система контроля, учета и управления электропотреблением.. 13

6. Автоматизированная система управления технологическими процессами подстанций. 14

7. Обеспечивающая часть АСУ РЭС.. 15

7.1. Техническое обеспечение. 15

7.2. Программное обеспечение. 29

7.3. Информационное обеспечение. 33

8. Основные этапы разработки АСУ РЭС.. 36

9. Экономическая эффективность АСУ РЭС.. 36

ВВЕДЕНИЕ

В электроэнергетике России в настоящее время действует около 1900 районов электрических сетей (РЭС), являющихся производственными подразделениями предприятий электрических сетей (ПЭС) и обслуживающих распределительные электрические сети 0,38 - 110 кВ. С целью повышения эффективности работы этих сетей, надежности, качества и экономичности электроснабжения потребителей в последние годы в рамках создания интегрированных автоматизированных систем управления ПЭС началось внедрение комплексов телемеханики и вычислительной техники на нижних уровнях управления - в районах электрических сетей.

Основным направлением дальнейшего развития АСУ является интеграция автоматизированного управления отдельными технологическими процессами и структурными подразделениями РЭС в единую интегрированную систему ИАСУ ПЭС, на базе стандартизации решений по техническому, информационному и программному обеспечению АСУ РЭС с ИАСУ ПЭС. Практическая реализация этого направления в конечном счете должна обеспечивать наиболее полный экономически и технически обоснованный охват автоматизацией основных функций управления РЭС для достижения наилучших результатов производственно-хозяйственной деятельности, развития и внедрения новой техники, оптимизации технологических процессов и режимов работы электрических сетей, сбалансированного роста технико-экономических показателей, рационального использования материальных и трудовых ресурсов.

Это достигается на основе:

- интеграции взаимосвязанных функций управления РЭС:

- согласованного взаимодействия всех подсистем АСУ РЭС: АСДУ, АСПТОУ, АСКУЭ и АСУТП подстанций;

- использования иерархической системы моделей планирования, эксплуатации и ремонта электрических сетей и оперативного управления их режимами для принятия согласованных оптимальных решений руководством РЭС;

- рационального распределения функций между подразделениями РЭС, обеспечивающего комплексность принятия согласованных решений, целевую направленность деятельности подразделений, гибкость и простоту управления в каждом звене;

- усиление роли и повышения эффективности оперативно-диспетчерского управления распределительными электрическими сетями, создания тесного взаимодействия с верхними и низшими уровнями диспетчерского управления;

- совершенствования и унификации документооборота в РЭС и ПЭС;

- автоматизации сбора, обработки и отображения информации;

- создания распределенной автоматизированной базы данных для решения технологических и управленческих задач РЭС.

Предлагаемые основные научно-технические требования по созданию АСУ РЭС разработаны на основе общеотраслевых и отраслевых методических материалов и государственных стандартов по созданию многоуровневых ИАСУ предприятиями, учитывают передовые отечественные и зарубежные достижения и тенденции развития АСУ распределительными электрическими сетями, основываются на системном подходе и рассматривают АСУ РЭС как составную часть ИАСУ ПЭС.

Настоящий отраслевой методический материал является основным документом для проведения работ на предпроектной стадии создания АСУ РЭС (разработка технико-экономического обоснования, технического задания). Методический материал позволяет проводить в отрасли единую техническую политику по созданию АСУ РЭС.

1. Район электрических сетей как объект управления и автоматизации.

Районы электрических сетей являются производственными подразделениями предприятий электрических сетей, обеспечивают электроснабжение потребителей, осуществляют техническое ремонтно-эксплуатационное обслуживание и оперативно-диспетчерское управление электрическими сетями и энергообъектами 0,38 - 110 кВ на обслуживаемой ими территории, осуществляют контроль за соблюдением потребителями установленных планов и режимов электропотребления и реализацией электропотребления.

Как правило, границы РЭС устанавливаются в пределах административных районов.

Оперативно-диспетчерское и техническое обслуживание, а также ремонт электроустановок осуществляются по следующим формам управления:

территориальная - все функции на обслуживаемой территории осуществляются РЭС;

смешанная - функции планирования, контроля и технического руководства деятельностью РЭС в части линий электропередачи 35 кВ и выше и подстанций 35 кВ и выше возлагаются на соответствующие службы ПЭС, остальные функции по электрическим сетям 0,38 - 110 кВ остаются за РЭС.

Для оперативно-диспетчерского контроля и управления оборудованием энергетических объектов, находящихся в непосредственном управлении РЭС, создаются диспетчерские пункты РЭС (ДП РЭС).

РЭС и ДП РЭС размещаются, как правило, на ремонтно-производственной базе (РПБ), либо в ремонтно-эксплуатационном пункте (РЭП). ДП РЭС может размещаться также при районной подстанции 35 - 110 кВ. При этом функции диспетчера РЭС и дежурного подстанции, как правило, совмещаются.

В состав РЭС входят участки электрических сетей (УЭС). Их количество, размеры и границы обслуживания определяются из условий рациональной загрузки персонала, объемов и периодичности проведения эксплуатационных работ.

Там, где объем электросетей на обслуживаемой территории недостаточен для создания района, создается УЭС, выполняющий функции РЭС и непосредственно подчиняющийся электрическим сетям.

Расстояния на обслуживаемой РЭС и УЗС территории от центра до периферийных объектов могут достигать 30 - 40 км.

Участки электрических сетей размещаются, как правило, при РЭП типов и обслуживают распределительные электрические сети напряжением 0,38 - 10 кВ, отходящие от одной или нескольких подстанций 35 - 110 КВ.

В состав УЭС входят специализированные бригады по оперативному и техническому обслуживанию распределительных электрических сетей напряжением 0,38 - 10 кВ.

В процессе обеспечения потребителей электроэнергией РЭС выполняет следующие основные функции:

обеспечение оперативного управления объектами электрических сетей РЭС;

разработка планов и выполнение работ по ремонту и техническому обслуживанию электроустановок и объектов электрических сетей 0,38 - 110 кВ;

производство аварийно-восстановительных работ на объектах электрических сетей РЭС, участие в ликвидации нарушений в работе электрических сетей ПЭС;

осуществление контроля за реализацией электрической энергии и учета потребления, ведение графиков ограничений мощности и контроль за их выполнением, контроль за соблюдением договоров потребления электрической энергии, выполнение расчетов за потребляемую электроэнергию с потребителями в зоне обслуживания РЭС (при передаче от Энергонадзора в ПЭС и РЭС функций сбыта электроэнергии):

разработка и выполнение мероприятий по повышению надежности электрических сетей РЭС, противоаварийных мероприятий;

разработка предложений по строительству, реконструкции и техническому перевооружению электрических сетей РЭС, механизации и телемеханизации, решение вопросов по развитию сельской электрификации, обеспечению надежного электроснабжения сельскохозяйственных потребителей района;

контроль объемов, качества и сроков выполнения строительно-монтажных и наладочных работ, участие в приемо-сдаточных испытаниях;

ведение работ по аттестации и рационализации рабочих мест, внедрение научной организации труда, совершенствование структуры управления РЭС;

разработка и выполнение мероприятий по охране труда и технике безопасности, обучение персонала;

анализ производственно-хозяйственной деятельности, составление отчетности и пр.

Организационная структура и численный состав РЭС зависят от объемов обслуживания, конкретных условий эксплуатации сетей и устанавливаются штатным расписанием. Работой РЭС руководит начальник.

Для осуществления перечисленных выше функций в РЭС, как правило, создаются:

оперативно-диспетчерская группа (ОДГ) и оперативно-выездные бригады (ОВБ), работающие под управлением диспетчера РЭС;

участки по оперативному и техническому обслуживанию распределительных сетей 0,38 - 10 кВ, линий и подстанций 35 кВ и выше (при территориальной форме обслуживания);

бригады централизованного ремонта воздушных и кабельных линий 0,38 - 10 кВ, мачтовых и закрытых трансформаторных подстанций (МТП и ЗТП), линий и подстанций 35 - 110 кВ (при территориальной форме управления);

группа механизации или транспортный участок;

хозяйственная группа и др.

Исходя из местных условий специализация подразделений РЭС и их состав могут изменяться. В частности, в состав РЭС в отдельных энергосистемах могут входить группы реализации, распределения и контроля потребления электроэнергии.

Одним из основных подразделений РЭС, оказывающих решающее влияние на качество и надежность электроснабжения потребителей, является оперативно-диспетчерская группа, которая руководит производством плановых оперативных переключений, организует своевременное обнаружение и оперативное устранение возникающих нарушений нормального электроснабжения потребителей, отклонений режимов от заданных параметров, локализует и оперативно устраняет различные повреждения элементов электрической сети.

Из способов оперативно-эксплуатационного обслуживания можно выделить следующие:

круглосуточное постоянное дежурство оперативного персонала на щите управления подстанции;

дежурство оперативного персонала на дому;

круглосуточное централизованное оперативно-эксплуатационное обслуживание подстанций, других групп оборудования с помощью ОВБ.

ОВБ размещаются в центрах РЭС или УЭС при ремонтно-производственных базах с радиусом обслуживания не более 20 - 30 км.

В зависимости от группы ПЭС, входящие в него РЭС имеют различный структурный состав, который представлен в табл. 1.1.

Таблица 1.1.

Группа ПЭС

Среднее количество РЭС в ПЭС

Среднее количество УЭС в РЭС

Среднее ко-во подстанций 35 кВ и выше в РЭС

Средняя протяженность (км) ВЛ в РЭС

35 кВ и выше

распредсети

I

8 - 12

2 - 6

9 - 14

100 - 500 и более

500 - 1300 и более

II

6 - 8

2 - 6

10 - 12

тоже

600 - 1090

III

4 - 6

2 - 3

5 - 26

- ² -

350 - 1070

IV

2 - 4

2 - 3

9 - 22

400 и более

700 и более

Один из вариантов организационной структуры РЭС представлен на рис. 1.1.

При выполнении производственных функций РЭС осуществляет прямые связи со службами и подразделениями ПЭС в том числе:

со службой распределительных сетей (план-графики работ по техническому обслуживанию и ремонту оборудования и отчеты об их выполнении; информация о выполнении мероприятий по повышению надежности работа оборудования распределительных сетей; ведомости нарушений в распределительных сетях; объемы работ (ведомости дефектов) по ремонту распределительных сетей; схемы распределительных сетей; предложения для включения в планы строительства, реконструкции и технического перевооружения объектов электрических сетей и т.п.);

Рис. 1.1. Организационная структура РЭС

со службой подстанций и службой линий (планы работ в части технического обслуживания, капитального ремонта, повышения надежности подстанций и линий 35 кВ и выше):

со службой релейной защиты, электроавтоматики и электроизмерений (сведения о наличии и поступлении измерительных приборов, технического состояния, ремонте и поверке этих приборов в РЭС);

со службой изоляции и защиты от перенапряжений (отчет о выполнении мероприятий по подготовке к грозовому сезону, план и отчет по замерам изоляции и контуров заземления ВЛ РЭС, заявки на испытания защитных и изолирующих средств);

с оперативно-диспетчерской службой (заявки на вывод из работы и резерва оборудования подстанций и распределительных сетей, находящихся в ведении диспетчера ОДС ПЭС; предложения по повышению качества электроэнергии; план мероприятий по снижению потерь электроэнергии в электросетях; результаты замеров нагрузок и уровней напряжений);

с производственно-техническим отделом (данные, необходимые для составления годового отчета ПЭС; предложения для включения в план реконструкции и модернизации объектов электрических сетей, механизации и автоматизации технологических процессов; отчет о выполнении плана; акты выполненных работ по капитальному ремонту и т.п.);

с планово-экономическим отделом (информация о выполнении план-задания по технико-экономическим показателям; наряды, наряд-задания по выполненным работам, договоры на работы, осуществляемые сторонними организациями; заявки на услуги своих вспомогательных производств и сторонних организаций; предложения по нормам расхода материалов, запасных частей и оборудования, горюче-смазочных материалов; предложения по начислению надбавок и доплат, на повышение разрядов, на оплату сверхурочных работ и т.п.);

с бухгалтерией (акты на списание малоценного инвентаря, оборудования, приборов, спецодежды, материалов о приеме и передаче основных фондов и об их перемещении; ведомость на спецодежду, спецжиры и спецпитание; акты установки оборудования; материальный отчет; заявки на выдачу денег на командировочные расходы и т.п.);

с отделом материально-технического снабжения (заявленная потребность в материальных ресурсах; лимитно-заборные карты; оперативные сведения о дополнительной потребности в материальных ресурсах и т.п.), а также с отделом капитального строительства, со службой надзора за эксплуатацией и техникой безопасности и др.

Анализ существующего технического состояния, надежности и уровня эксплуатации распределительных электрических сетей 0,38 - 110 кВ Российской Федерации показывает, что при разработке и создании АСУ РЭС необходимо учитывать следующие основные факторы:

- современный уровень развития распределительных сетей характеризуется тенденцией увеличения повреждаемости основного электрооборудования, определяемой его физическим износом и моральным старением, несоответствием характеристик многих видов оборудования и конструкций линий электропередачи фактическим условиям эксплуатации;

- в связи с ограниченным финансированием и неудовлетворительным материально-техническим обеспечением недостаточны объемы ремонтов и реконструкции электрических сетей;

- на протяжении длительного времени промышленностью не решаются, вопросы обеспечения предприятий и районов электросетей средствами телемеханики, автоматики, релейной защиты, связи;

- уровень телемеханизации, связи и автоматизации в электрических сетях явно недостаточен. В частности телемеханизация подстанций 35 - 110 кВ сельскохозяйственного назначения в основном (до 70 %) осуществляется на простейшей аппаратуре в объеме аварийно-предупредительной телесигнализации, что совершенно не удовлетворяет требованиям надежности и эффективности диспетчерского управления. Более 50 % подстанций не телемеханизированы или имеют местную вызывную телемеханизацию;

- более 10 % РЭС не имеют диспетчерских пунктов. Оснащенность диспетчерскими щитами составляет около 50 %, а активными щитами - менее 40 %;

- телемеханизация распределительных электрических сетей 6 - 20 кВ пока не вышла из стадии экспериментальных работ по внедрению и проверке малосерийных и опытных устройств, таких как: тональная система ТМРС-10, радиосистема РТС-80 (Эстакада-1, ТРС-1М). В последние три года работы по внедрению и производству телемеханической аппаратуры практически вообще прекратились;

- продолжают эксплуатироваться большое количество устаревших устройств телемеханики типов: УТС-8, УТК, РСТ, ВРТ-53, УТБ-3, ВРТФ-3, ВРТФ-1, КУСТ-Б, МКТ-1, МКТ-2, ТМ-512, ТМ-800А, ТМ-800В и др.

- аварийно-предупредительная телесигнализация с ПС 35 - 110 кВ выполнена на морально устаревшей аппаратуре ТСД-70, АРС-64, радиостанциях ФМ с приставками ТЖА, ТЖК.

В настоящее время в эксплуатации находится большое количество аппаратуры ВЧ каналов связи, которая не может использоваться для организации каналов телемеханики и подлежит замене при телемеханизации подстанций (АРС-64, ТСД-70, АСТ-РС, ВЧА-С4). Устройства присоединения и обработки высокочастотных каналов, выпускаемые заводом «Нептун» и Пятигорским опытным заводом «Энергоавтоматики», морально устарели и не соответствуют требованиям МЭК по многим параметрам.

В распределительных сетях напряжением 35 - 110 кВ затухание ВЧ сигнала в фильтрах присоединения и заградителях существенно превышают затухание в фазных проводах и земле. Эти сети характеризуются относительно короткой длиной ВЛ, наличием большого количества ответвлений и промежуточных подстанций с небольшой емкостью, опасностью появления дополнительного затухания на ВЧ обходе до 20 дБ, а также большой длительностью времени короткого замыкания на ВЛ (до 2,5 сек.).

В настоящее время отсутствует выпуск заградителей на рабочие токи 200 и 600 А с электродинамической стойкостью, соответствующей стандарту МЭК (публикации 353), и временем протекания тока короткого замыкания 2,5 сек, а заградители на 400 А, в которых ощущается максимальная потребность в распределительных сетях, вообще не разрабатывалась. Широко используемые фильтры присоединения Одесского завода «Нептун» морально устарели, их технический уровень существенно ниже зарубежных аналогов, не соответствуют стандарту МЭК (публикация 481) в части безопасности и защиты устройств присоединения.

УКВ радиостанции Эстакада-1 Воронежского завода «Электросигнал» имеют ряд существенных недостатков, которые сдерживают их широкое применение:

- отсутствует защита от приема ложных команд телеуправления за счет сверхдальнего распространения УКВ-радиоволн;

- диапазон температур ограничен минус 25 градусов С;

- отсутствует ретрансляционная станция;

- отсутствует дистанционное управление.

Перечисленные недостатки технического состояния, надежности и уровня эксплуатации распределительных сетей, низкий уровень их автоматизации, телемеханизации и оснащенности средствами связи обуславливают необходимость поэтапного внедрения и развития АСУ РЭС. Это развитие должно осуществляться параллельно с техническим перевооружением и реконструкцией основного оборудования сетей, развитием и внедрением средств автоматики, телемеханики и связи. Основные научно-технические требования к этапам и тенденциям развития АСУ РЭС в целом и ее подсистем изложены в последующих разделах настоящих методических материалов.

2. Назначение, организационная и функциональная структуры АСУ РЭС.

Автоматизированная система управления РЭС представляет собой многоуровневую систему, сочетающую функции оперативно-диспетчерского, технологического, производственно-технического и организационно-экономического управления и обеспечивающую совместное согласованное функционирование АСУ на уровне РЭС, участков электрических сетей и подстанций.

АСУ РЭС является составной частью ИАСУ ПЭС и создается с учетом конкретных особенностей данного РЭС с целью:

- повышения надежности электроснабжения потребителей и качества отпускаемой электроэнергии;

- оптимизации режимов работы распределительных электрических сетей 0,38 - 110 кВ, снижения потерь электроэнергии в них;

- повышения культуры и качества обслуживания электрических сетей, минимизации эксплуатационных затрат;

- повышения культуры и качества обслуживания потребителей, получающих питание от электрических сетей РЭС.

Организационная структура АСУ РЭС (рис. 2.1) должна соответствовать организационной структуре управления распределительными электрическими сетями (рис. 1.1) данного РЭС.

Верхний уровень АСУ РЭС автоматизирует оперативно-диспетчерские, производственно-технические и организационно-экономические функции аппарата управления и подразделений РЭС.

Второй уровень - АСУ УЭС автоматизирует в основном производственно-технические функции персонала УЭС по техническому обслуживанию и ремонту закрепленного за ним оборудования электрических сетей. Функции оперативного управления на этом уровне автоматизируются в минимальном объеме и касаются в основном автоматизации поиска повреждений в электрических сетях 0,38 - 10 кВ.

Третий уровень - АСУТП подстанций автоматизирует управление оборудованием подстанций и распределительных пунктов, находящихся в оперативном управлении и ведении диспетчера РЭС и на оперативном обслуживании персонала УЭС.

Функциональная структура АСУ РЭС (рис. 2.2) должна соответствовать назначению, функциям и задачам структурных подразделений данного РЭС и УЭС.

Рис. 2.1 Типовая организационная структура АСУ РЭС

Рис.2.2. Типовая функциональная структура АСУ РЭС

В соответствии с этими функциями и задачами в составе АСУ РЭС должны быть разработаны:

автоматизированная система диспетчерского управления (АСДУ) РЭС, включающая АСДУ УЭС и АСУТП подстанций (ПС);

автоматизированная система производственно-технического и организационно-экономического управления (АСПТОУ) РЭС, включающая автоматизированную систему производственно-технического управления (АСПТУ) УЭС;

- автоматизированная система контроля и управления электропотреблением (АСКУЭ) РЭС, включающая АСКУЭ подстанций.

Перечисленные автоматизированные системы взаимодействуют между собой и функционируют в составе соответствующих автоматизированных систем ИАСУ ПЭС.

Более подробно описание основных элементов организационной и функциональной структур АСУ РЭС и основные требования к ним приведены в следующих разделах настоящего методического материала.

3. Автоматизированная система диспетчерского управления.

3.1. Назначение АСДУ.

АСДУ РЭС предназначена для повышения эффективности оперативно-диспетчерского управления нормальными и аварийными режимами электрических сетей и подчиненным оперативно-ремонтным персоналом за счет внедрения новейших средств телемеханики, автоматики, связи, вычислительной техники и соответствующего программного обеспечения.

3.2. Функции и задачи АСДУ.

3.2.1. Существующие функции и задачи.

В составе АСДУ РЭС должны быть автоматизированы задачи, которые можно разделить на три части:

задачи автоматического управления;

задачи оперативного управления;

задачи планирования режимов.

К автоматическому управлению относятся задачи, решаемые средствами релейной защиты, автоматики и регулирования.

К задачам оперативного управления, решаемых на часовых и внутричасовых временных интервалах средствами оперативно-информационных управляющих комплексов (ОИУК), относятся:

- сбор информации от устройств телемеханики;

- вывод информации на устройства телемеханики;

- контроль исправности устройств телемеханики и каналообразующей аппаратуры;

- масштабирование телеинформации;

- контроль достоверности телеинформации;

- контроль телеинформации по уставкам;

- фильтрация и сглаживание телеинформации;

- дорасчет нетелеизмеряемых режимных параметров;

- отображение и представление телеинформации и текущего состояния схем электрических сетей и подстанций диспетчерскому персоналу и другим пользователям на экранах мониторов;

- вывод телеинформации на устройства печати;

- ведение архивов: минутных и часовых значений телеизмерений, импульс-архивов, архивов анализируемых ситуаций и событий;

- телеуправление;

- автоматическая регистрация и архивирование диспетчерских переговоров;

Одной из особенностей оперативно-диспетчерского управления электрическими сетями РЭС и УЭС является тесная связь работы ОДГ по руководству оперативными переключениями и ремонтным обслуживанием сетей. С этой точки зрения весьма важной функцией АСДУ РЭС и УЭС является оперативно-диспетчерское управление ремонтом оборудования электрических сетей, находящихся на балансе соответствующего подразделения. Указанная функция реализуется в результате решения следующих задач:

- автоматизированное рассмотрение заявок на ввод/вывод в ремонт оборудования электрической сети;

- автоматизированное составление и выдача бланков переключений;

- ведение оперативного журнала диспетчера;

- ведение справочной системы диспетчерской документации, в том числе: ввод, коррекция, хранение, быстрый поиск и отображение диспетчерской документации (инструкций, циркуляров, правил, схем допустимых нагрузок и т.д.). Более подробно об информационном обеспечении АСУ РЭС см. разд. 7.3.

К задачам планирования режимов относятся задачи перспективного (многолетнего, до 5 - 10 лет), долгосрочного (год, квартал, месяц) и краткосрочного (неделя, сутки, часть суток) планирования, в том числе:

- обработка и достоверизация контрольных замеров нагрузок;

- определение статических характеристик нагрузок;

- прогноз нагрузок в узлах электрических сетей на характерные периоды;

- расчет и анализ установившихся режимов электрических сетей напряжением 6 - 110 кВ и выборочно - сетей 0,38 кВ;

- расчет токов короткого замыкания в электрических сетях 6 - 110 кВ;

- расчет токов короткого замыкания и выбор плавких вставок в сетях 0,38 кВ;

- расчет уставок релейной защиты и автоматики в распределительных сетях 6 - 110 кВ;

- оптимизация законов регулирования напряжения в центрах питания, выбор ответвлений трансформаторов распределительных сетей, оптимизация режимов работы конденсаторных батарей и других местных средств регулирования напряжения;

- расчет, анализ, нормирование и прогноз потерь электроэнергии в электрических сетях 0,38 - 110 кВ;

- прогнозирование и анализ загрузки трансформаторов распределительных сетей и выбор экономического режима их работы;

- расчет оптимальных точек размыкания электрических сетей по критерию минимума потерь электроэнергии (мощности);

- оценка режимных последствий ввода в работу новых объектов и подключение их к электрическим сетям;

- разработка и корректировка нормальной и ремонтной схем электрических сетей;

- разработка типовых ремонтных схем;

- определение эквитоковых зон при коротких замыканиях в электрических сетях с целью отыскания и локализации поврежденных участков и др.

Перечисленные выше задачи оперативного управления, планирования режимов распределительных электрических сетей, оперативно-диспетчерского управления ремонтом оборудования распределительных электрических сетей решаются средствами АСДУ ПЭС и РЭС.

3.2.2. Основные направления развития функций и задач АСДУ РЭС.

Задачами, требующими автоматизации решения в ближайшей перспективе, являются:

Программа-советчик диспетчеру РЭС, которая должна предлагать оптимальные решения, по:

а) выполнению ремонтов в электрических сетях, в том числе распределению ремонтных ресурсов, персонала транспортных средств и механизмов в заданное время;

б) локализации аварий в электрических сетях и восстановлению электроснабжения потребителей на основе: анализа последовательности работы защит и выключателей, работы регистраторов аварийных событий в сетях 6 - 110 кВ; определение мест повреждения на линиях; заявок потребителей на ликвидацию погашения питания в сетях 0,38 кВ; оптимизационных программ оперативных переключений в электрических сетях и на энергообъектах.

Программа-советчик должна обеспечивать интеллектуальную поддержку диспетчера в процессе его работы на основе использования экспертных систем. Качественная модель процесса управления распределительными системами и база знаний экспертной системы должны обеспечивать возможность анализа в каждый момент времени возникающих событий, причинно-следственных связей между ними. Эти связи должны запоминаться в базе знаний. Программа-советчик диспетчера должна представлять информацию о причинах отклонения параметров режима сети от нормальных, о причинах срабатывания автоматики и т.п. Должна быть предусмотрена возможность решения с помощью экспертной системы задачи прогноза аварийных событий и последствий этих событий, прогноза возможных неисправностей и методов их предотвращения.

Программа подключения к ОИК РЭС расчета, анализа и оптимизации установившихся режимов электрических сетей для решения этих задач в реальном времени.

Программа подключения к ОИК РЭС тренажера оперативных переключений и режимного тренажера для обучения, переподготовки оперативно-диспетчерского персонала, проведения индивидуальных и противоаварийных тренировок, аттестации и приема экзаменов на рабочем месте.

Программы расчета показателей надежности работы электрических сетей, учета надежности при долгосрочном и краткосрочном планировании режимов, учета надежности при оперативном управлении режимами.

Алгоритмы и программы комплексной оптимизации, планирования развития электрических сетей и оперативного управления их режимами по критериям надежности, экономичности и качества электроснабжения потребителей.

Комплекс задач управления распределением электроэнергии, электропотреблением и нагрузкой. О перспективах этого комплекса подробнее см. разд. 5.

4. Автоматизированная система производственно-технического и организационно-экономического управления.

4.1. Функции и задачи.

Автоматизированная система производственно-технического и организационно-экономического управления (АСПТОУ) в РЭС создается с целью повышения оперативности получения и обработки производственно-технической и экономической информации при решении следующих функций и задач РЭС:

- управление производственно-технической деятельностью, включая: диагностику оборудования электрических сетей; паспортизацию оборудования электрических сетей; учет и анализ технического состояния оборудования электрических сетей (линий электропередачи, выключателей, трансформаторов, релейной защиты и автоматики, изоляции компенсирующих устройств и пр.); учет и анализ аварийных отключений, повреждаемости элементов линий и подстанций; составление планов-графиков профилактических испытаний оборудования, его модернизации, технического перевооружения и т.д.;

- управление ремонтом и техническим обслуживанием, в том числе: определение объемов ремонта и технического обслуживания; составление планов-графиков ремонта и технического обслуживания (многолетних, годовых, месячных), расчет объемов капитальных ремонтов электрических сетей; расчет трудозатрат, потребности в материалах, запасных частях, машинах и механизмах; расчет смет на проведение ремонтных работ; контроль за выполнением капитальных ремонтов и план-графиков ремонтов и технического обслуживания электрических сетей; составление отчетов о выполнении капитальных ремонтов и план-графиков ремонтов и технического обслуживания электрических сетей и пр.;

- управление средствами механизации и транспорта, в том числе: учет и составление отчетов о наличии и работе автотранспорта и специальных механизмов; расчет потребности в автотранспорте и механизмах: учет и анализ расхода горюче-смазочных материалов автотранспортом и т.д.:

- управление материально-техническим снабжением, в том числе: учет наличия и движения материалов на складах, учет средств защиты и инструментов, расчет потребности в оборудовании и материалах; обработка форм инвентаризации оборудования;

- управление персоналом, включая прием экзаменов по охране труда и технике безопасности; расчет нормативной численности персонала; учет и анализ состава и движения кадров; учет и анализ электротравматизма и несчастных случаев в РЭС; планирование и контроль проведения испытаний защитных средств; обучение персонала.

4.2. Этапы развития АСПТОУ РЭС.

На первом этапе задачи АСПТОУ решаются на ЭВМ РЭС в составе автоматизированных рабочих мест службы линий, подстанций, распределительных электрических сетей. На этом же этапе создаются: базы паспортных данных по оборудованию распределительных электрических сетей, графические базы данных с картами-схемами, диспетчерскими схемами, поопорными схемами и схемами подстанций распределительных сетей 0,38 - 110 кВ, решаются технологические задачи учета технического состояния, составления планов ремонтов и технического обслуживания электрических сетей, расчета смет на ремонты и т.п.

На втором этапе при установке в РЭС файл-сервера и организации локальной вычислительной сети РЭС, базы данных по распределительным сетям переносятся в файл-сервер РЭС и создаются автоматизированные рабочие места руководства РЭС и его технологических подразделений. В результате создания ЛВС и объединения на файл-сервере баз данных появляется возможность совместного решения задач АСДУ и АСПТОУ. На этом же этапе по модемной связи осуществляется обмен информацией между АСПТОУ РЭС, АСПТУ и АСОУ ПЭС.

На третьем этапе, благодаря установке удаленных терминалов на участках электрических сетей, появляется возможность передачи первичной информации о параметрах сетей 0,38 - 10 кВ и их режимах с УЭС в ПЭС.

Многие из перечисленных задач в настоящее время уже автоматизированы и решаются с помощью ЭВМ. Это относится в первую очередь к задачам управления производственно-технической деятельностью, управления ремонтом и техническим обслуживанием электрических сетей.

5. Автоматизированная система контроля, учета и управления электропотреблением.

АСКУЭ в РЭС создаются для автоматизации расчетного и технического учета поступившей в РЭС, переданной по электрическим сетям и отпущенной электроэнергий потребителям, контроля балансов мощности и энергии по РЭС в целом, участкам электрических сетей и подстанций, контроля и управления режимами электропотребления и управления нагрузкой потребителей на базе достоверной, метрологически обеспеченной информации расчетного и технического учета.

В основу проектируемой системы АСКУЭ должны быть заложены следующие принципы:

- исходной информацией для системы должны служить данные, получаемые от счетчиков расхода электроэнергии;

- система должна создаваться как коммерческая, использующая для расчетного и технического учета одни и те же комплексы технических средств;

- сбор, первичная обработка, хранение и выдача в систему информации об электроэнергии и мощности должна осуществляться с помощью метрологически аттестованных и защищенных от несанкционированного доступа специализированных информационно-измерительных систем или устройств сбора и передачи данных;

- информация об электроэнергии и мощности, образующаяся на объектах и циркулирующая в АСКУЭ, должна быть привязана к астрономическому времени ее образования;

- система сбора и передачи информации АСКУЭ по возможности должна использовать существующую систему сбора и передачи информации АСДУ РЭС.

АСКУЭ РЭС должна выполнять следующие функции и задачи:

- учет и контроль перетоков электроэнергии и мощности на границах РЭС, а также баланса электроэнергии и мощности по РЭС;

- учет электроэнергии, переданной в участки электрических сетей данного района и по всем распределительным линиям 6 - 10 кВ РЭС, для учета и контроля потерь электроэнергии в этих линиях;

- учет и контроль балансов электроэнергии и мощности по основным подстанциям и РП РЭС:

- учет и контроль балансов электроэнергии по распределительным линиям 6 - 10 кВ;

- статистический учет и отчетность по показателям распределения и потребления электроэнергии, формирование архива данных по электроэнергии и мощности по подстанциям и распределительным линиям РЭС, а также формирование данных для суточной диспетчерской ведомости;

- формирование данных по электропотреблению для передачи на участок Энергонадзора.

В случае передачи функций сбыта электроэнергии в ПЭС и РЭС, АСКУЭ РЭС должно также выполнять следующие дополнительные функции: оперативный контроль за соблюдением договоров, потребления электроэнергии и мощности с потребителями, находящимися на ежесуточном контроле; статистический учет, контроль и анализ соблюдения договоров электропотребления группами потребителей; планирование и учет установки, поверки, ремонтов и замены электросчетчиков и информационно-измерительных систем; управление электропотреблением (с помощью средств телеуправления и команд оперативного персонала) и контроль за соблюдением заданных режимов электропотребления и вводимых ограничений для потребителей региона.

6. Автоматизированная система управления технологическими процессами подстанций.

Объектом управления автоматизированных систем управления технологическими процессами подстанций (АСУТП подстанций) РЭС являются распределительные подстанции с высшим напряжением 35 - 110 кВ и РП 10 - 35 кВ, находящиеся в ведении РЭС и УЭС.

Основной целью создания АСУТП подстанций является повышение надежности электроснабжения потребителей за счет сокращения количества аварий путем их предупреждения и локализации, а также полного исключения ошибочных действий дежурного персонала. Решение данной задачи может быть осуществлено путем глубокой автоматизации функций управления подстанциями на базе использования электронно-вычислительных машин и в особенности микропроцессоров в качестве основных технических средств при построении систем управления и релейной защиты. Применение микропроцессорных систем позволяет автоматизировать большинство наиболее сложных функций управления, контроля и релейной защиты и получить новое качество всей системы управления подстанций в целом.

В настоящее время проектирование и разработка АСУТП подстанций включают в основном информационные задачи:

- измерение, контроль и регистрация режимных параметров элементов подстанций;

- сигнализация о неисправностях и авариях, о действиях автоматических устройств - регистрация нарушений;

- хронологическая регистрация событий;

- контроль режимных параметров и регистрация отклонений;

- контроль за электропотреблением (качество и количество);

- контроль и диагностика работы оборудования (определение ресурсов выключателей, трансформаторов (автотрансформаторов) РПН, документирование - ведение суточной ведомости, ведомости событий, ведомости параметров, вышедших за предельные значения и др.;

- оперативные переключения по бланкам для вывода оборудования в ремонт или технологические переключения;

- сбор, обработка и формирование необходимой диспетчеру верхнего уровня управления информации и ее передача по каналам связи др.;

- обработка и передача диспетчеру данных о местах повреждений на линиях;

- охранно-пожарная сигнализация.

Развитие электрических сетей, усложнение режимов их работы и, как следствие, сложность управления этими режимами предъявляют высокие требования к системам управления энергообъектами и в т.ч. подстанциями. В условиях, когда в качестве системы оперативного управления энергосистемой действует АСДУ, внедрение электронных систем управления на подстанциях является необходимым. Предполагаемое производство новых высоконадежных микропроцессорных систем позволит создать новые высоконадежные системы управления.

В перспективе должны получить распространение АСУТП, создаваемые на базе распределенных микропроцессорных комплексов. АСУТП подстанций должны реализовывать функции контроля, оперативного и автоматического управления. Наиболее совершенные АСУТП подстанций будут выполнять также функции релейной защиты.

Создание микропроцессорных АСУТП подстанций является весьма перспективным направлением, способствующим повышению надежности оперативного и автоматического управления. Благодаря программируемости в этих системах могут быть реализованы более сложные алгоритмы работы, легко пересматриваемые при изменении характеристик или условий работы объекта управления (подстанции).

Надежность микропроцессорных АСУТП повышается благодаря возможности автоматического самоконтроля и диагностирования. Кроме того, из-за высокой степени интеграции микропроцессорные системы имеют меньшие габариты, просты в эксплуатации. Блочная структура АСУТП облегчает их расширение, реконструкцию, проведение ремонтных работ.

Такие системы могут быть использованы для осуществления АСУТП на подстанциях всех уровней напряжения.

7. Обеспечивающая часть АСУ РЭС.

7.1. Техническое обеспечение.

Техническое обеспечение (комплекс технических средств - КТС) АСУ РЭС состоит из следующих взаимодействующих комплексов: вычислительной техники, устройств сопряжения, средств телемеханики, связи и передачи данных, печатающей, множительной техники и т.п. Архитектура КТС АСУ РЭС на различных этапах его развития представлена на рис. 7.1, 7.2, 7.3.

7.1.1. Общие требования.

Комплекс технических средств АСУ РЭС должен:

- строиться на базе модулей, обеспечивающих совместимость, изменение и развитие конфигурации технических средств;

- осуществлять распределенную обработку информации на разных уровнях управления за счет организации иерархических вычислительных систем и сетей, обработку информации в различных режимах (пакетном, реального времени, диалоговом, телеобработки);

- обеспечивать эффективное использование устройств сбора и передачи информации с целью сокращения затрат и повышения оперативности обработки информации;

- обладать надежностью, достаточной для эффективного функционирования АСУ РЭС с заданным регламентом и получения требуемой достоверности результатов решения задач;

- обеспечивать возможность изменения структуры и номенклатуры технических средств для поэтапного ввода в действие компонентов АСУ РЭС.

7.1.2. Требования к этапам развития средств вычислительной техники.

Этапность оснащения РЭС вычислительной техникой следует рассматривать исходя из того, что районы электрических сетей представляют собой сложные объекты технологического и организационного управления. Это определяет конечную цель создания АСУ РЭС - построение единой распределенной вычислительной среды, интеграция всей информации, описывающей объект управления, т.е. создание его целостной информационной модели и интеграция программного обеспечения в рамках РЭС в целом и его подразделений. Реализация поставленной цели может быть рассчитана на несколько лет и поэтому должна быть разбита на этапы, постепенно развивающие архитектуру технических средств, программного и информационного обеспечения.

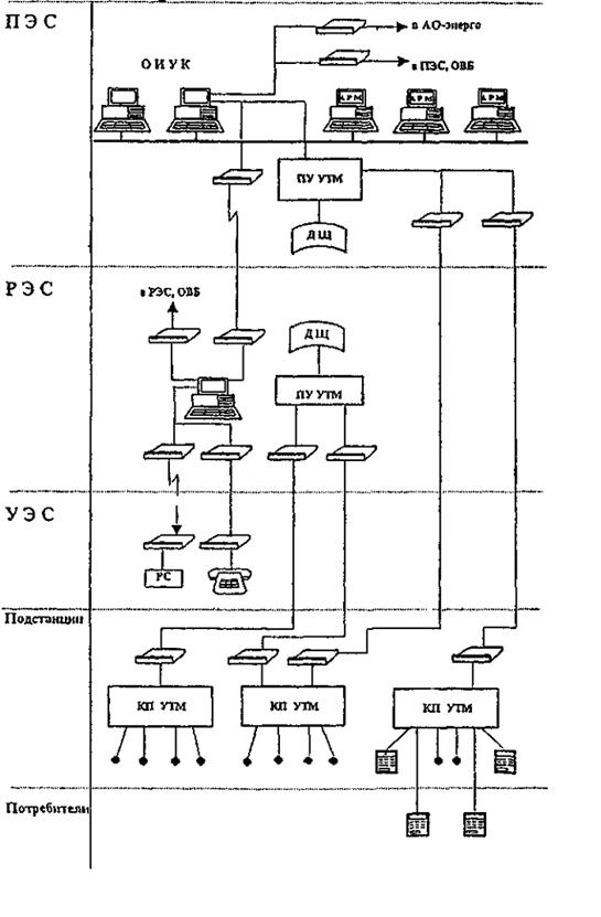
На первом этапе КТС АСУ РЭС (рис. 7.1) функционирует, как правило, автономно и изолированно. Это может быть набор совместимых ПЭВМ. При наличии телемеханики и достаточного объема телеинформации развертывание АСДУ РЭС обычно начинают с оперативно-информационного управляющего комплекса, позволяющего запустить задачи первой очереди на рабочем месте диспетчера. Функции, выполняемые ОИУК, описаны в разделе 3. Технически он представляет собой одномашинный или двухмашинный комплекс, обслуживающий рабочее место диспетчера РЭС. Ввод телеинформации в ЭВМ может осуществляться двумя различными способами. При наличии многоканальных устройств телемеханики (УТМ), поддерживающих кустовую топологию (УТМ типа ТМ120, Гранит, ТРС-1, КС-10), пункт управления (ПУ) телемеханики является естественным концентратором информации, который передает ее по последовательному или параллельному интерфейсу в ПЭВМ. Схема сопряжения ПЭВМ ОИУК с каналами передачи информации с помощью ПУ УТМ показана на рис. 7.1, а). Роль управления диспетчерским щитом выполняет в этом случае также пульт управления УТМ. При наличии нескольких типов телемеханики, в том числе малоканальной (вариант для уровня РЭС нетипичный), может оказаться целесообразным применение в качестве устройств приема информации из телемеханических каналов, так называемых канальных адаптеров (КА). Такой вариант сопряжения представлен на рис. 7.1, б). Канальные адаптеры представляют из себя программируемые интеллектуальные контроллеры, обладающие собственным процессором и памятью, поддерживающие канальные протоколы УТМ и конструктивно расположенные в ПЭВМ. При отказе от ПУ устройств телемеханики и применении канальных адаптеров необходимо решить вопрос управления диспетчерским щитом. Наиболее часто применяемое решение - использование контроллеров управления щитом, выпускаемых предприятиями-изготовителями УТМ.

Рис. 7.1. Архитектура первого этапа развития технических средств АСУ РЭС

По каналам связи телеинформация с подстанций и трансформаторных пунктов поступает на диспетчерский пункт РЭС, а с диспетчерского пункта на подстанции - команды телеуправления. Один из каналов может быть использован для обмена телемеханической информацией между РЭС и ПЭС.

На втором этапе в РЭС создается локальная вычислительная сеть (ЛВС), которая в свою очередь развивается в несколько этапов (см. раздел 7.1.3). Комплекс ОИУК связывается по локальной вычислительной сети РЭС с автоматизированными рабочими местами (АРМ) руководства РЭС и технологических подразделений с сохранением всех функций и возможностей первого этапа. Архитектура второго этапа развития КТС АСУ РЭС дана на рис. 7.2.

Из нескольких технических вариантов построения ЛВС (Arcnet, Еthernet, Тоken Ring) наибольшее распространение получила система Ethernet. Эту архитектуру ЛВС поддерживает сетевая операционная система NetWare фирмы Novell. В рамках данной сети входящие в нее ЭВМ неравноправны. На первом этапе развития ЛВС должна быть выделена «главная» ЭВМ, называемая файл-сервером, организующая работу сети и являющаяся хранилищем программ и данных общего пользования. В качестве файл-сервера сети рекомендуется применять высокопроизводительные ЭВМ, обладающие высокой надежностью работы и хранения информации, выпускаемые широко известными в мире фирмами (Dell, Compag, Digital). Вложение средств в качественный файл-сервер окупается надежной работой ЛВС и высокой степенью сохранности информации. Рабочие станции локальной вычислительной сети - это, как правило, ПЭВМ, работающие в операционной системе MS DOS или Windows. Второй вариант рабочих станций явно предпочтительней и в ближайшее время станет основным или единственным.

Кроме файл-сервера на втором этапе развития АСУ РЭС к локальной вычислительной сети РЭС и ОИУК подключается графический дисплей диспетчера РЭС и комплекс технических средств АСКУЭ РЭС. Через файл-сервер и модем организуется связь с региональной вычислительной сетью ПЭС и соседними РЭС.

На третьем этапе (см. рис. 7.3.) к комплексу технических средств АСУ РЭС по каналам телемеханики подключаются отдельные АСУТП подстанций РЭС по модемной связи - удаленные терминалы пользователей УЭС, расширяются объемы сбора и передачи данных по АСКУЭ, получает дальнейшее развитие ЛВС РЭС.

Рис. 7.2. Архитектура второго этапа развития технических средств АСУ РЭС

Рис 7.3. Архитектура третьего этапа технических средств АСУ РЭС

7.1.3. Варианты построения и этапы развития локальных вычислительных сетей АСУ РЭС.

При построении локальных вычислительных сетей наиболее перспективной является технология «клиент-сервер», использование которой означает, что прикладные программы, реализованные в ее рамках, имеют распределенный характер, т.е. одна часть функций прикладной программы реализуется в машине-клиенте, другая - в машине-сервере, причем для их взаимодействия определяется некоторый протокол. Технология «Клиент-сервер» предопределяет разделение функций любой технологической задачи на следующие 3 группы:

- компонент представления - ввод и отображение данных;

- прикладной компонент, реализующий чисто технологические функции в данной предметной области;

- компонент доступа к информационным ресурсам - файловым системам и базам данных.

В соответствии с распределением компонентов прикладных задач по ЭВМ, входящим в состав локальной вычислительной сети, различают четыре модели архитектуры ЛВС:

- модель файлового сервера;

- модель доступа к удаленным данным;

- модель сервера баз данных;

- модель сервера приложений.

Модель файлового сервера является базовой, простейшей для локальных сетей и может применяться на первом этапе ее развития. На этом этапе один из компьютеров сети - файл-сервер - представляет другим компьютерам услуги по обработке файлов. Файл-сервер работает под управлением сетевой операционной системы, чаще всего это Novell NetWare и играет роль компонента доступа к информационным ресурсам. На других компьютерах функционируют компоненты представления и прикладной компонент приложений.

К недостаткам модели файлового сервера относятся:

- узкий спектр операций манипуляций с данными (данные-файлы);

- отсутствие адекватных средств безопасности данных (защита только на уровне файловой системы).

Более совершенной является модель доступа к удаленным данным, которая должна внедряться на втором этапе создания ЛВС РЭС. При реализации этой модели прикладной компонент и компонент представления выполняются на компьютере-клиенте, а компонент доступа к данным - на сервере базы данных, который может быть либо выделенным, либо совмещенным с файл-сервером.

Доступ к информационным ресурсам на втором этапе обеспечивается, как правило, операторами языка доступа к данным SQL, клиенту в ответ возвращаются блоки данных. Главные преимущества данной модели:

- унификация интерфейса клиент-сервер в виде языка SQL;

- меньшая загрузка сети по сравнению с моделью файлового сервера.

Дальнейшим развитием идеологии «клиент-сервер» является модель сервера приложений. Процесс, выполняемый на компьютере-клиенте, отвечает исключительно за интерфейс пользователя. В структуре локальной вычислительной сети появляется новый элемент - сервер приложений, который может функционировать на отдельной ЭВМ или быть совмещенным с сервером базы данных. На сервере приложений выполняется прикладной компонент, обслуживающий запросы ЭВМ-клиента. В свою очередь сервер приложений является клиентом сервера базы данных.

В данной модели реализуется трехзвенная схема разделения функций: прикладной компонент выделен как важнейший изолированный элемент приложения и для его выполнения используется универсальный механизм многозадачной операционной системы. Модель сервера приложений отличается наибольшей гибкостью и носит универсальный характер.

Таким образом, три описанные модели построения ЛВС РЭС являются фактически тремя этапами ее эволюционного развития и определяются возможностями пользователя финансировать приобретение техники, весьма дорогих программных продуктов (Novell NetWare для первой модели, СУБД - для второй, UNIX - для третьей).

7.1.4. Требования к этапам развития средств телемеханики.

Учитывая существующий низкий уровень оснащения средствами связи и телемеханики распределительных электрических сетей должно быть предусмотрено их поэтапное оснащение новыми устройствами телемеханики, связи и контроллерами, которые в конечном итоге позволят создать интегрированную систему управления, отвечающую современным требованиям.

Одновременно должна производиться замена коммутационной аппаратуры в РЭС на современную с приводами на выключателях, позволяющими осуществлять ТУ.

На первом этапе должна быть осуществлена замена простейшей аппаратуры телемеханики в объеме аварийно-предупредительной телесигнализации на комплексные системы телемеханики, выполняющие функции ТУ, ТС, ТИ. Должна решиться проблема передачи показаний приборов, фиксирующих параметры короткого замыкания на высоковольтных линиях. С наименьшими затратами передача показаний этих приборов может быть осуществлена с использованием свободной емкости имеющихся устройств телемеханики. Для этой цели могут применяться в настоящее время следующие устройства:

ТМРС-10, КС-10, КТС-10 - для телемеханизации объектов распределительной сети 0,4 - 10 кВ;

телекомплексы «Гранит», ТК-113, «Сириус», МПТК, КС-10, МКТ-3 - для телемеханизации подстанций.

Для телемеханизации распредсети 0,4 - 10 кВ могут быть также использованы:

- система радиотелесигнализации РТС-80, состоящая из радиостанции 18Р22С (Эстакада-IP) и модернизированного комплекса устройств телемеханики ТРС-IM;

- комплекс радиотелемеханики «КОРАТ-ТМ», представляющий собой совокупность телемеханических контроллеров и радиостанций типа «Маяк» 16Р22С1 («Эстакада»), «Лен-В» 1Р21С4а, «Лен-Б» и др., инструментальных и системных программных средств.

Отдельно взятые телемеханические устройства комплексов систем, в частности ТМРС-10, могут быть использованы (и используются) для телемеханизации подстанций 35 - 110 кВ. Информация от этих комплексов может передаваться по обычным каналам телемеханики.

Объемы передаваемой информации при этом достаточны для полной телемеханизации подстанций. Полукомплекты (ПК), имеющие в своем составе микроэвм, позволяют организовывать на их основе оперативно-информационные комплексы, реализующие задачи автоматизированных систем диспетчерского управления.

Программируемые телекомплексы, дооснащенные соответствующим программным обеспечением, легко объединяются в единую информационную сеть с передачей информации как по вертикальным, так и по горизонтальным направлениям иерархической структуры диспетчерского управления. На первом этапе оправдано применение для этих целей такого устройства телемеханики, как МКТ-3.

В.ч. каналы по ВЛ могут строиться на базе аппаратуры, выпускаемой в настоящее время Ростовским опытным заводом (СПИ-122, СПИ-244).

На этом этапе целесообразно прекратить проектирование в распредсетях в.ч. трактов по ВЛ по схеме «фаза-земля» и начать проектирование их по схеме «фаза-фаза».

На втором этапе или параллельно с первым необходим переход к разработке современной комбинированной аппаратуры, аналогичной выпускаемой в настоящее время инофирмами и позволяющей передавать сигналы ТФ, ТМ, РЗ и ПА с приоритетом передачи сигналов РЗ и ПА.

На этом этапе должно продолжиться внедрение каналообразующей в.ч. аппаратуры по ВЛ нового поколения: 1 - 6 канальной аппаратуры завода «Нептун» и аппаратуры Ростовского опытного завода СПИ-92. В телефонных сетях должно продолжиться внедрение аппаратуры дальней автоматической связи (АДАСЭ) нового поколения.

Второй этап характеризуется применением систем телемеханики, включающих в себя как устройства для телемеханизации объектов распределительной сети 0,4 - 10 кВ, так и устройства для телемеханизации подстанций.

Микропроцессорные блоки обработки информации совместно с релейными шкафами, устанавливаемые на контролируемых пунктах, имеют увеличенный объем передаваемой информации (до 32 ТС, 32 ТУ, 8 ТИТ, 8 ТИИ). Количество таких блоков, включаемых в систему, доведено до 256.

Телекомплекс типа МТК-РС, разрабатываемый на заводе «Электропульт», предназначен для контроля и управления на расстоянии с диспетчерского пункта РЭС объектами распределительных сетей 6 - 10 кВ. В состав МТК-РС входят одно устройство ПУ и до 32 КП. Устройство КП, устанавливаемое на подстанции 35 - 110 кВ работает с датчиками ТИ, ТС, ТИЭ (телеизмерения энергии) и выполняет операции телеуправления: обеспечивает посылку команд РТУ к объектам распредсети 10 кВ и сбор информации РТС с объектов этой сети с помощью аппаратуры ТРС-1КП, установленный непосредственно на объектах сети 10 кВ (секционирующие выключатели, АВР, трансформаторные пункты и т.п.).

Радиокомплекс типа Сапфир-РЭС предназначен для контроля и управления по радиоканалам с диспетчерского пункта объектами распредсетей 6 - 10 кВ;

Система Сапфир-РЭС стыкуется с телемеханической системой типа «Гранит», МКТ-3 и т.п., а также имеет собственное малообъемное телемеханическое устройство (1ТУ, 2ТС).

На третьем этапе должна быть продолжена автоматизация и телемеханизация распределительных сетей на базе применения микропроцессорных контроллеров и ЭВМ. Должны решаться вопросы автоматизации диспетчерского управления и автоматизации управления технологическими процессами на подстанциях и в электрических сетях РЭС. В ИАСУ, наряду с традиционными функциями телемеханики, связи, релейной защиты и автоматики, контроля электропотребления и коммерческого учета электроэнергии предусматривается диагностика состояния оборудования подстанций, аппаратуры управления и каналов связи.

Отдельные компоненты системы - программируемые микропроцессорные контроллеры должны выполнять свои функции автономно и в то же время связаны между собой и центральным вычислительным устройством. Зарубежным аналогом такой системы является система фирмы «Сименс».

На третьем этапе продолжится замена устаревшей аппаратуры в.ч. связи по ВЛ на комбинированную аппаратуру, позволяющую передавать в полосе 4 кГц сигналы ТФ, ТМ, РЗ и ПА с приоритетом передачи сигналов РЗ и ПА.

Выбор объемов телеинформации для оперативно-диспетчерского контроля и управления на ДП РЭС и УЭС должен производиться с учетом прогрессивных форм оперативно-технического обслуживания энергообъектов, перспективы развития электрических сетей, возможностей по обеспечению необходимой аппаратурой связи и телемеханики и квалифицированным персоналом СДТУ.

УЭС должен иметь телефонную связь с ПЭС, РЭС и ДП РЭС, со специализированными бригадами, а также местную телефонную связь.

Для связи УЭС с оперативным и ремонтным персоналом специализированных бригад, обслуживающих распределительные сети, должны использоваться средства УКВ радиосвязи.

Для местной телефонной связи УЭС должна предусматриваться установка телефонных, аппаратов (не менее двух), включенных в местную телефонную сеть Минсвязи РФ или другого ведомства.

Количество каналов телемеханики определяется с учетом объемов телеинформации и структуры телемеханических связей.

Каналы связи для телемеханики организуются, как правило, по линиям электропередачи напряжением 6 - 10 (20) кВ на тональных частотах или по радиоканалам связи.

7.1.5. Требования к объемам телемеханики.

К объектам телемеханизации распределительных электрических сетей 6 - 10 кВ относятся:

- пункты секционирования (СП) 10 кВ;

- пункты автоматического ввода резерва (АВР);

- распределительные пункты (РП) - 10 кВ;

- закрытые трансформаторные подстанции (ЗТП) 10/0,4 кВ;;

- узловые закрытые трансформаторные подстанции (УЗТП) 10/0,4 кВ, в перспективе и потребительские ТП.

Выбор объемов телеинформации для оперативно-диспетчерского контроля и управления на ДП РЭС производится с учетом перспективы развития электрических сетей и внедрения прогрессивных форм оперативно-технического обслуживания энергообъектов.

Подстанции напряжением 35 - 110 КВ оперативно обслуживаемые персоналом ПЭС или РЭС, телемеханизируются с учетом вида оперативного обслуживания: постоянное дежурство «на дому» или централизованное обслуживание ОВБ ПЭС (РЭС).

Рекомендуемые институтом «Сельэнергопроект» /Л.4/ объемы телемеханизации объектов распределительных сетей и подстанций напряжением 35 - 110 кВ на ДП РЭС приведены в табл. 3.1.

В оптимальный объем телемеханизации для оперативно-диспетчерского контроля и управления понизительной подстанцией 35 (110) кВ без постоянного оперативного персонала должны входить:

а) телеуправление коммутационным оборудованием подстанции;

б) телесигнализация положения коммутационного оборудования подстанции;

в) аварийно-предупредительная телесигнализация (АПТС) в объеме до 24 сигналов (состав сигналов уточняется при проектировании):

- работа защит - один общий сигнал;

- работа автоматического повторного включения (АПВ) и автоматического ввода резерва (АВР) - один общий сигнал;

- работа автоматической частотной разгрузки (АЧР) - один сигнал;

- авария трансформатора (работа газовой и дифференциальной);

Таблица 3.1

Объемы телемеханизации объектов распределительных электрических сетей и подстанций 35 - 110 на ДП РЭС

Наименование объекта

Энергообъекты без постоянного оперативного персонала

Энергообъекты с постоянным дежурным персоналом (на дому)

Допустимое время передачи сигнала

Максимальный объем телеинформации при АСДУ РЭС

Оптимальный объем телеинформации при телемеханизации РЭС

ТУ

ТС

АПТС

ТНТ

ТКК

ТУ

ТС

АПТС

ТНТ

ТС

АПТС

ТНТ

1

2

3

4

5

6

7

8

9

10

11

12

13

14

1. Однотрансформаторная подстанция 35 - 110/10 кВ

6 - 10

6 - 10

8 - 12

2 - 8

2 - 8

6 - 10

6 - 10

8 - 12

2 - 4

6 - 10

3

2 - 3

Не более 10 с

2. Двухтрансформаторная подстанция 35 - 110/10 кВ

13 - 22

13 - 22

10 - 16

4 - 18

4 - 16

13 - 22

13 - 22

10 - 16

4 - 10

13 - 22

4

4 - 10

- ² -

3. Узловая подстанция 35/10 кВ (Схема 35-9)

18 - 26

18 - 26

12 - 18

10 - 24

8 - 24

18 - 26

18 - 26

12 - 18

10 - 16

18 - 26

6

10 - 24

- ² -

4. Однотрансформаторная подстанция 110/35/10 кВ

7 - 12

7 - 12

9 - 15

7 - 16

5 - 16

7 - 12

7 - 12

9 - 15

7 - 10

7 - 12

6

7 - 10

- ² -

5. Двухтрансформаторная подстанция 110/35/10 кВ

16 - 26

16 - 26

12 - 18

14 - 32

10 - 32

16 - 26

16 - 26

12 - 18

14 - 22

16 - 26

6

14 - 22

- ² -

6. Крупные городские и промышленные подстанции 110/10 кВ, 110/35/10 кВ

До 64

До 64

До 24

До 64

До 64

До 64

До 64

До 24

До 24

До 64

До 12

До 24

- ² -

7. Пункты секционирования в АВР

1

1

1 - 2

-

-

1

1 - 2

-

-

-

-

-

Не более 60 с

8. Проходные ЭТЦ 10/0,4 кВ

1 - 2

1 - 2

1 - 2

-

-

1 - 2

1 - 2

1 - 2

-

-

-

-

- ² -

9. Узловые ЭТЦ 10/0,4 кВ

До 5

До 5

1 - 6

-

-

До 5

До 5

1 - 6

-

-

-

-

- ² -

10. РП 10 кВ с/х назначения

До 12

До 12

До 4

До 4

-

До 12

До 12

До 4

-

-

-

-

- ² -

11. Крупные городские и промышленные РП 10 кВ

До 20

До 20

До 6

До 16

До 16

До 20

До 20

До 6

До 4

-

-

-

Не более 10 с

1 Допускается увеличение объема АПТС в соответствии с задачами АСДУ.

- неисправность трансформатора (перегрузка, работа первой ступени газовой защиты, перегрев, понижение уровня масла) - один общий сигнал с каждого трансформатора:

- «земля» на шинах 6 - 10 кВ - один сигнал с каждой секции шин;

- «земля» на шинах 35 кВ - один сигнал с каждой секции шин;

- аварийное отключение выключателей - один общий сигнал;

- неисправность на подстанции (повреждения во вторичных цепях, исчезновение напряжения на подстанции, выход из строя источника электропитания) - один общий сигнал;

- охранная сигнализация - один сигнал;

- потеря напряжения на шинах 6 - 10 кВ - один сигнал с каждой секции;

- пожар на подстанции - один сигнал (при наличии устройств пожарной сигнализации на подстанции);

- сигнал срабатывания фиксирующих приборов (при наличии приборов);

г) телеизмерения (циклические или по вызову):

- ток нагрузки или активная мощность на трех сторонах обмотки трехобмоточного трансформатора и одной стороны двухобмоточного трансформатора;

- ток нагрузки или активная мощность отходящих ВЛ напряжением 35 (110) кВ;

- напряжение на шинах 35 (110) кВ и 10 кВ;

- показания фиксирующих приборов (при наличии ЗИПов).

При создании АСДУ РЭС необходима также передача:

- увеличенных объемов аварийно-предупредительной телесигнализации (АПТС) в соответствии с задачами АСДУ;

- телеизмерений токов нагрузки или активной мощности линий 6 - 10 кВ;

- показаний счетчиков энергии линий, питающих крупных потребителей, и счетчиков учета энергии по подстанциям;

- показаний счетчиков энергии линий 35 кВ.

Для подстанций 35 - 110 кВ с дежурством на дому могут быть предусмотрены (уточняется при проектировании):

- телесигнализация положения всех выключателей;

- от 3 до 12 общих сигналов АПТС в зависимости от типа подстанции;

- телеизмерения, аналогичные п. г).

Для оперативного контроля и управления объектами распределительных электрических сетей 6 - 10 (20) кВ могут быть предусмотрены (уточняются при проектировании):

1 - телеуправление коммутационными аппаратами;

2 - телесигнализация положения коммутационных аппаратов;

3 - АПТС в составе:

- аварийное отключение выключателя;

- «земля» в сети (при наличии датчиков замыканий на землю);

- неисправность (сигнал о неисправности во вторичных цепях и др.);

- охранная сигнализация - один сигнал (для закрытых РП 6 - 10 кВ, узловых закрытых ТП).

Для подготовки и передачи в ПЭС производственно-статистической информации при РЭС может быть организован периферийный пункт передачи данных.

Состав и объемно-временные характеристики производственно-статистической информации определяются требованиями АСУ ПЭС.

На оперативном (диспетчерском) пункте УЭС могут размещаться средства телемеханики для контроля и управления энергообъектами распределительных электрических сетей 6 - 10 (20) кВ, обслуживаемых персоналом УЭС.

Для объектов 6 - 10 (20) кВ допускается не предусматривать средства телемеханики, ограничиваясь вызывной местной сигнализацией или уведомлением от потребителя о нарушениях электроснабжения.

7.1.4. Требования к средствам связи.

Для РЭС и их ДП предусматриваются виды связи в составе:

- диспетчерская телефонная связь (ДТС),

- производственно-технологическая телефонная связь (ПТТС),

- внутриобъектная и местная,

- каналы телемеханики (ТМ),

- общегосударственная сеть связи Минсвязи РФ (ОГСС).

Средства и каналы связи для РЭС приведены в табл. 3.2.

Таблица 3.2

Виды и каналы связи для РЭС

Направление связи

ДТС

пттс

огсс

тм

1. РЭС - подстанция

+

+

+

+

2. РЭС - УЭС

+

+

+

+

3. РЭС - РПБ

-

+

+

-

4. РЭС - РЭС (смежные)

-

+

+

-

Диспетчерская и производственно-технологическая связь РЭС и их ДП организуется с подразделениями, входящими в их состав (участками электрических сетей, группами подстанций, специализированными бригадами).

Диспетчерская телефонная связь ДП РЭС предусматривается по некоммутируемым или групповым телефонным каналам.

Для производственно-технологической телефонной связи, как правило, используются каналы ДТС.

Резервирование каналов ДТС и ПТТС может быть осуществлено по общегосударственной сети Минсвязи РФ (ОГСС) или других ведомств.

Используемые для ДТС и ПТТС каналы связи должны быть включены в диспетчерский коммутатор с преимущественным правом доступа к каналам оперативного персонала.

Для связи РЭС со специализированными бригадами, обслуживающими энергообъекты, предусматривается, как правило, УКВ радиосвязь. В условиях города для этих целей допускается использование городской телефонной сети путем абонирования телефонных пар.

Внутриобъектная телефонная связь РЭС осуществляется посредством АТС и коммутатора малой емкости, которые должны иметь соединительные линии с ближайшим узлом связи Минсвязи РФ, с числом этих линий, определяемым по нормам Минсвязи РФ.

Местная телефонная связь РЭС организуется путем включения телефонных аппаратов непосредственно в телефонную сеть Минсвязи РФ или других ведомств. Число телефонных аппаратов должно быть не менее двух.

При размещении РЭС совместно с энергообъектом либо ПЭС для них должно предусматриваться общие средства внутриобъектной и местной связи.

Количество каналов телемеханики между РЭС и энергообъектами, находящимися в его оперативном управлении, определяется в зависимости от структуры телемеханических связей и объемов телеинформации.

Для телемеханизации подстанции должны использоваться каналы связи, применяемые для организации диспетчерской и производственно-технологической связи, а также могут использоваться специальные ВЧ каналы телемеханики.

Для телемеханизации энергообъектов распределительных электрических сетей 6 - 10 (20) кВ необходимо использовать радиоканалы связи и тональные каналы связи по линиям 6 - 10 (20) кВ.

7.1.6. Требования к техническим средствам АСКУЭ.

К техническим средствам АСКУЭ относятся:

- индукционные и электронные трехфазные счетчики активной и реактивной электроэнергии, доукомплектованные или имеющие встроенные (в электронных счетчиках) специальные датчики импульсов;

- информационно-измерительные системы (ИИС) и устройства сбора и передачи данных (УСПД), обеспечивающие сбор, обработку, накопление, хранение и передачу через каналы связи на верхний уровень управления информации о расходе электроэнергии и мощности в контролируемых точках;

- технические средства системы сбора и передачи информации от ИИС (УСПД) до ЭВМ, включая каналы связи, модемы, устройства коммутации сигналов и т.д.;

- вычислительная техника.

При создании АСКУЭ РЭС необходимо:

- оснастить контролируемые подстанции РЭС техническими средствами АСКУЭ;

- организовать передачу информации об электроэнергии и мощности с подстанций на ДП РЭС;

- оснастить ДП РЭС выделенной для этой цели АСКУЭ ПЭВМ с необходимым программным обеспечением;

- организовать связи этой ПЭВМ или файл-сервера ЛВС РЭС с ЛВС ПЭС и АСУ отделения Энергонадзора.

7.1.7. Требования к комплексу технических средств АСУТП ПС.

КТС АСУТП ПС должен базироваться на серийно выпускаемой аппаратуре.

Расстояние от источников информации до устройств ввода информации в комплекс (кросс-шкафы аппаратуры ТК) должно составлять не более 100 м (по кабелю).

Средствами отображения на ПС для персонала (или ОВБ) являются дисплеи и устройства печати.

Архитектура технических средств АСУТП ПС должна обеспечивать наращивание аппаратуры комплекса при развитии ПС, без перемонтажа уже установленной аппаратуры и переделки программного обеспечения (а только за счет перегенерации системного программного обеспечения) и коррекции нормативно-справочной информации.

В качестве датчиков дискретных сигналов должны использоваться «сухие» контакты устройств релейной защиты и автоматики, блок-контакты коммутационного оборудования, ключи управления.

В качестве источников информации о действующих значениях аналоговых сигналов переменного тока должны использоваться промышленные преобразователи серии Е с унифицированным выходом 5 мА и быстродействием не хуже 0,5 с.

Комплекс технических средств АСУТП подстанций должен обеспечивать:

В реальном времени:

- непрерывный ввод аналоговой информации в доаварийном и аварийном режимах с привязкой его ко времени;

- запоминание информации в течении 0,2 с доаварийного режима и во время аварии суммарной длительностью не менее 10 с;

- инициативный ввод изменяющихся дискретных сигналов с привязкой его ко времени с разрешающей способностью не хуже 2 мс;

- определение моментов возникновения и прекращения аварии (желательно и в результате обработки и анализа аналоговой информации);

- обмен информации между различными частями комплекса о возникновении и прекращении аварии;

- отображение нормального режима;

- формирование сообщения и передачи на РДП РЭС дискретных сигналов непосредственно после изменения и мгновенных аналоговых сигналов на скорости до 200 бод.

- выполнение команд диспетчера РЭС и ПЭС по управлению оборудованием ПС (ТУ).

В фоновом режиме (вне реального времени):

- передача вводимой информации с целью ее концентрации для последующего анализа;

- анализ вводимой информации и выдача его результатов на средства отображения;

- передача на ДП ПЭС информации о результатах анализа аварии (не более 1 Кбайт);

- архивирование информации.

Надежность КТС АСУТП ПС должна характеризоваться следующими показателями:

- наработка на отказ по каналу ввода информации не менее 12000 часов;

- среднее время восстановления работоспособности устройства после отказа должно составлять не более 30 мин с момента начала восстановительных работ.

- КТС должен иметь встроенную систему автодиагностики, обеспечивающую постоянный контроль работоспособности компонент комплекса и линий связи. Результаты работы подсистемы автодиагностики должны отображаться автоматически на средствах отображения АСУТП или на визуальных индикаторах КТС.

- должен быть предусмотрен автоматический перезапуск (рестарт) комплекса при:

- аппаратно-фиксируемой рассинхронизации;

- аппаратно-фиксируемом длительном запрете прерываний;

- программно-фиксируемом, невосстанавливаемом искажении системных таблиц операционной системы и т.п. Время автоматического рестарта устройства при вводе информации не должно превышать 10 мс при анализе и отображении - 2 с.

7.2. Программное обеспечение.

Программное обеспечение (ПО) АСУ РЭС представляет собой совокупность программ и инструктивно-методических материалов, обеспечивающих функционирование АСУ при заданном режиме совместимости и взаимодействия ее компонентов.

7.2.1. Общие тенденции и этапы развития программного обеспечения.

Несмотря на значительный прогресс в развитии отечественных ИАСУ ПЭС и АСУ РЭС, их внедрение в практику эксплуатации показало, что программное обеспечение АСУ имеет следующие общие недостатки:

- недостаточна унификация общесистемного ПО и технологических комплексов программ;

- недостаточна увязка или ее практическое отсутствие между комплексами программ, решающими различные задачи АСУ: режимные, производственно-технические, экономические, информационно-справочные и др.;

- недостаточна увязка ПО ИАСУ ПЭС и АСУ РЭС;

- недостаточна автоматизация процессов приема-передачи, контроля и обработки информации.

Основными направлениями развития ПО АСУ РЭС должны быть следующие:

- дальнейшее развитие стандартизации системного, информационного и программного обеспечения общего назначения (операционные системы, диалоговые системы, системы приема-передачи информации, системы управления базами данных) с целью создания однородной операционной среды, в которой должно работать программное обеспечение АСУ РЭС;

- создание сетей приема-передачи информации между уровнями иерархии диспетчерского управления ПЭС-РЭС на каналах связи ЭВМ - ЭВМ или терминал - ЭВМ;

- дальнейшее развитие автоматизированных рабочих мест (АРМ) в технологических подразделениях РЭС, информационная увязка этих АРМ на основе сетей ЭВМ и единых баз данных;

- выделение и развитие нового класса программного обеспечения задач АСУ - системно-технологического программного обеспечения, предназначенного для организации унифицированных программных интерфейсов между системным программным обеспечением общего назначения и технологическими комплексами программ и создания, таким образом, единой программной системы для организации информационно-вычислительных работ при решении задач АСУ РЭС;

- широкое использование систем управления базами данных, укомплектованных вычислительной техникой высокой производительности, с целью организации комплексного решения задач АСУ РЭС;

- организация унифицированных программных интерфейсов между ЭВМ оперативно-информационного комплекса и ЭВМ вычислительного комплекса АСДУ с целью оптимизации использования ресурсов ЭВМ и максимального использования оперативной информации при решении задач планирования и оперативного управления.

7.2.2. Тенденции развития и требования к системному программному обеспечению.

Современный этап развития ОС можно охарактеризовать в целом как создание «Открытых вычислительных систем в АСУ».

При этом прикладное программное обеспечение (ППО) может быть использовано в любой ОС. Максимально обобщенная среда предусматривает переносимость ОС. ППО при этом должно обращаться к соответствующему уровню ПО, который в свою очередь должен взаимодействовать с операционными системами. Этот специальный уровень ПО должен присутствовать как в ППО, так и в системном стандартном ПО. Таким образом, обобщение (виртуализация) ОС обеспечивается общей пользовательской средой (ОПС).

Интерфейс между ОПС и ППО обеспечивается интерфейсом технологических программ (ИТП). ППО, написанное с учетом (ИТП), функционирует с любой ОС, которая также удовлетворяет ИТП. Интерфейс между ОПС и пользователями обеспечивается графическим интерфейсом пользователя.

В соответствии со стандартом IЕЕЕ (США) открытая система определяется как «система, которая успешно использует открытые спецификации для интерфейсов, обслуживания и поддержки форматов, обеспечивающих решение технических задач».

ПО открытой системы характеризуется следующими возможностями:

использовать ОС или ППО на ЭВМ разных поставщиков;

поддерживать обмен информацией между ЭВМ разных поставщиков;

использовать ППО на ЭВМ разных поставщиков и мощности (от ПЭВМ до супер ЭВМ);

поддерживать сетевые структуры через стандартные протоколы типа OSI.

7.2.3. Требования к сетевой операционной системе.

Сетевая операционная система представляет собой расширение основной операционной системы, позволяющее устройствам вычислительной сети совместно использовать файлы и другие ресурсы сети. Сетевая ОС помимо прочего должна обеспечивать эффективную связь, надежность, наращиваемость, совместную работу ПК-клиентов, файл-серверов и серверов приложений.

Сетевая СС должна одновременно обеспечивать связь по нескольким протоколам, в частности IРХ/SРХ и ТСР/IР. Сетевая ОС должна использовать диски, сформатированные различными файловыми системами.

Сетевая ОС должна обеспечивать один и тот же уровень возможностей для самых маленьких сетей, состоящих из двух - пяти рабочих мест до самых больших иерархических распределенных сетей. Управление такой большой сетью требует мощной устойчивой глобальной службы каталогов - базы данных, хранящей всю информацию о пользователях, группах, серверах и принтерах.

Сетевая ОС должна строиться на принципе модульной архитектуры, т.е. должна позволять легко доставлять аппаратные и программные средства к вычислительной сети.

Дополнительные сетевые услуги - телефонная связь, резервное копирование, электронная почта, связь с большой ЭВМ и дистанционный доступ - должны предусматривать простоту установки и настройки конфигурации для всей сети.

Сетевая ОС должна обслуживать запросы от персональных компьютеров-клиентов различных платформ. Системы на базе DOS, Microsoft Windows и Unix должны легко подключаться к сети и совместно использовать все сетевые ресурсы.

Сетевая ОС должна реализовывать все основные ключевые функции для обслуживания файловых запросов и работы систем клиент-сервер, в том числе самые современные методы управления памятью, а также многозадачный, многопотоковый с вытеснением и многопроцессорный режимы.

В сетевой ОС должны предусматриваться средства повышения устойчивости сервера к отказам: дублирование, зеркальное копирование и разбиение на разделы системного диска, обеспечивающие внутреннюю избыточность и полное дублирование системы и гарантирующие сохранность данных в вычислительной сети.

Кроме совместного использования файлов и принтеров в сетевой ОС должна быть предусмотрена передача в коллективное пользование модемов, прикладных программ, других ресурсов сети. Сетевая ОС должна содержать полную систему защиты данных, включая пароли (для файлов, пользователей и групп), а также средства обнаружения незаконного вторжения в систему и блокировки подозреваемого нарушителя.

Сетевая ОС должна быть простой в установке и изменении конфигурации. В идеале она должна загружаться и устанавливаться с компакт-диска и автоматически определять наличие аппаратных компонентов сервера. В сетевой ОС должна быть предусмотрена несложная процедура увеличения числа пользователей и групп с наделением их правами доступа к ресурсам. Это должно делаться через единый общий интерфейс.

При сравнительно большом количестве программных продуктов, организующих работу локальных вычислительных сетей, из их ряда выделяется сетевая операционная система Novell NetWare. Она обеспечивает высокие показатели производительности, поддерживает разделение доступа к данным, сохранение их от случайного уничтожения. Операционная система Novell NetWare поддерживает посредством драйверов различные методы сетевого доступа, таким образом, позволяя соединять сегменты сетей, выполненные по различной архитектуре. ОС NetWare позволяет работать в сетях как с одним, так и с несколькими файл-серверами. Поддерживаются клиентские рабочие места, функционирующие в среде операционных систем MS DOS, Windows, Unix. Одна из модификаций операционной системы - NetWare SFI III обеспечивает очень высокий уровень устойчивости к отказам путем интеграции двух физически различных серверов и постоянной поддержки идентичности содержимого памяти и дисков основного и резервного серверов. Фирма Novell и ее многочисленные партнеры предлагают широкую гамму программных продуктов сетевого доступа, сетевых приложений, управления сетью, сетевых инструментальных средств разработки.

7.2.4. Рекомендации по применению системного программного обеспечения для рабочих станций, серверов базы данных и серверов приложений.

Наиболее перспективной и массовой операционной системой для рабочих станций ЛВС РЭС на ближайшие несколько лет является Windows.3x фирмы MicroSoft. Под Windows переработаны практически все приложения, работавшие под MS DOS и разрабатываются множество новых приложений.

Для организации работы серверов сетевых служб, в том числе сервера базы данных, сервера приложений, сервера процессов реального времени наиболее перспективной является операционная система UNIX. Выгодно отличающими эту ОС от многих других операционных систем являются следующие свойства:

- наиболее полное соответствие главным стандартам открытых систем;

- развитые коммуникационные протоколы и сетевая обработка;

- наличие реализаций для отказоустойчивых систем;

- наличие реализаций для систем реального времени;

- способность оперировать с DOS и Windows - приложениями;

- поддержка практически все платформ технических средств;

- легкая переносимость приложений с платформы на платформу;

- широкая масштабируемость, возможность генерации ОС как для современных суперкомпьютеров, так и для IВМ РС.

Из достаточно большого количества предлагаемых реализаций UNIX для персональных компьютеров следует выделить операционные системы SCO фирмы Santa Cruz, Solaris фирмы SunSoft и Unix Ware фирмы Novell, из которых предпочтение следует отдать системе Unix Ware, как наиболее интегрированной в сетевую операционную систему Novell Netware. В ближайшее время по заключенному соглашению между фирмами Novell и SantaCruz ожидается объединение версий SCO и UNIX Ware.

Для доступа удаленных пользователей к сети целесообразно применять программный продукт Netware Connect, обеспечивающий удаленным пользователям DOS и Windows прозрачный доступ к любым сетевым ресурсам: файлам, базам данных, электронной почте, прикладным программным системам. Кроме того, пользователи сети могут совместно использовать такие сетевые ресурсы как модемы, асинхронные порты и каналы связи, соединяясь асинхронно с удаленными компьютерами. NetWare Connect работает как загружаемый модуль на файл-сервере сети.

7.2.5. Системно-технологическое программное обеспечение.

К системно-технологическому программному обеспечению относятся инструментальные программные продукты широкого применения:

- программные средства, используемые для организации хранения данных и многопользовательского доступа к ним;

- текстовые и графические редакторы, позволяющие создавать текстовые файлы и графические образы, используемые в базах данных технологических задач;

- различные интегрированные пакеты;

- программные средства, обеспечивающие быструю разработку приложений для SQL - ориентированных СУБД;

- геоинформационные системы.

Фирмы-производители программных средств предлагают большое количество различных продуктов перечисленных классов. Лучшие из них будут, очевидно, определены в процессе практического внедрения и использования ПО.

7.2.6. Прикладное программное обеспечение.

Прикладное программное обеспечение АСУ РЭС обеспечивает решение задач управления технологическим процессом распределения электроэнергии и управления производственно-технической деятельностью района электрических сетей как подразделения ПЭС.

Основные критерии выбора конкретных программ:

- функционирование в среде современной или перспективной операционной системы (лучше - возможность функционирования в нескольких средах);

- наличие информационного интерфейса с современными системами управления базами данных;

- наличие удобного графического человеко-машинного интерфейса;

- соблюдение одного из имеющихся стандартов хранения графической информации;

- совместимость: легкость, с которой программный продукт может взаимодействовать с другими программными продуктами;

- обязательства производителя программного продукта по его технической поддержке и обновлению версий.

Наилучшим решением является приобретение у одного производителя достаточно полного, единого программного комплекса, решающего определенный класс задач на единой информационной базе, с единым человеко-машинным интерфейсом.

Особые требования предъявляются к прикладному программному обеспечению подсистемы автодиагностики АСУТП подстанции, которые должны обеспечивать:

- автоматическую защиту от накопления очередей к неисправным модулям передачи данных и каналам связи, вводно-выводным устройствам и устройствам внешней памяти;

- автоматический контроль ОЗУ-резидентных программ и нормативно-справочной информации, автоматическую перезагрузку искаженных программ и данных с внешней памяти, блокировку запуска поврежденных ОЗУ-резидентных программ;

- автоматический функциональный и периодический тестовый контроль исправности технических средств комплекса и линий связи с автоматической выдачей на устройство печати сообщений о появлении и устранении неисправностей;

- однократный и многократный тестовый контроль исправности технических средств комплекса и линий связи по директиве оператора с выдачей результатов контроля на устройство печати или дисплей;

- периодический страхующий опрос инициативных датчиков дискретных сигналов и периодическая страхующая передача по каналам связи спорадически посылаемой информации для защиты от сбойных искажений и потерь.

7.3. Информационное обеспечение.

Информационное обеспечение (ИО) АСУ РЭС представляет собой распределенную иерархическую систему взаимосвязанных информационных баз данных и программ информационного обмена между ними.

7.3.1. Общие требования к информационному обеспечению.

Современная технология организации автоматизированных банков данных должна обеспечивать:

- неизбыточное хранение взаимосвязанных данных, образующих базу данных;

- быстрый прямой доступ пользователя к требуемым элементам информации;

- независимость прикладных программ от структуры хранения данных, живучесть программ в условиях развития АСУ РЭС.

Содержание и организация работ при разработке банков данных регламентируется ОРММ по созданию банков и РТМ 25.682-84.

Базы данных не должны ограничиваться информацией, непосредственно использующейся тем или иным структурным подразделением РЭС. Они должны включать базы данных реального времени, информацию для электрических расчетов, паспортные данные оборудования электрических сетей, большой объем графической информации: карты схемы электрических сетей, диспетчерские схемы подстанций, расчетные схемы сетей, поопорные схемы распределительных линий и т.п. В ближайшем будущем необходимо создавать базы данных потребителей, взаимоувязанные с базами данных распределительных сетей. При этом базы данных РЭС должны быть составной частью баз данных ПЭС.

Общими для всех существующих в настоящее время видов ИО недостатками являются следующие:

- отсутствие систематизации - (полное или частное) представления информации как на внешних носителях, так и в памяти ЭВМ;

- отсутствие унифицированных словарей-справочников данных;

- применение при проектировании, разработке и создании баз данных в основном подхода «от задач», а не от «объектов» с учетом задач;

- ограниченное применение унифицированных структур файлов для проектирования локальных баз данных;

- отсутствие взаимосвязи (полное или частное) между локальными базами данных и базами данных различных ИВС.

Таким образом, унификация и систематизация входной и выходной информации, максимальная интеграция задач на уровне автоматизируемого объекта управления - главное стратегическое направление развития информационного обеспечения АСУ РЭС. Ввиду того, что объемы обрабатываемой информации постоянно увеличиваются, а процесс поддержки полноты, целостности и достоверности информации усложняется, интеграция информационного пространства должна сопровождаться максимальным переносом функций сопровождения и администрирования системной и прикладной математики и баз данных на уровень ПЭС. Это должно повлечь за собой концентрацию основных вычислительных мощностей и максимального объема информации на уровне предприятия электрических сетей и обеспечения быстрого и надежного доступа к информации с рабочих мест уровня РЭС.

Первым этапом интеграционного процесса должен стать обмен оперативными телемеханическими данными между оперативно-информационными комплексами ПЭС и РЭС. Этот обмен может быть достигнут при небольших финансовых затратах: требуется лишь наличие низкоскоростного (100 - 200 бод) канала связи с соответствующей каналообразующей аппаратурой и программного обеспечения, поддерживающего помехоустойчивую передачу телемеханических данных в обе стороны.

Вторым этапом является создание полномасштабной интегрированной базы данных ПЭС и РЭС.

7.3.2. Рекомендации по вариантам применения и развития систем управления базами данных.

Фирмы-производители систем управления базами данных предлагают достаточно широкий выбор программных продуктов, обеспечивающих хранение данных и доступ к ним. Эти продукты по своим потребительским свойствам подразделяются на две группы: однопользовательские (dBase, FохРго, АССЕss и другие) и мощные многопользовательские системы (ORACL, SYBASE, INGRES и др.). Первая группа продуктов не является СУБД в строгом смысле этого слова. Это лишь инструменты работы с записями. Они не позволяют работать с полями информационных таблиц, осуществлять сложные процедуры выборки информации, осуществлять блокировку записей во время их модификации, не обеспечивают целостность базы при нештатных ситуациях. Вторая группа СУБД - принципиально многопользовательские продукты, интегрированные в локальную вычислительную сеть с возможностями удаленного доступа к произвольным наборам данных. Но применение их в качестве локальных баз данных РЭС нереально в предвидимом будущем из-за очень высокой стоимости (десятки тысяч долларов). Ввиду изложенного выше, является целесообразным использование в качестве локальной СУБД РЭС одного из продуктов первой группы (однопользовательских) для хранения информации преимущественно внутреннего использования, например, локальной базы данных по оборудованию, местных инструкций, базы данных потребителей и т.д. Основной объем информации коллективного пользования целесообразно хранить в среде достаточно мощной СУБД на базе локальной вычислительной сети ПЭС с организацией технической и программной поддержки доступа к данным удаленных пользователей. Рекомендуется несколько вариантов организации удаленного доступа к базе данных ПЭС с рабочих мест РЭС. Их выбор зависит от технической и логической развитости локальной вычислительной сети ПЭС.

Вариант 1. На ПЭС реализована простейшая модель «клиент-сервер» - модель файлового сервера. Тогда доступ к данным (файлам), хранящимся на файл-сервере, может осуществляться через модем и коммутируемый телефонный канал при помощи программного продукта NetWare Connect. Этот метод доступа имеет существенный недостаток - очень большие задержки ответа на запрос из-за значительного объема передаваемой информации, т.к. происходит передача файлов.

Вариант 2. В ЛВС ПЭС реализуется модель доступа к удаленным данным, предполагающая наличие многопользовательской СУБД и сервера базы данных. В этом случае требования к пропускной способности канала существенно снижаются, т.к. по каналу в этом случае от удаленного пользователя должен передаваться запрос к базе данных на стандартном языке запроса данных SQL и в ответ передаются не файлы целиком, а запрашиваемые выборки данных. Для реализации этого варианта требуются существенные капиталовложения, в основном на уровне информационной системы ПЭС. Затраты на приобретение мощной СУБД в настоящее время мало кому покажутся оправданными, но осознание их необходимости с целью качественного информационного обеспечения подразделений и создания единого информационного пространства неизбежно в самое ближайшее время.

Вариант 3. Создание и использование сервера приложений в локальной вычислительной сети ПЭС позволяет сделать еще один шаг на пути интеграции - интегрировать не только информацию, но и программные продукты. Интеграция программных продуктов, позволит облегчить их эксплуатацию, снизить расходы на их приобретение, сосредоточить основные вычислительные мощности в ПЭС.

7.3.3. Перспективы развития информационного обеспечения.

В течение 1996 - 2010 г.г. и на более отдаленную перспективу наибольшее внимание должно уделяться решению следующих вопросов информационного обеспечения задач АСУ РЭС:

- разработка и совершенствование структуры единой распределенной базы данных АСДУ на уровнях ПЭС, РЭС и их структурных подразделений:

- разработка типовых структур локальных баз данных на электроэнергетических объектах в связи с единой базой данных ИВС АСУ;

- разработка, и совершенствование отраслевых стандартов информационного обеспечения АСУ, как с точки зрения описания объектов электрических сетей, так и с точки зрения применяемых моделей для технологических расчетов;

- оптимизация потоков информации, циркулирующей между уровнями иерархии диспетчерского управления в АСУ;

- совершенствование и развитие локальных баз данных технологических комплексов программ на основе использования унифицированных структур рабочих наборов данных, как части информационного обеспечения задач АСУ;

- развитие словарей-справочников данных, как для единой распределенной базы данных, так и для локальных баз данных на ЭВМ высокой производительности и персональных ЭВМ на основе отраслевых стандартов информационного обеспечения.

Значительные технические и людские ресурсы, которые постепенно будут втянуты в решение задач информационного обеспечения АСУ потребуют решения вопросов организационно-методического и правового обеспечения этих работ. Очевидно, что они будут решаться в общегосударственном масштабе, но определенная специфика электроэнергетики должна быть учтена в соответствующих положениях и инструкциях директивных органов, в которых будет определяться понятие информации, как ресурса, имеющего определенную стоимость.

8. Основные этапы разработки АСУ РЭС.

АСУ РЭС разрабатывается и вводится в эксплуатацию, как правило, двумя очередями. Первая очередь может осуществляться в два этапа (см. раздел 7). Характеристика этапов создания и развития автоматизированной системы представлена в таблице.

Компоненты АСУ РЭС

Этапы создания АСУ РЭС

1 очередь

Развитие АСУ

1

2

3

АСДУ РЭС

АСДУ УЭС

Создание ОИУК на ДП РЭС с охватом телемеханикой до 30 % наиболее важных подстанций и РП, включая ТИ, ТС, ТУ.

Создание графической и семантической баз данных по расчетным схемам электрических сетей РЭС и их нагрузкам на ЭВМ ПЭС.

Решение технологических задач планирования и оптимизации режимов распределительных сетей РЭС на ЭВМ ПЭС.

Расширение объемов телемеханизации энергообъектов РЭС до 80 % - 90 %.

Создание локальной вычислительной сети РЭС, подключение к ОИУК технологических задач, решение этих задач в темпе процесса с использованием ТИ и ТС.

Организация межмашинного обмена ДП РЭС - ДП ПЭС.

Использование ОИУК РЭС в режиме советчика диспетчеру и в качестве тренажера оперативных переключений и режимного тренажера.

АСПТОУ РЭС

АСПТУ УЭС

Создание графической и семантической баз данных на ЭВМ ПЭС по поопорным схемам, диспетчерским схемам и «схемам на местности» и паспортным данным оборудования распределительных сетей РЭС и УЭС.

Решение технологических задач АСПТОУ на ЭВМ ПЭС.

Создание АРМ технологов и руководства РЭС на ЭВМ РЭС. Подключение этих АРМ к локальной вычислительной сети РЭС. Организация межмашинного обмена производственно-технической информацией между ЛВС РЭС и ЛВС ПЭС.

Создание единой базы данных оперативно-диспетчерской и производственно-технической информации РЭС и системы управления этой базой.

АСКУЭ РЭС

АСКУЭ ПС

Автоматизированный учет и контроль баланса электроэнергии по РЭС в целом и отдельным основным подстанциям 110 кВ.

Автоматизированный учет и контроль баланса электроэнергии по подстанциям 35 кВ по отдельным распределительным линиям 6 - 10 кВ и УЭС.

АСУТП подстанций

Автоматизация отдельных функций технологического управления на отдельных подстанциях и РП 10 - 35 кВ, находящихся в ведении диспетчера РЭС.

Комплексная автоматизация наиболее ответственных подстанций и РП 10 - 35 кВ, находящихся в ведении диспетчера РЭС.

9. Экономическая эффективность АСУ РЭС.

Экономическая эффективность АСУ РЭС должна определяться за весь расчетный период ее создания с учетом разновременности по годам капиталовложений на внедрение (Кt) и расчетного эффекта от функционирования (Эt). Показателем экономической эффективности является интегральный коэффициент рентабельности капиталовложений, вычисляемый по формуле:

                                                         (1)

где Т - продолжительность расчетного периода;

Еn - коэффициент приведения разновременных затрат и эффектов.

В формуле (1) капитальные вложения на внедрение АСУ РЭС вычисляются в виде суммы:

К = Кто + Кпо + Кио + Кпр + Ксм,                                           (2)

где Кто - затраты на техническое обеспечение АСУ;

Кпо - затраты на программное обеспечение;

Кио - затраты на информационное обеспечение;

Кпр - стоимость проектных работ;

Ксм - стоимость строительно-монтажных работ.

Э = Энд + Эк + Эп + Эг + Ээ + Эр,                                       (3)

где Э - получение дополнительной прибыли в энергосистемах за счет:

Энд - уменьшения продолжительности ликвидации аварии и сокращения количества отключений потребителей;

Эк - нормализации уровней напряжения и повышения качества электроэнергии;

Эп - снижения потерь в сетях;

Эг - выравнивания графиков нагрузки;

Ээ - сокращения эксплуатационных расходов за счет сокращения числа оперативных бригад и затрат на ремонт сетей;

Эр - сокращения затрат в неоптимальное развитие сетей.

Кроме эффекта, в той или иной мере, поддающегося количественной оценке, внедрение АСУ РЭС позволяет получить качественный эффект в виде:

- повышения безопасности обслуживания электрических сетей;

- повышения точности управляющих воздействий на оборудование и подчиненный персонал;

- повышения культуры эксплуатации электрических сетей;

- упорядочения и облегчения процесса управления;

- улучшения качества обслуживания потребителей и поставок электроэнергии за счет ускорения представления услуг потребителям и ускорения ответов на их запросы.

На первых этапах внедрения АСУ РЭС и создания информационно-справочной системы РЭС и УЭС интегральный коэффициент рентабельности капвложений, определяемый по формуле (1), имеет слишком низкие значения. Величина его резко увеличивается по мере подключения к базам данных РЭС возможно большего количества технологических программ. Практически приемлемого его значения, равного 0,3 - 0,5, можно достичь за счет реализации второго и последующего этапов развития АСУ РЭС, в том числе за счет эффективного использования средств АСУ РЭС в оптимальном оперативном управлении нормальными и аварийными режимами распределительных электрических сетей и АСКУЭ РЭС - в учете электроэнергии и управления электропотреблением.

ЛИТЕРАТУРА

1. Основные положения по созданию автоматизированных систем управления предприятий электрических сетей (АСУ ПЭС), М., Союзтехэнерго, 1989.

2. Основные научно-технические требования к созданию и развитию интегрированных автоматизированных систем управления предприятий электрических сетей (ИАСУ ПЭС). М., ГВЦ, ВНИИЭ, ЭСП, 1994.

3. Концепция осуществления и развития районов электрических сетей (РЭС) в период (1991 - 2000 г.г.). Состав комплексов задач АСУ РЭС. М., ГВЦ, ВНИИЭ, ЭСП, 1992.

4. Разработка основных положений и типовых схем телемеханизации РЭС. М., Сельэнергопроект, 1987.

5. Типовое положение о работе электрических сетей. М., СПО Союзтехэнерго, 1991.

6. Концепция создания и развития интегрированных АСУ энергосистем в условиях перехода к рыночным отношениям (Отраслевой методический материал). М., ГВЦ, ВНИИЭ, ЭСП, 1992.

7. Основные научно-технические требования к созданию интегрированной отраслевой автоматизированной системы управления Минэнерго СССР (ИОАСУ-Энергия). М., СПО Союзтехэнерго, 1989.

8. Основные положения по созданию в энергосистемах автоматизированных систем контроля и управления потреблением и сбытом энергии (АСКУЭ). М., ЦДУ ЕЭС СССР, ВНИИЭ, 1987.

9. Общеотраслевые руководящие методические материалы по созданию многоуровневых интегрированных автоматизированных систем управления производственными объединениями (предприятиями). М., ГКНТ СССР, 1986.

10. МУ 25.767-86 ИАСУ. Методические рекомендации по выбору комплексов задач.

11. МУ 25.212-86 ИАСУ. Методические рекомендации по разработке технического обеспечения.

12. МУ 25.768-86 ИАСУ. Методические рекомендации по разработке информационного обеспечения.

13. МУ 25.769-86 ИАСУ. Методические рекомендации по разработке программного обеспечения.

15. РТМ 25.682-84 Содержание и организация работ при разработке банков данных.