МИНИСТЕРСТВО ЭНЕРГЕТИКИ И ЭЛЕКТРИФИКАЦИИ СССР
|
ГЛАВНОЕ НАУЧНО-ТЕХНИЧЕСКОЕ УПРАВЛЕНИЕ ЭНЕРГЕТИКИ И ЭЛЕКТРИФИКАЦИИ |
УПРАВЛЕНИЕ ОРГАНИЗАЦИИ ТРУДА И ЗАРАБОТНОЙ ПЛАТЫ |
ТИПОВОЕ ПОЛОЖЕНИЕ
О ЦЕХЕ ТЕПЛОВОЙ АВТОМАТИКИ И ИЗМЕРЕНИИ
ТП 34-70-010-86
Срок действия установлен с 03.11.86 г.
до 03.11.2001 г.
(Измененная редакция Изм. № 2)
РАЗРАБОТАНО Специализированной организацией по нормированию, организации труда и управления в энергетике (Энергонот)
ИСПОЛНИТЕЛИ Л.С. АНИСИТОВА, В.И. БЛОХИН, В.Г. ГОРОХОВСКИЙ, Б.А. КОЛЕСНИКОВ, А.А. МАТВЕЕВ, Л.А. ОХОТА, С.Л. СЛЯДНЕВ, В.Г. ЦЫГАНЕНКОВ
УТВЕРЖДЕНО Главным техническим управлением по эксплуатации энергосистем 02.04.85 г.
Начальник В.И. ГОРИН
Управлением по нормированию труда и заработной платы 03.04.85 г.
Начальник М.И. ОГНЯКОВ
Настоящее Типовое положение разработано на условия максимальной специализации подразделений блочных ТЭС.
Настоящее Типовое положение рекомендуется использовать как основу для разработки положения о цехе тепловой автоматики и измерений как блочных ТЭС, так и ТЭС с поперечными связями.
Действующее положение, разработанное на ТЭС, должно быть приведено в соответствие с настоящим Типовым положением с учетом организационной структуры, фактически выполняемых подразделением функций и местных условий каждой ТЭС.
С введением в действие данного Типового положения отменяется Типовое положение, приведенное в «Типовом проекте организации труда в цехе тепловой автоматики и измерений тепловой электростанции» (М.; СПО Союзтехэнерго, 1978).
1.1. Цех тепловой автоматики и измерений (ЦТАИ) является самостоятельным структурным подразделением электростанции.
1.2. В административном отношении и хозяйственной деятельности ЦТАИ подчиняется директору, а в производственно-технической деятельности - главному инженеру электростанции.
1.3. В ведении ЦТАИ находятся;
1.3.1. Средства измерения (СИ) технологических параметров: температура, давление, расход, уровень, перемещение (положение), частота вращения, автоматический химический анализ среды - включая датчики, в том числе датчики информационных измерительных систем, нормирующие преобразователи, вторичные приборы, кабельные и трубные разводки, транспортерные весы, электрическая часть вагонных весов.
1.3.2. Устройства автоматических систем регулирования теплотехнических процессов, а также электрические устройства системы регулирования турбоагрегата при оборудовании его системой автоматического управления мощностью (электрическая часть механизма управления турбины, электромеханический преобразователь, электроприставка).
1.3.3. Устройства технологической защиты (ТЗ) и сигнализации (С) теплоэнергетического оборудования.
1.3.5. Схемы и устройства логического управления функциональными группами теплоэнергетического оборудования и технологические блокировки, в том числе загрузки бункеров сырого угля и восстановления фильтров водоприготовительной установки.
1.3.6. Средства информационно-управляющей вычислительной техники (ИУВК), включая программное обеспечение.
1.3.7. Блочные, групповые щиты управления, местные щиты управления, на которых установлена аппаратура контроля и управления теплотехническим оборудованием, релейной защиты технологических защит, сборки задвижек, вводные шкафы питания этих сборок со схемой АВР за исключением кабельных вводов питания основного и резервного.
(Измененная редакция Изм. № 1)
1.3.8. Помещения ИУВК, помещения сборок задвижек, кабельные полуэтажи под БЩУ, релейными щитами и помещениями ИУВК.
1.3.9. Кабельные трассы в зонах технологического оборудования, в кабельном полуэтаже БЩУ и релейного помещения выше отметки «О».
1.3.10. Датчики теплотехнических параметров, используемых в схемах сигнализация и управления, обслуживаемых электрическим цехом, в том числе датчики давления АВР насосов, уровня насосов дренажных приямков, датчики забивания течек узлов пересыпки, схода и обрыва транспортерной ленты1.
1 При разработке конкретного положения в данном пункте указать полный перечень закрепленного за цехом оборудования.
1.4. ЦТАИ создается для оперативного и технического обслуживания и ремонта оборудования, находящегося в ведении цеха.
1.5. В своей деятельности ЦТАИ руководствуется действующими Правилами технической эксплуатации электрических станций и сетей, Правилами техники безопасности, Правилами Госгортехнадзора СССР, взрывопожаробезопасности, Госстандарта СССР, Руководящими указаниями по организации работы с персоналом на энергетических предприятиях и в организациях, правилами внутреннего трудового распорядка, другими руководящими и нормативно-техническими документами Минэнерго СССР, приказами и распоряжениями районного энергетического управления (РЭУ) или производственного энергетического объединения (ПЭО), руководства электростанции, действующим законодательством, а также настоящим Положением.
1.6. Основой деятельности ЦТАИ являются годовые и месячные планы работ, утвержденные руководством электростанции.
1.7. Методическое руководство деятельностью ЦТАИ осуществляется службой тепловой автоматики и технологических защит, метрологической службой и отделом АСУ РЭУ или ПЭО.
1.8. Закрепление установленного оборудования, зданий и сооружений между подразделениями производится руководством ТЭС.
1.9. Настоящее Типовое положение является основой для разработки положения о ЦТАИ конкретной ТЭС с учетом местных условий.
2.1. Обеспечение необходимого объема управления и защиты тепломеханического оборудования электростанции в объеме действующих директивных документов и контроля за его работой.
2.2. Содействие повышению надежности и экономичности работы тепломеханического оборудования ТЭС путем максимального использования оборудования, находящегося в ведении ЦТАИ.
2.3. Содержание в исправном и работоспособном состоянии всех введенных в эксплуатацию устройств тепловой автоматика и измерений, информационно-управляющей вычислительной техники.
2.4. Повышение производительности труда за счет совершенствования организация труда, внедрения автоматизации, механизации, передовых методов обслуживания и ремонта, снижения стоимости эксплуатационных расходов, организации и проведения в цехе социалистического соревнования и работы по рационализации и изобретательству.
Цех тепловой автоматики выполняет следующие основные функция:
3.1. Контролирует работу и состояние оборудования, устройств и помещений, находящихся в ведения цеха, путем обходов и осмотров с целью своевременного выявления и устранения дефектов.
3.2. Проводит техническое обслуживание, ремонт, наладку и испытание закрепленного за цехом оборудования.
3.3. Участвует в расследовании причин аварий и отказов в работе оборудования.
3.4. Обеспечивает технической учет работы устройств ТАИ.
3.5. Разрабатывает проекты годовых планов проведения ремонтов закрепленного за цехом оборудования, согласовывает их с ПТО.
3.6. Подает заявки на вывод оборудования ЦТАИ в ремонт, производит подготовку рабочих мест и допуск бригад к работе.
3.7. Разрабатывает мероприятия по повышению надежности и экономичности работы закрепленного за цехом оборудования, повышению производительности труда при проведении технического обслуживания и ремонта.
3.8. Контролирует выполнение ремонтных и наладочных работ на закрепленном за цехом оборудовании персоналом подрядных организация.
3.9. Производит периодическую поверку средств намерения в соответствии с правилами Госстандарта СССР.
3.10. Внедряет новые методы контроля, совершенствует схемы защиты и автоматики.
3.11. Анализирует и обобщает опыт эксплуатации обслуживаемого оборудования с целью улучшения его работы, организует внедрение в цехе утвержденных мероприятий по науке и новой технике.
3.12. Организует и участвует в приемке, наладке и испытаниях оборудования цеха, в разработке режимов его работы.
3.13. Принимает участие в работе постоянно действующего производственного совещания.
3.14. Организует и проводит в цехе работу, направленную па выполнение требований ПТЭ, ПТБ, правил взрывопожаробезопасности, Госгортехнадзора СССР, Госстандарта СССР, охраны труда и промышленной санитарии, других руководящих документов.
3.15. Содержит в исправном состоянии средства пожаротушения в цехе.
3.16. Определяет потребность цеха в запасных частях, оборудовании, инструменте, материалах и спецодежде, своевременно подает заявки в ПТО и ОМТС.
3.17. Обеспечивает рабочие места необходимым инвентарем, приборами, инструментом и документацией в соответствии с типовыми проектами организациями рабочих мест.
3.18. Разрабатывает и согласовывает с ПТО новые и периодически пересматривает действующие производственные и должностные инструкции, включая инструкции по охране труда для всех работников цеха в сроки, установленные руководством электростанции.
3.19. Повышает квалификацию персонала цеха и проводит работу, направленную на ликвидацию аварий и травматизма, в соответствии с действующими Руководящими указаниями по организации работы с персоналом на энергетических предприятиях и в организациях.
3.20. Обобщает и распространяет передовые приемы и методы труда, внедряет коллективные формы организации и стимулирования труда в цехе, внутрицеховый и бригадный хозрасчет.
3.21. Проводит организационно-административную работу с персоналом цеха, направленную на выполнение производственных задач, стоящих перед цехом.
3.22. Организует учет и составляет отчетность о производственной деятельности цеха, ведет техническую документацию.
3.23. Организует и проводит рационализаторскую и изобретательскую работу среди персонала цеха, внедряет принятые рационализаторские предложения.
3.24. Организует и проводит социалистическое соревнование и движение за коммунистический труд в цехе.
3.25. Содержит в чистоте помещения и территорию, закрепленную за цехом.
Цех тепловой автоматики и измерений имеет право:
4.1. Прекращать производство работ на оборудовании и отстранять от работы лиц, нарушающих Правила техники безопасности, пожарной безопасности или при отсутствии соответствующего разрешения (наряда, распоряжения).
4.2. Задавать наряды и отдавать распоряжения на производство ремонтных работ на оборудовании ЦТАИ.
4.3. Подавать заявки на вывод и ремонт оборудования ЦТАИ.
4.4. Вносить предложения руководству электростанции о наложении взысканий на лица, действия которых или халатное отношение к своим обязанностям привели или могут привести к порче или необоснованным отключениям оборудования ЦТАИ.
4.5. В установленном порядке привлекать к ремонтным и наладочным работам на оборудовании ЦТАИ специализированные организации.
4.6. Подписывать плановые и отчетные документы цеха.
4.7. Вносить предложения руководству электростанции и участвовать в разработке мероприятий, направленных на выполнение основных задач цеха, улучшение его технико-экономических показателей и улучшение условий труда персонала цеха.
4.8. Контролировать соблюдение работниками ЦТАИ производственной и трудовой дисциплины, требований правил и норм по охране труда, технике безопасности и промсанитарии.
4.9. Отдавать технические и административные распоряжения подчиненному персоналу.
4.10. Устанавливать, по согласованию с профсоюзной организацией, режимы труда персонала цеха и представлять их руководству ТЭС на утверждение,
4.11. Вносить предложения руководству ТЭС о приеме на работу, увольнении и перемещении персонала цеха в соответствии с действующим законодательством.
4.12. Поощрять или вносить предложения директору ТЭС о поощрении отличившихся работников цеха.
4.13. Налагать дисциплинарные взыскания на нарушителей трудовой и производственной дисциплины в пределах своей компетенции; при серьезных нарушениях вносить предложения руководству ТЭС о наложении взысканий на персонал цеха и снижении размера премии.
5.1. Руководство ЦТАИ осуществляется начальником цеха на основе единоналичия с привлечением для решения поставленных задач общественных организаций.
5.2. Назначение и увольнение начальника ЦТАИ производится директором ТЭС по представлению главного инженера.
5.3. Поощрение начальника ЦТАИ или наложение на него взысканий осуществляется приказом директора электростанции по представлению главного инженера.
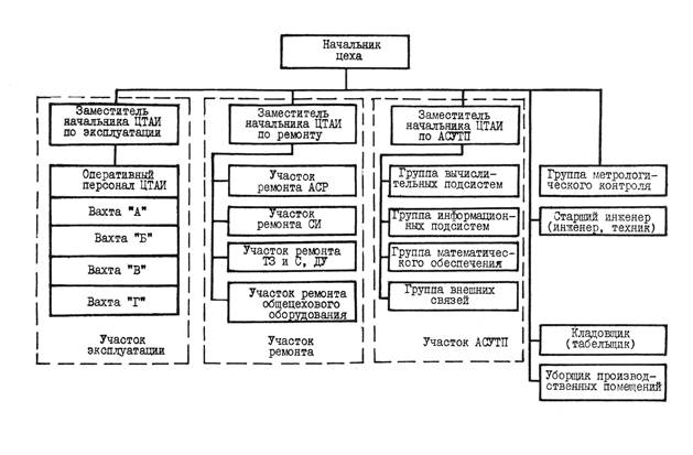
5.4. В состав ЦТАИ входят эксплуатационный и ремонтный участки и АСУТП.
5.4.1. Общецеховый персонал - старший инженер (инженер, техник), кладовщик (табельщик), уборщик производственных помещений - подчиняется непосредственно начальнику цеха. Ведет техническую документацию и отчетность о деятельности цеха, обеспечивает персонал цеха необходимым инвентарем, документацией, инструментами, материалами, спецодеждой, содержит в чистоте помещения, закрепленные за цехом.
5.4.2. Оперативный персонал осуществляет круглосуточное оперативное и техническое обслуживание оборудования цеха.
Оперативный персонал, возглавляемый начальником смены цеха, в оперативном отношении подчиняется начальнику смены электростанции.
Заместитель начальника цеха по эксплуатации организует и проводит работу с оперативным персоналом цеха в соответствии с руководящими документами и действующими Руководящими указаниями по работе с персоналом на энергетических предприятиях и в организациях, является ответственным лицом за организацию труда эксплуатационного персонала, надежную и экономичную эксплуатацию закрепленного за цехом оборудования.
5.4.3. Ремонтный персонал ЦТАИ производит техническое обслуживание, ремонт, испытания и наладку оборудования цеха.
Руководит ремонтным персоналом цеха, организует и контролирует проведение ремонтов оборудования ЦТАИ заместитель начальника цеха по ремонту.
В соответствия со специализацией в ЦТАИ организуются следующие подразделения:
участок ремонта автоматических систем регулирования (АСР) обеспечивает техническое обслуживание, ремонт и наладку схем и устройств, входящих в АСР (датчики, регулирующие и функциональные приборы, пусковые устройства, исполнительные механизмы и др.). При использовании в схемах ACР, ТЗ, С и ДУ информационного сигнала, общего со средствами измерений, ремонт датчиков и нормирующих преобразователей производит группа ремонтов СИ;
участок ремонта ТЗ и С, ДУ обеспечивает техническое обслуживание, ремонт, и наладку датчиков, программных и логических устройств, пускателей, реле исполнительных механизмов, указателей положения, устройств ТЗ и С, ДУ;
участок ремонта СИ обеспечивает техническое обслуживание и ремонт датчиков, нормирующих преобразователей, вторичных приборов, входящих в комплект средств измерений;
участок ремонта общецехового оборудования обеспечивает выполнение слесарных, сварочных работ, а также работ по точной механике для нужд цеха.
Участки по ремонту возглавляют старшие мастера.
В зависимости от
объемов ремонтных работ и от местных условий в участках старших мастеров
организованы участки по ремонту отдельных видов оборудования, возглавляемые
мастерами.
Организационная структура управления ЦТАИ
5.4.4. Участок АСУТП обеспечивает оперативное и техническое обслуживание, математическое обеспечение и ремонт оборудования информационно-вычислительного комплекса с электронно-вычислительными машинами.
Участок АСУТП возглавляет заместитель начальника цеха по АСУТП.
В состав АСУТП входят: группа вычислительных подсистем, группа информационных подсистем, группа внешних связей, группа математического обеспечения.
Руководителями групп (участков) являются старшие инженеры (старшие мастера).
5.4.5. Группа метрологического контроля подчиняется начальнику цеха и обеспечивает единство и требуемую точность измерений, проводит работы по совершенствованию техники измерения.
Группу метрологического контроля возглавляет старший инженер - метролог.
5.5. Персонал ЦТАИ осуществляет свою деятельность в соответствии с должностными и производственными инструкциями, утвержденными руководством электростанции.
5.6. Руководители участков и групп распределяют работу между исполнителями, устанавливают сроки ее выполнения и контролируют качество выполненной работы.
5.7. Численность персонала ЦТАИ устанавливается штатным расписанием, утвержденным директором электростанций, в пределах нормативной численности, установленной на ТЭС.
5.8. Организационная структура управления ЦТАИ приведена на рисунке. При разработке конкретного положения в данном разделе отражается утвержденная структура подразделения, количество и специализация заместителей начальника, старших мастеров, инженеров и мастеров в зависимости от местных условий и объема работ.
Цех тепловой автоматики поддерживает прямые связи со следующими подразделениями электростанции:
6.1. С топливно-транспортным цехом (ТТЦ).
6.1.1. Персонал ЦТАИ обязан:
производить техническое обслуживание и ремонт оборудования ЦТАИ, установленного в ТТЦ;
контролировать совместно с персоналом ТТЦ работу оборудования ЦТАИ, установленного в ТТЦ;
инструктировать персонал ТТЦ по эксплуатации блокировок, защит, сигнализации, средств измерения и автоматики;
своевременно пересматривать инструкции по эксплуатации оборудования ЦТАИ;
наносить необходимые надписи на закрепленном за ЦТАИ оборудовании;
производить допуск персонала для ремонта и наладки оборудования ЦТАИ, установленного в ТТЦ, с ведома и разрешения начальника смены ТТЦ.
6.1.2. Персонал ТТЦ обязан:
контролировать работу оборудования ЦТАИ, установленного в ТТЦ;
при обнаружении неисправностей в работе оборудования ЦТАИ ставить в известность персонал ЦТАИ с записью в оперативный журнал начальника смены ТТЦ;
поддерживать чистоту наружных поверхностей шкафов, панелей, сборок и другого оборудования ЦТАИ, установленного в ТТЦ;
принимать участие в испытаниях и проверках средств автоматики и технологических защит, проводимых ЦТАИ;
приникать меры по предупреждению попаданий воды, пара, масла и топлива на оборудование ЦТАИ;
выполнять мероприятия, обеспечивающие соблюдение правил техники безопасности и пожарной безопасности, при ремонте оборудования ЦТАИ.
6.2. С котлотурбинным цехом (КТЦ).
6.2.1. Персонал ЦТАИ обязан:
обеспечить работоспособность, экономичность и надежность оборудования ЦТАИ, установленного в КТЦ;
контролировать совместно с персоналом КТЦ работу оборудования ЦТАИ, установленного в КТЦ;
производить инструктаж персонала КТЦ по эксплуатации блокировок, защит, сигнализации, средств измерений и автоматики;
своевременно пересматривать инструкции по эксплуатации оборудования ЦТАИ;
производить необходимые надписи на закрепленном за ЦТАИ оборудовании;
производить допуск персонала для ремонта и наладки оборудования ЦТАИ, установленного в КТЦ, с ведома и разрешения начальника смены КТЦ.
6.2.2. Персонал КТЦ обязан:
контролировать работу оборудования ЦТАИ, установленного в КТЦ;
при обнаружении неисправностей в работе оборудования ЦТАИ ставить в известность персонал ЦТАИ с записью в оперативном журнале начальника смены ЦТАИ;
поддерживать чистоту наружных поверхностей шкафов, панелей и крутого оборудования ЦТАИ, установленного в КТЦ;
принимать участие в испытаниях и проверках средств автоматики и технологических защит, проводимых ЦТАИ;
принимать меры по предотвращению попадания воды, пара, масла на оборудование ЦТАИ;
производить эксплуатацию шунтовых труб газоанализаторов и отборных устройств приборов химического контроля и регуляторов прямого действия;
обслуживать первичные запорные органы на импульсных линиях средств измерений, автоматизации и защит;
выполнять мероприятия, обеспечивающие соблюдение правил техники безопасности и пожарной безопасности при ремонте оборудования ЦТАИ.
6.3. С электрическим цехом.
6.3.1. Персонал ЦТАИ обязан:
производить техническое обслуживание и ремонт устройств ЦТАИ, установленных на оборудовании или используемых в схемах, находящихся в ведении электроцеха, в соответствии с п. 1.3. (границей раздела является первый ряд зажимов на панелях или коробок выводов обслуживаемых ЦТАИ), в том числе:
производить замену и ремонт кабелей ЦТАИ, проложенных по кабельным трассам электроцеха;
производить чистку, покраску и упорядочение кабелей электроцеха, расположенных на кабельных трассах ЦТАИ;
производить техническое обслуживание и ремонт устройств избирательного управления блоков логического управления электрооборудованием, если они установлены на панелях, закрепленных за ЦТАИ;
производить техобслуживание и ремонт интегрирующих блоков систем бесступенчатого регулирования питателей топлива;
производить инструктаж персонала электроцеха по эксплуатации оборудования ЦТАИ, установленного в электроцехе.
выдавать электроцеху значения токовых нагрузок по закрепленным электроустановкам, питающимся со щитов 0,4 кВ и щитов постоянного тока, необходимых для выбора коммутационных аппаратов, кабелей и расчета уставок защит питающих фидеров.
6.3.2. Персонал электрического цеха обязан:
производить техническое обслуживание и ремонт устройств электрического цеха, используемых в схемах, находящихся в ведении ЦТАИ (границей раздела является первый ряд зажимов на панелях или коробках выводов обслуживаемых ЦТАИ), в том числе:
производить техническое обслуживание и ремонт кабельных вводов питания (основного и резервного) щитов управления и сборок задвижек до первого пакетного выключателя (рубильника) вводного шкафа питания, а также кабельных перемычек питания между вводными шкафами различных сборок при их последовательном или кольцевом питании. Шкаф ввода, начиная с пакетных выключателей, устройство АВР, токоограничивающий реактор обслуживается персоналом ЦТАИ;
(Измененная редакция Изм. № 1)
производить чистку, покраску и упорядочение кабелей ЦТАИ, проложенных по кабельным трассам электроцеха;
производить ремонт и замену электрокабелей, закрепленных за электрическим цехом, проложенных по кабальным трассам ЦТАИ;
производить техническое обслуживание и ремонт кабелей питания устройств оперативного тока, закрепленных за ЦТАИ, до первого ряда зажимов на панелях, обслуживаемых ЦТАИ. Кабельные перемычки по питанию между самими панелями обслуживает ЦТАИ;
(Измененная редакция Изм. № 1)
производить оперативное обслуживание вводов питания щитов управления ЦТАИ и сборок задвижек ЦТАИ переменным и постоянным током;
инструктировать персонал ЦТАИ по эксплуатации оборудования электрического цеха, установленного в ЦТАИ;
производить перемотку электродвигателей, перечисленных в п. 1.3.4 настоящего Положения;
сообщать персоналу ЦТАИ о замеченных дефектах на аппаратуре и оборудования технологических защит и автоматики;
поддерживать чистоту наружных поверхностей шкафов, панелей, сборок, кабелей и другого оборудования ЦТАИ, расположенного в электроцехе;
поддерживать заданный режим работы закрепленного за цехом оборудования при проведении испытаний устройств ЦТАИ;
обеспечивать надежную работу средств связи и освещения.
6.4. С химическим цехом.
6.4.1. Персонал ЦТАИ обязан:
производить техническое обслуживание и ремонт оборудования ЦТАИ, установленного в химическом цехе;
контролировать совместно с персоналом химического цеха работу оборудования ЦТАИ, установленного в химическом цехе;
инструктировать персонал химического цеха по эксплуатации блокировок, защит, сигнализации, средств измерения и автоматики;
своевременно пересматривать инструкции по эксплуатации оборудования ЦТАИ, производить необходимо надписи на закрепленном оборудовании;
производить допуск персонала ЦТАИ для ремонта и наладки оборудования ЦТАИ, установленного в химическом цехе, с ведома и разрешения начальника смены химического цеха.
6.4.2. Персонал химического цеха обязан:
контролировать работу аппаратуры ЦТАИ, установленной в химическом цехе;
при обнаружении неисправности в работе оборудования ЦТАИ, ставить в известность персонал ЦТАИ с записью в оперативный журнал начальника смены химического цеха;
поддерживать чистоту наружных поверхностей шкафов, панелей, пультов и другого оборудования ЦТАИ, установленного в химическом цехе;
производить эксплуатацию пробоотборных устройств приборов химического контроля, гидро- и пневмоприводов, сверять показания автоматических приборов химического контроля, плотномеров, калориметров и других приборов аналитическими методами;
готовить необходимые реактивы для тарировки средств измерений технологического контроля;
принимать участие в испытаниях в проверке средств автоматики и технологического контроля, проводимых ЦТАИ;
принимать меры по предотвращению попадания воды, пара, масла, химических реагентов на устройства ЦТАИ;
выполнять мероприятия, обеспечивающие соблюдение правил техники безопасности и пожарной безопасности при ремонте оборудования ЦТАИ в химическом цехе.
6.5. С цехом централизованного ремонта (ЦЦР).
6.5.1. Персонал ЦТАИ обязан записывать в журнал дефектов все замечания, выявленные в процессе наладки, опробований и эксплуатации оборудования, отремонтированного ЦЦР.
6.5.2. Персонал ЦЦР обязан:
производить ремонт регулирующих органов, сочленений их с исполнительными механизмами, редукторов электроприводов, устанавливать их на месте;
производить ремонт устройств для установки средств контроля и автоматики (штуцеров, бобышек, гильз, термопар и термосопротивлений, шунтовых труб газоанализаторов, тубусов дымомеров, заборных устройств на газовоздуховодах, отборных устройств приборов химического анализа), запорной и регулирующей арматуры, импульсных линий на участке от трубопровода до первичных вентилей включительно и других устройств;
производить ремонт дроссельных органов расходомеров, регуляторов прямого действия, гидравлических и пневматических исполнительных механизмов на технологическом оборудовании, механической части обдувочных аппаратов и выдвижных форсунок;
предъявлять регулирующую арматуру персоналу ЦТАИ для проверки регулировочных характеристик;
согласовывать с персоналом ЦТАИ все работы, при которых может быть затронуто оборудование ЦТАИ (кабельные и трубные трассы, заборные устройства, вентили, датчики и т.д.), а также изменены условия доступа к нему.
6.6. С цехом наладки и испытаний оборудования (ЦНИО).
6.6.1. Персонал ЦТАИ обязан:
по заявкам ЦНИО устанавливать дополнительные датчики и вторичные приборы теплотехнического контроля, необходимые для проведения испытаний оборудования;
проводить поверку и ремонт приборов, находящихся в ведении ЦНИО;
перед проведением испытаний производить проверку эксплуатационных приборов и сообщать ЦНИО поправочные коэффициенты к их показаниям.
6.6.2. Персонал ЦНИО обязан:
оказывать техническую помощь ЦТАИ по выбору и поддержанию оптимальных режимов работы агрегатов при настройке автоматики, по усовершенствованию схем теплового контроля и автоматики, а также в выборе параметров для расчета сужающих устройств и проходных сечений регулирующих органов;
выдавать режимные карты работы основного тепломеханического оборудования для настройки автоматического регулирования, уставки технологических защит в алгоритмы ФГУ;
ставить в известность дежурный персонал ЦТАИ обо всех неполадках и дефектах устройств ТАИ, обнаруженных во время испытаний тепломеханического оборудования.
6.7. С ремонтно-строительным цехом (РСЦ).
6.7.1. Персонал ЦТАИ обязан:
соблюдать правила содержания производственных помещений, закрепленных за цехом;
информировать персонал РСЦ о всех замечаниях по состоянию помещений, строительных конструкций, сооружений, фундаментов;
своевременно подавать заявки в РСЦ на производство ремонтных и строительных работ в ЦТАИ;
принимать участие в осмотрах помещений, фундаментов, строительных конструкций, кабельных туннелей и каналов, проводимых РСЦ.
6.7.2. Персонал РСЦ обязан:
производить ремонт производственных и служебных помещений ЦТАИ, строительных конструкций, кабельных туннелей и каналов, а также строительные работы по утвержденным руководством ТЭС заявкам ЦТАИ;
производить технический надзор за состоянием служебных и производственных помещений, строительных конструкций, закрепленных за ЦТАИ;
определять объемы, составлять графики ремонтов помещений и строительных конструкций.
6.8. С производственно-техническим отделом (ПТО).
6.8.1. Персонал ЦТАИ обязан:
передавать в ПТО материалы для анализа работы оборудования, составления технической отчетности, организационно-технические мероприятия по повышению экономичности и надежности работы оборудования, подготовке к работе в осенне-зимний период, заявления на рационализаторские предложения для рассмотрения и согласования;
согласовывать с ПТО проекты планов ремонта оборудования, производственные и должностные инструкции;
согласовывать с ПТО программы испытаний устройств автоматического регулирования и технологических защит;
составлять акты внедрения оргтехмероприятий и передавать их в ПТО;
согласовывать с ПТО заявки на оборудование и запасные части, спецификации на материальные ресурсы;
разрабатывать и передавать в ПТО проектные задания на выполнение конструкторских работ.
6.8.2. Персонал ПТО обязан:
обеспечивать ЦТАИ технической документацией на оборудование, установленное на ТЭС, информационными материалами, технической литературой;
согласовывать ЦТАИ заявки на запасные части, оборудование, а также спецификации на материальные ресурсы;
производить экспертизу подаваемых цехом заявлений на рационализаторские предложения и оказывать содействие рационализаторам в оформлении документации;
доводить планы ремонтов оборудования цеха, графики пусков-остановов тепломеханического оборудования;
доводить планы научно-исследовательских, проектно-конструкторских работ, внедрения новой техники;
оказывать техническую помощь в пересмотре и обновлении схем, производственных и должностных инструкции и согласовывать их;
доводить до сведения ЦТАИ циркуляры, руководящие документы вышестоящих организаций по техническим вопросам;
выполнять конструкторские и светокопировальные работы по заявкам цеха.
6.9. С планово-экономическим отделом (ПЭО).
6.9.1. Персонал ЦТАИ представляет в ПЭО:
исходные данные и предложения к проектам планов на получение (оказание) услуг, в том числе ремонты;
исходные данные для составления отчетов о выполнении планов по месяцам в разрезе цеха и бригад, переведенных на хозрасчетные методы работы, о полученных (оказанных) услугах;
исходные данные для отчетов об использовании ресурсов, лимитируемых цеху планом;
отчеты о выполнении планов.
6.9.2. Персонал ПЭО доводит до ЦТАИ;
планы, утвержденные в установленном порядке;
элементы сметы затрат (лимиты), расходование которых зависит от персонала цеха;
планы ремонтов оборудования ЦТАИ;
услуги, получаемые (оказываемые) цехом.
6.10. С отделом организация труда и заработной платы (ООТиЗ),
6.10.1. Персонал ЦТАИ обязан:
участвовать в разработке плана мероприятий по НОТ;
представлять данные об использования рабочего времени, ведомости на выплату премий персоналу цеха, итоги социалистического соревнования за отчетный период;
участвовать во внедрения нормативов по труду;
выполнять мероприятия по снижению трудоемкости работ, потере рабочего времени.
6.10.2. Персонал ООТиЗ обязан:
Представлять в ЦТАИ план мероприятия по НОТ, штатное расписание, положение о премировании, фонд заработной платы и материального поощрения, условия социалистического соревнования;
пересматривать нормативы по труду, не соответствующие уровню организации производства и труда в цехе;
контролировать применение тарифных ставок, расценок, должностных окладов, доплат, надбавок и коэффициентов к заработной плате, присвоение разрядов рабочим.
6.11. С бухгалтерией.
6.11.1.Персонал ЦТАИ обязан:
составлять и представлять в бухгалтерию сметы на производство ремонтов, наладку, модернизацию и реконструкцию оборудования;
производить списание основных средств в установленном порядке;
сдавать первичные документы на образцах типовых форм по расходу эксплуатационных материалов, запасных частей, инструмента, спецодежды;
участвовать в комиссии по проверке наличия основных средств и других товарно-материальных ценностей в цехе;
составлять и передавать в бухгалтерию табели учета рабочего времени и другие документы по начислению заработной платы.
6.11.2. Персонал бухгалтерии обязан:
обеспечивать финансирование производственного плана цеха;
ежемесячно давать сведения об эксплуатационных затратах;
при необходимости принимать участие в проведении инвентаризации и списании основных средств и других товарно-материальных ценностей в цехе;
контролировать эффективность использования государственных средств и обеспечение сохранности социалистической собственности в ЦТАИ.
6.12. С группой кадров.
6.12.1. Персонал ЦТАИ обязан:
передавать в группу кадров заявки на подбор соответствующего персонала, предложение о приеме, увольнении и переводе на другую работу работников в соответствии с действующим законодательством;
совместно с группой кадров проводить работу по снижению текучести кадров, укреплению трудовой дисциплины, отбору и направлению персонала цеха в спецкомандировки, на учебу, выявлению резерва из числа специалистов на выдвижение с учетом перспективы их роста;
представлять в группу кадров сведения о нарушениях трудовой дисциплины и правил внутреннего трудового распорядка, протоколы квалификационных комиссий, материалы для поощрения работников, а также графики отпусков и заявления на отпуск.
6.12.2. Персонал группы кадров обязан:
направлять в ЦТАИ рабочих и инженерно-технических работников по вопросам трудоустройства, оформлять их на работу, а также вести переговоры и оформление переводов на другую работу внутри цеха в соответствии с действующим законодательством;
проверять правильность использования молодых специалистов;
совместно с руководством и общественными организациям ЦТАИ проводить работу по снижению текучести кадров, укреплению трудовой дисциплины, отбору и направлению персонала цеха в спецкомандировки, на учебу, выявлению резерва из числа специалистов на выдвижение с учетом перспективы их роста;
принимать участие с начальником ЦТАИ в подготовке проектов приказов как о привлечении к ответственности нарушителей трудовой или производственной дисциплины, так и о поощрении отличившихся работников ЦТАИ;
оформлять доверенности, документы для назначения пенсий, выдавать справки, вести личные дела работников ЦТАИ.
6.13. С отделом материально-технического снабжения (ОМТС)
6.13.1. Персонал ЦТАИ обязан:
в установленные сроки составлять и передавать в ОМТС заявки на эксплуатационные и ремонтные материалы, запасные части, оборудование, инструмент и спецодежду;
ежегодно выдавать ОМТС перечень неснижаемого запаса материалов, оборудования, запасных частей, инструмента;
производить заготовку и сдачу ОМТС металлолома в установленные сроки;
представлять в ОМТС сведения об остатках материалов, полученных цехом со складов ОМТС.
6.13.2. Персонал ОМТС обязан:
реализовывать заявка ЦТАИ на материалы, запасные части и оборудование согласно выделенным фондам в соответствии с утвержденными сроками поставок;
обеспечивать хранение материалов, запасных частей, оборудования, инструмента в соответствии с техническими условиями их хранения;
обеспечивать неснижаемый запас материалов, запасных частей, оборудования и инструмента на складах ОМТС в соответствии с перечнем.
6.14. С отделом капитального строительства (ОКС).
6.14.1. Персонал ЦТАИ обязан:
рассматривать техническую документацию на объекты капитального строительства ЦТАИ и давать заключения;
совместно с персоналом ОКСа осуществлять технический надзор за качеством выполняемых работ при строительстве объектов капитального строительства.
6.14.2. Персонал ОКСа обязан:
согласовывать с ЦТАИ техническую документацию на объекты капитального строительства;
совместно с персоналом ЦТАИ осуществлять технический надзор за качеством выполняемых работ при строительстве объектов капитального строительства.
6.15. С отделом оборудования.
6.15.1. Персонал ЦТАИ обязан проверять техническую документацию и оборудование ЦТАИ, поступающие на ТЭС на соответствие проектным техническим условиям.
6.15.2. Персонал отдела оборудования обязан информировать ЦТАИ о поступлении на ТЭС оборудования ЦТАИ и технической документации на него для объектов капитального строительства.
6.16. С группой хозяйственного обслуживания (ГХО).
6.16.1. Персонал ЦТАИ обязан:
участвовать в проводимых персоналом ГХО инвентаризациях имущества и хозяйственного инвентаря, находящегося в цехе;
поддерживать чистоту производственных помещений, территории, закрепленной за цехом, и мест общего пользования.
6.16.2. Персонал ГХО обязан:
производить инвентаризацию имущества и хозяйственного инвентаря, находящегося в ЦТАИ;
контролировать чистоту производственных помещений и территории, закрепленных за ЦТАИ.
6.17. С группой делопроизводственного обслуживания (ГДО).
6.17.1. Персонал ЦТАИ обязан:
организовывать ведение делопроизводства в цехе в соответствии с требованиями Единой государственной системой делопроизводства (ЕГСД) при методическом руководстве ГДО;
передавать к ГДО материалы для выполнения печатных работ.
6.17.2. Персонал ГДО обязан:
контролировать состояние делопроизводства в цехе;
осуществлять методическое руководство ведением делопроизводства в ЦТАИ;
контролировать сроки и порядок рассмотрения писем, заявлений, жалоб трудящихся;
выполнять печатание материалов ЦТАИ;
обеспечивать отправку корреспонденции в другие подразделения ТЭС и за ее пределы из ЦТАИ, получение и доставку корреспонденции в цех.
6.18. С подрядными организациями.
Взаимоотношения ЦТАИ с ремонтными, монтажными, наладочными и проектными организациями организуются на основе договоров, заключаемых между ними и электростанцией.
6.18.1. Персонал ЦТАИ обязан:
рассматривать проекты реконструкции и модернизации оборудования ЦТАИ, выполняемые подрядными организациями, и давать заключения;
участвовать в рассмотрении и согласовании технологии и организации производства ремонтных работ;
передавать подрядным организациям техническую документацию на оборудование, подлежащее выводу в ремонт (рабочие чертежи, схемы, технические документы заводов-изготовителей, отчетные документы предыдущего ремонта), технические характеристики оборудования;
участвовать в проведении подготовительных работ, предшествующих ремонту;
производить вывод оборудования в ремонт, подготовку рабочих мест и допуск персонала подрядных организации для выполнения ремонтных работ;
производить приемку технической документации и оборудования из ремонта, монтажа и наладки;
контролировать объекты, качество, сроки и стоимость ремонтных работ, выполненных подрядными организациями;
обеспечивать наладочные и исследовательские организации стационарными средствами измерения.
6.18.2. Персонал подрядных организаций обязан:
разрабатывать техническую документацию на производство ремонтных работ;
участвовать в проведении подготовительных работ предшествующих ремонту оборудования ЦТАИ;
своевременно и качественно производить ремонтные, наладочные и монтажные работы на оборудовании ЦТАИ;
соблюдать Правила техники безопасности, технической эксплуатации, Госгортехнадзора СССР, взрывопожаробезопасности, внутреннего трудового распорядка ТЭС;
сдавать ЦТАИ техническую документацию и оборудование из ремонта, монтажа и наладки;
производить инструктаж персонала ЦТАИ по правилам обслуживания вновь вводимого оборудования;
обеспечивать сохранность инструмента и оборудования, предоставленных ему во временное пользование цехом;
согласовывать с ЦТАИ решения, затрагивающие сроки и качество производимых работ.
6.19. Разногласия между ЦТАИ и другими подразделениями ТЭС разрешаются руководством электростанции.
7.1. Персонал ЦТАИ несет ответственность за:
надежную работу средств тепловой автоматики, измерений, технологических защит, АСУТП и другого оборудования цеха;
достоверность ремонтной документация, качество ее оформления;
сохранность закрепленного за цехом оборудования и имущества цеха;
рациональную организацию труда в цехе;
трудовую и производственную дисциплину в цехе;
своевременное и эффективное выполнение функций, возложенных на цех, и полноту использования предоставленных ему прав.
7.2. Начальник цеха отвечает за работу всего цеха, а каждый работник за участок работы в пределах обязанностей, возложенных на него должностной инструкцией.
7.3. Начальник цеха и инженерно-технический персонал ЦТАИ несут персональную ответственность за отказы в работе оборудования ЦТАИ, отказы и аварии на тепломеханическом оборудовании, несчастные случаи, а также загорания, происшедшие по их вине или вине подчиненного персонала.
7.4. Дисциплинарная, материальная и уголовная ответственность персонала ЦТАИ определяется в соответствии с действующим законодательством.