Combined flexible materials for electrical insulation. General specifications

ГОСТ Р 51877-2002

ГОСУДАРСТВЕННЫЙ СТАНДАРТ РОССИЙСКОЙ ФЕДЕРАЦИИ

МАТЕРИАЛЫ ЭЛЕКТРОИЗОЛЯЦИОННЫЕ
КОМПОЗИЦИОННЫЕ ГИБКИЕ

Общие технические условия

ГОССТАНДАРТ РОССИИ
Москва

Предисловие

1 РАЗРАБОТАН И ВНЕСЕН Техническим комитетом по стандартизации ТК 38 «Электроизоляционные материалы» Центра стандартизации и сертификации высоковольтного электрооборудования и силовых полупроводниковых приборов (ЦСВЭП)

2 ПРИНЯТ И ВВЕДЕН В ДЕЙСТВИЕ Постановлением Госстандарта России от 27 марта 2002 г. № 111-ст

3 Настоящий стандарт соответствует международным стандартам МЭК 60626-1:1995 с дополнением № 1 (1996 г.), МЭК 60626-2:1996 и МЭК 60626-3:1996 с дополнением № 1 (1999 г.)

4 ВВЕДЕН ВПЕРВЫЕ

Содержание

1 Область применения. 2

2 Нормативные ссылки. 2

3 Типы, основные параметры и размеры.. 3

4 Технические требования. 4

5 Приемка. 8

6 Методы испытаний. 9

7 Транспортирование и хранение. 13

8 Гарантии изготовителя. 14

 

ГОСТ Р 51877-2002

ГОСУДАРСТВЕННЫЙ СТАНДАРТ РОССИЙСКОЙ ФЕДЕРАЦИИ

МАТЕРИАЛЫ ЭЛЕКТРОИЗОЛЯЦИОННЫЕ КОМПОЗИЦИОННЫЕ ГИБКИЕ

Общие технические условия

Combined flexible materials for electrical insulation.
General specifications

Дата введения 2003-01-01

1 Область применения

Настоящий стандарт распространяется на гибкие электроизоляционные материалы, состоящие из двух или более различных электроизоляционных материалов, склеенных между собой.

Компонентами композиционных гибких материалов являются пленочные и (или) волокнистые материалы, такие как бумага, тканые или нетканые волокна пропитанные или непропитанные.

Гибкие электроизоляционные материалы предназначены для использования в электродвигателях и аппаратах с изоляцией классов нагревостойкости Е, В, F и Н по ГОСТ 8865.

Стандарт не распространяется на материалы на основе слюдяной бумаги, а также на композиционные материалы, один из компонентов которых намеренно оставлен в стадии В по ГОСТ 28602.3.

Требования разделов 3, 4 в части пробивного напряжения, удельного разрушающего усилия (удельной разрушающей нагрузки по ГОСТ 4.73) при растяжении и требований безопасности, 6 (в части пробивного напряжения и удельного разрушающего усилия при растяжении) и 8 настоящего стандарта являются обязательными; требования разделов 4 (кроме пробивного напряжения, удельного разрушающего усилия при растяжении и требований безопасности), 5, 6 (кроме пробивного напряжения и удельного разрушающего усилия при растяжении) и 7 являются рекомендуемыми.

2 Нормативные ссылки

В настоящем стандарте использованы ссылки на следующие стандарты:

ГОСТ 4.73-81 Система показателей качества продукции. Материалы электроизоляционные. Номенклатура показателей

ГОСТ 12.1.004-91 Система стандартов безопасности труда. Пожарная безопасность. Общие требования

ГОСТ 12.1.005-88 Система стандартов безопасности труда. Общие санитарно-гигиенические требования к воздуху рабочей зоны

ГОСТ 12.1.007-76 Система стандартов безопасности труда. Вредные вещества. Классификация и общие требования безопасности

ГОСТ 12.1.019-79 Система стандартов безопасности труда. Электробезопасность. Общие требования и номенклатура видов защиты

ГОСТ 12.4.028-76 Система стандартов безопасности труда. Респираторы ШБ-1 «Лепесток». Технические условия

ГОСТ 515-77 Бумага упаковочная битумированная и дегтевая. Технические условия

ГОСТ 2991-85 Ящики дощатые неразборные для грузов массой до 500 кг. Общие технические условия

ГОСТ 3560-73 Лента стальная упаковочная. Технические условия

ГОСТ 5959-80 Ящики из листовых древесных материалов неразборные для грузов массой до 200 кг. Общие технические условия

ГОСТ 6433.1-71 Материалы электроизоляционные твердые. Условия окружающей среды при подготовке образцов и испытаний

ГОСТ 6433.3-71 Материалы электроизоляционные твердые. Методы определения электрической прочности при переменном (частоты 50 Гц) и постоянном напряжении

ГОСТ 6507-90 Микрометры. Технические условия

ГОСТ 8273-75 Бумага оберточная. Технические условия

ГОСТ 8828-89 Бумага-основа и бумага двухслойная водонепроницаемая упаковочная. Технические условия

ГОСТ 8865-93 Системы электрической изоляции. Оценка нагревостойкости и классификация

ГОСТ 9557-87 Поддон плоский деревянный размером 800 ´ 1200 мм. Технические условия

ГОСТ 9569-79 Бумага парафинированная. Технические условия

ГОСТ 10354-82 Пленка полиэтиленовая. Технические условия

ГОСТ 12082-82 Обрешетки дощатые для грузов массой до 500 кг. Общие технические условия

ГОСТ 14192-96 Маркировка грузов

ГОСТ 15102-75 Контейнер универсальный металлический закрытый номинальной массой брутто 5,0 т. Технические условия

ГОСТ 15150-69 Машины, приборы и другие технические изделия. Исполнения для различных климатических районов. Категории, условия эксплуатации, хранения и транспортирования в части воздействия климатических факторов внешней среды

ГОСТ 17065-94 Барабаны картонные навивные. Технические условия

ГОСТ 18573-86 Ящики деревянные для продукции химической промышленности. Технические условия

ГОСТ 20435-75 Контейнер универсальный металлический закрытый номинальной массой брутто 3,0 т. Технические условия

ГОСТ 21140-88 Тара. Система размеров

ГОСТ 21650-76 Средства скрепления тарно-штучных грузов в транспортных пакетах. Общие требования

ГОСТ 22225-76 Контейнеры универсальные массой брутто 0,625 и 1,25 т. Технические условия

ГОСТ 23216-78 Изделия электротехнические. Хранение, транспортирование, временная противокоррозионная защита, упаковка. Общие требования и методы испытаний

ГОСТ 23436-83 Бумага кабельная для изоляции силовых кабелей на напряжение до 35 кВ включительно. Технические условия

ГОСТ 24597-81 Пакеты тарно-штучных грузов. Основные параметры и размеры

ГОСТ 28602.3-90 (МЭК 626-3-88) Материалы электроизоляционные композиционные гибкие. Технические условия

3 Типы, основные параметры и размеры

3.1 Для изготовления гибких электроизоляционных материалов (далее - материалов) применяют пленки, нетканые и тканые волокна пропитанные и непропитанные.

Типы материалов обозначают, используя соответствующие комбинации цифрового кода, означающего вид и свойства основных компонентов. В обозначении типа материала цифры означают:

1 - пленка полиэтилентерефталатная,

2 - пленка полиимидная,

3 - пленка полисульфоновая,

4 - электроизоляционный картон или бумага целлюлозные,

5 - бумага полиэфирная,

6 - бумага из смеси полиэфирных и арамидных волокон,

7 - картон или бумага из неорганических волокон,

8 - бумага арамидная,

9 - ткань из стеклянного волокна.

3.2 Типы и толщина материала, а также длительно допустимая рабочая температура приведены в таблице 1.

Таблица 1

Тип материала

Толщина материала, мм

Длительно
допустимая рабочая
температура, °С

Тип материала

Толщина материала, мм

Длительно
допустимая рабочая
температура, °С

21

0,15-0,37

155

515

0,17-0,47

130-155

29Л

0,08-0,20

180

515Ф

0,27-0,42

130

41

0,17-0,45

120

616

0,23-0,47

130-155

51

0,12-0,45

130

616Ф

0,27-0,42

130-155

61

0,12-0,42

130-155

717

0,25-0,45

155

81

0,12-0,42

155

818

0,23-0,47

155

82

0,18

180

818Ф

0,27-0,42

155

141

0,19-0,37

130

828

0,15-0,24

180

191

0,13-0,50

130-155

929Л

0,11-0,20

180

212

0,17-0,47

155-180

929*

0,20-0,50

180

292

0,13-0,50

180

 

 

 

Примечание - В обозначении типа материала буквы означают: Л - ленту, Ф - межфазную изоляцию, а знак «*» - пятислойный материал.

3.3 Материалы должны поставляться в рулонах, листах и роликах.

3.4 Материалы в рулонах должны быть намотаны на жесткую втулку. Внутренний диаметр втулки должен быть указан в технических условиях на материал конкретного типа. Предпочтительными являются втулки внутренним диаметром 55, 76, 120 и 150 мм.

Размеры рулонов должны быть: ширина до 1000 мм, диаметр до 600 мм.

Предельные отклонения от размеров рулона должны быть ± 10 мм по ширине рулона и ± 50 мм - по диаметру.

3.5 Материалы в листах должны изготовляться шириной 200 - 900 мм и длиной 800 - 920 мм. Предельные отклонения от номинального размера листа должны быть, мм:

± 30 - при стороне листа до 500 мм включ.;

± 50 » » » св. 500 мм.

По согласованию изготовителя с потребителем допускается поставка материалов в листах размерами, отличными от указанных, в количестве не более 15 % от массы партии. Немерные листы должны быть упакованы в каждом ящике отдельно.

3.6 Размеры роликов должны быть: ширина 15, 20, 25, 30 и 35 мм с предельным отклонением ± 1 мм, диаметр (110 ± 10) мм.

По согласованию изготовителя с потребителем допускается изготовление роликов другой ширины и другого диаметра.

3.7 Число отрезков в рулоне или ролике должно быть не более трех, а длина отдельного отрезка должна быть указана в стандарте или технических условиях на материал конкретного типа.

3.8 Толщина материала должна выбираться из следующего ряда: 0,08; 0,10; 0,11; 0,12; 0,13; 0,15; 0,17; 0,18; 0,19; 0,20; 0,22; 0,23; 0,24; 0,25; 0,27; 0,28; 0,30; 0,32; 0,35; 0,37; 0,40; 0,42; 0,45; 0,47; 0,50; 0,52 мм.

Номинальная толщина и предельные отклонения от номинальной толщины должны быть указаны в стандарте или технических условиях на материал конкретного типа.

3.9 Условное обозначение материала должно содержать название, тип и марку материала, толщину, ширину (для материала в ролике) и обозначение стандарта или технических условий.

Пример условного обозначения должен быть указан в стандарте или технических условиях на материал конкретного типа.

4 Технические требования

4.1 Материалы должны изготовляться в соответствии с требованиями настоящего стандарта, стандарта или технических условий на материал конкретного типа по нормативным документам, утвержденным в установленном порядке (далее - НД).

4.2 Характеристики

4.2.1 Поверхность материала должна быть ровной, без сквозных отверстий, посторонних включений, пузырей и морщин, выводящих толщину за допустимые предельные отклонения; подложка не должна отслаиваться.

Листы материала должны быть с ровно обрезанными краями.

Втулки в рулонах и роликах не должны быть деформированными. Полотно материала в рулоне по ширине должно быть ровно обрезано.

В рулонах допускается смещение слоев материала по торцу не более 10 мм.

Торцы роликов и рулонов должны быть ровно обрезаны. Материал в ролике не должен иметь сдвигов по слоям. Материал не должен повреждаться при размотке рулона или ролика.

Дополнительные требования к внешнему виду материала должны быть указаны в стандарте или технических условиях на материал конкретного типа.

В рулонном материале допускается не более 1,5 % от массы рулона материала с дефектами, выходящими за пределы требований к внешнему виду, при этом дефектные участки не вырезают и в массе рулона не учитывают. Дефектные участки отмечают сигналами, видимыми с торца рулона.

Допускается поставлять материал в необрезанном виде.

4.2.2 Диапазон номинальных толщин материала, электрические и физико-механические свойства материалов для соответствующих типов и толщин должны быть не ниже указанных в таблицах 2 и 3.

Таблица 2 - Требования к материалам на основе полиэтилентерефталатной и полиимидной пленок и нетканых волокнистых материалов

Тип материала

Номинальная толщина, мм

Удельное разрушающее усилие (удельная
разрушающая нагрузка) при растяжении, Н/см,
не менее

Относительное
удлинение, %, не менее, при разрыве в
исходном состоянии

Пробивное напряжение, кВ,
не менее

в продольном направлении

в поперечном направлении

в исходном состоянии

после перегиба

в исходном состоянии

после перегиба

в продольном направлении

в поперечном направлении

в исходном состоянии

после перегиба

41

0,17-0,45

100

70

80

40

2

3

8,0

6,0

51

0,12-0,45

60*

60*

60*

60*

10

15

6,0

4,5

61

0,12-0,42

81

0,12-0,42

60

60

60

60

82

0,18

45

-

-

-

6

-

10,0

9,0

141

0,19-0,37

135

100

100

60

2

3

8,0

6,0

515

0,17-0,47

90*

60*

80*

70*

15

10

4,0

3,0

515Ф

0,27-0,42

75*

50*

75*

50*

15

6,0

5,0

616

0,23-0,47

170*

60*

180*

20

11,0

10,0

616Ф

0,27-0,42

75*

50*

75*

15

6,0

5,0

717

0,25-0,45

-

-

-

-

-

-

-

-

818

0,23-0,47

150

80

90

70

15

20

7,0

6,0

818Ф

0,27-0,42

75

75

75

75

7

10

6,0

5,0

828

0,15-0,24

85

-

-

-

10

-

10,0

7,0

* Значения распространяются на материалы с применением бумаги только сухого формования (нетканый полиэфирный мат).

В обозначении типа материала буква Ф означает межфазную изоляцию.

Таблица 3 - Требования к материалам на основе полиэтилентерефталатной и полиимидной пленок, тканых и пленочных материалов

Тип материала

Номинальная толщина, мм

Удельное разрушающее усилие
(удельная разрушающая нагрузка)
при растяжении в исходном
состоянии, Н/см, не менее

Относительное удлинение при
разрыве в исходном состоянии, %,
не менее

Пробивное
напряжение, кВ,
не менее

в продольном направлении

в поперечном направлении

в продольном направлении

в поперечном направлении

в исходном состоянии

после перегиба

21

0,15-0,37

130

-

15

-

11,0

-

29Л

0,08-0,20

60

-

3

-

6,5

-

191

0,13-0,50

140

100

3

2

10,0

7,0

212

0,17-0,47

170

-

15

-

11,0

-

292

0,13-0,50

120

100

3

2

8,0

6,0

929Л

0,11-0,20

80

-

3

-

7,0

-

929*

0,20-0,50

175

-

-

-

8,0

5,0

4.2.3 Материалы не должны расслаиваться при нарезании их или после перегиба, или нагрева. Температура и время выдержки должны быть указаны в стандарте или технических условиях на материал конкретного типа.

4.2.4 Дополнительные требования к материалам должны быть при необходимости указаны в стандарте или технических условиях на материал конкретного типа.

4.2.5 Значения показателей для соответствующих марок материала в зависимости от толщины должны устанавливаться в стандарте или технических условиях на материал конкретного типа.

4.3 Требования безопасности

4.3.1 Механическая обработка материала должна производиться в помещениях с воздухообменом, осуществляемым приточно-вытяжной вентиляцией. Рабочие места должны быть оборудованы отсасывающими устройствами. Основные требования к контролю за содержанием вредных веществ в воздухе рабочей зоны должны соответствовать ГОСТ 12.1.007. Воздух, удаляемый с места переработки материала, перед выбросом в атмосферу должен подвергаться очистке.

4.3.2 При механической обработке (нарезке, штамповке) материала возможно образование пыли, состоящей из волокон подложек (стеклоткани, бумаги и т. д.) и отвержденного связующего вещества.

Предельно допустимая концентрация (ПДК) пыли в воздухе рабочей зоны должна соответствовать требованиям ГОСТ 12.1.005. ПДК не должна быть более 4 мг/м3, класс опасности - 4.

4.3.3 Лица, производящие механическую обработку материала, должны быть обеспечены марлевыми повязками или респираторами ШБ-1 по ГОСТ 12.4.028. Для защиты кожных покровов рук при ручной изолировке должны применяться пасты и кремы.

4.3.4 При воздействии на материалы температуры выше 250 °С происходит деструкция пленок и связующих веществ с выделением различных веществ в зависимости от вида пленки: оксида углерода, оксидов азота, ацетальдегида и терефталевой кислоты.

ПДК продуктов термоокислительной деструкции в воздухе рабочей зоны, мг/м3:

оксида углерода.............................................. 20 (класс опасности 4);

ацетальдегида................................................... 5 (класс опасности 2);

оксидов азота.................................................... 5 (класс опасности 2);

терефталевой кислоты...................................... 0,1 (класс опасности 1).

4.3.5 В помещениях, где производится переработка материала, не допускаются работы с применением открытого огня или с искрообразованием.

При поднесении открытого огня материалы горят коптящим пламенем с выделением веществ, перечисленных в 4.3.4.

Средства пожаротушения - вода и пена.

Требования пожарной безопасности должны соответствовать ГОСТ 12.1.004.

4.3.6 Оборудование, на котором производят переработку материала, должно быть заземлено во избежание накопления электрических зарядов. Для нейтрализации зарядов статического электричества применяют радиоизотопные нейтрализаторы.

4.3.7 При проведении электрических испытаний образцов материалов должны соблюдаться требования безопасности по ГОСТ 12.1.019.

4.3.8 Отходы материалов должны подвергаться захоронению на полигоне промышленных отходов.

4.4 Маркировка

4.4.1 На каждую транспортную упаковку должна быть нанесена этикетка, содержащая:

- товарный знак;

- наименование предприятия-изготовителя;

- условное обозначение материала;

- номер партии и дату се изготовления;

- массу нетто и брутто в килограммах.

4.4.2 Транспортная маркировка должна соответствовать ГОСТ 14192 с нанесением на транспортную тару или фанерный ярлык манипуляционных знаков: «Беречь от влаги», «Беречь от нагрева».

4.5 Упаковка

4.5.1 Листы материала одной толщины должны быть упакованы в фанерные ящики типа VI по ГОСТ 5959 или дощатые ящики типа II-2 или V-2 по ГОСТ 2991, или ящики, изготовленные по НД, или ящики из гофрированного картона по НД.

При упаковке листов материала дно и стенки ящиков должны выстилаться водонепроницаемой бумагой по ГОСТ 8828 или парафинированной бумагой по ГОСТ 9569, или упаковочной бумагой по ГОСТ 515, или полиэтиленовой пленкой по ГОСТ 10354.

4.5.2 Рулоны и ролики материала должны быть упакованы в полиэтиленовую пленку по ГОСТ 10354. При упаковке рулона полиэтиленовая пленка должна быть загнута на торцы рулона.

Допускается рулоны упаковывать во влагонепроницаемую бумагу по ГОСТ 515, или ГОСТ 9569, или ГОСТ 8828, а сверху покрывать бумагой по ГОСТ 8273 или ГОСТ 23436. Верхние слои бумаги должны быть загнуты на торцы рулона и на них должны быть наклеены круглые или квадратные листы упаковочной бумаги или картона, не выходящие за габариты рулона, или в оба конца гильз должны быть вставлены пробки.

Рулоны должны быть уложены в фанерные ящики типа VI по ГОСТ 5959 или дощатые ящики типов II-2, III-2 или V-2 по ГОСТ 2991, или ящики, изготовленные по НД, или ящики из гофрированного картона по НД.

Для исключения деформации рекомендуется укреплять рулоны в ящике с помощью упоров и вкладышей.

4.5.3 Ролики и рулоны материала диаметром до 120 мм должны быть упакованы в пакеты из полиэтиленовой пленки по ГОСТ 10354 или металлические банки, или картонные навивные барабаны по ГОСТ 17065, или пеналы из водонепроницаемой бумаги по НД. При этом в банку или пакет, или пенал помещают ролики, нарезанные от одного или разных рулонов одной партии.

Банки, пакеты или пеналы должны быть уложены в дощатые ящики типов II-1, III-1 по ГОСТ 2991 или фанерные ящики типа VI по ГОСТ 5959, или ящики, изготовленные по НД. Банки могут быть уложены в обрешетку, штабелируемую по высоте, по ГОСТ 12082 или ящики по ГОСТ 18573.

Металлические банки, пеналы, барабаны с материалом, упакованные по 4.5.2, допускается транспортировать в контейнерах без упаковки в ящики.

4.5.4 Размеры ящиков устанавливают в зависимости от размеров листов или рулонов материала в соответствии с требованиями ГОСТ 21140.

4.5.5 Ящики или обрешетки должны быть обиты по торцам стальной лентой по ГОСТ 3560, скрепленной взамок или внахлест.

Укупоривание ящиков из гофрированного картона производят обтягиванием полимерной лентой.

Масса брутто не должна быть более 80 кг.

4.5.6 Дополнительные требования по упаковке должны быть указаны в стандартах или технических условиях на материал конкретного типа.

5 Приемка

5.1 Для проверки соответствия материалов требованиям настоящего стандарта, стандартов или технических условий на материалы конкретных типов устанавливают приемосдаточные, периодические и типовые испытания.

5.2 Материалы принимают партиями. Партией считают материал одного типа и толщины, изготовленный за одну рабочую смену на одном технологическом оборудовании и оформленный одним документом, удостоверяющем его качество.

Масса партии должна устанавливаться в стандарте или технических условиях на материал конкретного типа.

5.3 Документ о качестве должен содержать:

- наименование или товарный знак предприятия-изготовителя;

- условное обозначение материала;

- номер партии;

- дату изготовления;

- массу нетто в килограммах;

- штамп технического контроля предприятия-изготовителя;

- результаты испытаний или подтверждение о соответствии материала требованиям НД.

5.4 Приемосдаточным испытаниям должен быть подвергнут материал каждой партии по показателям и в объемах выборки, которые устанавливаются в стандарте или технических условиях на материал конкретного типа.

Испытания проводят не менее чем на двух листах, рулонах или роликах, отобранных от партии.

5.5 При получении неудовлетворительных результатов приемосдаточных испытаний хотя бы на одной единице выборки, проводят повторные испытания на всех рулонах, составляющих партию, или на удвоенной выборке листов, роликов, взятых от одной партии, по тем показателям, по которым получены неудовлетворительные результаты.

Результаты повторных испытаний распространяются на всю партию.

5.6 Периодические испытания должны проводиться не реже одного раза в 6 мес на одном рулоне, листе, ролике материала, взятых из партии, прошедшей приемосдаточные испытания.

5.7 При получении неудовлетворительных результатов периодических испытаний хотя бы по одному из показателей, проводят повторные испытания на удвоенной выборке рулонов (листов, роликов) материала, взятых от той же партии, по тем же показателям, по которым получены неудовлетворительные результаты.

Результаты повторных испытаний распространяются на всю партию.

В случае неудовлетворительных результатов повторных периодических испытаний отгрузка материала потребителю должны быть прекращена до выявления и устранения причин несоответствия требованиям стандарта или технических условий на материал конкретного типа и получения удовлетворительных результатов.

5.8 Типовые испытания должны быть проведены на соответствие требованиям стандарта или технических условий на материал конкретного типа при изменении технологического процесса его изготовления, а также при замене исходных материалов в объеме приемосдаточных и периодических испытаний.

По требованию потребителя предприятие-изготовитель должно представлять протоколы периодических и типовых испытаний.

6 Методы испытаний

6.1 Перед испытанием образцы материалов должны быть выдержаны в течение 24 ч в стандартной среде В по ГОСТ 6433.1, если в стандарте или технических условиях на материал конкретного типа нет других указаний.

6.2 Размеры и количество образцов, необходимых для испытания, приведены в таблице 4 или должны быть указаны в стандартах на материал конкретного типа.

Таблица 4

Наименование показателя

Пункт

Размер образца, мм

Число образцов

технических требований

Методов испытаний

Номин.

Пред. откл.

1 Размеры рулона, листа или ролика

3.4-3.6

6.4

-

-

-

2 Внешний вид

4.2.1

6.5

-

-

-

3 Толщина:

 

 

 

 

 

- в рулонах или листах

3.8

6.6

Ширина - не менее 25, длина равна ширине материала

-

2

- в роликах

3.8

6.6

Длина - не менее 1000

-

2

4 Удельное разрушающее усилие (разрушающая нагрузка) при растяжении и относительное удлинение при разрыве:

 

 

 

 

 

- в рулонах или листах

4.2.2, таблицы 2 и 3

6.7

Длина - не менее 250, ширина - 15

±0,5

10 без перегиба, 10 после перегиба (5 вдоль, 5 поперек)

- в роликах

4.2.2, таблицы 2 и 3

6.7

Длина - не менее 250, ширина - 15 или 20

±0,5

5

5 Расслаивание

4.2.3

6.8

Длина - не менее 250, ширина - 15 или 20

±0,5

3

6 Пробивное напряжение:

 

 

 

 

 

- в рулонах или листах

4.2.2, таблицы 2 и 3

6.9

Не менее 250 ´ 250

-

1

- в роликах

4.2.2 таблицы 2 и 3

6.9

Длина - не менее 3000

± 1,0

1

Для испытания рулонных и листовых материалов образцы вырезают на расстоянии не менее 50 мм от края листа (полотна).

Для испытания материалов в роликах отрезают образец на расстоянии не менее 1 м от конца ленты в ролике.

6.3 Образцы для испытания должны иметь ровно обрезанные края.

6.4 Проверка ширины и диаметра рулона, диаметра ролика, длины и ширины листа материала должна проводиться измерительным инструментом с погрешностью измерения не более 1 мм, а ширины ролика - измерительным инструментом с погрешностью измерения не более 0,1 мм.

6.5 Внешний вид материала, состояние поверхности, качество обрезки, отсутствие разрывов компонентов материала, морщин и складок проверяют визуально.

6.6 Толщина материала должна измеряться толщиномером с диаметром верхней измерительной поверхности 6 - 8 или 10 мм, оснащенным отсчетным устройством с ценой деления не более 0,01 мм и обеспечивающим давление на образец 0,1 - 0,2 МПа.

Диаметр нижней измерительной поверхности толщиномера должен быть не меньше диаметра верхней поверхности.

Погрешность измерения ± 0,01 мм.

Допускается применение микрометра типа МК по ГОСТ 6507, а также автоматических устройств и приборов, обеспечивающих указанную погрешность измерения.

Диаметр измерительных поверхностей, вид толщиномера и значение давления должны быть указаны в технических условиях на материал конкретного типа.

Измерение проводят в десяти точках, расположенных равномерно по площади образца, на расстоянии не менее 75 мм друг от друга. Показания снимают после того, как окончательно установится стрелка на шкале отсчетного устройства.

Все соединения (или места сращения) не учитывают при измерении толщины.

За результат испытаний принимают среднее арифметическое десяти определений толщины или центральное значение в ряде из девяти определений.

6.7 Удельное разрушающее усилие (разрушающую нагрузку) при растяжении и относительное удлинение при разрыве определяют на разрывной машине с постоянной скоростью нагружения и с погрешностью измерения усилия (нагрузки) не более 1 %, снабженной устройством, фиксирующим приращение длины образца.

Время начала приложения усилия (нагружения) до разрушения одного из компонентов образца должно быть (60 ± 10) с, если в стандарте или технических условиях на материал конкретного типа нет других указаний.

Расстояние между зажимами разрывной машины должно быть 200 мм.

Для предотвращения скольжения или повреждения образца в зажимах должны применяться прокладки из наждачной бумаги или других материалов.

Если образец при испытании разрывается в зажимах или ближе 10 мм от зажима испытательной машины, то результат не засчитывают и проводят испытание на другом образце.

Для испытания материалов в рулонах или листах нарезают по пять образцов в продольном и поперечном направлениях.

Ленточный материал шириной до 20 мм включительно испытывают той ширины, которую он имеет при изготовлении.

6.7.1 За результат каждого определения принимают разрушающее усилие (нагрузку) в ньютонах, зафиксированное в момент разрыва одного из компонентов.

Удельное разрушающее усилие (нагрузку) при растяжении в ньютонах на сантиметр определяют как отношение разрушающего усилия (нагрузки) при растяжении в ньютонах к ширине образца в сантиметрах.

За результат испытания принимают среднее арифметическое удельного разрушающего усилия (нагрузки) при растяжении, подсчитанное для каждого направления с точностью до 1 Н/см.

6.7.2 Относительное удлинение при разрыве для каждого определения в процентах подсчитывают делением зафиксированного значения приращения длины образца в момент разрыва одного из компонентов материала.

За результат испытания принимают среднее арифметическое относительного удлинения, подсчитанное для каждого направления с точностью до 1 %.

6.7.3 Удельное разрушающее усилие (нагрузку) при растяжении после перегиба определяют на рулонных и листовых материалах.

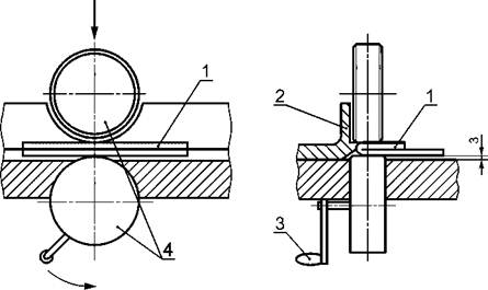
Образцы сгибают рукой по середине их длины под прямым углом к продольной кромке (длинной). Затем их пропускают через валики приспособления (рисунок 1) в продольном направлении.

1 - испытуемый образец, 2 - стопор, 3 - рукоятка, 4- валики

Рисунок 1 - Приспособление для прокатки места перегиба образцов материала

Для материалов типов 41 и 141 толщиной менее 0,27 мм перегибание образцов производят вокруг прокладки, толщина которой равна толщине испытуемого образца, с последующей прокаткой места перегиба один раз стальным валиком длиной (100 ± 1) мм, диаметром (55 ± 5) мм и массой (2 ± 0,05) кг.

Для материалов типов 41 и 141 толщиной 0,27 мм и более прокатку производят один раз стальным валиком длиной (100 ± 1) мм, диаметром (85 ± 5) мм и массой (5 ± 0,05) кг.

Валик прокатывают свободно без нажима.

После выпрямления образцы испытывают в соответствии с требованиями 6.7.

Если материал имеет пленку с одной стороны, образец перегибают пленкой внутрь.

6.8 Расслаивание материалов определяют путем визуального осмотра образца после нарезания или перегиба, или нагрева.

Размеры валика и его масса должны быть указаны в стандарте или технических условиях на материал конкретного типа.

В результате испытания образцы материала не должны расслаиваться и растрескиваться.

6.9 Пробивное напряжение определяют по ГОСТ 6433.3 на воздухе при переменном напряжении частоты 50 Гц.

Условия нормализации, кондиционирования и испытания образца на пробивное напряжение должны быть указаны в стандарте или технических условиях на материал конкретного типа. Погрешность измерения пробивного напряжения не должна превышать 4 %. За результат испытания пробивного напряжения принимают среднее арифметическое всех определений в исходном состоянии и после перегиба.

6.9.1 Для проверки пробивного напряжения материала в рулонах или листах должны применяться цилиндрические электроды из нержавеющей стали, меди или латуни диаметром 25 и 75 мм для верхнего и нижнего электродов соответственно.

6.9.2 Образцы материалов толщиной до 0,5 мм испытывают без перегиба и с перегибом. На образцах проводят пять испытаний по линии продольного перегиба и пять испытаний по линии поперечного перегиба, а также пять испытаний на ровной поверхности без перегиба.

Образцы материала толщиной более 0,5 мм, а также ленточные материалы испытывают без перегиба. Для материалов типов 41, 141 проводят пять испытаний в продольном направлении, для материалов типов 82, 828 перегиб осуществляют в поперечном направлении.

Испытуемый образец изгибают от руки на расстоянии примерно 40 мм от края и параллельно краю. Для изгибания образцов от руки рекомендуется устройство, изображенное на рисунке 2.

Образец вставляют в прорезь устройства до конца, изгибают на 90° в одну сторону, вынимают образец из прорези и рукой изгибают еще раз на 90° в ту же сторону. Перегнутый образец по месту перегиба пропускают через валики приспособления (см. рисунок 3) так, чтобы линия перегиба упиралась по всей длине в стопор. Затем испытуемый образец перегибают рукой в обратную сторону на 360° и вновь его пропускают по линии перегиба через валики. После выпрямления образца определяют пробивное напряжение.

Для материалов типов 191, 292, 929*, а также 41, 141 толщиной 0,27 мм и более перегибание образца производят вокруг прокладки, толщина которой равна толщине испытуемого образца, с последующей прокаткой места перегиба один раз стальным валиком длиной (100 ± 1) мм, диаметром (85 ± 5) мм и массой (5 ± 0,05) кг.

Для материалов типов 41, 141 толщиной менее 0,27 мм и типов 82, 828 перегибание образца производят вокруг прокладки, толщина которой равна толщине испытуемого образца, с последующей прокаткой места перегиба один раз стальным валиком длиной (100 ± 1) мм, диаметром (55 ± 5) мм и массой (2 ± 0,05) кг.

Если масса электрода диаметром 25 мм недостаточна для распрямления образца, необходимо приложить дополнительное давление для обеспечения контакта поверхности электрода с поверхностью образца.

Рисунок 2 - Перегибание образца

1 - испытуемый образец, 2 - стопор, 3 - рукоятка, 4- валики

Рисунок 3 - Приспособление для прокатки места перегиба образцов материала

6.9.3 Для проверки пробивного напряжения материала в роликах должны применяться цилиндрические медные или латунные электроды диаметром 6 мм.

Масса верхнего электрода должна быть (50 ± 2) г.

При испытании лент шириной менее 25 мм необходимо принять меры для исключения поверхностного перекрытия.

6.10 Дополнительные методы испытаний должны быть предусмотрены в стандартах или технических условиях на материал конкретного типа.

7 Транспортирование и хранение

7.1 Материалы перевозят крытыми транспортными средствами всех типов в соответствии с правилами, действующими на транспорте данного вида.

Материалы в ящиках транспортируют в контейнерах по ГОСТ 22225, ГОСТ 20435, ГОСТ 15102 или крытых вагонах. При перевозке в крытых вагонах материалы, упакованные в ящики, формируют в транспортные пакеты на плоских поддонах размером 800 ´ 1200 мм по ГОСТ 9557. Средства скрепления в транспортные пакеты - ГОСТ 21650. Для скрепления ящиков в пакеты используют упаковочную ленту по ГОСТ 3560. Количество обвязочных поясов должно обеспечивать прочность транспортного пакета и должно быть указано в стандарте или технических условиях на материал конкретного типа. Масса пакета не должна превышать 1000 кг, размеры пакета - 1240 ´ 840 ´ 1350 мм в соответствии с требованиями ГОСТ 24597.

7.2 Условия транспортирования в части воздействия механических факторов при перевозке мелкими отправками - С по ГОСТ 23216, во всех остальных случаях - Л по ГОСТ 23216. В части воздействия климатических факторов условия транспортирования и хранения - 5 по ГОСТ 15150.

7.3 Материалы должны храниться в упаковке предприятия-изготовителя в закрытом сухом помещении (при температуре от минус 10 до плюс 35 °С и относительной влажности воздуха не более 75 %) на стеллажах на расстоянии не менее 50 мм от пола и не менее 1 м от отопительных и нагревательных приборов. Допускается материалы, упакованные в герметическую металлическую тару, помещенную в деревянные ящики, хранить на стеллажах.

7.4 Перед применением материалы должны находиться не менее 24 ч в отапливаемом помещении при температуре не ниже плюс 10 °С.

8 Гарантии изготовителя

8.1 Изготовитель гарантирует соответствие материала требованиям настоящего стандарта или технических условий на материал конкретного типа при соблюдении условий транспортирования и хранения.

8.2 Гарантийный срок хранения материала должен быть установлен в стандарте или технических условиях на материал конкретного типа продолжительностью не менее 12 мес со дня изготовления.

8.3 По истечении гарантийного срока хранения перед использованием материал должен быть проверен на соответствие требованиям стандартов или технических условий на материал конкретного типа.

При условии соответствия материала требованиям стандартов или технических условий он может быть использован.

Ключевые слова: материалы электроизоляционные композиционные гибкие, методы испытаний, диапазон номинальных толщин, пробивное напряжение, удельное разрушающее усилие (нагрузка), относительное удлинение при разрыве, расслоение