Filter ventilation installations for trucks. Methods for determination of capacity and positive pressure

ГОСУДАРСТВЕННЫЙ СТАНДАРТ СОЮЗА ССР

 

УСТАНОВКИ ФИЛЬТРОВЕНТИЛЯЦИОННЫЕ
АВТОМОБИЛЬНЫЕ

МЕТОДЫ ОПРЕДЕЛЕНИЯ ПРОИЗВОДИТЕЛЬНОСТИ
И ИЗБЫТОЧНОГО ДАВЛЕНИЯ

 

ГОСТ 20525-75

 

 

 

ИПК ИЗДАТЕЛЬСТВО СТАНДАРТОВ

Москва

 

 

ГОСУДАРСТВЕННЫЙ СТАНДАРТ СОЮЗА ССР

УСТАНОВКИ ФИЛЬТРОВЕНТИЛЯЦИОННЫЕ
АВТОМОБИЛЬНЫЕ

Методы определения производительности
и избыточного давления

Filter ventilation installations for trucks.
Methods for determination of capacity and positive pressure

ГОСТ
20525-75

Постановлением Государственного комитета стандартов Совета Министров СССР от 21 февраля 1975 г. № 497 срок действия установлен

с 01.01.76

Настоящий стандарт распространяется на фильтровентиляционные установки производительностью от 50 до 125 м3/ч автомобильных кузовов-фургонов для комплектации средств технического обеспечения войск. Стандарт устанавливает методы определения (в заводских и лабораторных условиях) производительности и избыточного давления, создаваемых фильтровентиляционными установками.

Методы, устанавливаемые стандартом, обязательны для применения в стандартах и технической документации, устанавливающих технические требования к фильтровентиляционным установкам.

Термины, применяемые в стандарте, приведены в справочном приложении 3.

1. АППАРАТУРА И РЕАКТИВЫ

1.1. При определении производительности и избыточного давления применяют:

стенд, представляющий собой щит, на котором монтируются испытуемая фильтровентиляционная установка и двухтрубный манометр (U-образный) по ТУ 92-891-026-91.

воду дистиллированную по ГОСТ 6709-72, подкрашенную метиленовым голубым или другим красителем, для заправки манометра.

Примечание. Приборы, применяемые для определения производительности и избыточного давления, должны поверяться в соответствии с ГОСТ 8.513-84.

2. ПОДГОТОВКА К ИСПЫТАНИЮ

2.1. Фильтровентиляционную установку устанавливают на стенде согласно схемам, приведенным в приложении 1. Фильтровентиляционная установка должна быть укомплектована в соответствии с требованиями технической документации, утвержденной в установленном порядке.

2.2. Для определения избыточного давления в воздуховод с заглушкой на расстоянии 60 ± 5 мм от фланца вваривают штуцер с внутренним диаметром 3 ± 0,5 мм для подсоединения двухтрубного манометра или подсоединяют его с помощью тройника к штуцеру воздуховода с заглушкой.

2.3. Закрывают заглушку Д, отключают двухтрубный манометр 2, включают электровентилятор В и проверяют герметичность соединений фильтровентиляционной установки в соответствии с методами, установленными нормативно-технической документацией.

2.4. После проверки герметичности соединений установки включают электровентилятор.

3. ПРОВЕДЕНИЕ ИСПЫТАНИЯ

3.1. Определение производительности и избыточного давления производят на атмосферном воздухе.

3.2. Определение производительности и избыточного давления фильтровентиляционной установки проводят в режимах, установленных технической документацией, в том числе при номинальных значениях напряжения питания.

3.3. Испытания проводят в следующей последовательности: закрывают заглушку Д, отключают двухтрубный манометр 2 и включают электровентилятор В. Открывают до отказа заглушку Д и при установившемся режиме работы электровентилятора снимают и записывают показания дифференциального манометра Г. Плавно закрывают заглушку Д, устанавливают заданную в технической документации производительность и подключают двухтрубный манометр 2; по его показаниям определяют избыточное давление на выходе фильтровентиляционной установки. Выключают вентилятор и снимают фильтровентиляционную установку со стенда.

4. ОБРАБОТКА РЕЗУЛЬТАТОВ

4.1. Производительность фильтровентиляционной установки определяют пересчетом показаний дифференциального манометра по калибровочной кривой, приведенной в приложении 2.

4.2. Погрешности определения:

избыточного давления, Па ........................................... ± 10

производительности, % ................................................ ± 5.

ПРИЛОЖЕНИЕ 1

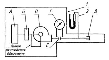
СХЕМА ИСПЫТАНИЯ УСТАНОВОК ФВУ А
(внутреннее размещение)

СХЕМА ИСПЫТАНИЯ УСТАНОВОК ФВУ А

(наружное размещение)

1 - испытуемая фильтровентиляционная автомобильная установка, включающая: А - предфильтр; Б - фильтр-поглотитель; В - электровентилятор; Г - дифференциальный манометр класса точности 4, удовлетворяющий требованиям ГОСТ 18140-84; Д - заглушка; Е - сужающее устройство с диафрагмой, удовлетворяющее требованиям нормативно-технической документации на фильтровентиляционную установку, утвержденной в установленном порядке; 2 - двухтрубный манометр

ПРИЛОЖЕНИЕ 2

КАЛИБРОВОЧНАЯ КРИВАЯ

ПРИЛОЖЕНИЕ 3

Справочное

ТЕРМИНЫ И ОПРЕДЕЛЕНИЯ

Производительность фильтровентиляционной установки - количество воздуха, которое подает электровентилятор через фильтровентиляционную установку в единицу времени.

 

СОДЕРЖАНИЕ

1. Аппаратура и реактивы.. 1

2. Подготовка к испытанию.. 2

3. Проведение испытания. 2

4. Обработка результатов. 2

Приложение 1 Схема испытания установок ФВУ А (внутреннее размещение) 3

Приложение 2 Калибровочная кривая. 3

Приложение 3 Термины и определения. 4