СССР
МИНИСТЕРСТВО ТРАНСПОРТНОГО СТРОИТЕЛЬСТВА

ВСЕСОЮЗНЫЙ ОРДЕНА ОКТЯБРЬСКОЙ РЕВОЛЮЦИИ
НАУЧНО-ИССЛЕДОВАТЕЛЬСКИЙ ИНСТИТУТ
ТРАНСПОРТНОГО СТРОИТЕЛЬСТВА

УТВЕРЖДАЮ

Зам. директора института

А. А. ЦЕРНАНТ

16 декабря 1987 г.

РЕКОМЕНДАЦИИ
ПО ИНЖЕНЕРНО-ГЕОКРИОЛОГИЧЕСКИМ ИЗЫСКАНИЯМ
ДЛЯ СТРОИТЕЛЬСТВА МОСТОВ И ТРУБ
НА ВЕЧНОМЕРЗЛЫХ ГРУНТАХ СЕВЕРА
ТЮМЕНСКОЙ ОБЛАСТИ, ВКЛЮЧАЯ ЯМАЛ

ОДОБРЕНЫ ГЛАВТРАНСПРОЕКТОМ

МОСКВА 1988

ПРЕДИСЛОВИЕ

Настоящие Рекомендации разработаны на основе проведенных научных исследований и обобщения опыта организаций, осуществляющих инженерно-геокриологические изыскания для проектирования мостовых переходов и водопропускных труб в районах распространения вечномерзлых грунтов.

При разработке Рекомендаций особое внимание уделялось методам, составу и организации инженерно-геокриологических работ в специфических мерзлотно-грунтовых условиях Севера Тюменской области, включая Ямал.

В Рекомендациях рассмотрен комплекс работ на всех стадиях инженерно-геокриологических изысканий, обеспечивающий получение необходимой и достаточной информации для проектирования мостовых переходов и водопропускных труб. Рекомендации разработаны в лаборатории инженерной геологии и геофизики ЦНИИСа кандидатами техн. наук Ю.Д. Дубновым, Б.Л. Юровским, В.А. Ряполовой, В.В. Пассеком, Н.А. Цукановым, мл. научн. сотр. Н.К. Косталындиной, канд. геол.-минер. наук Б.П. Суровцевым, канд. геогр. наук П.Н. Луговым, кандидатами техн. наук А.А. Опариным (ТМС ЦНИИС), Ю.А. Поповым, инженерами Ю.Г. Ефимовым, Н.Д. Юша (СибЦНИИС), при участии инженеров А.П. Мамзелова, Ю.Е. Моторного, А.В. Сафронова, Г.В. Гулько, А.П. Александровича, И.Г. Мамчура (Ленгипротранс), М.И. Карлинского, Ю.В. Исакова (Мосгипротранс).

Зав. отделением изысканий и

проектирования железных дорог

А.М. Козлов

1. ОБЩИЕ ПОЛОЖЕНИЯ

1.1. Настоящие Рекомендации распространяются на производство ииженерно-геокриологических изысканий в районах распространения вечномерзлых грунтов для проектирования мостовых переходов и водопропускных труб.

1.2. Инженерно-геокриологические изыскания в районах распространения вечномерзлых грунтов должны производиться в соответствии с общими требованиями к изысканиям, установленными главами СНиП по инженерным изысканиям для строительства, по проектированию оснований и фундаментов на вечномерзлых грунтах, по строительству в сейсмических районах, а также ведомственными инструкциями (ВСН) по проектированию и строительству мостов и водопропускных труб на вечномерзлых грунтах.

1.3. Наименование видов мерзлых грунтов принимается по номенклатуре грунтов [1] в соответствии с характеристиками этих грунтов, которые они приобретают после оттаивания, а также с учетом дополнительных указаний главы СНиП по проектированию оснований и фундаментов на вечномерзлых грунтах.

1.4. Целью инженерно-геокриологических изысканий в районах распространения вечномерзлых грунтов для проектирования мостовых переходов и водопропускных труб является комплексное изучение мерзлотно-грунтовых условий участка строительства и прогноз возможных изменений этих условий под влиянием сооружений.

1.5. Полнота, состав и качество изысканий должны быть необходимы и достаточны для выбора оптимального варианта моста или трубы, обеспечивать разработку экономически обоснованных надежных проектных и технологических решений, а также мероприятий по предотвращению опасных изменений геологической среды при возведении и эксплуатации сооружений и мероприятий по охране окружающей среды.

1.6. Последовательно решаемыми задачами изысканий является инженерно-геокриологическое обоснование:

выбора типа водопропускного сооружения (мост, труба) с учетом геокриологических условий и прогноза температурного режима основания;

размещения проектируемого объекта в пределах указанной в проекте дороги строительной площадки, технического решения его основания и фундамента, необходимости в ограждающих сооружениях (водонаправляющие дамбы, противоналедные сооружения и др.), выбора их типа, рабочей документации оснований и фундаментов, ограждающих сооружений, мероприятий по охране окружающей среды на участках размещения проектируемых объектов.

1.7. Инженерно-геокриологические изыскания мостовых переходов осуществляются поэтапно в соответствии с принятой стадийностью проектирования:

технико-экономическое обоснование (ТЭО);

проект со сводным сметным расчетом стоимости;

рабочая документация.

1.8. Инженерно-геокриологические изыскания выполняются: в две стадии для малых (до 25 м), средних (25 - 100 м) и в три стадии для больших (свыше 100 м) мостовых переходов.

Для водопропускных труб специальных изысканий не проводится. Инженерно-геокриологические условия на участках сооружения водопропускных труб изучаются в процессе изысканий трассы железнодорожной линии в соответствии с действующими нормативными документами.

Дополнительные инженерно-геокриологические изыскания, необходимые для проектирования водопропускных труб, осуществляются на стадии рабочей документации.

В случае сжатых директивных сроков проектирования и строительства, отсутствия достаточного по времени предпроектного периода, а также при непродолжительном благоприятном для изысканий периоде года (3 - 4 месяца), инженерно-геокриологические изыскания для малых и средних мостов допускается проводить в одну стадию рабочей документации, при условии, что ось мостового перехода выбрана на стадии ТЭО трассы в целом.

1.9. В процессе инженерно-геокриологических изысканий должны быть выявлены:

морфологические особенности рельефа, его макро-, мезо- и микроформы;

стратиграфо-генетические и слагающие их литолого-фациальные комплексы, литологические (петрографические) типы (разности), инженерно-геологические виды (разновидности) горных пород, условия их распространения и залегания, выдержанность и изменчивость по простиранию и глубине;

физико-механические, теплофизические и водно-физические свойства горных пород на глубину изучаемого разреза;

распространение и взаимосвязь по площади и в разрезе талых и мерзлых пород, их связь с элементами рельефа, и характером ландшафта;

мощность вечномерзлых пород, основные закономерности их изменения по площади, положение нижней и верхней границ, температура в пределах слоя постоянных годовых температур и ее изменение по глубине;

наличие, морфология и генезис таликов, характер обводненности слагающих их пород, ресурсы подземных вод в таликах, их качество по сезонам года, характер взаимосвязи с поверхностными и подмерзлотными водами;

характер сезонно-талого слоя, его мощность, степень влажности (льдистости) и ее изменение по сезонам года, водорегулирующая роль сезонно-талого слоя, соотношение сезонно-талого слоя с надмерзлотными таликами, значение вод сезонно-талого слоя при формировании полос стока в основании склонов долин, надмерзлотных и сквозных таликов;

условия залегания, распространения и гидравлические особенности водоносных горизонтов; состав и фильтрационные свойства водовмещающих и водоупорных пород и грунтов зоны аэрации, изменчивость их в плане и разрезе; закономерности движения подземных вод; основные источники питания, условия питания и разгрузки подземных вод; гидравлическая взаимосвязь грунтовых вод с подземными водами;

характер и величина водопроводимости первого от поверхности подмерзлотного горизонта, его взаимосвязь с водами сквозных таликов и водами более глубоких горизонтов; условия питания и разгрузки, степень защищенности литологическими и криогенными водоупорами;

минерализация и химический состав подземных вод всей изучаемой части разреза, кроме того, определение окисного и закисного железа ЕН, СО2 агр., как показатели коррозийности подземных вод (рекомендуемое приложение 1);

режим грунтовых вод в естественных и нарушенных условиях, их взаимосвязь с поверхностными водами, напорными горизонтами, влияние режима подземных вод на активизацию экзогенных геологических процессов;

криогенные явления и процессы (термокарстовые, термоэрозионные, бугры пучения, морозобойное растрескивание пород, нивация, заболоченность, эоловые процессы и явления);

степень опасности наледеобразования (рекомендуемое приложение 2);

степень и тип засоления пород;

характер растительного покрова;

заторфованность грунтов (рекомендуемое приложение 3);

степень пучиноопасности грунтов;

подземные льды (структурообразующие, повторно-жильные, инъекционные, залежеобразущие); характеристика подземных ледяных тел (форма, протяженность по площади и в разрезе, соотношение с минеральной частью вмещающих пород, генезис);

влияние строительства на гидрогеологические и инженерно-геокриологические условия, нарушение режима вечномерзлых грунтов.

1.10. При организации и производстве инженерно-геокриологических изысканий в условиях Заполярной тундры особое внимание необходимо уделять мероприятиям по охране окружающей среды. В процессе организации планирование работ должно осуществляться таким образом, чтобы при их производстве был нанесен минимальный ущерб природной среде.

Тип наземного транспорта, включая самоходную буровую технику, используемого при изысканиях, подбирают таким образом, чтобы как можно меньше нарушать почвенно-растительный слой.

Число передвижений механизмов также должно быть ограничено необходимостью и целесообразностью.

Горные выработки необходимо ликвидировать и при этом стремиться восстановить нарушенные естественные условия.

После окончания буровых и опытных работ в русле реки обсадные трубы должны быть извлечены из грунта. Наземные скважины ликвидируют в соответствии с указаниями СНиП 1.02.07-87 [2].

1.11. В состав инженерно-геокриологических изысканий на любой из трех стадий входят следующие виды работ: предполевые, полевые, лабораторные, камеральные.

Предполевые и полевые работы

1.12. Целью предполевых работ являются предварительная оценка инженерно-геокриологических условий территории строительства мостового перехода и назначение целесообразных объемов полевых работ.

Предполевые работы состоят из изучения фондовых и литературных материалов предшествующих изысканий и тематических исследований, их обобщения. Сбор и анализ материала производится по району исследований и прилегающей территории. Собираются сведения об экономике района, физико-географических условиях (рельеф, климат, гидрография, гидрология, растительность, температура воздуха, осадки, снежный покров, направления ветров), геологическом строении, гидравлических и инженерно-геокриологических условиях.

При сборе материалов, характеризующих проявление экзогенных геологических процессов, основное внимание удаляют развитию термокарста, термоэрозии, нивации, пучению, морозобойному растрескиванию пород, эоловым процессам. Изучают данные об антропогенных (техногенных) процессах.

Подбирают геологические, геоморфологические, инженерно-геологические, геоботанические, геокриологические, топографические и другие карты, а также космо- и аэрофотоматериалы.

1.13. Производят предварительное геокриологическое дешифрирование космо- и аэрофотоснимков; виды и количество необходимых для дешифрирования космо- и аэрофотоматериалов устанавливают с учетом природных условий района, степени их дешифрируемости, наличия материалов космо- и аэрофотосъемки, дешифрированных при ранее проведенных исследованиях.

Предварительное дешифрирование космо- и аэрофотоснимков основывается на собранных сведениях о ландшафтно-индикационных закономерностях. На аэрофотоснимках распознают отдельные объекты, определяют дешифровочные признаки (тон, рисунок, формы и размеры объектов) и раскрывают их инженерно-геокриологическое содержание.

Работы проводят в такой последовательности:

контурное (нестереоскопическое) дешифрирование фотосхем (фотопланов) с целью общего ознакомления с районом;

изучение под стереоскопом типов выделенных рисунков аэрофотоизображения с целью выявления предварительных дешифровочных признаков ландшафтных индикаторов;

составление ландшафтно-индикационных таблиц.

1.14. На основании собранных материалов разрабатываются предварительные представления об инженерно-геокриологических условиях, составляются карта имеющегося фактического материала, каталог точек наблюдений на территории изысканий (обнажения пород, горные выработки, буровые скважины и т.д.), проявления экзогенных геологических процессов; фотосхемы с результатами предварительного дешифрирования аэрофотоснимков; таблицы дешифровочных признаков; сводные таблицы, характеризующие минерализацию и химический состав подземных вод, засоленность грунтов; сводные таблицы физико-механических свойств литологических типов горных пород, выкопировки имеющихся по району съемок; устанавливаются границы долины по протяжению и ширине в районе расположения намеченных вариантов мостового перехода.

1.15. Основным документом является предварительная (рабочая) карта природного микрорайонирования, составленная в результате совместного анализа всех имеющихся карт, литературных и фондовых материалов и дешифрирования аэро- и космофотоматериалов. На ней выделяются типы ландшафтов (природные микрорайоны) и дается ориентировочная характеристика вечномерзлых пород для каждого из них. Эта карта является основой для проведения последующих полевых исследований. По ней намечаются возможные варианты мостовых переходов, определяются сложность проведения изысканий и объемы полевых работ.

1.16. Основное назначение полевого дешифрирования состоит в уточнении и максимальной детализации данных предварительного дешифрирования. Производится изучение ландшафтных индикаторов геокриологических условий и их дешифровочных признаков.

Полевое дешифрирование аэроснимков

1.17. Масштаб аэрофотоснимков рекомендуется применять 1:10000 - 1:5000 и крупнее. Космоснимки рекомендуется применять для выбора вариантов мостового перехода масштаба 1:100000 и крупнее.

При полевом дешифрировании производят:

фиксацию точек наземных наблюдений на оборотную сторону аэрофотосхемы (АФС) и в полевой дневник;

нанесение границ ландшафтных комплексов непосредственно на АФС или кальку;

составление полевого варианта карты микрорайонирования на основе разработанной в предварительный период и дополненной в поле легенды.

Желательно к полевой ландшафтной карте составлять ландшафтно-индикационные схемы-таблицы, включающие проанализированный полевой материал. Эти таблицы подразделяются на две части: в левой приводятся эталонный аэрофотоснимок и характеристика индикаторов (ландшафтных комплексов), в правой - объекты индикации (геологическое и геокриологическое содержание ландшафтных комплексов). На основе этих материалов в конце полевого сезона составляется предварительная инженерно-геокриологическая карта.

Горно-буровые работы

1.18. Бурение инженерно-геологических скважин производят для выяснения литологического состава грунтов, определения состояния грунтов (мерзлые или талые), изучения криогенного строения грунтов и распределения в них льда по разрезу, отбора образцов грунта, установления гидрогеологических условий, изучения температурного режима грунтов, определения глубины сезонного промерзания-протаивания и особенностей залегания мерзлых пород по глубине, выявления и оконтурирования залежей подземного льда. Глубину скважин следует назначать с таким расчетом, чтобы получить сравнительную инженерно-геологическую характеристику слоев, могущих быть использованными в качестве несущих, по каждому из конкурирующих вариантов.

Бурение зондировочных скважин глубиной в среднем до 5 м выполняют для определения состава приповерхностного слоя грунтов, глубины сезонного промерзания или протаивания грунтов, глубины болот, мощности торфа и т.д.

1.19. При проходке скважин в мерзлых грунтах могут применяться следующие способы бурения:

колонковый всухую - при проходке мерзлых низкотемпературных сильнольдистых, глинистых, пылеватых, песчаных и крупнообломочных грунтов;

колонковый с продувкой охлажденным ниже 0 °С воздухом - при проходке мерзлых высокотемпературных и малольдистых грунтов, а также скальных мерзлых грунтов;

ударно-канатный кольцевым забоем - для проходки мерзлых глинистых и биогенных грунтов;

вибрационный - для проходки мерзлых глинистых и биогенных грунтов.

Выбор способа проходки и диаметров скважин должен обеспечить получение мерзлых образцов грунта ненарушенного сложения и представительность отбираемых образцов.

1.20. Скважина должна иметь геодезическую привязку и быть защищенной от поступления в нее поверхностных и грунтовых вод. Характер обсадки скважин определяется их назначенном (термометрические или зондировочные), состоянием проходимых грунтов (мерзлые, талые), степенью обводненности поверхности, мощностью сезонно-талого слоя.

1.21. Шурфы применяют при необходимости определения просадочности мерзлых грунтов горячим штампом. Работы выполняются специализированными организациями.

Каждый шурф тщательно документируется. Поинтервально дается описание состава, строения и криотекстуры грунтов, включений крупнообломочного материала, растительных остатков, состояния грунтов (мерзлое и талое), ледяных включений; фиксируются появление водоносных горизонтов и другие особенности разреза; производятся зарисовка и фотографирование стенок шурфа.

Температурные измерения

1.22. Термометрические наблюдения, необходимые для прогнозирования изменений естественного температурного поля оснований в результате строительства и эксплуатации мостовых переходов, осуществляют в соответствии с [3] до глубины 12 - 15 м (глубина распространения годовых колебаний температуры) на всех стадиях инженерно-геокриологических изысканий. Глубины измерения температур: 0,5; 1 м и далее через 1 м.

Измерение температуры грунтов основания обязательно для мостовых переходов, сооружаемых по I и II принципам.

1.23. Температуру грунтов измеряют контактным способом в ранее подготовленных и выстоянных скважинах стационарными и переносными термоизмерительными комплектами.

Термоизмерительный комплект должен обеспечивать измерение температуры грунта в полевых условиях с погрешностью не более ±0,1 °С в диапазоне температур от -10 до +10 °С и +0,2 -0,3 °С в диапазонах от -10 до -50 °С и от +10 до +50 °С.

1.24. Для полевого измерения температуры грунтов используют целевые термометрические скважины диаметром до 90 мм и инженерно-геологические скважины диаметром не более 160 мм после их дооборудования. Внутри скважина должна быть сухой.

1.25. Термометрические скважины следует располагать:

для малых, средних и больших мостов - по одной скважине на береговых опорах;

в пойменной и русловой частях, для мостов длиной более 50 м, - через 30 м, желательно в местах установки промежуточных опор.

1.26. В случае бурения колонковым способом с целью снижения разогрева грунта буровым инструментом проходку скважин необходимо осуществлять укороченными (0,2 - 0,5 м) рейсами на малых оборотах бурового инструмента (оптимальная скорость вращения - 20 об/мин) без подлива и промывки любыми жидкостями. Допускается применение сжатого воздуха.

1.27. После проходки скважин вплоть до окончания термометрических наблюдений должны быть обеспечены устойчивость их стенок и защита скважин от поступления в них поверхностных и подземных вод. При обсадке скважин не должна допускаться циркуляция воды по затрубному пространству. Для этого затрубное пространство в зависимости от гидрогеологических условий заполняют с уплотненном местным измельченным грунтом или забивают глинистым грунтом.

Скважина в пределах протаивающего слоя грунта должна быть защищена обсадной трубой-кондуктором, заглубленным в вечномерзлый грунт не менее чем на 0,75 м.

При наличии водоносных горизонтов и осыпании стенок скважины на всю ее глубину следует устанавливать защитную пластмассовую или стальную трубу, герметизированную снизу и в соединениях, диаметр которой должен обеспечивать свободный спуск и подъем термодатчиков.

Для предотвращения затекания поверхностных вод в затрубное пространство скважины вокруг ее устья устраивается приподнятый на 5 - 7 см замок из глинистого грунта.

Вокруг скважины в радиусе ее глубины по возможности следует сохранять естественные поверхностные условия (отметки грунта, растительный или снежный покров и др.).

1.28. Обсадная или защитная труба должна выступать над поверхностью грунта на высоту, превышающую максимальную мощность снежного покрова.

На строительных площадках и в зонах проезда транспортных средств верхняя часть обсадных и защитных труб должна быть заглублена на 0,1 - 0,3 м и закрыта металлическим колпаком, предохраняющим скважину от повреждения транспортными средствами и строительными механизмами.

1.29. После проходки и обустройства скважина должна выстояться, чтобы температурный режим грунта восстановился до естественного. Время выстойки скважин необходимо определять экспериментально. Допускается принимать следующие ориентировочные сроки выстойки скважин после бурения в песчаных и глинистых грунтах (при соблюдении условий п. 2.2): до глубины 15 м - 12 - 15 дней, до глубины 30 м - 25 - 30 дней.

При бурении в крупнообломочных грунтах время выстойки скважин следует увеличить до получения стабильных по времени значений температуры грунтов на глубинах 5 м и ниже.

1.30. Выстойку скважин определяют экспериментально посредством измерения температуры грунтов на глубине 5 м и ниже интервалом в 1 м. Скважина считается выстоявшейся, если изменение температуры грунтов на соответствующих глубинах за трехсуточный срок не превышает 0,1 °С.

Отбор образцов

1.31. Отбор образцов грунтов для определения их наименований, состава, состояния и физических свойств производится из скважины грунтоносами с внутренним диаметром не менее 50 мм.

Отбор образцов грунта ненарушенного сложения производят из однородных по литологическому составу и криогенному строению горизонтов в соответствии с ГОСТ 12.07.1-84 [4].

1.32. Образцы для определения физических, теплофизических и механических свойств мерзлых грунтов должны отбираться из горизонтов с однородной криогенной текстурой. При отборе из грунта с сетчатой или слоистой криогенной текстурой размеры включений льда и расстояния между ними должны быть несоизмеримо меньше образца. В остальных случаях изучение свойств должно быть отнесено к грунту между крупными ледяными включениями.

Изучение сезонного промерзания и протаивания пород

1.33. При исследовании пород сезоннопротаивающего (СТС) и сезоннопромерзающего (СМС) слоев определяются их основные характеристики: мощность, литологический состав, криогенное строение (льдистостъ) грунтов, температура, ход промерзания и протаивания.

Особое внимание следует обращать на сложение породы, ее структурные и текстурные особенности, содержание органических веществ, обломочного материала, мощность торфяного слоя, ожелезнение и пр.

1.34. Среднегодовая температура на подошве СТС, СМС используется при расчете глубины сезонного промерзания и протаивания [5]. При отсутствии режимных наблюдений ее можно считать приблизительно равной среднегодовой температуре пород на глубине нулевых годовых амплитуд.

1.35. Изучение СТС, СМС производят в ходе маршрутных исследований, полустационарных (в течение одного месяца и более) и режимных (в течение 1 года и более) наблюдений на площадках расчетным методом.

Мощность СТС и СМС определяют в соответствии с [6] и [7].

Изучение распространения и мощности вечномерзлых горных пород

1.36. Изучение распространения мерзлых пород производят на основе ландшафтно-индикационных наблюдений, горно-буровых работ, электропрофилирования и электрозондирования. Ландшафтно-индикационные исследования позволяют по компонентам ландшафта ориентировочно устанавливать особенности распространения вечномерзлых пород. Наиболее информативным и надежным методом является бурение скважин, расчистка естественных и искусственных обнажений. Расположение скважин намечается после электропрофилирования.

Мощность вечномерзлых толщ определяется в основном геофизическими методами (вертикальное электрозондирование).

В скважинах, не прошедших толщу мерзлых пород на полную мощность, их нижнюю границу можно устанавливать по температурным кривым. Однако экстраполяция температурных кривых верхних горизонтов мерзлых толщ на нижние не всегда правомерна, поэтому пользоваться этим методом следует ограниченно.

Изучение подземных вод

1.37. Изучению подлежат подземные воды сезонно-талого слоя и воды среди слоев мерзлых пород, охлажденные ниже 0°. Воды сезонно-талого слоя отличаются малой обильностью, спорадическим распространением и кратковременным (сезонным) существованием. Эти воды влияют на процессы промерзания-протаивания и пучение грунтов, солифлюкцию, термоэрозию. Кроме того, они могут оказывать корродирующее влияние на подземные бетонные и металлические конструкции мостового сооружения и служить источником обводнения их заглубленных элементов.

Участки распространения вод сезонно-талого слоя выделяют в процессе геокриологических изысканий, наблюдения за ними проводят попутно при бурении скважин или в специально оборудованных мелких скважинах. При этом изучают обводненность сезонно-талого слоя, глубину залегания и производительность обводненного горизонта, температуру воды. Отбирают пробы на химический анализ для определения их агрессивности по отношению к бетону. Наблюдения желательно приурочивать к периоду максимального летнего протаивания. На участках, где воды имеют широкое распространение и высокообильны, целесообразно проводить режимные наблюдения (примерно 1 раз в месяц).

При изучении минерализованных вод (рассолов), имеющих отрицательную температуру (криопэгов), особенное значение приобретает анализ данных бурения, термометрии и гидрохимического опробования. Опробование рекомендуется проводить через относительно небольшие интервалы глубин, сообразуясь с особенностями геологического разреза и данными температурных измерений. Определение минерализации воды в скважинах наряду с отбором проб может осуществляться с помощью резистивиметра. Для выделения зон криопэгов наряду с бурением рекомендуется широко применять геофизические методы, чувствительные к наличию минерализованных вод и прежде всего электрометрию в наземном и скважинном вариантах, на постоянном и переменном токе при размещении криопэга в вечномерзлой толще.

Определение степени коррозийной активности воды - среды по отношению к материалам конструкций мостов и труб осуществляют по результатам лабораторных и химических анализов проб воды и грунта, а также по величине удельного электросопротивления грунта.

Количество проб подземных вод для химического анализа должно быть не менее трех из каждого водоносного горизонта. Количество проб поверхностных вод при пересечении трассой малых водотоков должно быть не менее двух, а при пересечении больших водотоков - не менее трех (у берегов и в середине водотока).

Состав химических анализов предварительно отобранных проб подземных и поверхностных вод для определения степени агрессивности и коррозийной активности по отношению к бетону и металлам устанавливают в соответствии с требованиями документов [8] и [9].

Оценку коррозийной активности поверхностных и подземных вод производят по показателям, применяемым в соответствии с [10]; для металлических водопропускных труб - в соответствии с [11].

Степень коррозийной активности грунтов основания и засыпки по отношению к металлическим водопропускным трубам определяют по величине удельного электросопротивления грунта [9], [12].

Удельное электросопротивление поверхностного слоя грунта основания металлической трубы измеряют по оси трубы в местах расположения входного и выходного оголовков; грунта засыпки - в карьере, из которого намечено производить засыпку трубы и отсыпку насыпи.

В необходимых случаях при проектировании металлических водопропускных труб в зоне действия электрического тока (вблизи - до 500 м от действующей электрифицированной линии, при сооружении вторых путей на электрифицированных железных дорогах и т.п.) определяют показатели опасности электрокоррозии, характеризуемые плотностью тока утечки и влажностью грунта. Плотность тока утечки определяют методами электроразведки. Критерии коррозийной опасности принимают в соответствии с Инструкцией [11].

Состав и криогенное строение грунтов

1.38. В полевых условиях при описании разреза в выработках проводят выделение стратиграфических горизонтов, слоев и линз грунта относительно однородного состава. Изучают основные особенности соотношения различных компонентов: льда, минеральных прослоек, органических включений и примесей; фиксируют характер слоистости, отдельности в минеральных прослойках. Гранулометрический состав определяется визуально по оценке зернового состава. Петрографический состав также определяется визуально. Состояние мерзлого грунта относят к одному из трех типов: твердомерзлое, пластично-мерзлое, сыпучемерзлое. Точное определение гранулометрического, петрографического, минералогического и химического составов грунта производится в лаборатории по образцам, отобранным из каждой литологической разности.

1.39. Строение мерзлого грунта характеризуется его криогенной текстурой. Следует различать семь основных видов криогенной текстуры (табл. 1). В первую очередь определяется вид криогенной текстуры, затем устанавливается разновидность и дается ее название. Например линзовидная, горизонтально-микрочастослоистая.

Таблица 1

Вид криогенной текстуры

Разновидности криогенных текстур в зависимости

Условные обозначения криогенных текстур

от ориентировки шлиров льда

от толщины ледяных шлиров*

от расстояния между ледяными шлирами по нормали к ним**

Массивная

-

-

-

Порфировидная

Линзовидная

Горизонтальная, косая, вертикальная

Тонко-, микрошлировая, реже среднешлировая

Часто-, микро-, реже средне-слоистая

Неполносетчатая

-

То же

Крупная, средняя

Слоистая

Горизонтально-, косо-, вертикально-слоистая

Толсто-, средне-, тонко-, микрошлировая

Редко-, средне-, часто-, микрослоистая

Сетчатая

-

То же

Крупно-, средне-, мелко-, микросетчатая

Базальная

-

-

-

* Толстошлировая более 10 мм, среднешлировая 5 - 10 мм, тонкошлировая 1 - 5 мм, микрошлировая менее 1 мм.

** Редкослоистый и крупносетчатый более 100 мм, среднеслоистый и сраднесетчатый - 10 - 100 мм; частослоистый и мелкосетчатый 10 мм; микрослоистый и микросетчатый менее 1 мм.

Физико-геологические и криогенные образования

1.40. Физико-геологические образования, включая и криогенные, хорошо дешифрируются при анализе аэрофотоматериалов, поэтому до начала полевых работ можно составить предварительную карту их распределения.

В период полевых работ изучают особенности распространения и характер проявлений криогенных и других физико-геологических образований.

При этом отмечают:

местоположение, высоту, рельеф и геолого-геоморфологические особенности участков с криогенными образованиями;

форму образований и их основные размеры;

наличие растительности и характер ее размещения на отдельных элементах образований;

глубину сезонного промерзания-протаивания, литологический состав пород и криогенное строение вмещающих отложений.

Все эти сведения могут быть получены в ходе маршрутных исследований, горно-буровых и геофизических работ.

1.41. Залежеобразующие подземные льды (ЗЛ) представляют собой ледяные и ледогрунтовые тела различного (кроме жильного) происхождения, размеров, формы и условий залегания, приуроченные к различным по составу и генезису грунтам. ЗЛ за исключением ледяных ядер бугров пучения, как правило, слабо или вовсе не выражены в рельефе поверхности. Глубина залегания ЗЛ бывает различной, иногда значительной - до 20 м от поверхности и более. Размеры ЗЛ по простиранию колеблются от первых метров до сотен метров, а мощность может достигать 10 - 20 м и более. Исследования ЗЛ должны проводиться комплексом методов: бурение, геофизическая разведка различных видов, описание естественных обнажений. Имеющийся опыт комплексного исследования подземных льдов показывает, что выделение отдельных залежей в льдистой толще включающего их мерзлого грунта сталкивается со значительными трудностями. Поэтому при изысканиях в районах их массового распространения необходимо составлять особую программу, предусматривающую специальные работы, исходя из требований проектирования для данных геокриологических условий.

1.42. Наиболее распространенным типом подземного льда является повторно-жильный лед (ПЖЛ).

Распространение и развитие ПЖЛ определяется морозобойным растрескиванием и нередко проявляется в микрорельефе поверхности. Для определения размеров ледяных жил, ориентируясь по их проявлениям на поверхности (полигональные каналы, трещины, валики), проходят по профилям зондировочные скважины. Для каждого участка с однородным полигональным рельефом в его пределах и приуроченного к одному элементу рельефа (надпойменной террасе, пойме, склону и т.п.) следует определить максимальное, минимальное и среднее значения глубины залегания кровли ледяных жил, а также их ширину в верхней части и вертикальную протяженность. Определение последней характеристики бурением затруднено, в особенности при большой мощности льда по вертикали и сложных условиях его залегания. Количество выработок на участке с выраженными условиями рельефа и микрорельефа должно быть не менее трех, при значительной пространственной неоднородности ПЖЛ - не менее пяти. При определении условий залегания ПЖЛ рекомендуется в комплексе с бурением применение геофизических методов и описание имеющихся в районе естественных обнажений.

1.43. Пучинные образования легко выявляются на местности и на аэрофотоснимках. Наиболее сложно оконтуриваются площади пучения в термокарстовых котловинах, которые слабо приподняты над их днищами и трудно различимы на местности.

При изучении пучинных образований необходимо получить следующие сведения:

местоположение;

морфологические особенности - высоту, размеры по площади, крутизну склонов и т.д. Высота бугров является показателем степени льдонасыщенности отложений, крутизна склонов - косвенным показателем глубины залегания льдонасыщенного ядра в пределах бугров пучения;

характер растительного покрова.

Это позволяет оконтуривать площади пучения и молодые растущие бугры. На вспученных участках обычно нет кустарника;

геокриологическое строение, наличие ледяных линз и ледяных или льдонасыщенных ядер, глубину их залегания, мощность и т.д.

Перечисленные характеристики пучинных образований устанавливаются в маршрутных исследованиях и в результате разбуривания бугров.

1.44. Термокарстовые образования представлены западинами, озерами и другими понижениями и хорошо опознаются на аэрофотоснимках и визуально. По морфологическому облику термокарстовых понижений можно судить о степени льдистости поверхностных отложений и генезисе вытаивающих льдов. Канавообразные понижения - индикаторы ПЖЛ. Озера с поперечником 5 - 100 м при глубине 1 - 3 м и высокими крутыми берегами - индикаторы распространения сильнольдистых грунтов, приуроченных к буграм пучения. Озера глубиной до 2,0 м поперечником от нескольких метров до 1 километра с низкими пологими берегами - индикаторы вытаивания сегрегационных льдов. Глубина термокарстовых понижений примерно соответствует мощности вытаивающих льдов.

При исследовании термокарстовых форм отмечают их размеры (длину, ширину, глубину), детально описывают характер дна термокарстовых котловин (обводненность, растительный покров, микрорельеф и т.д.), строение склонов (крутизну, наличие трещин, оползней, растительный покров). Все эти данные необходимы для определения стадии термокарста.

Тенденцию развития термокарста можно выявить, анализируя результаты дешифрирования аэрофотоматериалов по съемкам разных лет.

При выявлении условий для прогрессирующего развития термокарста необходим сравнительный анализ геокриологического строения днища термокарстовых котловин и окружающей территории, сведения о составе поверхностных отложений и о мощности таликов в пределах термокарстового понижения. Для получения этих данных применяют геофизические и буровые работы. Бурят обычно две скважины: одну на дне термокарстового образования, другую - на смежном участке, заведомо не затронутом термокарстом.

1.45. Изучение солифлюкционных склонов, т.е. склонов, осложненных солифлюкционными формами рельефа (террасами, ступенями и т.д.), производят в основном в маршрутных исследованиях, в процессе которых устанавливают:

протяженность, крутизну и форму склонов;

взаимосвязь солифлюкции с другими процессами (нивацией, делювиальным смывом и т.д.);

состав, густоту и сплошность растительного покрова, мощность и плотность торфянистого горизонта;

размеры солифлюкционных террас (длину, ширину, высоту фронтального уступа, его форму);

глубину сезонного протаивания;

состав поверхностных отложений.

В маршрутах проводят глазомерную съемку участков с солифлюкционными образованиями.

Изучение строения солифлюкционных форм производят с помощью канав-траншей и шурфов на основа анализа:

состава отложений;

типа новообразования;

криогенного строения отложений;

подземных вод.

Отбирают образцы на лабораторные анализы: гранулометрический, минералогический, химический, для определения влажности, пластичности, плотности, вязкости.

1.46. Изучение эрозионных и термоэрозионных форм рельефа осуществляют с помощью дешифрирования аэрофотоматериалов и данных, полученных в маршрутах.

В результате изучения необходимо получить следующие сведения:

приуроченность к определенным геоморфологическим уровням и природным микрорайонам;

характер поверхности, на которой развиты эрозионные формы (высота над местным базисом эрозии, уклон, особенности микрорельефа);

растительность (видовой состав, густота и сплошность наземного покрова).

При изучении конкретных эрозионных и эрозионно-термокарстовых форм (оврагов, логов и т.д.) учитывают:

продольный и поперечный профиль;

наличие конуса выноса и его размеры;

характер, наличие водотока;

растительный покров;

глубины залегания мерзлых пород на склонах и в днище оврага.

1.47. Эоловые образования являются показателем распространения относительно дренированных супесчано-песчаных отложений и четко дешифрируются на аэрофотоснимках в виде белых пятен. В процессе маршрутных исследований необходимо определить:

приуроченность эоловых образований к определенным геоморфологическим уровням;

характер растительности, плотность дернового покрова, микрорельеф, степень дренированности на участках с эоловыми образованиями;

состав отложений, подверженных эоловым процессам;

форму и размеры эоловых отложений;

глубину сезонного протаивания грунтов и их влажность;

физико-геологические процессы, способствующие активизации или затуханию эоловых процессов (морозобойное растрескивание, овражная эрозия, склоновые процессы и т.д.).

Полученные характеристики позволяют установить стадию развития эоловых процессов в зависимости от состава отложений, скорости ветра и стадии развития процесса.

Геофизические работы

1.48. Геофизические исследования проводят с целью получения общего представления об инженерно-геологическом и геокриологическом строениях района изысканий для целенаправленного планирования дальнейших работ, детализации выделенных аномальных участков и решения отдельных частных задач. Геофизические методы применяют в комплексе с другими видами исследований, как правило, опережая их. Последовательность проведения геофизических работ и особенности комплексирования их с другими видами исследований определяются стадией изысканий.

1.49. Наибольшей разрешающей способностью при изучении мерзлых и талых грунтов обладает электроразведка методом сопротивлений, преимущества которой сводятся к следующему:

применимости в районах, сложенных любыми грунтами;

наличию хорошо разработанной методики полевых работ и приемов интерпретации результатов наблюдений;

сравнительно высокой производительности и мобильности.

Методы сопротивлений подразделяются на электропрофилирование (ЭП) и вертикальное электрическое зондирование (ВЭЗ).

Электропрофилирование служит для решения следующих задач:

выявление субвертикальных и наклонных границ между мерзлыми и талыми породами;

изучение характера залегания верхней поверхности мерзлых пород;

выявление пластовых и повторно-жильных льдов;

разграничение участков мерзлых пород с различной льдистостью;

определение границ погребенных долин;

выявление и прослеживание зон повышенной трещиноватости;

установление границ распространения и прослеживание поверхности скольжения оползневого тела;

поиски строительных материалов и дренирующих грунтов.

Метод ВЭЗ позволяет решать следующие задачи:

определение глубины залегания верхней и нижней границ распространения мерзлых пород и межмерзлотных таликов;

выявление в мерзлых толщах наиболее льдонасыщенных горизонтов, пластовых и повторно-жильных льдов;

научение литологических особенностей пород мерзлой толщи (на подходах к мосту);

определение удельных сопротивлений пологопадающих (от 20 до 25°) слоев талых и мерзлых грунтов;

литологическое расчленение массива талых грунтов по глубине (в русле и по берегам);

определение положения и характера кровли массива скальных и полускальных грунтов;

картирование погребенных долин;

определение преобладающего направления вертикальных и крутопадающих трещин в скальных породах;

установление мощности оползневого тела, локализация обводненных зон;

разведка строительных материалов и дренирующих грунтов.

При наличии крутопадающих границ раздела между грунтами различного литологического состава, чередования мерзлых и талых грунтов, смены льдистости и литологического состава пород по площади рекомендуется постановка ВЭЗ в модификации двух составляющих (МДС).

1.50. Помимо электроразведки методом сопротивлений целесообразно применять другие модификации электроразведки.

Метод естественного поля (ЕП) может быть использован для локализации мест фильтрации подземных вод; обнаружения зон восходящих и нисходящих водоносных горизонтов; выявления характера движения оползневого тела; определения коррозионной способности грунтов.

Метод заряженного тела (МЗТ) применяют для определения направления и скорости подземных потоков под проектируемыми устоями моста и в местах прокладки труб.

Резистивиметрия находит применение для оценки степени минерализации воды в водоемах и грунтах (поверхностный и скважинный варианты), определения направления и скорости подземных водотоков.

В сложных природных условиях Крайнего Севера успешное применение могут найти модификации электроразведки низкочастотного переменного тока, включающие непрерывное электропрофилирование (НЭП) и частотное зондирование (ЧЗ). С их помощью решаются в принципе те же задачи, что и электроразведкой постоянного тока. В то же время эти модификации имеют ряд преимуществ, которые в условиях Крайнего Севера с коротким летним периодом играют важную роль.

В методе НЭП обеспечена непрерывная бесконтактная (отсутствие заземлений) регистрация наблюдений при меньшей, чем в ЭП подверженности искажаемому влиянию поверхностных неоднородностей, отсутствии экранирующего влияния пластов с аномально высоким сопротивлением. Результатом этого является повышение эффективности исследования участков со сложным мерзлотно-геологическим строением в сочетании с повышением производительности труда, снижением себестоимости работ, простотой обслуживания. Количественная интерпретация разработана для двухслойного разреза и предполагает одновременное использование данных ЧЗ.

В методе ЧЗ обеспечивается бесконтактная регистрация наблюдений в сочетании с высокой разрешающей способностью, в частности, обеспечивающей выявление маломощных (до 2 м) пластов с аномально высокой электропроводностью (криопэгов).

При количественной интерпретации используются палетки, позволяющие учитывать влияние токов смещения. В настоящее время в ПНИИИСе Госстроя СССР имеются образцы аппаратуры НЭП и ЧЗ, которые применяют для проведения изысканий в этих условиях.

1.51. Особое место при инженерно-геологических изысканиях в условиях Крайнего Севера занимает радиотепловая аэросъемка (РТ). Она рекомендуется на этапе предварительного районирования исследуемой территории.

В основе метода лежит изучение излучающей способности поверхностного (от 1 до 10 см) слоя. При этом решаются задачи расчленения грунтов по влажности, а в благоприятных условиях и по литологическому составу, выделения обводненных зон трещиноватости, определения границ распространения пластовых льдов и пород с аномально высокой льдистостью, обнаружения сквозных и несквозных таликов.

1.52. При инженерно-геологических и криологических изысканиях применяются также сейсморазведка, магниторазведка и разные виды каротажа.

Сейсморазведка методом преломленных волн (МПВ) служит для решения следующих задач:

определение положения и характера кровли массива скальных грунтов и кровли толщи мерзлых грунтов;

обнаружение погребенных долин и определение их положения в плане и разрезе;

выявление и прослеживание зон трещиноватости;

оценка мощности и степени разрушенности зоны выветривания скальных и полускальных пород;

установление границ распространения и мощности оползневого тела и его поверхности скольжения;

установление уровня грунтовых вод;

поиски и разведка строительных материалов.

Следует подчеркнуть, что большинство из перечисленных задач успешно решается в условиях развития талых пород.

Магниторазведка находит ограниченное применение. Ее данные используют главным образом для обнаружения и оконтуривания крупных пластовых ледяных тел, прослеживания зон трещиноватости в местах развития глубинных разломов.

В состав геофизических исследований входит также каротаж скважин.

Электрический каротаж сопротивлений (КС) применяют для уточнения границ в массиве между грунтами различного состава, выделения слоев с различной криогенной текстурой, обнаружения прослоев льда и грунтов с повышенной льдистостью, определения общей льдистости грунтов, повышения точности интерпретации данных ВЭЗ.

Акустический каротаж (АК) и межскважинное просвечивание (МП) позволяют решать следующие задачи:

расчленение разреза по скоростям упругих волн с целью литологической характеристики грунтов;

расчет упругих модулей отдельных слоев;

оценка прочностных и деформационных свойств грунтов.

Радиоизотопный каротаж включает гамма-гамма-каротаж (ГГК), нейтрон-нейтронный каротаж (ННГК) и гамма-каротаж (ГК). Перечисленные модификации радиоактивного каротажа применяют для определения таких свойств пласта как плотность, объемная влажность и литологический состав грунта.

Определение физико-механических свойств вечномерзлых грунтов

1.53. Суммарную влажность мерзлого грунта Wtot в долях единицы или в процентах определяют отношением всех видов содержащихся в нем воды и льда к массе сухого грунта (для засоленных грунтов - массе сухого грунта и содержащихся в нем солей)

Wtot = Wi + Wic + Ww,                                                      (1)

где Wi, Wic, Ww -  влажность мерзлого грунта соответственно за счет ледяных включений, порового льда и незамерзшей воды.

Суммарная влажность в зависимости от содержания в ней льда, может достигать 100 % и более. Для чистого льда Wtot = ∞, т.к. масса сухого грунта равна 0.

Объемная влажность мерзлых грунтов W’tot характеризуется объемом всех видов воды в единице объема грунта

W’tot = Wtot ρd / ρw,                                                          (2)

где ρd - плотность сухого грунта, г/см3,

ρw - плотность воды, г/см3.

W’tot может достигать единицы, если грунт состоит из чистого льда.

Переход от весовой влажности к объемной и наоборот осуществляют по формуле

W’tot = Wtot / (1 - Wtot).

1.54. Суммарную влажность песчаных и глинистых мерзлых грунтов определяют различными методами в зависимости от их криогенной текстуры:

для грунтов массивной текстуры - точечным методом или методом бороздки;

для грунтов тонкослоистой и тонкосетчатой текстуры - методом средней пробы или методом бороздки;

для грунтов мелко- и крупнослоистой и мелко- и крупносетчатой текстуры - методом средней пробы или расчетным методом.

Подробно методики испытаний изложены в документах [13, 14, 15].

После определения влажностей Wtot, Ww и Wic влажность за счет ледяных включений определяют из формулы (1).

1.55. Суммарную объемную льдистость мерзлого грунта в долях единицы определяют отношением содержащегося в нем объема льда к объему мерзлого грунта

ii = [ρм(Wtot - Ww)]/[ρi(1 + Wtot)],                                           (3)

где ρм - плотность мерзлого грунта, г/см3;

ρi - плотность льда, равная 0,0009 кг/см3.

Относительную льдистость определяют отношением массы льда к массе всех видов воды в грунте

ii - 1 = 1 - Ww / Wtot,                                                   (4)

1.56. Степень заполнения пор мерзлого грунта льдом и водой Sri равна

Sri = [(1,1Wic + Wws] / (lм ρм),                                            (5)

где lм - коэффициент пористости мерзлого грунта;

ρs - плотность частиц грунта, г/см3.

1.57. Показатели плотности и пористости мерзлых грунтов имеют тот же смысл, что и для талых, но количественно они отличаются:

ρs  талых грунтов               > ρs         мерзлых грунтов > ρs   льда;

ρ          -«-              > ρ                  -«-                 > ρ       -«-;

ρd         -«-              > ρd                 -«-                 > ρd     > 0.

Например, плотность частиц мерзлого песка может изменяться от 2,65 до 0,92 г/см3.

Плотность образцов мерзлого грунта определяют по [13]. В качестве нейтральной жидкости целесообразно применять четыреххлористый углерод с плотностью 1,556 г/см3 и температурой замерзания минус 25 °С. В этом случае этот же образец пригоден для определения суммарной влажности весовым методом (метод разработан Ленгипротрансом).

Следует учесть, что использование незамерзающей жидкости предполагает строгое соблюдение норм санитарии и противопожарной безопасности.

1.58. Расчет льдистости мерзлых грунтов за счет ПЖЛ (макрольдистости imax) делается отдельно от расчета льдистости за счет текстурообразующего льда (мезольдистости). Для оценки общей льдистости мерзлого грунта значения макрольдистости и мезольдистости суммируют. Расчет грунтов за счет ПЖЛ (макрольдистости) проводится по средним значениям ширины ледяных жил в верхней части h, их вертикальной протяженности и длине в пределах полигона по отношению к среднему поперечнику последнего А и выражают в процентах или долях единицы от объема всего грунта вместе со льдом. Объемная макрольдистость за счет ПЖЛ

,                                               (6)

где t - мощность расчетного горизонта грунта.

При равенстве значений мощности расчетного горизонта и вертикальной протяженности жил формула приобретает более простой вид

,                                                  (7)

1.59. Засоленность выражают в процентах как отношение массы легкорастворимых солей к массе сухого грунта gr

Z = gz / gr.                                                              (8)

С увеличением засоленности резко возрастает содержание незамерзшей воды, что в свою очередь оказывает существенное влияние на теплофизические и механические свойства грунтов.

Определение общей засоленности рекомендуется производить методом водной вытяжки. Для суждения об агрессивности мерзлых грунтов при их оттаивании на различные материалы сооружений необходимо получить анализ химического состава водной вытяжки и порового раствора с помощью принятых методов в специализированной химической лаборатории.

Засоленность грунта определяют по формуле

,                                                    (9)

где gz - масса сухого остатка водной вытяжки, кг;

g1 - масса сухой навески, кг.

Для определения степени минерализации подземных вод и рассолов может быть рекомендован кондуктометр переносный типа КСМВ-102. Прибор работает при температуре окружающей среды от минус 10 до +40 °С и может применяться в полевых условиях.

Для определения активности одно- и двухвалентных ионов в водных растворах следует применять ионометр переносный типа И-102.

К засоленным мерзлым грунтам следует относить грунты, содержание в которых легко- и среднерастворимых солей (в % от массы абсолютно сухого грунта) составляет для песчаных 0,1 %; супесей 0,15; суглинков 0,20; глин 0,25 %.

Определение механических свойств мерзлых грунтов в лабораторных условиях

1.60. Механические свойства мерзлых грунтов (сопротивление сдвигу, сжимаемость, осадка при оттаивании, пучинистость и др.) определяют как в лабораторных, так и в полевых условиях. При оценке основных механических свойств глинистых и песчаных грунтов с массивной криогенной текстурой или другими текстурами, где включения льда несоизмеримо меньше размеров образца, применяют лабораторные методы. При наличии крупных включений льда или крупнослоистой текстуры, а также для крупнообломочных грунтов, определение основных механических свойств необходимо проводить в натурных условиях с помощью полевых испытаний.

1.61. Сжимаемость при оттаивании определяют в лаборатории в специальной компрессионной установке с помощью теплового штампа или при комнатной температуре под обычным штампом [15]. Сжимаемость при оттаивании определяют также в полевых условиях на строительной площадке для любых разновидностей грунтов в опытном шурфе с помощью специальной установки при применении теплового штампа площадью не менее 5000 см2 [16].

1.62. Сопротивление мерзлых грунтов нормальному давлению определяют по предельно длительному значению этого сопротивления, принимаемого за нормативную величину, характеризующую несущую способность мерзлых грунтов оснований. Значение нормативного сопротивления грунта нормальному давлению Rм определяется для основных разновидностей грунтов по СНиПу II-18-76 [5].

Для сильнольдистых засоленных и заторфованных грунтов рекомендуется определение Rм экспериментальным путем в полевых условиях (испытание штампом), т.к. [15] на эти грунты не распространяется.

1.63. Наиболее простым и оперативным методом оценки сопротивления грунтов нормальному давлению является испытание грунта шариковым штампом [15].

Определение сдвиговых характеристик мерзлых биогенных грунтов и льда

1.64. Основными характеристиками мерзлых грунтов являются характеристики сопротивления сдвигу - сцепление С и угол внутреннего трения j, причем в качестве расчетных принимают их предельно длительные значения Сдл и jдл. Для определения указанных параметров используют математическое выражение закона Кулона для связных грунтов

ri = С + tgjsi.                                                           (9)

1.65. Устройство АНБ-760А [17] (рис. 1) позволяет определять как условно-мгновенное, так и предельно длительное значения сопротивления сдвигу мерзлых биогенных грунтов и льда. В данном устройстве используется метод испытания на сдвиг при одновременном воздействии нормального напряжения σ.

Рис. 1. Устройство для испытания на сдвиг мерзлых грунтов и льда:

1 - обойма подвижная; 2 - образец торфа; 3 - индикатор ИЧ-10, ГОСТ 577-68; 4 - рама; 5 - шток пневмокамеры; 6 - камера тормозная 215, ГОСТ 13228-67; 7 - винт регулировочный; 8 - уровень; 9 - стол; 10 - окно

Устройство рассчитано на испытание образцов мерзлых торфяных грунтов и льда диаметром 50,5 мм.

Нормальную нагрузку на образец прикладывают с помощью тарированного пружинного механизма. График тарировки пружины приложен к инструкции по эксплуатации устройства. Величину нагрузки устанавливают по индикатору часового типа.

1.66. Сдвиг образца с помощью пневмокамеры осуществляют подачей сжатого воздуха, что позволяет плавно прикладывать нагрузку, а при длительных испытаниях обеспечить постоянство t. Деформацию образца при сдвиге измеряют индикатором часового типа с ценой деления 0,01 мм, установленным на подвижной обойме.

В лабораторных условиях устройство размещают в низкотемпературной камере типа НКР-1, в полевых - на открытом воздухе при отрицательной температуре.

1.67. Определению предельно длительных значений сцепления С и угла внутреннего трения j должны предшествовать испытания данного вида грунта при быстром приложении нагрузки, при котором определяют значения условно-мгновенного сопротивления сдвигу tмгн.

Значения tмгн определяются при времени разрушения 20 - 30 с. Их определяют как частные от деления максимального сдвигающего усилия Tmax на удвоенную площадь образца 2F.

Испытания проводят при трех-четырех значениях нормального напряжения, величина которых обусловливается заданием на лабораторное испытание, учитывающее требования расчета. Повторность при определении tмгн должна быть не менее трех.

По результатам испытаний идентичных образцов мерзлого торфа известной влажности при одной и той же отрицательной температуре строят диаграмму сдвига.

1.68. Условно-мгновенные значения параметров Смгн и jмгн определяют из полученной диаграммы сдвига расчетом по способу наименьших квадратов.

1.69. Испытания на сдвиг для определения предельно-длительных значений tдл, Сдл и jдл проводят не менее чем для трех значений нормального напряжения s с трехкратной повторностью.

Сдвигающее усилие при испытании образцов прикладывают равными ступенями, величина которых составляет (0,1 - 0,2) Tmax. Каждую ступень нагрузки выдерживают до стабилизации деформаций образца. Отсчет деформации по индикатору фиксируют со следующими интервалами времени: 5, 15, 30 с; 1, 5, 15, 30 мин; 1, 5, 15, 30 ч и далее через 30 часов. Стабилизация деформации считается достигнутой, если приращение деформации не превышает 0,01 мм за 24 часа.

Основная цель эксперимента считается достигнутой, когда обнаруживается незатухающее деформирование образца с постоянной скоростью.

Для определения предельно-длительного сопротивления сдвигу мерзлого биогенного грунта сдвигающую нагрузку, соответствующую последней ступени, при которой деформация образца еще стабилизируется, делят на удвоенную площадь поперечного сечения образца 2F.

Определение показателей прочности и деформативности вечномерзлых грунтов в полевых условиях

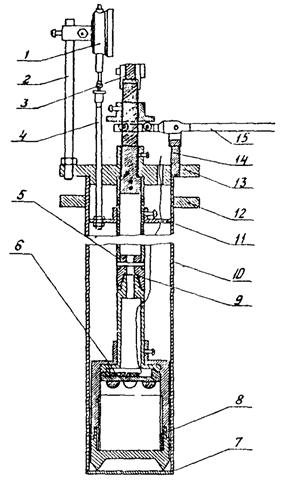
1.70. При разработке прибора для исследования мерзлых грунтов учтен опыт создания приборов для испытания талых грунтов с соответствующим усилением большинства узлов и деталей, рассчитанных на большие нагрузки, и с приданием некоторым узлам термоизолирующих свойств. К наиболее известным приборам относятся компрессионные (одометры), сдвиговые приборы с одно-, двухплоскостным срезом и одно- и многошариковые штампы (рис. 2). Приборы, разработанные под руководством Г.П. Минайлова сначала Сковординской научно-исследовательской мерзлотной станцией, а затем ТМС ЦНИИС Минтрансстроя, помещают в буровые скважины, пройденные в вечномерзлых грунтах.

Рис. 2. Шариковая установка для испытания мерзлых грунтов:

1 - мессура; 2 - стойка мессуры; 3 - рычаг вертикальной нагрузки; 4 - мессурная штанга; 5 - силовая штанга; 6 - электротермометр; 7 - днище; 8 - кольцо с исследуемым грунтом; 9 - переходник; 10 - корпус установки; 11 - центрирующая диафрагма; 12 - фланец корпуса установки; 13 - крышка установки; 14 - стойка балансирного рычага; 15 - рычаг балансирный

1.71. При проведении испытаний вечномерзлых грунтов шаровыми штампами предпочтение следует отдать многошариковому варианту (см. рис. 2), тогда получаемые результаты являются усредненными и в меньшей степени зависят от текстурных их особенностей.

При испытаниях пластично-мерзлых пород статическим зондированием можно использовать установки УЗБ-12М, С-832, С-979, пенетрационно-каротажную станцию СПК-Т.

1.72. Теплофизические свойства мерзлых грунтов надлежит выполнять в соответствии с нормативными документами [17 - 20].

Камеральные работы при инженерно-геокриологических изысканиях

1.73. Полученные в результате полевых и лабораторных исследований материалы излагают в форме отчета, который должен содержать картографические, графические и табличные материалы и текстовую часть. Текст отчета состоит из трех частей: общей, специальной, прогноза с рекомендациями.

1.74. В общей части содержатся следующие сведения:

введение (заказчик работ, краткая характеристика проектируемого объекта, цели и задачи съемки, сроки и объемы работ, исполнители);

краткое описание административного положения и экономического состояния района работ с характеристикой путей сообщения и транспортных средств;

характеристика климатических условий района работ (строительно-климатическая зона, температурный режим воздуха, осадки, ветровой режим, радиационно-тепловой баланс поверхности);

геологическое и гидрогеологическое строения района, геоморфологические условия.

1.75. В специальной части содержатся следующие сведения:

методика работ;

распространение и мощность вечномерзлых грунтов;

сезонное промерзание-протаивание грунтов;

температура, состав и строение мерзлых пород;

физико-геологические образования и процессы;

физические, механические, теплофизические свойства грунтов в мерзлом состоянии и при оттаивании.

1.76. В третьей части дают прогноз возможных изменений естественной обстановки при освоении территории, приводят рекомендации по выбору целесообразных способов строительства различных сооружений и мероприятий по обеспечению их устойчивости и эксплуатационной надежности.

1.77. Текст отчета иллюстрируют картографическим материалом, таблицами и графическими приложениями.

В состав картографического материала входят:

инженерно-геокриологические разрезы;

карты природного микрорайонирования.

Табличный материал содержит сводку характеристик природных микрорайонов и физико-механических свойств грунта.

К графическим приложениям относятся:

карты фактического материала;

материалы инженерно-геологических работ;

материалы геофизических исследований.

2. ИНЖЕНЕРНО-ГЕОКРИОЛОГИЧЕСКИЕ ИЗЫСКАНИЯ НА СТАДИИ ТЕХНИКО-ЭКОНОМИЧЕСКОГО ОБОСНОВАНИЯ

2.1. Целью инженерно-геокриологических изысканий, проводимых на стадии технико-экономического обоснования (ТЭО), являются предварительная оценка инженерно-геокриологических условий участка мостового перехода и получение материалов и данных, необходимых и достаточных для сравнительной характеристики намеченных вариантов перехода и определения расчетной стоимости строительства моста.

2.2. Исходным документом для проектирования изыскательских работ является техническое задание, которое в дополнение к указаниям действующих нормативных документов должно содержать:

границы участка расположения вариантов мостового перехода;

карту-схему расположения вариантов железной дороги трассы и сопряженных с ними мостовых переходов;

ориентировочные сведения о количестве и составе минеральных стройматериалов и объемы земляных работ (для мостов, сооружаемых по отдельным титулам и для больших мостов).

2.3. На стадии ТЭО в предполевой период производят сбор, систематизацию и анализ материалов по выбранному направлению трассы железной дороги и долинам больших рек и малых водотоков, где они могут пересекаться трассой. Обязательным являются предполевое дешифрирование аэрофотоснимков и установление ландшафтных индикаторов геокриологических условий. На основе выполненных обобщений составляют рабочие карты природного микрорайонирования (см. п. 1.15).

По рабочей карте производится выбор вариантов мостовых переходов, намечается местоположение труб и определяются объемы работ.

Обоснование объемов работ производят после установления категорий инженерно-геокриологических условий участка строительства (табл. 2).

Таблица 2

Группа факторов

Категория сложности

I (простая)

II (средняя)

III (сложная)

Геокриологические

Отсутствует

Сплошное распространение вечномерзлых однородных по составу грунтов с выдержанным залеганием их кровли; температурное поле грунтов однородное; средняя годовая температура песчаных и пылеватоглинистых незасоленных грунтов соответственно ниже минус 1,0 и минус 1,5 °С; для грунтов характерна однородная льдистость по площади и разрезу

Прерывистое, островное или сплошное с невыдержанным залеганием кровли и подошвы распространение вечномерзлых грунтов; температурное поле грунтов неоднородное; средняя годовая температура грунтов выше минус 1 - 2 °С; грунты имеют неоднородную льдистость по площади и разрезу и залежеобразующие льды; распространены засоленные вечномерзлые грунты и грунты с отрицательно-температурными минерализованными водами (криопэгами)

Криогенные образования ограничены по распространению до 30 %

Криогенные образования имеют широкое распространение (более 30 %)

Примечание. Категорию сложности следует устанавливать по совокупности указанных геокриологических факторов. Если какой-либо отдельный фактор относится к более высокой категории сложности и является определяющим при принятии основных строительных решений, то категорию сложности следует устанавливать по данному фактору.

2.4. Программа работ, в дополнение к указаниям [2] должна содержать:

назначение изысканий;

перечень документов и материалов, положенных в основу составления программы;

характеристику инженерно-геокриологических условий района и участков предстоящих работ (особенности рельефа, геологического строения, гидрогеологических и мерзлотных условий, русловых и склоновых процессов и явлений) и изученность каждого из элементов этих условий;

состав и объемы инженерно-геологических изысканий;

требования к организации и методике производства полевых, лабораторных и камеральных работ, технике безопасности, экономии топливно-энергетических ресурсов и материалов;

требования к материальному (техническому и бытовому) оснащению полевых подразделений.

Все полевые работы должны проводиться в соответствии с заданиями, выдаваемыми полевым подразделениям и отдельным исполнителям в письменном виде в соответствии с утвержденной программой.

Контроль за работой полевых подразделений должен осуществляться в соответствии с указаниями действующих нормативных документов.

2.5. Ширина полосы изысканий должна быть не менее предполагаемой длины перехода, но в любом случае не менее 300 м вниз и 400 м вверх от оси перехода. В полосу съемки необходимо включать подходы к проектируемому мосту (насыпи и выемки) и участки возможного расположения регуляционных и защитных сооружений. При выявлении на участке неблагоприятных русловых, береговых или склоновых процессов и явлений площадь съемки следует расширять для более полного изучения их характера, размеров, интенсивности и активности, установления их причин и возможного влияния на сооружение мостового перехода.

2.6. Масштаб съемки рекомендуется принимать равным 1:10000 - 1:5000.

При необходимости расширения полосы съемки масштаб следует уменьшить (1:10000 - 1:25000).

Масштабы съемки и количество точек наблюдений даны в табл. 3.

Таблица 3

Категория сложности

Масштабы съемки

Количество точек наблюдений (в том числе, горных выработок) на 1 км2

1:25000

1:10000

1:5000

1:2000

1:1000

I

6 (2)

25 (9)

50 (25)

200 (100)

600 (300)

II

9 (3)

30 (11)

70 (35)

350 (175)

1150 (575)

III

12 (4)

40 (16)

100 (50)

500 (250)

1500 (750)

Примечание. В скобках приведено количество горных выработок, (категории сложности назначаются по табл. 2). Съемка, выполняется на топографической основе того же или более крупного масштаба.

2.7. Первым этапом полевых работ на стадии ТЭО является проведение маршрутных исследований. Их следует проводить вдоль осей намеченных вариантов мостового перехода и вдоль водотока выше и ниже по течению на 300 - 500 м от оси, а при наличии неблагоприятных геологических процессов и явлений охватывать территорию возможного влияния их на сооружения мостового перехода.

Маршрутные наблюдения необходимо выполнять с использованием имеющихся топографических, инженерно-геокриологических, гидрогеологических, геологических, геоморфологических карт, аэрофотоснимков и других материалов.

В ходе маршрутных исследований проводится окончательное наземное дешифрирование аэрофотоснимков: уточняют границы предварительно выделенных природных микрорайонов и их дешифрировочные признаки. Для полевого дешифрирования и маршрутных исследований рекомендуется использование аэрофотоснимков масштаба 1:25000 - 1:10000.

Производят детальное описание природных условий внутри выделенных контуров. Намечают на местности горные выработки (скважины), геофизические профили, точки ВЭЗ. При этом их привязывают на местности и выносят на аэрофото- или топографическую основу. Кроме того, фиксируют все естественные обнажения для их последующего детального изучения.

2.8. При исследовании природных микрорайонов дается описание:

рельефа - расчленение поверхности (глубина вреза долины и оврага, их поперечный профиль, заболачивание), крутизны и экспозиции склонов, бугристости и т.д.;

растительного покрова - типов растительности (древесная, кустарниковая и т.д.), густоты, высоты и видового состава ярусов (для лесов указывается сомкнутость крон); напочвенного покрова (травяной, моховой, лишайниковый и т.д.), его сплошности и мощности;

проток, стариц и озер - глубина, ширина и скорость течения для проток, а для стариц, озер - размеры, очертания береговой линии, высота береговых уступов;

состава поверхностных отложений, глубин сезонного протаивания (промерзания) грунтов;

физико-геологических процессов (заболачивание, термоэрозия, оползневые процессы, морозное растрескивание, пучение, термокарст, солифлюкция) и обусловленных ими образований (овраги, сплавы, термокарстовые озера и западины, полигональные формы рельефа, повторно-жильные льды, пластовые льды, многолетние и сезонные бугры пучения, пятна-медальоны, солифлюкционные языки и террасы);

болот (их генезис и геоморфологический тип, распределение и мощности болотных отложений, рельеф поверхности и минерального дна болота с определением его уклона, источники водного питания, относительная увлажненность отдельных участков, состав растительного покрова, литологическое строение, состав и свойства толщи болотных отложений и подстилающих минеральных грунтов) (см. рекомендуемое приложение 2).

На основании намеченных в ходе маршрутов выработок и профилей в дальнейшем проводят горно-буровые и геофизические работы.

2.9. Геофизические исследования должны опережать горно-буровые работы. Для оценки эффективности геофизических методов необходимо предусматривать некоторый объем опорного бурения.

Геофизические исследования должны обеспечить получение информации, необходимой для сравнительной инженерно-геологической и геокриологической характеристик конкурирующих вариантов мостового перехода. По данным геофизики должна быть построена схематическая инженерно-геологическая и геокриологическая характеристики моделей участков расположения намеченных вариантов мостового перехода и прилегающей к ним территории. На стадии ТЭО применяют наиболее мобильные геофизические методы, позволяющие получить информацию о строении разреза на сравнительно большой территории и в сжатые сроки. К таким методам относятся:

радиотепловая съемка, проводимая в комплексе с аэрогеологическими исследованиями;

электропрофилирование и вертикальное электрическое зондирование на постоянном и низкочастотном переменном токах;

сейсморазведка методом преломленных волн (на выборочных участках);

магниторазведка.

Опорными материалами при выборе методики работ являются результаты предшествующих исследований: геологические и геофизические отчеты, геологические и геокриологические карты, результаты дешифрирования аэрокосмических данных и т.д.

Задачами геофизических исследований на стадии ТЭО являются:

определение кровли и подошвы толщ мерзлых пород;

литологическое расчленение толщи мерзлых и талых пород по глубине и по площади;

обнаружение таликов, островной мерзлоты, пластовых и повторно-жильных льдов;

ориентировочная оценка льдистости грунтов.

Материалы геофизических исследований служат основой для проведения горно-проходческих и буровых работ.

2.10. Комплексом аэрогеологических работ и радиотепловой съемки производят предварительное районирование территории изысканий. По материалам тепловой съемки выделяют участки с различной влажностью, косвенно связанные наряду с другими факторами с литологическим составом пород, обводненные зоны повышенной трещиноватости, талики, островную мерзлоту, пластовые льды.

2.11. Электропрофилирование применяют для картирования по площади мерзлых и талых грунтов, расчленения грунтов различного литологического состава и разной степени льдистости, выявления и прослеживания зон повышенной трещиноватости, обнаружения и оконтуривания пластовых льдов, повторно-жильных льдов, островной мерзлоты и таликов. Как правило, применяют симметричную двухразносную установку. Размеры установки определяют по данным рекогносцировочных ВЭЗ. Профили ЭП располагают перпендикулярно долине реки в обе стороны от оси перехода. Расстояние между профилями составляет 50 - 100 м, протяженность съемки в обе стороны от оси перехода зависит от особенностей геологического строения. Шаг наблюдений по профилю составляет 23 - 50 м, на аномальных участках он уменьшается до 10 м.

2.12. Метод ВЭЗ служит для определения положения кровли и подошвы толщи мерзлых пород, литологического расчленения геологического разреза, дифференциации пород по льдистости, обнаружения пластично-мерзлых грунтов и грунтов с аномальной засоленностью, определения глубины залегания и мощности пластовых льдов, а при благоприятных условиях - криопэгов. Точки ВЭЗ располагают по параллельным профилям с расстоянием между ними порядка 100 - 200 м. Шаг наблюдений по профилю составляет 50 - 100 м. Кроме того, точки ВЭЗ располагают на всех аномальных участках, выявленных по данным ЭП.

Как отмечалось выше, в условиях Крайнего Севера для повышения производительности труда и снижения себестоимости работ модификации ЭП и ВЭЗ могут быть заменены соответственно НЭП и ЧЗ.

2.13. Сейсморазведку методом преломленных волн (МПВ) применяют для определения глубины залегания верхней границы мерзлых грунтов, выделения сквозных и несквозных таликов, островной мерзлоты. Наблюдения ведутся по методике продольного профилирования с регистрацией продольных и обменных волн.

2.14. Магниторазведку используют для выявления и прослеживания зон повышенной трещиноватости. По различию магнитной восприимчивости льда и вмещающих песчано-глинистых пород с ее помощью выделяют залежи пластовых и повторно-жильных льдов.

Наряду с перечисленными возможно использование других разновидностей геофизических методов, исходя из особенностей геологического и геокриологического строения района изысканий.

2.15. В районах I и II категорий сложности (см. табл. 2) на каждом конкурирующем варианте закладывают:

на берегах русла водотока - по одной скважине;

в русле водотока для среднего моста - одну-две скважины;

для большого моста - не реже чем через 100 м, но не менее двух, той же глубины, считая от дна водотока.

На подходах к мосту в пределах поймы скважины следует назначать через 100 - 200 м, но с таким расчетом, чтобы охарактеризовать инженерно-геокриологические условия всех выделенных природных микрорайонов и участков геофизических аномалий. На средних и больших мостах для подходных насыпей и ограждающих дамб глубину скважин следует назначать не более полуторной высоты насыпи (дамбы), но не менее 5 м.

В инженерно-геокриологических условиях III категории сложности (см. табл. 2) число скважин следует увеличивать и задавать дополнительные выработки на поперечниках к оси перехода. В этом случае требуется проходить всю толщу слабых, засоленных просадочных грунтов с заглублением ниже подошвы слоя не менее 5 м. При значительной мощности таких толщ необходимо бурить на глубину не менее 50 м.

За пределами поймы горно-проходческие работы следует предусматривать только при развитии активных геологических процессов (термоэрозия, солифлюкция, морозобойное растрескивание, залежеобразующие льды) и обязательно в долинах мелких водотоков и оврагов, где предполагается укладка труб.

Помимо опорных скважин в пределах каждого типа природного микрорайона закладывают не менее 2 зондировочных скважин глубиной 3 - 6 м для уточнения конфигурации кровли вечномерзлых пород, определения глубин сезонного протаивания-промерзания, мощности верхнего льдистого горизонта и т.д.

Объемы работ следует определять специальными программами, сообразуясь с конкретными природными условиями и требованиями технического задания.

2.16. Для наиболее полного и детального изучения условий залегания и криогенного строения различных литолого-генетических комплексов отложений и сопутствующих им криогенных образований (повторно-жильные льды, залежеобразующие льды и т.п.) необходимо исследовать естественные обнажения, расположенные в пределах зоны перехода и на сопряженных участках. Стенки обнажений зачищают, производят детальное описание и промер различных элементов залегания литологических горизонтов и криогенных образований, исследуют структурные и текстурные особенности изучаемых объектов. Обнажения фотографируют, зарисовывают в полевых журналах, после чего из них отбирают монолиты для последующего изучения свойств грунтов или льда.

2.17. Участки возможного расположения регуляционных и защитных сооружений должны быть разведаны не менее чем двумя выработками каждое.

2.18. Диаметр скважин в зависимости от характера геокриологического разреза и глубины скважины рекомендуется применять в соответствии с табл. 4.

2.19. Горно-буровые работы сопровождают отбором образцов грунта для определения его физико-механических свойств (см. 1.53 - 1.72).

Интервал отбора образцов для определения суммарной влажности зависит от льдистости и дисперсности грунтов и не должен превышать: для тонкодисперсных сильнольдистых и льдистых грунтов 0,5 м (по методу средней пробы); для слабольдистых тонкодисперсных грунтов 0,8 - 1,0 м (по методу бороздки или точечным методом).

Отбор образцов для определения плотности частиц грунтов, их гранулометрического состава, засоленности, пластичности, химического состава должен осуществляться из каждой литологической разности в интервале не более 1 м. Из каждой литологической разности рекомендуется отбирать 10 - 15 проб грунта.

Механические и теплофизические характеристики грунтов при исследованиях могут быть приняты по таблицам и расчетным формулам [5].

2.20. В каждой опорной скважине производят термокаротаж (см. п. 1.22 - 1.30).

2.21. В пределах каждого типа природного микрорайона производят измерение глубин сезонного промерзания-протаивания грунтов, причем каждый микрорайон должен быть охарактеризован не менее чем 10-ю точками. Измерения, как правило, проводят щупом, а также в процессе электропрофилирования (см. пп. 1.33 - 1.35).

2.22. Из каждого вскрытого выработками водоносного высокоминерализованного горизонта (криопэга) и пересекаемого мостом водотока необходимо отобрать не менее трех проб воды для определения ее химического состава и агрессивности по отношению к бетону и стали в соответствии с СТ СЭВ 2440-80 [10].

Из поверхностных водотоков пробы воды следует отбирать в летний меженный период, а по возможности также в зимний меженный период и во время паводков (см. п. 1.37).

2.23. Первичную обработку инженерно-геокриологических изысканий производят параллельно с производством полевых работ. Полевые камеральные работы включают дешифрирование аэрофотоснимков, ведение полевых журналов горно-буровых работ, расчет влажности и плотности грунтов, построение колонок скважин, обнажений, графиков электропрофилирования (геоэлектрических разрезов), кривых ВЭЗ с предварительной интерпретацией и др.; построение инженерно-геологических разрезов, на которых должно быть отражено детальное геокриологическое строение верхней части толщи горных пород, составление полевой карты природного микрорайонирования зоны перехода и участков полосы трассы в местах пересечения ею оврагов, склонов и мелких водотоков.

На карте уточняют границы природных микрорайонов с соответствующими им типами грунтовой толщи, а также основные геокриологические характеристики, полученные в результате первичной обработки полевых материалов. Тип грунтовой толщи показывают штриховкой, а остальные геокриологические характеристики - цифрами и внемасштабными знаками. Кроме того, на карту выносят весь фактический материал (точки наблюдений, скважины, точки ВЭЗ и т.д.).

Таблица 4

Назначение скважин

Начальный диаметр скважин, мм, при их глубине, м

Конечный диаметр скважин, мм

до 10

10 - 30

> 30

Зондировочные

До 127

До 168

Устанавливается программой изысканий

До 89

Опорные

До 168

До 219

То же

127

Специальные

Устанавливаются программой изысканий

-

Примечания. 1. Начальный диаметр специальных скважин необходимо принимать в соответствии с требованиями нормативных документов и государственных стандартов.

2. При бурении скважин в крупнообломочных, песчаных пылеватых и глинистых грунтах с включением валунов и крупной гальки допускается увеличивать их начальный диаметр (в случае необходимости многоколонной обсадки).

2.24. После завершения полевых работ обрабатывают материалы окончательно. Камеральная обработка материалов должна начинаться с составления плана и календарного графика выполнения работ, оформления и передачи материалов.

В плане работ должны быть следующие разделы:

оформление полевых материалов - карт, разрезов, колонок материала опытных работ, режимных наблюдений;

составление новых (дополнительно к полевым) карт, разрезов, колонок и других графических материалов;

статистическая обработка данных полевых и лабораторных исследований горных пород и подземных вод, установление расчетных схем, обобщенных (нормативных) и расчетных показателей свойств горных пород, слагающих площадки, выполнение различных расчетов (дренажей и др.);

анализ всех материалов, основные выводы и заключения;

подготовка графического материала, включающего составление специальных карт изменения геологической среды и расчетных схем, служащих гидрологической основой проектирования;

составление отчета и приложений.

2.25. Текст отчета состоит из трех частей: общей, специальной и прогноза с рекомендациями. В общей части содержатся сведения, отраженные в пп. 1.13 - 1.74.

Приводят сведения:

о температуре воздуха, относительной и абсолютной влажности и их изменениях по сезонам года; об атмосферном давлении; осадках, их распределении по годам, времени их выпадения и интенсивности; о солнечной радиации; повторяемости и скорости ветра, его господствующем направлении и силе; времени и глубине сезонного промерзания пород, плотности и продолжительности снежного покрова, о снегопереносе, продолжительности ледостава, интенсивности таяния снега;

о геологическом и гидрогеологическом строении района, геморфологических условиях. Дается краткое описание стратиграфии, тектоники (включая новейшую) и истории геологического развития территории. Более детально описывают распространение и условия залегания верхних горизонтов горных пород в пределах первых десятков метров от поверхности земли.

Описывают спорадические обводненные толщи, «верховодка», зоны таликов, местные водоупоры. Описание выполняют по схеме: распространение, условия залегания, состав, мощность, глубина кровли и подошвы водовмещающих пород, наличие местных напоров, абсолютные отметки уровней грунтовых и напорных вод. Приводят сведения о коэффициентах фильтрации, водоотдачи, уровнепроводности, пьезопроводности, водопроводимости, минерализации и химическом составе подземных вод, микрокомпонентах, газовом составе и температуре. Рассматриваются области питания и разгрузки. Оценивают влияние подземных вод на развитие физико-геологических образований и процессов.

Приводят морфогенетическое описание долин рек и мелких водотоков; кратко излагается история формирования рельефа, связь современного рельефа с новейшей тектоникой.

Описывают типы ландшафтов (природные микрорайоны), ландшафтные индикаторы геокриологических условий. Иллюстрация - карта природного микрорайонирования. Приводят материалы по инженерно-геокриологическому сравнению вариантов мостового перехода.

Далее содержатся сведения о наличии месторождений строительных материалов.

2.26. В специальной части даются:

инженерно-геокриологическая характеристика района (см. п. 1.75);

иллюстрации (фотографии криогенных текстур, различных криогенных форм рельефа);

список использованных литературных и фондовых материалов.

2.27. В третьей части дается прогноз возможных изменений естественной обстановки при строительстве моста, трубы.

2.28. Текст отчета иллюстрируется картографическим материалом, таблицами и графическими приложениями.

К картографическим материалам относятся:

карты или планы района с нанесенными вариантами мостового перехода, а также участки вариантов трассы в местах возможного размещения труб;

карта природного микрорайонирования района мостового перехода в масштабе 1:10000 - 1:5000;

инженерно-геокриологические разрезы по осям всех вариантов мостового перехода и по осям вариантов трассы в местах пересечения ею мелких водотоков, оврагов и склонов в масштабе: горизонтальном 1:10000 - 1:5000; вертикальном 1:200.

Карту природного микрорайонирования составляют на фотоплане или на топографической основе. Для отображения природных микрорайонов используется либо цвет (по возможности с учетом геоморфологических условий), либо каждому природному микрорайону дается порядковый номер, что позволяет составлять карты в черно-белом варианте.

Физико-геологические процессы и образования изображают внемасштабными знаками.

В легенде карты, которая имеет вид развернутой таблицы, приводят детальную геокриологическую характеристику природных микрорайонов:

распространение вечномерзлых пород;

среднегодовая температура грунтов, состав и мощность грунтовых разновидностей (до глубины 15 м);

влажность отложений, относительная осадка при протаивании мерзлого грунта, средняя по разрезу просадочность минеральных мерзлых грунтов, мощность и состав сезоннопротаивающих и сезоннопромерзающих грунтов, их свойства (влажность, плотность), пучиноопасность;

современные физико-геологические процессы.

Таблица содержит информацию, необходимую для инженерно-геокриологической оценки различных природных микрорайонов, что дает возможность выбирать участки, наиболее благоприятные с точки зрения геокриологических условий, для размещения вариантов перехода.

На инженерно-геокриологических разрезах должны быть отражены:

каждый литологический тип отложений; глубина залегания литологических границ показателей с точностью до 0,1 м;

границы талых и мерзлых пород;

уровень грунтовых вод;

температура мерзлых пород;

засоленность пород;

пучиноопасность;

инженерно-геокриологические свойства мерзлых и талых грунтов.

Табличный материал содержит:

сводку характеристик природных микрорайонов и физико-механических свойств грунтов;

таблицы анализов инженерно-геологических свойств пород и анализов воды, результаты минералогического, химического анализов и т.д.

К графическим материалам относятся:

карта фактического материала, на которой должны быть показаны маршруты, горные выработки, точки геофизических наблюдений, места отбора проб воды, месторождения строительных материалов;

описания и колонки буровых скважин с данными по влажности, температуре и засоленности шурфов, обнажений;

графики геофизического профилирования и зондирования.

3. ИНЖЕНЕРНО-ГЕОКРИОЛОГИЧЕСКИЕ ИЗЫСКАНИЯ НА СТАДИИ ПРОЕКТА

3.1. Инженерно-геокриологические изыскания на этой стадии должны обеспечить:

получение инженерно-геокриологической информации, необходимой и достаточной для проектирования всего комплекса сооружений мостового перехода с учетом требований вариантных проработок отдельных его элементов;

составление прогнозов изменения окружающей среды при рассмотрении различных вариантов проектных решений по разработке схемы и конструкции моста и труб, подходов к мосту, регуляционных и других сооружений перехода и технологии строительства (прогнозы должны учитываться при сравнении конструктивно-технологических решений и выборе их оптимальных вариантов).

3.2. Для выполнения расчетов по прогнозу температурного режима грунтов в районе мостового перехода необходимо иметь следующие материалы:

мерзлотно-грунтовые;

инженерно-геологические;

метеорологические;

данные о физико-механических и теплофизических свойствах грунтов;

сведения о характере изменения поверхностных условий на площадке в результате строительства;

конструктивно-технологические характеристики сооружения.

3.3. Материалы мерзлотно-грунтовых обследований перехода должны содержать сведения о глубинах сезонного промерзания-оттаивания и среднегодовой температуре грунтов в естественных условиях, особенностях распространения и условиях залегания вечномерзлых грунтов, их криогенной текстуре и типах мерзлотных процессов и явлений, наблюдающихся на территории строительной площадки и на окружающей местности (термокарст, наледи, солифлюкционные явления и т.п.).

Материалы инженерно-геологических обследований территории мостового перехода должны содержать данные по составу пород, их напластованию, гидрогеологическим условиям территории, типам растительных и поверхностных покровов.

Метеорологические данные должны включать сведения за расчетный период по среднемесячным показателям температуры воздуха; скорости ветра; осадков; плотности и высоты снежного покрова; суммарной солнечной радиации; радиационного баланса; эффективного излучения поверхности.

Данные по физико-механическим и теплофизическим свойствам поверхностных покровов и грунтов должны включать сведения о значениях плотности грунта и его весовой влажности, коэффициентах теплопроводности и объемной теплоемкости грунта в талом и мерзлом состояниях, относительной льдистости грунта.

Конструктивно-технологические характеристики сооружения включают сведения о конструкции опор и фундаментов моста, их основные размеры, сезон строительства и проектируемой технологии работ по их сооружению.

3.4. Исходные данные следует вводить в расчет по возможности с гарантированной обеспеченностью получаемых результатов. Климатические параметры назначаются по данным наблюдений ближайшей к рассматриваемому пункту строительства метеостанции. Расчетные значения теплофизических свойств грунтов назначаются с учетом возможного изменения их величин, определенных в период изысканий, при эксплуатации сооружения.

3.5. Большая часть из перечисленных выше данных получается в результате выполняемых в период изысканий инженерно-геологических обследований и наблюдений на организуемых в районе мостового перехода наблюдательных площадках.

3.6. При выполнении прогноза следует руководствоваться методическими разработками и программами ЦНИИСа [21 - 27].

3.7. Техническое задание на инженерно-геокриологические изыскания для разработки проекта мостового перехода и труб должно содержать:

границы участка, в пределах которого должен быть выбран переход, возможную длину моста;

карту-схему расположения трассы и сопряженных с нею мостовых переходов;

продольный профиль трассы и долины по осям рассматриваемых вариантов мостового перехода с указанием предполагаемых схем и длины моста и типов фундаментов его опор;

способы предполагаемого сооружения фундаментов.

3.8. На основании технического задания составляют программу инженерно-геокриологических изысканий и смету (см. п. 2.4). В сложных инженерно-геокриологических условиях следует предусматривать некоторый объем опытных работ и моделирование.

3.9. Масштаб инженерно-геокриологической съемки следует принимать равным 1:5000 - 1:2000. Ширина полосы съемки должна приниматься в соответствии с п. 2.5.

3.10. В предполевой период на основе материалов ТЭО производят оконтуривание микрорайонов в пределах участка мостового перехода, где развиты наиболее сложные инженерно-геокриологические условия (повышенное содержание подземного льда, засоленность, проявление термоэрозии, пучинность и т.д.). Для участков укладки труб природное микрорайонирование выполнено на стадии ТЭО при изысканиях трассы.

3.11. Выделенные сложные участки наносят на карту природного микрорайонирования, составленную ранее на стадии ТЭО.

3.12. Полевые работы на стадии проекта заключаются в проведении инженерно-геокриологических изысканий в пределах выбранного варианта участка мостового перехода и участков пересечения оврагов, мелких водотоков и склонов с использованием материалов, полученных на стадии ТЭО.

Изыскания на этой стадии включают в себя весь комплекс работ, проводимых на стадии ТЭО, но проводятся более детально. Дополнительно в состав работ в случае необходимости должны быть включены режимные наблюдения, которые следует осуществлять по специальным программам.

3.13. На основании предполевого дешифрирования аэрофотоматериалов проводят наземные маршрутные исследования. Вырабатывают места опорных профилей, проводят дешифрирование аэрофотоснимков для уточнения границ природных микрорайонов и нанесения границ участков с сложными геокриологическими условиями. Производят детальное описание природных условий внутри выделенных микрорайонов и участков. Намечают горные выработки, геофизические профили и точки ВЭЗ.

3.14. Геофизические исследования на стадии проекта применяют для детального изучения участка выбранного варианта мостового перехода. При этом расширяется комплекс геофизических методов, повышаются требования к качественным и количественным характеристикам получаемого материала.

3.15. Задачами геофизических исследований являются:

уточнение положения верхней и нижней границ толщи мерзлых пород;

детальное прослеживание в плане и разрезе однородных литологических разностей пород и определение их границ;

оценка льдистости грунтов;

оконтуривание таликов, зон островной мерзлоты, пластовых и повторно-жильных льдов, выделение зон высокотемпературной мерзлоты, изучение формы, размеров и характера залегания ледяных включений;

разведка участков наледеобразования, зон солифлюкции и термокарста;

определение температуры грунтов;

обнаружение и оконтуривание водоносных горизонтов и получение их характеристик;

выявление и локализация ослабленных зон в скальных и полускальных породах;

оценка минерализации подземных и поверхностных вод;

оценка физико-механических свойств грунтов.

Для решения перечисленных задач необходимы повышенные требования к опорному материалу, который должен обеспечивать однозначную количественную интерпретацию данных полевых наблюдений. Опорным материалом на данной стадии изысканий являются опорные скважины и каротажные диаграммы. Опорные выработки закладывают на всех типичных элементах геофизической модели.

3.16. На стадии проекта применяют следующие геофизические методы: электропрофилирование и вертикальное электрическое зондирование на постоянном и низкочастотном переменном токах; методы вызванной поляризации (ВЭЗ ВП), естественного поля (ЕП), заряженного тела (МЗТ); радиокип, сейсморазведка, МПВ, магниторазведка, электрический, акустический, радиоизотопный и термический каротажи скважин.

3.17. ВЭЗ наряду с бурением является основным методом для построения модели разреза, изучения изменений свойств грунтов по глубине. С помощью ВЭЗ производят оценку льдистости грунтов, определяют подошву сквозных и несквозных таликов, мощность ледяных включений, разведывают участки с развитием неблагоприятных геокриологических явлений. Глубина исследований зависит от конкретных условий местности. Точки наблюдений располагают по отдельным профилям с шагом 20 - 50 м, расстояние между профилями составляет 50 - 100 м.

На участках, где строение разреза отличается от горизонтально-слоистого, густота сети должна возрастать. Для более полной характеристики этих участков целесообразно применять метод ВЭЗ в модификации двух составляющих (МДС). Для определения элементов залегания трещин в пластах применяется круговое вертикальное зондирование (КВЭЗ). В случае сильной дифференциации песчано-глинистых пород по степени глинистости для расчленения грунтов целесообразно применение метода вызванной поляризации (ВЭЗ ВП).

3.18. Электропрофилирование служит для детального картирования грунтов в плане, определения границ распространения таликов, зон островной мерзлоты, пластовых и повторно-жильных льдов, выделения грунтов с аномальной льдистостью, зон высокотемпературной мерзлоты, картирования погребенных долин, оконтуривания водоносных горизонтов и обводненных зон, детального обследования участков с проявлением неблагоприятных криогенных процессов, поисков и разведки участков строительных материалов и дренирующих грунтов. При этом применяют различные модификации электропрофилирования: симметричное, дипольное, круговое, двух составляющих, срединного градиента. Наряду с перечисленными методами могут использоваться непрерывное электропрофилирование (НЭП), радиокип.

Съемку проводят по системе профилей с интервалом между соседними профилями 50 - 100 м и шагом по профилю 10 - 20 м. На аномальных участках сеть наблюдений сгущают.

3.19. Методы заряженного тела и естественного поля применяют для решения гидрогеологических задач. Сюда входят локализация мест разгрузки подземных вод и определение направления и скорости подземных водотоков в песчаных и гравийно-галечных грунтах. Работы по методу заряженного тела проводят в скважинах под проектируемыми устоями моста по общепринятой методике. Съемку методом естественного поля проводят по сети параллельных профилей с расстоянием между соседними профилями 10 - 20 м и шагом по профилю от 1 до 2 м.

3.20. С помощью сейсморазведки МПВ решают следующие задачи: прослеживание кровли толщи мерзлых грунтов; определение рельефа кровли массива скальных и полускальных грунтов; выявление и прослеживание зон аномальной трещиноватости; оценка степени разрушенности зоны выветривания скальных грунтов; определение положения уровня грунтовых вод, установление границ распространения и мощности оползневого тела; разведка строительных материалов и дренирующих грунтов. Большинство из перечисленных задач решается для случая талых грунтов. Наблюдения ведут по методике продольного профилирования с регистрацией продольных и обменных волн. Расстояние между профилями в зависимости от решаемой задачи и условий геологического разреза колеблется от 20 до 100 м, шаг наблюдений по профилю - от 5 до 20 м.

3.21. Магниторазведку применяют для прослеживания зон повышенной трещиноватости, оконтуривания границ распространения пластовых и полигонально-жильных льдов. Методика работ предусматривает проведение высокоточной съемки по сети профилей с интервалом между соседними профилями от 10 до 40 м, шагом наблюдений от 5 до 10 м.

3.22. С помощью комплекса каротажных методов производят оценку физико-механических свойств грунтов в естественном залегании.

Электрический каротаж в модификациях градиент и потенциал-зондов уточняет границы в массиве между грунтами различного литологического состава, позволяет выделить слои с различной криогенной текстурой и выявить прослои льда или грунты с аномально высокой льдистостью.

Акустический каротаж и межскважинное просвечивание обеспечивают получение истинных скоростей упругих волн в пласте, расчленение разреза по литологическому составу, расчет упругих модулей выделенных слоев, оценку прочностных и деформационных свойств грунтов.

Совместное использование каротажа и просвечивания позволяет определить анизотропию исследуемого массива, оценить особенности криогенного строения мерзлых грунтов.

Радиоизотопный каротаж позволяет расчленить разрез по плотности и объемной влажности слагающих его грунтов, оценить их литологический состав.

Все перечисленные виды каротажа производят непосредственно после бурения скважин в пределах мостового перехода или на близлежащей площади.

3.23. Объемы бурения следует назначать с учетом строения речной долины и сложности инженерно-геокриологических условий.

В районе возможного размещения сооружений мостового перехода каждый природный микрорайон должен быть разведан по оси вариантов не менее, чем одной-двумя выработками, но не реже чем через 200 м на берегах, и 100 м в русле реки по оси перехода. Число скважин может быть сокращено, если природные микрорайоны уже охарактеризованы скважинами, пробуренными ранее.

В сложных инженерно-геокриологических условиях следует задавать дополнительно две скважины по поперечникам к оси мостового перехода.

На участках укладки труб бурится одна скважина на ее пересечении с осью трассы глубиной до 5 м.

3.24. Если принципиальная схема моста на стадии проекта уже определена (известны положение и конструкции опор и устоев), то в условиях средней категории сложности (табл. 2) под каждую опору следует бурить: для малых (до 25 м) мостов - две скважины; для средних (25 - 100 м) и больших (> 100 м) мостов - две скважины в береговых опорах и три в промежуточных (в русловой части). В случае существенного расхождения данных по скважинам следует назначать дополнительные увязочные скважины с учетом категорий сложности (см. табл. 2).

Глубина разведочных скважин назначается на 5 м ниже от предполагаемой отметки заложения фундаментов, заглубления острия свай и инженерно-геокриологической характеристики грунта несущего основания и должна обеспечивать возможность расчета фундаментов опор по подстилающим грунтам в соответствии с [28]. В сложных инженерно-геокриологических условиях (см. табл. 2) для средних и больших мостов одна скважина на участке мостового перехода должна быть глубиной не менее 50 м. При наличии в разрезе конкурирующих несущих оснований бурение следует вести с таким расчетом, чтобы можно было получить характеристику наиболее глубоко расположенного из них.

3.25. В сложных инженерно-геокриологических условиях основные объемы работ по разведке и опробованию грунтов несущих оснований устоев и опор следует выполнять на стадии рабочей документации.

3.26. При пересечении на подходах к месту проток, стариц и болот зондируют торф.

На длине пересечения меньшей 100 м закладывают три поперечника из трех-пяти скважин в начале, середине и конце болота или старицы.

При большой длине участка зондируют через 100 м.

На этих участках необходимо установить:

тип торфяных оснований (низинный, верховой);

источники обводнения, залежи (атмосферные, подземные, поверхностные или воды смешанного типа);

степень обводненности грунтов, местоположения выхода родников, наличие озер, сплавин, общую деградацию или прогрессирующее заболачивание территории, наличие вечномерзлых грунтов;

закономерности распространения по глубине и по простиранию выделенных инженерно-геокриологических элементов, отличающихся по степени разложения, содержанию органических веществ и физико-механическим свойствам (см. рекомендуемое приложение 2).

3.27. При проходке скважин отбирают образцы для определения физических и механических свойств грунтов (см. пп. 1.31 - 1.32),

3.28. Отбор проб воды из выработок и поверхностных водотоков следует выполнять как указано в п. 2.22.

3.29. В одной из скважин на каждой опоре проводят термокаротаж (см. пп. 1.22 - 1.30).

3.30. Лабораторные определения свойств грунтов необходимо выполнять в соответствии с рекомендациями пп. 1.53 - 1.72.

3.31. Режимные наблюдения следует осуществлять по специальным программам.

3.32. Если при разработке ТЭО вопрос об обеспечении строительства мостового перехода строительными материалами, дренирующими грунтами и грунтами для устройства земляного полотна не решен, то необходимо продолжить их поиски и разведку, руководствуясь указаниями [29].

3.33. Камеральную обработку материалов полевых инженерно-геокриологических изысканий надлежит проводить параллельно с выполнением полевых работ (см. п. 2.23).

3.34. По результатам выполненных изысканий составляется отчет об инженерно-геокриологических условиях района расположения вариантов мостового перехода.

Отчет включает следующие разделы:

уточненную карту природного микрорайонирования района мостового перехода и участков укладки труб в масштабе 1:5000 - 1:2000;

текстовую часть отчета;

инженерно-геокриологические разрезы по осям вариантов мостового перехода и по оси трассы в местах пересечения ею мелких водотоков, склонов и оврагов и поперечника в масштабе: горизонтальном - 1:5000 - 1:2000, вертикальном - 1:200.

3.35. Карта природного микрорайонирования в принципе не отличается от подобной карты масштаба 1:10000, однако имеет большую степень детальности: на ней отображаются практически неделимые природные микрорайоны и в пределах их намечены границы участков с наиболее сложными инженерно-геокриологическими условиями (участков с развитием различных процессов и образований). Поэтому ее содержание насколько шире, чем на картах более мелкого масштаба.

Карту природного микрорайонирования составляют в основном в период полевых работ и дополняют при камеральной обработке табличными данными.

В качестве эталона может служить карта природного микрорайонирования, составленная для стадии ТЭО.

3.36. Инженерно-геокриологические разрезы строят по оси варианта мостового перехода и выбранным поперечникам. В целом набор инженерно-геокриологических характеристик и способы их отображения остаются такими же, как на стадии ТЭО (см. п. 2.26), но более подробно освещаются инженерно-геокриологические свойства пород. Здесь получают отражение физические и механические свойства грунтов, которые показывают в табличной форме по инженерно-геологическим элементам.

3.37. Текстовая часть отчета состоит из общей и специальной частей и приложений.

В общей части содержатся следующие сведения: цели и задачи, объем и время проведения работ, состав исполнителей, краткая характеристика природных условий участка, характеристики рельефа и геоморфологии, геологическое строение, гидрогеологические условия.

В специальной части описывают инженерно-геокриологические условия участка мостового перехода с учетом геологического строения, состава, строения и температуры мерзлых пород, сезонного промерзания-протаивания грунтов, физико-геологических образований и процессов; физические и механические свойства грунтов в мерзлом состоянии и при оттаивании; результаты геофизических исследований.

Текст отчета иллюстрируют фотографиями, картографическими материалами, таблицами и графическими приложениями.

В состав картографического материала входят: карта или план участка с нанесенным вариантом мостового перехода; карта природного микрорайонирования участка, инженерно-геокриологический разрез по оси мостового перехода и профили.

Табличный материал содержит сводку характеристик природных микрорайонов, результаты лабораторных исследований грунтов, русловых и подземных вод и таблицы обобщенных значений физико-механических свойств грунтов.

К графическим материалам относят:

карту фактического материала, на которой должны быть показаны маршруты, горные выработки, точки геофизических наблюдений, места отбора проб воды, схема расположения месторождений местных ископаемых строительных материалов;

описания и колонки буровых скважин с данными по влажности, температуре и засоленности, шурфов, обнажений;

графики геофизического профилирования и зондирования.

4. ИНЖЕНЕРНО-ГЕОКРИОЛОГИЧЕСКИЕ ИЗЫСКАНИЯ НА СТАДИИ РАБОЧЕЙ ДОКУМЕНТАЦИИ

4.1. Инженерно-геокриологические изыскания на стадии рабочей документации проводят в целях:

получения материалов и данных, необходимых и достаточных для обоснования проектных решений по составлению рабочей документации фундаментов опор и способов их возведения;

получения дополнительной инженерно-геокриологической информации, необходимой для обоснования новых проектных решений в случае изменения каких-либо параметров мостового перехода при экспертизе проекта;

обоснования строительства зданий и вспомогательных сооружений на строительных площадках у моста и на карьерах, подъездных путей к постоянным сооружениям и построечных дорог;

разведки месторождений строительных материалов в случае необходимости увеличения их объемов.

4.2. В техническом задании на инженерно-геокриологические работы должны содержаться:

схемы окончательного размещения всех сооружений мостового перехода, временных обустройств для строительства, постоянных зданий и подъездных путей и продольные профили последних;

данные о предполагаемой конструкции фундаментов опор и устоев моста, зданий и других сооружений и величине нагрузок, передаваемых на грунты оснований;

необходимые для расчетов оснований характеристики грунтов всех слоев, которые будут воспринимать нагрузки от опор и устоев моста;

рекомендации для специальных работ, необходимость в которых может возникнуть в связи с особенностями инженерно-геокриологических условий мест размещения сооружений и способов производства строительных работ.

4.3. Содержание видов предполевых работ на строительных площадках состоит главным образом в сборе и анализе имеющихся материалов по инженерно-геокриологическим условиям участка мостового перехода и мест укладки труб.

4.4. Основными видами инженерно-геокриологических полевых работ следует считать: разведочное бурение, отбор образцов, испытания грунтов в массиве, опытные работы.

При обследовании участков, где намечается изменение положения трассы, площадок для размещения временных сооружений и зданий, трасс подъездных путей, а также в случае необходимости уточнения имеющихся инженерно-геокриологических материалов, в состав работ следует включить и геофизическую разведку. Также должны быть продолжены режимные наблюдения, начатые на стадии проекта (см. пп. 3.2 - 3.5).

4.5. Геофизические исследования на стадии рабочей документации проводят для корректировки и уточнения данных, полученных на предыдущих стадиях, обследования участков строительства вспомогательных сооружений и подъездных путей, уточнения инженерно-геологических и геокриологических условий оснований опор, определения физико-механических характеристик грунтов оснований (если эта работа не была выполнена на стадии проекта), определения коррозийной активности грунтов на строительных площадках.

Для решения двух первых задач применяются те же методы, что и на стадии проекта. Разведочная сеть при необходимости сгущается.

Изучение характера, условий залегания и свойств грунтов основания опор производят методами непрерывного или точечного каротажа (КС, акустического, радиоизотопного, термического).

Коррозийную активность грунтов определяют комплексом, включающим метод естественного поля и симметричного электропрофилирования с малыми разносами электродов, по сети 5´5 или 10´10 м.

4.6. На участках, где требуется уточнение или корректировка ранее полученной инженерно-геокриологической информации, изыскания следует проводить в том же составе, что и на стадии проекта, но с повышенной детальностью и полнотой, сгущением разведочной сети, уменьшением интервала между точками испытаний, грунта в массиве и более частым отбором образцов грунтов в скважинах.

При изменении проектных решений изыскания проводят в не меньшем объеме, что и на стадии проекта.

4.7. На участках, где предполагается изменение трассы или перемещение регуляционных и защитных сооружений, инженерно-геокриологические изыскания следует вести в составе и объемах, достаточных для принятия новых проектных решений (см. разд. 2 и 3).

В сложных инженерно-геокриологических условиях (см. табл. 2) для больших мостов (> 100 м) под каждую опору должно быть в итоге пробурено не менее пяти скважин, четыре из которых располагаются по углам прямоугольника, вписываемого в плановую проекцию опоры, и одна - в центре опоры на оси перехода.

В тех случаях, когда геофизическая разведка на расстоянии до нескольких метров от места размещения опоры выявила подземные льды или линзы криопэгов, для определения точного положения и размеров этих образований закладывают дополнительные скважины в стороне от опор проектируемого моста. При этом имеют в виду рассмотрение целесообразности смещения в плане оси или отдельных опор моста.

На участке укладки труб бурят две скважины по оголовкам труб дополнительно к скважине, пробуренной на стадии проекта по оси трассы (см. п. 3.23).

4.8. Глубину скважин принимают в соответствии с рекомендациями п. 3.24.

4.9. Из каждой пройденной скважины следует отбирать пробы грунтов и воды, руководствуясь пп. 1.31 - 1.37.

4.10. В двух скважинах, пробуренных по краям опоры и по оси, а также в одной скважине по оси трассы в местах укладки труб проводится термокаротаж (см. пп. 1.22 - 1.30).

4.11. Лабораторные определения свойств грунтов необходимо выполнять в соответствии с рекомендациями пп. 1.53 - 1.72.

4.12. Испытания грунтов штампами следует включать в состав работ только при невозможности получения характеристик несущей способности грунтов более простыми способами. Эти работы должны проводиться специализированными организациями. В случаях, когда основание мостового перехода или трубы представлено льдом или сильнольдистым грунтом (Лв > 40 %), проводят комплекс работ по специальной программе. При необходимости устройства опор на участках развития пластовых и жильных льдов производят испытания льдогрунтового массива пробными нагрузками для определения времени релаксации и предельных нагрузок. Непосредственное опирание фундаментов мостов и труб на льды не допускается [5].

4.13. Если после внесения изменений в проект объемы разведанных запасов строительных материалов и грунтов оказались недостаточными для строительства мостового перехода, то следует осуществить поиск и разведку строительных материалов и грунтов, руководствуясь [29], на смежных площадках или на большую глубину, а при необходимости искать и обследовать новые месторождения.

4.14. Камеральные работы заключаются в окончательной обработке материалов инженерно-геокриологических изысканий и составлении отчетных материалов, включающих:

уточненный продольный инженерно-геокриологический разрез оси мостового перехода;

поперечные инженерно-геокриологические разрезы оснований фундаментов каждой опоры;

колонки дополнительных выработок;

блок-диаграммы основания (при необходимости);

продольные инженерно-геокриологические разрезы участков, где были изменения трассы и предполагается укладка труб;

продольные инженерно-геокриологические разрезы по трассам подъездных путей;

краткую записку об инженерно-геокриологических условиях строительных площадок, где должны быть отражены состав, сложение, состояние и свойства грунтов оснований проектируемых временных и постоянных сооружений и зданий (здания охраны, технического обслуживания моста и др.).

4.15. Если основной объем изысканий проведен на стадии проекта, то составленный на этой стадии отчет дополняют данными стадии рабочей документации. Если же основные объемы работ выполнены на стадии рабочей документации, то по окончании их составляют отчет об инженерно-геокриологических изысканиях мостового перехода и труб с картографическими, графическими и табличными приложениями в соответствии с пп. 3.34 - 3.37.

4.16. При наличии в основании мостового перехода или трубы пучиноопасных грунтов (табл. 5) выполняется расчет фундаментов на выпучивание [5, 30].

Таблица 5

Грунты

Естественные основания и основания выемок

Насыпи

Сухие*

Сырые**

Мокрые***

от wp + 0,1Iр до wp + 0,25Iр

от wp + 0,25Iр до wp + 0,50Iр

от wp + 0,50Iр до wp + 0,75Iр

Свыше wp + 0,75Iр

от wp + 0,25Iр до wp + 0,50Iр

Суглинки пылеватые, глины песчанистые

3-6

8-14

14-20

20-30

4-7

Супеси пылеватые, суглинки тяжелые, глины жирные

2-3

5-10

10-15

15-20

2-5

Супеси легкие, глины жирные

2-3

5-10

10-15

15-20

2-5

Крупнообломочные грунты с глинистым заполнителем:

от 20 до 50 %

1-2

2-4

5-7

7-10

1-2

> 50 %

1-3

4-7

7-10

10-14

2-4

Пески пылеватые

0-1

2-5

5-10

-

1-2

Торфы

-

-

10-15

-

-

* Поверхностный сток обеспечен, грунтовые воды отсутствуют или залегают ниже границы промерзания на глубине больше, чем высота капиллярного поднятия.

** Условия для поверхностного стока плохие, грунтовые воды отсутствуют или залегают ниже границы промерзания в зоне капиллярного поднятия.

*** Поверхностный сток отсутствует или необеспечен, грунтовые воды залегают в пределах глубины промерзания. wp - влажность на границе раскатывания; Iр - число пластичности.

Приложение 1

Рекомендуемое

АГРЕССИВНОСТЬ ПОДЗЕМНЫХ И ПОВЕРХНОСТНЫХ ВОД

Определение степени коррозионной активности воды - среды по отношению к материалам конструкций мостов и труб осуществляют по результатам лабораторных и химических анализов проб воды и грунта, а также по величине удельного электросопротивления грунта.

Количество проб подземных вод для химического анализа должно быть не менее трех из каждого водоносного горизонта. Количество проб поверхностных вод при пересечении трассой малых водотоков должно быть не менее двух, а при пересечении больших водотоков - не менее трех (у берегов и в середине водотока).

Состав химических анализов предварительно отобранных проб подземных и поверхностных вод для определения степени и агрессивности и коррозионной активности по отношению к бетону и металлам устанавливают в соответствии с нормативными требованиями [8], [9].

Оценку коррозионной активности поверхностных и подземных [9] вод производят по показателям, принимаемым в соответствии с [30], для металлических водопропускных труб - в соответствии с [11, 12].

Степень коррозионной активности грунтов основания и засыпки по отношению к металлическим водопропускным трубам определяют [11, 12] по величине удельного электросопротивления грунта по СТ СЭВ 2440-80 [10].

Удельное электросопротивление поверхностного слоя грунта основания металлической трубы измеряют по оси трубы в местах расположения входного и выходного оголовков; грунта засыпки - в карьере, из которого намечено производить засыпку трубы и отсыпку насыпи.

В необходимых случаях при проектировании металлических водопропускных труб в зоне действия переменного электрического тока (вблизи - до 500 м от действующей электрифицированной линии, при сооружении вторых путей на электрифицированных железных дорогах и т.п.) определяют показатели опасности электрокоррозии, характеризуемые плотностью тока утечки и влажностью грунта. Плотность тока утечки определяют методами электроразведки. Критерии коррозионной опасности принимают в соответствии с документами [11, 12].

Приложение 2

Рекомендуемое

МЕТОДИКА ИЗУЧЕНИЯ НАЛЕДЕЙ

1. ОБЩИЕ ПОЛОЖЕНИЯ

1.1. Практика строительства и эксплуатации дорог в Сибири и на Дальнем Востоке показывает, что при дорожном строительстве в результате нарушения естественных условий активизируется наледный процесс: действующие в естественных условиях существующие (природные) наледи увеличивают свои размеры, появляются новые (техногенные) наледи. Это явление необходимо учитывать при изысканиях и проектировании новых дорог.

1.2. Прогнозирование наледей необходимо осуществлять на основе закономерностей наледного процесса, обусловливаемого взаимодействием природных факторов: климатических, геологических, гидрогеологических, гидрологических и мерзлотно-грунтовых и техногенных.

Прогнозирование наледного процесса заключается в установлении качественных и количественных характеристик: изменение во времени параметров существующих (природных) наледей, вероятности возникновения техногенных наледей и степени их воздействия на искусственные сооружения.

Качественное прогнозирование позволяет оценить возможные количество, размеры и степень опасности наледей, выбрать наилучшее местоположение трассы проектируемой дороги, а также определить основные направления рациональных для данных условий противоналедных мероприятий и их примерную стоимость.

Количественный (конкретный) прогноз, осуществляемый для определенного водотока, позволяет определить расчетные параметры наледи и установить рациональный вид противоналедных устройств.

1.3. Методика прогнозирования наледного процесса находится в стадии разработки и совершенствования. Вместе с тем, установленные закономерности развития наледного процесса в естественных условиях и под воздействием искусственных факторов, в том числе связанных с дорожным строительством, позволяют уже сейчас выполнить прогноз наледей с достоверностью, достаточной для инженерных целей. Принципы прогнозирования даны в Методических указаниях [31].

Инженерный прогноз наледей для условий намечаемого строительства и технико-экономическое обоснование проектируемых противоналедных устройств могут быть выполнены только при наличии конкретных инженерно-геологических данных по наледным участкам, обследование которых проводится в 3 этапа: для стадий ТЭО, проекта и рабочей документации.

2. ОБСЛЕДОВАНИЕ НА СТАДИИ ТЭО

2.1. В весенний период (апрель - май) на наледных участках, выявленных в процессе дешифрирования аэрофотоматериалов, производят маршрутное обследование, цель которого установить:

морфометрические характеристики (площадь, объем, среднюю и максимальную мощности льда), плановую привязку к местности и оси трассы;

форму поверхности наледи, наличие наледных бугров, трещин, толщину снежного покрова;

наличие полыней, изливов воды через наледные бугры, температуру воды незамерзающих источников, ориентировочный расход воды источников, а также водотока выше и ниже наледи (замер расхода источника производят объемным способом с помощью водосливной рамы или поплавков);

время формирования наледи (по опросу, косвенным признакам, результатам наблюдений на типичных участках), основные причины образования наледи.

2.2. В осенний период производят обследование наледеобразующих источников, при этом устанавливают:

географическое положение водопункта;

орографические условия места расположения водопункта, его превышение над местным базисом эрозии (дном долины, балки), экспозицию склона;

возраст, состав, степень выветрелости, трещиноватость, характер залегания пород, из которых поступает вода;

расход источников;

физические свойства воды (температуру, вкус, запах, цвет, прозрачность);

отбираются пробы на химический состав.

2.3. При маршрутном обследовании постоянных водотоков в осенне-зимний период (сентябрь - октябрь) устанавливают:

наличие стока воды под ледяным покровом, гидрометрические характеристики водотока (расход, скорость, глубина и ширина водотока), характер и уклон русла;

строение разреза русла, включая водоток, ледяной и снежный покровы, отмечаются состояние грунта дна водотока, наличие воздушного зазора под ледяным покровом, структура ледяного покрова;

источники питания водотока (источники подземных грунтовых вод, озера, атмосферные осадки и т.д.), температуру воды, дебит, химический состав воды в истоках водотока (удаленных от оси трассы на расстояние не более 2 км). Необходимые измерения производят по трем створам водотока: по оси трассы, в 200 м и выше и ниже трассы.

2.4. Результаты обследования каждого наледного участка и пересекаемого постоянного водотока оформляют в виде паспорта с заключением о степени прогнозируемой опасности, возможном смещении трассы и конструкции земляного полотна и водопропускного сооружения, о содержании и объемах требуемых инженерно-геологических, гидрогеологических и мерзлотно-грунтовых изысканий, возможных вариантах противоналедных мероприятий и сооружений.

3. ОБСЛЕДОВАНИЕ НА СТАДИИ ПРОЕКТА

3.1. Инженерно-геологическую съемку в масштабе 1:25000 - 1:10000 выполняют по трассе полосой 300 - 500 м и дополняют маршрутной гидрогеологической съемкой по всем пересекаемым трассой поверхностным водотокам и источникам на расстоянии: от трассы вверх по водотоку - на 600 - 700 м или до «головки» источника, вниз на 300 - 400 м, при общей протяженности маршрута около 1000 м.

3.2. По данным аэровизуального обследования, гидрогеологической и комплексной инженерно-геологической съемок составляют карту и кадастр водотоков, источников и наледей, оформляемые по действующим нормативам. Карта и кадастр являются одним из основных документов для прогноза наледей.

3.3. В холодный период года необходимо проводить трехразовые обследования и наблюдения за водотоками и наледями. Первые обследования и наблюдения следует проводить с наступлением холодов и появлением кромки льда у водотоков (октябрь - ноябрь), когда малые водотоки, при отсутствии ледяного и снежного отепляющего покровов, претерпевают максимальное охлаждение.

Второе обследование следует проводить в течение декабря - января, когда окончательно формируются и заканчивают развитие наледи временных поверхностных водотоков и надмерзлотных вод.

Третье обследование необходимо осуществлять в период максимального развития крупных наледей (март - апрель), до появления весенней воды от таяния снега. При этом в процессе первого и второго наблюдений должны быть обследованы все пересекаемые трассой водотоки поверхностных и подземных вод. Третьему обследованию подвергают только те наледные участки, в пределах которых наледный процесс не завершился ко времени проведения второго обследования.

3.4. В летний и осенний периоды выполняют максимальный объем работ (площадная съемка, разведочные, геофизические и другие трудоемкие и основные работы). При зимнем обследовании выполняют работы маршрутного порядка, включающие разовые наблюдения и замеры, необходимые для определения изменения водно-теплового режима водотоков.

3.5. При обследовании поверхностных водотоков выполняют следующие работы:

описание морфологии русла водотока, поймы, долины, растительности, заболоченности; выявление области и источников питания водотока и их влияния на гидрологический режим водотока;

промеры глубины водотока на переходе его трассой и в характерных местах водотока (перекатах, плесах), вычерчивание поперечных сечений;

инструментальное определение уклона русла на участке перехода - на 500 м вверх и вниз от трассы;

определение дебита источника, расхода поверхностного водотока на переходе, выше и ниже источников, питающих водоток, в верхнем и нижнем концах наледи; если наледь образовалась у существующей дороги, то расходы водотока необходимо определять выше и ниже водопропускного сооружения;

установление литологического состава и водоносности горных пород, слагающих дно и берега водотока, их изменчивости по водотоку, наличия галечникового (фильтрующего) аллювия и подруслового потока; определение дебита последнего по данным геологоразведочных работ по трассе и коэффициенту фильтрации аллювия, вычисленному по механическому составу аллювиальных образований;

замеры температуры воды в водотоке от места пересечения его трассой вверх по течению через 100 - 200 м на расстоянии до 1 км или до источников питания; составление продольного (по водотоку) графика температур; определение температуры выполняется термометром с точностью до 0,1 °С;

наблюдение за состоянием ледового покрова, внутриводным и донным льдом, возникновением и развитием наледей; описание и зарисовка, фотографирование очагов возникновения наледей; определение площади и мощности льда по вешкам или по данным бурения, шурфования; если наледь заливает участок леса, то на деревьях делают пометки, а летом по ним замеряют мощность льда; о толщине льда можно судить летом по следам, оставшимся на деревьях (налету солей на коре, механическим повреждениям);

определение мощности снежного покрова по льду русла, склонам, на открытом месте, в лесу;

определение температуры воздуха в период наблюдений;

фотографирование водотока и наледей в характерных участках и на участке трассы;

отбор проб поверхностных, подземных вод и воды, получаемой из образцов наледного льда на химический анализ для выявления состава минерализации и установления типа вод, питающих наледь.

3.6. При изучении и описании подземных вод должны быть установлены:

географическое положение мест наблюдения (источника, колодца, скважины, шурфа), которые нумеруются и наносятся соответствующим условным знаком на карту;

орографические условия места наблюдения, относительная высота над меженным уровнем ближайшего водотока или водоема, дном балки, оврага, болота;

абсолютная высота места наблюдения, которая определяется нивелировкой;

экспозиция склона для мест наблюдений, расположенных на склоне или у подножия его;

возраст, литологический состав, название, степень выветрелости, трещиноватости и условия залегания породы, из которой поступает вода, питающая наледь;

характер выхода подземных вод из пород - восходящий или нисходящий, коренной или дериватный, концентрированный или рассеянный пластовый; форма и размеры родниковой воронки;

дебит источника, определенный мерным сосудом, водосливом, переносной водосливной рамкой, пробной откачкой;

физические свойства воды (температура, вкус, запах, цвет, прозрачность, взвешенный материал). Температуру воды замеряют в головке источника и ниже по течению водотока до пересечения его трассой или до впадения его в основной водоток, который пересекается трассой; одновременно замеряют температуру воздуха;

химический состав.

Если в месте выхода источника наблюдается налет в виде твердого осадка, выпавшего из воды источника, необходимо взять для химического анализа пробу этого осадка (100 - 200 г.);

обеспечение инженерно-геологическими и гидрогеологическими данными, необходимыми для прогнозирования возможности образования искусственных наледей и составления проекта противоналедных устройств и их технико-экономического обоснования.

3.7. При обследовании природных наледей должны быть получены следующие данные:

привязка наледи к трассе и наименование водотока (наледи);

вид наледи по месту отложения льда (описание элемента рельефа, его экспозиции, растительности);

форма наледи (округлая, эллиптическая, однолопастная, многолопастная, в виде сосулек, сталагмитов, каскадов), направление роста наледи;

генетический тип наледи по физико-геологическим условиям с соответствующей характеристикой;

геология, гидрогеология и мерзлотные условия в местах формирования наледи, описываемые кратко, но с выделением факторов, определяющих тип наледи;

характеристика водоисточника, питающего наледь;

характеристика незамерзающих или поздно замерзающих участков рек (полыней), через которые может изливаться вода, и источников глубинных напорных подземных вод;

температура воды источников, питающих наледь, и наледной воды;

расход воды, питающей наледь (выше и ниже наледи);

мощность льда (средняя, максимальная);

площадь, занимаемая наледным льдом (длина, ширина) со схематической зарисовкой и фотоснимками наледи;

объем наледного льда;

характеристика структуры и текстуры льда, цвета, включений;

характеристики поверхности наледи, бугров пучения, перепадов и впадин, воздушных полостей, трещин разрыва, их формы, размера, ориентировки, времени и последовательности образования; данные о трещинах: водоносные или сухие, полые или забитые снегом; при наличии взрыва бугра пучения - размеры глыб льда, расстояние, на которое они были отброшены, и направления, в которых произошло их перемещение;

описание и зарисовка бугров наледного пучения в деятельном слое; разрез и строение бугра, состав грунта и характер льда, генезис бугра;

химический состав и степень агрессивности воды, питающей наледь;

наличие подруслового потока;

данные об отрицательном воздействии наледи на имеющиеся дорожные и другие сооружения;

фотографии и зарисовки наледей, минимум две - вдоль и поперек наледи.

3.8. При повторных осмотрах наледей в соответствующие пункты журнала наледей, а также в чертежи и рисунки вносятся дополнительные сведения, касающиеся изменившихся размеров наледей, бугров, трещин и т.д.

3.9. По природным наледям дается прогноз об их возможном отрицательном воздействии на проектируемые сооружения и намечаются соответствующие проектные мероприятия, предупреждающие или исключающие их опасное отрицательное воздействие, а также программа их детального обследования под рабочую документацию.

4. ОБСЛЕДОВАНИЕ НА СТАДИИ РАБОЧЕЙ ДОКУМЕНТАЦИИ

4.1. В период изысканий под рабочую документацию проектируемых противоналедных устройств выполняют детальное инженерно-геологическое обследование наледных участков.

Они имеют целью уточнение условий возникновения и развития наледей, степени их опасности и получение конкретных данных для разработки рабочей документации противоналедных мероприятий и сооружений.

4.2. Работы по обследованию наледей необходимо выполнять в осенне-зимне-весенний периоды, в течение которых происходит развитие и разрушение наледей. Инженерно-геологические работы и топографическую съемку целесообразно выполнять при отсутствии снежного покрова. В связи с этим полевые работы необходимо начинать ранней осенью до выпадания снега и заканчивать весной со спадом внешних вод.

В период сентября - октября выполняют инженерно-геологическую съемку и начинают подготовительные работы по изучению ледотермического режима наледных водотоков: разбивают створы и устанавливают мерные вешки, по которым можно быстро и достаточно точно замерять прирост наледи, и водомерные лотки.

В зимний период изучают ледотермический режим наледей и выполняют разведочные и камеральные работы. Изучение ледотермического режима наледей завершается в апреле - мае, когда заканчивается разрушение большинства наледей.

4.3. Для всех типов наледей выполняют комплексную инженерно-геологическую съемку масштаба 1:1000 - 1:10000, в зависимости от сложности объекта и размера наледи.

Съемкой должны быть охвачены: место расположения наледи, выходы источников подземных вод, питающих наледь, площади распространения водоносных слоев (в случае назначения в качестве противоналедных мероприятий дренажа и каптажа) и очаги возникновения наледей - поверхностных вод. При значительном (более 1 км) удалении источников вод, питающих наледь, дополнительно выполняют маршрутную инженерно-геологическую съемку вверх по водотоку, на протяжении до 10 км.

В процессе съемки обследуют и наносят на топокарту места выходов источников на дневную поверхность, русло водотока, участки намечаемого заложения противоналедных сооружений, контуры наледи и ее контакт с дорогой. В этих местах целесообразно сгустить точки наблюдения за счет рассредоточения их на других участках обследуемой площади.

4.4. Наблюдения за ледотермическим режимом наледей и наледных водотоков выполняют ежемесячно или в периоды возникновения наледей (октябрь - ноябрь), их интенсивного роста (январь - февраль) и максимального развития (март - апрель). Они состоят в определении расхода температуры воды в характерных местах, описании мест и формы возникновения и развития наледи, изменения ее размера, очертания, степени воздействия на сооружения и других особенностей, характеризующих режим и динамику наледи и изменение степени ее опасного воздействия на сооружения пути.

4.5. Разведочные работы (бурение и шурфование) назначают в минимальном объеме с учетом использования имеющихся данных, полученных при выполнении инженерно-геологической съемки по объекту и при обследовании трассы для разработки проекта. В связи с этим разведочные работы ограничивают специальными выработками, необходимыми для освещения инженерно-геологических условий под проектируемое сооружение, для гидрогеологических работ и температурных наблюдений, а также отбора проб воды и грунта.

4.6. При заложении разведочных скважин и шурфов отбирают образцы грунтов для определения их строительных свойств, учитываемых при проектировании противоналедных сооружений, в том числе: для противоналедного вала отбирают образцы для определения несущей способности грунтов основания, для дренажных и каптажных устройств на определение фильтрационной способности водоносного слоя и т.п.

Количество и объем отбираемых образцов грунтов определяются их целевым значением и общепринятыми требованиями.

Пробы воды отбирают из всех водоносных слоев, а также из поверхностных водотоков, образующих наледи.

4.7. В результате выполненных исследований представляют инженерно-геологическое заключение по каждой наледи и прогнозируемому наледному участку, которое должно содержать данные, необходимые для разработки рабочих чертежей противоналедных устройств.

Приложение 3

Рекомендуемое

ЗАТОРФОВАННОСТЬ ГРУНТОВ

На участках развития болотных почв сезоннопромерзающие и сезоннооттаивающие грунты обогащаются слаборазложившимися растительными остатками, наличие которых следует устанавливать, если их относительное содержание по весу в песчаном грунте более 0,03 и в глинистом более 0,05.

Относительное содержание Iот растительных остатков в грунте (степень заторфованности) определяют как отношение их массы в образце грунта, высушенного при температуре 100 - 105 °С, к массе его минеральной части после прокаливания согласно требованиям [32].

В зависимости от величины Iот грунтам присваивают дополнительные наименования [1].

Степень разложения торфа определяется визуально (табл. 1) по содержанию в общем объеме пробы заторфованного грунта продуктов распада растительных тканей.

Таблица 1

Вид торфа

Степень разложения, %

Полная влагоемкость, г/г

Коэффициент пористости

Внешние признаки

Слаборазложившийся

< 20

> 12

> 18

Светло-коричневый или желтый, состоящий из неразложившихся волокон мхов и травянистых растений. Светло-желтая или желто-коричневая вода, легко отжимается из упругой массы

Среднеразложившийся

20 - 45

8 - 12

12 - 18

Коричневый или темно-серо-коричневый с наличием мхов, корешков осоки и пушицы. Вода отжимается каплями, мутная, коричневая или кофейного цвета. Слабо пачкает руку и имеет заметную упругость

Сильноразложившийся

> 45

4 - 8

6 - 12

Темно-коричневый или землисто-черный с пепельным оттенком. Вода не отжимается, а масса выдавливается между пальцами и сильно пачкает руку

По мощности и характеру деформаций торфяную толщу необходимо подразделять на следующие типы:

I - толща, преимущественно маломощная (до 2 м) или предварительно осушенная, обладающая в природном залегании прочностью (t > 0,02 МПа), проявляющая деформации сжатия без выпора независимо от скорости загружения;

II - толща, среднемощная и мощная (более 2 м), сложенная всецело из торфяных пластов или предварительно осушенная, обладающая прочностью (t от 0,02 до 0,03 МПа) и способностью к сжатию при медленном приложении нагрузки и проявляющая местные выпоры при быстром нагружении;

III - толща, преимущественно мощная (более 4 м) без предварительного осушения, содержащая сплавину или сапропелевые отложения в природном слое, выдавливающаяся независимо от скорости приложения нагрузки.

Тип торфяного основания устанавливают по величинам предельного сопротивления сдвигу, определенным сдвигомером-крыльчаткой в соответствии с табл. 2, а также с учетом классификационных показателей состава и физических свойств в соответствии с табл. 3.

Таблица 2

Предельное сопротивление сдвигу t, МПа

Тип торфяного основания

> 0,02

I

0,02 - 0,01

I - II

0,01 - 0,003

II

< 0,003

III

Таблица 3

Разновидность торфа

Природная влажность W, %

Степень разложения, %

до 25

25-40

> 40

Осушенный или погребенный

300

I

I

I

Маловлажный

300 - 600

I

I - II*

I - II*

Средней влажности

600 - 900

I

II

II

Очень влажный

900 - 1200

I

II

II

Избыточно-влажный

1200

II

II

III

* К I типу следует относить торф при влажности 500 %.

** К I типу следует относить торф при влажности 400 %.

Торф классифицируется по зольности Ас, %, рН среды и содержанию кальция Са, согласно табл. 4.

Таблица 4

Вид торфа

Ас, %

рН

Са, %

Верховой

2 - 6

2,6 - 4,6

0,25 - 1

Низинный

6 - 14

4,6 - 5,2

1 - 4

СПИСОК ЛИТЕРАТУРЫ

1. ГОСТ 25100-82. Грунты. Классификация. М., Изд-во стандартов, 1982.

2. СНиП 1.02.07-87. Строительные нормы и правила. Инженерные изыскания для строительства. М., Стройиздат, 1988.

3. ГОСТ 25358-82. Грунты. Метод полевого определения температуры. М., Изд-во Стандартов, 1982.

4. ГОСТ 12071-84. Грунты. Отбор, упаковка, транспортирование и хранение образцов. М., Изд-во стандартов, 1985.

5. СНиП II-18-76. Строительные нормы и правила. Нормы проектирования. Основания и фундаменты на вечномерзлых грунтах. М., Стройиздат, 1977.

6. ГОСТ 26262-84. Методы полевого определения глубины сезонного оттаивания. М., Изд-во стандартов, 1985.

7. ГОСТ 24841-87. Методы полевого определения глубины сезонного промерзания. М., Изд-во стандартов, 1982.

8. ГОСТ 9.015-74. Единая система защиты от коррозии и старения. Подземные сооружения. Общие технические требования. М., Изд-во стандартов, 1975.

9. СНиП 2.03.11-85. Строительные нормы и правила. Защита строительных конструкций от коррозии. М., Изд-во стандартов, 1986.

10. СТ СЭВ 2440-80. Оценка степени агрессивного воздействия грунтов на бетон на портландцементе. М., Стройиздат, 1981.

11. Инструкция по защите железнодорожных подземных сооружений от коррозии блуждающими токами. М., Транспорт, 1979, ЦЭ/35-51.

12. ВСН 176-78. Инструкция по проектированию или постройке металлических гофрированных водопропускных труб. М., ЦНИИС, 1979.

13. ГОСТ 5180-84. Грунты. Методы лабораторного определения физических характеристик. М., Изд-во стандартов, 1985.

14. Лабораторные методы исследования мерзлых пород. М., Изд-во МГУ, 1985.

15. ГОСТ 24586-81. Грунты. Методы лабораторного определения характеристик прочности и деформируемости мерзлых грунтов. М., Изд-во стандартов, 1981.

16. ГОСТ 23253-78. Грунты. Методы полевых испытаний мерзлых грунтов. М., Изд-во стандартов, 1979.

17. Рекомендации по определению теплотехнических и структурно-механических свойств мерзлых торфяных грунтов. М., Стройиздат, 1984.

18. ГОСТ 26263-84. Грунты. Метод лабораторного определения теплопроводности мерзлых грунтов. М., Изд-во стандартов, 1985.

19. ГОСТ 25493-82. Породы горные. Метод определения удельной теплоемкости и коэффициента температуропроводности. М., Изд-во стандартов, 1984.

20. ГОСТ 25499-82. Породы горные. Метод определения коэффициента теплопроводности. М., Изд-во стандартов, 1984.

21. Руководство по определению физических, теплофизических и механических характеристик мерзлых грунтов. М., Стройиздат, 1973.

22. Рекомендации по методике прогноза изменений мерзлотно-грунтовых условий при строительстве и эксплуатации сооружений на трассе БАМ. М., ЦНИИС, 1976.

23. Руководство по бетонированию фундаментов и коммуникаций в вечномерзлых грунтах с учетом твердения бетона при отрицательных температурах. М., Стройиздат, 1982.

24. Пассек В.В., Бродский А.М. Расчет одномерного распределения температуры (РОТЗО). М., 1980, Госфонд алгоритмов и программ П004939, бюл. № 6 (44), 1981.

25. Пассек В.В. Расчет температурного режима оснований и тела транспортных сооружений (Р 007). М., 1980, Госфонд алгоритмов и программ П005248, бюл. № 3 (47), 1982.

26. Пассек В.В., Бродский А.М. Расчет температурных полей в основании и теле транспортных сооружений (Р 021). М., 1980, Госфонд алгоритмов и программ П004942, бюл. № 6 (44), 1981.

27. Пассек В.В., Слоев Л.Н. Расчет трехмерных температурных полей в основании и теле транспортных сооружений с учетом автоматических замораживающих установок (термосифонов) (5Р071), М., 1983, Госфонд алгоритмов и программ П006907, бюл. № 1 (38), 1984.

28. СНиП 2.05.03-84. Строительные нормы и правила. Мосты и трубы. М., Стройиздат, 1985.

29. ВСН 182-74. Технические указания по изысканиям, проектированию и разработке притрассовых карьеров для железнодорожного и автодорожного строительства. М., Оргтрансстрой, 1975.

30. Рекомендации по совершенствованию конструкций и норм проектирования искусственных сооружений, возводимых на пучинистых грунтах с учетом природных условий БАМа. М., ЦНИИС, 1981.

31. Методические указания по инженерно-геологическому обследованию участков природных и прогнозируемых наледей. М., 1979.

32. ГОСТ 23740-79. Грунты. Методы лабораторного определения органических веществ. М., Изд-во стандартов, 1979.

СОДЕРЖАНИЕ

Предисловие. 1

1. Общие положения. 1

Предполевые и полевые работы.. 4

Полевое дешифрирование аэроснимков. 5

Горно-буровые работы.. 5

Температурные измерения. 6

Отбор образцов. 7

Изучение сезонного промерзания и протаивания пород. 8

Изучение распространения и мощности вечномерзлых горных пород. 8

Изучение подземных вод. 8

Состав и криогенное строение грунтов. 9

Физико-геологические и криогенные образования. 10

Геофизические работы.. 13

Определение физико-механических свойств вечномерзлых грунтов. 15

Определение механических свойств мерзлых грунтов в лабораторных условиях. 17

Определение сдвиговых характеристик мерзлых биогенных грунтов и льда. 18

Определение показателей прочности и деформативности вечномерзлых грунтов в полевых условиях. 19

Камеральные работы при инженерно-геокриологических изысканиях. 20

2. Инженерно-геокриологические изыскания на стадии технико-экономического обоснования. 21

3. Инженерно-геокриологические изыскания на стадии проекта. 29

4. Инженерно-геокриологические изыскания на стадии рабочей документации. 35

Приложение 1 Агрессивность подземных и поверхностных вод. 37

Приложение 2 Методика изучения наледей. 38

Приложение 3 Заторфованность грунтов. 43

Список литературы.. 45