Bleached cellulose and pulp mill sewage. Determination of adsorbable organic halogens (AOH). General reguirements and methods of analysis

ГОСТ 30578-98
(ИСО 9562-89)

МЕЖГОСУДАРСТВЕННЫЙ СТАНДАРТ

 

Целлюлоза беленая и сточные воды
целлюлозно-бумажного производства

ОПРЕДЕЛЕНИЕ АДСОРБИРОВАННЫХ
ОРГАНИЧЕСКИХ ГАЛОГЕНОВ

Общие требования и методы анализа

 

 

МЕЖГОСУДАРСТВЕННЫЙ СОВЕТ
ПО СТАНДАРТИЗАЦИИ, МЕТРОЛОГИИ И СЕРТИФИКАЦИИ

Минск

 

Предисловие

1 РАЗРАБОТАН Межгосударственным техническим комитетом по стандартизации МТК 144, ОАО «Украинский научно-исследовательский институт бумаги» (УкрНИИБ)

ВНЕСЕН Государственным комитетом Украины по стандартизации, метрологии и сертификации

2 ПРИНЯТ Межгосударственным Советом по стандартизации, метрологии и сертификации (протокол № 13 от 28 мая 1998 г.)

За принятие проголосовали:

Наименование государства

Наименование национального органа по стандартизации

Азербайджанская Республика

Азгосстандарт

Республика Армения

Армгосстандарт

Республика Беларусь

Госстандарт Республики Беларусь

Республика Казахстан

Госстандарт Республики Казахстан

Кыргызская Республика

Кыргызстандарт

Республика Молдова

Молдовастандарт

Российская Федерация

Госстандарт России

Республика Таджикистан

Таджикстандарт

Туркменистан

Главгосслужба «Туркменстандартлары»

Республика Узбекистан

Узгосстандарт

Украина

Госстандарт Украины

3 Настоящий стандарт соответствует международному стандарту ИСО 9562-89 «Качество воды. Определение адсорбируемых органических галогенов (АОГ)», кроме раздела 2

4 Постановлением Государственного комитета Российской Федерации по стандартизации и метрологии от 21 февраля 2001 г. № 84-ст межгосударственный стандарт ГОСТ 30578-98 (ИСО 9562-89) введен в действие непосредственно в качестве государственного стандарта Российской Федерации с 1 июля 2001 г.

5 ВВЕДЕН ВПЕРВЫЕ

 

СОДЕРЖАНИЕ

1 Область применения. 2

2 Нормативные ссылки. 2

3 Общие требования. 3

3.1 Аппаратура, посуда, реактивы.. 3

3.2 Подготовка активированного угля. 4

3.3 Хранение дистиллированной воды.. 4

3.4 Приготовление исходного раствора азотнокислого натрия. 4

3.5 Приготовление раствора азотнокислого натрия для промывания. 4

3.6 Приготовление калибровочного раствора хлористоводородной кислоты.. 4

3.7 Построение градуировочного графика микрокулонометра. 4

3.8 Проведение испытания холостой пробы.. 5

4 Метод определения содержания АОГ в беленой целлюлозе. 5

4.1 Сущность метода. 5

4.2 Отбор проб. 5

4.3 Подготовка проб. 5

4.4 Проведение испытаний. 6

4.5 Обработка результатов. 7

4.6 Протокол испытаний. 7

5 Метод определения содержания АОГ в сточной воде. 7

5.1 Сущность метода. 7

5.2 Отбор проб. 8

5.3 Подготовка пробы сточной воды.. 8

5.4 Проведение испытаний. 8

5.5 Обработка результатов. 8

5.6 Протокол испытаний. 9

ГОСТ 30578-98
(ИСО 9562-89)

МЕЖГОСУДАРСТВЕННЫЙ СТАНДАРТ

Целлюлоза беленая и сточные воды целлюлозно-бумажного производства

ОПРЕДЕЛЕНИЕ АДСОРБИРОВАННЫХ ОРГАНИЧЕСКИХ ГАЛОГЕНОВ

Общие требования и методы анализа

Bleached cellulose and pulp mill sewage. Determination of adsorbable organic halogens (AOH).
General requirements and methods of analysis

Дата введения 2001-07-01

1 Область применения

Настоящий стандарт распространяется на беленую целлюлозу и сточные воды предприятий целлюлозно-бумажной промышленности и устанавливает методы определения содержания в них адсорбированных органических галогенов (АОГ) и общие требования к ним.

2 Нормативные ссылки

В настоящем стандарте использованы ссылки на следующие стандарты:

ГОСТ 83-79 Натрий углекислый. Технические условия

ГОСТ 246-76 Гидросульфит натрия технический. Технические условия

ГОСТ 1770-74 Посуда мерная лабораторная стеклянная. Цилиндры, мензурки, колбы, пробирки. Общие технические условия

ГОСТ 3118-77 Кислота соляная. Технические условия

ГОСТ 3758-75 Алюминий сернокислый 18-водный. Технические условия

ГОСТ 4168-79 Натрий азотнокислый. Технические условия

ГОСТ 4461-77 Кислота азотная. Технические условия

ГОСТ 6709-72 Вода дистиллированная. Технические условия

ГОСТ 7328-82 Меры массы общего назначения и образцовые. Технические условия

ГОСТ 8711-93 (МЭК 51-2-84) Приборы аналоговые показывающие электроизмерительные прямого действия и вспомогательные части к ним. Часть 2. Особые требования к амперметрам и вольтметрам

ГОСТ 9147-80 Посуда и оборудование лабораторные фарфоровые. Технические условия

ГОСТ 12523-77 Целлюлоза, бумага, картон. Метод определения величины рН водной вытяжки

ГОСТ 16932-93 Целлюлоза. Определение содержания сухого вещества

ГОСТ 19318-73 Целлюлоза. Подготовка проб к химическим анализам

ГОСТ 19908-90 Тигли, чашки, стаканы, колбы, воронки, пробирки и наконечники из прозрачного кварцевого стекла. Общие технические условия

ГОСТ 23932-90 Посуда и оборудование лабораторные стеклянные. Общие технические условия

ГОСТ 24104-88 Весы лабораторные общего назначения и образцовые. Общие технические условия

ГОСТ 29169-91 (ИСО 648-77) Посуда лабораторная стеклянная. Пипетки с одной отметкой

ГОСТ 29227-91 (ИСО 835-1-81) Посуда лабораторная стеклянная. Пипетки градуированные. Часть 1. Общие требования

3 Общие требования

3.1 Аппаратура, посуда, реактивы

3.1.1 Весы лабораторные общего назначения с наибольшим пределом взвешивания 200 г и погрешностью взвешивания не более 0,0001 г по ГОСТ 24104. Набор гирь 12-220 по ГОСТ 7328.

3.1.2 Микрокулонометр - интегратор кулонометрический ИПТ-1.04.1 обеспечивает измерение количества электричества в диапазоне от 1´10-5 до 1´103 Кл на двух восьмиразрядных индикаторах раздельно для положительного и отрицательного значений.

Основная относительная погрешность измерения количества электричества по аналоговому выходу должна быть не более ±0,5 %.

3.1.3 Источник постоянного тока типа Б5-45А.

3.1.4 Магазин сопротивлений типа Р-315-П.

3.1.5 Миллиамперметр с наибольшим пределом измерения 110 мА по ГОСТ 8711.

3.1.6 Платиновые электроды типа ЕРТ 3.

3.1.7 Фарфоровая лодочка ЛС-2 по ГОСТ 9147.

3.1.8 Посуда лабораторная мерная стеклянная по ГОСТ 1770 вместимостью:

- колбы мерные 100 и 1000 см3;

- цилиндр мерный 50 см3.

3.1.9 Пипетки без деления вместимостью 1 - 25 см3 по ГОСТ 29169.

3.1.10 Пипетки градуированные вместимостью 1 см3 по ГОСТ 29227.

3.1.11 Стаканы вместимостью 50, 100 см3 по ГОСТ 19908.

3.1.12 Вода дистиллированная по ГОСТ 6709.

3.1.13 Кислота хлористоводородная по ГОСТ 3118, ч.д.а., концентрацией 0,100 моль/дм3.

3.1.14 Натрий азотнокислый по ГОСТ 4168, ч.д.а.

3.1.15 Кислота азотная по ГОСТ 4461, ч.д.а., плотностью 1,4 г/см3, с массовой долей основного вещества 65 %.

3.1.16 Активированный уголь по действующему НД.

3.1.17 Алюминий сернокислый по ГОСТ 3758.

3.1.18 Натрий углекислый по ГОСТ 83.

3.1.19 Полиакриламид - гель технический по действующему НД.

3.1.20 Аппарат для определения содержания АОГ в органических веществах (4.4.1).

3.1.21 Мембранные фильтры типа МФА-МА № 4.

3.1.22 Эксикатор, колба Бунзена, бюксы, насос водоструйный по ГОСТ 23932.

3.2 Подготовка активированного угля

Активированный уголь, использующийся для очистки дистиллированной воды, порциями по 50 мг промывают 50 см3 раствора азотнокислого натрия, встряхивая его в этом растворе в течение 1 ч. Этого количества угля достаточно для очистки 100 см3 дистиллированной воды от хлоридов.

Соответственно необходимому количеству дистиллированной воды очищают необходимое количество активированного угля. Через час промывочный раствор отфильтровывают через мембранный фильтр (3.1.21). При хранении активированный уголь герметично закрывают. Уголь становится неактивным через 5 сут.

3.3 Хранение дистиллированной воды

Дистиллированную воду хранят в стеклянной посуде над активированным углем (3.2) не менее 1 сут и используют в дальнейшем для приготовления растворов и заполнения абсорбционного аппарата.

3.4 Приготовление исходного раствора азотнокислого натрия

Навеску азотнокислого натрия массой 17 г растворяют в дистиллированной воде в мерной колбе вместимостью 1000 см3, прибавляют 1,4 см3 азотной кислоты плотностью 1,4 г/см3 с массовой долей основного вещества 65 % и разбавляют до метки дистиллированной водой (3.3).

3.5 Приготовление раствора азотнокислого натрия для промывания

50 см3 исходного раствора азотнокислого натрия (3.4) помещают в мерную колбу вместимостью 1000 см3 и разбавляют дистиллированной водой (3.3) до 1000 см3.

3.6 Приготовление калибровочного раствора хлористоводородной кислоты

1 см3 стандартного раствора хлористоводородной кислоты с концентрацией 0,100 моль/дм3 (3.1.13) разбавляют до объема 100 см3 в мерной колбе дистиллированной водой (3.3). Концентрация калибровочного раствора составляет 0,001 моль/дм3.

Рисунок 1 - Градуировочный график микрокулонометра

3.7 Построение градуировочного графика микрокулонометра

Перед проведением испытаний для проверки настройки микрокулонометра (определение коэффициента а) строят градуировочный график (общий вид графика приведен на рисунке 1). При построении его используют калибровочный раствор хлористоводородной кислоты концентрации 0,001 моль/дм3 (3.6). Ячейку с электродами заполняют 100 см3 дистиллированной воды (3.3). Затем в эту ячейку последовательно вводят (1, 2, 3, 4, 5, 6, 7, 8, 9 и 10) 10 см3 калибровочного раствора хлористоводородной кислоты концентрации 0,001 моль/дм3 (3.6) и измеряют электрический заряд, перенесенный в каждом случае.

Добавляя новую порцию кислоты, раствор в ячейке не меняют.

По полученным данным строят прямую регрессии.

Измеренное значение перенесенного электрического заряда Q, Кл, определяют по формуле

Q = aQt + b,                                                              (1)

где а - коэффициент наклона прямой регрессии;

Qt - теоретическое значение перенесенного электрического заряда, Кл;

b - значение ординаты в точке пересечения с прямой регрессии, Кл; b = N0.

Теоретическое значение электрического заряда Qt, Кл, определяют по формуле

Qt = VCClF,                                                              (2)

где V - объем раствора хлористоводородной кислоты, дм3;

CCl - концентрация ионов хлора в калибровочном растворе хлористоводородной кислоты, моль/дм3;

F - постоянная Фарадея, равная 96487 Кл/моль.

Коэффициент наклона прямой регрессии а определяют по формуле

                                                                  (3)

3.8 Проведение испытания холостой пробы

Перед проведением испытаний проводят контрольный опыт по определению суммарного содержания органически связанного хлора в дистиллированной воде и активированном угле, а также во флокулянтах и вспомогательных материалах, если последние используются при подготовке пробы сточной воды к испытаниям.

Для этого 100 см3 дистиллированной воды смешивают с 50 мг активированного угля, добавляют 5,0 см3 промывочного раствора азотнокислого натрия (3.5) и встряхивают в течение 1 ч. Затем отфильтровывают промытый уголь, не отсасывая досуха, и определяют содержание органически связанного хлора (раздел 4).

4 Метод определения содержания АОГ в беленой целлюлозе

4.1 Сущность метода

Сущность метода определения массы АОГ в 1 г беленой целлюлозы заключается в сжигании образца в аппарате для определения массовой доли галогенов в органических веществах при температуре 900 - 1000 °С, поглощении дистиллированной водой хлористого водорода, образующегося в процессе сжигания, и измерении электрического заряда, перенесенного ионами хлора.

4.2 Отбор проб

Отбор проб целлюлозы осуществляют по ГОСТ 19318.

4.3 Подготовка проб

4.3.1 От каждого листа объединенной пробы вырезают образцы так, чтобы их общая масса была не менее 40 г.

4.3.2 Отобранные образцы воздушно-сухой целлюлозы измельчают на кусочки размером не более 2´3 мм и перемешивают.

4.3.3 Подготовленную пробу хранят в бюксах в эксикаторе. Влажность воздушно-сухой целлюлозы определяют по ГОСТ 16932. Пробу взвешивают с погрешностью не более 0,0001 г.

4.4 Проведение испытаний

4.4.1 Сжигание образца целлюлозы (или активированного угля (3.8)) осуществляют в аппарате для определения содержания галогенов в органических веществах.

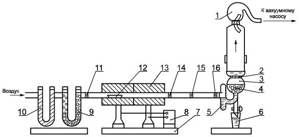
Схема аппарата приведена на рисунке 2. Конструкция аппарата состоит из трех частей:

1 - каплеулавливатель; 2 - перфорированная пластина; 3 - аппарат для абсорбции; 4 - стеклянные шарики; 5 - поглотительная жидкость; 6 - стакан для приема пробы; 7 - подставка для печи; 8 - реостат для регулирования температуры печи; 9, 10 - поглотительные трубки для очистки воздуха до сжигания образца; 11 - кварцевая трубка для сжигания; 12 - фарфоровая лодочка для помещения образца; 13 - печь для нагрева трубки (муфельная печь); 14 - перфорированная кварцевая пластина; 15, 16 - фильтрующие кварцевые пластины

Рисунок 2 - Схема аппарата для определения содержания АОГ

- кварцевой трубки 11 диаметром 2 - 3 см, в которой проводят сжигание образцов в потоке воздуха;

- аппарата для абсорбции 3 из боросиликатного стекла, в котором определяемые вещества полностью адсорбируются за счет перехода в ионогенное состояние, и каплеулавливателя 1 из стекла такого же типа, обладающего хорошей хемо- и термостойкостью;

- поглотительных U-образных трубок 9 и 10, заполненных сухим едким натром 9 и стеклянной ватой 10 для очистки воздуха, поступающего для сжигания образца.

В центре кварцевой трубки предусмотрены три наплавленные вставки (пластины) в направлении потока воздуха:

- перфорированная кварцевая пластина 14 для улучшения перемешивания паров, образуемых при сжигании, с воздухом;

- кварцевая фильтрующая пластина 15 для задержания пламени при горении образца целлюлозы;

- кварцевая фильтрующая пластина 16 для задержания сажи, образующейся вследствие недостатка кислорода, и защиты абсорбционной установки от вспыхивания анализируемого образца.

4.4.2 Из подготовленной воздушно-сухой целлюлозы берут навеску массой 200 мг (по массе абсолютно сухого волокна). Навеску помещают в фарфоровую лодочку 12 и вводят в кварцевую трубку 11. Этот конец трубки герметически закрывают, соединяя ее с очистителями воздуха 9 и 10. Второй конец трубки соединяют с абсорбционным аппаратом 3. Предварительно в нижнюю часть аппарата, заполненную стеклянными шариками 4, заливают 50 см3 дистиллированной воды (стеклянные шарики должны быть полностью покрыты водой). В верхнюю часть аппарата (над перфорированной пластиной 2) заливают 20 - 25 см3 дистиллированной воды. Этот слой воды выполняет функцию допоглощения газов, выделяющихся при сжигании образца.

Включают водоструйный насос, регулируя скорость прохождения воздуха через воду со стеклянными шариками до 4 - 6 пузырьков в секунду.

Затем включают муфельную печь 13 и, когда температура достигает 900 - 1000 °С, увеличивают скорость прохождения воздуха через воду со стеклянными шариками до 7 - 10 пузырьков в 1 с, регулируя работу водоструйного насоса так, чтобы избежать быстрого сгорания образца.

Образец при сжигании склонен к образованию вспышек, поэтому необходимо так регулировать поток воздуха, чтобы этого не было.

Необходимо следить за полнотой сгорания, чтобы как можно меньше образовывалось сажи. Для этого печь 13 необходимо разогревать медленно, регулируя нагрев реостатом 8.

Быстрое сжигание при сильной подаче воздуха усложняет работу за счет появления трудновоспламеняемых остатков крекинга. Полное сгорание навески массой 200 мг завершается приблизительно в течение 20 мин. После завершения сжигания выключают печь и вакуум-насос.

Из абсорбционного аппарата сливают жидкость в мерный стакан 6 вместимостью 50 см3 и проводят измерение электрического заряда на микрокулонометре.

4.4.3 По окончании выполнения анализа прокаливают кварцевую трубку 11, начиная с переднего края в направлении движения потока воздуха, и удаляют жидкость, скапливающуюся в трубке за камерой сжигания.

4.5 Обработка результатов

4.5.1 Массу адсорбированных АОГ в 1 г целлюлозы QCl, мкг/г, рассчитывают по формуле

                                                        (4)

где N1 - измеренное значение электрического заряда для анализируемой пробы целлюлозы, Кл;

N0 - то же, для холостой пробы, Кл;

т - масса навески образца целлюлозы (абсолютно сухого волокна), г;

М - молярная масса хлорид-иона, мкг/моль; М = 35,45 ∙ 106 мкг/моль;

а - коэффициент наклона прямой регрессии;

F - постоянная Фарадея, равная 96487 Кл/моль.

За результат измерений принимают среднее арифметическое двух параллельных измерений, округленное до 0,01 мкг.

4.5.2 Общая относительная погрешность не превышает ±20 % при доверительной вероятности 0,95.

4.6 Протокол испытаний

4.6.1 Протокол испытаний должен содержать следующую информацию:

- ссылку на настоящий стандарт;

- точное описание пробы целлюлозы;

- результаты испытаний;

- подробности любых отклонений от настоящего стандарта, которые могут повлиять на результат испытаний.

5 Метод определения содержания АОГ в сточной воде

5.1 Сущность метода

5.1.1 Сущность метода определения концентрации АОГ в сточной воде заключается в подкислении пробы воды азотной кислотой до рН 1,5 - 2,0, адсорбции органических соединений, содержащихся в пробе воды, активированным углем, замещении органических галогенов путем промывания угля раствором азотнокислого натрия, сжигании использованного для адсорбции угля в кварцевой трубке (4.4), поглощении образовавшейся хлористоводородной кислоты дистиллированной водой и определении концентрации хлорид-ионов микрокулонометром.

5.2 Отбор проб

Отбор проб сточной воды осуществляют только в стеклянные сосуды в объеме 100 см3, отбирают две параллельные пробы. Сосуд заполняют доверху.

5.3 Подготовка пробы сточной воды

Пробу сточной воды, содержащую окислительные вещества, обрабатывают раствором сульфита натрия (к 100 см3 пробы воды добавляют 5 см3 раствора сульфита натрия по ГОСТ 246 концентрации 0,2 моль/дм3). Отобранная проба должна быть сразу проанализирована. Если хранение неизбежно, то пробу воды необходимо подкислить азотной кислотой (3.1.15) до рН 1,5 - 2,0 и подкисленную пробу хранить при температуре 4 °С, но не более 3 сут. рН определяют по ГОСТ 12523.

Перед проведением испытаний температуру пробы воды необходимо довести до комнатной.

5.4 Проведение испытаний

5.4.1 Пробу сточной воды, подготовленную согласно 5.3, переносят в стакан, добавляют 5 см3 исходного раствора азотнокислого натрия (3.4) и проверяют рН; значение рН должно быть менее 2,0.

При необходимости требуемое значение рН устанавливают добавлением азотной кислоты (3.1.15).

Затем добавляют 50 мг активированного угля (3.2) и суспензию встряхивают в течение 1 ч. Полученную суспензию фильтруют через поликарбонатный мембранный фильтр (3.1.21), используя колбу Бунзена и водоструйный насос.

Осадок на фильтре не следует отсасывать досуха во избежание загрязнения пробы воздухом лаборатории и получения в результате этого завышенных результатов испытаний.

5.4.2 Осадок на фильтре промывается 25 см3 промывочного раствора азотнокислого натрия (3.5), разделенного на несколько порций.

После фильтрования и промывания влажный осадок вместе с фильтром помещают в фарфоровую лодочку для сжигания, которое осуществляют в аппарате, описанном в 4.4.1. Далее испытания проводят по 4.4.2.

Примечание - Если при фильтровании суспензии возникают трудности вследствие образования коллоидов, пробу следует обработать флокулянтами.

Для этого к суспензии при перемешивании добавляют 0,5 см3 водного раствора сернокислого алюминия концентрации 6,3 г/дм3 по ГОСТ 3758.

Добавляя твердый карбонат натрия по ГОСТ 2156, доводят рН суспензии до значения 6,8 - 7,2.

Потом добавляют 0,2 - 0,4 см3 водного раствора полиакриламида в соответствии с действующими НД концентрации 0,2 г/дм3 и продолжают перемешивать непродолжительное время.

Дают отстояться образовавшимся флокулам. Декантируют жидкость, флокулы обрабатывают в соответствии с 5.4.2.

5.5 Обработка результатов

5.5.1 Концентрацию АОГ Q'Cl, мкг/дм3, в пробе воды определяют по формуле

                                                        (5)

где N2 - измеренное значение электрического заряда для анализируемой пробы, Кл;

V - объем пробы сточной воды, использованной для анализа, дм3;

F - постоянная Фарадея, равная 96487 Кл/моль.

Выполняют два параллельных испытания, принимая за результат испытаний среднее арифметическое значение, округленное до целого числа, если результат приведен в микрограммах на кубический дециметр, или до 0,1, если результат приведен в миллиграммах на кубический дециметр.

5.5.2 Коэффициент вариации составляет 4,3 % при доверительной вероятности 0,95.

5.6 Протокол испытаний

5.6.1 Протокол испытаний должен содержать следующую информацию:

- ссылку на настоящий стандарт;

- точное описание пробы воды;

- описание процесса адсорбции (использование флокулянтов);

- результат испытаний;

- подробности любых отклонений от настоящего стандарта, которые могут повлиять на результат.

 

Ключевые слова: целлюлоза беленая, сточная вода, определение содержания органических галогенов, хлор, микрокулонометр