ГОСТ 21672-99
МЕЖГОСУДАРСТВЕННЫЙ СТАНДАРТ
ИЛЛЮМИНАТОРЫ СУДОВЫЕ
ПРЯМОУГОЛЬНЫЕ
ТЕХНИЧЕСКИЕ УСЛОВИЯ
МЕЖГОСУДАРСТВЕННЫЙ СОВЕТ
ПО СТАНДАРТИЗАЦИИ, МЕТРОЛОГИИ И СЕРТИФИКАЦИИ
Минск
Предисловие
1 РАЗРАБОТАН Украинским государственным научно-исследовательским институтом стандартизации и сертификации в судостроении (ГосНИИСС); Техническим комитетом по стандартизации ТК 15
ВНЕСЕН Государственным комитетом стандартизации, метрологии и сертификации Украины
2 ПРИНЯТ Межгосударственным Советом по стандартизации, метрологии и сертификации (протокол № 15 от 28 мая 1999 г.)
За принятие проголосовали:
|
Наименование государства |
Наименование национального органа по стандартизации |
|
Азербайджанская Республика |
Азгосстандарт |
|
Республика Армения |
Армгосстандарт |
|
Республика Беларусь |
Госстандарт Республики Беларусь |
|
Республика Казахстан |
Госстандарт Республики Казахстан |
|
Российская Федерация |
Госстандарт России |
|
Туркменистан |
Главгосслужба «Туркменстандартлары» |
|
Украина |
Госстандарт Украины |
3 Постановлением Государственного комитета Российской Федерации по стандартизации и метрологии от 8 августа 2001 г. № 323-ст межгосударственный стандарт ГОСТ 21672-99 введен в действие непосредственно в качестве государственного стандарта Российской Федерации с 1 января 2002 г.
4 ВЗАМЕН ГОСТ 21672-82
ГОСТ 21672-99
МЕЖГОСУДАРСТВЕННЫЙ СТАНДАРТ
ИЛЛЮМИНАТОРЫ СУДОВЫЕ ПРЯМОУГОЛЬНЫЕ
Технические условия
Ships
rectangular windows.
Specifications
Дата введения 2002-01-01
Настоящий стандарт распространяется на судовые прямоугольные глухие, створчатые и универсальные иллюминаторы (далее - иллюминаторы), применяемые на надводных судах и плавсредствах.
Стандарт не распространяется на иллюминаторы судов с динамическими принципами поддержания и брызгонепроницаемые иллюминаторы, в том числе с центробежными стеклоочистителями.
Требования настоящего стандарта являются обязательными.
В настоящем стандарте использованы ссылки на следующие стандарты:
ГОСТ 9.014-78 Единая система защиты от коррозии и старения. Временная противокоррозионная защита изделий. Общие требования
ГОСТ 26.020-80 Шрифты для средств измерений и автоматизации. Начертания и основные размеры
ГОСТ 263-75 Резина. Метод определения твердости по Шору А
ГОСТ 2712-75 Смазка АМС. Технические условия
ГОСТ 2991-85 Ящики дощатые неразборные для грузов массой до 500 кг. Общие технические условия
ГОСТ 9424-79 Стекла закаленные для судовых иллюминаторов. Технические условия
ГОСТ 10198-91 Ящики деревянные для грузов массой св. 200 до 20000 кг. Общие технические условия
ГОСТ 14192-96 Маркировка грузов
ГОСТ 15150-69 Машины, приборы и другие технические изделия. Исполнения для различных климатических районов. Категории, условия эксплуатации, хранения и транспортирования в части воздействия климатических факторов внешней среды
ГОСТ 18477-79 Контейнеры универсальные. Типы, основные параметры и размеры
ГОСТ 24597-81 Пакеты тарно-штучных грузов. Основные параметры и размеры
ГОСТ 24634-81 Ящики деревянные для продукции, поставляемой для экспорта. Общие технические условия.
3.1 Стандарт устанавливает три вида иллюминаторов: глухие, створчатые и универсальные. В зависимости от выдерживаемого расчетного давления глухие и створчатые иллюминаторы подразделяют на тяжелые (Е) и легкие (F).
3.2 Исполнения иллюминаторов и их условные обозначения приведены в таблице 1.
Таблица 1
|
Исполнение |
Условное обозначение исполнения |
|||||
|
Направление открывания рамы |
Способ крепления |
при креплении болтами |
при креплении сваркой |
|||
|
болтами |
сваркой |
|||||
|
Глухой (NO) |
- |
В |
W |
NOB |
NOW |
|
|
Створчатый |
Внутрь (J) |
влево (L) |
JLB |
JLW |
||
|
вправо (R) |
JRB |
JRW |
||||
|
вверх (Т) |
JTB |
JTW |
||||
|
Универсальный (NU) |
- |
- |
NUB |
- |
||
|
Примечание - По требованию потребителя на иллюминаторы могут быть установлены затемнительные и солнцезащитные щитки. Типы применяемых для иллюминаторов щитков и их условные обозначения приведены в приложении А. |
||||||
3.3 Номинальные размеры иллюминаторов приведены в таблице 2.
За номинальный размер иллюминатора приняты его размеры на просвет по ширине (В) и высоте (H).
Таблица 2
|
Номинальный размер В´H |
Номер иллюминатора |
Номинальный размер В´H |
|
|
2 |
355´500 |
6 |
800´560 |
|
3 |
400´560 |
9 |
1100´800 |
|
5 |
500´710 |
9а* |
1120´800 |
|
* Только для стальных глухих иллюминаторов с двумя электрообогревными стеклами. Примечание - Значение В для иллюминаторов 9а определяется как сумма двух значений B3 = 560 мм (рисунок 6). Необходимость применения стальных глухих иллюминаторов с двумя электрообогревными стеклами должна быть согласована с заказчиком судна. |
|||
3.4 Основные элементы иллюминаторов должны соответствовать рисункам 1 - 3.
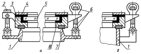
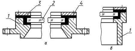
а - крепление болтами; б - крепление сваркой; 1 - корпус; 2 - стекло; 3 - герметизирующий материал; 4 - рамка
Рисунок 1 - Глухой иллюминатор

а - крепление болтами; б - крепление сваркой; 1 - корпус; 2 - петля-задрайка (откидной болт, гайка, ось); 3 - рама; 4 - рамка; 5 - стекло; 6 - задрайка (откидной болт, гайка-барашек, ось); 7 - уплотнительная прокладка; 8 - герметизирующий материал
Рисунок 2 - Створчатый иллюминатор
1 - герметизирующий материал; 2 - стекло; 3 - корпус
Рисунок 3 - Универсальный иллюминатор
3.5 Основные параметры и размеры глухих иллюминаторов указаны на рисунках 4 - 6 и в таблице 3.
Рисунок 4 - Исполнение NOB

Рисунок 5 - Исполнение NOW
Рисунок 6 - Глухой иллюминатор с двумя электрообогревными стеклами, исполнение NOW
Таблица 3
|
B´H |
B1´H1 |
B2´H2 |
R |
R1 |
Толщина стекла S, мм |
Расчетное давление, кПа (кгс/см2), не более |
|||||||
|
Тип Е |
Тип F |
статическое |
кратковременное динамическое |
||||||||||
|
мм |
закаленного |
с электрообогревом |
закаленного |
с электрообогревом |
Тип Е |
Тип F |
Тип Е |
Тип F |
|||||
|
2* |
355´500 |
403´548 |
485´630 |
50 |
74 |
10 |
16 |
8 |
- |
71 (0,71) |
45 (0,45) |
142 (1,42) |
90 (0,90) |
|
3* |
400´560 |
448´608 |
530´690 |
12 |
18 |
80 (0,80) |
36 (0,36) |
160 (1,60) |
72 (0,72) |
||||
|
5 |
500´710 |
548´758 |
630´840 |
100 |
124 |
- |
21 |
10 |
- |
- |
|||
|
6* |
800´560 |
848´608 |
930´690 |
15 |
64 (0,64) |
28 (0,28) |
128 (1,28) |
56 (0,56) |
|||||
|
9 |
1100´800 |
1148´848 |
1230´930 |
- |
- |
15 |
21 |
- |
31 (0,31) 62***(0,62) |
- |
62 (0,62) 124***(1,24) |
||
|
9a |
1120´800 |
1218´848 |
- |
- |
21 |
- |
- |
64 (0,64) |
- |
128 (1,28) |
- |
||
Окончание таблицы 3
|
Номер иллюминатора |
Масса иллюминатора, кг, не более |
|||||||
|
стального |
из алюминиевого сплава |
|||||||
|
с закаленным стеклом |
с электрообогревным стеклом |
с закаленным стеклом |
с электрообогревным стеклом |
|||||
|
Тип Е |
Тип F |
Тип Е |
Тип F |
Тип Е |
Тип F |
Тип Е |
Тип F |
|
|
2* |
31,3 |
30,6 |
37,0 |
- |
20,3 |
19,4 |
28,8 |
- |
|
3* |
37,4 (43,7)** |
35,6 (41,9)** |
43,0 (50,3)** |
23,2 |
23,0 |
33,0 |
||
|
5 |
- |
45,7 (54,0)** |
51,5 |
- |
29,7 |
40,5 |
||
|
6* |
78,1 |
73,2 |
84,5 |
46,0 |
40,2 |
55,2 |
||
|
9 |
- |
119,0 (139,2)** |
- |
135,0 |
- |
73,3 |
- |
95,7 |
|
9а |
- |
- |
152,0 |
- |
- |
- |
- |
- |
|
* В иллюминаторах могут быть установлены стекла с защитными свойствами (4.1.4.1). ** Для иллюминаторов с увеличенной высотой корпуса (4.1.4.7). *** Для иллюминаторов, на которых установлена съемная балка (4.1.4.8). |
||||||||
3.6 Основные параметры и размеры створчатых иллюминаторов приведены на рисунках 7 - 10 и в таблице 4.
Рисунок 7 - Исполнение JLB (исполнение JRB - зеркальное отражение)

Рисунок 8 - Исполнение JLW (исполнение JRW - зеркальное отражение)

Рисунок 9 - Исполнение JTB
Рисунок 10 - Исполнение JTW
Таблица 4
|
B´H |
B1´H1 |
B2´H2 |
R |
R1 |
Толщина стекла S, мм |
Расчетное давление, кПа (кгс/см2), не более |
|||||||
|
Тип Е |
Тип F |
статическое |
кратковременное динамическое |
||||||||||
|
мм |
закаленного |
с электрообогревом |
закаленного |
с электрообогревом |
Тип Е |
Тип F |
Тип Е |
Тип F |
|||||
|
2* |
355´500 |
403´548 |
485´630 |
50 |
74 |
10 |
16 |
8 |
- |
71 (0,71) |
45 (0,45) |
142 (1,42) |
90 (0,90) |
|
3* |
400´560 |
448´608 |
530´690 |
12 |
18 |
80 (0,80) |
36 (0,36) |
160 (1,60) |
72 (0,72) |
||||
|
5 |
500´710 |
548´758 |
630´840 |
100 |
124 |
- |
21 |
10 |
- |
- |
|||
|
6* |
800´560 |
848´608 |
930´690 |
15 |
64 (0,64) |
28 (0,28) |
128 (1,28) |
56 (0,56) |
|||||
|
9 |
1100´800 |
1148´848 |
1230´930 |
- |
- |
15 |
21 |
- |
31 (0,31) 62*** (0,62) |
- |
62 (0,62) 124*** (1,24) |
||
Окончание таблицы 4
|
Номер иллюминатора |
Количество креплений, шт., не менее*4 |
Направление открывания рамы |
Масса иллюминатора, кг, не более |
|||||||||||
|
стального |
с корпусом из стали и рамой из алюминиевого сплава |
из алюминиевого сплава |
||||||||||||
|
с закаленным стеклом |
с электрообогревом |
с закаленным стеклом |
с электрообогревом |
с закаленным стеклом |
с электрообогревом |
|||||||||
|
Тип Е |
Тип F |
Тип Е |
Тип F |
Тип Е |
Тип F |
Тип Е |
Тип F |
Тип Е |
Тип F |
Тип Е |
Тип F |
|||
|
2* |
4 |
Влево, вправо |
33,4 |
32,8 |
- |
- |
- |
- |
33,4 |
19,0 |
18,7 |
29,4 |
||
|
3* |
(38,4)** |
(36,6)** |
47,8 |
38,0 |
23,3 |
21,0 |
33,1 |
|||||||
|
5 |
6 |
- |
(48,8)** |
- |
47,1 |
- |
29,2 |
41,1 |
||||||
|
6* |
Вверх |
95,2 |
90,2 |
103,6 |
80,5 |
74,3 |
91,0 |
57,9 |
49,2 |
66,1 |
||||
|
9 |
8 |
- |
(145,0)** |
- |
164,3 |
- |
- |
125,0 |
147,0 |
- |
89,9 |
- |
113,1 |
|
|
* В иллюминаторах могут быть установлены стекла с защитными свойствами (4.1.3.1). ** Для иллюминаторов с увеличенной высотой корпуса (4.1.4.7). *** Для иллюминаторов, на которых установлена съемная балка (4.1.4.8). *4 Количество креплений, включая откидные болты и петли с круглыми отверстиями. |
||||||||||||||
3.7 Основные параметры и размеры универсальных иллюминаторов приведены на рисунке 11 и в таблице 5.
Рисунок 11 - Исполнение NUB
Таблица 5
|
В´H, мм |
B2´Н2, мм |
Масса иллюминатора, кг, не более |
||
|
стального |
из алюминиевого сплава |
|||
|
2 |
355´500 |
445´590 |
8,4 |
6,1 |
|
3 |
400´560 |
480´640 |
9,5 |
7,4 |
3.8 Размеры паза для закаленного стекла в корпусе (раме) иллюминатора приведены на рисунке 12 и в таблице 6.
1 - корпус (рама); 2 - герметизирующий материал; 3 - стекло; 4 - рамка
Рисунок 12
Таблица 6
|
В´Н |
В3´H3 |
Радиус закругления паза |
В4 |
H4 |
Радиус закругления паза |
|
|
мм |
мм |
|||||
|
2 |
355´500 |
376´521 |
60 |
369 - 373 |
514 - 518 |
58 |
|
3 |
400´560 |
421´581 |
414 - 418 |
574 - 578 |
||
|
5 |
500´710 |
521´731 |
110 |
514 - 518 |
724 - 728 |
108 |
|
6 |
800´560 |
821´581 |
814 - 818 |
574 - 578 |
||
|
9 |
1100´800 |
1121´821 |
1114 - 1118 |
814 - 818 |
||
3.9 Размеры рамки для крепления стекла в раме створчатого или в корпусе глухого иллюминатора приведены на рисунке 13.
Рисунок 13
3.10 Крепление рамки должно осуществляться винтами М6. Расстояние между винтами для иллюминаторов типа Е - не более 75 мм, типа F - не более 100 мм.
3.11 Размеры сечения уплотняющей прокладки рамы приведены на рисунке 14.
Рисунок 14
3.12 Условное обозначение иллюминаторов
3.12.1 Схема условного обозначения глухих и створчатых иллюминаторов:

Примеры условного обозначения глухих и створчатых иллюминаторов:
Прямоугольный иллюминатор тяжелого типа с номинальными размерами 355´500 мм, глухой, крепление сваркой, условное обозначение материала составных частей 202, с полированным прозрачным стеклом:
Иллюминатор E2-NOW-202-У1 ГОСТ 21672-99
То же, крепление болтами, условное обозначение материала составных частей 303;
Иллюминатор E2-NOB-303-У1 ГОСТ 21672-99
То же, легкого типа, крепление сваркой, условное обозначение материала составных частей 202:
Иллюминатор F2-NOW-202-У1 ГОСТ 21672-99
Прямоугольный иллюминатор тяжелого типа с номинальными размерами 800´560 мм, створчатый, открывающийся вверх, крепление сваркой, условное обозначение материала составных частей 222, с полированным стеклом, с электрообогревом:
Иллюминатор E6-JTW-222-У4 ГОСТ 21672-99
Прямоугольный иллюминатор тяжелого типа с номинальными размерами 1120´800 мм, глухой, крепление сваркой, условное обозначение материала составных частей 202, с двумя полированными стеклами, с электрообогревом:
Иллюминатор E9a-NOW-202-2У4 ГОСТ 21672-99
3.12.2 Схема условного обозначения универсальных иллюминаторов:

Примеры условного обозначения универсальных иллюминаторов:
Прямоугольный универсальный иллюминатор с номинальными размерами 355´500 мм, крепление болтами, условное обозначение материала составных частей 200, с полированным прозрачным стеклом:
Иллюминатор 2-NUB-200-У1 ГОСТ 21672-99
То же, условное обозначение материала составных частей 300:
Иллюминатор 2-NUB-300-У1 ГОСТ 21672-99
Прямоугольный универсальный иллюминатор с номинальными размерами 400´560 мм, крепление болтами, условное обозначение материала составных частей 200, с полированным прозрачным стеклом:
Иллюминатор 3-NUB-200-У1 ГОСТ 21672-99.
4.1 Характеристики
4.1.1 Требования надежности
4.1.1.1 Средний срок службы иллюминаторов - 25 лет со дня сдачи в эксплуатацию.
4.1.1.2 Средний срок службы иллюминаторов до заводского ремонта - 10 лет.
4.1.1.3 Средний срок сохраняемости изделия:
20 лет с переконсервацией через 5 лет - при условии хранения 2(С) по ГОСТ 15150; 20 лет с переконсервацией через 1 год - при условии хранения 5(ОЖ4) по ГОСТ 15150.
4.1.2 Требования стойкости к внешним воздействиям и живучести
4.1.2.1 Иллюминаторы должны быть устойчивыми к воздействию морской воды, ультрафиолетовых лучей и перепадов температуры от 233 до 339 К (от минус 40 °С до плюс 66 °С). Иллюминаторы, предназначенные для судов, эксплуатируемых круглогодично в Арктическом бассейне, должны быть стойкими к воздействию температуры до 223 К (минус 50 °С).
4.1.2.2 Иллюминаторы должны изготовляться климатического исполнения ОМ категории 1 по ГОСТ 15150.
Примечание - По согласованию с заказчиком для малых судов речного флота допускается изготовлять иллюминаторы исполнения У категории 1 по ГОСТ 15150.
4.1.2.3 Иллюминаторы должны быть прочными при действии расчетных давлений (таблицы 3 и 4) и водонепроницаемыми. Проверка иллюминаторов на механическую прочность и водонепроницаемость проводится предприятием - изготовителем иллюминаторов.
4.1.3 Требования технологичности
4.1.3.1 В иллюминаторах должны устанавливаться стекла по ГОСТ 9424.
По требованию заказчика могут быть установлены стекла с защитными свойствами. Изготовление и поставка таких стекол - по техническим условиям на эти стекла.
4.1.3.2 В иллюминаторах с электрообогревом должны быть установлены электрообогревные стекла, изготовляемые по техническим условиям на конкретный вид стекла.
4.1.3.3 Для герметизации стекол и изготовления уплотнительных прокладок рам следует применять герметизирующие материалы (герметик или резина), устойчивые к воздействию ультрафиолетовых лучей и условиям эксплуатации, указанным в 4.1.2.1.
По согласованию с заказчиком уплотнительные прокладки допускается изготовлять из резины с другими интервалами температур по стандартам и техническим условиям на конкретные марки.
Примечание - Стекла на герметик необходимо устанавливать с равномерным зазором по контуру, не допуская непосредственного контакта стекла с металлом.
4.1.3.4 Твердость резины по Шору должна быть не более 50 единиц по ГОСТ 263 для уплотнительных прокладок рам и 80 единиц - для уплотнительных прокладок стекол.
4.1.3.5 Защитные покрытия металлических деталей иллюминаторов должны соответствовать требованиям стандартов на конкретные покрытия.
Вид и толщина покрытий - по конструкторской документации, утвержденной в установленном порядке.
4.1.3.6 Трущиеся и резьбовые поверхности должны быть покрыты смазкой АМС-3 по ГОСТ 2712.
4.1.4 Конструктивные требования
4.1.4.1 Иллюминаторы должны быть изготовлены в соответствии с требованиями настоящего стандарта и конструкторской документации, утвержденной в установленном порядке.
4.1.4.2 Основные составные части иллюминаторов должны быть изготовлены из материалов, указанных в таблице 7.
Таблица 7
|
Способ крепления |
Материал |
Условное обозначение материала основных составных частей иллюминатора* |
|||
|
корпуса |
рамы |
рамки |
|||
|
Глухой |
Болты |
Алюминиевый сплав |
- |
Алюминиевый сплав |
303 |
|
Сварка |
Сталь |
Сталь |
202 |
||
|
Створчатый |
Болты |
Алюминиевый сплав |
333 |
||
|
Сварка |
Сталь |
222 |
|||
|
Сталь |
Алюминиевый сплав |
233 |
|||
|
Универсальный |
Болты |
- |
200 |
||
|
Алюминиевый сплав |
300 |
||||
|
* Условное обозначение материала: 2 - сталь; 3 - алюминиевый сплав; 0 - составная часть отсутствует. Первая цифра обозначает материал корпуса, вторая - рамы, третья - рамки. |
|||||
Механические характеристики материалов основных составных частей иллюминаторов должны соответствовать таблице 8.
Таблица 8
|
Предел прочности материала детали, мН/м2 (кгс/мм2), не менее |
Относительное удлинение материалов, %, не менее |
||||||||||
|
Вид и тип иллюминатора |
|||||||||||
|
Глухой |
Створчатый |
Универсальный |
Глухой |
Створчатый |
Универсальный |
||||||
|
Е |
F |
Е |
F |
Е |
F |
Е |
F |
||||
|
Корпус |
180 (18,0) |
140 (14,0) |
180 (18,0) |
140 (14,0) |
180 (18,0) |
10 |
3 |
10 |
3 |
10 |
|
|
Рама |
- |
- |
- |
- |
- |
- |
|||||
|
Рамка |
180 (18,0) |
140 (14,0) |
10 |
3 |
|||||||
|
Откидной болт задрайки или петли |
- |
- |
350 (35,0) |
250 (25,0) |
15 |
14 |
|||||
|
Ось задрайки или петли |
250 (25,0) |
180 (18,0) |
14 |
8 |
|||||||
|
Гайка задрайки или петли |
|||||||||||
|
Щиток |
140 (14,0) |
140 (14,0) |
140 (14,0) |
140 (14,0) |
3 |
3 |
3 |
3 |
|||
|
Примечание - В иллюминаторах экспортного исполнения из алюминиевого сплава должны применяться откидные болты и гайки только из нержавеющей стали. |
|||||||||||
4.1.4.4 Петли створчатых иллюминаторов по конструктивному исполнению должны быть одновременно и задраивающими устройствами.
4.1.4.5 Для створчатых иллюминаторов с открыванием рамы вверх при усилии подъема более 200 Н (20 кгс) должно быть предусмотрено подъемное или уравновешивающее устройство.
4.1.4.6 В створчатых иллюминаторах при закрытых рамах уплотнительные прокладки должны быть равномерно прижаты к уплотнительным кромкам корпуса по всему контуру. Деформация прокладок должна быть не менее 1,5 мм. Смещение уплотнительной кромки корпуса иллюминатора от середины уплотняющей прокладки рамы не должно превышать 3 мм.
4.1.4.8 В конструкции иллюминаторов номинальных размеров 1100´800 мм должна быть предусмотрена возможность установки в середине иллюминатора съемной балки. При установке на иллюминатор съемной балки расчетное давление должно быть увеличено вдвое.
4.1.4.9 Предельное отклонение размеров - по конструкторской документации.
4.2 Комплектность
4.2.1 Иллюминаторы следует поставлять комплектно.
4.2.2 В комплект поставки должны входить:
для глухих и створчатых иллюминаторов: иллюминатор в сборе - 1 шт.;
съемная балка (по требованию заказчика) - для иллюминаторов с номинальными размерами 1100´800 мм - 1 шт.;
стопор (для иллюминаторов, открывающихся вверх) - 1 шт.;
комплект запасных инструментов и принадлежностей (ЗИП);
для универсальных иллюминаторов: корпус - 1 шт.; стекло - 1 шт.;
комплект ЗИП.
4.2.3 В комплект ЗИП входят:
стекло (если иллюминатор с обогревом, то электрообогревное стекло) - 1 шт.;
уплотнительная прокладка рамы (для створчатых иллюминаторов) - 1 шт.;
уплотнение стекла (герметик) для универсальных иллюминаторов - 0,3 кг.
Примечания
1 По согласованию с предприятием-потребителем допускается поставлять иллюминаторы без стекол. В этом случае уплотнительные прокладки рамы (стекла) предприятие-изготовитель иллюминаторов поставляет невклеенными в пазы. Стекла, включая предусмотренные комплектом ЗИП, а также герметизирующий материал (при установке стекол на герметик) должны быть заказаны предприятием-потребителем.
2 Исполнения иллюминаторов и их составных частей, входящих в комплект поставки, - согласно действующей конструкторской документации и договору на поставку иллюминаторов.
4.3 Маркировка
4.3.1 Каждый иллюминатор должен иметь маркировку, содержащую:
наименование или товарный знак предприятия-изготовителя;
обозначение основного конструкторского документа;
дату изготовления (месяц, год);
клеймо ОТК предприятия-изготовителя;
условное обозначение иллюминатора.
4.3.2 Каждый иллюминатор, поставляемый на экспорт, должен иметь маркировку, содержащую:
надпись по условиям контракта или «Сделано в ...» (страна - изготовитель изделия);
товарный знак предприятия-изготовителя;
тип иллюминатора (Е или F) - для глухих и створчатых иллюминаторов;
обозначение межгосударственного стандарта, по которому изготовлено изделие;
обозначение основного конструкторского документа;
дату изготовления (месяц, год);
клеймо ОТК предприятия-изготовителя.
4.3.3 Маркировку выполняют ударным способом шрифтом 6-Пр3 по ГОСТ 26.020. Знаки маркировки должны быть четкими и легко читаемыми.
4.3.4 Маркировку наносят непосредственно на изделия. Место нанесения маркировки указывают в конструкторской документации.
4.3.5 Транспортная маркировка ящиков с иллюминаторами, поставляемыми со стеклами, или ящиков только со стеклами для иллюминаторов должна содержать основные, дополнительные и информационные надписи и манипуляционные знаки: «Хрупкое. Осторожно», «Верх», «Беречь от влаги» в соответствии с ГОСТ 14192.
4.4 Упаковка
4.4.1 Негрунтованные поверхности иллюминаторов должны быть законсервированы по варианту временной защиты ВЗ-4 ГОСТ 9.014.
Законсервированные поверхности иллюминаторов должны быть упакованы по варианту внутренней упаковки ВУ-0 ГОСТ 9.014.
4.4.2 Иллюминаторы поставляют без упаковки в контейнерах по ГОСТ 18477 или упаковывают в деревянные ящики с распорками типа I по ГОСТ 10198 или типа III по ГОСТ 2991.
При поставке в контейнерах иллюминаторы устанавливают горизонтально и прочно раскрепляют прокладками, исключающими их перемещение и повреждение при транспортировании.
4.4.3 Ящики, предназначенные для упаковывания иллюминаторов, поставляемых на экспорт, должны соответствовать требованиям ГОСТ 24634.
4.4.4 Иллюминаторы с неустановленными стеклами допускается транспортировать пакетами в сварных металлических каркасах, изготовленных по конструкторским документам, утвержденным в установленном порядке. Размеры пакетов не должны превышать 1240´840´1350 мм (масса брутто пакета - не более 1,25 т) в соответствии с ГОСТ 24597.
4.4.5 Стекла и прокладки упаковывают в соответствии с требованиями ГОСТ 9424 (для закаленных стекол) и действующей нормативной документации.
наименование или товарный знак предприятия-изготовителя;
наименование и обозначение основных конструкторских документов;
количество иллюминаторов в партии;
дату отгрузки (месяц, год);
объем комплекта ЗИП, поставляемого с партией иллюминаторов.
5.2 Детали не должны иметь острых кромок. Сварные швы должны быть зачищены.
5.3 Взаимное расположение глухих и створчатых иллюминаторов общественных и жилых помещений должно обеспечивать возможность безопасной и удобной очистки наружной поверхности стекол.
6.1 Для проверки соответствия иллюминаторов требованиям настоящего стандарта проводят приемосдаточные испытания.
6.2 Иллюминаторы на приемосдаточные испытания предъявляют партиями. Каждая партия должна состоять из иллюминаторов одного и того же типоразмера, одинаковые составные части которых изготовлены из одного и того же материала, с применением одной и той же технологии и поставляемых по одному документу.
Количество изделий в партии не должно превышать 100 шт.
6.3 При приемосдаточных испытаниях сплошному контролю на соответствие требованиям 4.1.4.1, 4.1.4.3 - 4.1.4.5, 4.2.1 - 4.2.3, 4.3.1 - 4.3.5, 5.1 подвергают всю партию и выборочному контролю на соответствие 4.1.4.6, 4.1.4.8, 4.1.4.9 - по 5 % иллюминаторов от партии, но не менее чем два иллюминатора, в том числе и на соответствие 4.1.2.3 в части водонепроницаемости иллюминаторов.
Примечание - Универсальные иллюминаторы на соответствие требованиям 4.1.2.3, 4.1.4.3 - 4.1.4.6 и 4.1.4.8 не проверяют.
6.4 Средний срок службы, средний срок сохраняемости иллюминаторов по 4.1.1.1 - 4.1.1.3, требования стойкости к внешним воздействиям и живучести по 4.1.2.1, 4.1.2.2 обеспечиваются выбором материала, защитных покрытий и конструкции иллюминаторов, а также контролем качества примененных материалов, периодическим обновлением покрытий и смазки трущихся поверхностей, заменой уплотнительных прокладок и контролем соответствия допустимых сроков хранения иллюминаторов.
6.5 Результаты приемосдаточных испытаний считают положительными, если иллюминаторы соответствуют требованиям, изложенным в 6.3.
Если при приемосдаточных испытаниях обнаружены иллюминаторы, не соответствующие требованиям настоящего стандарта, партию возвращают для разбраковывания и устранения дефектов.
После разбраковывания и устранения дефектов проводят повторные испытания на удвоенной выборке от партии.
Результаты повторных испытаний распространяют на всю партию.
Иллюминаторы, не отвечающие требованиям стандарта, бракуют.
6.6 Три образца от первой партии серийно изготовленных иллюминаторов должны быть испытаны предприятием-изготовителем на механическую прочность, на соответствие 4.1.2.3.
Если при испытаниях на механическую прочность обнаружены иллюминаторы, не соответствующие требованиям 4.1.2.3, партию возвращают для разбраковывания и устранения дефектов.
После разбраковывания и устранения дефектов проводят повторные испытания. Результаты повторных испытаний распространяются на всю партию.
6.7 Для проверки водонепроницаемости отбирают 10 % иллюминаторов от партии, но не менее двух. Если при испытаниях на водонепроницаемость обнаружены иллюминаторы, не соответствующие требованиям 4.1.2.3, испытаниям подвергают удвоенное количество иллюминаторов из этой же партии.
Если при повторных испытаниях обнаружены иллюминаторы, не соответствующие требованиям 4.1.2.3, испытаниям подвергают все иллюминаторы. Результаты этих испытаний распространяются на всю партию.
Примечание - По согласованию с заказчиком и органами технического надзора испытания иллюминаторов на водонепроницаемость могут не проводиться.
6.8 Соответствие иллюминаторов требованиям, установленным в 4.1.3.4, 4.1.3.5, 4.1.4.2, 4.1.4.8, проверяют при проведении операционного контроля.
Примечание - Универсальные иллюминаторы на соответствие 4.1.3.4 не проверяют.
6.9 Иллюминаторы подлежат приемке ОТК и представителем Морского Регистра судоходства.
7.1 Конструкция и размеры по 3.3, 4.1.4.1, 4.1.4.3, 4.1.4.8, 4.1.4.9, 4.4.4 контролируются сличением с конструкторской документацией и проверкой размеров с помощью измерительных средств, обеспечивающих требуемую точность.
7.2 Контроль марок применяемых материалов по 4.1.3.1 - 4.1.3.4, 4.1.4.2 проводят по документам качества или по данным лабораторных испытаний и анализа предприятия-изготовителя.
7.3 Контроль внешнего вида иллюминаторов по 3.2, 4.1.4.6, 4.1.4.7, 5.1, 5.2, комплектности по 4.2.1 - 4.2.4, маркировки по 4.3.1 - 4.3.5 проводят визуальным осмотром. Контроль упаковки по 4.4.5, 4.4.6 проводят сличением с действующей конструкторской и нормативной документацией.
7.4 Массу иллюминаторов по 3.4 - 3.8 контролируют взвешиванием на весах среднего класса точности по ГОСТ 29329 с ценой деления не более 0,2 кг.
7.5 Равномерность прилегания уплотнительных прокладок рам по 4.1.4.6 проверяют по меловому отпечатку:
на уплотнительную кромку корпуса наносят слой мела, излишки мела удаляют;
обжимают резину на глубину не более 1 мм.
Меловой отпечаток должен быть в центре уплотняющей прокладки с учетом поля допуска. Разрыв мелового отпечатка не допускается.
7.6 Усилие открывания - закрывания по 4.1.4.5 проверяют на вертикально установленном иллюминаторе пружинным динамометром ДПУ-0, 1-2, 1-го класса точности по ГОСТ 13837.
Динамометр прикрепляют перпендикулярно к плоскости стекла в середине стороны рамы иллюминатора, противоположной петлям-задрайкам.
7.7 Контроль среднего срока службы, среднего срока сохраняемости по 4.1.1.1 - 4.1.1.3, а также требований стойкости к внешним воздействиям по 4.1.2.1, 4.1.2.2 проводят сравнением данных по материалам, защитным покрытиям и конструкции изготовленных иллюминаторов и их составных частей и деталей с данными, указанными в конструкторской документации на их изготовление, с целью подтверждения соответствия конструкции, материала, вида, толщины и качества защитного покрытия требованиям сохраняемости, данным для иллюминаторов, указанным в этой конструкторской и нормативной документации.
7.8 Качество нанесения защитных покрытий и консервационной смазки по 4.1.3.5, 4.1.3.6 проверяют внешним осмотром. Покрытия должны быть равномерными, сплошными. Вариант временной защиты негрунтованных поверхностей иллюминатора, а также упаковку иллюминаторов по 4.4.1, 4.4.2 проверяют сличением с конструкторской документацией и визуальным осмотром.
7.9 Иллюминаторы на механическую прочность и водонепроницаемость проверяет предприятие-изготовитель.
Иллюминатор устанавливают на стенд и закрепляют в рабочем положении. В камере стенда постепенно, со скоростью не более 45 кПа (0,45 кгс/см2) в минуту, механическим или ручным насосом создают испытательное давление, измеряемое манометром класса точности 1,5 - 2,5 с пределом измерения не менее 1,5 испытательного давления.
7.10 На механическую прочность по 4.1.2.3 иллюминаторы проверяют давлением, превышающим в 1,25 раза расчетное, указанное в таблицах 3 и 4, не более 3 мин, но не менее 5 с.
7.11 Иллюминатор считают прочным, если после сброса давления в его конструкции не будет остаточных деформаций (смятия витков резьбы, искривления болтов и осей) и разрушений.
7.12 Иллюминаторы с установленными стеклами проверяют на водонепроницаемость по 4.1.2.3 поливанием струей воды из брандспойта с выходным отверстием диаметром не менее 16 мм,
расположенного на расстоянии не более 3 м от вертикально установленного на стенде иллюминатора, с напором воды в шланге 200 кПа (2,0 кгс/см2).
7.13 Иллюминатор считают водонепроницаемым, если на его контрольной поверхности при испытании в течение 3 мин не будут обнаружены течи в виде струй и капель.
8.1 Транспортирование иллюминаторов в таре и пакетами должно осуществляться транспортом любого вида (железнодорожным, воздушным, автомобильным, водным). Иллюминаторы в контейнерах транспортируют железнодорожным, автомобильным и водным транспортом.
Транспортирование иллюминаторов любым из перечисленных видов транспорта производят в соответствии с правилами перевозок и техническими условиями погрузки и крепления грузов, действующими на транспорте данного вида, при соблюдении условий хранения 5 (ОЖ4) и 8 (ОЖ3) по ГОСТ 15150.
Вид отправки указывает предприятие-изготовитель иллюминаторов в зависимости от объема отправляемой партии.
8.2 При транспортировании иллюминаторов контейнерами (или пакетами) к каждому из них должен быть жестко прикреплен ярлык, на котором несмываемой краской должна быть нанесена транспортная маркировка, предусмотренная 4.3.5.
8.3 Иллюминаторы должны храниться изготовителем и потребителем на складах закрытого типа по группе 2 (С) ГОСТ 15150.
9.1 Виды и объемы технического обслуживания в процессе эксплуатации иллюминаторов - в соответствии с действующей нормативной документацией.
9.2 Монтаж иллюминаторов на судне выполняют в соответствии с требованиями действующей нормативной документации, устанавливающей типовые технологические процессы монтажа иллюминаторов на судне, а также требованиями конструкторской документации, устанавливающей конструктивно-монтажные узлы крепления иллюминаторов.
10.1 Изготовитель гарантирует соответствие иллюминаторов требованиям настоящего стандарта при соблюдении потребителем условий транспортирования и хранения, монтажа и эксплуатации.
10.2 Гарантийный срок эксплуатации иллюминаторов - 14 мес.
При этом гарантийный срок эксплуатации иллюминаторов должен быть не менее гарантийного срока эксплуатации судна.
10.3 Гарантийный срок эксплуатации иллюминаторов, поставляемых на экспорт, - 24 мес. с момента их проследования через государственную границу государства - изготовителя (поставщика) иллюминаторов.
(рекомендуемое)
А.1 Щитки могут изготовляться четырех типов (рисунки А.1 - А.4):
I - затемнительные для глухих и створчатых иллюминаторов размерами на просвет 800´560 мм и менее;
II - затемнительные для универсальных иллюминаторов;
III - солнцезащитные поворотные для глухих и створчатых иллюминаторов размерами на просвет 355´500 мм, 400´560 мм, 800´560 мм и 1100´800 мм;
IV - солнцезащитные закладные для глухих и створчатых иллюминаторов всех типоразмеров.
1 - щиток; 2 - защелка; 3 - винт; 4 - прокладка
Рисунок А.1 - Тип I

1 - щиток; 2 - прокладка; 3 - защелка; 4 - винт; 5 - гайка
Рисунок А.2 - Тип II

1 - штанга; 2 - кронштейн; 3 - органическое стекло
Рисунок А.3 - Тип III
1 - защелка; 2 - рамка щитка; 3 - прокладка; 4 - винт; 5 - заклепка; 6 - органическое цветное стекло
Рисунок А.4 - Тип IV
СОДЕРЖАНИЕ
|
3 Типы, основные параметры и размеры.. 2 8 Транспортирование и хранение. 17 |
Ключевые слова: прямоугольный иллюминатор, глухой, створчатый, универсальный иллюминатор, корпус, рама, рамка, стекло, уплотнительная прокладка, задрайка