ВСЕСОЮЗНЫЙ НАУЧНО-ИССЛЕДОВАТЕЛЬСКИЙ ИНСТИТУТ
ТРАНСПОРТНОГО СТРОИТЕЛЬСТВА
МЕТОДИЧЕСКИЕ УКАЗАНИЯ
ПО ОЦЕНКЕ МЕСТНОЙ УСТОЙЧИВОСТИ
ОТКОСОВ И ВЫБОРУ
СПОСОБОВ ИХ УКРЕПЛЕНИЯ В РАЗЛИЧНЫХ ПРИРОДНЫХ
УСЛОВИЯХ
Москва 1970
Настоящие Методические указания разработаны ЦНИИСом и Союздорнии в развитие соответствующих разделов глав СНиП II-Д.1-62 и II-Д.5-62, «Технических условий сооружения железнодорожного земляного полотна» (СН 61-59), «Инструкции по сооружению земляного полотна автомобильных дорог» (ВСН 97-63) и проекта «Указаний по проектированию земляного полотна железных и автомобильных дорог».
Методические указания целесообразно использовать при проектировании земляного полотна на стадии проектного задания для более полного выявления объемов и сметной стоимости работ по укреплению откосов и обеспечению их местной устойчивости.
Рекомендации Методических указаний в части проектирования противодеформационных мероприятий могут быть применены также к откосам, подверженным деформациям в условиях эксплуатации земляного полотна.
Методические указания в основное следует применять при проектировании мероприятий по обеспечению местной устойчивости откосов выемок. Однако при необходимости основные положения Методических указаний могут быть использованы при оценке местной устойчивости откосов насыпей, а также в случаях, когда требуется определить устойчивость поверхностного укрепления против размыва и сползания по контакту с минеральным грунтом. Вопросы общей и местной устойчивости откосов в грунтах особых разновидностей (лессы в районах засушливого климата, многолетнемерзлые грунты и т.д.) не рассматриваются.
Методические указания составили кандидаты техн. наук П. Г. Пешков (ЦНИИС), В. Д. Казарновский (Союздорнии) и инженеры А. Ф. Флорова, Л. Л. Апполонов (ЦНИИС), Ю. М. Львович и В. И. Рувинский (Союздорнии) с учетом результатов исследований, проведенных ЦНИИСом в 1953 - 60 гг. (В. П. Титов, В. И. Грицык, П. И. Минин), результатов обследования состояния откосов земляного полотна, проведенного Киевгипротрансом, Ленгипротрансом, Сибгипротрансом, Томгипротрансом, Мосгипротрансом и Киевским филиалом Союздорпроекта в 1967 г., а также материалов представленных Г. Д. Михайловым (СибЦНИИС) и Н. П. Затенацкой (ПНИИС).
Указания откорректированы в соответствии с замечаниями Ленгипротранса, Киевгипротранса, Союздорпроекта и ЦНИИ МПС.
ЗАМЕСТИТЕЛЬ ДИРЕКТОРА ИНСТИТУТА (А. СМОЛЬЯНИНОВ)
РУКОВОДИТЕЛЬ ОТДЕЛЕНИЯ ЗЕМЛЯНОГО
ПОЛОТНА И ВЕРХНЕГО СТРОЕНИЯ ПУТИ (Б. ЦВЕЛОДУБ)
Основные формы нарушения местной устойчивости в зависимости от причин и условий их образования приведены в табл. 1.
Таблица 1
Основные формы нарушения местной устойчивости
|
Причины |
Условия образования |
|
|
Оползания и сплывы откосов |
Физико-химическое выветривание и избыточное увлажнение |
Откосы, сложенные глинистыми грунтами, не устойчивыми к физико-химическому выветриванию |
|
Эрозионные деформации |
Дождевые осадки и поверхностные воды |
Неукрепленные откосы, сложенные малосвязными и водонеустойчивыми грунтами |
|
Механическая суффозия и выносы грунта |
Грунтовые воды |
Откосы, сложенные супесчаными и песчаными грунтами, в случае выхода водоносных горизонтов |
Начальными формами нарушения местной устойчивости могут быть трещины по бровке и поверхности откоса, срывы укрепления, незавершенные оплывы, которые могут служить очагами дальнейшего развития деформаций.
Сплывы откосов возникают вследствие снижения прочности грунтов под влиянием физико-химического выветривания и избыточного увлажнения. Они проявляются обычно в виде смещения слоев грунта мощностью 0,4 - 0,8 м в неблагоприятное по погодным условиям время года (весной при оттаивании грунта, осенью и летом после затяжных или ливневых дождей и т.д.).
Основными процессами физико-химического выветривания, ведущими к снижению прочности грунта в поверхностных слоях откоса, следует считать:
промерзание и оттаивание грунтов;
набухание и усадку грунтов при изменении влажности под действием климатических факторов (испарения, осадков, промерзания);
диффузионное выщелачивание, вынос, перенос и отложение солей водой инфильтрующихся осадков и грунтовой водой;
окисление минералов и соединений в грунте кислородом воздуха и инфильтрующейся водой.
В результате протекания этих процессов изменяются состав (главным образом агрегатный и обменных катионов), состояние (структура, плотность, влажность), воднофизические свойства (водопроницаемость, характерные влажности и т.д.) и прочность грунта.
Рис. 1. Схема образования зон активного выветривания в откосе после его сооружения
В первые годы после сооружения земляного полотна процессы выветривания вызывают необратимые изменения свойств грунта, что затрудняет прогнозирование последних при инженерно-геологических изысканиях. Накопление необратимых изменений во времени происходит с постепенно затухающей интенсивностью. Характер и величина изменений состава, состояния и свойств грунта зависит от степени изменения условий его залегания. Если до сооружения выемки выделить зоны сезонного промерзания А (рис. 1), сезонного изменения влажности Б и толщу грунтов постоянного состава и состояния В (скорость изменения определяется геологическими процессами), после образования откоса интенсивность изменения свойств и состояния грунта будет особенно велика у подошвы (зона I), уменьшаясь по высоте откоса (зоны II и III).
В особо невыгодных условиях оказываются грунты подошвенной части откоса, где наблюдаются повышенная влажность, концентрация касательных напряжений и накопление диспергирующих грунт водно-растворимых солей, вынесенных с верхних горизонтов.
Характер изменения свойств и состояния грунта в насыпях зависит от степени изменения условий залегания после перемещения грунта из карьера или резерва в откос и от уплотнения грунта откосной части.
Часто наблюдаемые на откосах насыпей и выемок срывы поверхностного укрепления объясняются значительным водонакоплением и образованием линз льда при промерзании на контакте рыхлого растительного слоя и плотного грунта откоса. Значительная плотность грунта препятствует проникновению корневой системы вглубь его и не обеспечивает достаточного сцепления дернового покрова с грунтом.
Поверхностные воды и дождевые осадки, попадая на неукрепленный откос, вызывают эрозионные деформации его в виде смыва грунта, размывов, разжижения и стекания поверхностного слоя к подошве откоса и т.д. Опасность образования деформаций увеличивается с уменьшением связности грунта, увеличением крутизны откоса и количества стекающей по нему воды.
Выклинивания на откос водоносных горизонтов могут привести к суффозионным деформациям откосов (вымывание мелких фракций и образование выносов). Такие деформации характерны для песчаных и супесчаных грунтов.
Опасность нарушения местной устойчивости откосов, необходимость применения противодеформационных мероприятий при проектировании земляного полотна устанавливается путем комплексной оценки грунтовых, гидрогеологических, климатических условий, рельефа местности и конструкции земляного полотна.
Оценка грунтовых условий производится на основании материалов инженерно-геологических изысканий и лабораторных определений состава, свойств и состояния грунтов. Оценку опасности возникновения нарушений местной устойчивости можно выполнить с использованием определяющих признаков, приведенных в табл. 2.
Таблица 2
Оценка грунтовых условий по опасности возникновения нарушений местной устойчивости
|
Характеристика условий |
Определяющие признаки |
||
|
количественные |
качественные |
||
|
1 |
2 |
3 |
4 |
|
Особоопасные |
Глинистые грунты, сильно переувлажненные, в естественном залегании |
- |
Все глинистые грунты мягкопластичной консистенции |
|
Пылеватые влагоемкие глинистые грунты, водонеустойчивые, легко размокаемые, сильно пучинистые, независимо от естественной влажности с числом пластичности менее 12 |
Содержание пылеватых частиц не менее 40 % и больше, чем песка |
Лессовидные суглинки и супеси, часто макропористые с водонеустойчивыми связями между частицами в агрегатах и между агрегатами, часто содержат легкорастворимые соединения |
|
|
Сильнонабухающие и усадочные грунты |
Глинистые грунты с обменной
емкостью катионов более |
В глинистой фракции преобладают монтмориллонит, вермикулит, галлуазит (суглинки, жирные и бентонитовые глины и т.д.) |
|
|
Грунты неустойчивые к химическому выветриванию |
- |
Дочетвертичные морские суглинки и глины, богатые окислами железа (зеленоватые, голубые, серые), жирные и бентонитовые глины |
|
|
Тиксотропные и плывунные грунты |
- |
Мелко- и тонкозернистые пылеватые пески, илы, супеси легкие, характерные обратимыми стабилизационными связями между частицами |
|
|
Опасные |
Глинистые грунты, переувлажненные в естественном залегании и после укладки в насыпи |
- |
Все глинистые грунты тугопластичной консистенции |
|
Средненабухающие глинистые грунты |
Признаки те же, что и у сильнонабухающих, но обменная емкость катионов*) равна 15 - 40 |
|
|
|
Переуплотненные глинистые грунты |
- |
Тяжелые глины и суглинки, разуплотняющиеся при вскрытии откоса |
|
|
Малоопасные |
Песчаные, гравелистые, ненабухающие и слабонабухающие глинистые грунты, нормально-уплотненные, твердой и полутвердой консистенции |
- |
- |
Δh - набухание образца; h - высота образца.
*) Обменная емкость катионов может быть определена по литературным данным.
При особоопасных грунтовых условиях следует проверить местную устойчивость откосов и при необходимости назначить мероприятия по ее повышению (см. гл. III и IV Указаний).
При опасных грунтовых условиях местную устойчивость можно не проверять, но в проекте предусматривать технологические мероприятия по обеспечению устойчивости (ограничение времени года и сроков разработки выемок, недопущение разрыва во времени между сроками сооружения откоса и его укреплением, увеличение нормы высева и повышение требований к составу и качеству семян и т.д.).
В малоопасных грунтовых условиях проектирование и возведение земляного полотна производят в соответствии с действующими нормативными документами.
Влияние гидрогеологических условий на местную устойчивость откосов учитывается, если проектом не предусматривается устройство для перехвата воды с целью обеспечения общей устойчивости откосов.
На участках со слаборасчлененным рельефом местности и затрудненных условиях для поверхностного стока необходимо учитывать возможность образования сезонной верховодки в почвенном или грунтовом слое.
При расположении выемок на склонах и при пересечении водоразделов оценка опасности образования верховодки производится в зависимости от элементов рельефа вскрываемых выемкой (табл. 3).
Таблица 3
Оценка расположения выемок по условиям рельефа
|
Элементы рельефа, вскрываемые выемкой |
|
|
Опасное |
Подошвы затяжных склонов, средние части склонов с вогнутым профилем, замкнутые котловины водоразделов |
|
Малоопасное |
Средние части однородных склонов, плоские вершины водоразделов |
|
Безопасное |
Узкие вершины водоразделов, верхние части склонов |
При опасном расположении выемки по условиям рельефа должны быть предусмотрены мероприятия по перехвату и отводу верховодки от откосов выемки на полную глубину ее распространения.
Климатические условия и конструктивные особенности земляного полотна учитываются при оценке местной устойчивости откосов путем введения в расчет таких показателей, как мощность зоны возможного сплывообрызования, высота откоса, заложение его и т.д.
При проектировании земляного полотна в особоопасных грунтовых условиях (см. табл. 2) производится расчетная оценка местной устойчивости против оползания поверхностного слоя, возникновения сплывов на плоскости ослабления и образования пластических зон в откосе.
Оползание поверхностного слоя (рис. 2б) чаще всего наблюдается в откосах, сложенных пылеватыми водонеустойчивыми глинистыми грунтами с числом пластичности менее 12 при увлажнении их дождевыми осадками, водой снеготаяния и вытаивающих линз и кристаллов льда в грунте. При малой толщине оползающего слоя (до 10 - 15 см) смещение его происходит, как правило, при переходе грунта в текучепластичное состояние. Откос считается устойчивым, если
Wрас ≤ Wр + 0,75 Wп, (1)
где Wрас - расчетная влажность грунта в поверхностном слое, %;
Wр - влажность грунта на пределе раскатывания, %;
Wп - число пластичности грунта.
Расчетное значение влажности грунта устанавливается исходя из его плотности, способности к набуханию и пучению
, (2)
где G - степень водонасыщения пор водой, принимается равной 0,95;
mр - расчетная пористость грунта после набухания и пучения;
γск(р) - объемный вес скелета грунта после набухания и пучения, г/см3; γв = 1;
где Δ - удельный вес скелета грунта, принимаемый по справочным данным, г/см3;
j - относительное набухание грунта, доли единиц;
f - интенсивность пучения грунта, доли единицы.
Рис. 2. Схемы к расчету местной устойчивости откоса:
а - общая расчетная схема; б - стекание поверхностного слоя; в - сплыв по ослабленному прослою грунта; г - образование зоны пластического течения
Значение относительного набухания грунта принимается по данным лабораторных испытаний ненарушенных образцов, отобранных из шурфов или скважин. Опыты на набухание проводятся без пригрузки.
Интенсивность пучения определяется по данным натурных наблюдений, а при их отсутствии назначается по таблице приложения 6, для чего предварительно вычисляется влажность грунта
, (5)
где mн, γск(н) - соответственно пористость и объемный вес скелета грунта после набухания
При оценке устойчивости по выражению (1) и при использовании таблицы приложения 6 расчетная влажность на границе раскатывания с учетом выщелачивания солей Na, K и частично Ca и Mg, а также в связи с повышенной агрегированностью грунта в зоне промерзания уменьшается на 2 % по сравнению с влажностью Wр(Δ), определенной при лабораторных испытаниях
Wр = Wр(Δ) - 2. (8)
Образование сплывов (рис. 2в) наблюдается в тех случаях, когда в толще откоса имеется ослабленный прослой грунта, где сопротивление сдвигу Spw меньше сдвигающего усилия. Ослабленный прослой формируется:
на границе оттаивания равномерно увлажненного грунта из-за резкого уменьшения прочности при переходе грунта из мерзлого состояния в талое;
в местах концентрации вытаивающих линз и прослоев льда (в зоне промерзания переувлажненных пучинистых грунтов);
на нижней границе зоны активного физико-химического выветривания набухающих, усадочных и неустойчивых к химическому выветриванию грунтов.
В последнем случае на этой границе из-за резкого уменьшения водопроницаемости образуется местный водоупор, обуславливающий водонакопление в контактном слое.
В предположении возможности смещения блоков грунта по поверхности ослабления оценка производится путем определения коэффициента местной устойчивости по формуле
где γ - объемный вес грунта, т/м3;
φр, ср - расчетные показатели соответственно угла внутреннего трения и сцепления грунта;
n - заложение откоса; n = ctgα;
H - полная высота откоса (рис. 2а), м;
A, B - безразмерные коэффициенты, определяемые по графику рис. 3 в зависимости
от отношения
;
np - расчетная глубина зоны возможного сплывообразования, м;
α - угол заложения откоса, град.
Местная устойчивость откосов считается обеспеченной, если K ≥ 1,5.
Рис. 3. График для определения коэффициентов A и B
Образование пластических зон в откосе nпл (рис. 2г) происходит в результате равномерного увлажнения толщи грунта nр в зоне активного физико-химического выветривания.
Степень устойчивости откоса в данном случае оценивается по величине коэффициента стабильности, определяемого из выражения
где φ′р, с′р - соответственно угол внутреннего трения и невосстанавливающаяся часть сцепления; определяем при расчетной влажности с учетом воздействия погодно-климатических факторов (см. гл. IV), град;
z - текущая координата рассматриваемого горизонта активной зоны от поверхности откоса по нормали к ней, м;
Минимальное значение коэффициента стабильности Kminст в общем случае устанавливается путем графического построения зависимости K = f(z), точки которой вычисляют по выражению 10 для различных горизонтов (z) в зависимости от расчетных значений φ′р, с′р на этих горизонтах (определяемых с учетом всех влияющих факторов, в том числе и напряженного состояния).
Приближенно минимальное значение коэффициента стабильности можно определять по формуле
, (10)
где nр - расчетная мощность активной зоны, м;
- остальные обозначения прежние.
В тех случаях, когда еще нет данных о значениях φ′р, с′р для образцов подвергавшихся воздействию погодно-климатических факторов, для ориентировочных расчетов можно использовать формулу
Kminст = ntgφp, (11)
где φр - угол внутреннего трения при расчетной влажности, определенный на образцах, не подвергавшихся воздействию погодно-климатических факторов, град.
Порядок определения расчетных значений φр, φ′р, ср, с′р, приведен в главе IV Указаний.
При определении по формулам (10) и (11) коэффициентов стабильности устойчивость считается обеспеченной, если
Kminст ≥ 1.
В качестве расчетной мощности активной зоны nр принимается глубина, на которую фактически распространяется влияние погодно-климатических факторов (увлажнение, высушивание, промерзание).
Для районов с преобладающим влиянием на устойчивость откоса фактора промерзания за расчетную глубину активной зоны ориентировочно может быть принята глубина промерзания для данного района.
Глубина сезонного промерзания на откосе определяется расчетом согласно СНиП II-Б.1-62 с учетом снегонакопления или назначается в соответствии с результатами инженерно-геологического обследования существующего земляного полотна. В последнем случае
, (12)
где nн - глубина сезонного промерзания на обследуемом объекте за наблюдаемый сезон, м;
ΣTр - расчетное количество градусосуток холода, определяемое по климатическим справочникам или по данным метеостанций;
ΣTн - количество градусосуток холода в наблюдаемый год.
За расчетный зимний период принимается малоснежная зима повторяемостью 1:20. Если в наблюдаемый период снегонакопление на откосе существующего земляного полотна значительно (на величину более 10 см) отличается от расчетной высоты снежного покрова в малоснежную зиму, глубина промерзания определяется расчетом.
Для районов с преобладающим влиянием на устойчивость откосов процессов набухания и усадки за активную принимается зона сезонного изменения влажности, но не более 2 м.
Физико-химическое выветривание грунтов (выщелачивание, окислительные процессы, дезагрегация минеральных частиц и т.д.) наблюдается обычно при действии инфильтрующихся поверхностных вод. Поэтому зона активного физико-химического выветривания назначается равной наибольшей из двух: глубине сезонного промерзания или изменения влажности. Влияние физико-химического выветривания учитывается при назначении расчетных показателей прочности грунта.
При опасных гидрогеологических условиях, когда не предусматривают специальные мероприятия по перехвату и отводу грунтовых вод до их выхода на откос, оценке подлежит устойчивость откоса против механической суффозии грунта и против выноса его фильтрационным потоком.
Согласно ВСН 01-66 МЭиЭ СССР практически несуффозинным грунтом считается такой, из которого могут быть вынесены фильтрационным потоком мельчайшие его частицы в количестве не более 3 % (по весу). При этом должна удовлетворяться следующая зависимость
, (13)
где D3, D10, D17, D60 - диаметры частиц грунта, содержание которых по весу составляет 3, 10, 17, 60 %, мм;
ηφ - коэффициент разнозернистости грунта
; (14)
mφ - фактическая пористость грунта
mφ = m - wммвγск; (15)
m - расчетная пористость грунта
; (16)
γск - объемный вес скелета грунта, г/см3;
Δ - удельный вес грунта, г/см3;
wммв - максимальная молекулярная влагоемкость грунта, %.
Проверке на суффозионную устойчивость подлежат также покрытия из дренирующего грунта, укладываемые на откос (см. главу V Указаний).
Степень устойчивости откоса против образования выносов оценивается коэффициентом Kу по формуле
; (17)
где Δв - удельный вес воды.
Устойчивость считается обеспеченной при Kу ≥ 1.
Оценка устойчивости против размывов производится только для тех объектов земляного полотна, укрепление откосов которых по тем или иным причинам не предусматривается проектом, или для тех грунтовых и климатических условий, когда для образования устойчивого травяного покрова требуется длительный срок.
Возможность эрозионных деформаций оценивается по степени размываемости грунтов, слагающих поверхность откосов, с учетом условий воздействия на откос поверхностных вод.
Предполагая, что нарушение устойчивости может произойти в форме эрозионных деформаций поверхности откоса, следует на основе данных о продолжительности и интенсивности выпадения дождей, гранулометрического состава грунтов, слагающих откос, высоты откоса и его крутизны установить скорость движения поверхностных вод по поверхности откоса. Полученную таким образом фактическую скорость Vфакт поверхностных вод необходимо сопоставить с предельно допустимой для данного грунта скоростью Vдоп. В том случае, если Vфакт < Vдоп можно считать, что местная устойчивость откоса обеспечена. Если Vфакт ≥ Vдоп, то возможны эрозионные деформации, которые могут быть предотвращены уменьшением крутизны откоса, назначением специального типа укрепления или комбинаций этих мероприятий (см. главу V).
Методика определения Vфакт и значения Vдоп приведены в приложении 2.
Для поверхностных слоев откосов земляного полотна после их сооружения характерным является изменение прочности грунта как по сезонам года, так и за многолетний период. Оценку устойчивости производят по расчетному значению минимальной сезонной прочности за многолетний период.
На рис. 4 показан возможный характер изменения прочности по сезонам года (без внутрисезонных колебаний ее) и минимальное значение сезонной прочности за многолетний период.
Для ненабухающих и слабо набухающих грунтов, не чувствительных к выщелачиванию солей и окислению минералов, изменение прочностных характеристик в результате промерзания - оттаивания и переувлажнения происходит в основном только по сезонам года и весьма незначительно за многолетний период.
Некоторое ухудшение показателей, характеризующих структуру и состояние грунта (агрегированности, плотности и воднофизических свойств) компенсируется, как правило, улучшением условий залегания за счет осушения, развития дернового покрова и т.д. Для таких грунтов за расчетную прочность принимается минимальная сезонная прочность их в первый год после сооружения откоса τр(1) (кривая 1 на рис. 4б).
За расчетную прочность грунтов набухающих и чувствительных к выщелачиванию солей и окислению соединений принимается ее асимптотическое значение за многолетний период τр(2) (кривая 2 на рис. 4б).
Для некоторых грунтов, особочувствительных к физико-химическому выветриванию, падение прочности носит незатухающий характер (кривая 3 на рис. 4б). К таким грунтам относятся, например, некоторые разновидности меотических глин, дочетвертичных суглинков и т.д. Устойчивость сооруженных в них откосов не обеспечивается никаким уположением. В таких случаях принимается τр(3) = 0 и мероприятия по обеспечению устойчивости назначаются без проведения предварительной ее оценки.
Рис. 4. Изменение прочности грунта по сезонам года (а) и за многолетний период (б)
Расчетные показатели прочности могут быть определены путем испытания ненарушенных образцов грунта в лабораторных условиях с имитированием природных процессов физико-химического выветривания, что требует значительных затрат времени и специального оборудования (холодильные камеры, приборы для выщелачивания и т.д.). Поэтому приведенная ниже методика рекомендуется только для определения прочности грунтов на особо ответственных объектах (глубоких выемках или насыпях), а также при большом числе однотипных объектов на проектируемой линии, если нельзя вынести суждение об устойчивости откосов по земляным сооружениям, находящимся в аналогичных условиях с проектируемым объектом земляного полотна.
Перед определением прочности образцы грунта подлежат специальной подготовке, имитирующей воздействие процессов физико-химического выветривания. Содержание подготовки образцов определяется отношением грунтов к различным процессам выветривания и расположением грунта в откосе (табл. 5).
В зависимости от основных процессов выветривания в конкретных условиях возможны другие сочетания видов подготовки образцов к испытаниям, кроме указанных в табл. 5.
Как правило, 3 - 4 серии образцов подвергаются различному количеству циклов подготовки Nц (например 2, 5, 10 циклам), после чего проводится их испытание на прочность. По зависимости τ = f(Nц) устанавливается расчетная прочность (рис. 4б).
Таблица 5
ПОРЯДОК ПОДГОТОВКИ ОБРАЗЦОВ К ИСПЫТАНИЮ ИХ ПРОЧНОСТИ
|
Порядок подготовки образцов при расположении грунтов |
||
|
в зоне сезонного промерзания |
ниже границы сезонного промерзания |
|
|
Морозоопасные и водонеустойчивые средне- и слабонабухающие глинистые грунты |
Циклическое промораживание и оттаивание |
Насыщение золой под бытовой нагрузкой с последующим испытанием прочности |
|
Сильнонабухающие глинистые грунты |
Циклическое набухание-высушивание, чередующееся с промораживанием набухающего образца и последующим оттаиванием и высушиванием |
Циклическое набухание и высушивание |
|
Грунты, склонные к химическому выветриванию |
Диффузионное рассоление грунта или окисление его кислородом воздуха с последующим циклическим промораживанием и оттаиванием водонасыщенных образцов |
Диффузионное выщелачивание или окисление образцов с последующим насыщением их водой и испытанием прочности |
Основные положения по подготовке образцов грунта к испытаниям на прочность приведены в приложении 3.
Испытания на прочность подготовленных образцов грунта проводятся в соответствии с указаниями по определению прочности слабых грунтов [36, 38, 40, 41] в приборах трехосного сжатия, сдвиговых приборах или с помощью микропенетрации. При использовании приборов трехосного сжатия испытания проводят по закрытой системе; продолжительность опыта в зависимости от консистенции грунта 1 - 7 минут.
При испытаниях прочности грунта на сдвиговых приборах в зависимости от консистенции используется методика быстрого сдвига (продолжительность опыта 0,5 - 1 минута) и ускоренного сдвига (продолжительность опыта 5 - 6 минут). Для особо ответственных объектов земляного полотна рекомендуется провести испытания по обеим методикам. В этом случае для оценки устойчивости используются данные опыта, дающие меньшее значение коэффициента устойчивости. Обжимающие нагрузки принимаются равными 0; 0,5 и 1 кг/см2.
При оценке устойчивости по формулам 10 и 10′ для определения невосстанавливающейся части сцепления с′р при обычных сдвиговых испытаниях, а также с учетом воздействия промерзания-оттаивания, набухания-высушивания и т.п., одновременно с лабораторными испытаниями на сдвиг, указанными выше, производят сдвиг «плашка по плашке». Для этого после первого испытания в сдвиговомодноплоскостном приборе (по методике плотности-влажности) образец грунта разрезают по плоскости сдвига на две плашки, поверхность которых тщательно зачищают, вновь устанавливают в прибор, прикладывают вертикальную нагрузку в течение 5 минут и производят сдвиг уже по фиксированной плоскости. Далее обработка идет аналогично указанному выше.
Величину невосстанавливающейся части сцепления получают графически по зависимостям τ = f(P) как часть величины полного сцепления. Далее получают зависимость с′р = f(Nц).
При оценке местной устойчивости откосов на отдельных объектах земляного полотна расчетные показатели прочности могут быть установлены:
- полевыми и лабораторными испытаниями прочности грунтов в откосах существующих земляных сооружений, склонах и обнажениях;
- испытаниями прочности грунта, отобранного при инженерно-геологических изысканиях без имитирования процессов физико-химического выветривания;
- на основании изучения литературных источников, а также материалов проектных и научно-исследовательских организаций.
Полевое изучение прочности грунтов в откосах существующих земляных сооружений, склонах и обнажениях производится в наиболее неблагоприятный по климатическим условиям период (весной при оттаивании грунтов, летом и осенью во время ливневых или затяжных дождей).
Прочность устанавливается испытанием грунта на сдвиг в скважинах крыльчаткой [37, 40, 41] или в полустационарной лаборатории на сдвиговых приборах на образцах грунта отобранных из скважин [38].
При исследовании прочности грунта в откосах существующих земляных сооружений по имеющимся материалам также устанавливается:
время и способ сооружения откоса;
первоначальная крутизна и способ укрепления;
характер и хронология деформации откосов;
сведения о противодеформационных мероприятиях.
Установление расчетной прочности на образцах грунта, отобранных из инженерно-геологических выработок в откосах существующих земляных сооружений, на склонах и обнажениях в период, не соответствующий наименьшим значениям прочности в годовом цикле, производится в лабораторных условиях с промораживанием и оттаиванием образцов и их водонасыщением до расчетной влажности [67].
Установление прочности грунта на образцах, отобранных при инженерно-геологических изысканиях, производится исходя из возможного состояния грунта в откосах (его плотности) и характера изменения прочности при изменении плотности. Для этой цели приготавливаются образцы грунта нарушенной структуры различной плотности и на основании сдвиговых испытаний строится зависимость τ = f(γ).
Расчетное значение объемного веса скелета грунта с учетом возможности набухания и пучения устанавливается по зависимостям (4) и (6). При определении относительного набухания опыты проводят под нагрузкой, соответствующей бытовой нагрузке γnр. Испытания на сдвиг проводятся по методике ускоренного сдвига. При проведении опытов следует добиваться водонасыщения образцов не менее 0,90 свободной пористости. Прочность грунта устанавливается по зависимости τ = f(γск).
Для ориентировочной оценки местной устойчивости откосов при отсутствии зависимости τ = f(γск) допускается использования табличных данных о прочности грунта по СНиП II-Б.1-62 (приложение 7). При этом значение коэффициента пористости определяется исходя из выражений (3) или (7) гл. III, а значение влажности на пределе раскатывания - по выражению (8).
Для пылеватых морозоопасных грунтов снижение прочности можно характеризовать коэффициентом морозной чувствительности
,
где R и Rот - соответственно показатели прочности образцов одинаковой влажности до промораживания и после оттаивания независимо от методики испытания образцов.
Для предварительной оценки прочности глинистых грунтов после промерзания-оттаивания величина коэффициента Kм может быть определена по эмпирической формуле
, (18)
где K′м - коэффициент морозной чувствительности грунтов при влажности на пределе раскатывания; значения K′м принимаются равными для легких суглинков 1,3 - 1,4, для тяжелых суглинков 1,4 - 1,6, для глин 1,6 - 1,8;
f - интенсивность пучения, %; если интенсивность пучения грунта в натуре не установлена, ее следует определить по таблице приложения 6;
σ - нагрузка на оттаивающий грунт, кг/см2.
При использовании литературных источников, материалов проектных и научно-исследовательских организаций для установления расчетных показателей состояния и прочности грунта особое внимание следует обращать на идентичность сравниваемых грунтов по генетическим признакам, составу и стадии выветривания.
Для обеспечения местной устойчивости применяются следующие мероприятия:
поверхностное укрепление откосов в соответствии с действующими указаниями, правилами и инструкциями - для малоопасных грунтовых условий;
поверхностное укрепление откосов в соответствии с действующими указаниями и дополнительными требованиями настоящих Указаний - для опасных и особоопасных грунтовых условий;
специальные мероприятия по обеспечению местной устойчивости для особоопасных грунтовых условий только в тех случаях, когда оценка устойчивости, произведенная в соответствии с положениями глав III и IV Указаний, показала, что при типовых заложениях откосов местная устойчивость их не обеспечивается;
перехват и отвод грунтовых вод от земляного полотна до выхода их на откос;
а также мероприятия, обеспечивающие суффозионную устойчивость откосов, когда оценка, проведенная в соответствии с положениями главы III, показала возможность образования выносов и суффозионных нарушений, а перехват и отвод воды проектом не предусмотрены.
Основным видом поверхностного укрепления является обсев травами по слою растительного грунта [11, 12, 42, 65].
Для особоопасных и опасных грунтовых условий при укреплении поверхности откосов обсевом трав в проектах необходимо устанавливать дополнительные требования:
посев трав должен производиться в лучшие агротехнические сроки при увеличенной норме высева кондиционных семян с тем, чтобы до наступления сплывоопасного периода было обеспечено образование дернового покрова хорошего качества;
укладку растительного грунта следует производить на минеральный грунт откоса, не нарушенный физико-химическим выветриванием. Если между сроком готовности откоса (или отдельных участков) и лучшим агротехническим сроком его укрепления существует разрыв во времени, достаточный для нарушения природного сложения и прочности грунта процессами физико-химического выветривания на глубину более 0,15 м, рекомендуется оставлять на откосах предохранительный слой, не дорабатывая выемки по ширине. Толщина предохранительного слоя назначается в соответствии с положениями главы III настоящих Указаний исходя из длительности воздействия климатических факторов на грунты откоса. Непосредственно перед укреплением откоса предохранительный слой убирают и укрепление производят по ненарушенному слою грунта.
Если по условиям производства работ лучшие агротехнические сроки посева не могут быть соблюдены во избежание развития значительных деформаций в особоопасных и опасных грунтовых условиях допускается укрепление откосов дерновкой сплошь или в клетку с заполнением клеток растительным грунтом.
Для опытного применения в северных районах СССР рекомендуется:
использовать гидропосев травосмесей с мульчированием их для районов, где отсутствует качественный растительный грунт;
при укреплении откосов, сложенных водонеустойчивыми грунтами, целесообразно в некоторых случаях взамен забивки кольев и устройства плетневых ограждений размещать растительный грунт в железобетонной обрешетке (рис. 5), заанкеренной на откосе. За счет анкеровки, дополнительной пригрузки и распределения местных напряжений в откосе на значительную площадь предупреждается развитие деформаций в приповерхностных слоях и локальных деформаций откоса на большую глубину.
Рис. 5. Железобетонная обрешетка на поверхности откоса:
1 - монтажная плита; 2 - балка; 3 - свайка; 4 - обсев травами по слою растительного грунта
В особоопасных грунтовых условиях, когда поверочными расчетами установлено, что при типовых заложениях откоса и поверхностном укреплении его не обеспечивается местная устойчивость для повышения ее проводятся специальные мероприятия:
уположение и террасирование откоса с выполнением изложенных выше требований по поверхностному укреплению;
устройство защитных покрытий (теплоизоляционных, гидроизоляционных и совмещенных);
мелиорация грунтов в откосе;
аглолесомелиорация грунтов в откосе.
Уположение откосов целесообразно применять при высоте их до 5 - 7 м. Достаточность уположения проверяется согласно положениям главы III данных Указаний. При большей высоте откоса целесообразно взамен уположения произвести террасирование его. Террасирование откоса улучшает также условия проведения планировочных и укрепительных работ и служит самостоятельным мероприятием по повышению устойчивости откоса против образования размывов (см. приложение 2). Высота откоса между разделительными полками в глинистых грунтах, как правило, не должна превышать 7 м для выемок и 10 м для насыпей. При проверке устойчивости откоса по формулам (9 - 10) за высоту откоса принимается его высота между разделительными полками. В особоопасных гидрогеологических и грунтовых условиях при решении вопроса о расположении полок в выемках необходимо учитывать расположение водоносных горизонтов и проектируемых дренажных систем.
Минимальная ширина полок назначается с таким расчетом, чтобы обеспечить возможность проезда по ним автотранспорта и дорожных машин с учетом размещения в необходимых случаях защитного слоя или откосного дренажа, а также смотровых колодцев. Свободная ширина полки должна быть не менее 3,5 м. Необходимо предусматривать также возможность въезда машин на полки.
Чтобы обеспечить поверхностный водоотвод, необходимо предусмотреть устройство на полках продольных водоотводных лотков. Лотки располагаются в средней части полок для уменьшения их заиливания грунтовыми частицами, смываемыми с вышележащей части откоса.
Для исключения скопления на полках талых вод при закупоривании водоотводных лотков следует полкам придавать поперечный уклон не менее 50 % в низовую сторону.
При назначении конструкции водоотводных лотков, размещаемых на полках, а также сбросных лотков по поверхности откосов сечения лотков во всех случаях обосновывают расчетом, а сама конструкция лотка должна исключать утечку воды в основание.
Для предотвращения насыщения откоса водой (например, при таянии снега) на поверхности полок должен быть предусмотрен водонепроницаемый слой, например из грунта, обработанного органическими или минеральными вяжущими.
Защитные покрытия на откосах служат для регулирования температурно-влажностного режима грунтов и снижения активности физико-химического выветривания. В зависимости от назначения они разделяются на термоизоляционные, гидроизоляционные и совмещенные термогидроизоляционные.
Термоизоляционные покрытия назначаются для защиты морозоопасных пучинистых грунтов от промерзания, увлажненных сильнонабухающих грунтов - от высыхания и усадки, морозоопасных сильнонабухающих грунтов - от обоих упомянутых процессов выветривания. Толщину термоизоляционного слоя, состоящего из материалов, стойких к физико-химическому выветриванию (асбестовой и торфяной крошки, шлака, супесчаных и песчаных грунтов, песчано-гравийной смеси и т.д.), определяют теплотехническим расчетом.
Гидроизоляционные покрытия назначаются для защиты водонеустойчивых и склонных к выщелачиванию грунтов, а также сильнонабухающих грунтов при естественной влажности их ниже предела усадки от увлажнения водами выпадающих осадков, снеготаяния и поверхностного стока. Они могут выполняться из шлакоглинобетона [23] и грунтов, обработанных минеральными и органическими вяжущими с добавками инертных материалов (шлака, золы-уноса, песка и т.д.) в соответствии с имеющимися указаниями по укреплению грунтов.
При неблагоприятном сочетании климатических факторов и чувствительности грунтов к процессам физико-химического выветривания устраиваются совмещенные термогидроизоляционные покрытия. Принципы проектирования таких покрытий изложены в приложении 4.
Термоизоляционные и совмещенные покрытия устраиваются не на полную высоту откоса, а на 1,5 - 2 м меньше (рис. 6).
Для опытного применения рекомендуются мелиоративные мероприятия, назначаемые с целью осушения грунтов в нижней части откоса, находящихся в наиболее неблагоприятных условиях увлажнения и напряженного состояния. Дренажные устройства предназначаются для отвода свободной воды, образующейся при вытаивании ледяных линз и для исключения возможности образования гидростатического напора в оттаивающем слое грунта толщиной δ, который обладает повышенной водопроницаемостью по сравнению с выше- и нижележащими слоями.
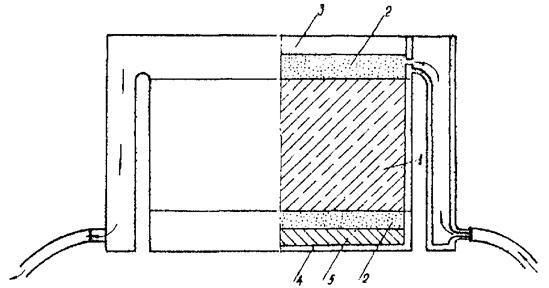
Дренажные устройства для осушения грунтов нижней части откоса могут быть выполнены в виде горизонтальных дренажных скважин, обсаженных трубофильтрами (рис. 7), врезных дренажей - «шпор» (рис. 8), подошвенных слоев из дренирующего грунта под откосными частями насыпей (рис. 9) и обсыпки откоса слоем дренирующего грунта неодинаковой толщины по высоте откоса (рис. 10).
Рис. 6. Схема устройства термоизоляционного покрытия на откосе:
1 - поверхностное укрепление; 2 - теплоизоляционный слой
Рис. 7. Осушение откоса горизонтальными дренами из трубофильтров
Рис. 8. Дренажные «шпоры» в откосе
Рис. 9. Подошвенные слои из дренирующего грунта под откосами насыпей
Рис. 10. Обсыпка откоса дренирующим грунтом
Горизонтальные дренажные скважины, обсаженные трубофильтрами из керамзито-цемента и других материалов с высокой пористостью, располагаются в нижней трети откоса. Рекомендации по устройству горизонтальных скважин приведены в приложении 5.
Дренажные шпоры устраиваются в виде прорезей, заполняемых дренирующим грунтом с коэффициентом фильтрации не менее 3 м/сутки. Ширина прорезей равна 0,4 - 0,7 м, расстояние между ними 2 - 3 м. У подошвы откоса оставляются открытыми от поверхностного укрепления выходы для воды, усиленные суффозионноустойчивым дренирующим грунтом.
Подошвенные слои из дренирующего грунта под откосами насыпей на безосадочном основании отсыпаются непосредственно на подготовленное и спланированное основание в виде призм с мощностью слоя не менее 0,5 м и шириной по низу не менее 3 м. Если ожидается осадка основания под насыпью, подошвенные слои из дренирующего грунта отсыпаются на спланированные и уплотненные грунты насыпи при мощности слоя последних не менее величины ожидаемой осадки плюс 0,5 м. Аналогично отсыпают подошвенные слои нагорного откоса насыпи, расположенной на косогоре круче 1:10 при безосадочном основании. Во всех случаях должен быть обеспечен отвод воды из подошвенного слоя за пределы земляного полотна. Выходы подошвенного слоя на откос усиливаются несуффозионным грунтом и поверхностному укреплению не подлежат.
Покрытие откосов дренирующим грунтом слоем переменной толщины по высоте откоса, выполняющим роль упомянутых выше защитных покрытий значительно сокращает затраты на его устройство. Одновременно при оттаивании всегда сохраняется выход оттаявшего слоя в дренирующую обсыпку для отвода воды вытаивающих линз льда, инфильтрующихся осадков и т.д.
Агролесомелиорация грунтов в откосах (посадка на откосе древесно-кустарниковой растительности) применяется в случаях, когда эффективность защитных покрытий или дренажных устройств вследствие потери изоляционных свойств или заиливания с течением времени снижается, а прочностные свойства грунтов ухудшаются. Развивающаяся корневая система древесно-кустарниковой растительности армирует грунт в сплывоопасной зоне, интенсивная транспирация воды зеленой массой ведет к его осушению.
Вид кустарников и деревьев для посадки, порядок и плотность размещения их на откосе принимают исходя из местных условий.
При выклинивании на откос водоносных горизонтов назначаются мероприятия по перехвату и отводу грунтовых вод, в том числе верховодки от земляного полотна.
Верховодка, развитая в почвенном и подпочвенном слое, перехватывается углубленными до 0,8 - 1,0 м нагорными канавами с соответствующим укреплением их от размыва.
При более глубоком залегании водоупора грунтовые воды перехватываются вертикальным дренажом, устраиваемым в соответствии с общими требованиями (рис. 11).
Рис. 11. Продольный дренаж для перехвата верховодки на склоне:
1 - водоносный пласт
При расположении ярко выраженных песчаных водоносных горизонтов на глубине более 3 м от верха откоса перехватывающий дренаж устраивается на специальной конструктивной полке (рис. 12). Дренаж должен располагаться так, чтобы максимальное расстояние от капиллярной каймы над кривой депрессии до свободной поверхности откосов или полки не было меньше расчетной глубины промерзания для данного района. В противном случае должны быть предусмотрены меры по уменьшению глубины промерзания откоса.
Рис. 12. Продольные дренажи для перехвата грунтовых вод:
1 - укрепление откоса; 2 - система продольных дренажей
Если откос сложен трещиноватыми глинистыми породами с включением маломощных водоносных прослоек песка, для каптажа и отвода воды на полке рекомендуется делать присыпной откосный дренаж (рис. 13) в виде дренирующего слоя, выполненного в нижней части из материала с коэффициентом фильтрации не менее 3 м/сутки. В верхней части присыпной дренаж устраивается из неразмываемых грунтов с обязательным укреплением их поверхности. Толщина дренирующего слоя назначается по расчету в зависимости от расчетного дебита воды, но не менее 0,3 м. При использовании трубофильтров обсыпка выполняется из среднезернистого песка [48].
Рис. 13. Пример конструкции присыпного откосного дренажа:
1 - щебень фракции 5 - 10 мм; 2 - щебень фракции 40 - 70 мм; 3 - перфорированная дренажная трубка; 4 - щебень, втрамбованный в грунт h = 5 см; 5 - крупнозернистый или среднезернистый песок h = 50 см; 6 - мелкозернистый песок h = 25 см; 7 - непучинистый грунт h = 60 см; 8 - планировка растительным грунтом h = 10 см с засевом трав
При сооружении откосного присыпного дренажа необходимо обеспечить водонепроницаемость основания под дренажными трубами, устраивая экран из перемятой глины, грунтов, обработанных органическими и минеральными вяжущими, или бетонный лоток.
Рис. 14. Врезной откосный дренаж:
а - поперечный разрез выемки; б - поперечный разрез откосного дренажа; 1 - одерновка; 2 - откосный дренаж; 3 -железобетонный лоток; 4 - суглинок; 5 - фильтр; 6 - водоносный песок; 7 - втрамбованный щебень; 8 - глухая дрена из щебня; 9 - средне (крупно) зернистый песок; 10 - дерн, солома, битум
При выходе на откос отдельных ключей или водоносных линз небольшого простирания каптаж воды осуществляется поперечными откосными дренажами (рис. 14). Собранная дренажом вода отводится в кювет или утепленный лоток у подошвы откоса. При опасных гидрогеологических условиях, когда проверка устойчивости откоса, проведенная согласно положениям главы III Указаний, показала возможность образования выносов и суффозионных нарушений, откос покрывается слоем суффозионноустойчивого дренирующего грунта толщиной не менее 0,5 м (рис. 15, а), а при значительном дебите ярко выраженных водоносных слоев устраивается врезное дренирующее покрытие с дренажными трубами у подошвы (рис. 15, б).
Рис. 15. Покрытие откоса дренирующим грунтом:
а - при верховодке с малым дебитом; б - при выходе грунтовых вод с малым дебитом; 1 - кривая депрессии; 2 - дренирующий грунт; 3 - бетонные плиты без заливки швов
Применение каждого из перечисленных мероприятий должно быть обосновано технико-экономическими расчетами.
В формуле для расчета местной устойчивости откосов
, (1)
значения A и B определяются по графику рис. 3 главы III Указаний для стандартных заложений откосов и ξ = 0,05 - 0,30. При других откосах и ξ > 0,3, ξ < 0,05 значения A и B определяются по специальным формулам, учитывающим следующие предпосылки.
а) При ξ < 0,10 расчет устойчивости производится в предположении бесконечного откоса с мощностью оползающего слоя hр (см. а на рисунке). В критических для устойчивости откоса условиях (обильные весенние дожди, бурное снеготаяние и т.д.) слой на всю глубину протаивания полностью водонасыщен, структурные особенности грунта (наличие микро- и макротрещин, большая начальная агрегированность и т.д.) позволяют учитывать взвешивающее давление воды. В этом случае значение A в формуле (1) главы III Указаний можно определить из выражения
.
б) При ξ = 0,10 - 0,20 в расчете учитывается сопротивление упорной призмы ABC у подошвы откоса (см. б на рисунке). При этом по линии AC учитывается только сцепление, силами трения пренебрегают в запас прочности в предположении, что гидростатический напор свободной воды в оттаивающем слое мощностью δ, возникающий из-за разности водопроницаемости оттаявшего и талого слоя, в критических условиях может нейтрализовать трение грунта по линии AC.
Значение A в этом случае определяется из выражения
. (2)
в) При ξ > 0,20 предполагается смещение грунта по круглоцилиндрической кривой (см. в на рисунке). В этом случае из равенства моментов активных и пассивных сил следует:
; (3)
; (4)
. (5)
При построении графика изменения значений A были учтены все указанные выше предпосылки.
Значение B принято из предположений круглоцилиндрической поверхности скольжения и распространено на другие виды смещения грунта
. (6)

Схемы к расчету устойчивости откосов против образования сплывов
Значение β1 может быть определено из условия
.
Пример. Для откоса выемки высотой H = 6,5 м в соответствии с положениями главы IV Указаний установлено, что прочность грунтов деятельного слоя равна c′р = 1,0 т/м2; φр = 5° 20′; γ = 1,9 т/м3.
Грунт разбит усадочными трещинами на глубину 1,36 м.
Требуется найти необходимое для сохранения устойчивости заложение откоса
; tgφр = 0,0985.
Проверяем стандартные заложения откосов (A и B - по графику рис. 4). n = 1,5; A = 12,5; B = 1,057.
;
n = 1,75; A = 13,8; B = 1,042;
.
n = 2,0; A = 15; B = 1,034;
.
Уположение откоса до 1:2,5 препятствует ограниченная строениями полоса отвода, максимально возможное уположение - 1:2,25.
Проверяем устойчивость нестандартного откоса.
α = 24° 00′, sinα = 0,407; cosα = 0,914; ξ = 0,21;
;
;
sin β = 0,643; β = 0,698;
;
B = 1,025;
;
Откос с заложением 1:2,25 устойчив и других противодеформационных мероприятий применять не следует.
Мероприятия по защите земляного полотна от размыва поверхностными водами назначают в том случае, когда скорость течения воды превышает допустимую по размыву.
Для определения мест возможного размыва земляного полотна, обочины и откосы разбивают на ряд следующих друг за другом участков, нумерация которых идет от кромки проезжей части или от бровки выемки. Длина участков принимается равной 2,5 м*), за исключением первого участка, длина которого равна ширине обочины.
*) 2,5 м - фактический размер грунтовых площадок, для которых получена зависимость интенсивности стока и впитывания от интенсивности дождя.
1. Скорость воды на n-й площадке устанавливает по уравнению
V(n) = 0,00284(mcφ(Jк))0,4iовст(n), (1)
где mс - характеристика гидравлической шероховатости обочин и откосов, принимается по табл. 1;
φ(Jк) - функция косого уклона поверхности, принимается по табл. 2;
iст(n) - интенсивность стока на n-й площадке, мм/мин.
Таблица 1
Характеристики гидравлической шероховатости обочин и откосов
|
Значение mс |
|
|
Весьма редкая или отсутствует |
50 |
|
Обычная |
27 |
|
Густой травяной покров |
15 |
2. Интенсивность стока определяют по формуле
iст(n) = iпв(n) - iвп(n), (2)
где iпв(n) - интенсивность поступления воды на n-ю площадку, мм/мин;
iвп(n) - интенсивность впитывания на n-й площадке, мм/мин.
3. Интенсивность поступления воды на площадку определяется непосредственным выпадением осадков на площадку и притоком воды с вышележащего участка.
Интенсивности поступления воды на обочину (при водонепроницаемых типах покрытий) находят по формуле
где iд - расчетная интенсивность дождя, мм/мин, принимается по табл. 3;
a - витрина односкатной или половина двухскатной проезжей части по направлению косого уклона, м;
b - ширина обочин по направлению косого уклона, м.
Интенсивность поступления воды на площадки откосов насыпи:
для
площадки n = 2
; (4)
для площадки n ≥ 3 iпв(n) = iд + iст(n-1); (5)
где iст(1) - интенсивность стока с обочины, мм/мин;
iпв(n), iпв(n-1) - интенсивность поступления воды на ниже- и вышележащую площадки, мм/мин;
iст(n), iст(n-1) - интенсивность стока и впитывания на вышележащей площадке, мм/мин.
При организованном стоке воды по лоткам с проезжей части и обочин через откосы
iпв(2) = iд, (6)
Интенсивность поступления воды на площадки на откосах выемки (при условии, что бровка выемки служит водоразделом):
для площадки n = 1 iпв(1) = iд;
для площадки n ≥ 2 iпв(n) = iд + iст(n-1);
4. Интенсивность впитывания воды на площадке
где C - коэффициент впитывания*), величина которого принимается по табл. 4.
*) Коэффициент впитывания показывает во сколько раз интенсивность впитывания данного грунта отличается от интенсивности впитывания грунта, принятого за эталон.
Функция косого уклона поверхности
Таблица 2
|
Φ (Jк) |
Косой уклон поверхности, % |
Φ (Jк) |
Косой уклон поверхности, % |
Φ (Jк) |
Косой уклон поверхности, % |
Φ (Jк) |
Косой уклон поверхности, % |
Φ (Jк) |
|
|
2 и менее |
1,59 |
8 |
1,82 |
50 |
3,02 |
200 |
5,62 |
800 |
9,50 |
|
3 |
1,66 |
9 |
1,85 |
60 |
3,17 |
300 |
6,96 |
900 |
9,80 |
|
4 |
1,70 |
10 |
1,86 |
70 |
3,57 |
400 |
7,80 |
1000 и более |
10,0 |
|
5 |
1,74 |
20 |
2,14 |
80 |
3,59 |
500 |
8,40 |
||
|
6 |
1,78 |
30 |
2,40 |
90 |
3,80 |
600 |
9,00 |
||
|
7 |
1,80 |
40 |
2,75 |
100 |
3,98 |
700 |
9,20 |
Расчетная интенсивность дождя
Таблица 3
|
Примерные географические границы района |
Характеристика района |
||
|
Среднемноголетние значения интенсивности дождя продолжительностью 30 минут, мм/мин |
Расчетная интенсивность дождя повторяемостью 1 раз в 50 лет, мм/мин |
||
|
1 |
Северные области |
0,1 - 0,3 |
0,5 |
|
2 |
Прибалтика, Урал, Южная половина Сибири |
0,4 - 0,6 |
1,0 |
|
3 |
Центральные области Европейской части, Украина, Белоруссия |
0,7 - 0,9 |
1,5 |
5. Для построения эпюры скоростей, полученных по формуле 1 значения средней скорости воды на площадках наносят на график зависимости величины скорости от расстояния (S), отсчитываемого от кромки проезжей части или бровки выемки, по которым проводят кривую V = f(S) таким образом, чтобы площадь, заключенная между кривой и осью «S», в пределах размещения всех площадок была равна площади, ограниченной средними значениями скоростей на отдельных участках.
Значения коэффициента впитывания грунтов
Таблица 4
|
Коэффициент впитывания |
|
|
Песок |
5,0 |
|
Супесь |
0,5 |
|
Суглинок |
0,02 |
|
Глина |
0,005 |
6. Для каждого участка определяют допускаемую (неразмывающую) скорость
где V1 - допускаемая средняя скорость для данного типа укрепления при глубине 1 м, м/сек, принимается по табл. 5;
hn - глубина слоя воды на площадке, м.
Допускаемые (неразмывающие) скорости
Таблица 5
|
Средние неразмывающие скорости при глубине потока 1 м, м/сек |
|
|
Песок |
0,20 |
|
Супесь |
0,25 |
|
Суглинки и глины |
0,40 |
7. Глубину слоя воды на площадке вычисляют по формуле
- насыпи при свободном стоке воды с проезжей части и обочин на откосы;
- для выемки.
8. В том случае, когда V > Vдоп назначают мероприятия по защите земляного полотна от размыва, включая уположение откосов, устройство полок с потоками для отвода поверхностных вод; организацию стока воды с проезжей части и обочин по лоткам через откосы; укрепление поверхности земляного полотна травами, вяжущими материалами и т.д.
Пример расчета высоты полки, устраиваемой в насыпи из супесчаных грунтов на дорогах III категории в центральных областях Европейской части СССР (при свободном стоке воды с проезжей части и обочин на откосы).
Исходные данные для расчета:
Ширина двухскатной проезжей части - 7,0 м (проектные данные)
Ширина обочин - 2,5 м - « -
Поперечный уклон обочин - 4 % - « -
Заложение откосов насыпи - 1; 1,5 - « -
Характеристика гидравлической шероховатости обочин и откосов - 50 (табл. 1)
Функция косого уклона поверхности:
для обочин - 2,75 (табл. 2)
для откосов - 9,15
Расчетная интенсивность дождя - 1,5 мм/мин (табл. 3)
Коэффициент впитывания грунтов - 0,5 мм/мин (табл. 4)
Средняя неразмывающая скорость при глубине потока 1 м - 0,25 м/сек (табл. 5)
Порядок расчета:
1. По формуле (3) определяют интенсивность поступления воды на обочину
мм/мин.
2. По формуле (7) методом подбора устанавливают интенсивность впитывания на обочине
iвп(1) = 0,6 мм/мин.
3. По формуле (2) вычисляют интенсивность стока с обочины
iст(1) = 3,6 - 0,6 = 3,0 мм/мин.
4. По формуле (4) определяют интенсивность поступления воды на площадку n =2 (на откосе)
мм/мин.
5. По формуле (7) устанавливают интенсивность впитывания на площадке n = 2
iвп(2) = 0,3 мм/мин.
6. По формуле (2) вычисляют интенсивность стока с площадки n =2
iст(2) = 4,5 - 0,3 = 4,2 мм/мин.
7. По формуле (5) определяют интенсивность поступления воды на площадку n = 3
iпв(3) = 1,5 + 4,2 = 5,7 мм/мин.
8. По формуле (7) устанавливают интенсивность впитывания на площадке n = 3
iвп(3) = 0,5 мм/мин.
9. По формуле (2) вычисляют интенсивность стока с площадки n =3
iст(3) = 5,7 - 0,5 = 5,2 мм/мин.
10. По формуле (5) определяют интенсивность поступления воды на площадку n = 4
iпв(4) = 1,5 + 5,2 = 6,7 мм/мин.
11. По формуле (7) устанавливают интенсивность впитывания на площадке n = 4
iвп(4) = 0,5 мм/мин.
12. По формуле (2) вычисляют интенсивность стока с площадки n =4
iст(4) = 6,7 - 0,5 = 6,2 мм/мин.
13. По формуле (9) определяют глубину слоя воды на площадке n = 4
м.
14. По формуле (1) устанавливают скорость воды на площадке n = 4
V4 = 0,00234 (50 · 9,15)0,4 · 6,20,6 = 0,081 м/сек.
15. По формуле (8) вычисляют допускаемую (неразмывающую) скорость на площадке n =4
м/сек.
16. Следовательно, на площадке n = 4 может быть размыв поверхности грунта. Для того, чтобы этого не произошло, устраивают полку, высоту которой определяют по уравнению
м.
На полке размещают водоотводные устройства для сбора и отвода воды, поступающей с верховой стороны откоса.
Промораживание рекомендуется проводить в специальном приборе, позволяющем промораживать образцы только сверху. В зависимости от типа конструкции земляного полотна (насыпь или выемка) гидрогеологических условий и консистенции грунта в условиях естественного залегания промораживание может проводиться как для условий открытой системы, т.е. с подтоком влаги к фронту промерзания, так и без подтока влаги (закрытая система). В последнем случае образец грунта предварительно насыщается водой.
Промораживание образцов производится при температуре минус 5 - 6° до полного промерзания образца, оттаивание производится при комнатной температуре.
Набухание и высушивание образцов в простейшем случае производится в приборе предварительного уплотнения без нагрузки под водой. Ход набухания фиксируется по индикатору. После завершения набухания образцы вместе с кольцами выгружают из прибора предварительного уплотнения, взвешивают, устанавливают в эксикатор над водой на 1 сутки, после чего подвергают высушиванию, например в сушильном шкафу, до постоянного веса. Высушенные образцы снова загружаются в прибор для последующего набухания. Если в реальных условиях наблюдается совместное действие набухания-усадки и промерзания-оттаивания, набухший образец промораживают, а после его оттаивания - высушивают.
Диффузионное выщелачивание глинистых грунтов производится в приборе Ф. Ф. Лаптева (рисунок). В прибор помещают образец грунта высотой 5 - 7 см с омываемой поверхностью 70 см2. По поверхности образца через песчаный фильтр пропускается с постоянным расходом (0,5 - 1,0 л/сутки) дистиллированная вода (или вода заданного состава). Продолжительность выщелачивания устанавливается периодическим сравнением содержания солей (например, измерением удельной электропроводности) фильтрата и воды на входе прибора. По окончании процесса выщелачивания содержание солей в воде на входе и выходе выравнивается. После выщелачивания один из серии образец грунта подвергается испытанию на прочность, другие в зависимости от условий залегания подвергаются дополнительному промораживанию-оттаиванию или набуханию-высушиванию, как это было указано выше.

Схема прибора Ф. Ф. Лаптева для изучения процессов диффузионного выщелачивания грунтов:
1 - обойма с грунтом; 2 - песчаный фильтр; 3 - верхний пояс; 4 - поддон; 5 - парафин (стяжные болты на схеме не показаны)
Грунты, для которых характерны окислительно-восстановительные реакции после перемещения в зону аэрации, подготавливаются к испытанию на прочность выдерживанием высушенных до постоянного веса образцов на воздухе. Срок выдерживания устанавливается последовательным испытанием нескольких образцов до достижения постоянных показателей прочности.
Защитные слои в простейшем случае могут выполняться в виде обсыпки из устойчивых к погодно-климатическим воздействиям материалов, в качестве которых можно использовать местные песчаные и супесчаные (непылеватые) грунты.
Конструкции защитного слоя, а в простейшем случае - толщина обсыпки, назначается из условия исключения:
1 промерзания неустойчивого (пучинистого) грунта;
2 высушивания грунта и образования усадочных трещин;
3 набухания в результате увлажнения дождевыми или талыми водами.
Основными факторами, определяющими интенсивность морозного пучения грунтов, являются температурный режим воздуха и, как следствие его, температурный режим грунтов, предзимняя влажность и пучинистые свойства грунтов. Влияние температурного режима грунтов обычно учитывают скоростью и глубиной их промерзания. Для определения скорости промерзания имеется ряд эмпирических и теоретических формул. Наиболее распространенной теоретической формулой является формула проф. В. С. Лукьянова*), которой рекомендуется пользоваться при наличии значительного снегового покрова на откосах.
*) Лукьянов В. С., Головко М. Д. Расчет глубины промерзания грунтов. Труды ЦНИИС, вып. 23, Трансжелдориздат, М., 1957.
Приближенные практические расчеты можно проводить исходя из условия (в запас), что снеговой покров на откосе весьма мал. В этом случае глубина промерзания может быть определена непосредственно по карте изолиний глубины промерзания грунтов на территории СССР. Эти глубины вычислены с учетом продолжительности зимнего периода, среднезимней температуры воздуха, теплового потока снизу, коэффициента теплопроводности мерзлого грунта, скрытой теплоты плавления льда и предзимней влажности грунтов. При расчетах с использованием формулы В. С. Лукьянова толщина снежного покрова определяется корректировкой данных метеостанций с учетом форм его отложения на откосе.
Форма отложения снежного покрова зависит от защищенности дороги от заносов, расположения трассы к направлению господствующих ветров, высоты насыпи, глубины выемки и от ряда других факторов. Если выемка достаточно ограждена, снег с поля в нее не попадает и на откосах отлагается лишь выпадающий на них снег. При расчетах глубины промерзания следует рассматривать два характерных случая: а) выемка расположена на кривой с направлением оси к господствующим ветрам под углом от 30 до 90° или на прямой с любым возможным ее положением по отношению к направлению ветра; в этих случаях снег на обоих откосах отлагается в виде клиньев с наибольшей толщиной у подошвы откоса; б) выемка расположена на кривой, ось которой пересекается с направлением господствующих ветров под углом, изменяющимся в пределах от 0 до 30°; в этих случаях на вогнутом откосе снег отлагается в форме клина, а на выпуклом - отсутствует.
Толщина снежного покрова у основания откоса определяется по формуле h = 2hмcosα, где hм - толщина снежного покрова на защищенной площадке по данным метеостанции, м; α - угол наклона откоса, град.
Пучинистость грунтов обычно устанавливается по содержанию в грунтах мелкозернистых фракций. Следует учитывать, что подверженность грунтов пучению во многом зависит от местных условий; поэтому в период изысканий следует выявить грунты, поверженные пучению.
Для исключения морозного пучения толщина слоя обсыпки должна назначаться так, чтобы не промерзал пучащий грунт.
Для предохранения пластичных глинистых грунтов, обладающих большой усадкой, от высыхания в летний период, они должны быть расположены ниже границы суточных колебаний температуры. На границе нулевой суточной амплитуды температурные градиенты меняют направление в течение суток (днем, ночью). В грунте, расположенном ниже суточного слоя, температурные градиенты в летний период направлены только сверху вниз, что обусловливает отсутствие испарения в атмосферу. Влажность в этом слое, по-видимому, не может падать ниже оптимальной влажности, характеризующей количество связанной воды. При влажности выше оптимальной в грунте находится свободная вода, часть которой может передвигаться в вышележащие слои обсыпки. Отток связанной воды крайне незначителен ввиду того, что слои обсыпки обычно устраивают из крупнозернистых непучащих или мало пучащих грунтов, обладающих малой способностью связывать воду, а также ввиду небольшой скорости передвижения этой воды. Известно, что наиболее заметная конденсация ледяных паров происходит на линии суточной нулевой амплитуды. Все это говорит о том, что в слоях грунта, расположенных ниже суточного слоя, усадка грунта не происходит. Толщина слоя с постоянной суточной температурой определяется по данным наблюдений Гидрометеослужбы. При ориентировочных расчетах она может приниматься равной 0,8 - 1,0 м.
Набухание грунта зависит от содержания мелкозернистых фракций, влажности грунта и нагрузки на грунт. Давление вышележащих слоев грунта затрудняет набухание. Поэтому интенсивность набухания уменьшается с глубиной. При устройстве изолирующей обсыпки, предохраняющей от морозного пучения, можно допустить некоторый приток воды в грунты сверх оптимальной влажности. Величина этого притока зависит от пучинистости грунтов и от веса вышележащей изолирующей обсыпки.
Поскольку защитная обсыпка устраняет усадку и пучение грунтов, набухание грунта становится менее опасным. За счет этого можно повысить допускаемую влажность грунтов. Высокая влажность может образоваться в результате осеннего влагонакопления, дополнительного увлажнения грунта при промерзании, а также за счет талых вод и жидких атмосферных осадков в весенний период. Осеннее влагонакопление зависит от конструктивных особенностей земляного полотна, разновидности и плотности грунтов, климатических условий. В свою очередь допускаемая влажность защищаемого грунта определяет состав, плотность и толщину защитного слоя, рассчитываемого по рассматриваемому условию. Для определения искомых параметров защитного слоя необходимо по методике, разработанной в Союздорнии [55, 56] определить величину впитывания атмосферных осадков за осенний период по длине откоса при ряде значений коэффициента впитывания. Коэффициент впитывания показывает во сколько раз интенсивность впитывания данного грунта отличается от интенсивности впитывания грунта, принятого за эталон, при одинаковой площади грунтовой поверхности, покрытой водой. За тот же период времени рассчитывается величина испарения. При принятых значениях коэффициента впитывания определяют эпюры влажности грунта в период выпадения осадков и в промежутки между дождями. Расчет ведется с 5-процентной вероятностью превышения возможной величины притока воды. Значения влажности на этих эпюрах ограничивают величиной допускаемой влажности, в результате чего устанавливается минимальная высота обсыпки при принятом коэффициенте впитывания. В свою очередь по величине коэффициента впитывания определяется состав и плотность грунта обсыпки.
Для расчета необходимы следующие данные:
1. Размеры конструктивных элементов дороги: высота насыпи, глубины выемки, заложение откосов, продольный уклон. При отсутствии устройств, собирающих и отводящих воду с проезжей части и обочин, - ширина и поперечный уклон проезжей части обочин.
2. Метеорологические факторы (многолетние среднемесячные данные) за осенний период: количество осадков и число дождей; суммарная продолжительность осадков; скорость ветра; дефицит влажности воздуха по годам (не менее 15 лет). При расчете притока влаги за осень следует принимать период со среднесуточной температурой воздуха от +10 до 0 °С. Устройство изолирующей обсыпки, толщина которой не менее глубины промерзания, устраняет дополнительное увлажнение пучащих грунтов в зимний период.
Весной грунт откоса оттаивает сверху и снизу. Оттаивание сверху начинается после схода снежного покрова. До этого может оттаять только небольшая часть толщи грунта под влиянием тепла воды, стекающей с откоса под снегом. Пока не исчезнет снежный покров, грунт оттаивает преимущественно снизу за счет теплового потока из глубины его слоев. В том случае, когда грунты на откосе оттаивают быстрее, чем сходит снежный покров, будет происходить просачивание талых вод в защитный слой. Расчет оттаивания грунта снизу ведется от момента прекращения нарастания глубины промерзания по формуле
,
где ho - толщина слоя оттаивания снизу за время τ, м;
θ - среднее за время τ значение температуры воздуха, град.;
λгр - коэффициент теплопроводности мерзлого грунта,
;
q - тепловой поток к границе оттаивания из нижних слоев грунта,
;
hсн - среднее значение толщины снежного покрова за время τ, м;
λсн
- коэффициент
теплопроводности снега,
;
γск - объемный вес скелета грунта, т/м3;
Cгр - теплоемкость минеральной
составляющей грунта,
;
hгр - глубина промерзания грунта к началу оттаивания, м;
Wл - предел льдовыделения, %;
Cл -
теплоемкость льда,
;
Cв - теплоемкость воды,
;
τ - время оттаивания, час;
Wт - содержание замерзшей воды в мерзлом грунте от объемного веса скелета грунта, %;
W - влажность грунта, %;
α - коэффициент, учитывающий условия теплоотдачи с поверхности откоса.
Значения параметров определяются также, как и при вычислении глубины промерзания грунтов по формуле В. С. Лукьянова.
С момента окончания оттаивания откосов происходит просачивание талых вод, которое заканчивается после схода снегового покрова. Прирост влажности за это время может быть определен по методике Союздорнии [55, 56]. После чего по допускаемой величине влажности в пучащих грунтах устанавливается состав, плотность и толщина защитной обсыпки.
При рассчитанной указанным образом толщине защитного слоя жидкие атмосферные осадки, выпадающие весной, не будут оказывать влияния на водный режим защищаемого грунта. Поэтому не требуется каких-либо дополнительных мероприятий по защите грунтов от этих осадков.
За требуемую толщину защитного слоя принимается наибольшая величина, полученная из указанных трех условий.
Пример. Определить необходимую толщину защитного слоя для района участка Кировоград-Первомайск автомобильной дороги Полтава-Кишинев.
1. По данным метеостанций в Первомайске толщина снежного покрова в защищенных местах, где влияние ветра на условия залегания снежного покрова не сказывается, изменяется от 2 см в первой декаде до 7 см в январе-феврале. В Кировограде толщина снежного покрова изменяется от 2 см в первой декаде декабря до 8 см в январе. Пренебрегая влиянием снегового покрова и используя карту Л. Т. Абрамова, определяем глубину промерзания для данного района - 0,7 м. Таким образом, по первому критерию толщина защитного слоя должна быть не менее 0,7 м.
2. Глубина, где отсутствует колебание суточных температур, равняется в среднем 0,9 м. Таким образом, с точки зрения второго критерия необходимо, чтобы защитный слой имел толщину не менее 0,9 м.
3. Расчет по третьему условию показывает, что при применении в защитном слое супеси, толщина его должна быть не менее 1,5 - 3 м (в зависимости от плотности).
Таким образом, защитный слой в данном случае необходимо устраивать из супеси и толщина его не должна быть менее 1,5 м (при плотности 0,98 от наибольшей плотности, полученной по методу стандартного уплотнения).
Однако при окончательном назначении конструкции защитного слоя следует иметь в виду, что поверхность самого защитного слоя должна быть также укреплена. Укрепление поверхности снижает впитывание. Поэтому для соблюдения третьего условия не обязательно делать толщину слоев 1,5 - 3 м, как получилось по расчету. Практически ее можно принять равной максимальной величине, определяемой первым и вторым условием, т.е. до величины порядка 0,9 - 1,0 м.
Горизонтальные дренажи в виде скважин, обсаженных трубофильтрами, рекомендуется применять для предупреждения сплывов на откосах, сложенных переувлажненными глинистыми грунтами, а также на откосах, где наблюдается высачивание грунтовых вод с малым дебитом при отсутствии четко выраженных водоносных горизонтов.
Дренажные скважины снимают избыточный напор в грунте, приводя его в более прочное состояние, осушают грунты в радиусе своего влияния, создавая призму упора в основании откоса, отводят свободную воду в период оттаивания грунта, когда последний имеет повышенную водопроницаемость.
Приводимые ниже рекомендации относятся к устройству дренажных скважин внешним диаметром 100 мм обсаженных керамзитобетонными трубофильтрами. При высоте откоса до 4 м скважины устанавливаются в один ряд на высоте 0,5 м от основания откоса. Расстояние между скважинами в ряду определяется по выражению
Lр(1) = a + bf,
где f - интенсивность пучения в долях единицы, определяемая в соответствии с положениями главы III Указаний;
a, b - коэффициенты, зависящие от вида грунта, назначаются по таблице.
Таблица
Значение коэффициентов a и b
|
Вид грунта |
a |
b |
|
Супеси |
1,0 |
2 |
|
Суглинки |
0,8 |
4 |
|
Глины |
0,6 |
6 |
При этом должно соблюдаться условие
1,0 ≤ Lр(1) ≤ 2,0.
При высоте откоса более 4 м скважины устанавливаются в 2 ряда. Расстояние между скважинами в ряду Lр(2) при этом увеличивается
Lр(2) = 1,8 Lр(1).
Расстояние между рядами скважин по высоте hc принимается равным расстоянию между скважинами при однорядном их расположении
hc = Lр(1).
Процесс устройства горизонтальных дрен в откосах включает в себя:
подготовительные работы;
бурение горизонтальных скважин;
обсадку скважин трубофильтрами.
Подготовительные работы состоят из доставки трубофильтров и бурового станка на объект, разбивки местоположения горизонтальных скважин на откосе и распределения трубофильтров на местах будущих дрен.
Бурение горизонтальных скважин осуществляется переносными станками ЦНИИ-2, ПВБСм-15 или другими станками подобного типа. Для обеспечения высокой производительности при бурении большого числа горизонтальных скважин в конструкции станков ЦНИИ-2 и ПВБСм-15 следует внести небольшие изменения. Эти изменения сводятся или к установке тяговой лебедки на вращателе и двух блоков на нижней обвязке (см. а на рисунке) или к устройству реечного зацепления (см. б на рисунке). Это позволяет легко регулировать механическую пригрузку шнека при бурении. Указанные изменения могут быть выполнены в любой мастерской. Бурение осуществляется шнеками, диаметр которых больше диаметра трубофильтров на 9 - 12 мм.
Скважины глубиной до 1,5 м бурятся одним шнеком, при большей глубине шнек наращивается дополнительной штангой.
Для этой цели при малых оборотах двигателя хвостовая часть шнека выводится из обоймы вращателя, шнек остается в скважине, а вращатель отводится назад, шнек наращивается штангой и бурение продолжается. При достижении заданной глубины скважины, не останавливая вращения шнека, вращатель отводится назад, станок снимается и переносится на место другой скважины.
Обсадка производится вручную путем проталкивания в скважину трубофильтров, состоящих из коротких отрезков длиной 0,5 м.
Все работы по устройству горизонтальных дрен выполняются бригадой из трех человек. Два рабочих обслуживают буровой станок, один обсаживает скважины трубофильтрами.
В зависимости от длины дрен и грунтовых условий производительность бригады за смену составляет 80 - 150 дрен.

Схемы модернизированных станков ЦНИИ-2 (а) и ПВБСм-15 (б) для бурения горизонтальных скважин:
1 - рама; 2 - нижняя обвязка; 3 - верхняя обвязка; 4 - крепление опорной стойки; 5 - двигатель; 6 - лебедка; 7 - тросы; 8 - блоки с амортизаторами; 9 - шнек; 10 - реечное зацепление; 11 - редуктор; 12 - механизм подачи
|
W - Wр |
Влажность W |
||||||||||
|
16 |
18 |
20 |
22 |
24 |
26 |
28 |
30 |
32 |
34 |
36 |
|
|
1 |
0,015 |
0,018 |
0,021 |
0,025 |
0,028 |
0,031 |
0,034 |
0,037 |
0,041 |
0,044 |
0,047 |
|
2 |
0,022 |
0,025 |
0,029 |
0,032 |
0,035 |
0,038 |
0,041 |
0,045 |
0,048 |
0,051 |
0,054 |
|
3 |
0,034 |
0,037 |
0,040 |
0,044 |
0,047 |
0,050 |
0,053 |
0,056 |
0,060 |
0,063 |
0,066 |
|
4 |
0,050 |
0,054 |
0,057 |
0,060 |
0,063 |
0,066 |
0,070 |
0,073 |
0,076 |
0,079 |
0,082 |
|
5 |
- |
0,075 |
0,078 |
0,081 |
0,084 |
0,088 |
0,091 |
0,094 |
0,097 |
0,100 |
0,103 |
|
6 |
- |
0,097 |
0,100 |
0,104 |
0,107 |
0,110 |
0,113 |
0,116 |
0,120 |
0,123 |
0,126 |
|
7 |
- |
- |
0,130 |
0,133 |
0,136 |
0,139 |
0,143 |
0,146 |
0,149 |
0,152 |
0,155 |
|
8 |
- |
- |
0,164 |
0,167 |
0,170 |
0,173 |
0,176 |
0,180 |
0,183 |
0,186 |
0,189 |
|
9 |
- |
- |
- |
0,205 |
0,208 |
0,212 |
0,215 |
0,218 |
0,221 |
0,224 |
0,227 |
|
10 |
- |
- |
- |
0,248 |
0,251 |
0,254 |
0,258 |
0,261 |
0,264 |
0,267 |
0,270 |
Примечание. Объемный вес скелета грунта γ принят равным 1,6 г/см3. Интенсивность пучения fγп для других значений γп определяют по формуле
![]()
|
Виды грунтов |
Коэффициент пористости |
Природная влажность, % |
Влажность на границе раскатывания, % |
Нормативный объемный вес, г/см |
Сцепление, кг/см2 |
Нормативный угол внутр. трения град |
||
|
нормативное |
расчетное |
|||||||
|
Пылеватые |
Супеси |
0,4 - 0,5 0,5 - 0,6 0,6 - 0,7 |
16 - 18 19 - 22 23 - 25 |
9,4 |
2,10 2,00 1,95 |
0,10 0,07 0,05 |
0,02 0 0 |
30 28 27 |
|
0,4 - 0,5 0,5 - 0,6 0,6 - 0,7 |
15 - 18 19 - 22 23 - 25 |
9,5 - 12,4 |
2,10 2,00 1,95 |
0,12 0,08 0,06 |
0,03 0,01 0 |
25 24 23 |
||
|
0,4 - 0,5 0,5 - 0,6 0,6 - 0,7 0,7 - 0,8 |
15 - 18 19 - 22 23 - 25 26 - 29 |
12,5 - 15,4 |
2,10 2,00 1,95 1,90 |
0,42 0,21 0,14 0,07 |
0,14 0,07 0,04 0,02 |
24 23 22 21 |
||
|
Суглинки Глины |
0,5 - 0,6 0,6 - 0,7 0,7 - 0,8 0,8 - 0,9 0,9 - 1,0 |
19 - 22 23 - 25 26 - 29 30 - 34 35 - 40 |
15,5 - 18,4 |
2,00 1,95 1,90 1,85 1,80 |
0,58 0,25 0,19 0,11 0,08 |
0,19 0,11 0,08 0,04 0,02 |
22 31 20 19 18 |
|
|
Глинистые |
0,6 - 0,7 0,7 - 0,8 0,8 - 0,9 0,9 - 1,0 |
23 - 25 26 - 29 30 - 34 35 - 40 |
18,5 - 22,4 |
1,95 1,90 1,85 1,80 |
0,68 0,34 0,28 0,19 |
0,28 0,19 0,10 0,06 |
20 19 18 17 |
|
|
0,7 - 0,8 0,8 - 0,9 0,9 - 1,1 |
26 - 29 30 - 34 35 - 40 |
22,5 - 26,4 |
1,90 1,85 1,75 |
0,82 0,41 0,36 |
0,36 0,25 0,12 |
18 17 16 |
||
|
0,8 - 0,9 0,9 - 1,1 |
30 - 34 35 - 40 |
26,5 - 30,4 |
1,85 1,75 |
0,94 0,47 |
0,49 0,22 |
16 15 |
||
ПРИМЕЧАНИЯ: 1. Средние удельные веса приняты: супесей - 2,70; суглинков - 2,71; глин - 2,74 г/см3. Заполнение пор водой 0,9.
2. Расчетные значения углов внутреннего трения φ принимаются ниже нормативных значений на 2°.
1. Аверочкина М. В. Влияние структуры грунта на пучение. Труды ЦНИИ, вып. 326. М., «Транспорт», 1967.
2. Акройл Т. Лабораторные испытания грунтов в строительстве. М., Автотрансиздат, 1959.
3. Алексеевский В. Е. Методы определения физико-технических свойств грунтов. - «Гидротехника и мелиорация», 1968, № 2.
4. Альбом типовых поперечных профилей земляного полотна вновь строящихся железных дорог колеи 1524 мм общей сети СССР. М., Мосгипротранс, ЦНИИ МПС, 1965.
5. Акосова Л. Н. Изменение состава и деформационного поведения глин при оползневых процессах. М., «Наука», 1966.
6. Апестин В. К., Львович Ю. М., Вельмакина Н. И. Причины деформации на участке дороги с цементобетонным покрытием. - «Автомобильные дороги», 1968, № 5.
7. Временные указания по проектированию зданий и сооружений, возводимых на набухающих грунтах (СН 331-65). М., Стройиздат, 1966.
8. Временные указания по проектированию и подбору гранулометрического состава фильтров переходных зон, защищающих связные (глинистые) грунты ядер (экранов) высоких и сверхвысоких плотин из местных материалов (ВСН 01-66 МЭ и Э СССР). Л., «Энергия», 1967.
9. Гольдштейн М. Н. Деформации земляного полотна и оснований сооружений при промерзании-оттаивании. М., Трансжелдориздат, 1948.
10. Горькова И. М. Теоретические основы оценки осадочных пород в инженерно-геологических целях. М., «Наука», 1966.
11. Грицык В. И., Иванова М. Н. Эрозионные деформации откосов земляного полотна. Сб. «Сооружение и эксплуатация земляного полотна из пылеватых грунтов». М., «Транспорт», 1964.
13. Грушевой Н. Г. Земляное полотно зарубежных железных дорог. М., Трансжелдориздат, 1961.
14. Данилов А. И. График для разделения грунтов на обычные просадочные и набухающие. - «Основания, фундаменты и механика грунтов», 1964, № 5.
15. Деформации земляного полотна и методы борьбы с ними. Сб. «Вопросы геотехники» № 11. М., «Транспорт», 1967.
16. Дрозд П. А., Буртыз Ю. Ф. Фильтрационная устойчивость грунтов и подбор обратных фильтров. «Урожай», Минск, 1967.
17. Запорожченко Э. В. Оползневые явления и вопросы изучаемости сопротивления пород сдвигу. Тр. ВОДГЕО, вып. 6. М., 1964.
18. Затенацкая Н. П., Сафохина И. А. Диффузионное выщелачивание глин и его влияние на инженерно-геологические свойства. М., Наука, 1967.
19. Иванов Ф. М., Виноградова О. А., Маланов Н. Г. Справочник лаборанта-дорожника. М., «Транспорт», 1964.
20. Казабеков К. К. Сопротивляемость замоченных лессовидных суглинков на сдвиг в насыпи. Доклады АН Узб. ССР, 1966, № 2.
21. Казарновский В. Д., Львович Ю. М., Вельмакина Н. И. и др. Предложения по расчету устойчивости откосов высоких насыпей и глубоких выемок. Союздорнии. М., 1967.
22. Клешев Б. Дренаж из пористых бетонных труб без щебеночно-гравийного фильтра. - «Гидротехника и мелиорация», 1966, № 1.
23. Клевцов И. А. Закрепление пластических оползней древесной растительностью и изоляцией из шлакоглинобетона. Инф. письмо ЦНИИ № 224, Трансжелдориздат, 1952.
24. Коломенский Н. В. Методические указания по изучению процессов выветривания горных пород для инженерно-геологических целей. М., Госгеолиздат, 1952.
25. Комарницкий Н. И. Влияние зон и поверхностей ослабления в породах на устойчивость откосов. М., «Наука», 1966.
26. Инструкция по сооружению земляного полотна автомобильных дорог (ВСН 97-63).
27. Инженерно-геологические исследования при изысканиях новых линий, вторых путей, реконструкции и электрификации железных дорог (Наставление). М., Изд. ЦНИИСа, 1962.
28. Ласточкин В. С. Устойчивость откосов при оттаивании. Тр. IV совещания-семинара по обмену опытом строительства в суровых климатических условиях. Воркута, 1966.
29. Мазуров Г. И., Тихонова Е. С. Преобразование состава и свойств грунтов при многократном замораживании. Вестник ЛГУ, 1964, № 18.
30. Маслов Н. Н. Условия устойчивости склонов и откосов в гидроэнергетическом строительстве. М., Госэнергоиздат, 1955.
31. Маслов Н. Н. Прикладная механика грунтов. М., Машстройиздат, 1949.
32. Маслов Н. Н. Инженерная геология. М.-Л., Стройиздат, 1941.
33. Маслов Н. Н. Проблемы устойчивости и деформации грунтов. М., Госэнергоиздат, 1961.
34. Маслов Н. Н., Казарновский В. Д. Определение сопротивляемости грунтов сдвигу методом плотности - влажности. - «Автомобильные дороги», 1962, № 12.
35. Мельников Б. М. Зависимость морозного пучения элювиальных грунтов Урала от влажности, гранулометрического и минералогического состава. «Основание, фундаменты и механика грунтов», 1966, № 1.
36. Методические указания по инженерно-геологическим исследованиям грунтов при изысканиях дорог (проект). ЦНИИС, 1968.
37. Методические указания по определению сопротивления грунтов в скважинах. М., Оргтрансстрой, 1961.
39. Методические указания по проектированию выемок в переувлажненных пылеватых грунтах. ЦНИИС - Главтранспроект. М., 1961.
40. Методические указания по инженерно-геологическим исследованиям для обоснования проектов дорожных сооружений, возводимых на слабых глинистых грунтах. ЦНИИС Минтрансстрой. М., 1967.
42. Механизированное укрепление откосов земляного полотна посевом многолетних трав. (Технологическая карта). М., Оргтрансстрой, 1964.
43. Минкевич Б. И., Усманов И. У. Пористые дренажные трубы из пластораствора. - «Гидротехника и мелиорация», 1967, № 11.
44. Михайлов Г. Д. Изменение сопротивления сдвигу глинистых грунтов при его промерзании - оттаивании. - «Транспортное строительство», 1966, № 12.
45. Михайлов Г. Д. Методика определения сопротивления сдвигу сезонномерзлых глинистых грунтов земляного полотна при их оттаивании. Труды IV совещания-семинара по обмену опытом строительства в суровых климатических условиях. Воркута, 1966.
46. Михеев А. Н., Синельщиков С. И. О проекте нового нормативного документа «Указания по определению характеристик грунта (нормативных и расчетных)». - «Основания, фундаменты и механика грунтов», 1965, № 3.
47. Мухин В. М. Об изменении водно-физических свойств почвы под влиянием промерзания и оттаивания. Труды ЦИП. Вып. 113, М., Гидрометеоиздат, 1961.
48. Овчинников Л. Ф. Сооружение дренажей машиной системы ЦНИИ МПС. «Транспорт», М., 1968.
49. Полтев Н. Ф. Об изменении величины Кф глинистых грунтов во времени. Вестник МГУ, серия IV, Геология, 1964, № 6.
50. Приклонский В. А., Горькова И. М., Окнина Н. А., Реутова Н. С., Чепик В. Ф. Инженерно-геологические особенности хвалынских глинистых пород в связи с условиями их формирования (на примере некоторых районов Заволжья). Труды лаборатории гидрогеологических проблем им. академика Ф. П. Саваренского, том XIII. М., Изд-во АН СССР, 1956.
51. Приклонский В. А., Окнина Н. А. Изменение физико-механических свойств глинистых пород в процессе их диффузионного выщелачивания (на примере хвалынских глин). Труды лаборатории гидрогеологических проблем, том XV. М., Изд-во АН СССР, 1957.
52. Разоренов В. Ф. Пенетрационные испытания грунтов. М., Изд-во литературы по строительству, 1968.
53. Рогаткина Ж. Е. Изменение физико-механических свойств некоторых грунтов в результате набухания. Труды МИИТа, вып. 240. М., Транспорт, 1966.
54. Рогаткина Ж. Е. Некоторые закономерности набухания хвалынских глин. Труды МИИТа, вып. 240. М., Транспорт, 1966.
55. Рувинский В. И. Учет впитывания жидких атмосферных осадков в грунт земляного полотна при проектировании автомобильных дорог. Сб. «Труды Союздорнии», вып. 1. М., 1964.
56. Рувинский В. И. Обоснование мероприятий по защите земляного полотна автомобильных дорог от увлажнения поверхностными водами. Сб. «Труды Союздорнии», вып. 13. М., 1966.
57. Руководство по предупреждению сплывов на откосах выемок при строительстве железных дорог. Изд. ЦНИИСа. М., 1960.
58. Руководство по химическим анализам воды и грунтов при изысканиях дорог. М., Главтранспроект, 1967.
59. Сезонное промерзание и протаивание грунтов на территории северо-востока СССР. М., «Наука», 1966.
60. Соболевский Ю. А. Устойчивость откосов мелиоративных каналов. Минск. Изд. «Урожай», 1965.
61. СНиП II-Б.1-2. Основания зданий и сооружений. Нормы проектирования. М., Госстройиздат, 1963.
62. СНиП II-А.6-62. Строительная климатология и геофизика. Основные положения проектирования. М., Госстройиздат, 1963.
63. Соколов С. С. Способ прогноза набухания глинистых пород. Бюллетень научно-технической информации. Гос. геол. комитет СССР. Отд. научно-технич. информации ВИМСа № 8 (47), 1968.
64. Сорочан А. Е. К вопросу классификации глин по набуханию. Инф. бюл. ЦТИСИЗ № 3. М., 1967.
65. Технические указания по оздоровлению основной площадки земляного полотна на пучинистых участках. М., «Транспорт», 1968.
66. Технические условия сооружения земляного полотна (СН 61-59).
67. Типовые поперечные профили земляного полотна автомобильных дорог. М., Союздорпроект, 1966.
68. Титов В. П. Методические материалы исследования для разработки руководства по предупреждению сплывов откосов выемок, связанных с промерзанием и оттаиванием. Сообщение ЦНИИСа, № 159. М., 1959.
69. Титов В. П. Динамика прочности оттаивающих грунтов. Сб. «Борьба с пучинами на железных и автомобильных дорогах». М., «Транспорт», 1965.
70. Титов В. П. Устойчивость железнодорожных насыпей из пылеватых связных грунтов в районах избыточного увлажнения. Сб. «Вопросы устойчивости земляного полотна». М., «Транспорт», 1967.
71. Титов Л. А., Хасин М. Ф. Применение горизонтальных фильтров при водопонижении в несовершенных котлованах. «Энергетическое строительство», 1967, № 8.
72. Троицкая М. Н. Пособие к лабораторным работам по механике грунтов. Изд-во МГУ, 1961.
73. Указание по определению сопротивления сдвигу песчаных и глинистых грунтов в приборе трехосного сжатия. М., Изд. ЦНИИСа, 1967.
74. Указание по технологии производства работ при сооружении земляного полотна. ВСН 57-61. М., Оргтрансстрой, 1961.
75. Xархута Н. Я., Васильев Ю. М. Морозоустойчивость грунтов с естественной структурой. Труды Союздорнии, вып. 7, 1966.
76. Чаповский Е. Г. Лабораторные работы по грунтоведению и механике грунтов. М., «Недра», 1966.
77. Чурсанов А. М., Панфилов В. К. Влияние процессов выветривания на устойчивость откосов Лебединского карьера КМА. Труды Н.-И. и пр.-констр. института по осушению месторождений полезных ископаемых, вып. 3, 1964.
78. Шахунянц Г. М. Земляное полотно железных дорог. М., Трансжелдориздат, 1958.
79. Шуверина Е. Н., Цытович Н. А. Некоторые опыты по изучению влияния промораживания и последующего оттаивания на прочность глинистых грунтов. В сб.: «Материалы по лабораторным исследованиям мерзлых грунтов». № 3. М., Изд-во АН СССР, 1957.
80. Экман В. Е. О количестве образцов для определения нормативного значения физических показателей грунта. - «Основания, фундаменты и механика грунтов», 1966, № 2.
СОДЕРЖАНИЕ