ГОСТ 30676-2000
МЕЖГОСУДАРСТВЕННЫЙ СТАНДАРТ
СТАНКИ КРУГЛОШЛИФОВАЛЬНЫЕ
ФЛАНЦЫ ДЛЯ КРЕПЛЕНИЯ
ШЛИФОВАЛЬНЫХ КРУГОВ
КОНСТРУКЦИЯ И РАЗМЕРЫ
МЕЖГОСУДАРСТВЕННЫЙ СОВЕТ
ПО СТАНДАРТИЗАЦИИ, МЕТРОЛОГИИ И СЕРТИФИКАЦИИ
МИНСК
Предисловие
1 РАЗРАБОТАН Межгосударственным техническим комитетом по стандартизации МТК 75 «Станки»
ВНЕСЕН Комитетом Украины по вопросам стандартизации, метрологии и сертификации
2 ПРИНЯТ Межгосударственным Советом по стандартизации, метрологии и сертификации (протокол № 17 от 22 июня 2000 г.)
За принятие проголосовали:
|
Наименование государства |
Наименование национального органа по стандартизации |
|
Азербайджанская Республика |
Азгосстандарт |
|
Республика Армения |
Армгосстандарт |
|
Республика Беларусь |
Госстандарт Республики Беларусь |
|
Республика Казахстан |
Госстандарт Республики Казахстан |
|
Кыргызская Республика |
Кыргызстандарт |
|
Российская Федерация |
Госстандарт России |
|
Республика Таджикистан |
Таджикгосстандарт |
|
Туркменистан |
Главгосинспекция «Туркменстандартлары» |
|
Республика Узбекистан |
Узгосстандарт |
|
Украина |
Госстандарт Украины |
3 Постановлением Государственного комитета Российской Федерации по стандартизации и метрологии от 18 января 2001 г. № 24-ст межгосударственный стандарт ГОСТ 30676-2000 введен в действие непосредственно в качестве государственного стандарта Российской Федерации с 1 января 2002 г.
4 ВВЕДЕН ВПЕРВЫЕ
СОДЕРЖАНИЕ
|
4 Конструкция и размеры неподвижных фланцев. 5 5 Конструкция и размеры подвижных фланцев. 6 6 Конструкция и размеры картонной прокладки. 7 7 Конструкция и размеры сегмента. 7 |
ГОСТ 30676-2000
МЕЖГОСУДАРСТВЕННЫЙ СТАНДАРТ
|
Станки круглошлифовальные ФЛАНЦЫ ДЛЯ КРЕПЛЕНИЯ ШЛИФОВАЛЬНЫХ КРУГОВ Конструкция и размеры Circular
grinding machines. |
Дата введения 2002-01-01
Настоящий стандарт распространяется на фланцы для крепления шлифовальных кругов типа I по ГОСТ 2424 (далее - фланцы круга), используемых при круглом наружном шлифовании со скоростью до 60 м/с на круглошлифовальных станках общего назначения по ГОСТ 11654.
Стандарт распространяется на вновь разрабатываемые узлы.
Стандарт не распространяется на элементы крепления абразивного инструмента с встроенным в шпиндель шлифовальной бабки механизмом балансировки круга.
Все требования стандарта обязательны, кроме 3.8 и 3.9.
ГОСТ 12.3.028-82 Система стандартов безопасности труда. Процессы обработки абразивным и эльборовым инструментом. Требования безопасности
ГОСТ 1050-88 Прокат сортовой, калиброванный, со специальной отделкой поверхности из углеродистой качественной конструкционной стали. Общие технические условия
ГОСТ 1412-85 Чугун с пластинчатым графитом для отливок. Марки
ГОСТ 2270-78 Инструмент абразивный. Основные размеры элементов крепления
ГОСТ 2424-83 Круги шлифовальные. Технические условия
ГОСТ 9347-74 Картон прокладочный и уплотнительные прокладки из него. Технические условия
ГОСТ 11654-90 Станки круглошлифовальные. Основные параметры и размеры. Нормы точности
ГОСТ 11737-93 Ключи для винтов с внутренним шестигранником. Технические условия
ГОСТ 11738-84 (ИСО 4762-77) Винты с цилиндрической головкой и шестигранным углублением под ключ класса точности А. Конструкция и размеры
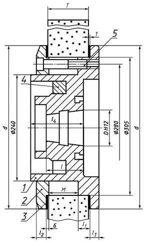
3.1 Основные размеры фланцев круга с сегментом для балансировки, находящимся в неподвижном фланце, и посадочным диаметром шлифовального круга 305 мм должны соответствовать указанным на рисунке 1 и в таблице 1.
1 - неподвижный фланец; 2 - подвижный фланец; 3 - прокладка; 4 - сегмент; 5 - винт M16-6g´56.029 по ГОСТ 11738
Рисунок 1 - Фланец с посадочным диаметром круга 305 мм
Таблица 1
Размеры в миллиметрах
|
Номер конструктивного исполнения фланца |
Размер конусного отверстия |
l1 |
l2 |
l3 |
l4 |
d |
Количество винтов, n, шт. |
|||
|
Диаметр |
Высота Т |
D |
l |
|||||||
|
Н12 |
||||||||||
|
600 |
100 |
01 |
80 |
84 |
25 |
16 |
16 |
108 |
365 |
8 |
|
80 |
02 |
25 |
||||||||
|
63 |
03 |
25 |
||||||||
|
50 |
04 |
25 |
||||||||
|
40; 32 |
05 |
12 |
||||||||
|
25 |
06 |
12 |
||||||||
|
20 |
07 |
12 |
||||||||
|
125 |
08 |
25 |
||||||||
|
750; 900 |
100 |
09 |
100 |
104 |
25 |
22 |
22 |
135 |
380 |
8 |
|
80 |
10 |
25 |
||||||||
|
63 |
11 |
25 |
||||||||
|
50 |
12 |
25 |
||||||||
|
40 |
13 |
12 |
||||||||
|
32 |
14 |
12 |
||||||||
|
25 |
15 |
12 |
||||||||
|
20 |
16 |
12 |
||||||||
|
150 |
17 |
25 |
||||||||
|
750; 900 |
200 |
18 |
190 |
22 |
22 |
204 |
380 |
|||
|
750 |
250 |
19 |
240 |
19 |
19 |
248 |
380 |
|||
|
900; 1060 |
100 |
20 |
125 |
130 |
30 |
22 |
22 |
160 |
380 |
10 |
|
80 |
21 |
|||||||||
|
63 |
22 |
|||||||||
|
50 |
23 |
|||||||||
|
40 |
24 |
|||||||||
|
32; 25 |
25 |
|||||||||
3.2 Основные размеры фланцев круга с сегментом для балансировки, находящимся в подвижном фланце, и посадочным диаметром шлифовального круга 203 мм должны соответствовать указанным на рисунке 2 и в таблице 2.
1 - неподвижный фланец; 2 - подвижный фланец; 3 - прокладка; 4 - сегмент; 5 - винт M16-6g´56.029 по ГОСТ 11738
Рисунок 2 - Фланец с посадочным диаметром круга 203 мм
Таблица 2
Размеры в миллиметрах
|
Номер конструктивного исполнения фланца |
Размер конусного отверстия |
|||
|
Диаметр |
Высота Т |
D |
l |
|
|
Н12 |
||||
|
400 |
100 |
26 |
65 |
69 |
|
80 |
27 |
|||
|
63 |
28 |
|||
|
50 |
29 |
|||
|
32; 40 |
30 |
|||
|
25 |
31 |
|||
|
20 |
32 |
|||
|
400 |
100 |
33 |
80 |
84 |
|
80 |
34 |
|||
|
63 |
35 |
|||
|
50 |
36 |
|||
|
32; 40 |
37 |
|||
|
25 |
38 |
|||
|
20 |
39 |
|||
3.3 Конструкция и размеры фланцев круга, не оговоренные в 3.1 и 3.2, определяет разработчик.
3.4 Конструкцию сегмента для балансировки определяет разработчик.
3.5 Для закрепления шлифовального круга допускается применять проставное кольцо. Установка проставного кольца должна соответствовать рисунку 3.
Рисунок 3 - Установка проставного кольца
3.6 Необходимо маркировать обозначение фланца круга. Маркировку наносят на подвижный фланец.
3.7 Указания по установке фланца приведены в приложении А.
3.8 Структура условного обозначения фланца круга:

3.9 Пример условного обозначения фланца для шлифовального круга диаметром 900 мм (1060 мм), высотой 63 мм и с конусным отверстием диаметром 125 мм:
Фланец круга 125.22 ГОСТ 30676-2000
4.1 Основные размеры неподвижных фланцев должны соответствовать рисункам 1, 2 и таблицам 1, 2.
4.2 Конструкцию и размеры неподвижного фланца, не оговоренные в 4.1, определяет разработчик.
4.3 При применении одного круга высотой Т = 200 мм с целью уменьшения массы фланца и длины крепежных винтов на посадочном диаметре 305 мм допускается выточка.
Конструкцию и размеры выточки определяет разработчик. При применении набора кругов выточка недопустима.
4.4 Материал неподвижного фланца - чугун марки СЧ 30 по ГОСТ 1412. Допускается применять сталь марок 20, 35, 45 по ГОСТ 1050.
5.1 Конструкция и основные размеры подвижных фланцев с посадочным диаметром шлифовального круга 305 мм должны соответствовать рисунку 4 и таблице 3.
Рисунок 4 - Подвижный фланец с посадочным диаметром 305 мм
Таблица 3
Размеры в миллиметрах
|
d |
l2 |
Количество отверстий n, шт. |
|
|
600 |
365 |
16 |
8 |
|
750; 900 |
380 |
22 |
|
|
900; 1060 |
10 |
5.1.1 Материал подвижного фланца с посадочным диаметром 305 мм - сталь марки 20 по ГОСТ 1050. Допускается применять сталь марок 35, 45 по ГОСТ 1050.
5.2 Конструкция и основные размеры подвижного фланца с посадочным диаметром шлифовального круга 203 мм должны соответствовать рисунку 5.
5.2.1 Материал подвижного фланца с посадочным диаметром 203 мм - сталь марок 20 по ГОСТ 1050. Допускается применять чугун марки СЧ 30 по ГОСТ 1412 и сталь марок 35, 45 по ГОСТ 1050.
Рисунок 5 - Подвижный фланец с посадочным диаметром 203 мм
6.1 Форма и основные размеры картонной прокладки, которая устанавливается между торцами круга и фланцами (проставными кольцами), должны соответствовать рисунку 6 и таблице 4.
Таблица 4
В миллиметрах
|
d1 |
d2 |
|
|
400 |
204 |
265 |
|
600 |
306 |
370 |
|
750; 900; 1060 |
385 |
6.2 Материал картонной прокладки - картон А-1,00 по ГОСТ 9347.
Рисунок 6 - Картонная прокладка
7.1 Конструкция, основные размеры и крепление сегмента для балансировки конструктивно определяются в зависимости от конструктивных особенностей подвижного или неподвижного фланца.
7.2 Материал сегмента - чугун марки СЧ 15 по ГОСТ 1412. Допускается замена на сталь марок 20, 35, 45 по ГОСТ 1050.
8.1 Конструкция и основные размеры проставных колец должны соответствовать рисунку 7 и таблице 5.
Рисунок 7 - Проставное кольцо
Таблица 5
В миллиметрах
|
Посадочный диаметр d3 |
d |
Н |
d4 |
|
|
600 |
305 |
365 |
10 |
361 |
|
15 |
||||
|
20 |
||||
|
25 |
||||
|
30 |
||||
|
35 |
||||
|
40 |
||||
|
45 |
||||
|
50 |
||||
|
750; 900; 1060 |
305 |
380 |
10 |
376 |
|
15 |
||||
|
20 |
||||
|
25 |
||||
|
30 |
||||
|
35 |
||||
|
40 |
||||
|
45 |
||||
|
50 |
||||
|
400 |
203 |
260 |
10 |
256 |
|
15 |
8.2 Проставные кольца допускается устанавливать слева или справа от шлифовального круга.
Примечание - Кольца устанавливаются при условии
(l + 4) > T, (1)
где l - длина посадочной поверхности неподвижного фланца, мм (таблицы 1 - 2);
Т - высота круга, мм (таблицы 1 - 2).
Наружный диаметр проставного кольца, наружный диаметр фланца подвижного и наружный диаметр неподвижного фланца d должны быть одинаковыми в одном фланце круга.
При размере М = 4 мм (рисунки 1, 2) между подвижным и неподвижным фланцами устанавливают на неподвижный фланец две прокладки.
8.3 Материал проставного кольца - чугун марки СЧ 15 по ГОСТ 1412. Допускается применять сталь марок 20, 35, 45 по ГОСТ 1050.
А.1 Шлифовальный круг должен устанавливаться на неподвижный фланец согласно ГОСТ 12.3.028.
А.2 Винты, крепящие шлифовальный круг, после установки круга должны быть равномерно затянуты торцовым ключом по ГОСТ 11737.
Не допускается применение насадок на торцовые ключи.
А.3 Элементы крепления - по ГОСТ 2270.
Ключевые слова: круглошлифовальные станки, фланцы, конструкция, размеры