МИНИСТЕРСТВО ЭНЕРГЕТИКИ И ЭЛЕКТРИФИКАЦИИ СССР
ТЕПЛОФИКАЦИОННЫЙ
МОНОБЛОК
С ТУРБИНОЙ Т-110/120-130
И БАРАБАННЫМ КОТЛОМ
Типовая пусковая схема
РД 34.25.102-87

СОЮЗТЕХЭНЕРГО
Москва 1988
РАЗРАБОТАНО ПО Союзтехэнерго, ВТИ им. Ф.Э. Дзержинского, ВНИПИэнергопром, ПО ТМЗ, Орловская ТЭЦ
ИСПОЛНИТЕЛИ Е.Е. ГОВЕРДОВСКИЙ, В.В. ХОЛЩЕВ, Ю.Н. СМИРНОВ (ПО Союзтехэнерго), Б.И. ШМУКЛЕР, В.И. ГОМБОЛЕВСКИЙ, Е.Р. ПЛОТКИН, Ю.А. РАДИН, В.Н. ЧЕРНЯК (ВТИ), В.И. ДЛУГОСЕЛЬСЮЙ, Б.М. ДУХОВНАЯ (ВНИПИэнергопром), Л.С. ИОФФЕ, А.В. СЕМЕНОВ (ПО ТМЗ), И.А. ОБЕРДЕРФЕР (Орловская ТЭЦ)
УТВЕРЖДЕНО Минэнерго СССР 27.05.86 г.
Заместитель председателя НТС Минэнерго СССР Ф.В. САПОЖНИКОВ
Приведено описание пусковой схемы, обоснование принятых решений и расчеты элементов схемы в пусковых и аварийных режимах. Разработанная типовая схема предназначена для использования проектными, конструкторскими, наладочными и исследовательскими организациями, заводами-изготовителями оборудования и электростанциями при проектировании новых энергоблоков. Она также может быть использована при модернизации действующих энергоблоков.
1.1. Теплофикационный энергоблок мощностью 110 МВт состоит из турбины T-110/120-130 ПО ТМЗ и барабанного котла (ТГМЕ-464(454), ТГМЕ-428, ТПЕ-429, ТПЕ-430 ПО «Красный котельщик» либо БКЗ-500-140-1, БКЗ-500-13,8-2 ПО «Сибэнергомаш»).
1.2. В основу пусковой схемы положены типовые решения, применяемые для конденсационных энергоблоков с барабанными котлами мощностью 160 и 210 МВт. Ряд узлов пусковой схемы усовершенствован с учетом результатов испытаний, проведенных ПО «Союзтехэнерго», ВТИ им. Ф.Э. Дзержинского и ПО ТМЗ на Орловской ТЭЦ.
1.3. С учетом ГОСТ 24278-85 разработанная пусковая схема допускает проведение в течение года не менее 20 пусков и остановов энергоблока.
1.4. Пусковая схема не предусматривает удержание энергоблока в работе при сбросе его нагрузки до холостого хода или нагрузки собственных нужд. При указанных сбросах нагрузки предусматривается останов энергоблока с последующим пуском из горячего состояния.
1.5. Пусковая схема разработана без учета резервирования внешних тепловых потребителей при разгрузке энергоблока.
1.6. Учитывая отмывки, происходящие при пусках на скользящих параметрах пара, специальные устройства и схемные решения для промывки проточной части турбины не предусматриваются.
1.7. Типовая пусковая схема согласована с изготовителями основного энергетического оборудования (ТМЗ, ТКЗ, ПО «Сибэнергомаш»), научно-исследовательскими институтами и электростанциями (Протокол НТС Минэнерго СССР от 27.06.86 г. № 36).
2. ПУСКОВАЯ СХЕМА
Основными узлами пусковой схемы (рис. 1, см. вклейку) являются:
конденсатный тракт низкого давления;
деаэратор и питательный тракт;
узел питания котла;
устройства для прогрева и расхолаживания барабана;
главный паропровод и пускосбросное устройство;
паропроводы собственных нужд энергоблока;
устройства для регулирования температуры свежего пара;
устройства для воздушного расхолаживания турбины.
Результаты расчетов элементов пусковой схемы приведены в приложениях 1 - 3.
Регенеративный подогрев основного конденсата производится последовательно в охладителях основных эжекторов (ЭО) и эжектора уплотнений (ЭУ), сальниковом подогревателе (ПС) и четырех ПНД.
Для отвода конденсата из конденсатора и подачи его через регенеративную установку в деаэратор установлены конденсатные насосы (КЭН) два КСВ-320-160-2 и один КСВ-125-140. При работе основных насосов в безрасходном режиме давление за ними может кратковременно возрасти до 1,86 МПа. Поэтому перед установкой насосов КСВ-320-160-2 следует обточить их рабочие колеса с 408 до 392 мм. В этом случае не надо будет предусматривать защиту аппаратов регенерации низкого давления от недопустимого повышения давления, так как возможное превышение максимального рабочего давления аппаратов составит не более 10 %.
Насос КСВ-125-140 установлен с учетом работы энергоблока в теплофикационном режиме.
Минимальное расчетное количество пара, поступающего в конденсаторы при номинальном режиме и включенных подогревателях сетевой воды (ПСГ), составляет 18 т/ч. Максимальный расход пара в конденсаторы на чисто конденсационном режиме составляет 325 т/ч. Поэтому в зависимости от режима турбоустановки в работе может находиться один или два насоса.
Для обеспечения минимального расхода конденсата через конденсатные насосы, охладители основных эжекторов, охладитель эжекторов уплотнений и сальниковый подогреватель предусмотрена после указанных охладителей линия рециркуляции конденсата диаметром 125 мм с подводами в паровое пространство конденсаторов. На линии рециркуляции установлен регулирующий клапан (РУК 2) Т-35б ТКЗ, рассчитанный на пропуск 26 т/ч. Рециркуляция конденсата может быть организована и через задвижку диаметром 100 мм, при этом максимальная рециркуляция составит 140 т/ч.
На линии основного конденсата до ПНД № 1 установлен регулирующий клапан (РУК 1) 6C-8-3 ПО «Сибэнергомаш» сечением 28,4 см2, рассчитанный на пропуск 348 т/ч. Этот клапан поддерживает заданный уровень в конденсатосборнике конденсатора.
От конденсатных насосов предусмотрена подача конденсата: на уплотнения питательных и конденсатных насосов; на взведение приводов обратных клапанов (КОС); на защиту ПВД; к охлаждающим устройствам конденсатора и расширителя дренажей высокого давления конденсатора (РДВД); на уплотнения предохранительных клапанов ПСГ-1 и др.
В линию основного конденсата подается конденсат греющего пара от подогревателей сетевой воды, если его качество соответствует требованиям к основному конденсату; при этом конденсат от ПСГ № 1 подается в линию после ПНД № 1, конденсат от ПСГ № 2 - после ПНД № 2. При ухудшении качества конденсата от ПСГ предусмотрен его перевод в бак сбора чистых вод. Конденсат к охлаждающим устройствам выхлопных патрубков турбины подается трубопроводом диаметром 125 мм в количестве не более 24 т/ч (2×12) при температуре не более 80 °С.
Конденсат греющего пара из ПНД № 4 сливается в ПНД № 3; из ПНД № 3 откачивается сливным насосом (СН)\КС-80-155-1 в линию основного конденсата. Из ПНД № 2, 1 конденсат сливается в соответствующий подогреватель сетевой воды. Из ПНД № 4 и 3 предусмотрен также резервный слив конденсата через регулирующий клапан в РДНД.
Подпитка цикла осуществляется путем подачи нормального добавка химически обессоленной воды (ХОВ) через трубопровод диаметром 80 мм в охлаждающие устройства выхлопных патрубков турбины. Расход воды при этом должен составлять не более 24 т/ч, (2×12), температура подпиточной воды должна превышать температуру насыщения в конденсаторе не менее чем на 8 °С. Давление воды перед вводом в конденсаторы должно составлять 0,44 ± 0,05 МПа. При соблюдении этих условий заводом гарантируется качество деаэрации подпиточной воды в конденсаторе.
Предусмотрен прием в конденсатор аварийного добавка воды (до 30 %) из бака запаса конденсата (БЗК) с температурой до 30 °С не более 1 - 2 раз в год длительностью до 20 - 30 мин. При этом качество деаэрации в конденсаторе подпиточной воды заводом не гарантируется. Сечение общестанционных магистралей подпитки, а также подача насосов БЗК рассчитываются по суммарному расходу, включая аварийную подпитку одного из энергоблоков.
Для вывода избытка воды из цикла и промывки тракта ПНД предусматривается сбросной трубопровод диаметром 125 мм из линии за ПНД № 4 в циркуляционный водовод (ЦВ).
В конце этого трубопровода установлена ограничительная шайба Ш-4 диаметром 42 мм, рассчитанная на расход 150 т/ч при перепаде давлений от 1,18 до 0,245 МПа.
На энергоблок устанавливается один деаэратор ДСП-500М производительностью 500 т/ч и вместимостью деаэраторного бака 65 м3. В баке предусматривается устройство для приема рециркуляции из системы впрысков котла.
Для регулирования расхода греющего пара на деаэратор предусматривается установка на линии подвода пара одного регулирующего клапана, выбранного по следующим условиям:
- максимальный расход пара через клапан при пуске после кратковременного простоя составляет 20 т/ч при питании деаэратора паром с параметрами 1,3 МПа, 250 °С;
- при номинальном режиме работы энергоблока расход пара на деаэратор равен 6,6 т/ч при параметрах пара в камере отбора турбины 1,22 МПа, 266 °С.
Указанным выше условиям удовлетворяет клапан шиберного типа 808-150Э ЧЗЭМ с пропускной способностью Kv = 210 т/ч и площадью проходного сечения 60 см2. При давлении в коллекторе собственных нужд (КСН) 1,47 МПа максимальная пропускная способность клапана составляет порядка 32 т/ч.
Рабочее давление в деаэраторе 0,588 МПа (6 кгс/см2) поддерживается постоянным во всем регулировочном диапазоне нагрузок, для чего в схеме предусмотрено переключение деаэратора с III (основного) на II (резервный) отбор турбины. В пусковых режимах и при отключениях турбины давление в деаэраторе поддерживается паром от КСН. Для подвода пара к деаэратору до регулятора давления в деаэраторе (РДД) и после него приняты трубопроводы соответственно диаметром 200 и 400 мм.
На трубопроводе греющего пара после РДД устанавливаются предохранительные клапаны (ПК) с суммарной пропускной способностью, определенной по максимальному значению одновременно поступающего тепла в деаэратор ото всех источников при прекращении расхода конденсата. Типоразмер и количество ПК выбираются при рабочем проектировании.
Предусматривается предупредительная сигнализация с уставкой 1,07Pраб.
Деаэраторный бак снабжен устройством аварийного перелива воды. При возрастании уровня до второго предела открывается задвижка на линии аварийного перелива с подачей сигнала на БЩУ.
Деаэратор обеспечивает питание паром эжекторов турбины (ЭО, ЭП) и эжектора расхолаживания (ЭР), рассчитанных на работу с давлением 0,49 МПа (5 кгс/см2), и уплотнений турбины. В пусковых и резко переменных режимах питание эжекторов и уплотнений переводится на пар от КСН. Для поддержания постоянным требуемого давления перед соплами эжекторов на трубопроводе подачи пара к ним установлен регулирующий клапан «после себя» (РКЭ).
В соответствии с Информационным письмом № 129 ТМЗ сопла основных эжекторов могут быть реконструированы для работы с давлением пара перед ними 0,294 МПа (3 кгс/см2).
С целью обеспечения предпусковой деаэрации предусмотрена перемычка диаметром 125 мм между всасывающими трубопроводами питательного электронасоса (ПЭН) и сливного насоса ПНД № 3.
Питание котла обеспечивается питательным электронасосом (ПЭН) ПЭ-580-195 ПО «Насосэнергомаш», устанавливаемым без резерва. Насос работает с пониженным (до 9 м) подпором на стороне всасывания, что позволяет снизить отметку установки деаэратора. Питательный электронасос должен комплектоваться гидромуфтой.
Для работы ПЭН с малыми расходами предусмотрена линия рециркуляции в деаэратор диаметром 100 мм с установленным на ней шайбовым набором и электрифицированным вентилем; на линии рециркуляции перед ее вводом в деаэратор устанавливается обратный клапан.
Линия от разгрузочного устройства ПЭН заводится во всасывающий питательный трубопровод на расстоянии примерно 5 м от всасывающего патрубка. На всасывающем трубопроводе ПЭН предусматривается установка двух защитных сеток с возможностью их переключения.
Из промежуточной ступени насоса питательная вода через линию диаметром 65 мм отводится к охладителю пускосбросного устройства (ПСБУ); максимальный расход воды составляет 32,3 т/ч.
Питательная вода к ПВД подводится от ПЭН трубопроводом диаметром 250 мм с последующим разветвлением на два потока после питательного узла котла. Обратный клапан и узел питания котла установлены на общем трубопроводе.
ПВД имеют быстродействующий обвод из двух трубопроводов диаметром 150 мм и ремонтный обвод диаметром 225 мм с запорной задвижкой. Задвижки на трубопроводах до ПВД, после него и на обводе ПВД должны иметь быстродействие порядка 40 - 45 с.
Для защиты водяного тракта ПВД от недопустимого повышения давления предусматривается обвод диаметром 20 мм отключающей задвижки ПВД с двумя обратными клапанами и запорным вентилем.
Для защиты корпусов ПВД № 5 и 6 от недопустимого повышения давления предусмотрена установка на них предохранительных клапанов, поставляемых комплектно с ПВД.
Схемой предусмотрен каскадный слив конденсата греющего пара из ПВД и отвод этого конденсата в деаэратор и ПНД № 4 с установкой защиты при повышении давления в ПНД № 4. Кроме того, для подключения группы ПВД при сборке схемы предусмотрена сбросная линия диаметром 200 мм из ПВД № 5 в расширитель дренажей низкого давления (РДНД). Сечение этой линии принимается по расходу пара из отборов на ПВД при расходе свежего пара на турбину 70 % номинального. Для уменьшения сечения этого трубопровода перед РДНД турбины устанавливается подпорная шайба Ш-3 диаметром 90 мм. В расчетном режиме подпор перед шайбой составляет 0,3 МПа. При этом скорость среды в сбросном трубопроводе не превышает 23 м/с.
На основной линии узла питания котла диаметром 250 мм установлен регулирующий клапан шиберного типа 976-250-Эа-01 ЧЗЭМ с площадью проходного сечения 70 см2. Клапан обеспечивает диапазон регулирования нагрузки от 40 до 100 %.
На байпасе узла питания диаметром 100 мм установлен регулирующий клапан шиберного типа 868-100-Эм-01 ЧЗЭМ, обеспечивающий регулирование низких нагрузок (0 - 50 %).
На линии заполнения котла водой диаметром 65 мм установлен регулирующий клапан игольчатого типа 868-65-ЭА-03 ЧЗЭМ и дросселирующее устройство Ш-1 08.8363.063-02 ТКЗ, рассчитанное на перепад давлений 19,0 МПа и расход 60 т/ч, необходимый для заполнения барабана котла примерно за 0,5 ч.
К узлу питания котла относится также предусмотренная в пусковой схеме перемычка диаметром 65 мм, присоединенная до и после ПВД каждого энергоблока электростанции. Наличие перемычки позволяет ограничить число пусков питательного насоса при растопке, а также периодически подпитывать остановленный котел от работающего энергоблока.
Для прогрева и расхолаживания барабана внутри барабана (вверху и внизу) установлены распределительные коллекторы (нижние коллекторы предусматривались для разогрева низа барабана при пусках из холодного состояния). Указанные внутрибарабанные коллекторы подсоединяются к общестанционному коллектору насыщенного пара высокого давления диаметром 65 мм.
По данным ВТИ, применение системы предварительного прогрева барабана может привести к опасным выбросам непрогретой воды из опускных труб в барабан при возникновении циркуляции, а также способствует ускорению повышения давления в барабане. Поэтому в данной пусковой схеме подвод пара к нижним коллекторам барабана не предусматривается и при испытаниях в процессе расхолаживания барабана нижние коллекторы не включались, дутьевой вентилятор оставался в работе, а пар сбрасывался сначала в КСН, а затем в атмосферу. Для этой цели за ПСБУ предусмотрен трубопровод сброса пара в атмосферу диаметром 300 мм с отключающей задвижкой ПЗ-4. Из схемы исключена продувочная линия в атмосферу из главного паропровода.
При опытном расхолаживании получены следующие показатели:
- через 4 ч давление в барабане было близко к 0, а температура газов в районе переходного газохода котла стабилизировалась на минимальном уровне (70 °С);
- через 10 ч температура верха барабана снизилась до 140 °С.
Последний показатель свидетельствует о недостаточно эффективном расхолаживании барабана, что обусловливается ограниченным диаметром отверстия в барабане для подвода пара (48 мм). Необходимо для подключения к верхним коллекторам предусматривать специальный заводской штуцер с паровой рубашкой и отверстием в барабане диаметром 85 мм.
Для ограничения скорости повышения давления в барабане при пуске энергоблока с исходным давлением пара ниже 0,5 МПа из трубопроводов перед каждым потоком первой из недренируемой поверхности пароперегревателя предусмотрены продувочные линии, объединяемые в отключаемую линию диаметром 100 мм, предназначенную для сброса пара в атмосферу.
На котле ТГМЕ-464 сразу после выходных камер оба потока объединяются и главный паропровод на всем протяжении от котла до турбины выполнен однопоточным.
На котле ТГМЕ-454 схема несколько отличается: пар от котла подается одним паропроводом, а на участке от деаэратора до турбины - двумя. Тем не менее для обеих модификаций котла на главных паропроводах предусматривается установка одного пускового впрыска (как показано на пусковой схеме). При рабочем проектировании энергоблока с котлом ТГМЕ-454 место объединения паропроводов следует приблизить к котлу.
Главный паропровод выполнен диаметром 377×50 мм и присоединяется к стопорному клапану (СК) ЦВД турбины. Непосредственно перед СК установлена ГПЗ.
Главный паропровод от котла до турбины не должен иметь подъемных участков, кроме участка непосредственно перед ГПЗ, который должен иметь видимый подъем с таким расчетом, чтобы исключить возможность попадания влаги в корпус СК на этапе предварительного прогрева паропровода. Перед подъемом паропровода предусматривается дренажная линия диаметром 50 мм со сбросом среды в РДВД.
Учитывая, что при блочной схеме пуск турбины из всех тепловых состояний производится регулирующими клапанами при полностью открытой ГПЗ, основным назначением байпаса ГПЗ является выравнивание давлений пара до и после ГПЗ и перед ее открытием на этапе предварительного прогрева паровпускных частей турбины при пусках из неостывшего и горячего состояний. Поэтому байпас ГПЗ выполнен с уменьшением диаметром (20 мм). Из нижних точек перепускных труб от СК до регулирующих клапанов и непосредственно перед последними предусмотрены дренажные линии диаметром 20 мм.
С целью предупреждения чрезмерного относительного укорочения РВД при пусках из горячего состояния и при паровом расхолаживании турбины предусматривается подмешивание пара от штоков клапанов или свежего пара, поступающего по трубопроводу диаметром 20 мм, к пару, подаваемому на переднее концевое уплотнение ЦВД.
Для нормальной эксплуатации этой системы на трубопроводе подачи пара к переднему уплотнению должны устанавливаться термометрическая гильза и манометр.
На байпасе турбины устанавливается одно ПСБУ. При выборе пропускной способности ПСБУ и схемы сбросных трубопроводов были учтены следующие условия:
- максимальный расход редуцированного пара после ПСБУ, включая впрыск для охлаждения пара, должен быть не более 180 т/ч (2×90) на входе в конденсатор. Температура пара должна составлять 180 - 200 °С;
- ПСБУ используется в пусковых режимах, а также в режиме парового расхолаживания барабана котла и главного паропровода. Автоматическое открытие ПСБУ при отключении генератора от сети или при повышении давления свежего пара не предусматривается;
- схема сбросных трубопроводов после ПСБУ предусматривает использование редуцированного пара для питания КСН энергоблока.
До разработки ПСБУ вертикального типа пропускной способностью 150 т/ч при давлении 13 МПа предусматривается установка в качестве ПСБУ комплекта БРОУ ЧЗЭМ пропускной способностью 150 т/ч при параметрах пара 15,7 МПа, 540 °С. Результаты расчета характеристик ПСБУ при пусках энергоблока из различных тепловых состояний приведены в приложении 2.
ПСБУ должна быть укомплектована предохранительными клапанами, обеспечивающими плотное прижатие тарелки к седлу при работе под разрежением. Число клапанов определяется максимальной пропускной способностью ПСБУ, которая при давлении, соответствующем уставке срабатывания предохранительных клапанов котла, составляет 142 т/ч, а суммарно с впрыском - 174 т/ч.
Для использования при пусках редуцированного пара в КСН энергоблока и регулирования при этом сброса избытка этого пара в конденсаторы турбины после ПСБУ установлен сбросной регулирующий клапан (РКС) 533-350-Э ЧЗЭМ. Пропускная способность клапана при параметрах пара до него 1,27 МПа и 250 °С составляет 175 т/ч. С учетом охлаждения пара до 200 °С предельный расход пара в пароприемное устройство конденсатора составляет около 180 т/ч, что соответствует значению, установленному ТМЗ. Вода к охладителю ПСБУ подводится трубопроводом диаметром 65 мм, а после РКС трубопроводом диаметром 50 мм.
Для дополнительного охлаждения редуцированного пара в пароприемные устройства конденсаторов подается конденсат от конденсатных насосов с расходом не более 60 т/ч (2×30).
Отвод пара к ПСБУ должен выполняться непосредственно перед подъемным участком к ГПЗ; диаметр отводящего трубопровода принят равным 175 мм; непосредственно к ПСБУ свежий пар подводится по двум трубопроводам диаметром 100 мм.
Диаметр сбросного участка трубопровода после ПСБУ до сбросного клапана РКС принят равным Dу 350 мм, от РКС до конденсатора - 400 мм. Скорости пара в перечисленных трубопроводах при пуске энергоблока после кратковременного простоя и при предельном расходе приведены в приложении 1.
Система паропроводов собственных нужд энергоблока рассчитана на обеспечение паром: деаэратора; уплотнений турбины; эжекторов (основных, пусковых, уплотнений, расхолаживания турбины); калориферов котла; паромеханических мазутных форсунок (ПМФ); мазутного хозяйства; паровой обдувки РВП.
Расход пара на с.н. энергоблока приведен в таблице.
|
Потребитель |
Максимальный расход пара при пуске из горячего состояния, т/ч |
Расход пара в регулировочном диапазоне энергоблока, т/ч |
||
|
Растопка котла, прогрев паропроводов, разворот турбины |
Нагружение, % |
|||
|
30 |
30 - 100 |
|||
|
Деаэратор |
20 |
12,0 |
- |
- |
|
Уплотнения турбины |
2 |
2,0 |
2,0 |
- |
|
Эжекторы |
3 |
1,8 |
1,8 |
- |
|
Калориферы котла |
6 |
6,0 |
12,0 |
12,0 |
|
ПМФ |
1 |
1,2 |
1,2 |
1,2 |
|
Паровая обдувка РВП |
- |
- |
- |
15,0 |
|
Суммарный расход |
32 |
23,0 |
17,0 |
28,2 |
Кроме того, для типовой структуры очереди ТЭЦ (четыре энергоблока 100 МВт и два водогрейных котла) в зимний период потребуется на разогрев и слив мазута соответственно 30 и 37 т/ч пара.
Для покрытия паровых собственных нужд энергоблока тепловой схемой ТМЗ предусматривается использование I и V отборов турбины; количество отбираемого пара, условия выполнения отбора и возврат конденсата выполняются по согласованию с ТМЗ.
Пар I отбора используется для паровой обдувки РВП: для трех аппаратов обдувки, работающих примерно 50 мин в сутки требуется 15 т/ч пара с параметрами 2,0 - 2,5 МПа, 350 - 400 °С.
Пар V отбора с параметрами 0,3 МПа, 139 °С предназначается для подогрева воздуха в калориферах котла. Низкий потенциал пара этого отбора практически не позволяет использовать его для указанной цели при работе энергоблока при пониженных нагрузках.
Турбина не имеет отбора, из которого могло бы быть обеспечено пароснабжение собственных нужд пускаемого энергоблока, а также энергоблоков, работающих на низких нагрузках. При этих режимах паровые собственные нужды покрываются свежим паром котлов (для чего ПСБУ каждого энергоблока присоединена к КСН) либо от турбин других типов (например, типа ПТ). В схеме энергоблока предусматриваются две общестанционные магистрали. При указанной типовой структуре ТЭЦ каждая из них выполняется диаметром 300 мм на параметры пара 0,78 - 1,27 МПа, 250 °С, исходя из условий пропуска 70 % общего расхода пара, определяемого пуском одного энергоблока и станционными потребителями. От общестанционной магистрали пар подается на мазутное хозяйство и в КСН каждого энергоблока. На ТЭЦ, схемы которых отличаются от указанной типовой структуры, а также при наличии индивидуальных особенностей диаметр общестанционных магистралей выбирается при рабочем проектировании.
КСН энергоблока выполняется диаметром 250 мм и соединяется с общестанционными магистралями отключаемой перемычкой того же диаметра. При пуске энергоблока питание КСН паром производится от общестанционных магистралей в количестве 32 т/ч. После повышения давления во II отборе турбины до 0,3 - 0,4 МПа питание деаэратора переводится на этот отбор. После завершения пуска энергоблока питание калориферов котла переводится на отбор турбины, а питание эжекторов и уплотнений турбины - на деаэратор.
При выполнении рабочего проекта паропроводов собственных нужд должны быть учтены следующие технические требования:
- должно быть исключено скопление влаги в тупиковых участках паропроводов, а сами эти участки должны быть короткими;
- запорная арматура на периодически действующих трубопроводах должна располагаться в непосредственной близости к питающим паропроводам.
Для защиты пароперегревателя и регулирования температуры пара при пусках энергоблока в схеме предусмотрены пусковые впрыски питательной воды:
- в штатные пароохладители впрысков I собственного конденсата (два комплекта по числу потоков пароперегревателя);
- в главный паропровод.
Как показали испытания, конструкция пускового впрыска в штатный впрыск I, поставляемая ТКЗ с котлом ТГМЕ-464, не обеспечивает достаточной эффективности распыла впрыскиваемой воды.
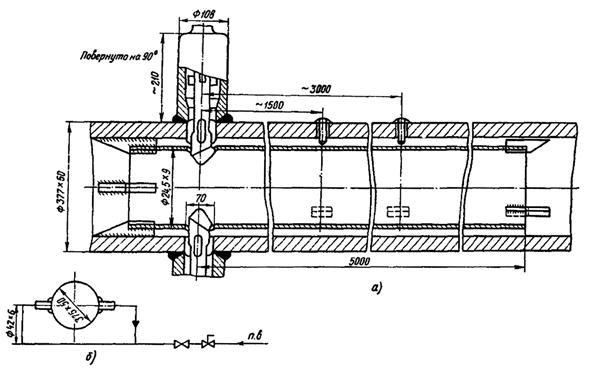
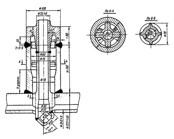
С учетом результатов испытаний на ряде энергоблоков и накопленного опыта эксплуатации для первого пускового впрыска оптимальной признана конструкция ВТИ (рис. 2 и 3), которую и рекомендуется применять на котлах рассматриваемых энергоблоков.
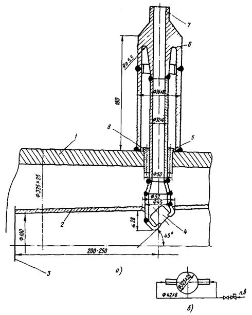
В качестве пускового впрыска в главный паропровод также рекомендуется применять распыливающие форсунки и защитные рубашки конструкции ВТИ (рис. 4, 5), апробированные на ряде действующих энергоблоков. При этом распыливающая форсунка должна выполняться в соответствии с рис. 3.
Первый пусковой впрыск предназначен для защиты пароперегревателя от недопустимого повышения температуры металла труб при быстрых нагружениях, особенно в случаях пуска энергоблока из горячего состояния. Пусковой впрыск в главный паропровод предназначен для регулирования температуры пара перед турбиной. Все пусковые впрыски применяются в период до достижения нагрузки энергоблока 25 - 30 % номинальной, когда впрыски собственного конденсата не могут быть использованы (как из-за малого количества собственного конденсата, так и из-за плохого качества распыла воды при низких расходах пара). При нагрузках энергоблока выше указанной пусковой впрыск в главный паропровод может продолжать использоваться как малоинерционное средство подрегулировки температуры пара.
Суммарная пропускная способность каждого комплекта пускового впрыска составляет 11 т/ч при перепаде давлений 3,9 МПа (по 5,5 т/ч на каждую распыливающую форсунку). Приведенные на рис. 2 - 5 чертежи являются заданием для рабочего проектирования пусковых впрысков заводом-поставщиком котлов.
Рис. 2. Водоподающее устройство пускового впрыска, встроенного во впрыск I:
а - общий вид; б - схема ввода пускового впрыска
1 - корпус пароохладителя; 2 - защитная рубашка (труба Вентури); 3 - граница горловины трубы Вентури; 4 - форсунка; 5 - штуцер; 6 - донышко штуцера; 7 - подающая воду труба; 8 - втулка с отверстиями (шесть отверстий диаметром 3 мм)
Рис. 3. Форсунка пускового впрыска
При отклонении диаметра и толщины стенки паропровода от принятых на рисунках длину корпуса распыливающей форсунки и диаметр защитной рубашки следует скорректировать исходя из условий обеспечения:
- расстояния между наиболее погруженной в поток частью корпуса распыливающей форсунки и внутренней поверхностью защитной рубашки (трубы Вентури) 25 - 28 мм - для всех пусковых впрысков;
- расстояния между внутренней поверхностью паропровода и наружной поверхностью защитной рубашки 15 - 16 мм - дополнительно для пускового впрыска в главный паропровод.
Для регулирования давления в линиях пусковых впрысков при пуске энергоблока предусмотрена схема «постоянного расхода» с рециркуляцией воды из системы впрысков в деаэратор. В схему входят комплект дроссельных шайб (Ш-2) и регулирующий клапан на линии рециркуляции (Др-1). При пуске энергоблока задвижка на байпасе комплекта Ш-2 закрыта, и в этом комплекте срабатывается значительная часть напора питательного насоса. Клапаном Др-1 поддерживается давление «до себя» в соответствии с давлением в котле. Результаты расчета указанных элементов приведены в приложении 3. В соответствии с расчетом рекомендуется комплект Ш-2, состоящий из шести шайб с диаметром отверстия 20 мм. Этому соответствует набор из двух дросселирующих устройств диаметром 65 мм, изготовляемых ЧЗЭМ (№ 826-65-Ш3, исп. 9), либо ТКЗ (№ 08.8363.063-02).
В качестве регулирующего клапана Др-1, устанавливаемого на линии рециркуляции в деаэратор, рекомендуется шиберный клапан с площадью проходного сечения 4 см2. Этому условию удовлетворяет регулирующий клапан ЧЗЭМ (№ 947-100-Э-03, исп. 2) с переходниками на диаметр 65 мм.
В соответствии с расчетом, максимальная пропускная способность линии рециркуляции в деаэратор при температуре питательной воды 230 °С составляет 160 т/ч (приложение 3). Таким образом, в случае ошибочного открытия арматуры на указанной линии в условиях нормальной эксплуатации при включенных ПВД выпар в деаэраторе из рециркулирующей воды составит 21,2 т/ч. Этот расход должен быть учтен при выборе пропускной способности предохранительных клапанов деаэратора в процессе рабочего проектирования.

Рис. 4. Пусковой впрыск в главный паропровод:
а - общий вид; б - схема ввода впрыска
Рис. 5. Водоподающее устройство пускового впрыска в главный паропровод
Диаметр трубопровода рециркуляции из системы впрыска в деаэратор принят равным 65 мм, что обеспечивает допустимую скорость при предельном расходе воды 59 т/ч, возможном в период пуска энергоблока.
Сокращение продолжительности остывания при выводе турбины в ремонт обеспечивается ее принудительным расхолаживанием атмосферным воздухом, движение которого через элементы турбины осуществляется эжектором расхолаживания (ЭР). Для обеспечения воздушного расхолаживания турбины в пусковой схеме энергоблока предусмотрены линии впуска воздуха в проточную часть турбины и в систему обогрева фланцев и шпилек. Впуск воздуха производится: через линию обеспаривания стопорного клапана диаметром 50 мм, штуцер на коллекторе дренажей перепускных труб ЦВД диаметром 50 мм, штуцер на линии подвода пара в обнизку фланцевых соединений диаметром 50 мм. Кроме того, для впуска воздуха может быть использована линия сброса пара в атмосферу из трубопровода после ПСБУ (после прекращения сброса пара из котла).
В качестве ЭР используется одноступенчатый эжектор ЭПР-09-4800-1 большой подачи по воздуху (до 5000 кг/ч), включаемый по пару и отсосу паровоздушной смеси параллельно основной эжекторной группе.
|
Наименование |
Среда, проходящая по трубопроводу |
Параметры среды в трубопроводе |
Расход, т/ч |
Скорость, м/с |
Условный диаметр, мм |
Режим |
||||
|
Принятые расчетные |
Максимально возможные |
|||||||||
|
Давление, МПа |
Температура, °С |
Удельный объем, м3/кг |
Давление, МПа |
Температура, °С |
||||||
|
1. Конденсатно-питательный тракт и трубопроводы впрысков |
||||||||||
|
1.1. Трубопровод нормального добавка воды |
Вода |
0,44 |
20 |
0,0010 |
0,49 |
50 |
24 |
1,3 |
80 |
Номинальный |
|
1.2. Трубопровод аварийного добавка воды |
-"- |
0,44 |
20 |
0,0010 |
0,49 |
30 |
150 |
3,4 |
125 |
Аварийный |
|
1.3. Линия промывки тракта ПНД и вывода воды из цикла |
-"- |
1,18 |
30 |
0,0010 |
1,0 |
150 |
150 |
3,4 |
125 |
Промывка ПНД |
|
1.4. Перемычка для предпусковой деаэрации |
-"- |
0,1 |
104 |
0,0010 |
0,59 |
158 |
125 |
2,8 |
125 |
Предпусковая деаэрация |
|
1.5. Трубопровод подвода воды к охладителю ПСБУ |
-"- |
4,0 |
160 |
0,0011 |
4,0 |
170 |
32,3 |
3,2 |
65 |
Открытие ПСБУ при номинальной нагрузке |
|
1.6. Трубопровод отвода конденсата из ПВД № 5 в конденсатор |
Кипящая вода |
0,3 |
133 |
0,0420 |
0,30 |
133 |
60 |
22,5 |
200 |
70 %-ная нагрузка энергоблока |
|
1.7. Линия заполнения котла водой |
Вода |
19,0 |
104 |
0,0012 |
19,70 |
230 |
60 |
6,0 |
65 |
Заполнение котла |
|
1.8. Перемычка между энергоблоками по питательной воде |
-"- |
19,0 |
160 |
0,0012 |
19,70 |
230 |
60 |
6,0 |
65 |
Начальный пуск |
|
1.9. Трубопровод подвода конденсата к охладителю после РКС |
-"- |
1,57 |
30 |
0,0010 |
1,57 |
50 |
8,0 |
1,1 |
50 |
Максимальный пропуск пара через РКС |
|
1.10. Трубопровод рециркуляции из системы впрыска в деаэратор |
-"- |
19,7 |
104 |
0,0010 |
19,70 |
230 |
59,0 |
5,9 |
65 |
Начальный пуск |
|
2. Главные паропроводы и пускосбросные устройства |
||||||||||
|
2.1. Объединенный главный паропровод |
Пар |
12,75 |
545 |
0,0272 |
15,10 |
550 |
480 |
60,5 |
300 |
Номинальный |
|
2.2. Трубопровод подвода пара к ПСБУ |
-"- |
12,5 |
540 |
0,0275 |
15,10 |
550 |
120 |
38,5 |
175 |
Пуск после кратковременного простоя |
|
2.3. То же |
-"- |
15,1 |
540 |
0,0224 |
15,10 |
550 |
142 |
36,7 |
175 |
Предельный сброс пара |
|
2.4. То же после разветвления |
-"- |
12,5 |
540 |
0,0275 |
15,10 |
550 |
60 |
59,0 |
100 |
Пуск после кратковременного простоя |
|
2.5. То же |
-"- |
15,1 |
540 |
0,0224 |
15,10 |
550 |
71 |
56,3 |
100 |
Предельный сброс пара |
|
2.6. Трубопровод от ПСБУ до РКС |
-"- |
10,9 |
200 |
0,1890 |
1,46 |
250 |
155,7 |
85,0 |
350 |
Пуск после кратковременного простоя |
|
2.7. То же |
-"- |
1,28 |
250 |
0,1800 |
1,46 |
250 |
174 |
90,4 |
350 |
Предельный сброс пара |
|
2.8. Трубопровод после РКС в конденсатор |
-"- |
0,85 |
200 |
0,2450 |
1,46 |
210 |
155,7 |
84,3 |
400 |
Пуск после кратковременного простоя |
|
2.9. То же |
-"- |
0,98 |
200 |
0,2100 |
1,46 |
210 |
180 |
83,5 |
400 |
Предельный сброс пара |
|
2.10. Отвод от ПСБУ в КСН |
-"- |
1,28 |
250 |
0,19 |
1,28 |
250 |
40 |
30 |
300 |
Номинальный |
|
2.11. То же |
-"- |
0,98 |
250 |
0,237 |
1,28 |
250 |
40 |
37,3 |
300 |
Пуск энергоблока |
|
3. Паропроводы собственных нужд |
||||||||||
|
3.1. Коллектор собственных нужд энергоблока |
Пар |
1,28 |
250 |
0,19 |
1,28 |
250 |
32 |
34,4 |
250 |
Пуск энергоблока |
|
3.2. Паропровод к деаэратору до РДД |
-"- |
1,28 |
250 |
0,18 |
1,28 |
250 |
17 |
27,0 |
200 |
Пуск из горячего состояния |
|
3.3. То же |
-"- |
1,28 |
250 |
0,18 |
1,28 |
250 |
20 |
31,8 |
200 |
Пуск после кратковременного простоя |
|
3.4. Трубопровод подвода пара к деаэратору после РДД |
-"- |
0,25 |
232 |
0,94 |
0,685 |
164 |
17 |
35,4 |
400 |
Пуск из горячего состояния |
|
3.5. То же |
-"- |
0,25 |
232 |
0,94 |
0,685 |
164 |
20 |
41,6 |
400 |
Пуск после кратковременного простоя |
Расчетные параметры:
Давление пара до ПСБУ рр........................................................................ 15,7 МПа
Температура пара до ПСБУ tp................................................................... 540 °С
Удельный объем пара до ПСБУ υр............................................................ 0,0216 м3/кг
Расход пара через ПСБУ Gпр..................................................................... 150 т/ч
1. Предельный режим
Предельная пропускная способность ПСБУ определяется уставкой срабатывания предохранительных клапанов котла:
рп = рпр1,1 = 13,73 · 1,1 = 15,1 МПа (tп = 545 °С, iп = 3449 кДж/кг, υп = 0,0224 м3/кг),
где рпр - рабочее давление пара в котле, МПа.
Максимальный расход пара определяется из соотношения:

Расход охлаждающей воды на ПСБУ:
![]()
где i'к - энтальпия смеси после ПСБУ, кДж/кг.
Охлаждающая вода поступает из промежуточной ступени ПЭН при давлении 0,588 МПа с энтальпией iв = 667 кДж/кг. Пар после ПСБУ охлаждается до параметров в КСН (р'к = 1,27 МПа, t'к = 250 °С, i'к = 2932,6 кДж/кг).
Отсюда
![]()
Расход охлажденного пара составляет:
Gпохл = Gn + Gв = 141,7 + 32,3 = 174 т/ч.
Следовательно, максимально возможный расход пара, поступающего из котла через ПСБУ, составляет 174 т/ч.
2. Пуск после кратковременного простоя (до 1 ч)
На начальном этапе пуска после кратковременного простоя необходимо пар из котла с расходом примерно 25 % номинального (120 т/ч) через ПСБУ сбрасывать в конденсатор. При этом температура пара перед ПСБУ близка к номинальной.
В последнем приближении задаемся следующими параметрами пара до ПСБУ рпп = 12,5 МПа, υп = 0,0275 м3/кг, iп = 3476,9 кДж/кг. Используя расчетные параметры ПСБУ, пересчитываем давление пара до него в заданном режиме

Так как полученное значение давления пара до ПСБУ совпадает с заданным, принимаем рп = 12,5 МПа. Допускаем, что пар после ПСБУ охлаждается перед подачей его в конденсатор до параметров р'к = 0,85 МПа, t'к = 200 °С, i'к = 2832,9 кДж/кг. Охлаждающая вода поступает из промежуточной ступени ПЭН при давлении 0,59 МПа с энтальпией iв = 663 кДж/кг. Расход охлаждающей воды составляет
![]()
Исходя из заданного сопротивления пароприемного устройства конденсатора в размере 0,98 МПа при сбросе пара Gпсбр = 180 т/ч, определяем давление среды до него в рассматриваемом режиме:

где расход охлажденного пара составляет
Gпохл = Gп + Gв = 120 + 35,7 = 155,7 т/ч.
Принимаем падение давления в трубопроводе от пароприемного устройства конденсатора до РКС равным 0,05 МПа. Давление пара перед РКС принимаем равным давлению пара в КСН: р'ркс = 1,27 МПа, тогда Δрркс = 0,37 МПа, υ¢ркс = 0,1585 м3/кг.
Пропускную способность клапана определяем из выражения (см. РТМ 108.711.02-79. «Арматура энергетическая. Методы определения пропускной способности регулирующих органов и выбор оптимальной расходной характеристики»):

где KV - пропускная способность клапана, т/ч;
υ'ркс - удельный объем среды перед клапаном;
y - коэффициент расширения, определяемый по выражению
![]()
где Δркр - критический перепад давлений на клапане,
Δpкр = 0,6KmKp'ркс;
Km - коэффициент критического расхода (принимаем равным 0,7);
K - показатель политропы, равный 1,3.
Отсюда:
Δркр = 0,6 · 0,7 · 1,3 · 1,27 = 0,693 МПа;
![]()
![]()
Ближайший по типоразмеру клапан 533-350-Э производства ЧЗЭМ имеет пропускную способность KV, равную 1730 т/ч. С учетом изменения пропускной способности клапана при полном его открытии давление среды на входе в клапан составит 1,09 МПа.
Определяем максимальную пропускную способность этого клапана при параметрах пара перед ним 1,27 МПа и 250 °С (υ'ркс = 0,1805 м3/кг).
Расход пара через полностью открытый клапан определяется по формуле

В последнем приближении задаемся расходом пара через клапан, равным 173 т/ч, а с учетом увлажнения до 200 °С (энтальпия iв = 126 кДж/кг) расход пара в конденсатор будет составлять 180 т/ч.
Давление пара перед пароприемным устройством конденсатора составляет 0,98 МПа. Принимаем сопротивление трубопровода от пароприемного устройства конденсатора до РКС около 0,06 МПа. Тогда расчетный перепад на клапане составляет 0,23 МПа.
Откуда
![]()

Так как полученный расход совпадает с заданным, принимаем Gмакс = 173 т/ч. С учетом увлажнения до 200 °C предельный расход пара в пароприемное устройство конденсатора составляет 180 т/ч.
3. Пуски из различных тепловых состояний
Результаты расчета пропускной способности ПСБУ при пусках из холодного, неостывшего состояний и после ночного простоя сведены в таблицу.
|
Режим |
рп МПа |
tn °C |
Gп т/ч |
Gв т/ч |
tв °C |
р'ркс МПа |
р'к МПа |
|
Предельный |
15,1 |
545 |
141,7 |
32,3 |
158 |
1,27 |
- |
|
Пуск после кратковременного простоя |
12,5 |
545 |
120 |
35,7 |
158 |
1,09 |
0,85 |
|
Пуск после ночного простоя |
7,2 |
500 |
70 |
17,5 |
127 |
0,64 |
0,48 |
|
Пуск после двухсуточного простоя |
3,0 |
320 |
33,5 |
3,0 |
104 |
0,28 |
0,20 |
|
Пуск из холодного состояния |
1,73 |
260 |
20,2 |
0,9 |
104 |
0,17 |
0,115 |
1. Расчет комплекта Ш-2
Расчетным является режим 30 %-ной нагрузки энергоблока.
Как следует из испытаний, при этом требуемый максимальный суммарный расход на пусковые впрыски составляет 33 т/ч. С учетом рециркуляции в деаэратор суммарный расход воды через комплект Ш-2 принимаем равным 43 т/ч.
Параметры среды перед Ш-2 (после ПЭН):
р1 = 19,6 МПа, t1 = 160 °С, υ1 = 0,00109 м3/кг.
Параметры среды за Ш-2 (в коллекторе впрысков):
р2 = 9,8 МПа, t2 = 160 °С, υ2 = 0,001095 м3/кг.
Средний удельный объем среды в комплекте Ш-2:
υcp = 0,00109 м3/кг.
В качестве Ш-2 принимаем дроссельный набор ВАЗ 477425 исп. 10, который состоит из шести шайб диаметром 20 мм каждая со средним внутренним диаметром трубопровода 60 мм.
Расчетный перепад давления на каждой шайбе составит:
Δрш = (р1 - р2)/6 = (19,6 - 9,8)/6 = 1,64 МПа.
Расчет пропускной способности шайбы проводился по известной формуле гидравлического сопротивления дроссельного устройства для гомогенного потока:

где G - расход среды, т/ч;
α - коэффициент расхода;
Fш - площадь проходного сечения шайбы, равная 0,000314 м2;
ε - коэффициент расширения (для воды ε = 1);
υ1 - удельный объем среды в сечении перед шайбой, м3/кг.
Коэффициент расхода шайбы определяется через коэффициент гидравлического сопротивления для диафрагм (шайб) с утолщенными краями в прямой трубе по формуле1:
1 Идельчик И.Е. «Справочник по гидравлическим сопротивлениям», М.: Машиностроение, 1976.

![]()
где F0, F1 и F2 - соответственно площадь проходного сечения диафрагмы и трубы до и после диафрагмы;
τ - коэффициент, учитывающий толщину диафрагмы (задается по соотношению толщины и диаметра диафрагмы),
F0 = Fш = 0,000314 м2; F1 = F2 = 0,00283 м2; l = 10 мм, τ = 1,0.
После подстановки

![]()
отсюда G =
5000 · 0,7 · 0,000314 · 1![]()
Так как расчетная пропускная способность комплекта Ш-2 равна заданной, принимаем в качестве комплекта Ш-2 дроссельный набор ВАЗ с диаметрами шайб 20 мм.
2. Расчет регулирующего клапана Др-1
Максимальный расход среды через регулирующий клапан Др-1 соответствует начальному режиму пуска при включении в работу пусковых впрысков.
Параметры среды перед комплектом Ш-2 (после ПЭН):
р1 = 19,6 МПа, t1 = 110 °С, υ1 = 0,00104 м3/кг.
Параметры среды после комплекта Ш-2 (в коллекторе впрысков):
р2 = 1,96 МПа, t2 = 110 °С, υ2 = 0,00105 м3/кг.
Средний удельный объем среды в шайбовом наборе равен
0,00105 м3/кг.
Расчетный перепад давлений на каждой шайбе:
Δрш = (р1 - р2)/6 = (19,6 - 1,96)/6 = 2,94 МПа.
Расход среды через комплект шайб составляет:
G =
5000 · 0,7 · 0,000314 · 1![]()
Такой же расход должен пропустить клапан Др-1. Параметры среды перед клапаном:
р'кл = 1,96 МПа, t'кл = 110 °C, υ'кл = 0,00105 м3/кг.
Давление после клапана принято равным давлению в деаэраторе:
р"кл = 0,14 МПа.
Перепад давлений на клапане:
∆ркл = р'кл - р"кл = 1,96 - 0,14 = 1,82 МПа.
Площадь проходного сечения клапана определяется из выражения1:

где для воды у = 1
1 РТМ 108.711.02-79. Арматура энергетическая. Методы определения пропускной способности регулирующих органов и выбор оптимальной расходной характеристик.
При расходе воды через клапан в нем возможно возникновение кавитации.
Определяем перепад давлений, соответствующий началу кавитации:
Δркав = Kc(р'кл - рнас) = 0,63(1,96 - 0,14) = 1,15 МПа,
где Kс - коэффициент начала кавитации (для шиберных клапанов равен 0,63).
Так как Δркл > Δркав, следовательно, режим течения - с кавитацией.
Определяем эффективный перепад давлений:
![]()
где Km - коэффициент критического расхода (для шиберного клапана принимаем равным 0,7),
откуда

Находим по каталогу ближайший по пропускной способности клапан 947-100Э-03 исп. 2 производства ЧЗЭМ с переходниками на диаметр 65 мм.
Максимальная площадь проходного сечения клапана Fкл = 4 см2 (Kv = 16,1 т/ч).
3. Расчет предельной пропускной способности линии рециркуляции в деаэратор
Расчетным является режим ошибочного открытия всей арматуры на линиях отвода питательной воды в коллектор впрысков и рециркуляции в деаэратор.
В последнем приближении задаемся расходом сбрасываемой воды 124,6 т/ч.
Параметры среды на входе:
р1 = 19,6 МПа, t1 = 230 °С, i1 = 944,4 кДж/кг, υ1 = 0,001187 м3/кг.
Параметры среды в деаэраторе:
рд = 0,59 МПа, tд = 158 °C, iд = 667 кДж/кг.
Так как комплект шайб Ш-2 находится на байпасе основной линии отвода питательной воды, сопротивлением участка трубопровода до клапана Др-1 можно пренебречь. Считаем, что все сопротивление срабатывается на клапане Др-1
Δркл = р1 - рд = 19,6 - 0,59 = 19,01 МПа.
При расходе воды через клапан в нем возможно возникновение кавитации.
Определяем перепад давлений, соответствующий началу кавитации:
Δркав = Kc(p1 - рнас) = 0,63(19,6 - 3,2) = 10,33 МПа.
Для шиберных клапанов Kс = 0,63.
Так как Δркл > Δркав, следовательно, режим течения - с кавитацией.
Определяем эффективный перепад давлений:
![]()
где Km - для шиберного клапана принимаем равным 0,7,
отсюда:

Определяем количество выпара, образующегося в деаэраторе:

Таким образом, при ошибочном открытии арматуры на трубопроводе рециркуляции впрысков в деаэраторе может дополнительно образоваться 21,2 т/ч пара.
СОДЕРЖАНИЕ