
МИНИСТЕРСТВО СВЯЗИ РОССИЙСКОЙ ФЕДЕРАЦИИ
Стандарт отрасли
МЕТОДИКА РАСЧЕТА
СРЕДНЕГО ВРЕМЕНИ
ВОССТАНОВЛЕНИЯ ОБОРУДОВАНИЯ ЭЛЕКТРОСВЯЗИ
ОСТ 45.65-96
Москва - 1997
ЦНТИ «Информсвязь»
Предисловие
1 РАЗРАБОТАН Центральным научно-исследовательским институтом связи
ВНЕСЕН Научно-техническим управлением и охраны труда Министерства связи Российской Федерации
2 УТВЕРЖДЕН Министерством связи Российской Федерации
3 ВВЕДЕН В ДЕЙСТВИЕ информационным письмом от 13.11.96 № 5407
4 ВВЕДЕН ВПЕРВЫЕ
СОДЕРЖАНИЕ
|
5 Составляющие среднего времени восстановления. 4 Приложение А. Примеры расчета среднего времени восстановления оборудования проводной связи. 7 |
Введение
Одним из основных свойств оборудования электросвязи является ремонтопригодность. Наиболее употребительной характеристикой для оценки ремонтопригодности является среднее время восстановления. В настоящем стандарте изложена методика расчета среднего времени восстановления оборудования электросвязи, имеющего блочно-модульную конструкцию. Результаты расчетов среднего времени восстановления используются разработчиком для сопоставления с требованиями по ремонтопригодности, установленными в ТЗ (ТУ) на оборудование электросвязи, а также для выявления и устранения «слабых мест» в оборудовании в процессе его конструирования.
ОСТ 45.65-96
СТАНДАРТ ОТРАСЛИ
МЕТОДИКА
РАСЧЕТА СРЕДНЕГО ВРЕМЕНИ ВОССТАНОВЛЕНИЯ
ОБОРУДОВАНИЯ ЭЛЕКТРОСВЯЗИ
Дата введения 01.01.1997 г.
Настоящий стандарт устанавливает методику расчета среднего времени восстановления работоспособного состояния оборудования электросвязи (далее - оборудование), используемую при разработке конструкторской документации, технических условий и программ испытаний оборудования. Стандарт предназначен для использования при разработке, испытаниях и приемке оборудования электросвязи, а также при эксплуатации для оценки надежности по результатам сбора и анализа статистического материала.
В настоящем стандарте использованы ссылки на стандарт ГОСТ 27.002-89 Надежность в технике. Основные понятия. Термины и определения
Тв - среднее время восстановления оборудования;
Твi - время восстановления 1-го отказа;
k - количество отказов;
tо - среднее время отыскания отказа;
tтз - среднее время технической задержки;
tу - среднее время устранения отказа;
tпр - среднее время проверки функционирования;
tоу - среднее время отыскания неисправного устройства в тракте (канале, системе, сети);
tоб - среднее время отыскания неисправного ТЭЗ (блока) в заведомо неисправном устройстве (включая время устранения отказа и время проверки функционирования);
N - число аварийных индикаторов*, по которым оператор определяет факт отказа оборудования;
tj - время оценки состояния j-го индикатора;
Ро - вероятность обнаружения отказа оборудования встроенным программно-аппаратным контролем;
tот - среднее время отыскания неисправности в тракте (канале, системе) с точностью до устройства с использованием средств контроля, характеризующих состояние тракта (канала, системы) в целом;
λi - интенсивность отказов ТЭЗ (блока) оборудования i-го типа;
λio - интенсивность отказов ТЭЗ (блока) оборудования i-го типа, обнаруживаемых системой контроля работоспособности;
m - число типов ТЭЗ (блоков) в оборудовании;
* Под индикатором понимается элемент индикации (например, сигнальная лампочка и т.д.), установленный на лицевых панелях оборудования.
ni - число ТЭЗ (блоков) i-го типа в составе оборудования;
M - количество последовательно выполняемых операций в алгоритме восстановления тракта (канала, системы), обеспечивающих отыскание данного устройства при его отказе;
ti - среднее время выполнения i-ой операции в алгоритме восстановления;
tоп - среднее время определения конкретного признака неисправности устройства с использованием средств программно-аппаратной диагностики (включая при необходимости время загрузки тостов);
M1 - число возможных признаков неисправности устройства по результатам программно-аппаратной диагностики;
λj - интенсивность отказов устройства, приводящих к j-му признаку неисправности;
tоуj - среднее время отыскания и устранения отказа устройства при обнаружении j-го признака неисправности;
nj - число ТЭЗ, подозреваемых в неисправности при появлении j-го признака неисправности;
tзам - среднее время замены рабочего ТЭЗ на исправный запасной из ЗИП;
Т - среднее время проверки работоспособности устройства после замены ТЭЗ;
Р1 (Р2) - вероятность того, что неисправность указывается с точностью до n1 (n2) ТЭЗ;
n - средняя точность диагностирования (среднее число ТЭЗов, с точностью до которых указывается местонахождение неисправности в устройстве средствами программно-аппаратной диагностики);
-
среднее время восстановления устройства с учетом отказов монтажа;
Tм - среднее время восстановления устройства при отказах монтажа;
q - удельный вес отказов монтажа в общей интенсивности отказов устройства;
λ1, ТB1 - интенсивность отказов и среднее время восстановления вновь разработанных составных частей оборудования;
λ2, ТB2 - интенсивность отказов и среднее время восстановления готового (покупного) оборудования, указанные в его НТД;
λпо, Tвпо - интенсивность отказов и среднее время восстановления программного обеспечения;
Твп - среднее время восстановления оборудования с учетом программного обеспечения;
Твк - среднее время восстановления комплекса оборудования;
λr, Твr - интенсивность отказов и среднее время восстановления r-го устройства, входящего в состав комплекса оборудования;
R - число устройств, входящих в состав комплекса оборудования;
Твс - среднее время восстановления устройства (комплекса) оборудования с учетом надежности сервисных средств;
Твсс - среднее время восстановления сервисных средств;
Кгcc - коэффициент готовности сервисных средств;
* К сервисным средствам в оборудовании электросвязи относятся местные и удаленные средства технического обслуживания и эксплуатации, обеспечивающие контроль работоспособности, диагностирование и индикацию неисправностей. Надежность сервисных средств из-за их сложности может влиять на среднее время восстановления обслуживаемого с их помощью оборудования.
ТЭЗ - типовой элемент замены;
ЗИП - запасные части, инструменты и принадлежности;
ТЗ - техническое задание;
ТУ - технические условия;
НТД - нормативная и техническая документация.
4.1 Методика расчета среднего времени восстановления предназначена для оценки ремонтопригодности оборудования электросвязи.
4.2 Целью расчета среднего времени восстановления является определение уровня ремонтопригодности устройств и комплексов оборудования, состоящих из нескольких устройств.
4.3 Расчетное значение среднего времени восстановления оборудования используется для предварительной оценки соответствия требованиям технического задания на оборудование и при расчетах надежности систем (каналов, трактов), в состав которых входит рассматриваемое оборудование.
4.4 По результатам расчета среднего времени восстановления оборудования принимаются (при необходимости) рекомендации по дальнейшему совершенствованию оборудования и системы его технического обслуживания.
4.5 При расчете среднего времени восстановления оборудования используются результаты анализа возможностей системы программно-аппаратного контроля и диагностирования неисправностей оборудования, учитываются методы устранения отказов с использованием ЗИП.
4.6 Расчет среднего времени восстановления оборудования заключается в анализе составляющих времени восстановления рассматриваемого устройства и оборудования в целом, определении каждой из составляющих и их суммировании.
5.1 Время восстановления работоспособного состояния оборудования* (далее - время восстановления) должно включать в себя затраты времени на отыскание отказа (определение его места), на устранение отказа (замену отказавшего элемента, регулирование, при необходимости,) и на проверку (контроль технического состояния устройства и заключительную операцию контроля работоспособности оборудования в целом), а также затраты времени, обусловленные технической задержкой, если таковая имеет место.
Примечание - Определения составляющих времени восстановления (активного ремонта) приведены в [1].
5.2 Под средним временем восстановления оборудования согласно ГОСТ 27.002 следует понимать математическое ожидание времени восстановления работоспособного состояния объекта после отказа, которое должно определяться по формуле:
. (1)
5.3 При расчетах среднего времени восстановления оборудования два вида отказов: полный и частичный [2].
Полный отказ - отказ, который приводит к полной неспособности объекта выполнять все требуемые функции.
Частичный отказ - отказ, который приводит к неспособности объекта выполнять некоторые требуемые функции.
* В Рекомендациях МККТТ (МСЭ-Т) понятие времени восстановления совпадает с понятием времени активного ремонта.
5.4 Время восстановления оборудования следует определять по формуле:
Твi = tо + tу + tпр + tтз. (2)
Тв = tоу + tоб + tтз. (3)
6.2 Значение tоу для устройства со стопроцентным контролем работоспособности должно определяться по формуле:
(4)
6.3 Значение tоу для устройства с неполный контролем должно определяться формулой:
6.4 Значение Ро должно определяться по формуле:
Примечание - Если в ТЗ (ТУ) на оборудование задано числовое значение Рo, оно может быть использовано при расчетах среднего времени восстановления.
6.5 Значение tот должно определяться по опыту эксплуатации, либо по следующей формуле:
. (7)
6.6 Значение tоб следует рассчитывать по формуле:
. (8)
6.7 Значение М1 следует определять путем анализа программно-аппаратных средств отыскания неисправностей. При аппаратном контроле значение М1 равно числу контролируемых параметров (функций), характеризующих работоспособность устройства; при тестовой диагностике М1 равно числу строк в диагностическом словаре, который должен быть разработан в составе эксплуатационной документации.
6.8 При расчете tоуj следует учитывать точность диагностирования*, а также способ отыскания неисправного ТЭЗ (блока) в устройстве. При использовании метода пробных замен ТЭЗ значение toyj следует рассчитывать по следующей формуле:
tоуj = 0,5 (nj + 1) (tзам + Т). (9)
* Под точностью диагностирования понимается количество ТЭЗов, с точностью до которых определяется место неисправности в устройстве.
6.9 Если в ТЗ (ТУ) на оборудование электросвязи указано требование по средней точности диагностирования неисправностей, расчет tоб следует производить по следующей формуле:
tоб = tоп + 0,5 (n + 1) (tзам + Т). (10)
Примечание - На практике n часто задают в виде набора значений. Например, с вероятностью Р1 неисправность указывается с точностью до n1 ТЭЗов, а с вероятностью Р2 - с точностью до n2 ТЭЗов.
В этом случае средняя точность диагностирования n может быть определена как средневзвешенное значение, т.е.
n = Р1 n1 + Р2 n2. (11)
при этом должно выполняться условие:
Р1 + Р2 = 1. (12)
6.10 Значение tтз следует определять путем суммирования затрат времени на выполнение вспомогательных операций при восстановлении [1].
6.11 Расчетное значение среднего времени восстановления устройства оборудования (Тв), полученное с использованием вышеприведенных выражений, должно быть уточнено с учетом возможности отказов в межблочном (стоечном) монтаже по формуле:
. (13)
Значения q и Тм следует определять по опыту эксплуатации прототипов оборудования электросвязи путем обработки статистических данных.
6.12 В том случае, если в разрабатываемом устройстве оборудования электросвязи в качестве составной части используется готовая (серийно выпускаемая) аппаратура, среднее время восстановления устройства должно рассчитываться по формуле:
. (14)
6.13 Для программно-управляемых устройств электросвязи расчет среднего времени восстановления с учетом надежности программного обеспечения следует проводить по формуле:
(15)
где ТB - значение, рассчитанное по (14).
Оценка λпо и Твпо производится по результатам эксплуатации или на основе обработки статистических данных по надежности программного обеспечения.
6.14 Расчет среднего времени восстановления комплекса оборудования электросвязи, состоящего из нескольких устройств, включая и резервированные устройства, если таковые имеются, следует производить в два этапа по следующей методике.
На первом этапе необходимо рассчитать среднее время восстановления отдельных устройств, входящих в состав комплекса оборудования, согласно методике, изложенной в 6.1 - 6.15.
Для резервированных устройств расчет среднего времени восстановления следует проводить с учетом способа резервирования принятыми методами согласно Приложению Б.
На втором этапе на основе полученных расчетных значений среднего времени восстановления отдельных устройств следует производить расчет среднего времени восстановления комплекса оборудования в целом по формуле:
Твс = Тв + (1 - Кгcc) Твcc. (17)
Значения Кгсс и Твсс должны задаваться в ТЗ (ТУ). Примеры расчета среднего времени восстановления приведены в Приложении А.
(рекомендуемое)
А1 Пример расчета среднего времени восстановления условного устройства оборудования проводной связи
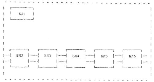
В качестве примера рассмотрим расчет среднего времени восстановления условного устройства оборудования проводной связи, представленного на рисунке А1. Примем, что данное устройство состоит из шести блоков.
При расчетах среднего времени восстановления данного устройства примем следующие исходные данные:
- все блоки одинаково надежны;
- вероятность обнаружения контролем отказов блока 1 составляет 100 %;
- вероятность обнаружения отказов остальных пяти блоков составляет 80 %;
- среднее время замены одного блока на исправный из ЗИП (tзам) равно 2 мин;
- среднее время проверки работоспособности устройства после замены блока (Т) равно 1 мин;
- среднее время анализа аварийной индикации на панелях блоков равно 1 мин;
- среднее время отыскания неисправности в тракте (tот) равно 10 мин.;
- среднее время технической задержки равно нулю. Расчет среднего времени восстановления производится по методике стандарта (формулы 3 - 16).
Для данного устройства принят следующий порядок восстановления: при отказах любого из 6 блоков, обнаруживаемых аварийной индикацией, отказавший блок заменяется на исправный.
Если аварийная индикация не указала неисправный блок (исключая БЛ1), то он отыскивается путем поочередной замены каждого из пяти блоков БЛ2...БЛ6 на исправный с последующей проверкой за время Т = 1 мин.
Рисунок А1 Структурная схема условного устройства проводной связи
Расчет среднего времени восстановления устройства начинается с использования формулы (3).
Так как в данном случае имеется устройство с неполным контролем, для расчета значения tоу используется формула (5).
Значение Ро, используемое в формуле (5), рассчитывается по формуле (6):
![]()
Po = 83 %.
Подставляя Ро =
0,83, tот = 10 мин и
в формулу (5), получаем
tоу = 0,83 ∙ 1 + (1 - 0,83) ∙ 10 = 0,03 + 1,7 = 2,53 мин.
Расчет tоб будем производить по формуле (10), приняв Тo = 1 мин. Для этого по формуле (11) найдем среднюю точность диагностирования неисправностей в устройстве. В данном случае с вероятностью Р1 = 0,83 встроенный контроль укажет на конкретный отказавший блок; с вероятностью Р2 = 1 - 0,83 = 0,17 неисправность придется искать среди пяти подозреваемых блоков. Следовательно,
n = 0,83 ∙ 1 + 0,17 ∙ 5 = 0,83 + 0,85 = 1,68.
Подставляя в формулу (10) числовые значения То, n, tзам и Т, получаем.
tоб = 1 + 0,5 ∙ (1,68 + 1) ∙ (2 + 1) = 5,34 мин.
Подставляя tоу = 2,53 мин и tоб = 5,34 мин в формулу (3), получаем Тв = 2,53 + 5,34 = 8,27 мин.
A2 Пример расчета среднего времени восстановления оконечного оборудования вторичной цифровой системы передачи ИКМ-120-4/5
Структурная схема оконечного оборудования вторичной цифровой системы передачи ИКМ-12-4/5 представлена на рисунке A2. Данные по интенсивности отказов и времени восстановления устройств оценочного оборудования приведены в таблице А1.
|
Обозначение устройства |
Интенсивность отказов λ ∙ 10-3 (1/ч) |
Среднее время восстановления Тв (ч) |
|
ОСА-13 |
0,5 |
0,25 |
|
АЦО-11 |
0,026 |
0,133 |
|
ОВГ-21 |
0,033 |
0,133 |
|
ОЛТ-21 |
0,01 |
0,167 |
|
ОЛП |
0,01 |
0,167 |
|
УСО-01 |
0,05 |
0,133 |
Среднее время восстановления одного цифрового потока со скоростью передачи 2048 кбит/с оконечного оборудования вторичной цифровой системы передачи ИКМ-120-4/5 рассчитывается по формуле (16):

ОСА-13 - комплект согласующего оборудования межстанционных соединительных линий
АЦО-11 - аналого-цифровое оборудование
ОВГ-21 -оборудование вторичного временного группообразования
ОЛТ-21 - оборудование линейного тракта
ОЛП-12 - оборудование линейных переключателей
УСО-01 - универсальное сервисное оборудование
Рисунок А2 Структурная схема оконечного оборудования вторичной цифровой системы передачи ИКМ-120-4/5
Подставляя данные таблицы А1, получаем
![]()
Среднее время восстановления одного цифрового потока оборудования с учетом надежности сервисных средств (устройство УСО-01) рассчитывается по формуле (17).
Согласно таблице А1 Твсс = Тв усо-01 = 0,133 ч.; наработка на отказ сервисных средств (УСО-01) равна:
То усо-0 = 1/λ усо-01 = 20000 ч.
Значение Кгсс = То усо-01/(То усо-01 + Тв усо-01) = 0,99999.
Подставляя значения Твк, Твсс и Кгсс в формулу (17), получаем
Твс = 0,29 + (1 - 0,99999) ∙ 0,133 = 0,29 ч.
(справочное)
Б1 Надежность технических систем. Справочник / Ю. К. Беляев, А. А. Богатырев, В. В. Болотин и др./ Под. ред. И. А. Ушакова - М., Радио и связь, 1985.
(информационное)
[1] Дополнение № 6 к рекомендациям серии E MККTT.
«Термины и определения для изучения качества службы, технического качества сети, надежности работы и трафика». Синяя книга. Том II. Вып. II.3, 1988.
Ключевые слова: оборудование электросвязи, устройства и комплекс оборудования, ремонтопригодность, среднее время восстановления, методика расчета, контроль, диагностика