ОТРАСЛЕВЫЕ СТАНДАРТЫ

ДЕТАЛИ И СБОРОЧНЫЕ ЕДИНИЦЫ
ИЗ ХРОМОМОЛИБДЕНОВАНАДИЕВЫХ СТАЛЕЙ
ДЛЯ ПАРОПРОВОДОВ ТЕПЛОВЫХ
ЭЛЕКТРОСТАНЦИЙ

ТИПЫ, КОНСТРУКЦИЯ, РАЗМЕРЫ
И ТЕХНИЧЕСКИЕ ТРЕБОВАНИЯ

ПАРАМЕТРЫ:

р = 25,01 МПа (255 кгс/см2), t = 545 °С;

р = 13,73 МПа (140 кгс/см2), t = 560 °С;

р = 13,73 МПа (140 кгс/см2), t = 545 °С

БЛОКИ С СОПЛАМИ ДЛЯ ПАРОПРОВОДОВ ТЭС

КОНСТРУКЦИЯ И РАЗМЕРЫ

ОСТ 108.839.06-82

Срок действия стандартов не ограничен в соответствии
с указанием Госстандарта РФ № 1/28-332 от 15.02.94

УТВЕРЖДЕН И ВВЕДЕН В ДЕЙСТВИЕ указанием Министерства энергетического машиностроения от 04.06.82 № ВВ-002/4628

СОГЛАСОВАН с Главным управлением по проектированию и научно-исследовательским работам Министерства энергетики и электрификации СССР

Л.М. ВОРОНИН

Отраслевые стандарты
на детали и сборочные единицы
с расчетным ресурсом 200 тыс. ч

ОСТ 108.839.06-82

ОТРАСЛЕВОЙ СТАНДАРТ

БЛОКИ С СОПЛАМИ ДЛЯ ПАРОПРОВОДОВ ТЭС

КОНСТРУКЦИЯ И РАЗМЕРЫ

ОСТ 108.839.06-82

Взамен НО 799-66 в части
pном = 255 кгс/см2, t = 545 °С;
ОСТ 24.839.06 в части
pном = 255 кгс/см2, t = 545 °С;
ОСТ 24.839.03 в части
pном = 140 кгс/см2, t = 560 °С;
pном = 140 кгс/см2, t = 545 °С

Указанием Министерства энергетического машиностроения от 04.06.82 № ВВ-002/4628 срок действия установлен

с 01.01.85

до 01.01.96

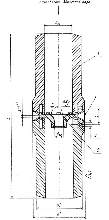
1. Настоящий стандарт распространяется на блоки с соплами, устанавливаемые на паропроводах тепловых электростанций с абсолютным давлением и температурой пара:

р = 25,01 МПа (255 кгс/см2), t = 545 °С;

р = 13,73 МПа (140 кгс/см2), t = 560 °С;

р = 13,73 МПа (140 кгс/см2), t = 545 °С;

р = 13,73 МПа (140 кгс/см2), t = 515 °С.

2. Конструкция и размеры блоков с соплами должны соответствовать указанным на чертеже и в табл. 1.

3. Наименование и обозначение деталей, входящих в блок с соплом, принимать по табл. 2. Блок комплектуется также четырьмя штуцерами, ввариваемыми в отверстия «d» на монтаже для отбора импульса давления. Штуцера изготавливаются по чертежам предприятия-изготовителя. Приварка импульсных трубок непосредственно к патрубкам (поз. 1) не допускается.

4. Наплавленный металл - по ОСТ 108.940.02.

5. Тип исполнения патрубков выбирается предприятием-изготовителем блоков с соплами.

6. При контроле размеров D20 и d20 использовать отраслевые стандарты на патрубки и рабочие чертежи на сопла.

7. Остальные технические требования - по ОСТ 24.125.60.

8. Исполнения, указанные в скобках, применять по согласованию с предприятием-изготовителем.

9. Пример условного обозначения блока с соплом исполнения 01 с условным проходом Dy = 150 мм:

БЛОК С СОПЛОМ 150 01 ОСТ 108.839.06.

10. Пример маркировки: 01 ОСТ 108.839.06                                    

* Размеры для справок.

** Для исполнений 07; 15 - 3+1

Таблица 1

Размеры, мм

Исполнение

Условный проход Dy

DH*

D*

D20

d20

l

L

Масса наплавленного металла, кг

Масса, кг

Номин.

Пред. откл.

Номин.

Пред. откл.

p = 25,01 МПа (255 кгс/см2), t = 545 °С

01

150

245

290

149

По расчету

85

+ 2 - 1

863

± 5

7,0

235,0

02

175

273

322

173

943

8,0

320,0

03

200

325

385

206

1103

13,0

519,0

04

225

377

445

238

95

1283

20,0

760,0

05

250

426

492

268

1443

24,0

1152,0

06

300

465

556

306

1603

33,0

1424,0

p = 13,73 МПа (140 кгс/см2), t = 560 °С; p = 13,73 МПа (140 кгс/см2), t = 545 °С

07

50

76

110

50

По расчету

53

+ 2 - 1

243

0,5

6,7

08

100

133

176

94

65

603

± 5

1,3

44,0

p = 13,73 МПа (140 кгс/см2), t = 560 °С

09

150

219

264

156

По расчету

65

+ 2 - 1

803

± 5

3,2

152,0

10

200

273

320

201

69

1043

4,8

273,0

11

300

377

428

277

75

1403

9,0

695,0

p = 13,73 МПа (140 кгс/см2), t = 545 °С

12

175

219

270

163

По расчету

65

+ 2 - 1

833

± 5

2,0

141,0

13

200

273

320

209

1043

4,3

289,0

14

250

325

375

249

75

1243

7,0

418,0

p = 13,73 МПа (140 кгс/см2), t = 515 °С

(15)

65

76

112

58

По расчету

53

+ 2 - 1

263

± 5

0,5

6,0

(16)

100

133

172

105

61

603

1,0

32,0

(17)

125

159

200

127

65

663

1,4

50,0

(18)

150

194

236

154

803

2,1

91,0

(19)

175

219

265

175

863

2,6

118,0

(20)

225

273

325

221

1063

4,2

216,0

(21)

250

325

376

261

69

1263

6,0

366,0

(22)

350

426

480

350

75

1703

9,0

760,0

Таблица 2

Обозначение блока с соплом

Патрубок (поз. 1) 2 шт.

Сопло (поз. 2) 1 шт.

Обозначение

p = 25,01 МПа (255 кгс/см2), t = 545 °С

01 ОСТ 108.839.06

01 ОСТ 108.462.14

01 ОСТ 108.839.08

02 ОСТ 108.462.14

02 ОСТ 108.839.06

03 ОСТ 108.462.14

02 ОСТ 108.839.08

04 ОСТ 108.462.14

03 ОСТ 108.839.06

05 ОСТ 108.462.14

03 ОСТ 108.839.08

06 ОСТ 108.462.14

04 ОСТ 108.839.06

07 ОСТ 108.462.14

04 ОСТ 108.839.08

08 ОСТ 108.462.14

05 ОСТ 108.839.06

09 ОСТ 108.462.14

05 ОСТ 108.839.08

10 ОСТ 108.462.14

06 ОСТ 108.839.06

11 ОСТ 108.462.14

06 ОСТ 108.839.08

12 ОСТ 108.462.14

p = 13,73 МПа (140 кгс/см2), t = 560 °С; p = 13,73 МПа (140 кгс/см2), t = 545 °С

07 ОСТ 108.839.06

01 ОСТ 108.462.15

07 ОСТ 108.839.08

02 ОСТ 108.462.15

08 ОСТ 108.839.06

03 ОСТ 108.462.15

08 ОСТ 108.839.08

04 ОСТ 108.462.15

p = 13,73 МПа (140 кгс/см2), t = 560 °С

09 ОСТ 108.839.06

05 ОСТ 108.462.15

09 ОСТ 108.839.08

06 ОСТ 108.462.15

10 ОСТ 108.839.06

07 ОСТ 108.462.15

10 ОСТ 108.839.08

08 ОСТ 108.462.15

11 ОСТ 108.839.06

09 ОСТ 108.462.15

11 ОСТ 108.839.08

10 ОСТ 108.462.15

p = 13,73 МПа (140 кгс/см2), t = 545 °С

12 ОСТ 108.839.06

11 ОСТ 108.462.15

12 ОСТ 108.839.08

12 ОСТ 108.462.15

13 ОСТ 108.839.06

13 ОСТ 108.462.15

13 ОСТ 108.839.08

14 ОСТ 108.462.15

14 ОСТ 108.839.06

15 ОСТ 108.462.15

14 ОСТ 108.839.08

16 ОСТ 108.462.15

p = 13,73 МПа (140 кгс/см2), t = 515 °С

(15) ОСТ 108.839.06

01 ОСТ 108.462.16

15 ОСТ 108.839.08

02 ОСТ 108.462.16

(16) ОСТ 108.839.06

03 ОСТ 108.462.16

16 ОСТ 108.839.08

04 ОСТ 108.462.16

(17) ОСТ 108.839.06

05 ОСТ 108.462.16

17 ОСТ 108.839.08

06 ОСТ 108.462.16

(18) ОСТ 108.839.06

07 ОСТ 108.462.16

18 ОСТ 108.839.08

08 ОСТ 108.462.16

(19) ОСТ 108.839.06

09 ОСТ 108.462.16

19 ОСТ 108.839.08

10 ОСТ 108.462.16

(20) ОСТ 108.839.06

11 ОСТ 108.462.16

20 ОСТ 108.83908

12 ОСТ 108.462.16

(21) ОСТ 108.839.06

13 ОСТ 108.462.16

21 ОСТ 108.839.08

14 ОСТ 108.462.16

(22) ОСТ 108.839.06

15 ОСТ 108.462.16

22 ОСТ 108.839.08

16 ОСТ 108.462.16

ИНФОРМАЦИОННЫЕ ДАННЫЕ

1. УТВЕРЖДЕН И ВВЕДЕН В ДЕЙСТВИЕ указанием Министерства энергетического машиностроения от 04.06.82 № ВВ-002/4628

2. ИСПОЛНИТЕЛИ

П.М. Христюк, канд. техн. наук; Д.Д. Дорофеев, канд. техн. наук (руководитель темы); Г.Н. Смирнов (руководитель темы); Л.Н. Жылюк; В.Н. Шанский; Н.В. Москаленко; Д.Ф. Фомина; Г.А. Мисирьянц; В.Ф. Логвиненко; Ф.А. Гловач; А.З. Гармаш; Н.Г. Мазин; А.С. Шестернин

3. ЗАРЕГИСТРИРОВАН Государственным комитетом СССР по стандартам за № 8257096 от 09.09.82

4. ВЗАМЕН ОСТ 24.839.06; ОСТ 24.839.03; НО 799-66

5. ССЫЛОЧНЫЕ НОРМАТИВНО-ТЕХНИЧЕСКИЕ ДОКУМЕНТЫ

Обозначение НТД, на который дана ссылка

Номер пункта, подпункта, перечисления, приложения

ОСТ 24.125.60-89

7

ОСТ 108.940.02-82

4

ОСТ 108.462.14-82

2

ОСТ 108.462.15-82

2

ОСТ 108.462.16-82

2

ОСТ 108.839.08-82

2

6. ПЕРЕИЗДАНИЕ (1992 г.) с Изменениями № 1, 2, 3, 4, 5

Срок действия продлен до 1996 г. Изменением № 4, утвержденным письмом Минтяжмаша СССР от 27.12.90 № ВА-002-1-12060.