ОТРАСЛЕВЫЕ СТАНДАРТЫ

ДЕТАЛИ И СБОРОЧНЫЕ ЕДИНИЦЫ
ИЗ ХРОМОМОЛИБДЕНОВАНАДИЕВЫХ СТАЛЕЙ
ДЛЯ ПАРОПРОВОДОВ ТЕПЛОВЫХ
ЭЛЕКТРОСТАНЦИЙ

ТИПЫ, КОНСТРУКЦИЯ, РАЗМЕРЫ
И ТЕХНИЧЕСКИЕ ТРЕБОВАНИЯ

ПАРАМЕТРЫ:

р = 9,81 МПа (100 кгс/см2), t = 540 °С

ТРОЙНИК РАВНОПРОХОДНЫЙ ДЛЯ ПАРОПРОВОДОВ ТЭС

КОНСТРУКЦИЯ И РАЗМЕРЫ

ОСТ 108.104.17-82

Срок действия стандартов не ограничен в соответствии
с указанием Госстандарта РФ № 1/28-332 от 15.02.94

УТВЕРЖДЕН И ВВЕДЕН В ДЕЙСТВИЕ указанием Министерства энергетического машиностроения от 04.06.82 № ВВ-002/4628

СОГЛАСОВАН с Главным управлением по проектированию и научно-исследовательским работам Министерства энергетики и электрификации СССР

Л.М. ВОРОНИН

Отраслевые стандарты
на детали и сборочные единицы
с расчетным ресурсом 100 тыс. ч

ОСТ 108.104.17-82

ОТРАСЛЕВОЙ СТАНДАРТ

ТРОЙНИК РАВНОПРОХОДНЫЙ ДЛЯ ПАРОПРОВОДОВ ТЭС

КОНСТРУКЦИЯ И РАЗМЕРЫ

ОСТ 108.104.17-82

Взамен
ОСТ 24.720.12
в части рном = 100 кгс/см2,
t = 540 °С

Указанием Министерства энергетического машиностроения от 04.06.82 № ВВ-002/4628 срок действия установлен

с 01.01.85

до 01.01.96

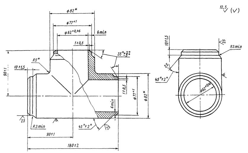
1. Настоящий стандарт распространяется на тройник равнопроходный штампованный с условным проходом 65 мм для паропроводов тепловых электростанций с абсолютным давлением пара р = 9,81 МПа (100 кгс/см2) и температурой t = 540 °С.

2. Конструкция и размеры тройника должны соответствовать указанным на чертеже. Масса тройника 4,1 кг.

3. Материал - сталь марки 12Х1МФ по ТУ 14-1-3987 Гр. IIТ ОСТ 108.030.113.

4. Остальные технические требования - по ОСТ 108.030.113 и ОСТ 24.125.60.

5. Пример условного обозначения тройника равнопроходного с условным проходом Dу = 65 мм:

ТРОЙНИК РАВНОПРОХОДНЫЙ 65 ОСТ 108.104.17.

6. Пример маркировки: ОСТ 108.104.17                                             


* Размеры для справок.


ИНФОРМАЦИОННЫЕ ДАННЫЕ

1. УТВЕРЖДЕН И ВВЕДЕН В ДЕЙСТВИЕ указанием Министерства энергетического машиностроения от 04.06.82 № ВВ-002/4628

2. ИСПОЛНИТЕЛИ

П.М. Христюк, канд. техн. наук; Д.Д. Дорофеев, канд. техн. наук (руководитель темы); Г.Н. Смирнов (руководитель темы); Л.Н. Жылюк; В.Н. Шанский; Н.В. Москаленко; Д.Ф. Фомина; Г.А. Мисирьянц; В.Ф. Логвиненко; Ф.А. Гловач; А.З. Гармаш; Н.Г. Мазин; А.С. Шестернин

3. ЗАРЕГИСТРИРОВАН Государственным комитетом СССР по стандартам за № 8257304 от 09.09.82

4. ВЗАМЕН ОСТ 24.720.12-72

5. ССЫЛОЧНЫЕ НОРМАТИВНО-ТЕХНИЧЕСКИЕ ДОКУМЕНТЫ

Обозначение НТД, на который дана ссылка

Номер пункта, подпункта, перечисления, приложения

ОСТ 24.125.60-89

4

ОСТ 108.030.113-87

3; 4

ТУ 14-1-3987-85

3

6. ПЕРЕИЗДАНИЕ (1992 г.) с Изменениями № 1, 2, 3, 4

Срок действия продлен до 1996 г. Изменением № 4, утвержденным письмом Минтяжмаша СССР от 27.12.90 № ВА-002-1-12060.