ОТРАСЛЕВЫЕ СТАНДАРТЫ
ДЕТАЛИ И СБОРОЧНЫЕ ЕДИНИЦЫ ИЗ УГЛЕРОДИСТЫХ
И КРЕМНЕМАРГАНЦОВИСТЫХ СТАЛЕЙ
ДЛЯ ТРУБОПРОВОДОВ ПАРА И ГОРЯЧЕЙ ВОДЫ
С ДАВЛЕНИЕМ pу ≥
4,0 МПа (PУ ≥
40 кгс/см2)
ТЕПЛОВЫХ ЭЛЕКТРОСТАНЦИЙ
ТИПЫ, КОНСТРУКЦИЯ, РАЗМЕРЫ И ТЕХНИЧЕСКИЕ ТРЕБОВАНИЯ
ОСТ 108.104.03-82
УТВЕРЖДЕН И ВВЕДЕН В ДЕЙСТВИЕ указанием Министерства энергетического машиностроения от 04.06.82 № ВВ-002/4628
ИСПОЛНИТЕЛИ: НПО ЦКТИ и БЗЭМ
СОГЛАСОВАН с Главным управлением по проектированию и научно-исследовательским работам Министерства энергетики и электрификации СССР
Л.М. ВОРОНИН
ОТРАСЛЕВОЙ СТАНДАРТ
|
ТРОЙНИКИ СВАРНЫЕ ПЕРЕХОДНЫЕ КОНСТРУКЦИЯ И РАЗМЕРЫ |
ОСТ 108.104.03-82 Взамен НО
1077-60 в части |
Указанием Министерства энергетического машиностроения от 04.06.82 № ВВ-002/4628 срок действия установлен
с 01.01.85
до 01.01.96
Несоблюдение стандарта преследуется по закону
1. Настоящий стандарт распространяется на тройники сварные переходные трубопроводов питательной воды тепловых электростанций с абсолютным давлением и температурой воды:
p = 37,27 МПа (380 кгс/см2), t = 280 °С;
p = 23,54 МПа (240 кгс/см2), t = 250 °С;
p = 18,14 МПа (185 кгс/см2), t = 215 °С.
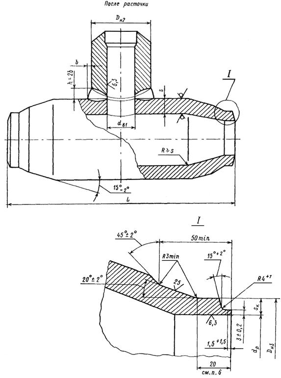
2. Конструкция и размеры сварных тройников должны соответствовать указанным на чертеже и в табл. 1, 2.
3. Выбор сварочных материалов в зависимости от вида сварки производить по ОСТ 108.940.02.
4. После сварки штуцер (поз. 1) растачивается напроход до диаметра dв1 с целью удаления подкладного кольца и корня шва (см. чертеж).
5. Материал корпуса тройника (поз. 3) - труба из стали марки 15ГС по ТУ 14-3-460.
6. Рекомендуемый размер прямого участка уточняется заводом - изготовителем при разработке технологического процесса.
Допускается изготовление подкатанной части без прямых участков.
7. Остальные технические требования - по ОСТ 24.125.60.
8. Масса наплавленного металла уточняется технологическим процессом.
9. Проточку подкатанных концов диаметром dр допускается выполнять на длину не менее длины обжатой части тройника с выходом под углом 25° ± 2°.
10. Пример условного обозначения тройника переходного исполнения 02 с условными проходами Dу = 225 мм, Dу1 = 175 мм:
ТРОЙНИК ПЕРЕХОДНЫЙ 225×175 02 ОСТ 108.104.03.
11. Пример маркировки: 02 ОСТ 108.104.03 ![]()


Размеры, мм
|
Исполнение |
Условные проходы |
Наружный диаметр и толщина стенки присоединяемых труб |
Dн* |
Dн2 |
Dн3 |
dв |
dв1 |
dр |
dр1 |
L |
H |
s |
sк, не менее |
sк1 |
b, не менее |
Масса наплавленного металла, кг |
Масса, кг |
||||||||||||
|
Dу |
Dу1 |
Номин. |
Пред. откл. |
Номин. |
Пред. откл. |
Номин. |
Пред. откл. |
Номин. |
Пред. откл. |
Номин. |
Пред. откл. |
Пред. откл. ± 5 |
|||||||||||||||||
|
p = 37,27 МПа (380 кгс/см2), t = 280 °С |
|||||||||||||||||||||||||||||
|
01 |
250 |
200 |
325×42 |
273×36 |
377 |
310 |
325 |
+4 -1 |
186 |
+1,3 |
190 |
± 0,5 |
245 |
+0,72 |
203 |
+0,72 |
850 |
449 |
60 |
36,4 |
30,8 |
37 |
5,1 |
510 |
|||||
|
p = 23,54 МПа (240 кгс/см2), t = 250 °С |
|||||||||||||||||||||||||||||
|
02** |
225 |
175 |
273×24 |
219×19 |
325 |
219 |
273 |
+4 -1 |
170 |
+1,3 |
174 |
± 0,5 |
226 |
+0,72 |
182 |
+0,72 |
650 |
306 |
42 |
20,2 |
16,5 |
17 |
2,4 |
214 |
|||||
|
p = 18,14 МПа (185 кгс/см2), t = 215 °С |
|||||||||||||||||||||||||||||
|
03** |
225 |
175 |
273×19 |
219×16 |
325 |
219 |
273 |
+4 -1 |
170 |
+1,3 |
174 |
± 0,5 |
236 |
+0,72 |
188 |
+0,72 |
650 |
306 |
28 |
16,0 |
13,2 |
17 |
2,4 |
154 |
|||||
* Размер для справок.
** Допускается применять в технически обоснованных случаях.
|
Обозначение тройника |
Штуцер (поз. 1) 1 шт. |
Кольцо подкладное (поз. 2) 1 шт. |
Корпус (поз. 3) 1 шт. |
|
Обозначение |
|||
|
01 ОСТ 108.104.03 |
- |
||
|
02 ОСТ 108.104.03 |
|||
|
03 ОСТ 108.104.03 |
|||
ИНФОРМАЦИОННЫЕ ДАННЫЕ
1. УТВЕРЖДЕН И ВВЕДЕН В ДЕЙСТВИЕ указанием Министерства энергетического машиностроения от 04.06.82 № ВВ-002/4628
2. ИСПОЛНИТЕЛИ
П.М. Христюк, канд. техн. наук; Д.Д. Дорофеев, канд. техн. наук (руководитель темы); Г.Н. Смирнов (руководитель темы); Л.Н. Жылюк; В.Н. Шанский; Н.В. Москаленко; Д.Ф. Фомина; Г.А. Мисирьянц; В.Ф. Логвиненко; Ф.А. Гловач; А.З. Гармаш; Н.Г. Мазин; А.С. Шестернин
3. ЗАРЕГИСТРИРОВАН Государственным комитетом СССР по стандартам за № 8273724 от 26.02.83
4. ВЗАМЕН НО 1077-60
5. ССЫЛОЧНЫЕ НОРМАТИВНО-ТЕХНИЧЕСКИЕ ДОКУМЕНТЫ
|
Обозначение НТД, на который дана ссылка |
Номер пункта, подпункта, перечисления, приложения |
|
ОСТ 24.125.60-89 |
|
|
ОСТ 108.940.02-82 |
|
|
ТУ 14-3-460-75 |
|
6. ПЕРЕИЗДАНИЕ (1992 г.) с Изменениями № 1, 2, 3, 4, 5.
Срок действия продлен до 1996 г. Изменением № 4, утвержденным письмом Минтяжмаша СССР от 27.12.90 № ВА-002-1-12060