ОТРАСЛЕВЫЕ СТАНДАРТЫ
ДЕТАЛИ И СБОРОЧНЫЕ ЕДИНИЦЫ ИЗ УГЛЕРОДИСТЫХ
И КРЕМНЕМАРГАНЦОВИСТЫХ СТАЛЕЙ
ДЛЯ ТРУБОПРОВОДОВ ПАРА И ГОРЯЧЕЙ ВОДЫ
С ДАВЛЕНИЕМ pу ≥
4,0 МПа (PУ ≥
40 кгс/см2)
ТЕПЛОВЫХ ЭЛЕКТРОСТАНЦИЙ
ТИПЫ, КОНСТРУКЦИЯ, РАЗМЕРЫ И ТЕХНИЧЕСКИЕ ТРЕБОВАНИЯ
ОСТ 108.104.04-82
УТВЕРЖДЕН И ВВЕДЕН В ДЕЙСТВИЕ указанием Министерства энергетического машиностроения от 04.06.82 № ВВ-002/4628
ИСПОЛНИТЕЛИ: НПО ЦКТИ и БЗЭМ
СОГЛАСОВАН с Главным управлением по проектированию и научно-исследовательским работам Министерства энергетики и электрификации СССР
Л.М. ВОРОНИН
ОТРАСЛЕВОЙ СТАНДАРТ
|
ТРОЙНИКИ РАВНОПРОХОДНЫЕ С ОБЖАТИЕМ КОНСТРУКЦИЯ И РАЗМЕРЫ |
ОСТ 108.104.04-82 Введен впервые |
Указанием Министерства энергетического машиностроения от 04.06.82 № ВВ-002/4628 срок действия установлен
с 01.01.85
до 01.01.96
Несоблюдение стандарта преследуется по закону
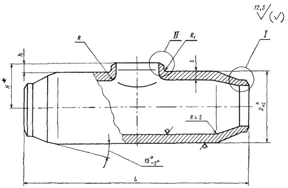
1. Настоящий стандарт распространяется на тройники равнопроходные с вытянутой горловиной и обжатыми концами для трубопроводов пара и горячей воды тепловых электростанций с абсолютным давлением и температурой среды:
p = 3,92 МПа (40 кгс/см2), t = 440 °С;
p = 7,45 МПа (76 кгс/см2), t = 145 °С;
p = 4,31 МПа (44 кгс/см2), t = 340 °С;
p = 3,92 МПа (40 кгс/см2), t = 200 °С.
2. Конструкция и размеры тройников должны соответствовать указанным на черт. 1 - 5 и в таблице.
3. Материал тройников - трубы из стали марки 20 по ТУ 14-3-460.
4. Рекомендуемый размер прямого участка уточняется заводом - изготовителем при разработке технологического процесса.
Допускается изготовление подкатанной части без прямых участков.
5. Размеры высот H и h, радиусов R и R1 и толщины стенки sк1 могут быть изменены при соблюдении условий прочности по усмотрению предприятия - изготовителя.
6. Остальные технические требования - по ОСТ 24.125.60.
7. Пример условного обозначения тройника равнопроходного исполнения 03 с условным проходом Dу = 100 мм:
ТРОЙНИК РАВНОПРОХОДНЫЙ 100 03 ОСТ 108.104.04.
8. Пример маркировки: 03 ОСТ 108.104.04 
* Размеры для справок.
Черт. 1
Остальное - см. черт. 1
Черт. 2
Остальное - см. черт. 1
Черт. 3
Остальное - см. черт. 1
Черт. 4
Остальное - см. черт. 1
Черт. 5
Размеры, мм
|
Исполнение |
Черт. для |
Условный проход Dу |
Присоединяемые трубы |
Dн |
Dн1 |
Dн2* |
dр |
L |
H* |
h ± 5 |
s |
sк |
sк1 |
R, не более |
R1, не менее |
Масса, кг |
||||||||
|
I |
II |
Наружный диаметр |
Толщина стенки |
Номин. |
Пред. откл. |
Номин. |
Пред. откл. |
Номин. |
Пред. откл. |
Номин. |
Пред. откл. |
не менее |
||||||||||||
|
p = 3,92 МПа (40 кгс/см2), t = 440 °С; p = 7,45 МПа (76 кгс/см2), t = 145 °С |
||||||||||||||||||||||||
|
01 |
80 |
89 |
6 |
89 |
+2 -1 |
91 |
+2 |
133 |
77 |
+0,46 |
450 |
± 5 |
84 |
18 |
13 |
5,4 |
5,4 |
25 |
9 |
18,3 |
||||
|
p = 3,92 МПа (40 кгс/см2), t = 440 °С |
||||||||||||||||||||||||
|
02 |
100 |
108 |
8 |
108 |
+2 1 |
109 |
+2 |
159 |
93 |
+0,54 |
700 |
± 5 |
103 |
23 |
13 |
5,4 |
5,8 |
25 |
9 |
33,2 |
||||
|
p = 7,45 МПа (76 кгс/см2), t = 145 °С; p = 4,31 МПа (44 кгс/см2), t = 340 °С |
||||||||||||||||||||||||
|
03 |
100 |
108 |
6 |
108 |
+2 -1 |
109 |
+2 |
159 |
97 |
+0,54 |
700 |
± 5 |
103 |
23 |
13 |
4,6 |
4,7 |
25 |
9 |
33,2 |
||||
|
p = 4,31 МПа (44 кгс/см2), t = 340 °С; p = 3,92 МПа (40 кгс/см2), t = 200 °С |
||||||||||||||||||||||||
|
04 |
80 |
89 |
4 |
89 |
+2 -1 |
91 |
+2 |
133 |
81 |
+0,54 |
450 |
± 5 |
84 |
18 |
13 |
3,6 |
4,0 |
25 |
9 |
18,3 |
||||
|
p = 3,92 МПа (40 кгс/см2), t = 200 °С |
||||||||||||||||||||||||
|
05 |
100 |
108 |
4,5 |
108 |
+2 -1 |
109 |
+2 |
159 |
100 |
+0,54 |
700 |
± 5 |
103 |
23 |
13 |
2,7 |
3,4 |
25 |
9 |
33,2 |
||||
ИНФОРМАЦИОННЫЕ ДАННЫЕ
1. УТВЕРЖДЕН И ВВЕДЕН В ДЕЙСТВИЕ указанием Министерства энергетического машиностроения от 04.06.82 № ВВ-002/4628
2. ИСПОЛНИТЕЛИ
П.М. Христюк, канд. техн. наук; Д.Д. Дорофеев, канд. техн. наук (руководитель темы); Г.Н. Смирнов (руководитель темы); Л.Н. Жылюк; В.Н. Шанский; Н.В. Москаленко; Д.Ф. Фомина; Г.А. Мисирьянц; В.Ф. Логвиненко; Ф.А. Гловач; А.З. Гармаш; Н.Г. Мазин; А.С. Шестернин
3. ЗАРЕГИСТРИРОВАН Государственным комитетом СССР по стандартам за № 8273734 от 26.02.83
4. ВВЕДЕН ВПЕРВЫЕ
5. ССЫЛОЧНЫЕ НОРМАТИВНО-ТЕХНИЧЕСКИЕ ДОКУМЕНТЫ
|
Обозначение НТД, на который дана ссылка |
Номер пункта, подпункта, перечисления, приложения |
|
ОСТ 24.125.60-89 |
|
|
ТУ 14-3-460-75 |
6. ПЕРЕИЗДАНИЕ (1992 г.) с Изменениями № 1, 2, 3, 4.
Срок действия продлен до 1996 г. Изменением № 4, утвержденным письмом Минтяжмаша СССР от 27.12.90 № ВА-002-1-12060