ОТРАСЛЕВЫЕ СТАНДАРТЫ
ДЕТАЛИ И СБОРОЧНЫЕ ЕДИНИЦЫ ИЗ УГЛЕРОДИСТЫХ
И КРЕМНЕМАРГАНЦОВИСТЫХ СТАЛЕЙ
ДЛЯ ТРУБОПРОВОДОВ ПАРА И ГОРЯЧЕЙ ВОДЫ
С ДАВЛЕНИЕМ pу ≥
4,0 МПа (PУ ≥
40 кгс/см2)
ТЕПЛОВЫХ ЭЛЕКТРОСТАНЦИЙ
ТИПЫ, КОНСТРУКЦИЯ, РАЗМЕРЫ И ТЕХНИЧЕСКИЕ ТРЕБОВАНИЯ
ОСТ 108.462.04-82
УТВЕРЖДЕН И ВВЕДЕН В ДЕЙСТВИЕ указанием Министерства энергетического машиностроения от 04.06.82 № ВВ-002/4628
ИСПОЛНИТЕЛИ: НПО ЦКТИ и БЗЭМ
СОГЛАСОВАН с Главным управлением по проектированию и научно-исследовательским работам Министерства энергетики и электрификации СССР
Л.М. ВОРОНИН
ОТРАСЛЕВОЙ СТАНДАРТ
|
ПАТРУБКИ БЛОКОВ С ДИАФРАГМАМИ КОНСТРУКЦИЯ И РАЗМЕРЫ |
ОСТ 108.462.04-82 Взамен НО 800-66
в части |
Указанием Министерства энергетического машиностроения от 04.06.82 № ВВ-002/4628 срок действия установлен
с 01.01.85
до 01.01.96
Несоблюдение стандарта преследуется по закону
1. Настоящий стандарт распространяется на патрубки для блоков с диафрагмами, устанавливаемых на трубопроводах питательной воды тепловых электростанций с абсолютным давлением воды p = 37,27 МПа (380 кгс/см2) и температурой t = 280 °С.
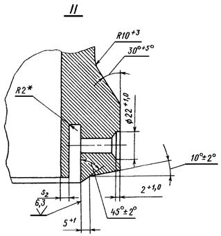
2. Конструкция, размеры и материал патрубков должны соответствовать указанным на черт. 1 - 3 и в таблице.
3. Допускается изготовление патрубков из двух частей - трубы и поковки (см. черт. 3). Материал трубы должен соответствовать указанному в таблице, материал поковки - сталь марки 15ГС (или 16ГС) по ОСТ 108.030.113.
Наплавленный металл - по ОСТ 108.940.02.
Размеры швов устанавливаются предприятием - изготовителем в зависимости от толщины свариваемых элементов.
4. Остальные технические требования - по ОСТ 24.125.60.
5. Исполнения, указанные в скобках, применять по согласованию с предприятием - изготовителем.
6. Пример условного обозначения патрубка исполнения 01 с условным проходом Dу = 200 мм:
ПАТРУБОК 200 01 ОСТ 108.462.04.
7. Пример маркировки: 01 ОСТ 108.462.04 
* Размер для справок.
Черт. 2
Черт. 3
Размеры, мм
|
Черт. |
Условный проход Dу |
Dн* |
Dн1 |
D |
D1 |
D2 |
D20 |
dр |
s |
s1 |
s2, не менее |
sк |
sк1 |
sк2 |
b |
c |
h |
l |
l1 |
l2 |
l3 (Пред. откл. +5) |
L |
Материал (марка стали, ТУ) |
Масса, кг |
||||||||||||||
|
Номин. |
Пред. откл. |
Номин. |
Пред. откл. |
Номин. |
Пред. откл. |
Номин. |
Пред. откл. |
Номин. |
Пред. откл. |
Номин. |
Пред. откл. |
не менее |
не менее |
Номин. |
Пред. откл. |
Номин. |
Пред. откл. |
Номин. |
Пред. откл. |
Номин. |
Пред. откл. |
Номин. |
Пред. откл. |
Номин. |
Пред. откл. |
Номин. |
Пред. откл. |
|||||||||||
|
01 |
200 |
273 |
- |
- |
312 |
+1,6 |
235 |
± 0,1 |
- |
- |
201 |
± 0,6 |
203 |
+0,72 |
32,8 |
- |
8,0 |
32,8 |
37 |
- |
42 |
+0,6 |
3,0 |
± 0,2 |
2,5 |
± 0,2 |
32 |
± 0,8 |
60 |
+3 |
- |
- |
65 |
500 |
± 2,5 |
15 ГС ТУ 14-3-460 |
120 |
|
|
02 |
280 |
+1,6 |
- |
- |
325 |
+1,6 |
37 |
- |
43 |
180 |
± 2 |
См. п. 3 |
||||||||||||||||||||||||||
|
03 |
250 |
325 |
- |
- |
365 |
+1,6 |
278 |
- |
- |
243 |
± 0,7 |
245 |
36,4 |
- |
8,5 |
36,4 |
42 |
- |
3,5 |
3,5 |
70 |
- |
- |
80 |
610 |
15 ГС ТУ 14-3-460 |
193 |
|||||||||||
|
04 |
335 |
+1,6 |
- |
- |
380 |
+1,6 |
43 |
- |
49 |
180 |
± 2 |
См. п. 3 |
||||||||||||||||||||||||||
|
05 |
300 |
377 |
- |
- |
420 |
+1,6 |
317 |
- |
- |
279 |
± 0,8 |
281 |
+0,81 |
44,0 |
- |
10,0 |
44,0 |
50 |
- |
45 |
4,0 |
4,0 |
35 |
- |
- |
85 |
685 |
15ГС ТУ 14-3-460 |
312 |
|||||||||
|
06 |
390 |
+1,6 |
- |
- |
435 |
+1,6 |
52 |
- |
57 |
200 |
± 2 |
См. п. 3 |
||||||||||||||||||||||||||
|
(07) |
350 |
465 |
- |
- |
505 |
+1,6 |
385 |
- |
- |
347 |
± 0,8 |
349 |
+0,89 |
51,3 |
- |
51,3 |
58 |
- |
4,5 |
6,0 |
75 |
- |
- |
100 |
830 |
15ГС ТУ 14-3-420 |
530 |
|||||||||||
|
(08) |
475 |
+1,6 |
- |
- |
520 |
+1,6 |
62 |
- |
66 |
200 |
± 2 |
См. п. 3 |
||||||||||||||||||||||||||
|
09 |
400 |
530 |
- |
- |
600 |
+1,6 |
444 |
- |
- |
404 |
± 1,0 |
406 |
+0,97 |
58,2 |
- |
11,0 |
58,2 |
75 |
- |
50 |
5,0 |
7,5 |
40 |
80 |
- |
- |
110 |
950 |
15ГС ТУ 14-3-420 |
750 |
||||||||
|
10 |
550 |
+1,6 |
- |
- |
600 |
+1,6 |
71 |
- |
86 |
300 |
± 2 |
См. п. 3 |
||||||||||||||||||||||||||
ИНФОРМАЦИОННЫЕ ДАННЫЕ
1. УТВЕРЖДЕН И ВВЕДЕН В ДЕЙСТВИЕ указанием Министерства энергетического машиностроения от 04.06.82 № ВВ-002/4628
2. ИСПОЛНИТЕЛИ
П.М. Христюк, канд. техн. наук; Д.Д. Дорофеев, канд. техн. наук (руководитель темы); Г.Н. Смирнов (руководитель темы); Л.Н. Жылюк; В.Н. Шанский; Н.В. Москаленко; Д.Ф. Фомина; Г.А. Мисирьянц; В.Ф. Логвиненко; Ф.А. Гловач; А.З. Гармаш; Н.Г. Мазин; А.С. Шестернин
3. ЗАРЕГИСТРИРОВАН Государственным комитетом СССР по стандартам за № 8273834 от 26.02.83
4. ВЗАМЕН НО 800-66
5. ССЫЛОЧНЫЕ НОРМАТИВНО-ТЕХНИЧЕСКИЕ ДОКУМЕНТЫ
|
Номер пункта, подпункта, перечисления, приложения |
|
|
ОСТ 24.125.60-89 |
|
|
ОСТ 108.030.113-87 |
|
|
ОСТ 108.940.02-82 |
|
|
ОСТ 14-3-420-75 |
|
|
ОСТ 14-3-460-75 |
6. ПЕРЕИЗДАНИЕ (1992 г.) с Изменениями № 1, 2, 3, 4, 5.
Срок действия продлен до 1996 г. Изменением № 4, утвержденным письмом Минтяжмаша СССР от 27.12.90 № ВА-002-1-12060