ОТРАСЛЕВЫЕ СТАНДАРТЫ
ДЕТАЛИ И СБОРОЧНЫЕ ЕДИНИЦЫ ИЗ УГЛЕРОДИСТЫХ
И КРЕМНЕМАРГАНЦОВИСТЫХ СТАЛЕЙ
ДЛЯ ТРУБОПРОВОДОВ ПАРА И ГОРЯЧЕЙ ВОДЫ
С ДАВЛЕНИЕМ pу ≥
4,0 МПа (PУ ≥
40 кгс/см2)
ТЕПЛОВЫХ ЭЛЕКТРОСТАНЦИЙ
ТИПЫ, КОНСТРУКЦИЯ, РАЗМЕРЫ И ТЕХНИЧЕСКИЕ ТРЕБОВАНИЯ
ОСТ 108.839.02-82
УТВЕРЖДЕН И ВВЕДЕН В ДЕЙСТВИЕ указанием Министерства энергетического машиностроения от 04.06.82 № ВВ-002/4628
ИСПОЛНИТЕЛИ: НПО ЦКТИ и БЗЭМ
СОГЛАСОВАН с Главным управлением по проектированию и научно-исследовательским работам Министерства энергетики и электрификации СССР
Л.М. ВОРОНИН
ОТРАСЛЕВОЙ СТАНДАРТ
|
БЛОКИ С ДИАФРАГМАМИ КОНСТРУКЦИЯ И РАЗМЕРЫ |
ОСТ 108.839.02-82 Взамен ОСТ
24.839.04 в части |
Указанием Министерства энергетического машиностроения от 04.06.82 № ВВ-002/4628 срок действия установлен
с 01.01.85
до 01.01.96
Несоблюдение стандарта преследуется по закону
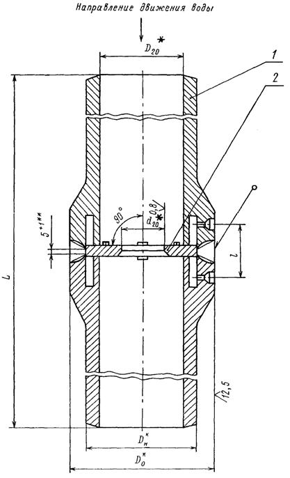
1. Настоящий стандарт распространяется на блоки с диафрагмами, устанавливаемые на трубопроводах пара и горячей воды тепловых электростанций с абсолютным давлением и температурой среды:
p = 3,92 МПа (40 кгс/см2), t = 440 °С;
p = 7,45 МПа (76 кгс/см2), t = 145 °С;
p = 4,31 МПа (44 кгс/см2), t = 340 °С;
p = 3,92 МПа (40 кгс/см2), t = 200 °С.
2. Конструкция и размеры блоков с диафрагмами должны соответствовать указанным на чертеже и в табл. 1.
3. Наименование и обозначение деталей, входящих в блок с диафрагмой, указаны в табл. 2. Блок комплектуется также четырьмя штуцерами, ввариваемыми в отверстия d на монтаже для выбора импульса давления. Штуцера изготавливаются по чертежам предприятия - изготовителя. Приварка импульсных трубок непосредственно к патрубкам (поз. 1) не допускается.
4. Наплавленный металл - по ОСТ 108.940.02.
5. Блок с диафрагмой 13 ОСТ 108.839.02 допускается изготавливать с соплом ОСТ 108.839.08.
6. Смещение оси отверстия d20 относительно оси внутреннего диаметра D20 блока не должно превышать следующих значений:
0,6 мм - при D20 до 200 мм включительно;
1,0 мм - при D20 свыше 200 мм до 500 мм включительно.
При контроле размеров D20 и d20 следует использовать отраслевые стандарты на патрубки и рабочие чертежи на диафрагмы.
7. Остальные технические требования - по ОСТ 24.125.60.
8. Пример условного обозначения блока с диафрагмой исполнения 03 с условным проходом Dу = 150 мм:
БЛОК С ДИАФРАГМОЙ 150 03 ОСТ 108.839.02.
9. Пример маркировки: 03 ОСТ 108.839.02 ![]()

* Размеры для справок.
** Для исполнений 01, 02, 07, 08, 09 - 3+1
Размеры, мм
|
Исполнение |
Условный проход Dу |
Dн* |
D0* |
D20* |
d20* |
l |
L |
Масса наплавленного металла, кг |
Масса, кг |
||
|
Номин. |
Пред. откл. |
Номин. |
Пред. откл. |
||||||||
|
p = 3,92 МПа (40 кгс/см2), t = 440 °С; p = 4,31 МПа (44 кгс/см2), t = 340 °С; |
|||||||||||
|
p = 7,45 МПа (76 кгс/см2), t = 145 °С; p = 3,92 МПа (40 кгс/см2), t = 200 °С |
|||||||||||
|
01 |
50 |
57 |
92 |
50 |
По расчету |
43 |
+2 -1 |
213 |
± 5 |
0,3 |
3,0 |
|
p = 3,92 МПа (40 кгс/см2), t = 440 °С; p = 7,45 МПа (76 кгс/см2), t = 145 °С |
|||||||||||
|
02 |
80 |
89 |
120 |
77 |
По расчету |
43 |
+2 -1 |
333 |
± 5 |
0,4 |
7,0 |
|
03 |
150 |
159 |
195 |
142 |
49 |
703 |
0,9 |
29,0 |
|||
|
04 |
200 |
219 |
255 |
193 |
923 |
1,3 |
71,0 |
||||
|
05 |
250 |
273 |
310 |
241 |
55 |
1143 |
1,8 |
135,0 |
|||
|
06 |
300 |
325 |
360 |
287 |
1363 |
2,1 |
208,0 |
||||
|
p = 3,92 МПа (40 кгс/см2), t = 440 °С |
|||||||||||
|
07 |
100 |
108 |
145 |
93 |
По расчету |
47 |
+2 -1 |
503 |
± 5 |
0,4 |
13,0 |
|
p = 7,45 МПа (76 кгс/см2), t = 145 °С; p = 4,31 МПа (44 кгс/см2), t = 340 °С |
|||||||||||
|
08 |
100 |
108 |
145 |
96 |
По расчету |
47 |
+2 -1 |
503 |
± 5 |
0,4 |
10,0 |
|
p = 3,92 МПа (40 кгс/см2), t = 200 °С |
|||||||||||
|
09 |
100 |
108 |
145 |
99 |
По расчету |
47 |
+2 -1 |
503 |
± 5 |
0,4 |
8,1 |
|
p = 4,31 МПа (44 кгс/см2), t = 340 °С; p = 3,92 МПа (40 кгс/см2), t = 200 °С |
|||||||||||
|
10 |
300 |
325 |
360 |
299 |
По расчету |
55 |
+2 -1 |
1363 |
± 5 |
2,0 |
176,0 |
|
11 |
350 |
377 |
420 |
351 |
1583 |
2,5 |
232,0 |
||||
|
12 |
400 |
426 |
460 |
396 |
1763 |
2,0 |
312,0 |
||||
|
p = 4,31 МПа (44 кгс/см2), t = 340 °С |
|||||||||||
|
13 |
450 |
465 |
505 |
433 |
По расчету |
55 |
+2 -1 |
1923 |
± 5 |
2,9 |
410,0 |
Таблица 2
|
Патрубок (поз. 1) 2 шт. |
Диафрагма (поз. 2) 1 шт. |
|
|
Исполнение |
||
|
p = 3,92 МПа (40 кгс/см2), t = 440 °С; p = 4,31 МПа (44 кгс/см2), t = 340 °С; |
||
|
p = 7,45 МПа (76 кгс/см2), t = 145 °С; p = 3,92 МПа (40 кгс/см2), t = 200 °С |
||
|
01 ОСТ 108.839.02 |
01 |
19 |
|
p = 3,92 МПа (40 кгс/см2), t = 440 °С; p = 7,45 МПа (76 кгс/см2), t = 145 °С |
||
|
02 ОСТ 108.839.02 |
02 |
21 |
|
03 ОСТ 108.839.02 |
03 |
22 |
|
04 ОСТ 108.839.02 |
04 |
23 |
|
05 ОСТ 108.839.02 |
05 |
24 |
|
06 ОСТ 108.839.02 |
06 |
25 |
|
p = 3,92 МПа (40 кгс/см2), t = 440 °С |
||
|
07 ОСТ 108.839.02 |
07 |
20 |
|
p = 7,45 МПа (76 кгс/см2), t = 145 °С; p = 4,31 МПа (44 кгс/см2), t = 340 °С |
||
|
08 ОСТ 108.839.02 |
08 |
20 |
|
p = 3,92 МПа (40 кгс/см2), t = 200 °С |
||
|
09 ОСТ 108.839.02 |
09 |
20 |
|
p = 4,31 МПа (44 кгс/см2), t = 340 °С; p = 3,92 МПа (40 кгс/см2), t = 200 °С |
||
|
10 ОСТ 108.839.02 |
10 |
26 |
|
11 ОСТ 108.839.02 |
11 |
27 |
|
12 ОСТ 108.839.02 |
12 |
28 |
|
p = 4,31 МПа (44 кгс/см2), t = 340 °С |
||
|
13 ОСТ 108.839.02 |
13 |
29 |
ИНФОРМАЦИОННЫЕ ДАННЫЕ
1. УТВЕРЖДЕН И ВВЕДЕН В ДЕЙСТВИЕ указанием Министерства энергетического машиностроения от 04.06.82 № ВВ-002/4628
2. ИСПОЛНИТЕЛИ
П.М. Христюк, канд. техн. наук; Д.Д. Дорофеев, канд. техн. наук (руководитель темы); Г.Н. Смирнов (руководитель темы); Л.Н. Жылюк; В.Н. Шанский; Н.В. Москаленко; Д.Ф. Фомина; Г.А. Мисирьянц; В.Ф. Логвиненко; Ф.А. Гловач; А.З. Гармаш; Н.Г. Мазин; А.С. Шестернин
3. ЗАРЕГИСТРИРОВАН Государственным комитетом СССР по стандартам за № 8273855 от 26.02.83
4. ВЗАМЕН ОСТ 24.839.04
5. ССЫЛОЧНЫЕ НОРМАТИВНО-ТЕХНИЧЕСКИЕ ДОКУМЕНТЫ
|
Обозначение НТД, на который дана ссылка |
Номер пункта, подпункта, перечисления, приложения |
|
ОСТ 24.125.60-89 |
|
|
ОСТ 108.940.02-82 |
6. ПЕРЕИЗДАНИЕ (1992 г.) с Изменениями № 1, 2, 3, 4, 5.
Срок действия продлен до 1996 г. Изменением № 4, утвержденным письмом Минтяжмаша СССР от 27.12.90 № ВА-002-1-12060