ОТРАСЛЕВОЙ СТАНДАРТ
|
Детали и сборочные единицы трубопроводов АС Pраб < 2,2 МПа (22 кгс/см2), T ≤ 300 °С ТРОЙНИКИ ПЕРЕХОДНЫЕ С УСИЛЕННЫМ ШТУЦЕРОМ Конструкция и размеры |
ОСТ 34-10-433-90 |
Дата введения 01.01.91
Несоблюдение стандарта преследуется по закону
1. Настоящий стандарт распространяется на переходные тройники с усиленным штуцером из коррозионно-стойкой стали для трубопроводов групп B и C атомных станций по «Правилам АЭУ».
Стандарт соответствует требованиям «Правил АЭУ».
Допускается применение переходных тройников с усиленным штуцером по данному стандарту для трубопроводов, на которые распространяются «Правила пара и горячей воды» и СНиП 3.05.05.
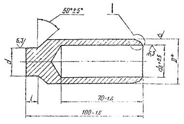
2. Конструкция и размеры переходных тройников с усиленным штуцером должны соответствовать указанным на черт. 1 и в табл. 1 и 2.
После рассверловки

До рассверловки

I
Для Dн ≤ 57 мм

Для Dн от 76 до 108 мм

Для Dн ≥ 133 мм

* Размеры для справок
Размеры в мм
|
Обозначение |
Условное давление Pу, МПа (кгс/см2) |
Условный проход Dу´Dу1 |
Размеры присоединяемых труб |
Dн |
Dн1 |
Dр |
d |
dδ |
S |
S1 |
L |
H |
g |
e |
Масса, кг |
|||
|
к корпусу |
к штуцеру |
Номин. |
Пред. откл. |
Номин. |
Пред. откл. |
не менее |
||||||||||||
|
01 |
2,5 (25)* |
15×10 |
18×2,5 |
14×2 |
18 |
14 |
13,5 |
+0,18 |
7 |
+0,10 |
10 |
2,5 |
2,0 |
130 |
105 |
6 |
12 |
0,27 |
|
02 |
20×10 |
25×3 |
25 |
19,5 |
+0,21 |
3,0 |
2,5 |
110 |
0,36 |
|||||||||
|
03 |
20×15 |
18×2,5 |
18 |
10 |
+0,12 |
13 |
0,42 |
|||||||||||
|
04 |
25×10 |
32×2,5 |
14×2 |
32 |
14 |
28 |
7 |
+0,10 |
10 |
2,5 |
2,0 |
150 |
|
0,43 |
||||
|
05 |
25×15 |
18×2,5 |
18 |
10 |
+0,12 |
13 |
0,48 |
|||||||||||
|
06 |
25×20 |
25×3 |
25 |
15 |
19 |
0,66 |
||||||||||||
|
07 |
32×10 |
38×3 |
14×2 |
38 |
14 |
33 |
+0,25 |
7 |
+0,10 |
10 |
3,0 |
2,5 |
115 |
0,53 |
||||
|
08 |
32×15 |
18×2,5 |
18 |
10 |
+0,12 |
13 |
0,59 |
|||||||||||
|
09 |
32×20 |
25×3 |
25 |
15 |
19 |
0,76 |
||||||||||||
|
10 |
32×25 |
32×2,5 |
32 |
24 |
+0,14 |
28 |
0,93 |
|||||||||||
|
11 |
50×10 |
57×3 |
14×2 |
57 |
14 |
52 |
+0,30 |
7 |
+0,10 |
10 |
200 |
125 |
0,95 |
|||||
|
12 |
50×15 |
18×2,5 |
18 |
10 |
+0,12 |
13 |
1,01 |
|||||||||||
|
13 |
50×20 |
25×3 |
25 |
15 |
19 |
1,19 |
||||||||||||
|
14 |
50×25 |
32×2,5 |
32 |
24 |
+0,14 |
28 |
1,36 |
|||||||||||
|
15 |
50×32 |
38×3 |
38 |
28 |
33 |
7 |
14 |
1,58 |
||||||||||
|
16 |
65×15 |
76×4,5 |
18×2,5 |
76 |
18 |
68 |
+0,30 |
10 |
+0,12 |
13 |
4,5 |
3,5 |
200 |
134 |
6 |
12 |
1,80 |
|
|
17 |
65×20 |
25×3 |
25 |
15 |
19 |
12 |
6 |
1,98 |
||||||||||
|
18 |
65×25 |
32×2,5 |
32 |
24 |
+0,14 |
28 |
132 |
2,15 |
||||||||||
|
19 |
65×32 |
38×3 |
38 |
28 |
33 |
14 |
7 |
2,37 |
||||||||||
|
20 |
80×20 |
89×5 |
25×3 |
89 |
25 |
80 |
15 |
+0,12 |
19 |
5,0 |
4,0 |
250 |
140 |
12 |
6 |
2,99 |
||
|
21 |
80×25 |
32×2,5 |
32 |
24 |
+0,14 |
28 |
3,15 |
|||||||||||
|
22 |
80×32 |
38×3 |
38 |
28 |
33 |
14 |
7 |
3,37 |
||||||||||
|
23 |
100×25 |
108×5 |
32×2,5 |
108 |
32 |
99 |
+0,35 |
24 |
28 |
150 |
12 |
6 |
3,74 |
|||||
|
24 |
100×32 |
38×3 |
38 |
28 |
33 |
14 |
7 |
3,96 |
||||||||||
|
25 |
125×32 |
133×6 |
133 |
124 |
+0,40 |
6,0 |
3,0 |
160 |
5,49 |
|||||||||
|
26 |
150×32 |
159×6 |
159 |
150 |
175 |
6,46 |
||||||||||||
* Применение переходных тройников с усиленным штуцером допускается для трубопроводов группы B с рабочим давлением Pраб ≤ 1,57 МПа (16 кгс/см2) и расчетной температурой T ≤ 100 °С.
Пример условного обозначения переходного тройника с усилением штуцером Dу 80 мм и Dу1 25 мм, Pу 1,5 МПа (15 кгс/см2) для трубопроводов группы B по «Правилам АЭУ» с контролем сварных швов по ПНАЭ Г-7-010 для сварного соединения IIIс категории:
Тройник переходной B 80×25-1,5-IIIc 21 ОСТ 34-10-433-90,
то же, для трубопроводов группы C на условное давление Pу 2,5 МПа (25 кгс/см2) с контролем сварных швов для IIIв категории сварного соединения:
Тройник переходной C 80×25-2,5-IIIв 21 ОСТ 34-10-433-90,
то же, для трубопроводов, на которые распространяются «Правила пара и горячей воды»:
Тройник переходной П 80×25-2,5-IIIв 21 ОСТ 34-10-433-90,
то же, для трубопроводов, на которые распространяются СНиП 3.05.05:
Тройник переходной 80×25-2,5-IIIв 21 ОСТ 34-10-433-90.
Таблица 2
|
Обозначение тройника переходного с усиленным штуцером |
Поз. 1 Корпус |
Поз. 2 Штуцер |
||||
|
Размеры в мм |
Материал |
Масса, кг |
Обозначение |
|||
|
Dн×S |
L |
Марка стали |
Стандарт |
|||
|
01 |
18×2,5 |
130 |
08Х18Н10Т или 12Х18Н10Т |
См. ОСТ 34-10-416 |
0,12 |
2-01 |
|
02 |
25×3 |
0,21 |
||||
|
03 |
2-02 |
|||||
|
04 |
32×2,5 |
150 |
0,27 |
2-01 |
||
|
05 |
2-02 |
|||||
|
06 |
2-03 |
|||||
|
07 |
38×3 |
0,38 |
2-01 |
|||
|
08 |
2-02 |
|||||
|
09 |
2-03 |
|||||
|
10 |
0,37 |
2-04 |
||||
|
11 |
57×3 |
200 |
0,80 |
2-01 |
||
|
12 |
2-02 |
|||||
|
13 |
2-03 |
|||||
|
14 |
0,79 |
2-04 |
||||
|
15 |
2-05 |
|||||
|
16 |
76×4,5 |
1,59 |
2-02 |
|||
|
17 |
2-03 |
|||||
|
18 |
1,58 |
2-04 |
||||
|
19 |
2-05 |
|||||
|
20 |
89×5 |
250 |
2,60 |
2-03 |
||
|
21 |
2,59 |
2-04 |
||||
|
22 |
2,58 |
2-05 |
||||
|
23 |
108×5 |
3,17 |
2-04 |
|||
|
24 |
3,16 |
2-05 |
||||
|
25 |
133×6 |
4,70 |
||||
|
26 |
159×6 |
5,66 |
||||
3. Конструкция и размеры штуцеров должны соответствовать указанным на черт. 2 и в табл. 3.
![]()

I

* Размер для справки
Размеры в мм
|
Обозначение |
Условное давление Pу, МПа (кгс/см2) |
Условный проход Dу |
D |
Dн1 |
dв |
d |
l |
Материал |
Масса, кг |
||
|
Номин. |
Пред. откл. |
Марка стали |
Условия поставки |
||||||||
|
2-01 |
2,5 (25) |
10 |
18 |
14 |
10 |
7 |
-0,050 -0,150 |
8 |
08Х18Н10Т или 12Х18Н10Т ГОСТ 5632 |
Круг ГОСТ 5949 |
0,15 |
|
2-02 |
15 |
22 |
18 |
13 |
10 |
-0,060 -0,180 |
0,21 |
||||
|
2-03 |
20 |
30 |
25 |
19 |
15 |
0,39 |
|||||
|
2-04 |
25 |
38 |
32 |
28 |
24 |
-0,070 -0,210 |
10 |
0,59 |
|||
|
2-05 |
32 |
45 |
38 |
33 |
28 |
0,79 |
|||||
4. Материал:
а) корпуса дет. 1 - см. табл. 2,
б) штуцера дет. 2 - см. табл. 3.
5. Неуказанные предельные отклонения размеров - по классу точности «грубый» ГОСТ 25670.
6. Несоосность диаметров D и dв не более 0,5 мм.
7. С целью обеспечения допустимого смещения кромок при S ≤ 5 мм выполнить калибровку или раздачу концов корпуса.
8. Сварные стыковые соединения - по ОСТ 34-10-417.
9. Методы и объем контроля сварного соединения штуцера с корпусом тройников - в соответствии с ОСТ 34-10-440.
10. Остальные технические требования - по ОСТ 34-10-440.
Лист регистрации изменений ОСТ 34-10-433-90
|
Изм. |
Номера листов (страниц) |
Номер документа |
Подпись |
Дата |
Срок введения изменения |
|||
|
измененных |
замененных |
новых |
аннулированных |
|||||
|
|
|
|
|
|
|
|
|
|