Типовые технологические карты
на производство отдельных видов работ

РАЗДЕЛ 06

ТИПОВАЯ
ТЕХНОЛОГИЧЕСКАЯ КАРТА
НА ОТДЕЛОЧНЫЕ РАБОТЫ

6.01.01.30

УСТРОЙСТВО ПОЛОВ
ИЗ ДРЕВЕСНО-ВОЛОКНИСТЫХ плит

МОСКВА - 1989

РАЗРАБОТАНА

Институтом ПТИ Минсевзапстроя СССР

Главный инженер института   Руднев Ю.И.

Начальник отдела                       Гущин A.M.

Главный инженер проекта       Одинцов В.П.

СОГЛАСОВАНО

Отделом механизации и технологии
строительства Госстроя СССР

Письмо от 27.12.1968 г. № 23-737

Введена в действие с 1 февраля 1969 г.

1. ОБЛАСТЬ ПРИМЕНЕНИЯ

Типовая технологическая карта разработана для применения при устройстве 1000 м2 покрытий полов из древесно-волокнистых плит марки СТ-500 на битумной мастике. Полы из древесно-волокнистых плит устраиваются в жилых и административных зданиях с малой интенсивностью движения людей и минимальным увлажнением полов во время эксплуатации.

Полы устраивают в помещении с влажностью до 60 % при температуре воздуха, не ниже +8 °С.

В состав работ, рассматриваемых картой, входят:

подготовка основания;

нанесение мастики на основание и приклейка плит;

установка антисептированных плинтусов;

окраска пола за два раза.

При привязке типовой технологической карты к конкретному объекту и условиям строительства принятый в карте порядок выполнения работ по устройству полов из древесно-волокнистых плит, размещение машин и оборудования, объемы работ, средства механизации уточняют в соответствии с проектными решениями.

2. ОРГАНИЗАЦИЯ И ТЕХНОЛОГИЯ ВЫПОЛНЕНИЯ РАБОТ

До начала устройства полов из древесно-волокнистых плит должны быть выполнены:

все виды строительно-монтажных и отделочных работ, при производстве которых могут быть повреждены готовые покрытия полов;

шлакобетонная или керамзитобетонная подготовка и цементная стяжка по панелям перекрытия;

очистка и огрунтовка основания.

Кроме того, в зоне работы должны быть приготовлены инвентарь, приспособления, инструмент, а рабочие и ИТР ознакомлены с технологией и организацией работ и обучены безопасным методам труда.

Доставку древесно-волокнистых плит на объект осуществляют бортовым автомобилем ЗИЛ-130 пакетами в контейнере для перевозки древесно-волокнистых плит.

Складирование осуществляют внутри здания в защищенных от влаги и прямых солнечных лучей помещениях. Пакет плит укладывают горизонтально в штабель высотой до 1 м.

При устройстве покрытий полов из древесно-волокнистых плит работы ведутся сверху вниз последовательно по квартирам.

До начала работ по устройству пола основание тщательно очищают от пыли, грязи, мусора. Обеспыливание производится промышленным пылесосом ПП-4м в случае его отсутствия - волосяными щетками.

В жилых и отапливаемых помещениях плиты покрытия укладывают по теплой стяжке из керамзита, шлакобетона, а также по основанию из деловых отходов досок или древесно-стружечных плит П-3. В отапливаемых помещениях с непродолжительным временем пребывания людей, а также в неотапливаемых помещениях плиты укладывают по ровной цементно-песчаной стяжке. Для основания используют деловые отходы досок хвойных пород 2 и 3 сорта длиной 80 - 100 см, шириной до 120 мм, толщиной 22 и 25 мм и древесно-стружечные плиты П-3 толщиной 19 мм. Древесина для основания плит должна быть антисептирована. Основание под покрытие плит устраивают не ранее достижения материалом стяжки предела прочности при сжатии 5 МПа и влажности не более 5 %. Влажность деловых отходов досок, древесно-стружечных плит, применяемых для устройства основания, не должна превышать 12 %.

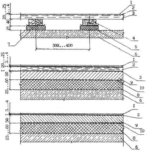
Доски основания укладывают под покрытие из древесно-волокнистых плит по лагам перпендикулярно им. Каждую доску и плиту основания прибивают к лагам гвоздями длиной 50 - 60 мм. Стыки параллельных лагам кромок древесно-стружечных плит располагают на сплошных лагах (без стыков по длине). Гвозди забивают в древесно-стружечные плиты наклонно на расстоянии 20 ... 25 мм от их кромок с интервалом 100 ... 200 мм вдоль стыка смежных плит и 300 ... 400 мм между стыками.

Древесно-стружечные плиты перед укладкой увлажняют, для чего тыльную сторону каждой плиты смачивают водой (0,6 - 0,8 л на 1 м2 плиты), укладывают попарно увлажненными сторонами друг к другу в штабель высотой на менее 25 см, укрывают гидроизоляционным материалом и равномерно пригружают. Влажность плит непосредственно перед укладкой их на мастику должна быть в пределах 10 ± 2 %.

Подготовленные плиты раскладывают в помещениях и прирезают так, чтобы между кромками плит и стеной или перегородкой оставался зазор 4 ... 10 мм. При раскладке и прирезке плит стыкование четырех углов плит в одной точке не допускается, а стыковые кромки плит не должны совпадать с кромками элементов основания пола, устраиваемого из деловых отходов досок или древесно-стружечных плит.

После прирезки плит на основание из досок или древесно-стружечных плит наносят клеевую мастику полосами, отступая от стен (перегородок) на 300 ... 400 мм. Общая площадь приклейки должна быть не менее 40 % площади плит. Затем каждую плиту после укладки на мастику прибивают гвоздями длиной 30 - 40 мм Æ 2,5 - 3 мм с интервалами 120 - 150 мм по длинной стороне и 70 - 80 мм по короткой стороне плит. Гвозди вбивают на расстоянии 10 - 12 мм от кромок, от продольной оси симметрии к периферии.

Устройство покрытия по огрунтованным стяжкам начинают с нанесения на их поверхность клея или мастик. Если огрунтовка не была нанесена сразу после укладки раствора, поверхность стяжек предварительно обеспыливают и огрунтовывают раствором битума в бензине в соотношении 1:6 (по массе). Холодную мастику или клей наносят по всей поверхности основания пола в помещении с учетом того, что после их нанесения необходим технологический перерыв для испарения растворителя, который устанавливается лабораторией.

Мастику наносят слоем толщиной до 0,6 мм, клей - до 0,3 мм; за 0,5 часа до укладки плит их нижнюю сторону также промазывают клеем. Горячую мастику разливают из бачка-термоса на небольшой площади основания (для наклейки одной плиты), чтобы температура мастики не снизилась более, чем до 140 °С. После нанесения мастику разравнивают резиновыми гребками, чтобы обеспечить толщину клеевой прослойки не более 1 мм.

Первую плиту укладывают от угла помещения, обычно от окна (на расстоянии 5 ... 10 мм), тщательно прижимают к основанию и проверяют рейкой с уровнем ее горизонтальность. Аналогично укладывают плиты этого и следующих рядов так, чтобы зазоры в стыке не превышали 3 мм, не наблюдалось просадки плит и не образовались уступы у кромок. В узле примыкания пола из древесно-волокнистых плит к вертикальным трубопроводам выполняют противопожарную разделку из цементно-песчаного раствора по окружности трубы. Кромки плит укладывают при этом на расстоянии 10 мм от труб, нагреваемых до 80 °С, и 50 мм от труб, нагреваемых свыше 80 °С.

Установку, прибивку плинтусов выполняют через 5 - 6 часов после заделки зазоров между плитами.

После укладки всех плит их огрунтовывают, а затем окрашивают масляными красками.

Работы по устройству полов из сверхтвердых древесно-волокнистых плит выполняются бригадой, состоящей из двух звеньев.

Настилку полов из древесно-волокнистых плит на основание производит первое звено:

плотник 4 разряда - 2 (П1, П2);

плотник 2 разряда - 2 (П3, П4).

Окраску полов производит второе звено:

маляр 4 разряда - 1 (М1);

маляр 2 разряда - 1 (М2).

Кран СР обслуживают:

такелажник 2 разряда - 2 (Т1, Т2);

машинист крана 3 разряда - 1 (Мк).

Плотники П3 и П4 производят обеспыливание, огрунтовку и шпатлевку поверхности, а также осуществляют прием материалов, доставку их к рабочим местам, увлажнение и укладку плит в штабель под пригруз. Кроме того, они выполняют прирезку и укладку плит для вылеживания.

Плотники П1 и П2 производят наклейку плит, крепление их гвоздями, заделку зазоров, устройство плинтусов.

Маляры M1 и М2 осуществляют окраску пола из древесно-волокнистых плит масляными или эмалевыми красками за два раза.

Такелажники Т1 и Т2 производят прием материалов внизу, подъем их на этаж при помощи крана СР.

ПОЛЫ ИЗ СВЕРХТВЁРДЫХ ДРЕВЕСНО-ВОЛОКНИСТЫХ ПЛИТ

1 - покрытия; 2 - клеевой слой; 3 - основание пола из досок или древесно-стружечных плит; 4 - лаги 40´80 мм; 5 - звукоизоляционные ленточные прокладки из ДВП; 6 - несущая плита перекрытия; 7 - слой толя; 8 - звукоизоляционный сплошной слой; 9 - стяжка из лёгкого бетона; 10 - слой толя или пергамина

СХЕМА СТРОПОВКИ КОНТЕЙНЕРА С ПЛИТАМИ

1 - строп четырехветвевой; 2 - контейнер с плитами

СХЕМА ПОДАЧИ МАТЕРИАЛОВ

1 - кран «в окно»; 2 - строп четырехветвевой; 3 - контейнер с древесно-волокнистыми плитами

СХЕМА ПРОИЗВОДСТВА РАБОТ

 - огрунтованная и зашпаклеванная поверхность основания;

 - уложенные древесно-волокнистые плиты;

 - плиты под пригрузом;

 - плиты для вылеживания

I, II, III - номера квартир; 1 - пылесос; 2 - циркульная пила; 3 -бачок c мастикой; 4 - древесно-волокнистая плита под пригрузом; 5 - плинтусы; 6 - ящик с гвоздями; 7 - емкость с грунтовкой; 8 - ёмкость со шпаклевкой; 9 - кран СР; 10 - место приемки материала

3. ТРЕБОВАНИЯ К КАЧЕСТВУ И ПРИЁМКЕ РАБОТ

Работы по устройству полов из древеcно-волокнистых плит следует выполнять в соответствии со СНиП 3.01.01-85 «Организация строительного производства», и СНиП 3.04.01-87 «Изоляционные и отделочные покрытия».

Технические критерии и средства контроля операций и процессов приводятся в табл. 1.

Таблица 1

Наименование процессов, подлежащих контролю

Предмет контроля

Инструмент и способ контроля

Периодичность контроля

Ответственный за контроль

Технические критерии оценки качества

Подготовка основания

Очистка поверхности от мусора и пыли

Визуально

До настилки ДВП

Мастер

Внешний осмотр

Подготовка материалов

Влажность плит

Влагомер ЭВА-2М

То же

Лаборатория

Не более 10 %

Соответствие проекту состава применяемой мастики

Отбор проб

- ² -

То же

Подбирается лабораторным путём

Настилка полов из ДВП

Соблюдение технологии устройства пола из ДВП

Визуально

В процессе настилки пола

Мастер

Акт на скрытые работы

Толщина прослойки из мастики

Метр складной металлический

Для каждой плиты

То же

Не более 1 мм

Плотность приклейки и прибивки гвоздями плит

Контрольный отрыв

В процессе настилки пола

- ² -

Зазоры между плитами только в отдельных местах шириной не более 1 мм

Ровность поверхности покрытия

Двухметровая рейка с уровнем

После укладки каждой плиты

- ² -

Допускаемые отклонения при двухметровой линейке - 2 мм

Правильность установки плинтусов

Визуально

В процессе настилки пола

Мастер

Щели между плинтусами и ДВП не допускаются

Проолифка

Выполнение проолифки

То же

Перед окраской

То же

Внешний осмотр

Окраска поверхности пола

Выполнение окраски

- ² -

В процессе работы

- ² -

Не более двух неровностей глубиной до 2 мм

Просвечивание слоев краски, морщины, подтёки, наличие плёнок краски

- ² -

- ² -

- ² -

Предельные размеры раковин в диаметре 3 мм, глубиной 3 мм, наплывов по высоте - 2 мм

Приёмка выполненных работ

Внешний вид законченного покрытия, качество окраски, наличие плинтусов

- ² -

После окончания работ

Прораб

Внешний осмотр


4. КАЛЬКУЛЯЦИЯ ЗАТРАТ ТРУДА, МАШИННОГО ВРЕМЕНИ, ЗАРАБОТНОЙ ПЛАТЫ НА 1000 м2 ПОЛА

Таблица 2

Наименование процесса

Номер фасет для пересчета показателей

Единица измерения

Объем работ

Обоснование (ЕНиР и др. нормы)

Норма времени

Расценка, р.-к.

Затраты труда

Заработная плата, р.-к.

Время пребывания машины на объекте, маш.-ч

Заработная плата машиниста с учетом пребывания машины на объекте, р.-к.

 

рабочих, чел.-ч

машиниста, чел.-ч (маш.-ч)

рабочих

машиниста

рабочих чел.-ч

машиниста, чел.-ч (маш.-ч)

рабочих

машиниста

 

Подъем материалов краном СР

01, 09

100 т

0,063

ЕНиР Е1-16, т. 2, п. 12

72

-

46-08

-

4,54

-

2-90

-

-

-

 

Обслуживание крана СР

-

100 т

0,063

То же

-

36

-

25-20

-

2,27

-

1-59

2,27

1-59

 

Очистка основания пола пылесосом

-

100 м2

10

ЕНиР Е19-41, п. 2

5,7

-

3-82

-

57

-

38-20

-

-

-

 

Настилка полов из ДВП на основание с подрезкой, подгонкой

-

100 м2

10

ЕНиР Е19-10, п. 1

41,5

-

29-67

-

415

-

296-70

-

-

-

 

Установка плинтусов

02, 05

100 м плинтусов

11,88

ЕНиР Е19-46, п. 1

8,9

6-23

105,73

74-01

-

-

-

 

Проолифка пола из ДВП

06, 07

100 м2

10

ЕНиР Е8-1-15, т. 4, п. 9, 11, 12, 13, 29

8,82

-

5-90

-

88,2

59-00

-

-

-

 

Окраска пола масляными красками за 2 раза

08

100 м2

10

ЕНиР Е8-1-15 т. 7, п. 22, 23

6,1

-

4-82

-

61

-

48-20

-

-

-

 

Итого:

731,47

2,27

519,01

1-59

2,27

1-59

 

5. ГРАФИК ПРОИЗВОДСТВА РАБОТ НА 1000 м2 ПОЛА

Таблица 3


6. МАТЕРИАЛЬНО-ТЕХНИЧЕСКИЕ РЕСУРСЫ

Потребность в инструменте, инвентаре и приспособлениях приведена в табл. 4.

Таблица 4

Наименование

Марка, техническая характеристика, ГОСТ, № чертежа

Количество

Назначение

Кран

СР (КМ)

1

Грузоподъемные работы

Строп четырехветвевой

4СК1-0,63

ГОСТ 25573-82

1

Подъем материалов, полуфабрикатов

Щетка волосяная

ОСТ 17-180-79

1

Очистка поверхности

Бачок

Объем 0,02 м3

2

Для мастики

Электропила дисковая

ИЭ-6902

1

Прирезка древесно-волокнистых плит

Ножовка ручная

ТУ 14-1-302-72

2

То же

Металлический шпатель

ГОСТ 10778-83

2

Для нанесения частики

Молоток

МПЛ ГОСТ 11042-83

4

Для забивки гвоздей

Лопата подборочная

ЛП-1 ГОСТ 3620-76

ЛП-2 ГОСТ 3620-76

1

Вспомогательные работы

Лом-гвоздодер

ЛГ-24 ГОСТ 1405-83

1

Выдергивание гвоздей

Напильник

ГОСТ 6476-80

(СТ СЭВ 1298-79)

2

Заточка инструмента

Ведро

Объем 0,08 - 0,1 м3

2

Для воды

Краскопульт

С0-20Б

1

Смачивание плит

Валик

В3 ГОСТ 10831-80

2

Нанесение краски

Кисть

КР-1 ГОСТ 10597-87

2

То же,

Рулетка

ОПК2-30АНТ/10

ГОСТ 7502-80*

1

Линейные измерения

Нож

ГОСТ 18975-86

1

Прирезка плинтусов

Шланг резиновый, напорный Æ 20 мм, l = 70 м

ГОСТ 10362-76

1

Смачивание плит

Защитные очки

П0-1 ГОСТ 12.4.013-75

6

Индивидуальная защита

Рейка двухметровая

ГОСТ 11158-83*

2

Проверка горизонтальности

Пылесос промышленный

ПП-4м

1

Очистка поверхности

Щетка стальная прямоугольная

ТУ 499-01-104-76

2

То же

Турбулентный растворосмеситель

СБ-43Б

СБ-133

1

Приготовление мастики

Потребность в материалах и полуфабрикатах для выполнения paбoт по устройству полов из древесно-волокнистых плит приведена в табл. 5.

Таблица 5

Наименование материала, полуфабриката, конструкции (марка, ГОСТ)

Вариант (фасет -код)

Исходные данные

Потребное количество

Единица измерения по нормам (чертежам)

Объем работ в нормативных единицах

Принятая норма расхода материалов на единицу измерения

Плиты древесно-волокнистые сверхтвердые

100 м2

10

102 м2

1020 м2

Состав грунтовочный, в том числе

битум БН 70/30

100 м2

10

21 кг

210 кг

бензин

100 м2

10

4 кг

40 кг

Шпатлевка

06-1

100 м2

10

82,3 кг

823 кг

Олифа

07-1

100 м2

10

10,7 кг

107 кг

Мастика битумная горячая

04-1

100 м2

10

133 кг

1330 кг

Гвозди строительные

100 м2

10

0,4 кг

4 кг

Плинтусы деревянные

05-1

100 м2

10

87,3 м

873 м

Пробки деревянные

100 м2

10

208 шт.

2080 шт.

Краска масляная

08-2

100 м2

10

21,6 кг

216 кг

Бетонные блоки для пригруза (изготовляется по месту)

-

шт.

-

-

60 шт.

7. ТЕХНИКА БЕЗОПАСНОСТИ

Работы по устройству полов из древесно-волокнистых плит выполняют с соблюдением СНиП III-4-80 «Техника безопасности в строительстве».

При приготовлении грунтовки, состоящей из растворителя и битума, следует расплавленный битум вливать в растворитель. Не допускается вливать растворитель в расплавленный битум.

Для подогрева битумных составов внутри помещений не допускается применять устройство с открытым огнем.

Не допускается использовать в работе, битумные мастики температурой выше 180 °С. При производстве работ с применением битумной мастики следует выполнять требования ГОСТ 12.3.016-79.

Грузоподъемные машины, грузозахватные устройства, средства контейнеризации и пакетирования, применяемые при выполнении погрузо-разгрузочных работ, должны удовлетворять требованиям государственных стандартов или технических условий на них.

Строповку грузов следует производить инвентарными стропами или специальными грузозахватными устройствами. Способы строповки должны исключать возможность падения или скольжения застропованного груза.

8. ТЕХНИКО-ЭКОНОМИЧЕСКИЕ ПОКАЗАТЕЛИ

Нормативные затраты труда рабочих, чел.-ч                                  - 731,47

Нормативные затрату машинного времени, маш.-ч                       - 2,27

Заработная плата рабочих, р.-к.                                                        - 519-01

Заработная плата машиниста, р.-к.                                                   - 1-59

Продолжительность выполнения работ, смена                              - 23,5

Выработка на одного рабочего в смену, м2                                     - 10,9

9. ФАСЕТНЫЙ КЛАССИФИКАТОР ФАКТОРОВ

ФАСЕТ 01

Высота от уровня земли

Наименование фактора

Обоснование

Код

Значение фактора

Подъем краном, м,

до: 8

ЕНиР Е1-16, т. 2, п. 12

1

Н.вр. и расц. умножать на 0,56

14

То же

2

Н.вр. и расц. умножать на 0,72

20

"

3

Н.вр. и расц. умножать на 0,86

26

"

4

По калькуляции

ФАСЕТ 02

Установка плинтусов

Наименование фактора

Обоснование

Код

Значение фактора

Площадь до 20 м2

ЕНиР Е19-46, п. 1

1

По калькуляции

То же, свыше 20 м2

То же

ПР-1

2

Н.вр. и расц. умножать на 0,9

ФАСЕТ 03

Окраска полов

Наименование фактора

Обоснование

Код

Значение фактора

Окраска кистью

ЕНиР Е8-1-15, т. 7, п. 24, 25

1

Н.вр. и расц. умножать на 1,64

То же, валиком

То же п. 22, 23

2

По калькуляции

То же, пистолетом-распылителем

" п. 21

3

Н.вр. и расц. умножать на 0,36

ФАСЕТ 04

Материм для приклеивания древесно-волокнистых плит на 100 м2 пола, кг

Наименование фактора

Обоснование

Код

Значение фактора

Мастика битумная, горячая

Общие производственные нормы расхода ...

сб. 16, табл. 019

1

133

Мастика кумароно-наиритовая

То же

2

52

Мастика дифенил-кетоновая

²

3

52

Мастика казеино-цементная

²

4

84

ФАСЕТ 05

Расход плинтусов на 100 м2 пола при площади помещения до 15 м2, м

Наименование фактора

Обоснование

Код

Значение фактора

Плинтусы деревянные

Общие производственные нормы расхода ...

сб. 16, табл. 020

1

87,3

Плинтусы поливинил-хлоридные

То же

2

83,8

ФАСЕТ 06

Расход шпатлевки при окраске 100 м2 полов, кг

Наименование фактора

Обоснование

Код

Значение фактора

При окрашивании кистью

Общие производственные нормы расхода ...

сб. 15, т. 428

1

82,3

То же, валиком

То же, т. 129

2

82,3

ФАСЕТ 07

Расход олифы при окраске 100 м2 полов, кг

Наименование фактора

Обоснование

Код

Значение фактора

При окрашивании кистью

Общие производственные нормы расхода ...

сб. 15, т. 128

1

10,7

То же, валиком

То же, т. 129

2

11,8

ФАСЕТ 08

Расход масляной краски на 100 м2 полов, кг

Наименование фактора

Обоснование

Код

Значение фактора

При окрашивании кистью

Общие производственные нормы расхода ...

сб. 15, т. 128

1

21,6

То же, валиком

То же, т. 129

2

23,8

ФАСЕТ 09

Стоимость 1 маш.-ч работы монтажных механизмов и приспособлений, руб.

Наименование фактора

Обоснование

Код

Значение фактора

Кран переносной 0,5 т

СНиП IV-3-82

Приложение Сб. сметных цен...

1

0,87

Подъемник 0,5 т

То же

2

1,15

Лебедка ручная 0,5 т

"

3

0,05

СОДЕРЖАНИЕ

1. Область применения. 1

2. Организация и технология выполнения работ. 1

3. Требования к качеству и приёмке работ. 5

4. Калькуляция затрат труда, машинного времени, заработной платы на 1000 м2 пола. 7

5. График производства работ на 1000 м2 пола. 7

6. Материально-технические ресурсы.. 9

7. Техника безопасности. 10

8. Технико-экономические показатели. 10

9. Фасетный классификатор факторов. 10