АССОЦИАЦИЯ «ЖЕЛЕЗОБЕТОН»
ЦЕНТРАЛЬНЫЙ
НАУЧНО-ИССЛЕДОВАТЕЛЬСКИЙ
И ПРОЕКТНО-ЭКСПЕРИМЕНТАЛЬНЫЙ ИНСТИТУТ
ПРОМЫШЛЕННЫХ ЗДАНИЙ И СООРУЖЕНИЙ
ОАО ЦНИИПромзданий
РЕКОМЕНДАЦИИ
ПО РАСЧЕТУ КАРКАСОВ
МНОГОЭТАЖНЫХ ЗДАНИЙ
С УЧЕТОМ
ПОДАТЛИВОСТИ УЗЛОВЫХ
СОПРЯЖЕНИЙ
СБОРНЫХ ЖЕЛЕЗОБЕТОННЫХ КОНСТРУКЦИЙ
МОСКВА 2002
Рекомендовано к изданию решением Научно-технического совета ОАО «ЦНИИПромзданий».
В Рекомендациях изложена методика формирования расчетных моделей несущих систем многоэтажных каркасных зданий из сборных железобетонных конструкций с учетом податливости и нелинейности работы узловых сопряжений для расчета с использованием стандартных программных комплексов, реализующих метод конечных элементов.
В работе приведена методика определения линейной и угловой податливости стыков сборных железобетонных конструкций многоэтажных каркасов.
Рекомендации предназначены для инженерно-технических работников, занимающихся проектированием и расчетом гражданских и промышленных зданий.
Автор: кандидат техн. наук, с.н.с. Трекин Н.Н. (ОАО «ЦНИИПромзданий)
Научный редактор: д-р техн. наук, проф. Кодыш Э.Н. (ОАО «ЦНИИПромзданий)
СОДЕРЖАНИЕ
Каркасные здания промышленного и гражданского назначения являются массовыми конструктивными системами. Они получили распространение благодаря широким возможностям вариаций объемно-планировочных решений внутреннего пространства, а также за счет полной индустриализации изготовления и монтажа конструкций, дифференциации несущих и ограждающих элементов по назначению, что позволяет с использованием системы унификации и типизации эффективно распределять материалы и сократить их общий расход.
Особенностью каркасов многоэтажных зданий из сборного железобетона является большое количество узловых сопряжений, которые в соответствии с принятой системой разрезки здания на элементы, располагаются, как правило, в наиболее напряженных зонах [8, 22, 24, 28, 34, 35, 39]. При этом для стыков сборных элементов характерна повышенная деформативность вследствие обмятия бетона по контактным поверхностям и трещинообразования, податливости сварных соединений арматуры и закладных деталей [2, 3, 4, 8, 9, 11, 12, 25, 37]. Кроме того, в узловых сопряжениях в большей степени проявляется физическая и конструктивная нелинейность и их податливость меняется в зависимости от напряженно-деформированного состояния [3, 9, 14, 21, 26]. Экспериментальные исследования показывают, что переменная податливость сопряжений приводит к существенному (до 40 %) перераспределению усилий [20, 41].
В существующих методах расчета пока не в полной мере учитывается влияние податливости узловых сопряжений на совместную работу несущих подсистем каркасных зданий - продольных и поперечных рам, дисков перекрытия и диафрагм жесткости. В основном это объясняется недостаточной изученностью пространственного взаимодействия сборных элементов как в упругой, так и в пластической стадиях работы [1, 7, 23, 32, 33]. Поэтому, как правило, расчет каркасных зданий производится по расчетным схемам с шарнирными или жесткими узлами сопряжений элементов, что не всегда адекватно отражает работу конструкции. При современных повышенных требованиях к экономической эффективности конструктивных решений исследования по дальнейшему уточнению расчетных схем приобретают особую актуальность.
Благодаря интенсивному развитию вычислительной техники и программного обеспечения, реализующих численные методы расчета (в основном, метод конечных элементов), стало возможным моделировать сложные процессы взаимодействия и проводить вычисления по пространственным расчетным схемам с требуемой точностью. Однако, для адекватного описания напряженно-деформированного состояния необходимо опираться на общие физические закономерности работы сопряжений различной конструкции, в которых до настоящего времени еще ощущается недостаток.
В рекомендациях предложена методика оценки податливости сопряжений сборных железобетонных конструкций, основанная на обширных экспериментальных исследованиях ряда авторов. Даны рекомендации по составлению расчетных схем каркасов многоэтажных зданий, в которых моделируется податливость сопряжений стержневых и плоскостных элементов здания. При этом учитывается физическая и конструктивная нелинейность сопряжений.
Вследствие сложности напряженно-деформированного состояния и большого количества конструктивных факторов, влияющих на пространственную работу сопряжений, рекомендации применимы к конкретным конструктивным решениям массового применения.
1.1. Настоящие рекомендации применимы при расчете связевых, рамных и комбинированных каркасов многоэтажных зданий с конструкциями вертикальных элементов жесткости в виде стальных решетчатых связей, сплошных и с проемами железобетонных диафрагм с переменными по высоте характеристиками.
1.2. Рекомендации могут быть использованы при расчете каркасов, воспринимающих особые нагрузки и воздействия (действие сейсмических и кратковременных динамических нагрузок, проектирование зданий на просадочных основаниях).
1.3. В рекомендациях излагается метод определения податливости сопряжений сборных железобетонных конструкций для формирования плоских и пространственных расчетных моделей каркасов многоэтажных зданий при расчете методом конечных элементов, который также может быть использован при расчете конструкций другими численными и аналитическими методами.
1.4. Под податливостью стыка понимается повышенная деформативность соединения на малом, по отношению к высоте сечения, участке длины стыка по сравнению с деформативностью стыкуемых элементов. По физической сути податливость соединения равна смещению, вызванное единичной силой - при сжатии-растяжении, сдвиге или повороте.
1.5. Деформативность (в дальнейшем податливость) стыков несущих элементов каркаса - колонн, ригелей, плит перекрытий, элементов диафрагм жесткости и фундаментов может быть вызвана следующими факторами: снижение расчетных стыкуемых площадей конструкций для обеспечения соединений арматуры; обмятие бетона конструкций и шва по контактным поверхностям и развитие, вследствие этого, неупругих деформаций; пониженная трещиностойкость и сопротивляемость развитию трещин бетона шва; податливость сварных соединений арматуры и закладных деталей и т.д.
1.6. При изменении напряженно-деформированного состояния узлового сопряжения вследствие проявления физической и конструктивной нелинейности податливость сопряжения изменяется.
1.7. В расчетах конструкций при определении податливости рекомендуется использовать так называемый коэффициент жесткости стыка, который определяется как тангенс угла наклона секущей к кривой на диаграмме усилие - перемещение для стыка.
1.8. Следует различать линейную, угловую и сдвиговую податливость, которые зависят от соответствующих деформаций. Линейная податливость (1/Cх, 1/Cy, 1/Cz) обусловлена деформациями растяжения-сжатия и характеризуется зависимостью «N - δ». Сдвиговая податливость (1/Сγ) обусловлена деформациями сдвига при действии поперечной силы и характеризуется зависимостью «Q - γ». Угловая податливость (1/Сφ) обусловлена деформациями поворота при действии изгибающего или крутящего момента и характеризуется зависимостью «М - φ». Здесь приняты обозначения: N, Q и М - продольная, поперечная сила и изгибающий момент в сечении стыка соответственно; δ, γ и φ - продольная деформация, угол сдвига и угол поворота в сечении стыка; Сх, Сγ и Сφ коэффициенты линейной, сдвиговой и угловой жесткости (усилия, вызывающие единичные деформации).
2.1.1. Каркас здания должен работать под нагрузкой как единая пространственная система. В связи с этим к сопряжениям сборных железобетонных конструкций предъявляется комплекс требований:
- прочность стыка должна быть не ниже стыкуемых элементов для исключения преждевременного разрушения конструкции как в стадии монтажа, так и при воздействии эксплуатационных нагрузок;
- жесткость стыка должна обеспечивать передачу расчетных усилий сопряженных элементов, неизменяемость их взаимного положения, нормируемые перемещения элементов под нагрузкой и пространственную жесткость здания в целом.
Кроме того стыки должны быть по возможности универсальными, технологичными при монтаже, обеспечивать правильность соединения элементов и располагаться в зонах с минимальными усилиями.
2.1.2. Связь стыкуемых железобетонных элементов обеспечивается следующими образом: для восприятия растягивающих усилий производится сварка арматурных стержней или закладных деталей; для восприятия сжимающих усилий, в дополнение к сварным соединениям, швы между элементами омоноличиваются; для передачи сдвигающих усилий выполняются сварные соединения и устраиваются бетонные шпонки.
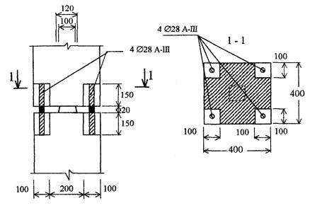
2.2.1. Вертикальные стыки колонн по расчетно-конструктивному признаку относят к стыкам, работающим на внецентренное сжатие, которые рекомендуется размещать в зонах с минимальными изгибающими моментами. Требования к вертикальным стыкам заключаются в обеспечении соосной передачи продольных усилий и распределения концентрированных сжимающих напряжений по сечению. Стыки колонн могут быть шарнирными (контактными), т.е. воспринимающими только продольные и поперечные силы или жесткими, рассчитанными, в дополнение к сказанному, на восприятие изгибающих моментов. Пример конструкции стыков показан на рис. 1.
2.2.2. Податливость стыков колонн может быть вызвана рядом причин: концентрацией сжимающих напряжений из-за уменьшенной расчетной площади и неровностью контактной поверхности стыкуемых элементов; наличием растворных швов меньшей прочности; повышенной деформативностью сварных соединений продольной арматуры (рис. 1, в). При размещении стыков в зоне с минимальными изгибающими моментами рекомендуется учитывать только линейную податливость.
2.2.3. Податливость стыков колонн с ростом нагрузки повышается за счет развития неупругих деформаций в элементах соединения. Интенсивное повышение деформативности стыка проявляется на этапах уровней нагрузки 0,6 - 0,8NR (NR - разрушающая нагрузка).
Длина зоны повышенной деформативности зависит от конструкции стыка и определяется, как правило, участком с уменьшенным поперечным сечением (рис. 1, в).
Рис. 1. Вертикальные стыки колонн:
а) жесткий, со сваркой продольной арматуры; б) шарнирный без соединений по продольной арматуре; в) стык в сборке и эпюра распределения продольных деформаций
2.3.1. Сопряжение перекрытия с колонной (рис. 2) должно обеспечивать передачу вертикальных и горизонтальных нагрузок от перекрытия на колоны и, при необходимости, пространственную жесткость каркаса. В сопряжении балочного перекрытия с колонной основным стыком, определяющим расчетную схему каркаса является стык ригеля с колонной. При наличии вертикальных элементов жесткости стык межколонных (связевых) плит перекрытия с колонной оказывает меньшее влияние на статическую схему работы каркаса.
Рис. 2. Сопряжение колонны со сборным перекрытием
2.3.2. Стыки ригеля с колонной принято различать шарнирные - для связевых каркасов и жесткие - для рамных каркасов. В большинстве конструктивных решений ригель опирается на устроенные в колоннах короткие консоли (рис. 3, 4).
2.3.3. В связевых каркасах стык ригеля с колонной рассчитывается на восприятие вертикальных нагрузок и горизонтальных нагрузок, возникающих в период монтажа.
Рис. 3. Конструкции сопряжений ригеля с колонной и связевом каркасе:
а) со скрытой консолью и верхней монтажной соединительной пластиной; б) со скрытой прямоугольной консолью; в) схема распределения усилий при действии горизонтальной нагрузки
Рис. 4. Рамный узел сопряжение ригеля с колонной:
а) с опиранием на открытую консоль; б) с опиранием на скрытую консоль; в) график зависимости угла податливости сопряжения от изгибающего момента
В соединении ригеля с колонной производится сварка опорных закладных деталей понизу и приварка поверху стальных пластин или арматурных стержней (рис. 3, а). В верхнем соединении, как правило, используются мягкие стали для обеспечения восприятия фиксированного изгибающего момента величиной до 10 - 20 % от пролетного, в основном в период монтажа.
Величина момента на опоре зависит от направления действия нагрузки. Особенно это проявляется при незамоноличенных швах. В растянутых элементах (пластинках, арматурных стержнях) при расчетных максимальных нагрузках допускаются напряжения соответствующие пределу текучести, что приводит к возникновению остаточных деформаций и, в итоге, к повышению деформативности узла при знакопеременных временных нагрузках по сравнению с начальным значением.
2.3.4. В узлах сопряжения ригеля с колонной связевого каркаса без монтажных соединений по верхней зоне (рис. 3, б) после сварки опорных закладных деталей и омоноличивания швов наряду с сопротивлением сжатию-растяжению возникает сопротивление повороту ригеля относительно колонны, т.е. имеет место частичное защемление колонны в диске перекрытия.
Дли сопряжений рис. 3 защемление носит односторонний характер. При действии изгибающего момента в сторону пролета узел «раскрывается» (рис. 3, в) и опорные моменты малы поскольку на изгиб работают только опорные закладные детали, при действии изгибающего момента в другом направлении происходит обжатие шва омоноличивания и возникает пара сил (рис. 3, в). Поскольку опорные закладные детали обладают податливостью, а бетон омоноличивания, как правило, имеет более низкую прочность чем бетон сопрягаемых конструкций, то узел обладает меньшей изгибной жесткостью чем сечения ригеля.
2.3.5. В рамных сопряжениях (рис. 4) верхняя арматура устанавливается по расчету для восприятия суммарного изгибающего момента от расчетных вертикальных и горизонтальных нагрузок. Соединение между ригелем и колонной осуществляется сваркой опорных закладных деталей, а в верхней зоне выполняется приварка стальных пластин накладок или арматурных стержней к закладным деталям или к выпускам арматуры колонн и ригелей.
Для большинства конструкций стыков величина сопротивления зависит от направления действия изгибающего момента, продольных и поперечных сил.
2.3.6. Податливость рамного сопряжения вызывается повышенной деформативностью опорных закладных деталей и сварных соединений арматуры. Кроме того, податливость сопряжения может быть вызвана развитием неупругих и накоплением остаточных деформаций в элементах соединений, что особенно проявляется при нагрузках, превышающих (0,3 ÷ 0,4)Mr (где Mr - предельный момент по несущей способности рамного узла сопряжения), как это показано на рис. 4, в.
2.3.7. В направлении вдоль пролетов плит сопряжение перекрытия с колонной в большинстве случаев принимается шарнирным. Частичное защемление колонн в перекрытии проявляется по линии расположения связевых плит-распорок, имеющих продольные сварные соединения (рис. 5, а) и при устройстве перекрытия из ребристых плит, привариваемых по опорным площадкам к закладным деталям ригеля (рис. 5, б). Механизм возникновения сопротивления при повороте опорного сечения плит относительно ригеля и колонны аналогичен описанному в п.п. 2.3.3 - 2.3.4 (рис. 3, в).
2.4.1. Работа стыка колонны с фундаментом зависит от конструкции фундамента - сплошной или столбчатый, в сборном или монолитном исполнении и от деформативных свойств грунта основания.
Рис. 5. Узел сопряжения связевых многопустотных (а) и ребристых плит (б) с ригелем
В монолитных плитных фундаментах сопряжение сплошной колонны с фундаментом рекомендуется принимать в виде жесткого защемления в уровне верха фундамента [35].
2.4.2. Работу сопряжения колонны со столбчатым фундаментом необходимо рассматривать с учетом взаимодействия фундамента с грунтом. Податливость в основном вызывается деформациями грунта под подошвой фундамента.
2.5.1. Диски перекрытий из сборных железобетонных плит - многопустотных, ребристых, сплошных и т.п., уложенных по сборным ригелям без армированных набетонок, объединенных бетонными швами (рис. 6) или дискретными сварными соединениями (рис. 7) в своей плоскости податливы за счет повышенной деформативности соединений на опорах и межплитных швов.
2.5.2. В сборных перекрытиях имеются следующие типы стыков:
- вертикальные стыки торцов плит через бетонные швы с плитами или с опорными конструкциями (см. рис 5, а);
- продольные стыки между плитами и крайних плит со стенами (см. рис. 5, б и 5, в);
- горизонтальные стыки плит по опорным площадкам с поддерживающими конструкциями (стенами, балками или ригелями рис. 5, а и 5, в).
2.5.3. Совместная работа многопустотных плит обеспечивается замоноличенными швами и сварными соединениями (для связевых и пристенных плит). Для увеличения сцепления бетона швов с конструкциями на их боковой поверхности устраиваются углубления для образования шпонок (рис. 8).
Рис. 6. Фрагмент плана сборного перекрытия из многопустотных плит
Рис. 7. Фрагмент плана сборного перекрытия из плит 2Т
Рис. 8. Типы боковой поверхности пустотных плит образующих после омоноличивания следующие формы межплитных шпонок:
а - замкнутые круглые; б - трапецевидные, открытые к верху; в - сплошные продольные
2.5.4. В продольных швах различают шпонки трех типов:
- шпонки замкнутые круглые (рис. 8, а) работают на срез и обеспечивают совместную работу плит при вертикальных и горизонтальных нагрузках до стадии разрушения. Многократное приложение неравномерной вертикальной нагрузки до нормативного значения практически не снижает прочность межплитных продольных швов;
- шпонки открытые к верху в вертикальном направлении (прямые или трапециевидные рис. 8, б), включаются в работу за счет сцепления раствора омоноличивания с бетоном плит и его обжатия. Такой вид шпонок обеспечивает совместную работу плит при горизонтальных нагрузках на диск перекрытия. Совместная работа плит до стадии разрушения при вертикальных нагрузках обеспечивается после устройства цементно-песчаной набетонки толщиной не менее 4 см;
- сплошные продольные шпонки (рис. 8, в) обеспечивают совместную работу плит при вертикальных нагрузках. При возникновении горизонтальных сдвигающих усилий прочность соединения обеспечивается только за счет сцепления бетона шва с плитами.
2.5.5. Взаимодействие рядовых многопустотных плит с поддерживающими конструкциями (ригели, балки и несущие стены) при горизонтальных нагрузках обеспечивается силами трения и сцеплением подстилающего растворного слоя по опорным площадкам (рис. 9).
Торцевые швы между плитами и поддерживающими конструкциями работают только на сжатие и сдвиг перпендикулярно пролету (рис. 9).
Рис. 9. Схема взаимодействия многопустотной плиты с ригелем:
τSH - касательные напряжения в торцевом шве при сдвиге плиты вдоль ригеля; τsc - касательные напряжения по площадке опирания плиты на ригель при сдвиге и повороте плиты относительно ригеля; σВ - сжимающие напряжения в торцевом шве
2.5.6. Взаимодействие ребристых плит с ригелями и балками при горизонтальных нагрузках обеспечивается сварными соединениями опорных закладных деталей (рис. 10). Совместная работа плит при вертикальных нагрузках обеспечивается продольными бетонными швами, выполняемыми, как правило, со шпонками.
Рис. 10. Схема взаимодействия ребристой плиты с ригелем:
τSH - касательные напряжения в торцевом шве при сдвиге плиты вдоль ригеля; Qzi и NZi - усилия в сварном соединении плиты с ригелем; σв - сжимающие напряжения в торцевом шве
2.6.1. Плоские сквозные связевые панели состоят из железобетонной многоэтажной рамы, образованной колоннами и ригелями и металлических связей треугольного (полураскосные) или пятиугольного (портальные) очертания (рис. 11).
Размещаются связевые конструкции из условия обеспечения пространственной жесткости здания, с учетом ограничения усилий от температурных деформаций.
2.7.2. Фундаменты под связевые панели выполняются в виде отдельно стоящих столбчатых фундаментов, сплошной железобетонной плиты или железобетонной рамы. Конструкция фундамента зависит от размеров сетки колонн, величин действующих нагрузок и характеристик грунта.
2.7.3. Соединения элементов связей между собой осуществляется с помощью приварки фасонок, что создает защемление по концам связей. Соединения связей с колоннами осуществляется в виде приварки связей через фасонки к закладным деталям на боковых гранях колонн (рис. 12, а) или через фасонки, приваренные в тавр к внутренним закладным деталям.
Соединения связей с фундаментом чаще всего выполняются через фасонки, приваренные в тавр к закладным деталям фундамента (рис. 12, б).
Указанные соединения обладают линейной и угловой податливостью, вследствие повышенной деформативности закладных деталей при действии нормальных и поперечных сил, изгибающих, а также крутящих моментов в их плоскости.
Рис. 11. Сквозные связевые панели с треугольной (а) и портальной (б) металлической решеткой
Рис. 12. Конструкция сопряжений металлических связей с колоннами (а) и фундаментом (б)
3.1.1. Податливость вертикального стыка колонн определяется как сумма податливостей на участках стыка с одинаковыми деформативными характеристиками по формуле
где п и li - количество и длина участков стыка с одинаковыми деформативными свойствами по длине; υ - коэффициент упруго пластических деформаций бетона; EBi - начальный модуль упругости бетона; АBi и ASi - площадь бетона и продольной арматуры; α - коэффициент приведения, равный отношению модулей упругости арматуры и бетона.
Характер зависимости «N - δ» для типового вертикального стыка показан на рис. 13. По данным [4, 35] усредненный коэффициент линейной жесткости стыков для колонн сечением 40´40 см составляет СZ = 7 ´ 106 кН/м.
Рис. 13. Диаграмма сжатия вертикального стыка колонн
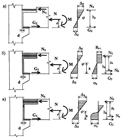
3.2.1. В общем случае в сечении стыка ригеля с колонной действуют продольная и поперечная (относительно ригеля) силы, изгибающий и крутящий момент (рис. 14). В рассматриваемых конструкциях стыков ригеля с колонной вертикальная опорная реакция передается на консоль, поэтому влияние поперечных сил на работу сопряжения можно не учитывать.
Рис. 14. Схема усилий, действующих в узле сопряжения ригеля с колонной
3.2.2. Работа сопряжения ригеля с колонной рассматривается для двух состояний: первое - швы не омоноличены, что соответствует стадии монтажа или конструкции так называемого сухого стыка (рис. 15, а); второе - швы омоноличены и бетон шва включается в работу (рис. 15, б, в).
3.2.3. В стыках, по аналогии с сечениями железобетонных элементов, могут возникать три стадии напряженно-деформированного состояния: первая - условно-упругая; вторая - упруго-пластическая и третья - предельная по несущей способности.
Рис. 15. Схема изменения напряженно-деформированного состояния сопряжения ригеля с колонной рамного каркаса:
а) стадия монтажа (сухой стык); б) омоноличенный узел до образования трещин в растянутой зоне; в) стадия после образования нормальной трещины в шве
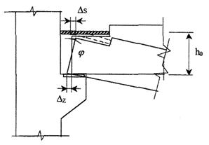
3.2.4. Критерием предельного состояния узлового сопряжения колонны с перекрытием рекомендуется принимать допустимый угол поворота опорного сечения ригеля или плиты перекрытия относительно оси колонны, который определяется:
- для первой группы предельных состояний из условий достижения физического или условного предела текучести в растянутой или сжатой арматуре, временного сопротивления сжатию бетона шва или стыкуемых конструкций, предельного сдвига или отрыва закладных деталей (рис. 16);
Рис. 16. Схема к определению предельного угла поворота ригеля относительно колонны:
Δs - предельные удлинения по растянутой арматуре; Δz - предельные деформации сдвига закладных деталей
- для второй группы предельных состояний из условий предельных прогибов и горизонтальных перемещений, так же предельного раскрытия трещин.
3.2.5. Коэффициент угловой жесткости узла сопряжения ригеля (плиты перекрытия) с колонной Сφ равен отношению изгибающего момента М в узле к соответствующему углу поворота φ опорного сечения ригеля относительно оси колонны в узле:
3.2.6. Угол поворота опорного сечения ригеля, показанного на рис. 16 определится
где ΔТ = ΣΔТi и ΔС = -ΣΔСi - перемещения в растянутой и сжатой зонах (принимаются со своими знаками); Zred - расстояние между линиями измерения перемещений.
3.2.7. Для рассматриваемых типовых узлов сопряжения ригеля с колонной коэффициент угловой жесткости стыка рекомендуется определять по формуле
где
и
- приращения смещении от единичных усилий
соответственно в сжатой и растянутой зонах сечения стыка; KNi, KNj - коэффициенты,
учитывающие влияние осевого сжимающего усилия (при отсутствии продольной силы
принимаются равной единице); h0 - рабочая
высота сечения стыка (расстояние от линия опирания ригеля или плиты перекрытия
на консоль до центра тяжести растянутой или сжатой арматуры).
3.2.8. Коэффициент угловой жесткости сопряжения ригеля с колонной связевого каркаса (рис. 3, а) без учета сжатого бетона шва:
где
,
и
- смещения от единичных усилий
соответственно верхней стальной накладки, опорных закладных деталей консоли
колонны и ригеля, определяемые по рекомендациям [27] или на основе экспериментальных данных;
KN1, KN2 - коэффициенты, учитывающие влияние продольной силы
![]()
(верхние знаки принимаются при совпадении усилий от изгибающего момента и продольной силы в нижней зоне); е - эксцентриситет продольной силы относительно линии опирания ригеля на консоль.
При действии обратного момента необходимо учитывать возможность потери устойчивости верхней связи.
3.2.9. При действии момента противоположного знака в омоноличенных торцевых швах для узлового сопряжения ригеля с колонной связевого каркаса без верхней накладки, показанного на рис. 3, б коэффициент угловой жесткости равен:
где
; d, EB, ξ, v, ω - толщина шва, модуль упругости бетона
шва, относительная высота сжатой зоны бетона шва, коэффициент упруго-пластических
деформаций, коэффициент полноты эпюры сжатой зоны; KBN1, КBN2 - коэффициенты,
учитывающие влияние продольной силы

здесь m - коэффициент, зависящий от формы эпюры напряжений в бетоне сжатой зоны (3 - для треугольной, 2 - для прямоугольной).
Высота сжатой зоны определяется из условия равновесия сечения.
3.2.9. Коэффициент угловой жесткости рамного сопряжения в монтажной стадии, т.е. без учета работы бетона шва на сжатие (рис. 15, а):
где
;
здесь f(x) и ljt - функция распределений продольных деформаций в растянутой арматуре (принимается по форме эпюры моментов на опорном участке) и длина учитываемой зоны растяжения верхней арматуры.
На участке с открытой растянутой арматуры
стыка продольные деформации постоянны, поэтому
- перемещения от единичных
усилий растянутой арматуры в зоне анкеровки в бетоне, определяемые по
рекомендациям [40].
3.2.10. Выражение для коэффициента угловой жесткости при обратном моменте будет иметь вид:
В выражениях (7 и 8) при определении коэффициентов KN1 и Kn2 необходимо учитывать правило знаков, описанное для выражения (5).
3.2.11. Коэффициент угловой жесткости сопряжения рамного узла с учетом работы бетона шва на сжатие и образования нормальных трещин в бетоне шва растянутой зоны (рис. 15, в):
где ![]()
ВBSh - см. формулу (6).
3.3.1. Жесткость бетонного межплитного шва на изгиб принимается равной нулю, то есть шов рассматривается как цилиндрический шарнир. Однако сжимающая шов сила прикладывается не по оси боковой грани плит (рис. 17) и возникает внецентренное сжатие. Поэтому цилиндрический шарнир следует располагать по оси действия сжимающего усилия или в уровне сжатой грани плиты.
Рис. 17. Продольный межплитный шов (а), схема работы при повороте плит вдоль продольной оси (б) и сдвиге плит (в)
3.3.2. Жесткость межплитного шва на сдвиг равна соответствующему усилию, вызывающему единичные перемещения:
Для участка шва, толщиной tjt, высотой hjt и длиной вдоль оси плиты ljt получим:
d = Qjt · v · tjt/(Gjt · ljt · hjt)
Csh = Gjt · ljt · hjt/(v · tjt), (11)
где v = 1,2 - коэффициент, учитывающий неравномерность касательных напряжений по площади поперечного сечения элемента.
Влияние сдвиговой жесткости шва на совместную работу плит следует учитывать при значениях Csh = 300 кН/м, что существенно меньше реальной жесткости. Для швов между типовыми многопустотными плитами значение сдвиговой жесткости на 1 м шва составляет: Csh = 3080 · 104 кН/м [38].
3.3.3. Растягивающие усилия в плоскости диска перекрытия из многопустотных плит воспринимаются в одном направлении связевыми межколонными плитами, в другом - ригелями.
Линейная податливость связевых плит определяется согласно схеме рис. 18 по формуле:
(12)
Рис. 18. Расчетная схема к определению жесткости связевой плиты при растяжении в плоскости диска перекрытия:
1 - плиты; 2 - ригели; 3 - колонны; 4 - арматурные связи
3.3.4. Жесткость на растяжение по зоне опирания связевой многопустотной или сплошной плиты на ригель (балку) определится по зависимости
(13)
где Ns = As · σs - усилие в связевой арматуре; Nsup = AsUP · σsUP · ftr - усилие для преодоления трения по площадкам опирания плит на поддерживающие конструкции:
здесь AsUP и σsUP - площадь опирания и опорное давление
плиты на ригель; ftr
- коэффициент трения
плиты об опорную конструкцию;
- деформации связевой арматуры; ΔZ - деформации закладной детали,
определяемые по рекомендациям [27].
Жесткость трения пустотной плиты рекомендуется определять при деформациях сдвига равных εsd = 100 ´ 105. По данным [4, 14] значение податливости трения многопустотной плиты о ригель изменяется в пределах 1/Ctr = (0,3 ÷ 6) ´ 10-6 м2/кН.
3.3.5. В перекрытиях из ребристых плит при воздействии горизонтальной нагрузки на перекрытие опорное соединение воспринимает сдвигающее усилие, изгиб и кручение в своей плоскости (рис. 19). Суммарные линейные перемещения в сопряжении в общем случае складываются из деформации бетона опорной конструкции (ΔВ), закладных деталей ригеля (ΔXR) и ребра (ΔХР) плиты соответственно и деформаций (ΔSV) соединения по сварному шву
ΔXZi = ΔВ + ΔXR + ΔХР + ΔSV. (14)
3.3.6. Опорное сопряжение ребристой плиты с ригелем рекомендуется представить в виде стержня, сечение и длина которого определяется из условия равенства линейных и угловых деформаций.
Жесткость элемента связи при растяжении - сжатии в этом случае запишется
где Nx - горизонтальное усилие на соединение вдоль оси X.
Перемещения закладных деталей определяются по рекомендациям [27, 40]. Согласно экспериментальным данным жесткость типовых закладных деталей при действии сдвигающих сил, изменяется в пределах - (1 ÷ 12) ´ 104 кН/м.
Рис. 19. Фрагмент соединения ребристой плиты с ригелем (а) и расчетная схема соединения (б)
3.3.7. При омоноличенных швах жесткость сопряжения ребра плиты с полкой ригеля (см. рис. 10) при сжимающих бетонный шов напряжениях составит:
где Ев, ABred и ав - модуль упругости бетона, площадь и толщина шва замоноличивания соответственно.
При действии горизонтальной силы, растягивающей бетонный шов, жесткость соединения определяется по зависимости (15).
3.3.8. Жесткость соединения при изгибе опорной связи в своей плоскости определится из соотношения действующего изгибающего момента (МZ) и суммарных угловых деформаций в зоне опирания (рис. 19) по формуле
(17)
где Mz - крутящий момент, действующий в плоскости перекрытия, в месте опирания плиты на ригель в горизонтальной плоскости при повороте плиты относительно ригеля; φR и φP - углы поворота закладных деталей ригеля и ребра плиты; φSv - угол поворота вследствие деформаций сварного шва.
Например для закладных деталей, показанных на рис. 20 величина коэффициента угловой жесткости на начальной стадии изменяется в пределах Сφ = (2,5 - 6) ´ 104 кНм. При появлении неупругих деформаций коэффициент угловой жесткости снизился более чем в два раза и диапазон изменения составил Сφ = (1,1 - 2) ´ 104 кНм.
Рис. 20. Схема испытания закладной детали (а) и опытные зависимости смещения закладных деталей от сдвигающей силы (б) данным испытаний [11]
3.3.9. Высота и ширина сечения связи X и Y при фиксированной длине L определяется из условия равенства линейных и угловых деформаций из системы уравнений
(18)
3.3.10. Размеры сечения стержневого элемента, воспринимающих растяжение или сжатие, для стыков без омоноличивания швов между торцом ребра и гребнем ригеля, определятся по формулам
(19)
3.3.11. Для стержней, воспринимающих сжимающие усилия и поворот при омоноличенных торцевых швах параметры сечения определяются из системы уравнений (20) с учетом изменения коэффициента угловой жесткости за счет возникающего сопротивления повороту торцевого шва. Принимая, что центр поворота на опоре смещается незначительно коэффициент угловой жесткости при омоноличенных швах определится по формуле
где br - ширина ребра плиты.
Размеры сечения связи с учетом выражений (19) и (20) определятся по формулам
3.3.12. В соединениях ребристых плит между собой с помощью приварки накладок к закладным деталям (рис. 21, а) возникают продольное (по отношению к пролету плиты) усилие и изгибающий момент. Смещение плит в своей плоскости относительно друг друга будет складываться из деформаций сдвига закладной детали и ее поворота
где Δzp - смещения закладной детали вдоль кромок плиты; φzsv - угол поворота закладной детали; bz - расстояние между закладными деталям плит.
Подставляя значения составляющих перемещений получим выражение для взаимного смещения плит в виде
где Q - сдвигающее усилие между плитами, приходящееся на одну закладную деталь; CZp, Cφz - коэффициенты линейной и угловой жесткости закладной детали.
Рис. 21. Фрагмент соединения плит по продольному шву с помощью приварки накладок к закладным деталям (а) и расчетная схема соединения (б)
3.3.13. Изгибная жесткость связевых элементов между плитами определится согласно схеме стержня с упруго податливыми защемлениями по формуле
где Е - модуль упругости стальной накладки.
3.4.1. Податливость сопряжений металлических связей с железобетонной колонной при определении осевой жесткости связи рекомендуется учитывать по зависимости
(25)
где Cz - коэффициент линейной жесткости крепления элемента решетки к железобетонной раме при отрывающем усилии; Е, F и l - соответственно модуль упругости, площадь сечения и длина металлической связи.
3.4.2. Жесткость сопряжения подкоса к фундаменту или к колонне через закладную деталь зависит от угла наклона отрывающего усилия и конструкции закладной детали (см. рис. 12, б). Для портальных связей коэффициент жесткости составил в среднем С = 1,42 ´ 106 кН/м, для треугольной связи - С = 1,9 ´ 106 кН/м.
3.4.3. Жесткость защемления при угловых деформациях для связей с боковыми накладками (см. рис. 12, а) существенно выше изгибной жесткости связей для сетки колонн 6 м и более. На основании этого в расчетной схеме связевой панели узлы сопряжения металлической решетки с железобетонными колоннами рекомендуется принимать жестко защемленными от поворота.
Коэффициент угловой жесткости, согласно опытным данным в условно-упругой стадии деформирования изменялся в пределах С = (0,05 ÷ 0,36) ´ 106 кНм/рад, в упруго пластической - С = (0,05 ÷ 0,08) ´ 106 кНм/рад.
4.1.1. Пространственную несущую систему каркаса рекомендуется разделять на плоские несущие подсистемы - продольные и поперечные рамы, диафрагмы жесткости и диски перекрытий (рис. 22, а).
4.1.2. По способу восприятия горизонтальных нагрузок каркасы классифицируются на рамные, связевые и комбинированные. Пространственная жесткость рамного каркаса (рис. 22, б) обеспечивается жесткими (рамными) узлами сопряжения колонн (стоек) и перекрытий. В связевом каркасе (рис. 22, в) сопряжения колонн и перекрытий принимается шарнирным, а пространственная жесткость обеспечивается вертикальными устоями - связевыми панелями, диафрагмами и ядрами жесткости. В комбинированных каркасах в одном направлении жесткость обеспечивается вертикальными устоями, в другом - жестким соединением колонн с ригелями, т.е. имеет место, как рамные, так и шарнирные сопряжения колонн с перекрытиями.
Рис. 22. Схема пространственного каркаса (а) и плоские поперечные расчетные схемы для рамного (б) и связевого (в) каркасов
4.2.1. Расчет упругих статически неопределимых конструкций производится либо методом сил, либо методом перемещений. Для конструкций с малой статической неопределимостью рекомендуется к использованию метод сил. Метод перемещений имеет преимущества при в решениях систем с большой статической неопределимостью, но с малым количеством узловых точек.
4.2.2. В методе сил в общем случае учет податливости узлов производится путем суммирования перемещений, вызванных деформациями стержней и податливостью соединений. При формировании основной системы отбрасываются лишние связи в податливых узлах, ограничивающие линейные или угловые деформации, в зависимости от искомого параметра.
Рис. 23. Расчетная схема стержня с жестко защемленными концами (а) и расчетная схема стержня с упруго-податливыми при повороте опорами (б)
В системе канонических уравнений перемещения в отброшенных связях не обнуляются, а принимаются равными произведению податливости защемления на опорную реакцию [4]. Для простейшей статически неопределимой конструкции, показанной на рис. 23, система канонических уравнений с учетом податливости опор при повороте будет иметь вид:
где δ11, δ12 и δ22 - перемещения от единичных усилий; X1 и X2 - реакции в отброшенных связях с учетом податливости сопряжений, равные:
![]()
![]()
здесь
![]()
![]()
4.2.3. Расчет конструкций с податливыми узлами методом перемещений производится таким же образом, как и с жестким или шарнирными узлами. Податливость узлов и опор учитывается при вычислении опорных реакций наложенных связей, которые можно определить, например, из системы уравнений (25). Таблицы с формулами по вычислению реакций в наложенных связях от единичных линейных или угловых перемещений упруго податливых опор представлены в работе [4].
4.2.4. Для учета податливости сопряжений в расчетной схеме МКЭ реальные швы между сборными конструкциями следует представлять в виде податливых к.э., геометрические и жесткостные параметры которых максимально отвечают характеристикам реальных швов при различных стадиях возведения и нагружения несущей системы здания (рис. 22).
В качестве таких элементов можно использовать типовые стержневые и плоские к.э., а также специальные элементы, имеющиеся в применяемой прикладной программе.
4.2.5. Геометрические размеры к.э. сопряжений следует, по возможности, назначать равными размерам реальных швов, а механические характеристики задавать таким образом, чтобы их угловые и линейные перемещения от соответствующих единичных нагрузок были равны податливостям реальных швов.
4.2.6. Для стыков колонн между собой длина элементов может быть принята равной конструктивной длине сопряжений lfe = ljt. Поскольку к.э. сопряжений обычно более податливы, чем примыкающие элементы, здесь и далее, для наглядности, они изображены в виде пружин (рис. 24, а).
4.2.7. Для стыков ригелей с колоннами (рис. 24, б), а также железобетонных элементов сборных диафрагм, чтобы сохранить геометрию системы необходимо вводить жесткие элементы (вставки) длиной, равной
lс = bс/2.
Длина зоны стыка, имеющая повышенную деформативность, может быть разной в зависимости от его конструктивного решения. Как показали расчеты, длина конечного элемента, моделирующего податливый стык, не должна быть более 1/6Н, где Н - высота сечения ригеля.
Рис. 24. Расчетная схема сопряжений сборных железобетонных элементов для расчета по МКЭ:
а) стыки колонны; б) сопряжение ригеля с колонной
4.2.8. Характеристики податливости к.э. в узловых сопряжениях рекомендуется принимать из условия
где Сφfe и Сφjt - коэффициенты жесткости для заменяющего конечного элемента и шва (сопряжения ригеля с колонной).
4.2.8. Учитывая, что сдвиговые деформации в стержневых элементах вообще, а особенно на коротких участках шва, практически не влияют на перемещения конструкции при назначении деформационных характеристик к.э. швов достаточно задание трех независимых величин. Это характеристики податливости шва при действии моментов в двух плоскостях и при действии нормальной силы.
4.2.9. Если в качестве к.э. швов используются специальные стержневые элементы, то их деформационные характеристики задаются, чаще всего, непосредственно, как величины, характеризующие перемещения от единичного усилия (податливость) или усилия от единичного перемещения (жесткость). При применении стандартных стержневых к.э., их следует принимать прямоугольного сечения. В этом случае при задании исходных данных используются три независимых параметра: высота (h) и ширина (b) сечения и модуль упругости (E), которых достаточно для описания требуемых характеристик швов. Указанные параметры можно определить, используя известные зависимости выражения осевой и изгибной жесткости для прямоугольного сечения через линейную и угловую податливость соответственно в виде
где 1/СΔ, 1/Сφy, 1/Сφx - податливости стыков при действии на них, соответственно, нормальной силы, изгибающего момента в плоскости оси «х» и «у»; ljt, b и h - толщина шва и размеры сечения конечного элемента вдоль осей «х» и «у».
Тогда искомые характеристики сечения определятся по формулам

(28)

Численные значения этих величин для каждого типа сопряжения следует принимать на основании экспериментальных данных или по выражениям гл. 2, рассматривая каждый узел как совокупность отдельных элементов. При этом рекомендуется принимать некоторые упрощения, основанные на анализе возможного напряженно-деформированного состояния каждой группы однотипных узлов и его влияния на работу несущей системы.
4.2.10. Для сопряжений ригелей с колоннами основное влияние на работу несущей системы каркасного здания оказывает податливость узлов при действии изгибающих моментов в плоскости рамы. Деформативность же таких узлов при действии на них моментов из плоскости влияет на работу плоских рам в меньшей степени. Соответственно выражения (28) могут быть упрощены. Тогда при наличии экспериментальных данных по величинам соответствующих податливостей жесткость соединений может быть определена как для сплошного железобетонного сечения с приведенным значением модуля упругости. Это позволит при описании к.э. сопряжений с помощью стандартных элементов принимать их сечения такими же, как в ригелях, а приведенные значения модулей упругости назначать, исходя из значений податливости реальных швов при их изгибе в соответствующей плоскости по формуле
где I - момент инерции принятого сечения к.э. шва.
4.2.11. В узловых сопряжениях сборных железобетонных элементов, в которых наибольшее влияние на напряженно-деформированное состояние оказывает деформативность при сдвиге и растяжении-сжатии в плоскости, а сопротивление каждого сопряжения моменту в этой плоскости и из плоскости практически близко к нулю, сопряжение рекомендуется моделировать стержнем, жестко защемленным одним концом с шарниром на другом. В стандартных программных комплексах предусмотрены специальные к.э., позволяющие независимо задавать жесткостные характеристики при растяжении-сжатии и сдвиге.
4.3.1. Плоская расчетная схема многоэтажных связевых каркасов представляет комбинированную конструкцию, состоящую из рамной части и связевого элемента - диафрагмы жесткости (рис. 22, в). В расчетной схеме узлы сопряжения ригелей и плит с колоннами при расчете на вертикальную нагрузку во многих конструктивных решениях рекомендуется принимать шарнирными. При действии горизонтальной нагрузки, в результате конструктивных факторов, описанных в разделе 2, возникает частичное защемление, которое ограничивает поворот колонн относительно элементов сборного перекрытия в продольном и поперечном направлениях. Появление сопротивления взаимному повороту элементов в узлах сопряжения повышает жесткость продольных и поперечных рам, тем самым разгружая связи и диафрагмы жесткости.
Учет частичного защемления можно производить введением дополнительных изгибающих моментов в шарнирные узлы сопряжения ригеля с колонной, как это показано на рис. 25, а, либо введением в узел элемента с меньшей жесткостью по сравнению с жесткостью ригеля (рис. 25, б).
4.3.2. Характеристикой частичного защемления принята величина податливости сопряжения (обратная величина коэффициента угловой жесткости). Изменения податливости узла сопряжения ригеля с колонной связевого каркаса вследствие проявления нелинейности незначительна и в практических расчетах можно принимать коэффициент угловой жесткости сопряжения постоянным.
Рис. 25. Расчетные схемы рам связевого каркаса с учетом частичного защемления колонн в перекрытии:
а - введение дополнительных опорных моментов в шарнирные узлы сопряжения ригеля с колонной; б - введение в расчетную схему участка ригеля с пониженной жесткостью
4.3.3. Усилия в элементах рамных каркасов существенно изменяются за счет изменения соотношения жесткостей элементов рамы в процессе нагружения (эксплуатации). Жесткость рамного сопряжения в процессе увеличения изгибающего момента снижается за счет проявления неупругих деформаций в растянутой арматуре, в бетоне и закладных деталях сжатой зоны опорного сечения (см. п. 2). В связи с этим при расчете на вертикальные нагрузки следует учитывать переменную податливость сопряжения ригеля с колонной.
4.3.4. Основная часть усилий в рамном сопряжении возникает от вертикальных нагрузок и в растянутой арматуре допускаются напряжения, соответствующие пределу текучести. Вследствие этого происходит накопление остаточных деформаций и при действии знакопеременных горизонтальных нагрузках имеет место большая деформативность сопряжения ригеля с колонной по сравнению с жестким защемлением. На основании этого при расчете на горизонтальные нагрузки податливость узловых сопряжений перекрытия с колонной следует определять по максимальным усилиям от вертикальных нагрузок.
4.4.1. Физическую нелинейность деформирования стержневых элементов в упругих методах расчета рекомендуется производить на основе итераций с одновременным изменением геометрии сечения за счет трещинообразования и снижения модуля деформаций бетона и арматуры в соответствии с их диаграммами деформирования, включая нисходящие участки.
4.4.2. Конструктивную нелинейность деформирования узловых сопряжений рекомендуется учитывать установкой односторонних связей или путем введения различной жесткости соединений в зависимости от направления деформирования.
4.4.3. При расчете рам методом конечных элементов учет нелинейности деформирования целесообразно производить с помощью переменного модуля упругости при постоянной геометрии сечений на основе диаграммам «М - 1/ρ». При таком подходе модуль упругости приобретает комплексный смысл. Характер изменения приведенного модуля упругости должен основываться на реальных свойствах материалов и конструктивных особенностях элемента или сопряжения.
4.4.4. Для учета изменения коэффициента угловой жесткости сопряжения ригеля с колонной можно с достаточной точностью можно принять его линейную зависимость от угловой деформацией в виде:
(30)
где Сφ0 - начальный коэффициент жесткости стыка; СφR и φR - коэффициент жесткости стыка и угол поворота соединения в стадии предельной по несущей способности.
4.4.5. Точное определение изгибной жесткости стержневых железобетонных элементов основано на распределении продольных деформаций элемента по гипотезе плоских сечений и определении напряжений с использованием аппроксимирующих диаграмм арматуры и бетона. В железобетонном изгибаемом элементе неравномерность деформаций вдоль элемента при изгибе учитывается коэффициентами ψs и ψВ соответственно для арматуры и бетона.
4.5.1. Расчетные схемы сборных балочных дисков перекрытий для расчета на горизонтальные нагрузки, фрагменты которого показаны на рис. 6, 7, зависят в основном от таких факторов, как тип плиты перекрытия, конструкции продольных швов и условий опирания [15, 16, 17, 19, 29 - 31].
4.5.2. Концентрация деформаций происходит в зонах сопряжений сборных конструкций, на основании этого расчетную модель ячейки перекрытия рекомендуется представлять в виде (рис. 26) плоскостных (1) и стержневых (2) элементов, соединенных деформируемыми связями (3). Учет работы перекрытия из своей плоскости производится путем использования в расчетной модели пластин и связей как пространственных элементов.
4.5.3. Плоскостные элементы (1) моделируют работу плиты в горизонтальной плоскости и в расчетной модели представляются конечными элементами типа «плита» или «оболочка». Жесткость пластины в своей плоскости по сравнению с жесткостью связей во много раз выше. Основными параметрами для элементов (1) являются геометрия в плане и назначение приведенной толщины для учета работы пластины на изгиб и кручение.
Рис. 26. Расчетная модель ячейки перекрытия (а) и схемы ее формирования в своей плоскости при отсутствии (б) и наличии (в) заполнения продольных швов
4.5.4. Жесткостные характеристики связей (3) зависят от направления деформирования, которое можно установить на основе анализа кинематической схемы перемещений сборных элементов диска. В общем случае могут быть две граничные схемы: первая схема (рис. 26, б) возникает при отсутствии заполнения продольных швов, тогда горизонтальные нагрузки приводят к независимому параллельному повороту и смещению плит; вторая схема (рис. 26, в) - при полном омоноличивании швов и ячейка перекрытия или объединенные швом плиты перемещаются как единая пластина. Рекомендации к определению податливости связей даны в главе 2.
4.5.5. В составе диска перекрытия температурного блока здания условия работы ячейки перекрытия будут зависеть от размеров сетки колонн и расположения ее в плане здания: ячейка крайнего ряда колонн; ячейка среднего ряда; ячейка примыкающая непосредственно к диафрагме жесткости или лестничной шахте. Это в свою очередь определяет количество наложенных связей между ячейками.
4.5.6. При использовании в качестве расчетных моделей сборных дисков перекрытий сплошных однородных пластин, учет податливости сопряжений рекомендуется производить понижением модуля упругости материала перекрытий на величину коэффициента КЕ, который определяется по выражению
где fG и fP - прогибы перекрытия в горизонтальной плоскости по модели как сплошной пластины и по пластинчато-стержневой модели соответственно.
В настоящем разделе приведены примеры определения податливости стыков типовых железобетонных конструкций часто встречающихся в практике проектирования. Даны примеры расчета плоской поперечной рамы связевого каркаса и фрагмента диска перекрытия из многопустотных плит на действие единичных горизонтальных нагрузок. Характеристики податливости закладных деталей приняты по экспериментальным данным НИИЖБ и ОАО ЦНИИПромзданий.
Пример 1. Определить линейную податливость вертикального стыка колонн, показанного на рис. 27. Исходные данные: сечение колонн 40´40 см; бетон тяжелый класса В20 с начальным модулем деформаций Еb = 24000 МПа; продольная арматура из стали класса AIII 4 Æ 28 - As = 24,63 см2, Es = 200000 MПa; коэффициент v = 0,45.
Коэффициент приведения равен
α = ES/EB = 200000/24000 = 8,33.
Податливость стыка равна

Рис. 27. Пример вертикального стыка колонны
Пример 2. Определить коэффициент угловой жесткости узла сопряжения ригеля с колонной связевого каркаса с верхней накладкой, показанного на рис. 3, а. Исходные данные: площадь сечения накладки An = 6 см2; модуль упругости ЕN = 2,1 ´ 104 кН/см2, жесткость опорной закладной детали при сдвиге GZ = 2,5 ´ 103 кН/см, рабочая высота сечения стыка h0 = 27 см. Продольное усилие в ригеле от горизонтальной ветровой нагрузки N = 23 кН.
Предельный изгибающий момент, воспринимаемый сечением стыка
Ми = АNRnh0 = 6 ´ 21 ´ 27 = 3402 кНсм
Коэффициент угловой жесткости сопряжения

Коэффициент угловой жесткости неомоноличенного сопряжения при действии обратного момента определим с учетом продольного изгиба верхней пластины. При гибкости пластины
![]()
коэффициент угловой жесткости сопряжения

Влияние продольной силы на жесткость сопряжения определим в предположении, что сила действует в уровне опорной закладной детали (е = 0). Тогда
![]()
Коэффициент угловой жесткости сопряжения с учетом продольной силы

Пример 3. Определить коэффициент угловой жесткости омоноличенного узла сопряжения ригеля с колонной связевого каркаса без верхней накладки, показанного на рис. 3, б, при действии обратного момента. Исходные данные: рабочая высота, ширина и толщина сечения стыка h0 = 30 см, b = 30 см, d = 2 см; бетон шва класса В12,5 с модулем упругости Ев = 2100 кН/см2, жесткость опорной закладной детали при сдвиге Gz = 2,5 ´ 103 кН/см.
Принимая эпюру сжатого бетона шва треугольной формы высота сжатой зоны определиться на основе гипотезы плоских сечений по выражению

Коэффициент угловой жесткости сопряжения

Пример 4. Определить коэффициент угловой жесткости рамного сопряжения ригеля с колонной, показанного на рис. 4, б в начальной стадии и при действии расчетных нагрузок. Пролет ригеля принимается равным 6 м. Верхняя растянутая арматура выполнена из 3 Æ 36 АIII. Модуль упругости арматуры Es = 2,1 ´ 105 MПa, As = 30,54 см2. Соединение осуществлено сваркой опорной закладной детали, ванной сваркой выпусков верхней арматуры и приварки дополнительных соединительных пластин по бокам консоли из листовой стали сечением 100´10 мм. Жесткость опорной закладной детали при сдвиге принимаем равной Gz = 2 ´ 105 кН/см.
Рассмотрим монтажную стадию при отсутствии бетона омоноличивания. В соответствии с рис. 4, б в сжатой зоне при вертикальных нагрузках сопротивление оказывает сварное соединение по опорной закладной детали и накладки из листовой стали, равные
NR1 = Δ1GZ; NR2 = Δ2BR,
где

Выражение для изгибающего момента в опорном сечении относительно центра тяжести растянутой арматуры определиться по выражению
M = GZ · Δ1 · ZR1 + BR · Δ2 · ZR2.
Приведенное значение плеча внутренней пары сил определим из условия

Коэффициент жесткости стыка в начальной стадии при расчетной свободной длине растянутой арматуры ljt,s = 17 см равен

Коэффициент угловой жесткости стыка в стадии близкой к предельной определим по величине угла поворота опорного сечения соответствующего допустимому прогибу конструкции при равномерно распределенной нагрузке. При f = l/200 угол поворота опорного сечения составит φ = 0,016.
Несущая способность узлового сопряжения равна
М = AsRsZred = 30,54 ´ 36,5 ´ 41,69 = 46472,26 кНсм.
Коэффициент угловой жесткости, соответствующий предельному повороту опорного сечения составит
![]()
Деформативность рамного узла обеспечивается в основном растянутой арматурой, поскольку суммарные деформации закладных деталей в рассматриваемой конструкции узла, как показывают эксперименты, проведенные в ЦНИИПромзданий, невелики. При омоноличивании швов жесткость сжатой зоны увеличится, а их учет не существенно скажется на снижении коэффициента угловой жесткости.
Пример 5. Определить на сколько увеличатся пролетные моменты в балке с податливым защемлением (см. рис. 23) по сравнению с балкой с жестко защемленными опорами. Исходные данные: ригель пролетом l = 6 м, из бетона класса В30, Ев = 3250 кН/см2; момент инерции сечения ригеля J = 294652,7 см4. Принимаем коэффициенты угловой жесткости из примера 4 СМ = 4,7 ´ 107 кНсм и СМl = 2,9 ´ 107 кНсм .
Вычисляем параметры для системы уравнений (25)
![]()
![]()
Изгибающий момент на опоре
![]()
Соотношение моментов составит

Таким образом снижение опорных моментов в упругой стадии составляет всего 7 %. При понижении коэффициента угловой жесткости стыков до значения СM = 2,9 ´ 107 кНсм и изгибной жесткости за счет образования и раскрытия трещин снижение опорного момента может достигать 34 %.
Пример 6. Определить, как изменятся прогибы трехэтажной двух пролетной рамы (рис. 28, а) от горизонтальной нагрузки при учете возникновения одностороннего податливого защемления в узлах сопряжения ригеля с колонной. Величину коэффициента угловой жесткости принимаем равным См = 0,2 ´ 107 кН/см. Исходные данные: колонны сечением 40´40 из бетона класса В20 (Ев = 2700 кН/см2) армированные 4 Æ 22 AIII (As = 15,2 см2); ригели типовые высотой 45 см из бетона класса В25 (Ев = 3000 кН/см2), армированные преднапряженной арматурой 4 Æ 20 AIV (Es = 19000 кH/см2). Узловые сопряжения выполнены по рис. 3, а.
Рис. 28. Расчетная схема рамы (а), график прогибов от горизонтальной нагрузки (б) и поперечные сечения элементов рамы (в)
Расчет рамы производим методом конечных элементов с использованием программного комплекса Лира Windows. Учет продольной арматуры в сечениях элементов производим изменением модуля упругости бетона с помощью коэффициента
![]()
где Jredi и Jbi - моменты инерции сечений с учетом продольного армирования и только для бетонного сечения.
Определяем геометрические характеристики сечений элементов рамы (рис. 2.П, в):
колонны:
![]()
![]()
JredK = 213333,3 + 7,03 ´ 2 ´ 7,6 ´ 172 = 244214,7 см4;
KJK = 244214,7/213333,3 = 1,14;
ригеля:
AR = 30 ´ 30 + 53,5 ´ 22 = 1867 см2;
AredR = 1867 + 7,03 ´ (12,56 + 4,02) = 1983 см2;
SB = 30 ´ 23 ´ (22 + 11,5) + 53,5 ´ 22 ´ 11 = 36062 см3;
SredR = 36062 + 7,03 ´ (12,56 ´ 4,5 + 4,02 ´ 42) = 37645,9 см3;
у0R = 36062/1867 = 19,3 см; уredR = 37645,9/1983 = 18,9 см;
![]()
JredR = 227812,5 + 30 ´ 45 ´ (22,5 - 18,9)2 + 20852,3 + 23,5 ´ 22 ´ (18,9 - 11)2 + 7,03 ´ 4,02 ´ (43 - 18,9)2 + 7,03 ´ 12,56 ´ (18,9 - 4,5)2 = 333150 см4;
KJR = 333150/298104 = 1,117.
Модули упругости колонны и ригеля составят
EredK = 2700 ´ 1,14 = 3078 кН/см2;
EredR = 3000 ´ 1,117 = 3351 кН/см2.
Поскольку задача стоит в определении степени влияния частичного защемления на прогибы рамы расчет производим на единичные горизонтальные нагрузки.
Разбивку рамы на конечные элементы производим следующим образом: длина элементов ригеля принимается равной высоте т.е. lr = 45 см; длину элемента, моделирующего податливое защемление принимаем равным ljt = 0,1h = 4,5 см; длина конечных элементов колонны соответствует высоте этажа. Приведенный модуль упругости элемента сопряжения определиться по формуле (29)
![]()
Результаты распета представлены в виде графика на рис. 28, б, где линия (1) соответствует прогибам при всех шарнирных сопряжениях ригеля с колонной и линия (2) прогибам при учете частичного одностороннего защемления колонн в узлах сопряжения. Снижение прогибов от горизонтальной нагрузки составило 70 %. При этом изгибающие моменты в уровне защемления колонн в фундаментах снизились в два раза.
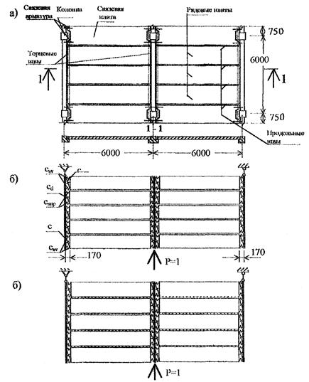
Пример 7. Оценить жесткость фрагмента перекрытия из типовых многопустотных плит в своей плоскости при действии горизонтальной нагрузки. Фрагмент перекрытия, показанный на рис. 29, а, состоит из двух ячеек по пять плит в каждой. Расстояние между колоннами составляет 6 м. Плиты опираются на железобетонные ригели. Ячейки объединены связевой арматурой Æ 18 АIII по крайним плитам распоркам. Плиты выполнены из бетона класса В20, характеристики ригелей взяты из примера 6. Расчет производим методом конечных элементов с использованием программного комплекса Лира Windows.
Рис. 29. Фрагмент сборного перекрытия из многопустотных плит (а), расчетная модель перекрытия при отсутствии бетона омоноличивания в швах (б) и при омоноличивании продольных швов (в)
Необходимо рассмотреть две схемы работы фрагмента перекрытия: без учета продольных межплитных швов т.е. на стадии монтажа и с учетом омоноличивания швов.
Принимаем, что ригели фрагмента перекрытия по краям опираются на не смещаемые в горизонтальной плоскости опоры. Горизонтальная единичная нагрузка действует по линии среднего ригеля (рис. 29, б).
Расчетная модель фрагмента перекрытия для монтажной стадии показана на рис. 29, б на которой пластины моделируют сборные плиты перекрытия, стержневые элементы - ригели, податливые связи взаимодействие между плитами и ригелями. Взаимодействием между плитами вдоль продольных швов на стадии монтажа из-за малости пренебрегаем. Для того, чтобы исключить сдвиг плит вдоль направления ригелей вводим дополнительный диагональный элемент соединяющий плиту и ригель в торце каждой плиты (рис. 29, б). Жесткость дополнительных стержней заведомо назначаем большой. Таким образом податливые связи работают практически только на растяжение-сжатие.
Длину податливых связей принимаем равной 17 см.
Погонная податливость по опорным площадкам за счет сил трения и сцепления принимаем по данным [2] равной 1/Сf = 5,56 ´ 102 см2/кН. Взаимодействие по опорным площадкам моделируем в виде 2х стержней (арматура класса АIII) площадь сечения которых с учетом ширины плиты 1,5 м равна
![]()
По плитам распоркам с учетом взаимодействия по опорным площадкам в расчетной модели принимаем диаметр стержней 2,2 см. Характеристики элементов модели представлены в таблице 1.
|
Наименование элемента |
Форма сечения |
Высота (диам.), см |
Ширина, см |
Модуль упр., ´103 кН/см2 |
|
|
1 |
2 |
3 |
4 |
5 |
6 |
|
1. |
Плита |
Прямник |
13 |
|
2,7 |
|
2. |
Ригель |
Тавр |
45 |
53,5 |
3,0 |
|
3. |
Диагональная связь на опорах |
Квадрат |
20 |
20 |
20 |
|
4. |
Связевая арматура |
Круг |
2,2 |
|
20 |
|
5. |
Связь по опорным площадкам |
Круг |
1,2 |
|
20 |
|
6. |
Торцевой шов при сжатии |
Прямник |
22 |
37,5 |
2,1 |
|
7. |
Продольный шов |
Прямник |
13 |
|
2,1 |
Результаты расчета представлены в таблице 2, где даны значения перемещений среднего ригеля и усилия в наиболее растянутой связевой арматуре.
|
№ п/п |
Характеристика расчетной модели |
Максимальные перемещения, см |
Максимальные усилия в связевой арматуре, кН |
|
1 |
2 |
3 |
4 |
|
1 |
Все швы не омоноличены |
9,4 |
4,8 |
|
2. |
Омоноличены только торцевые швы |
4,4 |
3,5 |
|
3. |
Омоноличены только продольные швы |
1,8 |
2,5 |
|
4. |
Все швы омоноличены |
1,1 |
2,01 |
Результаты расчета показывают, что в монтажной стадии диск перекрытия обладает существенной деформативностью. Наибольшее влияние на жесткость диска оказывает состояние продольных швов. При их качественном омоноличивании горизонтальные перемещения могут снижаться в 5 раз.
1. Александров А.В., Шапошников Н.Н. и др. Расчетная модель многоэтажного здания на основе метода конечных элементов и некоторые результаты ее применения. Доклад на международном симпозиуме «Многоэтажные здания». - М., 1972. - С. 51 - 58.
2. Байков В.Н., Фролов А.К. Анализ деформируемости узлового соединения ригелей с колоннами. - Бетон и железобетон, № 2, 1978. - С. 26 - 28.
3. Бондаренко В.М., Бондаренко С.В. Инженерные методы нелинейной теории железобетона. - М.: Стройиздат, 1982. - 287 с.
4. Васильков Б.С., Володин Н.М. Расчет сборных конструкций зданий с учетом податливости соединений. М.: Стройиздат, 1985. - 144 с.
5. Гранев В.В., Кодыш Э.Н., Трекин Н.Н. Пространственная работа каркасных систем с учетом реальной жесткости узловых сопряжений. Доклад на 1-ой Всероссийской конференции «Бетон на рубеже третьего тысячелетия», книга 2. - Москва, 2001. - С. 512 - 517.
6. Гранев В.В., Кодыш Э.Н., Трекин Н.Н. Формирование пространственной дискретной модели каркаса многоэтажного здания. - Пространственные конструкции в новом строительстве и при реконструкции зданий и сооружений. Тезисы докладов международного конгресса МКПК-98. - Москва, Россия, том III, 1998. - C. 57.
7. Дроздов П.Ф. Конструирование и расчет несущих систем многоэтажных зданий. Издание 2-е перераб. и доп. - М.: Стройиздат, 1977. - 223 с.
8. Дыховичный Ю.А., Максименко В.А. Сборный железобетонный унифицированный каркас. - М., Стройиздат, 1985. - 295 с.
9. Ивашенко Ю.А. Учет неупругой податливости узлов рамных систем. - В кн.: Исследования по бетону и железобетону. - Челябинск: ЧПИ, № 193, 1977.
10. Карабанов Б.В., Довгалюк В.И. Стыки каркасно-панельных конструкций общественных зданий // Обзорн. инф. / Вып. 1. - ЦНТИ, 1984. - 52 с.
11. Катин Н.И., Шитиков Б.А. Закладные детали в колоннах для крепления стальных связей. - Труды / НИИЖБ, М., 1974 г. вып. 1.
12. Кащеев Г.В., Колчина О.Н. Исследование работы железобетонных связевых каркасов с усовершенствованными типами узлов. - В кн.: Строительные конструкции. Строительная физика. Вып. 2. - М: ЦИНИС, 1979.
13. Клевцов В.А., Коревицкая М.Г., Иозайтис И.Б., Укялис Г.С. Жесткость диска покрытия одноэтажных промышленных зданий при воздействии горизонтальной нагрузки. - Строительное проектирование промышленных предприятий. Реферативная информация. Серия 3, вып. 5, 1971.
14. Кодыш Э.Н., Мамин А.Н., Трекин Н.Н. Экспериментальные исследования работы связевых плит. - Сб. научных трудов «Современные проблемы и перспективы развития железнодорожного транспорта». - РГОТУПС, Москва, 1999. - С. 56 - 59.
15. Кодыш Э.Н., Трекин Н.Н., Кустиков О.В. Взаимодействие пустотных плит перекрытия с различной формой боковых шпонок. - Современные проблемы совершенствования работы железнодорожного транспорта. Межвузовский сборник научных трудов. - Москва, РГОТУПС, 1998. - С. 77 - 78.
16. Кодыш Э.Н., Трекин Н.Н. Пластинчато-стержневая модель ячейки перекрытия для расчета на горизонтальные нагрузки. - Материалы XXX Всероссийской научно-технической конференции «Актуальные проблемы современного строительства». - Пенза, ПГАСА, 1999. - С. 56 - 57.
17. Кодыш Э.Н., Трекин Н.Н. Сборные перекрытия из многопустотных плит. - Материалы региональной научно-практической конференции Трансиб-99. - Новосибирск, 1999. - С. 484 - 487.
18. Кодыш Э.Н., Янкилевич Л.М. Расчет связевых каркасов многоэтажных зданий в стадии монтажа. - Железобетонные конструкции промышленных зданий. - М.: ЦНИИпромзданий, 1989. - С. 179 - 191.
19. Кодыш Э.Н., Янкилевич Л.М. Работа диска перекрытия в горизонтальной плоскости в стадии монтажа. - Совершенствование конструктивных решений многоэтажных зданий. Сб. научных трудов ЦНИИпромзданий. - Москва, ЦНИИпромзданий, 1992. - С. 4 - 17.
20. Лемыш Л.Л., Лагутичева Г.Д. Границы перераспределения усилий при расчете по прочности рамных железобетонных каркасов многоэтажных зданий. - В сб. Конструкции многоэтажных производственных зданий. - М.: ЦНИИпромзданий, 1988.
21. Лемыш Л.Л., Маргулис О.В. Расчет рам каркасов с учетом физической и геометрической нелинейности, податливости узлов сопряжения сборных элементов и основания. - Эффективные конструктивные решения железобетонных элементов многоэтажных промышленных зданий. Сб. научных трудов ЦНИИпромзданий. - Москва, 1991. - С. 151 - 168.
22. Матков Н.Г. Стыки железобетонных элементов каркасов многоэтажных зданий // Обзор. - М.: ВНИИПС, 1982. - 95 с.
23. Никитин И.К. Каркасы многоэтажных зданий с шарнирными и жесткими узлами // Конструкции многоэтажных производственных зданий: Сб. научн. трудов. - М.: ЦНИИпромзданий, 1988. - С. 5 - 15.
24. Никитин И.К. Уточнение статического расчета железобетонных рамных каркасов с учетом физической нелинейности на действие эксплуатационных нагрузок. - В сб. Железобетонные конструкции промышленных зданий. - М.: ЦНИИпромзданий, 1984.
25. Никулин A.В., Ларионов С.Г. Прочность и деформации связевого каркаса зданий павильонного типа при горизонтальных нагрузках // Инженерные проблемы современного железобетона: Сб. научн. статей; Ивановский инж.-строит. ин-т. - Иваново, 1995. - С. 278 - 282.
26. Паньшин Л.Л. Расчет несущих систем многоэтажных зданий с нелинейно-деформируемыми связями. - Реферативный сборник. Межотраслевые вопросы строительства. - ЦИНИС Госстроя СССР, вып. 6, 1969. - С. 36 - 41.
27. Рекомендации по проектированию стальных закладных деталей для железобетонных конструкций. - М.: Стройиздат, 1984. - 88 с.
28. Рекомендации по расчету прочности и жесткости железобетонных рам с нелинейными диаграммами деформации узлов и элементов на горизонтальные нагрузки. - ЦНИИЭПжилища. - Москва, 1976.
29. Семченков А.С., Десятник С.И., Кутовой А.Ф. Испытание дисков перекрытий из панелей 2Т. - Бетон и железобетон, № 2, 1985. - С. 7 - 9.
30. Семченков А.С., Третьяков Б.И., Кутовой А.Ф. и др. Работа дисков перекрытий из настилов с продольными шпонками. - Бетон и железобетон, № 1, 1983. - С. 35 - 36.
31. Семченков А.С., Третьяков Б.И., Кутовой А.Ф. Совершенствование методов расчета и конструирования сборных дисков перекрытий общественных зданий. - Обзорная информация. - Вып. 1. - М.: 1986. - 56 с.
32. Складнев Н.Н., Васильев Б.Ф., Кодыш Э.Н. Рекомендации по статическому расчету связевых железобетонных каркасов многоэтажных производственных зданий со стальными связями. - М.: ЦНИИпромзданий, МИСИ, 1982. - 36 с.
33. Складнев Н.Н., Кодыш Э.Н., Андреев В.В. Рекомендации по статическому расчету связевых каркасов многоэтажных производственных зданий с произвольными связевыми элементами (включая ядра жесткости). - М: ЦНИИСК, ЦНИИпромзданий, МИСИ, 1988. - 25 с.
34. Смилянский Л.М. Натурные исследования узлов сопряжения сборных железобетонных конструкций в каркасах одноэтажных промышленных зданий. - Труды / ЦНИИПромзданий, М., вып. 18, 1970.
35. Стыки сборных железобетонных конструкций. - Сб. статей НИИЖБ под общей ред. А.П. Васильева. - Москва, Стройиздат, 1970. - 189 с.
36. Трекин Н.Н. Деформации ячейки перекрытия из многопустотных плит в своей плоскости. - Сб. научных трудов «Современные проблемы и перспективы развития железнодорожного транспорта». - РГОТУПС, Москва, 1999. - С. 73 - 75.
37. Трекин Н.Н., Кодыш Э.Н., Вавилов О.В. Работа узловых сопряжений полносборных быстромонтируемых зданий / ЦНИИПромзданий. - М, 2001. - 12 с.: ил. - Рус. - Деп. в ВИНИТИ.
38. Трекин Н.Н., Мамин А.Н. Оценка влияния межплитных швов на совместную работу пустотных плит. - Материалы XXX Всероссийской научно-технической конференции «Актуальные проблемы современного строительства». - Пенза, ПГАСА, 1999. - С. 59 - 60.
39. Ханджи В.В. Расчет многоэтажных зданий со связевым каркасом. - М.: Стройиздат, 1977. - 187 с.
40. Холмянский М.М. Закладные детали сборных железобетонных элементов. М., Стройиздат, 1968 г. 208 с.
41. Шапиро Г.А., Захаров В.Ф. и др. О влиянии податливости рамных узлов на работу железобетонных каркасов при больших горизонтальных нагрузках. - В сб. Работа конструкций жилых зданий из крупноразмерных элементов. - Москва, С., вып. 4, 1979. - С. 4 - 26.