ЭЛЕКТРООБОГРЕВ
ПОЛА
В ЖИВОТНОВОДЧЕСКИХ
ПОМЕЩЕНИЯХ
МЕТОДИЧЕСКИЕ РЕКОМЕНДАЦИИ
НОВОСИБИРСК 1983
ВСЕСОЮЗНАЯ ОРДЕНА ЛЕНИНА
И ОРДЕНА ТРУДОВОГО КРАСНОГО ЗНАМЕНИ
АКАДЕМИЯ СЕЛЬСКОХОЗЯЙСТВЕННЫХ НАУК ИМЕНИ В. И. ЛЕНИНА
СИБИРСКОЕ ОТДЕЛЕНИЕ
СИБИРСКИЙ НАУЧНО-ИССЛЕДОВАТЕЛЬСКИЙ
ИНСТИТУТ МЕХАНИЗАЦИИ И ЭЛЕКТРИФИКАЦИИ
СЕЛЬСКОГО ХОЗЯЙСТВА
В рекомендациях обобщен опыт строительства и эксплуатации устройств электрообогреваемых полов в животноводческих помещениях зоны Сибири, представлены методы их расчета и технология строительства, показана целесообразность их использования.
Материалы подготовлены инженером отдела электрификации СибИМЭ Г.И. Шаповаловым.
Рекомендации рассмотрены на ученом совете СибИМЭ и рекомендованы к печати.
Редакционная коллегия:
доктор сельскохозяйственных наук П.Г. Кулебакин (гл. редактор), доктор технических наук В.С. Мкртумян, кандидаты технических наук Б.Д. Докин (зам. гл. редактора), В.В. Лазовский, В.М. Лившиц, Ю.А. Меновщиков, Г.Е. Чепурин, Л.П. Ковалева (отв. секретарь)
Научный редактор кандидат технических наук Ю.А. Меновщиков
Одной из важных проблем в животноводстве являются сохранение молодняка от простудных заболеваний и повышение прироста живой массы при круглогодовом содержании их в закрытых помещениях ферм и комплексов.
Необходимо до минимума сократить падеж поросят, телят и цыплят, особенно в первые дни после рождения, когда у них недостаточно развита терморегуляция и они гибнут от переохлаждения организма. Так, в первый день после рождения гибнет 14 % поросят, во второй и третий - 3, в четвертый - 2,2. Всего падеж составляет 25 - 35 % в основном в первые дни жизни от переохлаждения организма.
Создание требуемых температурно-влажностных режимов воздушной среды за счет общей вентиляционно-отопительной системы ведет к большому расходу энергии, а подчас и невыполнимо. Часто в помещении одновременно содержатся взрослое поголовье и молодняк. Высокая температура, необходимая для нормального развития молодняка, оказывает угнетающее воздействие на взрослое поголовье.
Снизить затраты энергии на создание температурно-влажностного режима и создать оптимальные условия для молодняка можно за счет применения местного обогрева животных.
Сравнение общих технических характеристик и эксплуатационных затрат различных систем обеспечения микроклимата с учетом перспективы их совершенствования приводит к выводу об эффективности внедрения установок с электрическим обогревом полов, работающих в период спада электрической нагрузки энергосистем [1].
Предлагаемая установка имеет следующие преимущества:
- микроклимат в зоне нахождения животных существенно улучшается, повышаются температура пола, температура и подвижность воздуха, на 8 - 9 % уменьшается относительная влажность воздуха и концентрация вредных газов;
- принцип устройства позволяет получать и достаточно равномерную с точки зрения зоогигиены температуру на поверхности пола;
- отпадает необходимость в подстилочных материалах, так как поросята и свиноматки хорошо чувствуют себя на электрообогреваемых полах без деревянных настилов и подстилки;
- заметно повышается производительность труда обслуживающего персонала и культура производства;
- аккумулирующая способность пола позволяет сохранять тепло в течение 4 - 5 ч после отключения электроэнергии [2];
- установка электробезопасна, проста, изготовить ее можно в любом хозяйстве;
- на установку требуется меньше металла, чем, например, на систему подпольного водяного отопления, затраты труда на техническое обслуживание незначительны;
- температура пола регулируется автоматически, что позволяет экономить электроэнергию.
В современных животноводческих помещениях наиболее часто применяются электрообогреваемые полы с проводами ПОСХВ и ПОСХП и нагревательными элементами из стальной неизолированной проволоки диаметром 4 - 6 мм, уложенной в асбестоцементные трубы или непосредственно в бетон, но на пониженном напряжении.
Детали устройства электрообогреваемого пола могут быть различными в зависимости от назначения и размеров помещения, климатической зоны, используемых материалов и других факторов. Приводим рекомендации и конструктивные схемы, основанные на обобщении опыта строительства электрообогреваемых полов в животноводческих помещениях Новосибирской области. В качестве нагревательных элементов используется стальная неизолированная проволока диаметром 4 - 6 мм на напряжении не более 60 В.
Электрообогреваемые полы с такими нагревательными элементами проще в изготовлении и значительно надежнее в эксплуатации. Недостатком данного способа электрообогрева полов является необходимость использования понижающих трансформаторов.
Расчет нагревательного устройства ведется по удельной поверхностной мощности Pо на площади клеток для животных, при этом температурный режим поверхности пола должен отвечать зоогигиеническим требованиям. В табл. 1 приведена рекомендуемые параметры обогреваемого пола [3, 4].
Таблица 1
Расчетные удельные показатели для обогрева животных
|
Рекомендуемая температура пола, °С |
Удельная поверхностная мощность, Вт/м2 |
|
|
Поросята-сосуны |
29 - 31 |
200 - 400 |
|
Поросята-отъемыши |
22 - 26 |
150 - 200 |
|
Поросята на откорме, кг: |
||
|
15 - 30 |
22 - 26 |
90 - 150 |
|
30 - 45 |
20 - 22 |
|
|
45 - 60 |
15 - 20 |
|
|
Свиноматки |
18 - 20 |
80 - 150 |
|
Телята в возрасте 10 - 20 дней |
22 - 26 |
200 - 300 |
|
Телята второго периода доращивания от 10 - 20 до 120 дней |
17 - 23 |
80 - 150 |
|
Коровы больные (мастит, артрит) |
26 - 29 |
150 - 200 |
|
Коровы дойные |
10 - 13 |
100 - 150 |
|
Цыплята суточные |
35 - 40 |
300 - 350 |
|
Цыплята в возрасте 30 - 40 дней |
35 |
200 - 250 |
|
Цыплята в возрасте 60 - 70 дней |
35 |
150 - 200 |
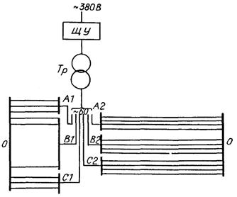
Соединение нагревателей производится по схеме «звезда» (рис. 1).
Рис. 1. Схема установки электрообогреваемого пола с нагревателями из стальной неизолированной проволоки на пониженном напряжении
Расчет нагревательных элементов производится по показанному на рис. 2 графику [4, 5]
ΔU = f(Jпр),
где ΔU - погонное падение напряжения на 1 м проволоки, В/м;
Jпр - ток, проходящий через одну проволоку, А.
Заштрихованная часть соответствует оптимальному режиму нагрева проволоки диаметром 6 мм (см. рис. 2).
Рис. 2. Зависимость тока от погонного падения напряжения на 1 м проволоки
Длина нагревательной проволоки зависит от размеров помещения и схемы укладки проволоки на обогреваемой площади, а схема ее укладки - от необходимости обеспечения заданной удельной поверхностной мощности в клетках.
Для расчета нагревательных элементов электрообогреваемого пола необходимы план размещения и размеры клеток с привязкой к установленному технологическому оборудованию и размерам помещения. В качестве примера приведен план свинарника-маточника (рис. 3). Клетки могут иметь различную форму. Ширина обогреваемой площади B принимается в зависимости от размеров клетки и вида животных. В процессе расчета величину B уточняют, округляя до целого рассчитанное количество параллельных проволок на ширине обогреваемой полосы.
Рис. 3. План свинарника-маточника:
1 - клетки для свиноматок; 2 - клетки для поросят; М - ширина клетки; Г - ширина необогреваемой (дефекационной) полосы; В - ширина обогреваемой полосы; А - длина клетки свиноматки; А - длина клетки поросят; Б - длина помещения; Ж1 и Ж2 - длина рядов клеток; Д - ширина поперечного прохода между клетками
На рис. 4 и 5 показаны возможные расположения фазных и нулевых шинных каналов в помещении с электрообогревом полов и схемы соединения экранных сеток.
Рис. 4. Схема соединения экранных сеток с контуром заземления и расположение шинных каналов:
1 - шинные каналы; 2 - экранный сетки; 3 - электроды-заземлители; 4 - контур здания; а - расстояние между электродами; h - расстояние между контуром заземления и стеной помещения, h ≥ 1 м
Рис. 5. Схема соединения экранных сеток с контуром заземления:
1 - фазные шинные каналы; 2 - нулевые шинные каналы; 3 - экранные сетки; 4 - контур здания; 5 - контур заземления
В свинарниках-маточниках проволока укладывается по схеме, показанной на рис. 6.
Рис. 6. Схема укладки нагревательной проволоки в клетках для свиноматки и поросят:
1 - нагревательная проволока; 2 - клетки для поросят; 3 - клетки для свиноматок; у - шаг укладки проволоки в клетках для поросят; и - шаг укладки проволоки в клетках для свиноматок; В - ширина обогреваемой полосы; Г - ширина полосы дефекации
После определения длины проволоки L определяется падение напряжения на 1 м проволоки по формуле
![]()
где U - линейное напряжение источника, В;
Uф - фазное напряжение на нагревательном элементе, В.
По графику ΔU = f(Jпр) (см. рис. 2) определяем значение тока проводника нагревательного элемента Jпр.
По зоотехнически требуемой удельной поверхностной мощности Pо и площади обогреваемого участка Fi определяется мощность нагревателя на этом участке Pi по формуле
Pi = Po · Fi,
а фазный ток нагревателей
![]()
где cos φ = 0,8 - 0,9 - коэффициент мощности, высшее значение принимается при выполнении шин из алюминия или меди, а низшее - из стали.
Зная значение тока одного проводника, определяем количество нагревательных проводов одной фазы обогреваемого участка по формуле
![]()
Если планируется обогревать все рассчитанные участки пола от одного трансформатора, то необходимо определить суммарные ток и мощность нагревателей
ΣJ = J1 + J2 + J3 + ... + Ji;
![]()
при этом необходимо учитывать, что
ΣJ ≤ Jн; ΣP ≤ Pн,
где Jн - номинальный вторичный ток трансформатора обогрева, А;
Pн - номинальная мощность трансформатора обогрева, кВт.
Иногда мощность может получиться ΣP ≤ Pн, а ΣJ > Jн. В этом случае расчет необходимо повторить при более высоком напряжении источника или при меньшем сечении нагревательной проволоки, или при том и другом.
Шаг укладки проволоки на обогреваемом участке определяется по формуле
![]()
При возникновении трудности размещения проволоки (у ≤ 50 мм) следует изменить схему укладки с целью уменьшения ее длины между шинами источника или обогреваемую площадь разделить на две части (не обязательно равные), но для каждого участка провести отдельный расчет по схеме соединения нейтралей (рис. 7).
Рис. 7. Схема электрообогрева двух участков пола от одного трансформатора
По данной методике построены номограммы (рис. 8 - 10), позволяющие определить в зависимости от длины нагревательного провода и зоотехнически обоснованной поверхностной мощности напряжение питания, ток проволочного нагревателя и необходимое количество этих нагревателей.
Рис. 8. Номограмма зависимости напряжения и тока от длины нагревательного провода Ø 6 мм, а также количества проводов для обеспечения требуемой удельной поверхностной мощности

Рис. 9. Номограмма зависимости напряжения и тока от длины нагревательного провода Ø 5 мм, а также количество проводов для обеспечения требуемой удельной поверхностной мощности
Рис. 10. Номограмма зависимости напряжения и тока от длины нагревательного провода Ø 4 мм, а также количества проводов для обеспечения требуемой удельной поверхностной мощности
Пример расчета нагревателей для обогрева пола в свинарнике-маточнике.
Помещение поперечным проходом разделено на две части (см. рис. 3). В одной из них в каждом ряду расположены N1 = 14 клеток для свиноматок и N1 = 14 клеток для поросят. Во второй части - N2 = 15 клеток для свиноматок и N2 = 15 клеток для поросят. Размеры клеток: a = 1 м, А = 2 м, B = 1,2 м. Обогреваемая площадь в клетке для поросят Fоп = 1,2 м2, для свиноматки Fос = 2,4 м2.
Удельная поверхностная мощность в клетке для поросят задается в пределах Pоп = 160 - 450 Вт/м2, а для свиноматки Pос = 80 - 150 Вт/м2 (см. табл. 1).
Нагревательные элементы из стальной неизолированной проволоки диаметром 6 мм подключаются по схеме «звезда» к трансформатору с напряжением на низкой стороне до 60 В.
Схема укладки проволоки (см. рис. 10) гарантирует, что если при расчете числовое значение Pоп будет в интервале 160 - 450 Вт/м2, то значение Pос будет находиться в пределах 80 - 150 Вт/м2.
Предполагая расположение фазных и нулевых шин в одном канале по схеме рис. 4, длина проволоки, проходящей через один ряд клеток от фазной до нулевой шин, определится по формуле
L1 = 2N1 (A + 3a) + 2 = 2 · 14 (2 + 3 + 1) + 2 = 142 м.
По номограмме на рис. 8 определяем, что при такой длине нагревательного элемента и напряжении питания до 60 В режим его работы не оптимальный. Поэтому изменим конструкцию, для чего нулевую шину расположим в отдельном канале, как показано на рис. 5. Схема укладки проволоки остается такой же, как показано на рис. 8. Длину проволоки рассчитаем по формуле
L1 = N1 (A + 3a) + 1,5 = 71,5 м.
Тогда по номограмме на рис. 8 получаем, что напряжение на низкой стороне трансформатора U2min = 42 В, U2max = 60 В.
Ток одиночного нагревателя J2min при U2min равен 36 А, а J2max при U2max равен 57 А. Для того, чтобы обеспечить в клетках у поросят-сосунов P 160 - 450 Вм/м2, необходимо заложить в массив пола при данной схеме укладки провода при nmax и U2min от 5 до 11 проводников, а при nmin и U2max от 2 до 8 проводников.
Проверим полученные данные расчетным путем для напряжения 60 В с укладкой в клетках в проводах по схеме на рис. 3.
Погонное падение напряжения составит
![]()
Ток одиночного нагревателя (см. рис. 2) равен 55 А. Тогда ток одной фазы обогреваемой полосы будет 110 А, так как используется трехфазная схема питания полосы и 6 проводников равномерно распределены между фазами по 2 на каждую.
Мощность для обогрева первого участка рассчитаем по формуле
![]()
Согласно принятой схеме укладки мощность обогревателя пола у сосунов равна 6850 Вт. Так как клеток на участке 14 с площадью каждого 1,2 м2, общая обогреваемая площадь под поросятами-сосунами равна 16,8 м2 и Pоп равна
![]()
что соответствует зоотехническим требованиям.
Для второй половины свинарника-маточника можно произвести аналогичные расчеты, после чего приступить к выбору трансформатора обогрева, силовых кабелей, аппаратуры управления и защиты.
Электрические шины выбираются по допустимой плотности тока.
Площадь сечения шины для i-го расчетного участка пола определяется по формуле
![]()
где δ = 0,5 - допустимая плотность тока для стали, А/мм2, δ = 1 А/мм2 для алюминия, δ = 1,5 А/мм2 для меди, [4, 5].
Питающие электрические силовые кабели и провода выбираются в зависимости от длительно допустимой токовой нагрузки и условий их прокладки по табл. 2.
Таблица 2
Длительно допустимые нагрузки током на кабели, прокладываемые в воздухе [6]
|
Токовые нагрузки на кабели, А |
|||
|
одножильные до 1 кВ |
двухжильные до 1 кВ |
трехжильные до 3 кВ |
|
|
2,5 |
40/23/31 |
30/21/23 |
28/19/22 |
|
4 |
55/31/42 |
40/21/31 |
37/27/29 |
|
6 |
75/38/55 |
55/38/42 |
45/32/35 |
|
10 |
95/60/75 |
75/55/55 |
60/42/46 |
|
16 |
120/75/90 |
95/70/76 |
80/60/60 |
|
25 |
160/105/125 |
130/90/100 |
105/75/80 |
|
35 |
200/130/155 |
150/105/115 |
125/90/95 |
|
50 |
245/165/190 |
185/135/140 |
155/110/120 |
|
70 |
305/210/235 |
225/165/175 |
200/140/155 |
|
95 |
360/250/275 |
275/200/210 |
245/170/190 |
|
120 |
415/295/320 |
320/230/245 |
285/200/220 |
Примечание. Первая цифра показывает нагрузку для кабелей с медными жилами с бумажной пропиткой маслоканифольной изоляцией в свинцовой или алюминиевой оболочке; вторая - для кабелей с алюминиевыми жилами с резиновой или пластмассовой изоляцией в свинцовой, поливинилхлоридной или резиновой оболочке; третья - для кабелей с алюминиевыми жилами с бумажной пропиткой маслоканифольной изоляцией в свинцовой или алюминиевой оболочке. Токовые нагрузки на одножильные кабели даны для работы при постоянном токе.
Силовые электрические кабели прокладываются частично в земле, частично в шинных каналах. Так как большая часть длины кабелей прокладывается в шинных каналах, то выбор ведется по следующим условиям:
для силовых кабелей на низкой стороне трансформатора обогрева
Ji ≤ Jдоп,
для силовых линий кабелей на высокой стороне трансформатора обогрева
![]()
где K - коэффициент трансформации;
Jдоп - длительно допустимые нагрузки для кабелей, А.
Принципиальная электрическая схема установки электрообогрева пола представлена на рис. 11. Аппаратура управления и защиты (табл. 3) для этой схемы выбирается по расчетным значениям тока и напряжения. Данные магнитных пускателей приведены в табл. 4.
Таблица 3
Аппаратура управления и защиты
|
Наименование |
Кол-во |
Тип |
|
|
1 |
2 |
3 |
4 |
|
TV |
Трансформатор обогрева |
1 |
ТМОА263-0Б |
|
КМ |
Контактор-пускатель |
1 |
ПА-521 |
|
P1 |
Счетчик активной энергии |
1 |
САЗУ |
|
TA1, TA2 |
Трансформатор тока |
2 |
ТКЛ-0,5 |
|
FA |
Автоматический выключатель |
1 |
А 3130 |
|
A |
Полупроводниковый регулятор температуры |
1 |
ПТР-ЗБ-04 |
|
SA |
Универсальный переключатель |
1 |
МКУ-18 |
|
SB1, SB2 |
Кнопочный пост |
1 |
П-25 |
|
FA |
Предохранитель |
1 |
ПТ |
|
HL1, HL2, HL3 |
Лампа сигнальная |
2 |
ЛС-53 |
|
E |
Нагреватели пола |
Стальной неизолированный провод |
Таблица 4
Наиболее распространенные исполнения магнитных пускателей серий ПАЕ [7]
|
Номинальный ток при напряжениях 380 / 500 В, А |
Количество контактов |
Габаритные размеры, мм |
Наличие теплового реле |
Цена, р. |
||
|
замыкающих |
размыкающих |
|||||
|
ПАЕ-311 |
40/21 |
2 |
2 |
214×114×144 |
Нет |
13 |
|
ПАЕ-312 |
40/21 |
4 |
2 |
275×114×121 |
Есть |
17 |
|
ПАЕ-313 |
40/21 |
4 |
2 |
214×239×114 |
Нет |
23 |
|
ПАЕ-314 |
40/21 |
2 |
2 |
264×239×121 |
Есть |
25 |
|
ПАЕ-411 |
63/35 |
2 |
2 |
290×183×135 |
Нет |
17 |
|
ПАЕ-412 |
63/35 |
4 |
2 |
290×183×135 |
Есть |
18 |
|
ПАЕ-413 |
63/35 |
4 |
2 |
275×343×135 |
Нет |
27 |
|
ПАЕ-414 |
63/35 |
2 |
2 |
275×343×135 |
Есть |
29 |
|
ПАЕ-511 |
110/61 |
2 |
2 |
335×200×156 |
Нет |
22 |
|
ПАЕ-512 |
110/61 |
4 |
2 |
335×200×156 |
Есть |
26 |
|
ПАЕ-513 |
110/61 |
4 |
2 |
320×338×170 |
Нет |
48 |
|
ПАЕ-514 |
110/61 |
2 |
2 |
320×338×170 |
Есть |
50 |
|
ПАЕ-611 |
146/80 |
2 |
2 |
380×230×190 |
Нет |
36 |
|
ПАЕ-612 |
146/80 |
4 |
2 |
380×230×190 |
Есть |
35 |
|
ПАЕ-613 |
146/80 |
4 |
2 |
385×435×190 |
Нет |
71 |
|
ПАЕ-614 |
146/80 |
4 |
2 |
385×435×190 |
Есть |
73 |
Для электрообогрева грунта и бетона наша промышленность выпускает комплектные трансформаторные подстанции КТП-50-0Б и КТП-63-0Б, которые отвечают требованиям электрообогрева полов в животноводческих помещениях. Трансформатор такой подстанции имеет шесть ступеней напряжения, две ступени максимального тока вторичной обмотки с тремя ступенями мощности. Схема соединения вторичной обмотки - «звезда» или «треугольник». Первичное напряжение 380 В (см. табл. 4).
Рис. 11. Принципиальная электрическая схема управления температурой электрообогреваемого пола
В табл. 5 приведены данные КТП-50-0Б и КТП-63-0Б.
Технические характеристики трансформаторов обогрева
Примечание. В числителе данные для трансформатора КТП-50-0Б, в знаменателе - для КТП-63-0Б.
Для электрообогрева животноводческих помещений на пониженном напряжении можно перемотать силовой трансформатор ТМ-10/0,4 соответствующей мощности по одной из приведенных схем в табл. 5.
Регулирование нагрузкой (нагревательными элементами) производится на первичной стороне трансформатора обогрева. Автомат токовой защиты осуществляет защиту от токов короткого замыкания, контактор-пускатель - коммутацию в зависимости от заданной программы работы установки в течение суток и от степени нагрева поверхности пола.
Степень нагрева поверхности пола поддерживается полупроводниковым регулятором температуры, датчик которого расположен в массиве пола на площади клетки для поросят. Этот прибор стабилизирует необходимую температуру на поверхности пола с точностью до ±2 °С [2].
Терморегулятор крепится на панели щита управления или стене. Все подключения и переключения производят только при отключенном приборе. С датчиком температуры прибор соединяется двухжильным экранированным кабелем с сопротивлением каждой жилы 5 Ом. Прокладка измерительных цепей в одном кабеле с силовыми жилами не допустима.
Расстояние между приборами и термосистемой (не более 300 м) сказывается на погрешности прибора в пределах ±0,2 °С на каждые 100 м длины линии по шкалам температуры и дифференциала.
Если электрообогреваемый пол планируется эксплуатировать по вынужденному графику электропотребления, что наиболее целесообразно, то в схему вводится программное моторное реле времени 2РВМ.
Устройство пола на проходах вдоль помещения ничем не отличается от существующих конструкций.
При сооружении электрообогреваемого пола на площади клеток выполняются следующие операции.
1. На ширину ряда клеток снижается слой грунта толщиной 350 мм.
2. Грунт уплотняется с подсыпкой гравия толщиной 20 мм.
3. Укладывается подстилающий слой бетона марки 100 толщиной 30 мм.
4. Укладывается слой толи (рубероида) в один слой для гидроизоляции. Стыки заделываются расплавленным битумом.
5. Насыпается и выравнивается слой сухого речного песка толщиной 30 мм.
6. Насыпается слой теплоизоляции толщиной 300 мм, для чего используется котельный шлак. Можно применить и засыпку из керамзита, легкого керамзитобетона или легких разновидностей ячеистых автоклавных бетонов, пеносиликатов и неавтоклавных пенобетонов.
7. На поверхности теплоизоляции закрепляются бруски 2 сечения 30×50 мм (рис. 12) с расстояниями между ними 1 - 1,5 м.

Рис. 12. Схема крепления нагревательной проволоки и экранной сетки на обогреваемой полосе пола:
1 - нагревательный провод; 2 - поперечные бруски; 3 - экранная сетка; 4 - продольные бруски; b - ширина обогреваемой полосы пола
8. Проволока, предназначенная для изготовления нагревателей, вытягивается длиной от 300 до 400 м. из которой нарезаются отрезки необходимой длины. При вытяжке проволоки необходимо следить за тем, чтобы на ней не образовывались перегибы и разрывы.
Сварка проволоки в местах порыва не допустима.
9. Нарезанные отрезки проволоки длиной L укладываются, по поперечным деревянным брускам конфигурацией, выбранной при расчете нагревателей (рис. 13), к деревянным брускам проволока 1 крепится скобками, изготовленными из гвоздей или проволоки диаметром 2 - 3 мм.
Рис. 13. Конфигурации, придаваемые отрезкам нагревательного провода
10. После укладки проволоки на обогреваемые полосы и закрепления скобками их осматривают внешне и мегомметром на 500 В проверяют отсутствие касания проволок. Составляется акт на скрытие работы.
11. Нагревательный провод сверху закрывается слоем бетона марки 200 толщиной 50 мм. Поверхность бетонной стяжки тщательно выравнивается.
12. На слой бетона укладывается экранная сетка сплошной полосой на весь ряд клеток (см. рис. 4 и 5). Ширина экранной сетки равна ширине ряда клеток. Если клетки металлические, то экранная сетка в нескольких местах электросваркой крепится к стойкам клеток. Экранные сетки, уложенные на обогреваемые полосы, соединяются между собой электросваркой, как показано на рис. 4 и 5.
13. Мегомметром на 500 В проверяют отсутствие касания экранной сетки с нагревательной проволокой. После проверки составляется акт на скрытые работы.
14. На экранную сетку укладывается слой бетона марки 200 толщиной 20 мм. Для уплотнения его необходимо провибрировать.
15. Сверху укладывается плашмя красный кирпич на цементной стяжке на ширину обогреваемой полосы с перекрытием на 200 мм. Сверху поверхность кирпичного пола заливается цементной стяжкой и выравнивается, выдерживая уклон 1:50 (i = 0,02) к полосе дефекации.
Схема укладки всех слоев на обогреваемой полосе показана на рис. 14.
Рис. 14. Поперечный разрез обогреваемой полосы пола:
кирпич красный; бетон 200; сетка-экран; бетон 200; нагревательный провод; теплоизоляция; песок сухой; гидроизоляция; бетонная стяжка; уплотненный грунт с гравием
Данная схема укладки слоев пола рекомендуется для свиноводческих помещений. Для других видов животных и птицы укладка кирпича не обязательна. Поэтому достаточно слой бетона над сеткой увеличить до 50 - 80 мм и хорошо зашпаклевать цементным раствором.
Для подвода питания к проволочным нагревателям и осуществления контроля электрических соединений поперек помещения строят шинные каналы. Каналы, где находятся фазные шины, к которым подключены питающие кабели, называются фазными. Каналы, в которых находятся только нулевые шины и к которым присоединены проволоки всех трех фаз, называются нулевыми.
Расположение фазных и нулевых каналов в помещении зависит от схемы электрообогрева участков пола и схема укладки нагревательной проволоки на обогреваемых полосах пола. Допускается расположение фазных и нулевых шин в одном шинном канале. Варианты расположения шинных каналов показаны на рис. 3 и 5.
В тех местах, где шинные каналы проходят под навозоуборочным транспортером, укладывается необходимое количество асбоцементных труб диаметром 100 мм, при этом через одну трубу можно пропускать не более одного кабеля или шины (или несколько соединительных проводников, соединяющих участки экранной сетки).
Недопустимо в одной трубе пропускать шину и соединительные проводники экранной сетки. Сетка-экран не должна касаться нулевой шины.
Шинные каналы под навозоуборочным транспортером герметизируются для предотвращения проникновению влаги и испарений. Пример устройства шинного канала показан на рис. 15. Нулевую шину, если она находится в отдельном нулевом шинном канале, после присоединения к ней всех проводок герметично закрываются съемными крышками, как и фазные шинные каналы.
Рис. 15. Поперечный разрез шинного канала:
1 - нулевая шина; 2 - питающие кабели; 3 - фазная шина; 4 - нагревательная проволока; 5 - деревянный брусок; 6 - герметизация (битум или цементный раствор); 7 - крышка (доска или бетонная плита)
Силовые кабели от трансформатора обогрева вне помещения прокладываются в земле, а внутри помещения - в фазных шинных каналах. Присоединение жил кабеля к фазным шинам осуществляется с помощью болтовых соединений. Место присоединения кабеля должно быть в средней точке шины для равномерного токораспределения по шине (рис. 16).
Рис. 16. Схема соединения фазной шины с электрическим кабелем:
1 - фазная шина; 2 - электрический кабель; 3 - кабельный наконечник; 4 - болтовое соединение; 5 - сталь листовая (сечение 5×100 мм)
В фазном шинном канале питающие кабели и все находящиеся в нем фазные шины должны укладываться на сухие деревянные бруски, расстояние между шинами и кабелями должно быть не менее 100 мм.
Сетка-экран изготавливается из проволоки диаметром 2 - 6 мм. Можно применить плетеную сетку, но по периметру и поперек обогреваемой полосы через каждый метр к ней приваривается проволока диаметром 2 - 6 мм, а также стандартная сетка ГОСТ 8478-66. Все возможные конструкции экранных сеток показаны на рис. 17 [7, 8]. Сетка-экран выполняет только функцию выравнивания потенциалов на обогреваемой поверхности пола. Для уменьшения напряжения прикосновения по наружному контуру помещения устраивается дополнительное искусственное заземление сопротивлением 10 Ом [8, 9], к которому надежно присоединяется сетка-экран.
Рис. 17. Проволочные сетки для экранирования:
а - стандартная сварная сетка ГОСТ 8478-66; б - сетка, изготовленная на месте (диаметр проволоки 2,5 мм); в - плетеная сетка с приваренной к ней поперек и по контуру отрезками проволоки
В качестве заземляющих рекомендуется применять оголенные стальные проводники. Наименьшие размеры стальных заземлителей и заземляющих проводников указаны в табл. 6 [10].
Таблица 6
Наименьшие размеры стальных заземлителей и заземляющих проводников
|
Размеры, мм |
|||
|
в здании |
в наружных установках |
в земле |
|
|
Круглый диаметр |
5 |
6 |
6 |
|
Прямоугольный: |
|||
|
сечение, мм2 |
24 |
48 |
48 |
|
толщина |
3 |
4 |
4 |
|
Угловая сталь, толщина полок |
2 |
2,5 |
4 |
|
Газопроводные трубы, толщина стенок |
2,5 |
2,5 |
3,5 |
|
Тонкостенные трубы, толщина стенок |
1,5 |
Не допускается |
|
В качестве заземляющих можно применять и проводники из цветных металлов, но оголенные алюминиевые проводники нельзя прокладывать в земле, потому что они быстро коррозируют. Каждый заземляемый элемент установки присоединяется к заземляющей магистрали отдельным проводником. Нельзя включать последовательно несколько заземляющих частей в заземляющий проводник.
Заземляющие проводники необходимо защищать от коррозии. Сопротивление одного электрода в виде круглого стержня, заглубленного вертикально вровень с поверхностью земли, определяется по формуле [10]
![]()
где l и d - длина и диаметр стержня, мм;
ρ - удельное сопротивление грунта, то есть сопротивление куба грунта со стороной 1 м, Ом · м.
По этой формуле приближенно можно определить сопротивление растеканию от стержня из угловой стали, подставляя d = 0,95 B; (B - ширина полки уголка в метрах), а также от стержня, у которого верхний конец находится ниже поверхности земли на глубине до 0,8 м.
Точное сопротивление растекания от стержня, определяется по формуле [10]

где tc - расстояние от поверхности земли до середины стержня, м.
Сопротивление заземления горизонтальной полосы длиной l (м) и шириной b (м), расположенной на глубине tп (м) от поверхности земли, определяется по формуле [10]
![]()
Этой же формулой можно пользоваться при горизонтальном заземлителе из круглой стали, подставляя b = 2 · d.
Для определения значения удельного сопротивления грунта, приведенного в литературе [10], пользуются укрупненным расчетом. Поэтому не всегда можно получить точный результат, несмотря на использование точных формул для сопротивления заземлителя. Допустимо при ориентировочных расчетах находить сопротивление одиночного заземлителя любой конструкции, расположенного в однородном грунте, по упрощенной формуле [10]
![]()
где l -
длина стержня, полосы, стороны квадратной пластины
или эквивалентная ей величина; если пластина другой формы, сетка или контур
площадью S, то
, м;
c - коэффициент, равный 0,9 или 1 для стержня, 2,0 - 2,1 для горизонтальной полосы, 0,25 для вертикально расположенной пластины.
Если в сложном заземляющем устройстве отдельные стержни расположены друг от друга на расстоянии 40 м, то они взаимно не влияют на протекающие через них токи, и сопротивление всех стержней заземляющего контура определяется по формуле
![]()
где Rc - сопротивление одного стержня, Ом;
n - число стержней.
Обычно расстояние между стержнями по величине близко к их длине. Они взаимно экранируют друг друга и несколько затрудняют растекание тока в земле. Эквивалентное сопротивление стержневых заземлителей определяется по формуле [10]
![]()
где η - коэффициент использования стержневого заземлителя.
Величина η зависит от отношения расстояния между стержнями к длине стержня a / l, количества стержней и расположения их в ряд или по контуру (рис. 18).
Рис. 18. Графики для определения коэффициентов использования стержневых зазёмлителей при расположении стержней в ряд (а) или по контуру (б)
Эквивалентное сопротивление соединительных полос вследствие экранирования их стержнями определяется по формуле [10]
![]()
где ηп - коэффициент использования соединительных полос. Определяется по графику на рис. 19.
Рис. 19. Графики для определения коэффициентов использования полосы связи в ряду стержневых заземлителей (а) или в контуре стержневых заземлителей (б)
Результирующее сопротивление заземлителя, состоящего из стержней и соединенных полос, определяют по формуле параллельного соединения сопротивлений
![]()
Удельное сопротивление грунта зависит от его состава (структуры, наличия солей) и влажности. В табл. 7 приведены рекомендуемые для предварительных расчетов значения удельного сопротивления различных грунтов [10].
Таблица 7
Удельное сопротивление грунтов для предварительных расчетов
|
ρ, Ом · м |
|
|
Каменистый грунт (граниты, гнейсы) |
700 - 106 |
|
Каменистый грунт (сланец глинистый, известняк, ракушечник) |
100 - 1000 |
|
Песок при залегании грунтовых вод |
|
|
глубже 5 м |
1000 |
|
То же, до 5 м |
500 |
|
Мергели известковистые, супесь слабовлажная |
300 |
|
Лесс |
250 |
|
Почва, (чернозем и др.) |
200 |
|
Супесь влажная, мергель |
150 |
|
Суглинок полутвердый или лессовидный, алевролиты |
100 |
|
Мел или глина полутвердая |
60 |
|
Слайды графитовые, аргиллиты или мергель глинистый |
50 |
|
Супесь водонасыщенная |
40 |
|
Суглинок пластичный |
30 |
|
Торф, глина пластичная |
20 |
|
Вода равнинной реки |
50 |
|
Подземные водоносные слои (в зависимости от минерализации) |
5 - 50 |
|
Морская вода |
1 |
При промерзании почвы удельное сопротивление ρ увеличивается. Поэтому стержневые заземлители рекомендуется забивать на глубину большую, чем глубина промерзания почвы, и по возможности ниже низшего уровня грунтовых вод. Но поскольку значительная часть стержней длиной 3 м лежит в зоне, где ρ подвержено сезонным колебаниям, при проектировании заземляющего устройства в приведенные выше формулы подставляют расчетное значение удельного сопротивления грунта ρр = Kc · ρ, где K - коэффициент сезона, позволяющий приближенно учесть возможное увеличение ρ при промерзании почвы. Коэффициент сезона Kc = 4,5 - 7,0 для протяженных горизонтальных заземлителей (соединительные полосы) на глубине 0,8 м. Kc = 1,8 - 2,0 для вертикальных стержней 2 - 3 м при глубине заложения вершины 0,5 - 0,8 м. Kc = 1,35 для вертикальных стержней длиной 5 м и глубине заложения вершины 0,7 - 0,8 м [10].
Стержневые заземлители рекомендуется выбирать длиной не менее 3,5 м.
Заземляющее устройство рекомендуется выполнять в виде замкнутого контура по наружному периметру животноводческого помещения на расстоянии не менее 1 м от стены помещения.
Через каждые 10 м его необходимо соединять с экранной сеткой, уложенной на обогреваемой площади внутри помещения (см. рис. 4), что способствует лучшему выравниванию потенциала на обогреваемой площади, а также уменьшению сопротивления заземляющего устройства. В случае необеспечения требуемого условия Rз.э ≤ 10 Ом спроектировать и произвести расчет заземления другим способом.
Контроль и проверка заземляющих устройств осуществляется различными методами и приборами МС-07, МС-08, М-372, ММВ, УМВ и М-416.
Методика проведения замеров приводится в прилагающейся к приборам технической документации, можно найти ее в любой справочной литературе по технике безопасности и охране труда на электроустановках.
Замер сопротивления заземления приводится в зимнее время ежегодно и после капитальных ремонтов или переустройства заземлителей.
При устройстве контура заземления составляется акт на скрытые работы, где приводятся и результаты замеров. Ежегодные замеры отмечаются в акте замеров сопротивления заземления.
Установка с электрообогреваемым полом должна выполняться в соответствии с указаниями действующих правил устройства электроустановок и техники безопасности при эксплуатации электротехнических установок в сельскохозяйственном производстве.
3. Шинные каналы должны быть надежно закрытыми. Запрещается засорять их при ремонтных работах.
4. Не допускается попадание дождя или снега на трансформатор обогрева, для чего над ним устраивать навесы.
6. При подготовке трансформатора обогрева для включения в сеть необходимо проверить: техническое состояние заземления, разъемные соединения, подтянув их по мере необходимости, фарфоровые изоляторы, протерев их бензином Б-70 и сухой ветошью, соответствие подключения проводов и кабелей к выводам 49-121 и 380 В (если используется комплектная трансформаторная подстанция КТП-50-0Б или КТП-63-0Б). При обнаружении в фарфоровых изоляторах трещин, сколов, отбитых ребер и других дефектов необходимо заменить поврежденный изолятор.
7. При использовании КТП-50-0Б или КТП-63-0Б переключение ступеней напряжения нельзя производить под нагрузкой. Нагрузка отключается в первую очередь, а включается в последнюю.
8. Ремонт и замену вышедших из строя приборов, аппаратуры и оборудования КТП необходимо производить после отключения линий с высокой и низкой сторон.
9. Наружный осмотр включенной подстанции производить на безопасном расстоянии от частей под напряжением.
10. Комплектные трансформаторные подстанции, находящиеся в эксплуатации, подлежат систематическому контролю и периодическим планово-предупредительным ревизиям не реже одного раза в три месяца. Во время ревизий КТП тщательно осматривать и устранять все замеченные дефекты.
11. Перед пуском в эксплуатацию всей установки электрообогрева пола специальная технологическая комиссия проверяет наличие актов на скрытые работы, выполнение требований пп. 1 - 6, отсутствие электрических потенциалов на поверхности разогретого пола при включенном нагревательном устройстве, на ограждениях клеток и на кожухах другого электрооборудования.
Результаты технического осмотра и заключение комиссии о возможности эксплуатации установки оформляются актом.
12. Электромонтер хозяйства не реже одного раза в месяц должен проводить профилактический осмотр установки по пунктам 2, 3, 4, 5, 6, 11 и один раз в год в зимнее время - замер сопротивления заземления.
Экономическая эффективность содержания животных с применением средств местного обогрева видна из сравнения со способом содержания на бетонных полах с деревянными настилами. Способы содержания животных сравнивают по приведенным затратам с учетом дохода от прироста массы и повышения сохранности поголовья. Годовой экономический эффект рассчитывают по формуле [11]
Эг = (KэЕн + Иэ) - (KбЕн + Иб) + D + ...,
где Kэ, Kб - годовые капитальные вложения нового и базового вариантов, р.;
Ен = 0,15 - нормативный коэффициент эффективности капиталовложений;
Иэ, Иб - годовые издержки в новом и базовом вариантах, р.
D - годовой доход от получения дополнительной продукции, р.
Опыт содержания поросят отъемного периода на ферме ОПХ «Черепановское» Новосибирской области при применении электрообогреваемого пола в помещении на 650 голов показывает, что суточный прирост живой массы по сравнению с животными в помещении на бетонном полу с деревянными настилами выше в среднем на 60 - 90 г.
Расчеты экономической эффективности и сравнительные технико-экономические показатели приведены в табл. 8.
Таблица 8
Эффективность применения электрообогреваемого пола в свинарнике-откормочнике на 650 голов 4 - 9-месячного возраста
|
Электрообогреваемый пол |
Бетонный пол с деревянным настилом |
|
|
Капитальные вложения, тыс. р. |
26,9 |
14,6 |
|
Эксплуатационные расходы, тыс. р. |
0,5 |
1,48 |
|
Приведенные затраты, тыс. р. |
4,54 |
3,67 |
|
Суточный прирост живой массы, кг |
358 |
319 |
|
Доход от прироста продукции, тыс. р. |
25,6 |
- |
|
Годовой экономический эффект, тыс. р. |
26,49 |
- |
Учитывая, что с каждым годом дефицит пиломатериалов и их стоимость растут, экономическая эффективность электрообогреваемых полов увеличивается. Высокая аккумуляционная способность пола (в сутки работает менее 6 ч) позволяет включать пол только в часы, когда отпуск электроэнергии не ограничен.
2. Дацков И.И., Мазанов С.С. Электрические нагревательные устройства. - М.: Россельхозиздат, 1973, с. 5 - 9.
3. Карасенко В.А. Электронагревательные установки в сельском хозяйстве. - Минск: Урожай, 1971, с. 23 - 27.
4. Меновщиков Ю.А., Саватеев Н.А., Прохоров П.К. Электрификация производственных процессов. - Алма-Ата: Кайнер, 1973, с. 7 - 11.
5. Пчелкин Ю.Н. Использование электроэнергии в овощеводстве защищенного грунта. - М.: Колос, 1966, с. 11 - 13.
6. Будзко И.А., Гессен В.Ю. Электроснабжение сельского хозяйства. 2-е перераб. изд. - М.: Колос, 1979, с. 450 - 453.
7. Электротехнический справочник. - М.: Энергоиздат, 1981, с. 422 - 431, 454.
8. Смирнов В.И. Рекомендация по устройству и техническому расчету электрического обогрева пола в животноводческом помещении. - М.: Изд-во ВИЭСХ, 1968, с. 40 - 50.
9. Правила устройства электроустановок. 5-е изд. - М.: Атомиздат, 1977, с. 123 - 127.
10. Луковников А.В. Охрана труда. 3-е изд. - М.: Колос, 1973, с. 114 - 117.
СОДЕРЖАНИЕ