ПРИМЕНЕНИЕ
ТРАНСПОРТНЫХ ТЕХНОЛОГИЙ СВЯЗИ,
ИСПОЛЬЗУЮЩИХ В КАЧЕСТВЕ
СРЕДЫ ПЕРЕДАЧИ
ОПТИЧЕСКОЕ ВОЛОКНО

РД 45.195-2001

 

Минсвязи России

Москва
2001 г.

 

 

Предисловие

1 РАЗРАБОТАН Центральным научно-исследовательским институтом связи (ЦНИИС)

ВНЕСЕН Департаментом электросвязи Минсвязи России

2 УТВЕРЖДЕН Минсвязи России

3 ВВЕДЕН В ДЕЙСТВИЕ информационным письмом от 01.10.2001 г. №

4 ВВЕДЕН ВПЕРВЫЕ

 

СОДЕРЖАНИЕ

1 Область применения. 2

2 Нормативные ссылки. 3

3 Определения. 3

3.1 Определения к разделу 5. 3

3.2 Определения к разделу 6. 4

3.3 Определения к разделу 7. 4

3.4 Определения к разделу 8. 6

3.5 Определения к разделу 9. 9

4 Обозначения и сокращения. 10

5 Общие положения. 13

6 Применение технологии WDM... 15

6.1 Основные принципы.. 15

6.2 Аппаратура систем WDM... 18

6.3 Сетевые конфигурации WDM... 19

6.4 Основные параметры систем WDM... 19

6.5 Оптическое резервирование в системах WDM... 22

6.6 Транспортные услуги WDM... 23

7 Применение технологии STM... 24

7.1 Основные принципы.. 24

7.2 Аппаратура СЦИ.. 25

7.3 Сетевые конфигурации СЦИ.. 25

7.4 Автоматическое резервирование в системах СЦИ.. 27

7.5 Транспортные услуги сетей СЦИ.. 28

7.6 Качественные показатели секций и трактов СЦИ.. 28

8 Применение технологии ATM... 28

8.1 Общие принципы.. 28

8.2 Типы аппаратуры ATM... 28

8.3 Сетевые узлы транспортной сети ATM и их взаимодействие. 29

8.4 Транспортные услуги сети ATM... 32

8.5 Сетевые соединения. 33

8.6 Адресация. 34

9 Применение технологии IP. 34

9.1 Общие принципы.. 34

9.2 Типы аппаратуры IP. 35

9.3 Сетевые узлы транспортной сети IP и их взаимодействие. 35

9.4 Транспортные услуги сети IP. 37

9.5 Адресация в транспортной сети IP. 37

Приложение А. Библиография. 37

 

Руководящий документ отрасли

Применение транспортных технологий связи, использующих в качестве среды передачи оптическое волокно

Дата введения 2001-10-01

1 Область применения

Настоящий руководящий документ предназначен для применения:

- операторами сетей связи при создании и развитии сетей с использованием новых технологий передачи на базе оптического волокна;

- научными и проектными организациями при разработке и проектировании сетей с использованием новых технологий передачи на базе оптического волокна.

Руководящий документ определяет:

- перечень технологий передачи на базе оптического волокна;

- перечень протоколов и интерфейсов, рекомендуемых для применения в системах передачи на ВСС РФ;

- принципы технического взаимодействия операторов различных сетей с использованием новых технологий на базе оптического волокна.

2 Нормативные ссылки

В настоящем руководящем документе отрасли использованы ссылки на следующие нормативные документы:

ГОСТ 26886-86 Стыки цифровых каналов передачи и групповых трактов первичной сети ЕАСС. Основные параметры

ОСТ 45.104-97 Стыки оптические систем передачи синхронной цифровой иерархии. Классификация и основные параметры

ОСТ 45.178-2001 Системы передачи с оптическими усилителями и спектральным уплотнением. Стыки оптические. Классификация и основные параметры

РД 45.046-99 Аппаратура связи, реализующая функции передачи речевой информации по сетям передачи данных с протоколом IР. Технические требования

РД 45.123-99 Порядок применения технологии асинхронного режима переноса на Взаимоувязанной сети связи России

3 Определения

В настоящем руководящем документе применяют следующие термины с соответствующими определениями.

Примечание - Поскольку русские сокращения этих терминов в основном еще не общеприняты, то для сохранения соответствия с сокращениями, используемыми в англоязычной литературе, в большинстве случаев в данном руководящем документе применяются англоязычные сокращения. Определения сгруппированы по разделам; для каждого раздела определения даны в алфавитном порядке.

3.1 Определения к разделу 5

Асинхронный режим переноса (Asynchronous Transfer Mode, ATM) - пакетный протокол передачи, использующий технологию асинхронного мультиплексирования разделенных временных интервалов. Базовым транспортным элементом протокола ATM является информационный блок фиксированной длины (ячейка). Ячейка содержит информационное поле и заголовок. Основное назначение заголовка - идентифицировать ячейки, принадлежащие конкретному виртуальному каналу внутри мультиплексированных временных интервалов. ATM является протоколом, ориентированным на соединение.

Оптическая транспортная сеть (Optical Transport Network, OTN) - набор оптических сетевых элементов (Optical Network Element, ONE), соединенных оптоволоконными линиями. OTN обеспечивает функции передачи, мультиплексирования, маршрутизации, автоматического обслуживания, живучести. Оптические каналы сети OTN несут сигналы любого формата независимо от их специфики (например, STM, ATM, IP).

Оптическая транспортная сеть состоит из ряда уровней:

- оптических секций передачи;

- оптических секций мультиплексирования;

- оптических каналов.

Оптическая секция (Optical Section, OS) - участок между линейными оптическими усилителями или между линейным оптическим усилителем и оптическим мультиплексором/демультиплексором.

Оптический канал (Optical Channel, ОС) - комплекс технических средств, обеспечивающий передачу оптического сигнала на определенной длине волны (многоканальная передача) или в определенном диапазоне длин волн (одноканальная передача). Оптический канал предназначен для передачи любых сигналов (в частности, образованных в соответствии с технологиями STM (SDH), ATM, IP). Оптический канал характеризуется своей прозрачностью.

Прозрачность оптического канала представляет собой свойство, определяющее перенос любого сигнала независимо от его параметров (скорости, структуры цикла, протокола передачи и т.п.). На первых этапах развития сети WDM допускается разрыв оптического канала (например, при использовании электрического регенератора).

Сетевой элемент (Network Element, NE) - элемент сети, который содержит транспортные функции и обрабатывает информацию между своими входами и выходами.

Синхронный режим переноса (Synchronous Transfer Mode, STM) - режим переноса, основанный на передаче синхронных транспортных модулей STM-N, представляющих собой набор иерархических структур, полученных с помощью мультиплексирования базовых STM-1. Базовый STM-1 имеет скорость передачи 155520 кбит/с. Скорость STM-N кратна по номиналу скорости STM-1. Коэффициент кратности N = 4, 16, 64 и 256.

Система передачи - комплекс программно-аппаратных средств, обеспечивающий передачу информационных сигналов различных протоколов в определенных сетевых конфигурациях или их совокупностях. Может быть, например, система передачи линейной конфигурации или система передачи кольцевой конфигурации или система передачи, обеспечивающая возможность работы в любых конфигурациях.

Технология оптического спектрального мультиплексирования (Wavelength Division Multiplexing, WDM) - технология мультиплексирования и передачи сигналов различных длин волн по общему оптическому волокну. Сигналы, передаваемые по системам WDM, могут иметь произвольный формат (например, STM, ATM, IP).

Технология IP (Internet Protocol Technology) - технология «Протокола Интернет». Интеллектуальная телекоммуникационная технология, базирующаяся на передаче пакетов в соответствии со стеком протоколов TCP/IP. Названа по основному протоколу стека - IP.

Транспортная сеть электросвязи - сеть, обеспечивающая доставку информационных сигналов по заданному адресу. Транспортная сеть разделяется на ряд подсетей, отличающихся как по форме принадлежности к конкретному оператору, так и по технологии, использованной в данной подсети. Основная сеть (Core Network) - условное наименование сети, обеспечивающей взаимодействие периферийных сетей.

3.2 Определения к разделу 6

Код применения системы WDM (WDM application code) - идентификатор системы, указывающий на дальность передачи, число оптических каналов, тип оптического волокна и максимальное количество элементарных оптических участков.

Оптический тракт (Optical path) - оптическая транспортная сущность, объединяющая совокупность оптических каналов.

Основная часть оптического тракта системы передачи WDM (Main optical path) - оптическое волокно с оптическими усилителями между выходом оптического мультиплексора на передаче и входом оптического демультиплексора на приеме.

Элементарный кабельный участок (ЭКУ) - участок кабеля между оптическими усилителями, либо между оптическим усилителем и оптическим регенератором.

3.3 Определения к разделу 7

Административный блок 4-го порядка (Administrative Unite, AU-4) - информационная структура, которая обеспечивает адаптацию между уровнем трактов высшего порядка и уровнем мультиплексной секции. Он состоит из VC-4 и указателя административного блока (AU Pointer), который показывает сдвиг начала цикла VC-4 относительно начала цикла STM-N.

На ВСС РФ административные блоки другого порядка (n 4) не используются.

Виртуальный контейнер порядка n (Virtual Container-n, VC-n) - информационная структура, используемая для поддержки слоя трактов СЦИ (передаваемая внутри тракта СЦИ). Он состоит из информационной нагрузки и заголовка тракта (РОН). VC-n представляет собой блочную структуру, которая повторяется каждые 125 или 500 мкс.

Виртуальные контейнеры VC-n подразделяются на:

- виртуальный контейнер низшего порядка (n = 1, 2, 3)

- виртуальный контейнер высшего порядка (n = 4)

VC-4 включает в себя один контейнер 4-го порядка (С-4) или группу компонентных блоков (TUG-2s или TUG-3s) вместе с РОН.

Группа административных блоков (Administrative Unit Group, AUG) - несколько (в частном случае, один) административных блоков, занимающих фиксированные позиции в цикле STM-N.

Группа компонентных блоков (Tributary Unit Group, TUG) - несколько (в частном случае, один) компонентных блоков, занимающих фиксированное положение в цикле VC-4.

Компонентный блок (Tributary Unit, Tu-n) - информационная структура, обеспечивающая адаптацию между уровнем трактов низшего порядка и уровнем трактов высшего порядка. Он состоит из информационной нагрузки (виртуальный контейнер низшего порядка) и указателем компонентного блока, который показывает сдвиг начала цикла виртуального контейнера низшего порядка относительно начала цикла верхнего порядка.

Контейнер-n (Container, C-n) - структура, формирующая информационную нагрузку для виртуального контейнера n-го порядка.

Секция мультиплексирования СЦИ начинается и заканчивается в аппаратуре СЦИ, где формируются и удаляются секционные заголовки MSOH.

Секция регенерации СЦИ начинается и заканчивается в аппаратуре СЦИ, где формируются и удаляются секционные заголовки RSOH. Внутри секций мультиплексирования и регенерации передается сигнал STM-N.

Синхронная цифровая иерархия (СЦИ) - иерархический набор цифровых транспортных структур, стандартизованных для передачи адаптируемой нагрузки по физическим сетям передачи.

Синхронный транспортный модуль порядка N (Synchronous Transport Module-N, STM-N) - информационная структура, используемая для поддержки соединений в слое секций СЦИ (передаваемая внутри секции СЦИ). Он состоит из информационной нагрузки и секционного заголовка (SOH). STM-N представляет собой блочную цикловую структуру, которая повторяется каждые 125 мкс.

Скорость базового STM-1 равна 155520 кбит/с. Скорость STM-N в N раз больше скорости STM-1. В настоящее время МСЭ-Т определены N = 4, 16, 64 и 256.

STM-1 включает в себя одну группу административных блоков (AUG) вместе с SOH. STM-N содержит N AUG вместе с SOH.

Сцепка - процедура объединения нескольких виртуальных контейнеров, в результате которой их совокупная емкость может быть использована как один контейнер, в котором обеспечивается целостность последовательности бит.

СЦИ-корректирование - процедура, посредством которой в компонентный или административный блок вводится информация о сдвиге начала этого цикла от эталонной точки отсчета цикла обслуживающего слоя.

СЦИ-мультиплексирование - процедура адаптирования нескольких сигналов слоя трактов нижнего уровня к тракту верхнего порядка или нескольких сигналов слоя трактов верхнего порядка к мультиплексной секции.

СЦИ-размещение - процедура адаптирования сигналов нагрузки к виртуальным контейнерам в границе сети СЦИ.

Тракт виртуального контейнера начинается и заканчивается в аппаратуре СЦИ, где формируются и удаляются трактовые заголовки РОН. Внутри трактов виртуальных контейнеров передается сигнал VC-n.

Указатель (Pointer) - индикатор, значение которого показывает сдвиг цикла виртуального контейнера относительно точки отсчета цикла транспортной структуры, которая обслуживает этот виртуальный контейнер.

3.4 Определения к разделу 8

Аппаратура ATM (ATM equipment) - техническое средство, реализующее на входящих/исходящих интерфейсах функции протокола ATM, а так же функции мультиплексирования/демультиплесксирования, кроссового переключения или коммутации ячеек ATM.

Аппаратура кроссового переключения (Cross-connect) ATM - аппаратура ATM, обрабатывающая информационные потоки протокола ATM, поступающие с одного или нескольких интерфейсов ATM, и обеспечивающая переключение входящих/исходящих потоков в соответствии с маршрутной таблицей, устанавливаемой с помощью системы управления сетью ATM.

Виртуальное соединение (Virtual connection) - логическая ассоциация объектов, работающих между конечными точками виртуального канала или тракта.

Виртуальный канал (Virtual Channel, VC) - понятие, используемое для определения передачи ячеек протокола ATM, имеющих общее уникальное значение идентификатора канала.

Виртуальный тракт (Virtual Path, VP) - группа виртуальных каналов, связанных между собой общим значением идентификатора тракта.

Детерминированная скорость передачи (Deterministic Bit Rate, DBR) - категория услуги переноса, которая обеспечивает для информационного потока постоянную скорость передачи в режиме реального времени.

Допустимое отклонение времени задержки ячеек (Cell Delay Variation Tolerance, CDVT) - параметр трафика, определяющий допустимую величину превышения заданных значений пиковой скорости передачи ячеек и максимальной длины пакетов.

Доступная скорость передачи (Available Bit Rate, ABR) - категория услуги переноса, которая обеспечивает для информационного потока гибкое изменение скорости передачи (статистическое мультиплексирование) в зависимости от имеющихся в данный момент времени ресурсов сети, используя обратную связь, и передачу вне режима реального времени.

Задержка переноса ячеек (Cell Transfer Delay, CTD) - параметр качества услуги, определяющий среднюю величину времени задержки переноса ячеек через соединение виртуального канала или тракта.

Заказной режим (reserved mode) услуги переноса - режим функции переноса, позволяющий абоненту с помощью процедур административного управления устанавливать, изменять или освобождать соединения сети ATM, определяя заранее все параметры, их характеризующие

Интерфейс пользователь-сеть (User Network Interface, UNI) - интерфейс, обеспечивающий взаимодействие оконечного оборудования пользователя или иной оконечной системы и сетевого окончания.

Интерфейс узел-сеть (Network Node Interface, NNI) - интерфейс, использующийся для взаимодействия данного узла с другими сетевыми узлами.

Комбинированное виртуальное соединение (Soft-Permanent Virtual Connection, soft-PVC) - виртуальное соединение между сетевыми окончаниями, сочетающее постоянное и коммутируемое соединения, когда на интерфейсе UNI устанавливается постоянное соединение, а между узлами транспортной сети ATM с помощью протоколов межузловой сигнализации - коммутируемое.

Коммутатор (Switch) ATM - аппаратура ATM, обрабатывающая информационные потоки и обеспечивающая переключение входящих/исходящих потоков под управлением информации сигнализации.

Коммутируемое виртуальное соединение (Switched Virtual Connection, SVC) - виртуальное соединение между сетевыми окончаниями, устанавливаемое динамически по запросу пользователя с помощью протоколов сигнализации.

Коммутируемый режим (switch (on-demand) mode) услуги переноса - режим функции переноса, позволяющий абоненту с помощью процедур сигнализации устанавливать, изменять или освобождать соединения сети ATM, определяя при этом все параметры, их характеризующие.

Коэффициент ошибочных ячеек (Cell Error Ratio, CER) - параметр качества услуги, определяющий отношение количества принятых ячеек с ошибками (ошибка в поле полезной нагрузки ячейки) к общему количеству ячеек, принятых с ошибками и без них.

Коэффициент пораженных блоков (Severely-Errored Cell Block Ratio, SECBR) - параметр качества услуги, определяющий отношение количества принятых с ошибками блоков ячеек к общему числу переданных блоков ячеек. Под блоком ячеек понимается последовательность ячеек пользователя, передаваемых или принимаемых между двумя соседними ячейками административного и эксплуатационно-технического обслуживания.

Коэффициент потерь ячеек (Cell Loss Ratio, CLR) - параметр качества услуги, определяющий отношение количества потерянных ячеек к переданным.

Максимальная длина пачки ячеек (Maximum Burst Size, MBS) - параметр трафика, определяющий максимальное число ячеек, которое может быть передано с пиковой скоростью передачи ячеек.

Минимальная скорость передачи ячеек (Minimum Cell Rate, MCR) - параметр трафика, определяющий скорость, с которой источник может передавать информацию.

Мультиплексор (Multiplexer on-demand) ATM, обрабатывающий запросы на установление соединения, мультиплексор ATM II типа - аппаратура ATM, объединяющая несколько входящих информационных потоков в один исходящий групповой поток и обеспечивающая установление соединения в соответствии с запросом информации сигнализации.

Мультиплексор (Multiplexer) ATM, мультиплексор ATM I типа - аппаратура ATM, объединяющая несколько входящих информационных потоков в один исходящий групповой поток.

Неспецифицированная скорость передачи (Unspecified Bit Rate, UBR) - категория услуги переноса, которая для передаваемого информационного потока не гарантирует качество услуги.

Оконечное оборудование пользователя (Customer Premises Equipment) - техническое средство формирования сигналов электросвязи, подключаемое к оконечному узлу транспортной сети ATM и предназначенное для передачи или приема заданной пользователем информации.

Отклонение времени задержки переноса ячеек (Cell Delay Variation, CDV) - параметр качества услуги, определяющий отклонение времени задержки переноса между ячейками ATM.

Переменная скорость передачи без режима реального времени (Non real time Variable Bit Rate, nrt-VBR) - категория услуги переноса, которая обеспечивает для информационного потока динамическое изменение скорости передачи (статистическое мультиплексирование) вне режима реального времени.

Переменная скорость передачи в режиме реального времени (Real time Variable Bit Rate, rt-VBR) - категория услуги переноса, которая обеспечивает для информационного потока динамическое изменение скорости передачи (статистическое мультиплексирование) и возможность передачи его в режиме реального времени.

Перенос блока ATM с задержкой передачи (ATM Block Transfer with Delayed Transmission, ABT/DT) - категория услуги переноса, которая обеспечивает для блока информации протокола ATM динамическое изменение скорости передачи (статистическое мультиплексирование), используя обратную связь, и передачу его вне режима реального времени.

Перенос блока ATM с немедленной передачей (ATM Block Transfer with Immediate Transmission, ABT/IT) - категория услуги переноса, которая обеспечивает динамическое изменение скорости передачи (статистическое мультиплексирование) для блока информации протокола ATM и передачу информационного потока в режиме реального времени.

Пиковая скорость передачи ячеек (Peak Cell Rate, PCR) - параметр трафика, определяющий скорость передачи, который сеть обеспечивает в зависимости от категории услуги переноса и требований к качеству.

Поддерживаемая скорость передачи ячеек (Sustainable Cell Rate, SCR) - параметр трафика, определяющий наибольшее значение средней скорости передачи, которая всегда меньше или равна пиковой скорости передачи ячеек.

Полупостоянное виртуальное соединение (semi-Permanent Virtual Connection, semi-PVC) - виртуальное соединение между сетевыми окончаниями, конфигурируемое и устанавливаемое с помощью процедур административного управления в соответствии с параметрами, заранее заданными абонентом.

Постоянная скорость передачи (Constant Bit Rate, CBR) - категория услуги переноса, которая обеспечивает для информационного потока постоянную скорость передачи в режиме реального времени.

Постоянное виртуальное соединение (Permanent Virtual Connection, PVC) - виртуальное соединение между сетевыми окончаниями, конфигурируемое и устанавливаемое со стороны системы управления в соответствии с параметрами, заранее заданными абонентом.

Постоянный режим (permanent mode) услуги переноса - режим услуги переноса, при котором соединение сети ATM конфигурируется и устанавливается со стороны системы управления сетью в соответствии с параметрами, заранее заданными абонентом.

Сетевое окончание (Network termination) - оконечная точка сети связи, определяющая границу сети и зону ответственности оператора.

Сетевой узел (Network node) ATM - комплекс технических средств, реализующих функции протокола ATM и функции мультиплексирования/демультиплексирования, концентрации, кроссового переключения или коммутации.

Скорость передачи ячеек, принятых не по адресу назначения (Cell Misinsertion Rate, CMR) - параметр качества услуги, определяющий количество ячеек, принимаемых не по адресу назначения (т.е. тех ячеек, которые отсутствуют на передаче), в единицу времени.

Статистическая скорость передачи (Statistic Bit Rate, SBR) - категория услуги переноса, которая обеспечивает для информационного потока динамическое изменение скорости передачи (статистическое мультиплексирование) и возможность передачи его в режиме реального времени.

Транспортная сеть ATM (ATM transport network) - это универсальная транспортная сеть электросвязи, использующая технологию асинхронного режима переноса, которая может сочетать в себе функции первичной и вторичной сетей и предназначена для предоставления услуг передачи различных типов информации с гарантией качества услуги для всех установленных соединений в соответствии с параметрами и классом QoS, заданными пользователем.

Уровень ATM (ATM layer) - уровень базовой эталонной модели протоколов ATM, обеспечивающий передачу ячеек ATM по установленным логическим соединениям виртуальных каналов и трактов.

Уровень адаптации ATM (ATM Adaptation Layer, AAL) - уровень базовой эталонной модели протоколов ATM, обеспечивающий преобразование информации пользователя (речь, видеоинформация, данные и т.д.) в ячейки ATM в соответствии с типом конкретной услуги.

Физический уровень (physical layer) - уровень базовой эталонной модели протоколов ATM, обеспечивающий передачу ячеек ATM в соответствии с типом физической среды.

Функция взаимодействия (interworking function) - функция, реализуемая аппаратурой и обеспечивающая взаимодействие аппаратуры, работающей по различным протоколам. Функция взаимодействия включает функции уровня AAL.

Функция переноса (Bearer Service) сети ATM - базовая функция сети ATM, обеспечивающая прозрачную передачу потоков информации пользователя в соответствии с протоколом асинхронного режима переноса между двумя или несколькими сетевыми окончаниями с гарантированным качеством. Служба переноса может включать в свой состав функцию взаимодействия.

Функция переноса, не ориентированная на соединение (Connectionless Data Bearer Service) - услуга базовой функции сети ATM, предназначенная для передачи информации пользователя с использованием протоколов, не предполагающих установление соединения (таких как IP, Ethernet, Token Ring). При этом услуга обеспечивает распределение потоков информации пользователя по соединениям сети ATM.

Функция переноса, ориентированная на соединение (Connection-Oriented Bearer Service) - услуга базовой службы сети ATM, предназначенная для передачи информации пользователя с использованием протоколов, предполагающих установление соединения (таких как ATM, Frame Relay, Х.25, SNA) или синхронных цифровых каналов ЦСИС и ТФОП. При этом услуга обеспечивает отображение соединений протоколов пользователя в соединения сети ATM.

3.5 Определения к разделу 9

MPEG 1 - 4 - стандарты сжатия изображений и звука, разработанные экспертами MPEG.

Маршрутизатор пакетов IP - аппаратура, осуществляющая выбор маршрута для передачи пакетов IP на основании адресов источника и получателя, указанных в адресном поле заголовка пакета IP.

Многопротокольная коммутация с использованием меток (Multiprotocol Label Switching, MPLS) - протокол, позволяющий распознавать потоки пакетов с одинаковым маршрутом и присваивать им метки, с помощью которых эти пакеты коммутируются в сетевых узлах без полного раскрытия заголовка, что ускоряет и упрощает обработку пакетов в промежуточных узлах. Совмещает протоколы маршрутизации и коммутации с протоколами организации виртуальных сетей. Может поддерживать на уровне IP различные уровни услуг, например, гарантированную задержку или обеспечение постоянной скорости передачи.

Пакет IP - основная единица передачи в сети IP - информационный блок переменной длины (IP - дейтаграмма). Максимальная длина блока - 65535 байтов. Пакет IP содержит адреса источника и получателя, поля, определяющие длину дейтаграммы, контрольную сумму заголовка, флаги и данные.

Простой протокол сетевого управления (Simple Network Management Protocol, SNMP) - протокол стека TCP/IP. Используется для управления сетевыми элементами.

Протокол «Дифференцированное обслуживание» (Differentiated Services, DiffServ) - протокол, разделяющий общий трафик на группы, которым предоставляются различные характеристики качества (скорость передачи, задержка пакетов, потеря пакетов и т.п.).

Протокол внешнего шлюза (Exterior Gateway Protocol, EGP) - протокол внешней маршрутизации, реализующий обмен маршрутной информацией между маршрутизаторами разных сетей.

Протокол Интернет (Protocol Internet, IP) - протокол сетевого уровня стека TCP/IP, поддерживающий основные механизмы передачи пакетов.

Протокол маршрутной информации (Routing Information Protocol, RIP) - протокол маршрутизации, реализующей обмен маршрутной информацией для малых сетей.

Протокол первоочередного открытия кратчайшего маршрута (Open Shortest-Path First, OSPF) - протокол динамической маршрутизации, обеспечивающий передачу пакетов по оптимальному маршруту. Применяется для больших сетей.

Протокол пограничного шлюза (Border Gateway Protocol, BGP) - усовершенствованный протокол внешней маршрутизации, реализующий обмен маршрутной информацией между маршрутизаторами разных сетей.

Протокол пользовательских дейтаграмм (User Datagram Protocol, UDP) - протокол транспортного уровня стека TCP/IP, обеспечивающий передачу информации пользователя без подтверждения о приеме.

Протокол преобразования адреса (Address Resolution Protocol, ARP) - протокол, обеспечивающий динамическое преобразование адреса физического устройства в адрес IP.

Протокол реального времени (Real Time Protocol, RTP) - один из протоколов ТСР/СР, определяющий формат и процедуру передачи пакетов по сети в режиме реального времени.

Протокол резервирования ресурсов (ReSerVation Protocol, RSVP) - протокол, осуществляющий резервирование и управление ресурсами сети для качества услуги, обеспечения скорости передачи, затребованной пользователем.

Протокол «точка-точка» (The Point-to-Point Protocol) - протокол маршрутизации для непосредственного обмена сообщениями между двумя пунктами («точка-точка»).

Протокол управления передачей (Transport Control Protocol, TCP) - протокол транспортного уровня стека TCP/IP, обеспечивающий передачу информации пользователя с подтверждением о приеме.

Протокол управления сообщениями в сети Интернет (Internet Control Message Protocol, CMP) - протокол стека TCP/IP, управляющий передачей сообщений об ошибках при обработке пакетов IP, а также сообщений о состоянии сетевых узлов.

Протокол управления шлюзами (Media Gateway Control Protocol, MGCP) - один из протоколов, описывающий последовательность процедур для установления соединения между шлюзами.

Протокол Мегако (Megaco Protocol) - один из протоколов, описывающий последовательность процедур для установления соединения между шлюзами.

Протокол установления сеанса (Session Initiation Protocol, SIP) - один из протоколов, описывающий последовательность процедур для установления соединения между шлюзами.

Система имен доменов (Domain Name System, DNS) - система, устанавливающая однозначное соответствие между IP-адресом и символьным именем.

Шлюз (gateway) - аппаратура, осуществляющая межсетевое взаимодействие.

Шлюзовой маршрутизатор пакетов IР (gateway router) - маршрутизатор пакетов IP, выполняющий одновременно функции шлюза.

4 Обозначения и сокращения

АСУ              Автоматизированная система управления

ВСС              Взаимоувязанная сеть связи

МВВ              Мультиплексор ввода-вывода

МСЭ-Т          Сектор стандартизации электросвязи Международного союза Электросвязи

ОКК              Оптический канал контроля

ОМ                Оконечный мультиплексор

ОМВВ           Оптический мультиплексор ввода-вывода

ООМ             Оптический оконечный мультиплексор

ПЦИ              Плезиохронная цифровая иерархия

СДОП           Сеть данных общего пользования

СУ                 Система Управления

СЦИ              Синхронная цифровая иерархия

ТСС               Тактовая сетевая синхронизация

ТФОП           Телефонная сеть общего пользования

ЦСИС           Цифровая сеть с интеграцией служб

ЭКУ              Элементарный кабельный участок

ADM             Add Drop Multiplexer (мультиплексор ввода-вывода)

ARP               Address Resolution Protocol (протокол преобразования адреса)

ATM              Asynchronous Transfer Mode (асинхронный режим переноса)

AU                 Administrative Unit (административный блок)

AUG              Administrative Unit Group (группа административных блоков)

BGP               Border Gateway Protocol (протокол пограничного шлюза)

B-ICI             Broadband Inter-Carrier Interface (широкополосный интерфейс взаимодействия операторов)

B-ISUP          Broadband Integrated Service User Part (подсистема пользователя широкополосной сети с интеграцией служб)

С                    Container (контейнер)

CAS               Channel Associative Signalling (поканальная сигнализация)

CBR              Constant Bit Rate (постоянная скорость передачи)

CCR              Chargeable Cell Rate (подлежащая оплате скорость передачи)

CCS               Common Channel Signalling (сигнализация по общему каналу)

CTD               Cell Transfer Delay (задержка переноса ячеек)

DBR              Deterministic Bit Rate (детерминированная скорость передачи)

DiffServ        Differentiated Services (протокол «дифференцированное обслуживание»)

DNS              Domain Name System (система имен доменов)

DSS               Digital Subscriber Signalling (цифровая абонентская сигнализация)

EGP               Exterior Gateway Protocol - протокол внешнего шлюза

ЕМ                 Element Manager (АСУ сетевых элементов)

ETSI              European Telecommunication Standards Institute (Европейский институт стандартов по электросвязи)

ICMP             Internet Control Message Protocol (протокол управления сообщениями в сети Интернет)

IETF              Internet Engineering Task Force (Группа Инженерной Поддержки Интернет)

IP                   Internet Protocol (протокол Интернет)

Ipv.4              Internet Protocol version 4 (протокол IP 4-ой версии)

Ipv.6              Internet Protocol version 6 (протокол IР 6-ой версии)

ISUP              Integrated Service User Part (подсистема пользователя широкополосной сети с интеграцией служб)

MGCP           Media Gateway Control Protocol (Протокол управления шлюзами)

MPEG           Motion Pictures Experts Group (Экспертная группа по вопросам движущихся изображений)

MPLS            Multiprotocol Label Switching (многопротокольная коммутация с использованием меток)

MSOH           Multiplex Section Overhead (заголовок мультиплексной секции)

MSP               Multiplex Section Protection (резервирование мультиплексных секций)

MS SPRing    Multiplex Section Spare Protection (посекционное кольцевое резервирование)

Mux/Demux  Multiplexer/Demultiplexer (мультиплексор/демультиплексор)

NM                Network manager (АСУ на сетевом уровне)

NNI               Network-Network Interface (интерфейс сеть-сеть)

Nrt-VBR       Non real time Variable Bit Rate (переменная скорость передачи без режима реального времени)

OADM          Optical ADD/DROP Multiplexer (оптический мультиплексор ввода-вывода)

ONE              Optical Network Element (оптический сетевой элемент)

OSC               Optical Supervisory Channel (выделенный оптический канал контроля)

OSPF             Open Shortest-Path First (первоочередное открытие кратчайших маршрутов)

ОТМ              Optical Terminal Multiplexer (оптический оконечный мультиплексор)

OTN              Optical Transport Network (оптическая транспортная сеть)

ОХС              Optical Cross-connector (оптический кросс-соединитель)

PCR               Peak Cell Rate (пиковая скорость передачи ячеек)

PNNI             Private Network-to-Network Interface (интерфейс сеть-сеть для частных сетей)

РОН              Path Overhead (заголовок тракта)

PVC               Permanent Virtual Connection (постоянное виртуальное соединение)

QoS               Quality of Service (качество услуги)

RAS               Remote access servers (сервер, с помощью которого абоненты (пользователи) подключаются к сети IP)

RFC               Reference for Comments (Стандарт IETF)

RIP                Routing Information Protocol (протокол маршрутной информации)

RSOH            Regenerator Section Overhead (заголовок секции регенерации)

RSVP            ReSerVation Protocol (протокол резервирования ресурсов)

RTP               Real Time Protocol (протокол реального времени)

Rt-VBR         Real time Variable Bit Rate (переменная скорость передачи в режиме реального времени)

SBR               Statistic Bit Rate (статистическая скорость передачи)

SCR               Sustainable Cell Rate (поддерживаемая скорость передачи ячеек)

SDH              Synchronous Digital Hierarchy (синхронная цифровая иерархия)

Semi-PVC     Semi-Permanent Virtual Connection (полупостоянное виртуальное соединение)

SIP                 Session Initiation Protocol (протокол установления сеанса)

SNMP            Simple Network Management Protocol (протокол управления сетевыми элементами)

SNCP            Subnetwork Connection Protection (резервирование соединений по сети)

Soft-PVC      Soft-Permanent Virtual Connection (программируемое постоянное виртуальное соединение)

SOH              Section Overhead (секционный заголовок)

SPC               Semi-Permanent Connection (полупостоянное соединение)

SRTS             Synchronous Residual Time Stamp (синхронная метка временного остатка)

STM               Synchronous Transfer Mode (синхронный режим переноса)

STM-N          Synchronous Transport Module-N (синхронный транспортный модуль)

SVC               Switched Virtual Connection (коммутируемое виртуальное соединение)

TCM              Tandem Connection Monitoring (контроль последовательных соединений)

TCP/IP           Transport Control Protocol/Internet Protocol (основной стек протоколов Интернет).

ТМ                 Terminal Multiplexer (оконечный мультиплексор)

TMN              Telecommunications Management Network (сеть управления сетью электросвязи)

TU-n              Tributary (компонентный блок-n)

TUG              Tributary Unit Group (группа компонентных блоков)

UDP              User Data Protocol (протокол пользовательских дейтаграмм)

UNI               User Network Interface (интерфейс пользователь-сеть)

VBR              Variable Bit Rate (переменная скорость передачи)

VC                 Virtual Channel (виртуальный канал)

VCI               Virtual Channel Identifier (идентификатор виртуального канала)

VC-n              Virtual Container-n (виртуальный контейнер порядка n)

VP                 Virtual Path (виртуальный тракт)

VPCI             Virtual Path Connection Identifier (идентификатор соединения виртуального тракта)

VPI                Virtual Path Identifier (идентификатор виртуального тракта)

VPC               Virtual Path Connection (соединение виртуального тракта)

VCC              Virtual Channel Connection (соединение виртуального канала)

WDM            Wavelength Division Multiplexing (оптическое спектральное разделение)

5 Общие положения

5.1 Основой ВСС РФ должна быть цифровая транспортная сеть.

5.2 Цифровая транспортная сеть, представленная на рисунке 5.1, должна базироваться на технологиях OTN, STM, ATM и IP. Эти технологии могут применяться как в совокупности, так и отдельно.

На первых этапах развития транспортной сети для создания слоя оптических каналов должна применяться технология WDM. По мере развития слоя оптических каналов помимо технологии WDM будет внедряться и технология OTN [1, 2].

Характерными отличительными признаками технологий, используемых в транспортной сети, являются:

- OTN (WDM) - высокие скорости передачи оптических сигналов за счет реализации потенциальной пропускной способности оптического волокна, а также прозрачность оптических каналов;

- STM - живучесть сетей, образованных на базе данной технологии, за счет использования развитых средств сетевого и аппаратурного резервирования, а также развитые системы АСУ различного уровня;

- ATM - универсальность транспортной функции и гарантированное качество для различных служб, а также реализация потенциальных ресурсов сети;

- IP - универсальность, экономичность технических решений, возможность доведения сигнала, сформированного в соответствии с протоколами IP, до каждого абонента.

5.3 Технологии OTN (WDM), STM, ATM и IР могут применяться самостоятельно или в виде цепочек.

5.4 Цепочки технологий:

- SIM - WDM,

- ATM - STM - WDM;

- ATM - WDM;

- IP - ATM - STM - WDM;

- IP - STM - WDM;

- IP - WDM

образуются на транспортной сети в зависимости от экономических и потребительских факторов. Цепочки технологий представлены на рисунке 5.2.

Примечания

1 Цепочка IP-WDM означает, например, «технология IР поверх технологии WDM».

2 Технология, стоящая в цепочке слева, является технологией высшего уровня по отношению к технологии, находящейся справа.

5.5 На современном этапе развития транспортной сети на разветвленных и протяженных участках рекомендуется применять технологию STM между технологией WDM и технологиями ATM и IP. По мере развития технологии OTN снижается необходимость применения промежуточной технологии STM.

На сетях, малых по протяженности, не оснащенных аппаратурой STM и WDM, допускается работа систем ATM и IP непосредственно по оптическому волокну.

5.6 При создании участков транспортной сети следует применять цепочки технологий, реализуемых на данных участках, таким образом, чтобы обеспечить дальнейшее развитие транспортной сети без остановки связи и замены существующего оборудования.

5.7 При резервировании подсетей, использующих цепочки технологий, необходимо обеспечить время переключения на нижнем уровне цепочки значительно меньше, чем время переключения на верхнем уровне.

Например, при использовании подсети с цепочкой технологий STM-WDM и необходимостью резервирования как на уровне SDH, так и на уровне WDM, время переключения на уровне WDM должно быть значительно меньше, чем время переключения на уровне SDH.

5.8 Транспортная сеть разделяется на ряд подсетей, отличающихся как по форме принадлежности к конкретному оператору, так и по технологии, использованной в данной подсети.

5.9 Неотъемлемой частью транспортной сети должна быть АСУ, построенная на принципах TMN в соответствии с [3].

АСУ оператора, использующего на своей сети различные технологии и аппаратуру различных производителей, должна быть построена в соответствии с рисунком 5.3а.

В зависимости от конкретных условий оператора допускается применение более простой АСУ, структурная схема которой представляет фрагмент общей схемы на рисунке 5.3а.

Например, для оператора, имеющего небольшую сеть, построенную на аппаратуре одной фирмы-изготовителя, допускается использование одной СУ СЭ (АСУ на уровне сетевых элементов).

5.10 Взаимодействие АСУ различных операторов должно осуществляться через X-интерфейс [4] в соответствии с рисунком 5.3б. Взаимодействие может осуществляться либо на уровне сетевых элементов (при этом используется Х-интерфейс элементного уровня), либо на сетевом уровне (при этом используется Х-интерфейс сетевого уровня).

Рисунок 5.1

Рисунок 5.2

Рисунок 5.3

6 Применение технологии WDM

6.1 Основные принципы

6.1.1 Системы WDM должны обеспечивать спектральное уплотнение оптического волокна для реализации его высокой пропускной способности.

6.1.2 Для спектрального уплотнения оптического волокна должен использоваться диапазон длин волн, представленный на рисунке 6.1. Суммарная оптическая полоса состоит из двух диапазонов:

- С - диапазон (Conventional Band, C - Band),

- L - диапазон (Long Band, L - Band).

Допускается использование более широкой полосы.

6.1.3 Помимо систем передачи с WDM в зависимости от технико-экономических требований на оптических волокнах образуются одноканальные оптические системы передачи, представленные на рисунке 6.2.

Эти оптические системы передачи образуют прозрачные оптические каналы и предназначены для увеличения участка регенерации систем СЦИ, ATM, IP. Одноканальные системы передачи используются для оборудования двух и более волокон оптического кабеля.

6.1.4 В качестве линейных оптических систем WDM должны использоваться однонаправленные конфигурации, представленные на рисунке 6.3. Допускается использование двунаправленных конфигураций, представленных на рисунке 6.4.

6.1.5 Для контроля и управления элементами оптической сети, а также для служебной связи должен использоваться специальный (выделенный) оптический канал контроля (ОКК, OSC). Длина волны этого канала должна быть 1510 ± 10 нм. Допускается использование для ОКК длин волн 1480 ± 10 нм и 1310 нм.

6.1.6 Взаимодействие сетей WDM различных операторов должно производиться по интерфейсам оптических каналов с применением или без применения транспондеров. При этом совместимость систем АСУ WDM различных операторов не обязательна.

Параметры интерфейсов оптических каналов должны соответствовать требованиям, приведенным в 6.4.5 данного руководящего документа.

6.1.7 Резервирование оптических каналов сети WDM каждого оператора может производиться как за счет резервных оптических каналов данного оператора, так и за счет оптических каналов другого оператора.

Рисунок 6.1

ЭКУ    Элементарный кабельный участок

Пд       Передатчик

Пр       Приемник

       Односторонний оптический усилитель

Рисунок 6.2

      Односторонний усилитель

Пр              Приемник

Пд              Передатчик

Рисунок 6.3

Пд - Передатчик

Пр - Приемник

Рисунок 6.4

Рисунок 6.5

6.2 Аппаратура систем WDM

6.2.1 В системах WDM используются следующие типы аппаратуры:

- оптический мультиплексор/демультиплексор:

а) оконечный;

б) ввода-вывода

- оптический линейный усилитель;

- оптический кросс-соединитель;

- оптический транспондер

Примечание - Оптический усилитель мощности (бустер), оптический предусилитель, устройства компенсации дисперсии, циркулятор, оптический аттенюатор с фиксированным затуханием и т.п. являются оптическими компонентами, входящими в отдельные типы аппаратуры, например, в оптический мультиплексор, оптический кросс-соединитель или транспондер.

6.2.2 Оконечный оптический мультиплексор/демультиплексор должен объединять сигналы различных длин волн для передачи суммарного сигнала по оптическому волокну и производить обратную процедуру на приеме. Он состоит, в общем случае, из пассивного оптического мультиплексора/демультиплексора, усилителя мощности (бустера), устройства компенсации дисперсии и оптических аттенюаторов.

Мультиплексор ввода-вывода должен пропускать насквозь одну часть суммарного оптического сигнала, состоящую из сигналов определенных длин волн, выделять другую часть суммарного оптического сигнала, состоящую из сигналов оставшихся длин волн, и вводить оптические сигналы взамен выделенных на тех же длинах волн. Доля оптической мощности выделенных сигналов в суммарной мощности должна быть равна доле оптической мощности введенных сигналов для каждой длины волны.

Линейный оптический усилитель должен усиливать групповой оптический сигнал для получения требуемой дальности передачи.

Оптический кросс-соединитель осуществляет обмен (перераспределение) сигналов оптических каналов определенных длин волн между портами, несущими мультиплексированный сигнал, под управлением АСУ.

Оптический транспондер должен, при необходимости, обеспечить адаптацию оптических сигналов от источников различных длин волн, имеющих интерфейсы в соответствии с [5, 6], к интерфейсам с нормированной сеткой длин волн WDM, соответствующим [7]. Кроме того, оптический транспондер может обеспечивать преобразование длины волны оптического сигнала, соответствующей нормированной сетке WDM, в другую длину волны, также соответствующей нормированной сетке длин волн.

6.3 Сетевые конфигурации WDM

6.3.1 На ВСС РФ в зависимости от применений используются следующие сетевые конфигурации WDM:

- точка-точка - рисунки 6.3, 6.4;

- линейная цепь с вводом-выводом - рисунок 6.5;

- оптическое кольцо - рисунок 6.6;

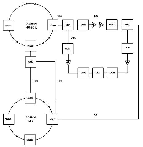
- связанные оптические кольца - рисунок 6.7;

- смешанные структуры - рисунок 6.8.

6.3.2 Для ввода сигналов STM, ATM и IP в оптические каналы при необходимости используются оптические транспондеры с целью согласования интерфейсов по [5, 6] («серые» интерфейсы) с интерфейсами по [7] («цветные» интерфейсы) - рисунок 6.9.

6.3.3 Для регенерации формы сигнала с целью увеличения дальности передачи в оптических каналах систем WDM используются регенераторы или оптические транспондеры (рисунок 6.10). При использовании чисто оптических регенераторов, которые в дальнейшем будут внедрены на сети, прозрачность оптических каналов сохраняется. При использовании комбинированных регенераторов (состоящих из оптических мультиплексора/демультиплексора и электрического регенератора) оптический канал разрывается.

6.3.4 Сетевые конфигурации должны быть рассчитаны с учетом запаса по бюджету мощности для последующего развития, в частности, для увеличения скорости передачи оптических сигналов, установки дополнительных устройств ввода-вывода, установки устройств для компенсации дисперсии и т.п.

6.4 Основные параметры систем WDM

6.4.1 Оптические каналы систем WDM должны обеспечить передачу сигналов до скоростей 9953280 или 39813120 кбит/с.

6.4.2 Индивидуальные оптические каналы с расстоянием между ними 50, 100 ГГц или больше должны иметь центральные частоты в соответствии с равномерной сеткой, определенной в приложении А к [7]. При использовании оптических волокон, соответствующих [8, 9], центральные частоты должны быть выбраны в соответствии с приложением III к [7]. При использовании оптических волокон, соответствующих [10], центральные частоты должны быть выбраны в соответствии с приложением IV к [7]. Для оптического волокна по [10] допускается использование сетки центральных частот с неравномерным расстоянием между индивидуальными каналами в соответствии с приложением V к [7].

На дальнейших этапах развития транспортной сети возможно применение сетки частот оптических каналов с расстоянием между ними 25 ГГц.

Рисунок 6.6

Рисунок 6.7

OMBB - оптический мультиплексор ввода/вывода

ООМ - оптический оконечный мультиплексор

ОКК - оптический кросс-коннектор

 - двусторонний усилитель

Рисунок 6.8

Tp - оптический транспондер

Рисунок 6.9

Рисунок 6.10

6.4.3 Системы WDM без промежуточных оптических усилителей в зависимости от кодов применения [7] должны обеспечивать градации перекрываемого затухания (дальности) основного оптического тракта, приведенные в таблице 6.1.

Таблица 6.1

Затухание, дБ

22

33

44

Дальность, км

80

120

160

Примечания

1 Значения перекрываемого затухания не являются нормой, а приведены для классификации.

2 Значения дальности зависят от примененного оптического волокна и приведены для ориентировки.

6.4.4 Системы WDM с промежуточными оптическими усилителями в зависимости от кодов применения [7] должны обеспечивать градации затухания (дальности), показанные в таблице 6.2.

Таблица 6.2

Затухание, дБ

22 ´ n

33 ´ n

Дальность, км

80 ´ n

120 ´ n

Примечания

1 Значения перекрываемого затухания не являются нормой, а приведены для классификации

2 Значения дальности зависят от примененного оптического волокна и приведены для ориентировки.

Число оптических участков для системы WDM с промежуточными оптическими усилителями связано со значением перекрываемого затухания участка. При увеличении числа участков значение перекрываемого затухания уменьшается.

6.4.5 Оптические интерфейсы систем WDM должны соответствовать таблице 7 [7].

6.5 Оптическое резервирование в системах WDM

6.5.1 В системах WDM применяются следующие виды резервирования:

- сетевое резервирование:

а) резервирование оптических секций мультиплексирования;

б) резервирование оптических каналов;

- аппаратурное резервирование

а) резервирование блоков аппаратуры.

6.5.2 Резервирование оптических мультиплексных секций должно выполняться на линейном уровне - рисунок 6.11.

Кольцевое резервирование оптических каналов выполняется на основе двухволоконного кольца, в одном волокне которого сигналы распространяются по часовой стрелке, а в другом - против - рисунок 6.12. Сигнал индивидуального оптического канала (определенной длины волны) вводится в оба направления передачи в пункте передачи. В пункте приема оптический сигнал выделяется как из первого, так и из второго направления и при пропадании основного сигнала происходит переключение на резерв. Основной оптический канал должен выбираться по принципу минимальной длины.

6.5.3 Время переключения при сетевом резервировании в системах WDM должно обеспечиваться с учетом требований, изложенных в 5.7.

6.6 Транспортные услуги WDM

6.6 1 Системы WDM должны предоставлять потребителям оптические каналы для:

- передачи сигналов СЦИ и ПЦИ;

- передачи ячеек ATM;

- передачи пакетов IP;

- передачи и распределения сигналов цифрового телевидения.

6.6.2 Услуги систем WDM должны предоставляться либо непосредственно, либо через адаптирующие устройства (оптические транспондеры).

 - Усилитель основного тракта

 - Усилитель резервного тракта

 - Оптический переключатель

 - Пассивный объединитель/разделитель оптических каналов

Рисунок 6.11

Рисунок 6.12

7 Применение технологии STM

7.1 Основные принципы

7.1.1 Синхронный режим переноса [11] обеспечивает передачу по оптическому волокну синхронных транспортных модулей STM-N, представляющих собой набор иерархических структур, полученных с помощью мультиплексирования базовых STM-1.

7.1.2 Синхронный режим переноса в транспортной сети с коммутацией каналов обеспечивает адаптацию сигналов ПЦИ к слою OTN/WDM.

7.1.3 Синхронный режим переноса в транспортной сети с коммутацией пакетов обеспечивает адаптацию слоя ATM и IP к слою OTN/WDM.

7.1.4 Системы передачи СЦИ, основанные на технологии STM, должны обеспечить перенос сигналов тактовой сетевой синхронизации ТСС.

7.1.5 Архитектура транспортных сетей СЦИ должна соответствовать [12], функциональные характеристики аппаратуры СЦИ - [13].

7.1.6 Взаимодействие между сетями СЦИ различных операторов должно осуществляться:

- по интерфейсам ПЦИ;

- по интерфейсам STM-N.

Взаимодействие по интерфейсам ПЦИ не требует совместимости АСУ различных операторов. Взаимодействие по интерфейсам СЦИ требует совместимости АСУ различных операторов.

7.1.7 Взаимодействие с сетями СЦИ зарубежных операторов должно осуществляться:

- по интерфейсам ПЦИ;

- по интерфейсам STM-N.

Взаимодействие по интерфейсам ПЦИ не требует совместимости АСУ различных операторов. Взаимодействие по интерфейсам СЦИ требует совместимости АСУ различных операторов.

7.1.8 Резервирование трактов систем СЦИ каждого оператора производится как за счет резервных трактов данного оператора, так и за счет резервных трактов другого оператора.

7.1.9 Системы передачи СЦИ в соответствии с [14, 15] должны обеспечить:

- тракты нижнего ранга виртуальных контейнеров VC-12, VC-2, VC-3;

- тракты высшего ранга виртуального контейнера VC-4;

- мультиплексные секции;

- регенерационные секции.

7.2 Аппаратура СЦИ

7.2.1 На транспортной сети STM применяются следующие типы аппаратуры СЦИ:

- мультиплексор СЦИ:

а) оконечный;

б) ввода-вывода;

- автономный кросс-соединитель;

- регенератор.

7.2.2 Мультиплексор СЦИ в зависимости от назначения должен иметь компонентные порты ПЦИ, СЦИ, ATM или IР и агрегатные порты СЦИ.

Мультиплексор ввода-вывода при отсутствии резервирования имеет два агрегатных порта (Запад и Восток). МВВ позволяет вводить и выделять сигналы в/из любого агрегатного порта из/в любые компонентные порты, а также осуществлять передачу цифровых сигналов из одного агрегатного порта в другой.

Оконечный мультиплексор при отсутствии резервирования имеет один агрегатный порт. В качестве опции ОМ позволяет вводить сигналы из любого компонентного порта в агрегатный и выделять сигналы из любого агрегатного порта в компонентный порт.

Автономный кросс-соединитель осуществляет обработку информационных потоков на своих портах STM-N с целью создания перекрестных соединений входящих и исходящих трактов виртуальных контейнеров или сцепок виртуальных контейнеров.

Регенератор осуществляет восстановление формы, амплитуды и временных положений цифрового сигнала для увеличения дальности передачи.

7.2.3 Интерфейсы ПЦИ аппаратуры СЦИ должны соответствовать [16] и ГОСТ 26886.

Интерфейсы СЦИ аппаратуры СЦИ должны соответствовать [5, 6, 7] и ОСТ 45.104.

Интерфейсы ATM аппаратуры СЦИ должны соответствовать разделу 8 данного руководящего документа.

Интерфейсы IР аппаратуры СЦИ должны соответствовать разделу 9 данного руководящего документа.

7.3 Сетевые конфигурации СЦИ

7.3.1 На сети ВСС РФ должны использоваться сетевые конфигурации СЦИ:

- точка-точка - рисунок 7.1;

- линейная цепь с вводом-выводом - рисунок 7.2;

- оптические кольца - рисунок 7.3;

- смешанные структуры - рисунок 7.4.

Рисунок 7.1

Рисунок 7.2

Рисунок 7.3

Рисунок 7.4

7.3.2 Указанные в 7.3.1 первые три сетевые конфигурации должны быть, как правило, построены на аппаратуре одной фирмы-производителя и управляться одной СУ элементного уровня той же фирмы. В смешанных структурах, построенных на аппаратуре различных фирм-производителей, допускается управление от нескольких СУ в соответствии с 5.7 и 5.8.

7.4 Автоматическое резервирование в системах СЦИ

7.4.1 В системах с синхронным режимом переноса в зависимости от требований надежности используются следующие виды автоматического сетевого резервирования [17]:

- резервирование в линейных структурах:

а) MSP-резервирование мультиплексных секций;

б) плоское кольцо;

- резервирование соединений подсети SNCP:

а) общий случай;

б) кольцевое резервирование;

- посекционное кольцевое резервирование MS SPRing:

а) двухволоконное;

б) четырехволоконное;

- резервирование в связанных кольцах.

7.4.2 В системах СЦИ применяется аппаратурное резервирование (резервирование блоков аппаратуры).

7.4.3 В системах автоматического резервирования при использовании STM совместно с WDM допускается применение оптических каналов различных длин волн в одном волокне вместо различных волокон.

7.5 Транспортные услуги сетей СЦИ

7.5.1 Системы СЦИ предоставляют потребителям каналы для:

- передачи сигналов СЦИ и ПЦИ;

- передачи ячеек ATM;

- передачи пакетов IP;

- передачи и распределения сигналов цифрового телевидения.

7.5.2 Размещение ячеек ATM в виртуальных контейнерах или их сцепках должно удовлетворять [14].

7.5.3 Размещение пакетов IP в виртуальных контейнерах или их сцепках должно удовлетворять [18].

7.6 Качественные показатели секций и трактов СЦИ

7.6.1 На сетях СЦИ должен проводиться непрерывный контроль качественных показателей секций STM-N и трактов VC-n в соответствии с требованиями [19].

При прохождении трактов VC-n по сетям STM различных операторов контроль качественных показателей производится с помощью протокола ТСМ (контроль последовательных соединений). Требования ТСМ для трактов VC-3/VC-4/VC-Xc внутри STM-N должны удовлетворять приложениям С и D [14]. Требования ТСМ для трактов VC-12/VC-2 должны удовлетворять приложению Е [14].

7.6.2 Нормы на показатели ошибок мультиплексных секций STM-N и трактов VC-n должны соответствовать требованиям [19, 20, 21].

7.6.3 Нормы на показатели ошибок и параметры джиттера трактов ПЦИ, образованных в системах СЦИ, должны соответствовать [22].

8 Применение технологии ATM

8.1 Общие принципы

8.1.1 Транспортная сеть, построенная на технологии ATM (РД 45.123), является универсальной транспортной сетью, обеспечивающей предоставление услуг передачи различных типов информации (речь, данные, видео и т.д.).

8.1.2 Сеть ATM гарантирует качество услуги для всех установленных соединений в соответствии с параметрами и классом качества, которые задали пользователи при запросе на соединение.

8.1.3 Транспортная сеть ATM является основой для создания широкополосной цифровой сети связи с интеграцией служб (Ш-ЦСИС).

8.1.4 Транспортная сеть ATM может быть основой для построения мультисервисной сети.

8.1.5 Транспортная сеть ATM должна обеспечивать:

- взаимодействие с другими сетями электросвязи, например, ТФОП и сетями передачи данных (Frame Relay, IP, X.25 и др.);

- взаимодействие с транспортными сетями ATM других операторов,

- взаимодействие с сетями ATM зарубежных операторов.

8.2 Типы аппаратуры ATM

8.2.1 На транспортной сети ATM могут использоваться следующие типы аппаратуры ATM:

- мультиплексор I типа ATM [23], обеспечивающий объединение нескольких входящих информационных потоков протокола ATM в один исходящий групповой поток протокола ATM и обратное действие;

- мультиплексор II типа ATM [23], обеспечивающий кроме мультиплексирования/демультиплексирования потоков ATM установление соединения в соответствии с запросом системы сигнализации;

- аппаратура кроссового переключения ATM [23], обеспечивающая переключение входящих/исходящих потоков в соответствии с маршрутной таблицей, устанавливаемой с помощью системы управления транспортной сетью ATM;

- коммутатор ATM [23], обрабатывающий информационные потоки и обеспечивающий переключение входящих/исходящих потоков в соответствии с информацией сигнализации.

8.2.2 В таблице 8.1 представлены физические интерфейсы, которые используются в аппаратуре ATM.

8.3 Сетевые узлы транспортной сети ATM и их взаимодействие

8.3.1 Для организации соединений на транспортной сети ATM применяются следующие сетевые узлы ATM: оконечные, оконечно-транзитные или транзитные узлы, представленные на рисунке 8.1.

8.3.2 Оконечный узел должен иметь интерфейсы UNI для подключения абонентов к транспортной сети ATM и NNI для взаимодействия с оконечно-транзитными или транзитными узлами сети одного оператора. На оконечном узле может применяться мультиплексор ATM I типа, аппаратура кроссового переключения ATM, мультиплексор ATM II типа или коммутатор ATM. Аппаратура ATM на интерфейсах UNI может поддерживать функции взаимодействия.

8.3.3 Оконечно-транзитный узел должен иметь интерфейсы UNI для подключения абонентов к транспортной сети ATM и NNI для обеспечения взаимодействия с оконечно-транзитными и транзитными узлами ATM сети одного оператора и другими сетями ATM. На оконечно-транзитном узле может применяться аппаратура кроссового переключения ATM, если устанавливаются постоянные соединения, или коммутатор ATM. Аппаратура ATM на интерфейсах UN1 может поддерживать функции взаимодействия.

8.3.4 Транзитный узел должен иметь интерфейсы NNI для взаимодействия с оконечными, оконечно-транзитными и транзитными узлами транспортной сети ATM одного оператора, а также транспортными сетями ATM других операторов и сетями ATM зарубежных операторов. На транзитном узле могут использоваться коммутаторы ATM или аппаратура кроссового переключения ATM, если устанавливаются постоянные соединения ATM.

8.3.5 Для организации соединений между узлами транспортной сети ATM рекомендуется использование трактов STM-N сети СЦИ согласно [24, 14] и каналов WDM.

Таблица 8.1 - Физические интерфейсы аппаратуры ATM

Цифровая иерархия

ПЦИ

СЦИ

Прямая передача ячеек на скоростях СЦИ

Линейная скорость, кбит/с

E1 2048

Е3 34368

STM-1 155520

STM-1 155520

STM-4 622080

STM-16 2488320

155520

155520

622080

Тип линии

Внутристанционная - ВС*

Межстанционная - МС

ВС*

МС

Максимальная длина**

~100 м

~80 км

~100 м

~80 км

Среда передачи

Симм. цепь

Коаксиальный кабель

Оптическое волокно

Коакс. кабель

Оптическое волокно

Тип интерфейса

ГОСТ 26886-86, G.703

ОСТ 45.104-97, G.957

G.703

ETS 300 299

Структура цикла

G.704

G.832, G.751

G.707

Нет

Размещение ячеек ATM

G.804

G.804

G.707

ETS 300 299

* Для внутристанционных применений в системах СЦИ используются секционные заголовки SOH упрощенной функциональности (таблица 6/G.707).

** Длина линии указана примерно - в целях классификации, но не нормирования

 - Оконечно-транзитный узел сети ATM             - Оконечный узел сети ATM

 - Транзитный узел сети ATM                                - Телефонная станция коммутации

Рисунок 8.1 - Структура транспортной сети ATM

Для организации внутристанционных соединений между узлами транспортной сети ATM могут организовываться прямые соединительные линии между соответствующими интерфейсами аппаратуры ATM в формате СЦИ или с прямой передачей ячеек (без создания циклов СЦИ) [25]:

- по коаксиальным кабелям со скоростью передачи 155520 кбит/с;

- по волоконно-оптическим кабелям со скоростью передачи 155520 кбит/с и 626080 кбит/с.

Для организации соединений между оконечным и оконечно-транзитным или транзитным узлами допускается использование трактов Е1 или Е3 систем ПЦИ и СЦИ или организация прямых соединительных линий между соответствующими интерфейсами аппаратуры ATM в формате ПЦИ со скоростью передачи 2048 кбит/с и/или 34368 кбит/с.

8.3.6 На транспортной сети ATM должны использоваться постоянные виртуальные соединения ATM. Допускается использование полупостоянных, комбинированных и коммутируемых виртуальных соединений ATM.

8.3.7 Взаимодействие узлов транспортной сети ATM одного оператора должно осуществляться в соответствии с требованиями протокола ATM для интерфейса NNI [26]. Для организации коммутируемых соединений должна использоваться сигнализация B-ISUP в соответствии с Рекомендациями МСЭ-Т (базовый вызов [27, 28, 29, 30]). Допускается использование сигнализации PNNI версии 1.0 в соответствии со Спецификацией Форума ATM [31]1.

1 На первых этапах создания транспортной сети ATM допускается использование сигнализации PNNI версии 1.0, поскольку выпускаемая в настоящее время аппаратура ATM не поддерживает протокол B-ISUP.

8.3.8 При установлении коммутируемых соединений между узлами транспортной сети ATM с использованием протокола сигнализации B-ISUP выбор маршрута должен осуществляться в соответствии с постоянными маршрутными таблицами (статическая маршрутизация). При использовании сигнализации PNNI могут использоваться динамические таблицы маршрутизации, которые устанавливаются в соответствии с текущим состоянием сети (динамическая маршрутизация).

8.3.9 Взаимодействие узлов транспортной сети ATM, принадлежащих различным операторам, должно осуществляться в соответствии с требованиями протокола ATM для интерфейса NNI, определенными в Рекомендации МСЭ-Т [26]. При этом для организации коммутируемых соединений должна использоваться сигнализация B-ISUP в соответствии с Рекомендациями МСЭ-Т (базовый вызов [27 - 30]). Допускается использовать Спецификации Форума ATM B-ICI версии 1.1 [32] или B-ICI версии 2.0 [33].

8.3.10 Взаимодействие узлов транспортной сети с узлами сетей ATM зарубежных операторов должно осуществляться в соответствии с требованиями протокола ATM для интерфейса NNI, определенными в Рекомендации МСЭ-Т [26]. Для организации коммутируемых соединений должна использоваться сигнализация B-ISUP в соответствии с Рекомендациями МСЭ-Т (базовый вызов [27 - 30]).

8.3.11 Подключение абонентов сети ATM должно осуществляться в точках транспортной сети ATM, реализующих функции сетевого окончания.

8.3.12 Функция сетевого окончания может быть реализована в аппаратуре оконечного или оконечно-транзитного узла сети ATM, либо вынесена в аппаратуру, устанавливаемую абонентом.

8.3.13 Сетевое окончание для взаимодействия с оконечным оборудованием пользователя использует интерфейсы следующих типов:

- интерфейс UNI в соответствии с требованиями к протоколу ATM для интерфейса UN1, определенными в Рекомендации МСЭ-Т [26]. Для организации коммутируемых соединений должна использоваться сигнализация DSS2 в соответствии с Рекомендацией МСЭ-Т (базовый вызов [34]). Допускается использование сигнализации в соответствии со Спецификациями Форума ATM UNI 3.1 [35] или 4.0 [36]1,

1 Если подключаемое к сетевому окончанию оборудование использует сигнализацию UNI 3.1/4.0, а в транспортной сети применяется DSS2, то либо подключаемое оборудование, либо сетевой узел, к которому подключается данное оборудование, должны осуществить преобразование сообщений сигнализации UNI 3.1/4.0 в сообщения сигнализации DSS2.

- специализированный интерфейс пользователя, соответствующий стандартному интерфейсу для передачи информации различного вида (например, локальных сетей, сетей Х.25, Frame Relay, ЦСИС, ТФОП и т.п.), реализующий функцию взаимодействия.

8.3.14 Взаимодействие транспортной сети ATM с другими сетями электросвязи осуществляется в точках сетевого окончания:

- UNI в соответствии с требованиями к протоколу ATM для интерфейса UNI, определенными в Рекомендации МСЭ-Т [26]. Для организации коммутируемых соединений должна использоваться сигнализация DSS2 в соответствии с Рекомендацией МСЭ-Т (базовый вызов - [34]). Допускается использование сигнализации в соответствии со Спецификациями Форума ATM UNI 3.1 [35];

- специализированному интерфейсу пользователя, соответствующему стандартному интерфейсу для передачи информации различного вида (например, локальных сетей, сетей X.25, Frame Relay, ЦСИС, ТФОП и т.п.), реализующему функцию взаимодействия.

8.3.15 Интерфейсы и протоколы, используемые при взаимодействии различных узлов транспортной сети ATM, приведены в таблице 8.2.

Таблица 8.2 - Интерфейсы и протоколы, используемые на сети ATM

Взаимодействие сетевых узлов ATM

Интерфейс

Протокол сигнализации ATM

Транзитный узел - транзитный узел сети одного оператора

NNI

B-ISUP или PNNI*

Транзитный узел - оконечно-транзитный узел сети одного оператора

NNI

B-ISUP или PNNI

Транзитный узел - оконечный узел сети одного оператора

NNI

B-ISUP или PNNI

Оконечно-транзитный узел - оконечно-транзитный узел сети одного оператора

NNI

B-ISUP или PNNI

Оконечно-транзитный узел - оконечный узел сети одного оператора

NNI

B-ISUP или PNNI

Транзитный узел - узел сети ATM зарубежного оператора

NNI

B-ISUP

Транзитные узлы транспортных сетей ATM разных операторов

NNI

B-ISUP или B-ICI

Оконечно-транзитный узел сети одного оператора - сетевой узел другой сети ATM

NNI

B-ISUP или B-ICI

Оконечный или оконечно-транзитный узел - абонент

NNI или специализированный интерфейс пользователя

DSS2, UNI 3.1, UNI 4.0, DSS1, OKC № 7

Оконечный или оконечно-транзитный узел - сетевой узел другой сети электросвязи

NNI или специализированный интерфейс пользователя

DSS2, UNI 3.1, UNI 4.0, DSS1, OKC № 7

* На первых этапах создания транспортной сети ATM допускается использование сигнализации PNNI версии 1.0, поскольку выпускаемая в настоящее время аппаратура ATM не поддерживает протокол B-ISUP.

8.4 Транспортные услуги сети ATM

8.4.1 Основными услугами транспортной сети ATM являются услуги переноса.

8.4.2 Услуга переноса сети ATM характеризуется:

- режимом (постоянный, заказной и коммутируемый) [37];

- типом соединения ATM (виртуальный канал и виртуальный тракт;

- конфигурацией соединения ATM (точка-точка, точка-несколько точек;

- категорией услуги переноса (в соответствии с МСЭ-Т DBR, SBR, ABR, ABT, GFR [39] и в соответствии с Форумом ATM CBR, rt-VBR, ABR, UBR, GFR [40]1);

1 На первых этапах создания транспортной сети ATM могут поддерживаться категории услуг переноса в соответствии с [40].

- параметрами трафика (PCR, SCR, MSR, MBS, CDVT) [39, 40];

- классом качества услуги (Quality of Service, QoS) или параметрами качества услуги (CLR, CTD, CDV, CER, CMR, SECBR) [40, 41];

- протоколом уровня адаптации ATM (AAL1 [42], AAL2 [43], AAL3/4 [44], AAL5 [45]).

8.4.3 Транспортная сеть ATM предоставляет услуги переноса для:

- передачи информации, сформированной по протоколу ATM,

- передачи информации, сформированной по протоколу Х.25,

- передачи информации, сформированной по протоколу Frame Relay;

- передачи информации, сформированной по протоколу IP (по классическому IP, по протоколу определения следующего сервера, по протоколу многопротокольной передачи через ATM с помощью сервера определения групповых, по протоколу многопротокольной коммутации меток),

- передачи информации со скоростями Е1, Е3 ТФОП с постоянной скоростью передачи (организация соединительных линий в режиме цифрового синхронного канала без анализа структуры цифрового потока, организация соединительных линий в режиме цифрового синхронного канала с анализом структуры цифрового потока, организация коммутируемых соединительных линий между узлами ТФОП, организация коммутируемых соединительных линий с анализом информации сигнализации сети ТФОП),

- передачи информации со скоростями Е1, Е3 ТФОП с переменной скоростью передачи;

- передачи видеоинформации.

8.5 Сетевые соединения

8.5.1 Виртуальные соединения транспортной сети ATM образуются между сетевыми окончаниями, сетевым окончанием и сетевым узлом, сетевыми узлами [39] - рисунок 8.2.

8.5.2 Виртуальное соединение между сетевыми окончаниями должно обеспечивать взаимодействие пользователей через транспортную сеть ATM. Сетевые узлы ATM передают все ячейки в соответствии с соединением виртуального канала или тракта. При соединении виртуального тракта транспортная сеть ATM должна анализировать категорию услуги переноса, параметры трафика и качества услуги соединений виртуального канала, входящих в тракт. Перечисленные выше параметры учитываются оборудованием пользователя при формировании соединения виртуального тракта (8.5.5).

8.5.3 Виртуальное соединение между сетевым окончанием и сетевым узлом ATM используется для организации доступа пользователей к сетевому узлу. Соединение виртуального тракта в отличие от соединения виртуального канала обеспечивает совместный доступ нескольких пользователей к сетевому узлу. При соединении виртуального тракта транспортная сеть ATM должна анализировать категории услуги переноса, параметры трафика и качества услуги входящих в тракт соединений виртуальных каналов и обеспечивать по возможности их выполнение (8.5.5).

8.5.4 Взаимодействие сетевых узлов ATM с помощью соединения виртуального тракта может использоваться при взаимодействии сетевых узлов по постоянному соединению ATM. Информацию сигнализации, передаваемую по предназначенному для этого виртуальному каналу, на сетевом узле необходимо разделить по соответствующим направлениям приема и передавать в организованном соединении виртуального канала или тракта с идентификатором VCI = 5 и назначенным идентификатором VPI [39].

а) - Соединения виртуального канала между двумя сетевыми окончаниями

б) - Соединения виртуального канала между сетевым окончанием и сетевым узлом ATM

в) - Соединения виртуального канала между сетевыми узлами ATM

г) - Соединения виртуального тракта между двумя сетевыми окончаниями

д) - Соединения виртуального тракта между сетевым окончанием и сетевым узлом ATM

е) - Соединения виртуального тракта между сетевыми узлами ATM

Рисунок 8.2

8.5.5 При мультиплексировании в одно соединение виртуального тракта нескольких соединений виртуального канала параметры соединений виртуального тракта могут задаваться одним из следующих способов [39]:

- мультиплексирование нескольких соединений виртуального канала с различными категориями услуги переноса и/или классами QoS в одно соединение виртуального тракта, например, категория услуги переноса DBR с классом 1 QoS;

- мультиплексирование нескольких соединений виртуального канала с различными категориями услуги переноса и/или классами QoS в одно соединение виртуального тракта, например, ABR VCC и АВТ VCC в SBR VRC;

- мультиплексирование нескольких соединений виртуального канала с одинаковыми категориями услуги переноса и классами QoS в одно соединение виртуального тракта с такой же категорией услуги переноса и требованиями к качеству, например, ABR VCC в ABR VRC;

- эмуляции одной категории услуги переноса с помощью альтернативной категории услуги переноса, например, ABR VCC в SBR VRC.

Количество соединений виртуального канала в одном соединении виртуального тракта определяется производительностью аппаратуры [39].

Значение скорости PCR соединения виртуального тракта не должно превышать суммы PCR всех мультиплексируемых соединений виртуального канала, если предъявляются требования к качеству услуги соединений виртуального канала [39].

Если в соединение виртуального тракта мультиплексируются соединения виртуального канала, имеющие различные требования к качеству услуги, то для соединения виртуального тракта должны быть выбраны класс и параметры QoS наиболее высокие из требований к качеству услуги соединений виртуального канала, входящих в этот тракт [39].

8.6 Адресация

8.6.1 В транспортной сети ATM должна использоваться двухуровневая система адресации согласно [46]. Двухуровневый адрес ATM должен передаваться в соответствующих полях сообщений сигнализации сети ATM.

8.6.2 В качестве первого уровня адресации, определяющего сетевое окончание, в транспортной сети ATM должен использоваться адрес формата Е.164 [47].

8.6.3 В качестве второго уровня адресации, определяющего элементы сети, подключенные к сетевому окончанию транспортной сети ATM, может использоваться любой формат адреса AESA, принятый Форумом ATM: DCC AESA, ICD AESA, E.164 AESA, E.164 AESA, Local AESA [48] или МСЭ-Т.

8.6.4 Сеть ATM должна распознавать все возможные виды форматов адреса AESA и, в случае необходимости, формировать номер формата Е.164 для маршрутизации вызовов через сеть ATM. При передаче адреса AESA сеть ATM общего пользования не должна его изменять.

9 Применение технологии IP

9.1 Общие принципы

9.1.1 Транспортная сеть IP работает по стеку протоколов TCP/IP и является универсальной сетью, обеспечивающей передачу различных типов информационных сигналов (речь, данные, видео и т.д.).

9.1.2 Сеть IP гарантирует качество передачи пакетов с конечной вероятностью.

9.1.3 Транспортная сеть IP может служить основой для построения мультисервисной сети.

9.1.4 Транспортная сеть IP должна обеспечивать:

- взаимодействие с транспортными сетями IP других, в том числе зарубежных, операторов;

- взаимодействие с другими сетями электросвязи, например, с ТФОП и сетями передачи данных.

Структура транспортной сети IP представлена на рисунке 9.1.

9.2 Типы аппаратуры IP

9.2.1 На транспортной сети используются следующие типы аппаратуры IP [49]:

- маршрутизаторы пакетов IP;

- шлюзы;

- шлюзовые маршрутизаторы пакетов IP.

9.2.2 Аппаратура IР может иметь физические интерфейсы:

- последовательный/параллельный RS232, RS449;

- V.35, V.11/X.21, X/28;

- Ethernet 10/100/1000 Мбит/с;

- Е1, Е3 в формате ПЦИ;

- STM-1, STM-4, STM-16 в формате СЦИ.

9.2.3 На канальном уровне интерфейсы аппаратуры IP могут использовать сигналы, сформированные по протоколам ATM и Frame Relay.

9.3 Сетевые узлы транспортной сети IP и их взаимодействие

9.3.1 На транспортной сети IP должны быть образованы сетевые узлы. В качестве аппаратуры сетевых узлов должны использоваться маршрутизаторы, шлюзы или шлюзовые маршрутизаторы [49].

9.3.2 Функции сетевого окончания могут быть реализованы в оборудовании сетевого узла транспортной сети ЕР либо вынесены в оборудование, устанавливаемое у пользователя. В сетевом окончании должны быть реализованы интерфейсы согласно 9.2.2.

Рисунок 9.1 - Транспортная сеть IP

9.3.3 Для обеспечения взаимодействия транспортной сети IP одного оператора с сетями IP других операторов или с сетями других типов, такими как ТФОП, ATM, Х.25, Frame Relay должны использоваться шлюзы или шлюзовые маршрутизаторы пакетов IP.

9.3.4 Для организации соединений между сетевыми узлами транспортной сети IP могут использоваться тракты STM-1, STM-4 и STM-16 СЦИ, тракты ПЦИ Е1 и Е3 систем ПЦИ и СЦИ, оптические каналы, виртуальные соединения ATM, а также прямые соединительные линии между соответствующими интерфейсами аппаратуры IP.

9.3.5 В аппаратуре IP на сетевом уровне должен использоваться протокол Ipv4 [50] или протокол Ipv6 [51, 52, 53].

9.3.6 В аппаратуре IP на транспортном уровне основными протоколами передачи пакетов IP должны быть протоколы TCP [50] и UDP [54].

9.3.7 В аппаратуре IP на канальном уровне обмен сообщениями между маршрутизаторами, соединенными по схеме «точка-точка», может производиться по протоколам РРР (для Ipv4 [55] или для Ipv6 [56]).

9.3.8 Для управления передачей сообщений об ошибках при обработке пакетов IP, а также сообщений о состоянии сетевых узлов должен использоваться протокол IСМР [57].

9.3.9 Для управления сетевыми элементами должен использоваться протокол SNMP [58].

9.3.10 Процедуры маршрутизации пакетов IP должны соответствовать [59]. В зависимости от структуры сети IP для обмена информацией о маршрутах между маршрутизаторами могут использоваться следующие протоколы: OSPF [60]; RIP [61]; EGP [62] и BGP-4 [63].

Протокол OSPF используется в маршрутизаторах на больших сетях.

Протокол RIP используется в маршрутизаторах на малых сетях.

Протокол BGP-4 используется в шлюзовых маршрутизаторах; допускается использование протокола EGP.

9.3.11 Для эффективного использования сетевых ресурсов в маршрутизаторах и в шлюзовых маршрутизаторах могут использоваться протоколы MPLS [64, 65], RSVP [66], DiffServ [67, 68], а также их комбинации MPLS - RSVP [69] и MPLS - DiffServ [70].

9.3.12 Взаимодействие транспортной сети IP с другими сетями и системами должно осуществляться в точках сетевого окончания по следующим протоколам:

- с сетью ТФОП [71];

- с сетью Frame Relay [72];

- с сетью ATM [73, 74];

- передача пакетов IP по сети Ethernet [75];

- передача пакетов по оптическим каналам или оптическим волокнам [76].

9.3.13 Передача различных видов информации по транспортной сети IP должна осуществляться следующим образом:

- передача мультимедийной информации должна осуществляться согласно [77]. Допускается использование протоколов SIP [78], MGCP [79], Megaco [80];

- передача информации в реальном времени должна осуществляться по протоколам RTP согласно [81, 82];

- передача интерактивной телефонной информации VoIP (Voice over IP) должна осуществляться согласно [83, 84, 85];

- передача видеоинформации должна осуществляться по протоколам MPEG согласно [86, 87].

9.4 Транспортные услуги сети IP

9.4.1 Основными транспортными услугами должны быть услуги переноса.

9.4.2 Транспортная сеть IP обеспечивает передачу информации:

- сформированной по протоколу IP;

- передачу информации ТФОП в формате G.704;

- передачу аудио и видеоинформации.

9.5 Адресация в транспортной сети IP

9.5.1 На транспортной сети IP должна использоваться адресация в соответствии с протоколами Ipv4 согласно [49] или Ipv6 согласно [88]. Допускается использование адресации в формате DNS (Domain Name System) согласно [89, 90].

9.5.2 Для преобразования адресов устройств в адреса IP должен использоваться протокол ARP [91]. Обратное преобразование выполняется по протоколу [92].

Приложение А

(справочное)

Библиография

[1]

Рекомендация МСЭ-Т G.872

Архитектурные аспекты оптической транспортной сети (Architecture of optical transport networks). 1999, февраль

[2]

Рекомендация МСЭ-Т G.798

Функциональные характеристики аппаратуры оптической транспортной сети (OTN Equipment functionality characteristics). 2000, февраль

[3]

Рекомендация МСЭ-Т М.3010

Принципы управления сетями электросвязи (Principles for a Telecommunications management network). 2000, февраль

4]

Рекомендация МСЭ-Т М.3320

Структура требований к управлению для Х-интерфейса сети TMN (Management requirements frame for the TMN X-interface). 1997, апрель

[5]

Рекомендация МСЭ-Т G.957

Оптические интерфейсы аппаратуры и систем синхронной цифровой иерархии (Optical interfaces for equipments and systems relating to the synchronous digital hierarchy). 1999, июнь

[6]

Рекомендация МСЭ-Т G.691

Оптические стыки для аппаратуры и систем передачи синхронной цифровой иерархии с оптическими усилителями (Optical interfaces for Single Channel SDH Systems, and STM-64 systems). 2000, октябрь

[7]

Рекомендация МСЭ-Т G.692

Оптические интерфейсы многоканальных систем с оптическими усилителями (Optical interfaces for multichannel Systems with optical amplifiers). 1998, октябрь

[8]

Рекомендация МСЭ-Т G.652

Характеристики одномодовых волоконно-оптических кабелей (Characteristics of a single-mode optical fibre cable). 1997, апрель

[9]

Рекомендация МСЭ-Т G.655

Характеристики волоконно-оптических кабелей с ненулевой дисперсией со сдвигом (Characteristics of a non-zero dispersion shifted single-mode optical fibre cable). 1996, октябрь

[10]

Рекомендация МСЭ-Т G.653

Характеристики одномодовых волоконно-оптических кабелей со сдвигом дисперсии (Characteristics of a dispersion-shifted single-mode optical fibre cable). 1997, апрель

[11]

 

Руководящий технический материал по применению систем и аппаратуры синхронной цифровой иерархии на сети связи Российской Федерации, утвержден решением ГКЭС России 05.03.1994 г.

[12]

Рекомендация МСЭ-Т G.803

Архитектура транспортных сетей на основе синхронной цифровой иерархии (Architectures of transport networks based on the digital hierarchy (SDH). 2000, март

[13]

Рекомендация МСЭ-Т G.783

Характеристики функциональных блоков аппаратуры СЦИ (Characteristics of synchronous digital hierarchy (SDH) equipment functional blocks). 1997, апрель

[14]

Рекомендация МСЭ-Т G.707

Интерфейс сеть-узел для синхронной цифровой иерархии (Network node interface for the digital hierarchy (SDH). 1996, март

[15]

ETS 300 147

Структура мультиплексирования синхронной цифровой иерархии (Synchronous digital hierarchy (SDH) Multiplexing structure). 1997, апрель

[16]

Рекомендация МСЭ-Т G.703

Электрические характеристики иерархических цифровых интерфейсов (Physical/electrical characteristics of hierarchical digital interfaces). 1998, октябрь

[17]

Рекомендация МСЭ-Т G.841

Типы и характеристики сетевого резервирования СЦИ (Types and characteristics of SDH network protection architectures). 1998, октябрь

[18]

Рекомендация МСЭ-Т X.85/Y1321

Технология IP поверх SDH с помощью процедуры LAPS (IP OVER SDH using LAPS). 2001, февраль

[19]

Рекомендация МСЭ-Т М.2101

Нормы на качественные характеристики трактов и секций мультиплексирования СЦИ при вводе в эксплуатацию и в процессе эксплуатации (Performance limits and objectives for bringing-into-service and maintenance of international SDH paths and multiplex sections). 2000, июнь

[20]

Рекомендация МСЭ-Т G.828

Нормы на параметры ошибок международных трактов СЦИ постоянной скорости (Error performance parameters and objectives for international, constant bit rate synchronous digital paths). 2000, март

[21]

Рекомендация МСЭ-Т G.829

Параметры ошибок мультиплексных и регенерационных секций СЦИ (Error performance events for SDH Multiplex and regenerator sections). 2000, март

[22]

 

Нормы на электрические параметры цифровых каналов и трактов магистральной и внутризоновых первичных сетей

[23]

Рекомендация МСЭ-Т I.731

Типы и основные характеристики аппаратуры ATM (Types and general characteristics of ATM equipment). 1996, март

[24]

ETS 300 300

Физические интерфейсы для доступа пользователя к сети, базируемые на синхронной цифровой иерархии (СЦИ) для приложений ЦСИС (Synchronous digital hierarchy (SDH) based user network layer interfaces for B-ISDN applications). 1995, февраль

[25]

ETS 300 299

Базируемые на передаче ячеек физические интерфейсы для приложений Ш-ЦСИС для доступа пользователя к сети (Cell based user network access Physical layer interfaces for B-ISDN applications). 1995, февраль

[26]

Рекомендация МСЭ-Т I.361

Спецификация уровня ATM в сети Ш-ЦСИС (B-ISDN ATM layer specification). 1999, февраль

[27]

Рекомендация МСЭ-Т Q.2761

Функциональное описание подсистемы пользователя Ш-ЦСИС системы сигнализации № 7 (Functional description of the B-ISDN user part (B-ISUP) of signalling system № 7). 1999, декабрь

[28]

Рекомендация МСЭ-Т Q.2762

Общие функции сообщений и сигналов подсистемы пользователя Ш-ЦСИС системы сигнализации № 7 (General Functions of messages and signals of the B-ISDN user part (B-ISUP) of Signalling System № 7). 1999, декабрь

[29]

Рекомендация МСЭ-Т Q.2763

Подсистема пользователя Ш-ЦСИС системы сигнализации № 7-Форматы и коды (Signalling System № 7 B-ISDN user part (B-ISUP)-Formats and codes). 1999, декабрь

[30]

Рекомендация МСЭ-Т Q.2764

Подсистема пользователя Ш-ЦСИС системы сигнализации № 7 - Процедуры базового вызова (Signalling System № 7 User Part (B-ISUP)-Basic call procedures). 1999, декабрь

[31]

Спецификация Форума ATM Af-pnni-0055.000

Интерфейс Сеть-Сеть для Частных сетей Версия 1.0 (Private Network-Network Specification)

[32]

Спецификация Форума ATM af-bici-0013.001

Спецификация Ш-ЦСИС Интерфейса Взаимодействия Операторов Версия 1.1 (BISDN Inter Carrier Interface (B-ICI) Specification Version 1.1). 1994, сентябрь

[33]

Спецификация Форума ATM af-bici-0013.003

Спецификация Ш-ЦСИС Интерфейса Взаимодействия Операторов Версия 2.0 (BISDN Inter Carrier Interface (B-ICI) Specification Version 2.0 (Integrated). 1995, декабрь

[34]

Рекомендация МСЭ-Т Q.2931

Цифровая абонентская система сигнализации № 2 - Спецификация уровня 3 интерфейса пользователь-сеть для управления базовым вызовом/соединением (Digital Subscriber Signalling System No. 2 (DSS 2) - User-Network Interface (UNI) layer 3 specification for basic call/connection control). 1995, февраль

[35]

Спецификация Форума ATM Af-uni-0010.002

Интерфейс ATM Пользователь-Сеть Версия 3.1 (User-Network Interface (UNI) Specification Version 3.1). 1994, сентябрь

[36]

Спецификация Форума ATM Af-sig-0061.000

Спецификация сигнализации интерфейса ATM Пользователь-Сеть Версия 4.0 (User-Network Interface (UNI) Signalling Specification Version 4.0). 1996, июль

[37]

Рекомендация МСЭ-Т F.811

Широкополосная услуга переноса, ориентированная на соединение (Broadband connection-oriented bearer service) 1996, июль

[38]

Рекомендация МСЭ-Т I.313

Сетевые требования к Ш-ЦСИС (B-ISDN network requirement). 1997, сентябрь

[39]

Рекомендация МСЭ-Т ITUT-T I.371 (пересмотренная редакция)

Управление трафиком и перегрузками в Ш-ЦСИС (Traffic control and congestion control in B-ISDN). COM 13-39-E. 2000, март

[40]

Спецификация Форума ATM Af-tm-0056.000

Спецификация Управления трафиком Версия 4.0 (Traffic Management Specification Version 4.0). 1996, апрель

[41]

Рекомендация МСЭ-Т (пересмотренная редакция) I.356

Рабочие характеристики переноса ячеек на уровне ATM в сети Ш-ЦСИС (B-ISDN ATM layer cell transfer performance). COM 13-R 55-E. 2000, март

[42]

Рекомендация МСЭ-Т I.363.1

Спецификация уровня адаптации ATM для Ш-ЦСИС: AAL типа 1 (B-ISDN ATM Adaptation Layer (AAL) Specification: Type 1 AAL). 1996, август

[43]

Рекомендация МСЭ-Т I.363.2

Спецификация уровня адаптации ATM для Ш-ЦСИС: AAL типа 2 (B-ISDN ATM Adaptation Layer (AAL) Specification: Type 2 AAL). 1997, сентябрь

[44]

Рекомендация МСЭ-Т I.363.3

Спецификация уровня адаптации ATM для Ш-ЦСИС: AAL типа 3/4 (B-ISDN ATM Adaptation Layer (AAL) Specification: Type 3/4 AAL). 1996, август

[45]

Рекомендация МСЭ-Т I.363.5

Спецификация уровня адаптации ATM для Ш-ЦСИС: AAL типа 5 (B-ISDN ATM Adaptation Layer (AAL) Specification: Type 5 AAL). 1996, август

[46]

Рекомендация МСЭ-Т Е.191 (пересмотренная редакция)

Присвоение имени, нумерация и адресация в Ш-ЦСИС (В-ISDN naming, numbering and addressing). COM2-R49-E.2000, март

[47]

 

План нумерации международной сети связи общего пользования (The International public telecommunication numbering plan). 1998, ноябрь

[48]

Спецификация Форума ATM Af-ra 0106.000

Адресация Форума ATM: Справочное руководство (ATM Forum Addressing: Reference Guide). 1999, февраль

[49]

Рекомендация МСЭ-Т I.380

Служба передачи данных по протоколу Интернет. Передача IP пакетов и достижимые параметры. (Internet protocol data communication service - IP packet and availability performance parameters). 1999, февраль

[50]

RFC 791

Протокол Интернет (Internet Protocol). 1981, сентябрь

[51]

RFC 2460

Протокол Интернет, Спецификация 6-ой версии (Internet Protocol. Version 6 (Ipv6) Specification). 1998, декабрь

[52]

Проект RFC draft-ietf-ipnwg-0,7.txt

Протокол Интернет версии 6 с маршрутизацией для групп пользователей (Ipv6 Multihoming with Route Aggregation). 2000, август

[53]

RFC 2464

Передача пакетов Ipv6 по сетям Ethernet. (Transmission of Ipv6 Packets over Ethernet Networks). 1998, декабрь

[54]

RFC 768

Пользовательский протокол датаграмм (User Datagram Protocol). 1980, август

[55]

RFC 1661

Протокол «Точка-точка» РРР (The Point-to-Point Protocol (PPP). 1994, июль

[56]

RFC 2472

Протокол Интернет в. 6 для передачи «точка-точка» (IP Version 6 over PPP). 1998, декабрь

[57]

RFC 792

Протокол сообщений управления Интернет (ICMP, Internet Control Message Protocol). 1981, сентябрь

[58]

RFC 2573

Приложения протокола SNMP (SNMP Applications). 1999, апрель

[59]

RFC 1812

Требования к маршрутизаторам Ipv4 (Requirements for Ipv4). 1995, июнь

[60]

RFC 2328

Вторая версия протокола OSPF (OSPF Version 2). 1998, апрель

[61]

RFC 1721

Анализ протокола RIP версии 2 (RIP Version 2 Protocol Analysis). 1994, ноябрь

[62]

RFC 904

Спецификация протокола внешнего шлюза (Exterior Gateway Protocol formal specification). 1984, апрель

[63]

RFC 1771

Протокол BGP-4 пограничного шлюза (A Border Gateway Protocol 4 (BGP-4). 1995, март

[64]

RFC 2702

Требования к проектированию трафика по технологии MPLS (Requirements for Traffic Engineering Over MPLS). 1999, сентябрь

[65]

RFC 3031

Архитектура многопротокольной коммутации меток. (Multiprotocol Label Switching Architecture). 2001, январь

[66]

RFC 2208

Протокол выделения ресурсов RSVP (Resource Reservation Protocol (RSVP) Version 1). 1997, сентябрь

[67]

RFC 2475

Архитектура технологии дифференциального обслуживания (An Architecture for Differentiated Service). 1998, декабрь

[68]

Проект RFC draft-iet-diffserv-model-05.txt

Неформальная модель маршрутизаторов с технологией Diff-serv (An Informal Management Model for Diffserv Routers). 2000, ноябрь

[69]

Проект RFC draft-ietf-mpls-rsvp-lsp-tunnel-07.txt

Расширение протокола RSVP для технологии «меток» (RSVP-ТЕ: Extensions to RSVP for LSP Tunnels). 2000, август

[70]

Проект RFC draft-ietf-mpls-diff-ext-09.txt

Поддержка протоколом MPLS технологии дифференциального обслуживания (MPLS Support of Differentiated Services). 2001, апрель

[71]

RFC 2458

Взаимодействие сетей Интернет и ТФОП (Toward the PSTN/Internet. Inter-Networking Implementations). 1998, ноябрь

[72]

RFC 1490

Многопротокольное соединение по Frame Relay (Multiprotocol Interconnect over Frame Relay), 1993, июль

[73]

RFC 1483

Многопротокольная инкапсуляция в пятый слой адаптации ATM (Multiprotocol Encapsulation over ATM Adaptation Layer). 1993, июль

[74]

RFC 1577

Классическая передача протокола Интернет и адресной информации по ATM (Classical IP and ARP over ATM). 1995, январь

[75]

RFC 894

Стандарт передачи IP датаграмм по сети Ethernet (Standart for the transmission of IP datagrams over Ethernet networks). 1984, апрель

[76]

RFC 2625

Передача протокола Интернет и адресной информации по оптическим каналам (IP and ARP over Fibre Channel). 1999, июнь

[77]

Рекомендация МСЭ-Т H.323v.2

Мультимедийные системы связи, основанные на передаче пакетов (Packet-Based Multimedia Communications Systems). 1999, сентябрь

[78]

RFC 2543

Протокол установления сеанса связи SIP (SIP: Session Initiation Protocol). 1999, март

[79]

RFC 2805

Протокол управления шлюзами. Архитектура и требования (Media Gateway Control Protocol Architecture and Requirements). 2000, апрель

[80]

RFC 3015

Протокол Megaco версии 1.0 (Megaco Protocol Version 1.0). 2000, ноябрь

[81]

RFC 1889

Транспортный протокол для приложений в реальном времени (A Transport Protocol for Real-Time Applications). 1996, январь

[82]

Проект RFC draft-ietf-avt-rtp-new-08.txt

Транспортный протокол для приложений в реальном времени (A Transport Protocol for Real-Time Applications). 2000, июль

[83]

RFC 2871

Основы маршрутизации телефонии по протоколу IP (A Framework for Telephony Routing over IP). 2000, июнь

[84]

Проект RFC draft-ietf-iptel-trip-05.txt

Маршрутизация телефонии по сети IP (Telephony Routing over IP (TRIP). 2000, ноябрь

[85]

ETSITS 101 329 v.1.1.1

Координация связи по протоколу Интернет в сети (Telecommunication and Internet Protocol Harmonization Over Networks (TIPHON). 2000, ноябрь

[86]

RFC 2250

Формат нагрузки для видео с компрессией по MPEG1/ в реальном времени (RTP Payload Format for MPEG1/ MPEG2 Video). 1998, январь

[87]

RFC 3016

Формат нагрузки аудио-визуальных потоков в реальном времени с компрессией по MPEG-4 (RTP Payload Format for MPEG-4 Audio/Visual Streams). 2000, ноябрь

[88]

RFC 2373

Архитектура адресации 6-ой версии протокола IP (IP Version 6 Addressing Architecture). 1998, июль

[89]

RFC 1034

Имена доменов - концепция и средства (Domain names concept and facilities). 1987, ноябрь

[90]

RFC 1035

Имена доменов - реализация и спецификация (Domain names - implementation and specification). 1987, ноябрь

[91]

RFC 826

Протокол преобразования адреса в сети Ethernet (Ethernet Address Resolution Protocol). 1982, ноябрь

[92]

RFC 2390

Протокол инверсного преобразования адреса (Inverse Address Resolution Protocol). 1998, сентябрь

 

Ключевые слова:

Асинхронный режим переноса, синхронный режим переноса, транспортная сеть электросвязи, оптическая транспортная сеть, сетевой элемент, система передачи, оптическое спектральное мультиплексирование, интернет, оптическая секция, оптический канал, технология Интернет.