Passenger car tyres and rims. Part 2. Rims

ФЕДЕРАЛЬНОЕ АГЕНТСТВО
ПО ТЕХНИЧЕСКОМУ РЕГУЛИРОВАНИЮ И МЕТРОЛОГИИ

НАЦИОНАЛЬНЫЙ
СТАНДАРТ
РОССИЙСКОЙ
ФЕДЕРАЦИИ

ГОСТ Р ИСО
4000-2-2005

Шины для легковых автомобилей и ободья

Часть 2

ОБОДЬЯ

ISO 4000-2:2001

Passenger car tyres and rims - Part 2: Rims

(IDT)

 

 

 

Москва

Стандартинформ

2006

 

Предисловие

Цели и принципы стандартизации в Российской Федерации установлены Федеральным законом от 27 декабря 2002 г. № 184-ФЗ «О техническом регулировании», а правила применения национальных стандартов Российской Федерации - ГОСТ Р 1.0-2004 «Стандартизация в Российской Федерации. Основные положения»

Сведения о стандарте

1 ПОДГОТОВЛЕН Техническим комитетом по стандартизации ТК 97 «Шины пневматические для механических транспортных средств, их прицепов и авиационной техники» (ООО «Научно-технический центр «НИИШП») на основе собственного аутентичного перевода стандарта, указанного в пункте 4

2 ВНЕСЕН Управлением технического регулирования и стандартизации Федерального агентства по техническому регулированию и метрологии

3 УТВЕРЖДЕН И ВВЕДЕН В ДЕЙСТВИЕ Приказом Федерального агентства по техническому регулированию и метрологии от 30 декабря 2005 г. № 543-ст

4 Настоящий стандарт идентичен международному стандарту ИСО 4000-2:2001 «Шины для легковых автомобилей и ободья. Часть 2. Ободья» (ISO 4000-2:2001 «Passenger car tyres and rims - Part 2: Rims»)

5 ВВЕДЕН ВПЕРВЫЕ

 

ГОСТ Р ИСО 4000-2-2005

НАЦИОНАЛЬНЫЙ СТАНДАРТ РОССИЙСКОЙ ФЕДЕРАЦИИ

Шины для легковых автомобилей и ободья

Часть 2

ОБОДЬЯ

Passenger car tyres and rims. Part 2. Rims

Дата введения - 2007-01-01

1 Область применения

Настоящий стандарт устанавливает обозначения и основные размеры профилей неразборных глубоких ободьев с коническими посадочными полками с углом наклона 5°, предназначенных для шин, эксплуатируемых на легковых автомобилях.

2 Нормативные ссылки

В настоящем стандарте использована нормативная ссылка на следующий международный стандарт:

ИСО 3911:2001 Колеса и ободья. Виды, назначения, условные обозначения и единицы измерения*

* Соответствующий национальный стандарт отсутствует. До его утверждения рекомендуется использовать перевод на русский язык данного международного стандарта. Перевод данного международного стандарта находится в Федеральном информационном фонде технических регламентов и стандартов.

3 Термины и определения

В настоящем стандарте применены термины по ИСО 3911.

4 Обозначение и основные размеры ободьев

4.1 Обозначение обода должно включать в себя код номинального диаметра и номинальной ширины профиля, а также форму бортовой закраины. Примеры:

1 15 x 6 J,

2 13 x 5,50 В,

где 15, 13 - код номинального диаметра обода;

x - обозначение неразъемных ободьев;

6; 5,50 - код номинальной ширины профиля обода;

J, В - обозначение формы бортовой закраины обода.

5 Глубокие ободья с коническими посадочными полками с углом наклона 5°

5.1 Бортовые закраины ободьев

Рекомендуемые формы бортовых закраин ободьев, соответствующие кодам номинального диаметра обода, приведены в таблице 1.

Таблица 1

Код номинального диаметра обода

Обозначение формы бортовой закраины обода

10, 12, 13

В

14, 15, 16, 17, 18, 19, 20, 21, 22

J

5.2 Профили ободьев

Основные размеры с допустимыми отклонениями ободьев приведены на рисунке 1 и в таблице 2. Исполнение профилей посадочных полок ободьев и их размеры приведены на рисунке 2 и в таблице 3.

a) Ширина бортовой закраины включает в себя радиус края. Часть закраины за пределами минимальной ширины должна быть ниже самой высокой точки бортовой закраины.

b) С целью обеспечения монтажа шины размеры, характеризующие глубину исполнения монтажного ручья, даны минимальные, а поперечная координата М - максимальная.

Примечание - Для использования ободьев с бескамерными шинами необходимы выступы на наружной стороне обода и предпочтительны выступы на внутренней стороне обода.

1 - ось вентильного отверстия; 2 - радиус кромки бортовой закраины, равный половине минимального радиуса R; 3, 4 - профили посадочных полок

Рисунок 1 - Профиль глубоких ободьев с коническими посадочными полками с углом наклона 5°

Таблица 2 - Размеры профилей неразборных глубоких ободьев с коническими посадочными полками с углом наклона 5°

В миллиметрах

Код номинального диаметра обода

Код ширины профиля обода1)

B, не менее

G ± 1,0

P

P1

H2)

L

М, не более

R2, не менее

не менее

10

3,00 B

10,0

14,5

13,0

15,0

15,0

16,0

28,0

7,5

12

3,50 B

10,0

14,5

15,0

17,0

15,0

19,0

34,0

7,5

4,00 B

10,0

14,5

15,0

17,0

15,0

19,0

45,0

7,5

13

4,50 B и более

10,0

14,5

19,5

19,5

15,0

22,0

45,0

7,5

14 и более

31/2J

11,0

17,5

15,0

17,0

17,33)

19,0

34,0

9,5

4 J

11,0

17,5

15,0

17,0

17,33)

19,0

45,0

9,5

41/2 J и более

11,0

17,5

19,5

19,5

17,33)

22,0

45,0

9,5

1) Размер А равен значению кода ширины профиля обода, умноженному на 25,4 и округленному до 0,5 (интервал увеличения кода ширины профиля равен 0,5).

2) Для монтажа шины необходимы минимальные значения глубины и угла наклона стенки монтажного ручья, для установки вентилей бескамерной шины могут потребоваться большие значения.

3) Допускается уменьшение H до 17 мм при соответствующем изменении Mmax до 43 мм для закраины типа J.

* Справочное значение

а - наружная сторона автомобиля

b - внутренняя сторона автомобиля

Рисунок 2 - Исполнение профилей посадочных полок

Таблица 3

Обозначение профиля обода

Е, мм

3,00 В и 3 J

13

3,50 В, 31/2 J, 4,00 В, 4 J

16

4,50 В, 41/2 J и более

210+2*

* На ободьях с шириной профиля от 41/2 до 7 включительно допускается значение E, равное 19,5.

5.3 Номинальный посадочный диаметр обода и длина окружности выступа Е

Код номинального посадочного диаметра обода D, соответствующее значение номинального посадочного диаметра обода и длина окружности выступа приведены в таблице 4.

Таблица 4 - Код номинального посадочного диаметра обода D, соответствующее значение номинального посадочного диаметра обода, и длина окружности выступа

В миллиметрах

Код номинального диаметра обода

Номинальный диаметр обода

D ± 0,41)

Длина окружности выступа Е

плоского

0

-3,5

скругленного

02)

-3

10

253,2

795,4

797,6

12

304,0

955,0

957,6

13

329,4

1034,8

1037,0

14

354,8

1114,6

1116,8

15

380,2

1194,4

1196,6

16

405,6

1274,2

1276,4

17

436,6

1371,6

1373,8

18

462,0

1451,4

1453,6

19

487,4

1531,2

1533,4

20

512,8

1611,0

1631,2

21

538,2

1690,8

1693,0

22

563,6

1770,6

1772,8

1) Допуск приведен только для проектирования шины. Обод измеряют с помощью рулетки для измерения окружности.

2) Для внутренней стороны обода допуск - °-5 мм.

6 Отверстия для вентиля (далее - вентильные отверстия)

6.1 Характеристика вентильных отверстий

Кромки вентильного отверстия на внутренней стороне обода должны быть притуплены или иметь фаску, а с наружной стороны обода - притуплены и не должны иметь заусенцев, которые могут повредить обрезиненный корпус вентиля.

6.2 Вентильные отверстия для бескамерных шин

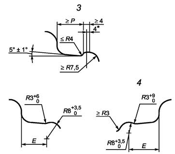
Для обеспечения герметичности соединения вентиля с ободом бескамерной шины необходимо поддерживать в чистом и гладком состоянии внутреннюю поверхность отверстия на участке толщиной не менее 0,75 мм или составляющем 25 % толщины обода. Необходимо применять соответствующие вентили. Исполнение поверхности в зоне вентильного отверстия бескамерных шин приведено на рисунках 3 и 4 для ободьев с минимальной глубиной монтажного ручья 17,3 мм.

6.3 Другие вентили

Отверстия для других вентилей рассматриваются.

Рисунок 3 - Размеры вентильного отверстия для бескамерных шин

Рисунок 4 - Исполнение поверхности в зоне вентильного отверстия

 

Ключевые слова: пневматические шины, ободья

 

СОДЕРЖАНИЕ

1 Область применения. 2

2 Нормативные ссылки. 2

3 Термины и определения. 2

4 Обозначение и основные размеры ободьев. 2

5 Глубокие ободья с коническими посадочными полками с углом наклона 5°. 2

6 Отверстия для вентиля (далее - вентильные отверстия) 5