ГОСУДАРСТВЕННЫЙ КОМИТЕТ СССР ПО СТАНДАРТАМ
(Госстандарт СССР)

Всесоюзный научно-исследовательский институт
по нормализации в машиностроении (ВНИИНМАШ)

МЕТОД ЭКСПЕРИМЕНТАЛЬНОЙ
ОЦЕНКИ АНТИСКАЧКОВЫХ СВОЙСТВ
КОНСТРУКЦИОННЫХ
И СМАЗОЧНЫХ МАТЕРИАЛОВ

 

Р 50-54-100-88

 

 

ГОСУДАРСТВЕННЫЙ КОМИТЕТ СССР ПО СТАНДАРТАМ
(Госстандарт СССР)

 

 

Всесоюзный научно-исследовательский институт
по нормализации в машиностроении (ВНИИНМАШ)

Утверждены

Приказом ВНИИНМАШ

№ 259 от 21.09.88 г.

Метод экспериментальной оценки антискачковых
свойств конструкционных и смазочных материалов

Рекомендации

 

Р 50-64-100-88

 

 

Москва 1989

 

 

РЕКОМЕНДАЦИИ

МЕТОД ЭКСПЕРИМЕНТАЛЬНОЙ ОЦЕНКИ
АНТИСКАЧКОВЫХ СВОЙСТВ
КОНСТРУКЦИОННЫХ И СМАЗОЧНЫХ
МАТЕРИАЛОВ

Р 50-54-100-68

Настоящие рекомендации распространяются на различные виды материалов, используемые в узлах трения скольжения: конструкционные, смазочные, а также покрытия. Устанавливают метод лабораторной экспериментальной оценки антискачковых свойств этих материалов, т.е. способности обеспечивать равномерность медленных перемещений, плавность торможений, пусков и реверсов, точность позиционирования в различных условиях эксплуатации. Антискачковые свойства - одна из важнейших триботехнических характеристик материалов направляющих металлообрабатывающих станков, механизмов позиционирования и наведения, гироскопов и других точных тихоходных узлов трения, а также смазочных материалов.

Целями испытаний могут служить выборочный контроль серийных материалов, оценка опытных образцов на соответствие их антискачковых свойств техническим условиям и техническому заданию, сравнительная оценка антискачковых свойств сопряжений различных пар материалов.

1. ОБЩИЕ ТРЕБОВАНИЯ

1.1. Рассматриваются следующие виды испытаний по оценке антискачковых свойств:

1 - смазочных материалов при эталонных (например, стальных или чугунных) материалах образцов;

2 - конструкционных материалов и покрытий при смазывании эталонным смазочным материалом (например, индустриальным маслом И-40А по ГОСТ 20799-75);

3 - разных сочетаний конструкционных и смазочных материалов;

4 - конструкционных материалов и покрытий без смазочных материалов на воздухе или в специальной атмосфере (вакуум, инертные газы, химически активная среда и др.).

1.2. Испытания проводятся двумя методами:

основным, при котором задают режимы 3-х ступеней давления (нагрузки) и 12 ступеней скорости и определяют параметры антискачковых свойств по всей их совокупности;

экспрессным, при котором задают один характерный для данных материалов режим давления (нагрузки) и 8 + 12 ступеней скорости и определяют исследуемые параметры по укороченной совокупности режимов.

2. ПРИБОРЫ И МАТЕРИАЛЫ

2.1. Описание испытательной установки ПАС-1 для оценки антискачковых свойств материалов приведено в Приложении.

2.2. Эта установка должна обеспечивать:

скорость скольжения в диапазоне от Vmin = 0,8  до Vmax = 760  при погрешности не более 5 % и неравномерности скольжения не более 5 %;

контактные давления в диапазоне от Рmin = 0,2 до Рmax = 1 МПа при погрешности задания нагрузки не более 1 %;

измерение силы трения и амплитуды автоколебаний с погрешностью не более 0,5 % при автоматизированных приборных измерениях и не более 5 % при визуальном измерении по многооборотному индикатору.

2.3. Испытательная установка должна включать узел привода и рабочий узел.

Узел привода состоит из двигателя постоянного тока с тиристорным управлением и соединяется с рабочим узлом ременной и червячной передачами.

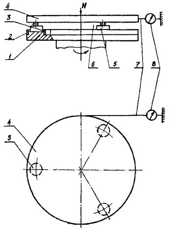
Рабочий узел (рис. 1) содержит вращающееся вокруг вертикальной оси горизонтальное кольцо 1 средним диаметром 200 мм. Осевое биение наружного диаметра кольца (в сборе) во всем диапазоне скоростей не выше 3 мкм. Рекомендуемые материалы кольца - сталь или серый чугун. Верхняя рабочая плоскость кольца шлифованная в случае закаленных металлов или шабренная (глубина шабрения 2 - 4 мкм, число пятен контакта в квадрате со стороной 25 мм от 20 до 25) для незакаленных металлов. Съемные кольцевые буртики наружный 2 и внутренний 3 образуют масляную ванну.

К кольцу сверху поджимаются нажимным диском 4 три равноудаленных друг от друга одинаковых цилиндрических образца 5 из исследуемого материала. Диаметр образца выбирается из диапазона 20 - 30 мм, рекомендуется 28 ± 0,5 мм. Их нижние рабочие плоскости для испытаний 1-го ÷ 3-го видов шабренные (рекомендуемая глубина шабрения 10 - 12 мкм, число пятен контакта в квадрате со стороной 25 мм от 20 до 25), для испытаний 4-го вида - доведенные (например, на чугунной притирочной плите). Нагрузка на образцы передается от диска 4 через точные шарики 6 шарикоподшипников, установленные в конических опорных выемках.

Рис. 1. Схема испытательной установки /рабочего узла/

Диск 4 горизонтальной тягой связан с динамометром 8, укрепленным на неподвижном корпусе. С помощью тензодатчиков или измерительного многооборотного индикатора, установленных на динамометре, измеряется сила трения в контакте образцов с кольцом, а при проскальзывании образцов относительно кольца - также амплитуда автоколебаний. Комплект динамометров разной жесткости должен охватывать диапазон 25 - 400  (рекомендуемые значения жесткости динамометров 40, 160 и 350 даН/мм).

2.4. Приборы, необходимые для измерений:

датчики силы трения и автоколебаний, в качестве которых могут использоваться тензодатчики омического сопротивления, индуктивные, емкостные и другие датчики перемещения в комплекте с усилителями; при достаточной квалификации и опыте исследователя - многооборотный индикатор с ценой деления 1 мкм ГОСТ 9696-82;

счетчик числа циклов (оборотов кольца);

секундомер или датчик времени (таймер) с 1-минутной и 5-минутной отметками.

При измерениях с помощью тензодатчиков к выходу усилителя могут подключаться различные периферийные устройства: осциллограф, самописец, магнитограф, а также аналого-цифровой преобразователь для обработки результатов измерений на ЭВМ.

3. подготовкА к испытаниям

3.1. После механический обработки рабочих поверхностей образцов (шабрением для испытаний 1-го ÷ 3-го вида, доводкой для испытаний 4-го вида) проверяют по краске их прилегание к кольцу: для шабрения образцов число пятен контакта должно быть от 20 до 25, для доведенных образцов площадь контакта должна быть не менее 90 %. При необходимости повторяют механическую обработку.

3.2. Рабочие поверхности образцов и кольца тщательно, не менее чем пятикратно, промывают последовательно бензином и ацетоном с протиркой марлевым тампоном.

Периодически, после испытания каждой партии материалов, проверяют качество очистки поверхностей контрольным испытанием, например, пары чугун-чугун или чугун-сталь, масло И-40А. Проводят испытание экспрессным методом, оценивают параметры антискачковых свойств и сравнивают с эталонными значениями параметров. Если результаты измерений отличаются от эталонных, повторяют пятикратную промывку и протирку рабочих поверхностей с последующим контрольным испытанием.

Если и после этого измеренные значения параметров отличаются от эталонных (что бывает после испытаний антискачковых неметаллических материалов), осторожно очищают поверхность кольца мелкозернистой шлифовальной шкуркой марки М20 ГОСТ 10054-82, после чего проводят трехкратную промывку и протирку с последующим контрольным испытанием. Когда в результате очистки измеренные значения параметров равны эталонным, рабочие поверхности считаются подготовленными к испытаниям.

3.3. Для испытаний 1-го ÷ 3-го видов наносят на кольцо слой смазочного материала толщиной 1 - 2 мм маслополивом; пластичные и твердые смазки - намазыванием.

3.4. Устанавливают образцы и нажимной диск, а также динамометр требуемой жесткости.

3.5. Для испытаний 4-го вида в специальной среде рабочий узел установки помещают в камеру с контролируемой атмосферой.

4. ПРОВЕДЕНИЕ ИСПЫТАНИЙ

4.1. Задают нагрузку Nmax, соответствующую Рmax (для образцов Ø 28 мм Nmax = 185 даН), и скорость скольжения кольца относительно образцов 0,3 м/мин. В этом режиме проводят приработку на пути трения не менее 30 м (50 оборотов кольца)1) при испытаниях 1 ÷ 3-го видов и не менее 350 м (600 оборотов кольца)2) при испытаниях 4-го вида.

1) Для абсолютного большинства машиностроительных материалов это соответствует стабилизации параметров трения.

2) Наиболее корректно в отсутствии смазочных материалов сравнивать антискачковые свойства конструкционных материалов и покрытий при полном прилегании рабочих поверхностей.

4.2. Проводят измерения в следующей последовательности.

4.2.1. Основной метод испытаний.

При нагрузке, соответствующей Рmin (для образцов Ø 28 мм Pmin = 37 даН), задают значения скорости последовательно от Vmin до Vmax на nv = 12 ступенях, охватывающих весь рабочий диапазон скоростей (рекомендуемые V, м/мин: 0,8; 8; 20; 45; 75; 105; 150; 200; 290; 405; 570; 765); после 5 мин приработки на каждой ступени измеряют значения кинетического коэффициента трения  и амплитуды автоколебаний .

При Vmin останавливают движение (при наличии автоколебаний - в момент, предшествующий скачку) и измеряют значение коэффициента трения после остановки ; через t = 1 мин неподвижного контакта1) вновь включают движение и измеряют значение статического коэффициента трения  в момент трогания с места.

Задают другие контактные давления последовательно от Рmin до Рmax на np = 3 ступенях (рекомендуемые давления, МПа: 0,2; 0,5; 1); на каждой ступени давления регистрируют на nv ступенях скорости после 5 мин приработки значения  и , а также  и .

Вычисляют средние значения амплитуды автоколебаний acр, кинетического (на наименьшей скорости)  и статических  и  коэффициентов трения, а также осредненного коэффициента трения :

 

 

Вычисляют наибольшую амплитуду amax, обычно соответствующую режиму трения с Рmax и Vmin:

Вычисляют процент антискачковых свойств

где nK - число режимов испытаний, на которых наблюдаются автоколебания.

1) Возможны и другие значения t - от секунд до суток

4.2.2. Экспрессный метод испытаний.

Задают характерный режим давления Рx, на котором условия возбуждения автоколебаний для исследуемых материалов наиболее вероятные: например, Рx = Рmax для испытаний антискачковых масел или металлических конструкционных материалов; Рx = Рmin для фторопластов или эластомеров.

Задают значения скорости последовательно от Vmin до Vmax на nv = 8 ÷ 12 ступенях и после 5 мин приработки на каждой ступени измеряют значения  и .

При Vmin останавливают движение и измеряют , через t = 1 мин неподвижного контакта вновь включают движение и измеряют .

Вычисляют средние величины амплитуды автоколебаний  и коэффициента трения :

 

Вычисляют наибольшую амплитуду автоколебаний  (обычно ):

Вычисляют процент антискачковых евойств

5. ОБРАБОТКА И ОЦЕНКА РЕЗУЛЬТАТОВ

Основная характеристика антискачковых свойств материалов процент А. В таблице приведены его характерные значения для типовых материалов направляющих станков.

Таблица

Параметры антискачковых свойств станочных материалов (трение по чугуну СЧ25, смазывание маслом И-40А, жесткость динамометра 40 даН/мм)

 

Группа материалов

Материал

Параметры

А, %

aср, мкм

amax, мкм

fср

Металлы

Черные

Чугун СЧ25

2

95

390

0,21

Цветные сплавы

Бронза БР

ОЦС6-6-3

11

70

270

0,18

Полимеры

На основе реактопластов

Эпоксидный компаунд УП-5-250

2

115

465

0,21

На основе термопластов

Сополимер СФД-ВМ-БС

88

30

75

0,14

-«-

Наполненный фторопласт Ф4К15М5

100

0

0

0,06

Отличными считаются антискачковые свойства при А = 100 %, хорошими при 75 % £ А < 100 %, удовлетворительными при 50 % £ А < 75 % , слабыми при 20 % £ А < 50 %, неудовлетворительными при А < 20 %.

Дополнительными характеристиками антискачковых свойств являются fср, характеризующий также антифрикционные свойства материалов, и амплитуды aср и amax, типовые значения которых приведены в таблице.

Вспомогательной наглядной характеристикой антискачковых свойств может служить статокинетическая характеристика трения в виде единого графика зависимости коэффициента трения f от скорости скольжения V и времени неподвижного контакта t. На рис. 2 представлены типовые статокинетические характеристики материалов направляющих станков.

В лабораторных исследованиях можно определять значения коэффициента трения не при ступенчатом изменении скорости, а при непрерывном ее изменении с заданным ускорением. Получаемые статодинамические характеристики трения при положительном ускорении (возрастании скорости от 0 до Vmax) расположены обычно несколько выше (рис. 2, кривые 1' и 2'), а при отрицательном ускорении (уменьшении скорости от Vmax до 0) - обычно несколько ниже1) (рис. 2, кривые 1'' и 2'') кинетической характеристики. Это различие можно рассчитать из предположения, что параметры динамического (при движении с ускорением) трения при мгновенной скорости Vi, которой соответствует момент времени ti, определяются условиями трения в предшествующий отрезок времени Dti и равны параметрам кинетического (при равномерном движении) трения при скорости V, равной средней за период Dti; величина Dti зависит от ускорения.

1) Для антискачковых масел (рис. 2, кривые 4' и 4'') - наоборот, для фторопластов (рис. 2, кривые 3' и 3'') разница кинетической и динамической характеристик несущественна

Рис. 2. Статокинетические характеристики трения по стали при р = 1 МПа: смазывание маслом И-40А, материалы - чугун СЧ25 /1/, бронза БрОЦС6-6-3 /2/, фторопласт Ф4К15М5 /3/; смазывание маслом ИНСп-40, материал - чугун СЧ-25 /4/

Приложение

Рекомендуемое

Прибор для оценки антискачковых свойств конструкционных и смазочных материалов ПАС-1

(описание)

Более чем 20-летний опыт испытаний в ЭНИМСе на стенде ЛОН-23Н показал правильность принятой в этом стенде схемы испытаний (см. рис. 1). Она реализована в серийном приборе ПАС-1 настольного исполнения.

Прибор состоит из тиристорного электропривода ЭТ1Т1 и рабочего узла. Блок управления приводом расположен на общем основании с рабочим узлом, двигатель постоянного тока - на отдельном основании (для исключения влияния его вибраций на измерения). Двигатель связан зубчатоременной передачей с валом червяка, передающим вращение червячному колесу.

Схема рабочего узла представлена на рис. 3. Вращение получает полый вал 1 червячного колеса, на верхнем торце которого укреплено кольцо 2. К ограниченному съемными буртиками верхнему торцу кольца поджаты три одинаковых цилиндрических образца 3 из контролируемых материалов, равноудаленные друг от друга. Трение осуществляется между торцами образцов 3 и круговой направляющей кольца 2. Нагрузка на образцы передается через нагрузочный винт 4, гайку с ручками 5, упорный шарикоподшипник 6 и нажимной диск 7. Последний винтами 8 через сухари (на рис. 3 не показаны) может поджиматься к дискам резьбовой поверхности винта 4.

Нажимной диск 7 в горизонтальной плоскости связан с измерительным динамометром 9 тягой 10. На верхнем торце винта 4 укреплен нагрузочный динамометр 11, соединенный со струной 12, проходящей через сквозные осевые отверстия винта 4 и вала 1 и укрепленной нижним концом на неподвижном корпусе 13. Вращением гайки 5 и соответствующим подъемом или опусканием винта 4 создают определенное натяжение струны 12, которое обеспечивает требуемую для испытаний нагрузку на образцы 3.

Центрирование нагрузочного винта с гайкой и нажимным диском осуществляется винтом 4, нижний гладкий конец которого расположен с зазором в шарикоподшипнике. На внутреннем кольце последнего находится фторопластовая втулка. Для демпфирования колебаний номинально постоянной скорости вращения вала 1 на нем предусмотрена установка масляного демпфера.

Рис. 3. Схема рабочего узла прибора ПАС-1 /привод вращения вала 1 условно не показан/

Прибор работает следующим образом. При отвинченной гайке 5 и поднятом (и поджатом в верхнем положении к дискам винта 4) нажимном диске 7 очищают согласно п. 3 Р рабочую поверхность кольца 2 и устанавливают на нее три очищенные образца 3. Ослабляют винты 8, опускают диск 7 на образцы (через шарики), слегка поджимают его в нижнем положении к лыскам винта 4; вращением гайки 5 устанавливают по динамометру 11 нагрузку испытаний. Включают двигатель с заданной скоростью. Проводят испытание согласно п. 4 Р и по динамометру 9 оценивают коэффициент трения и амплитуду автоколебаний образцов с диском. Вращением гайки 5 и регулятора электропривода изменяют нагрузку на образцы 3 и скорость вращения кольца 2; повторяют испытания на других режимах. После окончания испытания выключают привод, отвинчивают гайку 5 и поднимают диск 7 для смены образцов или смазочного материала.

Литература

1. Лапидус А.С, Портман В.Т., Левин Г.А. Стенд для испытания антифрикционных и антискачковых свойств материалов и масел // Станки и инструмент. - 1974. - № 1.

2. Применение полимерных материалов для направляющих металлорежущих станков: Методические рекомендации / Ред. А.С. Лапидус и П.Ж. Дюшен. - М.: НИИМАШ, 1983.

 

ИНФОРМАЦИОННЫЕ ДАННЫЕ

РАЗРАБОТАНЫ И ВНЕСЕНЫ ЭНИМС Минстанкопрома СССР

ИСПОЛНИТЕЛИ: к.т.н. Н.В. Гитис (руководитель темы), к.т.н. А.С. Лапидус, А.И. Крохотин; Б.Н. Чижов; А.В. Никитин

УТВЕРЖДЕНЫ ПРИКАЗОМ ВНИИНМАШ № 259 от 21.09.88 г.

ВВЕДЕНЫ ВПЕРВЫЕ

Ссылочные нормативно-технические документы

Обозначение НТД, на который дана ссылка

Номер пункта, подпункта, приложения

ГОСТ 20799-75

1.1

ГОСТ 10054-82

3.2

 

СОДЕРЖАНИЕ

1. Общие требования. 1

2. Приборы и материалы.. 2

3. Подготовка к испытаниям.. 3

4. Проведение испытаний. 4

5. Обработка и оценка результатов. 6

Приложение. Прибор для оценки антискачковых свойств конструкционных и смазочных материалов ПАС-1. 7

Литература. 8