ГОСУДАРСТВЕННЫЙ КОМИТЕТ СССР ПО СТАНДАРТАМ

 

МЕТОДИЧЕСКИЕ УКАЗАНИЯ

АТТЕСТАЦИЯ ИЗМЕРИТЕЛЬНЫХ
ГИДРОФОНОВ В РАБОЧЕМ ДИАПАЗОНЕ
ТЕМПЕРАТУР

 

РД 50-283-81

 

 

Москва

ИЗДАТЕЛЬСТВО СТАНДАРТОВ

1982

 

РАЗРАБОТАНЫ Всесоюзным научно-исследовательским институтом метрологии измерительных и управляющих систем научно-производственного объединения «Система»

Генеральный директор Е.Т. Удовиченко

Руководитель темы А.Д. Пинчевский

Исполнители: А.Г. Дорош, А.И. Винниченко, С.С. Тарнавская

ВНЕСЕНЫ Управлением метрологии Государственного комитета СССР по стандартам

Начальник Управления метрологии Л.К. Исаев

УТВЕРЖДЕНЫ И ВВЕДЕНЫ В ДЕЙСТВИЕ Постановлением Государственного комитета СССР по стандартам от 2 декабря 1981 г. № 5208

 

РУКОВОДЯЩИЙ НОРМАТИВНЫЙ ДОКУМЕНТ

МЕТОДИЧЕСКИЕ УКАЗАНИЯ

Аттестация измерительных гидрофонов в рабочем
диапазоне температур

РД
50-283-81

Введены впервые

Утверждены Постановлением Госстандарта от 2 декабря 1981 г. № 5208, срок введения установлен с 01.06.1982 г.

Настоящие методические указания распространяются на измерительные гидрофоны (в дальнейшем - гидрофоны) с чувствительными элементами из пьезокерамических материалов, подлежащие аттестации в диапазоне температур от -4 до +40 °С в диапазоне частот от 1 до 500 Гц, для которых диаграмма направленности не нормируется.

Методические указания устанавливают:

требования к гидрофонам, предъявляемым к аттестации;

нормируемые метрологические характеристики, подлежащие определению при аттестации;

технические требования к средствам измерения, используемым при аттестации;

порядок и содержание операций подготовки и проведения измерений;

порядок обработки результатов измерений и оценки точности определяемых метрологических характеристик;

форму представления результатов аттестации.

Методические указания должны применяться ведомственными метрологическими службами организаций разработчиков и изготовителей при разработке и выпуске всех типов гидрофонов или органами государственной метрологической службы.

1. ТРЕБОВАНИЯ К ГИДРОФОНАМ, ПРЕДЪЯВЛЯЕМЫМ НА АТТЕСТАЦИЮ

1.1. Опытные образцы или серийно выпускаемые гидрофоны должны быть предъявлены на аттестацию вместе с нормативно-технической документацией (техническими условиями, техническим описанием, инструкцией по эксплуатации, формуляром или паспортом).

1.2. Макеты гидрофонов должны сопровождаться проектами технического описания, инструкцией по эксплуатации, материалами испытаний (протоколами, актами, методиками испытаний) и требованиями технического задания на разработку.

1.3. Гидрофоны, проходящие повторную аттестацию, должны иметь свидетельство о предыдущей аттестации.

1.4. В нормативно-технической документации на гидрофоны, подлежащие аттестации, должны быть указаны следующие характеристики:

рабочий диапазон частот;

номинальные значения чувствительности в рабочем диапазоне частот;

выходная емкость и сопротивление изоляции для гидрофонов без предварительного усилителя;

выходное сопротивление для гидрофонов с предварительным усилителем;

напряжение и ток источников питания для гидрофонов с предварительным усилителем;

рабочий диапазон температур;

относительное изменение чувствительности в рабочем диапазоне температур;

межповерочный интервал;

относительное изменение чувствительности в течение межповерочного интервала.

1.5. Кроме характеристик, указанных в п. 1.4, допускается приводить и другие метрологические характеристики, отражающие особенности использования гидрофонов.

1.6. Технические задания на разработку гидрофонов, аттестуемых в диапазоне температур, должны проходить метрологическую экспертизу согласно разд. 2 ГОСТ 8.326-78.

1.7. Гидрофоны, разработанные до введения настоящих методических указаний, при предъявлении на аттестацию должны быть снабжены устройствами, обеспечивающими установку гидрофонов на средствах измерений, указанных в п. 3.1 настоящих методических указаний.

Разработку и изготовление этих устройств осуществляет организация, предъявляющая гидрофоны на аттестацию, после согласования с органами государственной метрологической службы, проводящими аттестацию.

2. МЕТРОЛОГИЧЕСКИЕ ХАРАКТЕРИСТИКИ ГИДРОФОНА, ОПРЕДЕЛЯЕМЫЕ ПРИ АТТЕСТАЦИИ

2.1. При проведении аттестации должны быть определены следующие метрологические характеристики гидрофона:

коэффициент функции влияния температуры k (t) в рабочем диапазоне температур;

межповерочный интервал;

чувствительность гидрофона в рабочем диапазоне частот M (f).

3. СРЕДСТВА ИЗМЕРЕНИЙ, ИСПОЛЬЗУЕМЫЕ ПРИ АТТЕСТАЦИИ

3.1. При проведении аттестации гидрофонов необходимо применять следующие средства измерений:

1) установку для измерения коэффициента функции влияния температуры, в состав которой входят:

тепловая камера малого объема (технические требования приведены в рекомендуемом приложении 1);

измеритель отношения переменных напряжений (технические требования приведены в рекомендуемом приложении 2);

автоматический мост КСМ-2-028 ТУ 25-05-1734-74;

генератор низкочастотный прецизионный Г3-110 ЕХ.265.026 ТУ;

усилитель мощности (технические требования приведены в рекомендуемом приложении 3);

2) установку для градуировки гидрофонов в диапазоне частот от 1 до 500 Гц.

3.2. Допускается применение взамен указанных выше других средств измерений, удовлетворяющих требованиям настоящих методических указаний или заменяющих указанные типы серийных приборов.

3.3. Все средства измерений, используемые при аттестации, должны иметь документ о поверке (аттестации) или поверочное клеймо.

4. ОПРЕДЕЛЕНИЕ МЕТРОЛОГИЧЕСКИХ ХАРАКТЕРИСТИК ГИДРОФОНА

4.1. Определение коэффициента функции влияния температуры в рабочем диапазоне температур

4.1.1. Значение коэффициента функции влияния температуры k (t) при температуре t определяют как отношение относительной чувствительности при температуре t к относительной чувствительности при температуре 18 °С.

Относительную чувствительность измеряют как отношение выходных напряжений гидрофона и контрольного гидрофона, входящего в состав тепловой камеры малого объема. При измерениях устанавливают значение температуры гидрофона из рабочего диапазона температур, а температуру контрольного гидрофона поддерживает постоянной. При этом чувствительность гидрофона при температуре t находят как произведение значения чувствительности гидрофонов при температуре 18 °С на значение k (t). При использовании средств измерений, указанных в п. 3.1.1, установка обеспечивает измерение коэффициента функции влияния температуры с погрешностью 1,5 % при доверительной вероятности 0,95.

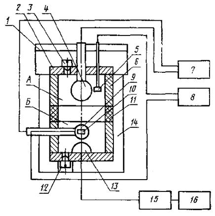
4.1.2. Измерения проводят на установке, схема которой приведена на рисунке.

Установка для измерения чувствительности гидрофона:

1 - уровень раствора в ванне; 2 - крышка; 3 - винт; 4 - гидрофон; 5 - термопреобразователь; 6 - корпус; 7 - измеритель отношения напряжений; 8 - автоматический мост; 9 - контрольный гидрофон; 10 - термопреобразователь; 11 - разделительная теплоизолирующая пластина; 12 - винт; 13 - излучатель; 14 - система охлаждения и нагрева; 15 - усилитель мощности; 16 - генератор; А - область размещения измерительного гидрофона; Б - область размещения контрольного гидрофона

4.1.3. Подготовка установки к измерениям

С помощью шаблона закрепляют гидрофон 4 в крышке 2 тепловой камеры малого объема (в дальнейшем - камера) так, чтобы крайняя точка его чувствительного элемента при установке крышки 2 на камере находилась на расстоянии не менее 5 мм от уровня разделительной теплоизолирующей пластины 11.

Заполняют внутреннюю полость камеры 20-процентным спиртовым раствором. Контроль концентрации раствора проводят с помощью спиртометра (ГОСТ 3637-75). Для приготовления раствора используют спирт (ГОСТ 5962-67).

Удаляют пузырьки воздуха с поверхностей, образующих внутреннюю полость камеры. Контроль наличия пузырьков проводят визуально, используя подсветку.

Протирают спиртом (ГОСТ 5962-67) поверхность гидрофона 4, погружаемую в полость камеры, и устанавливают крышку 2 с гидрофоном 4 ниже уровня 1 раствора в ванне камеры.

Удаляют пузырьки воздуха с погруженных в раствор частей крышки 2 и гидрофона 4. Контроль наличия пузырьков проводят визуально, используя подсветку. Заправленную таким образом камеру отстаивают в течение не менее 0,5 ч.

Закрепляют крышку 2 с гидрофоном 4 на корпусе 6 камеры с помощью крепежных элементов и закручивают винт 3.

Для измерений при значениях температур гидрофона 4 меньше температуры контрольного гидрофона 9 камеру переворачивают ванной вниз, предварительно слив из нее избыток раствора.

Подключают гидрофон 4 к измерителю отношения напряжений 7 и включают установку в сеть. С генератора 16 через усилитель мощности 15 на излучатель 13 подают напряжение для создания в полости камеры звукового давления, воздействующего на гидрофон 4 и контрольный гидрофон 9.

Устанавливают с помощью системы охлаждения и нагрева 14 камеры необходимые значения температуры в областях А размещения гидрофона 4 и Б контрольного гидрофона 9. Выравнивают давление во внутренней полости камеры с атмосферным путем кратковременного соединения с объемом раствора, находящегося вне полости камеры, через отверстия, герметизируемые винтами 3 и 12.

Измерения начинают после того, как изменения температуры в областях А и Б, контролируемые с помощью термопреобразователей 5 и 10 по показаниям автоматического моста 8, не превышают ± 0,5 °С от установленных значений в течение 5 мин.

4.1.4. Проведение измерений

Проводят измерения температуры в областях А и Б с помощью автоматического моста 8 и отношения напряжений - с помощью измерителя отношений 7 на каждой частоте рабочего диапазона частот. Значения частот берут из третьоктавного ряда частот по ГОСТ 12090-80. Число наблюдений при измерениях должно быть не менее трех.

Установив следующее необходимое значение температуры гидрофона и поддерживая температуру контрольного гидрофона постоянной, проводят измерения новых значений температур и отношений напряжений.

Измерения проводят при прямом и обратном ходе температуры гидрофона, т. е. при подходе со стороны меньших или больших значений температуры.

Результаты наблюдений заносят в протокол по форме, приведенной в рекомендуемом приложении 4.

4.1.5. Обработка результатов наблюдений

Из результатов наблюдений при прямом и обратном ходе температур исключают промахи согласно разд. 2 ГОСТ 11.002-73.

Рассчитывают среднее арифметическое значение отношения напряжений для каждой i-й температуры и m-й частоты при подходе со стороны меньших значений () и со стороны больших значений () температуры гидрофона. Расчет проводят согласно ГОСТ 11.004-74.

Определяют среднее арифметическое значение отношений напряжений с учетом прямого и обратного хода температуры по формуле

                                                      (1)

Определяют коэффициент функции влияния температуры для каждой i-й температуры для прямого (kMim) и обратного (ksim) ходов по формулам

                                                               (2)

                                                                  (3)

где  - среднее значение отношения напряжений при температуре 18 °С на m-й частоте.

Определяют значение коэффициента функции влияния температуры на m-й частоте по формуле

                                                                   (4)

Определяют средние значения kMim, ksim, kim в частотном диапазоне по формулам

                                                            (5)

                                                             (6)

                                                                (7)

где n - число значений частот, при которых проводились наблюдения.

Результаты обработки заносят в протокол по форме, приведенной в приложении 4.

4.1.6. Определение погрешности результата измерения коэффициента функции влияния температуры

Определяют погрешность вследствие усреднения значений в частотном диапазоне по формуле

                                                            (8)

где L - число температурных точек при измерениях.

Определяют погрешность вследствие вариаций по формуле

                                              (9)

Определяют погрешность результата измерений по формуле

                                                                (10)

где Θ - неисключенная систематическая погрешность результатов измерений, равная 1,3 % при доверительной вероятности 0,95 для средств измерений, указанных в п. 3.1.1; К - коэффициент, определяемый доверительной вероятностью (согласно разд. 4 ГОСТ 8.207-76 для доверительной вероятности 0,95 К = 1,1).

Устанавливают достаточность числа измерений на основании неравенства

D £ 1,5 %.                                                                                           (11)

При невыполнении неравенства (11) проводят дополнительные наблюдения в соответствии с п. 4.1.4, вновь обрабатывают результаты и определяют погрешность.

Результаты определения погрешности заносят в протокол по форме, приведенной в приложении 4.

4.1.7. В свидетельстве об аттестации гидрофона в рабочем диапазоне температур по форме, приведенной в рекомендуемом приложении 6, указывают значения коэффициента функции влияния температуры, определяемые по формуле

                                                                                             (12)

где k't - значение коэффициента функции влияния температуры при температуре t'; t - температура, при которой определяется M(f) согласно п. 4.3.3.

В случае, если максимум разностей Dk = ki ki+1 в рабочем диапазоне температур удовлетворяет неравенству

                                                                          (13)

значение коэффициента функции влияния температуры принимают равным 1,00.

4.2. Определение межповерочного интервала.

4.2.1. Межповерочный интервал для гидрофона определяют как интервал времени, в течение которого уход чувствительности находится в пределах погрешности, устанавливаемой для данного гидрофона.

Межповерочный интервал устанавливают путем прогнозирования относительного ухода чувствительности гидрофона не более допускаемого значения.

Нормирование производят на основании измерения ухода относительной чувствительности в течение времени, предшествующего устанавливаемому межповерочному интервалу.

4.2.2. Измерения проводят на установке (см. рисунок) в режиме, обеспечивающем стабилизацию температуры исследуемого и контрольного гидрофонов.

4.2.3. Подготовку установки к измерениям проводят согласно п. 4.1.3.

4.2.4. Проводят измерение отношения выходных напряжений гидрофона и контрольного гидрофона при одном фиксированном значении частоты, входящем в рабочий диапазон частот установки. Выбор значения частоты осуществляют произвольно.

4.2.5. Период измерений должен быть не менее 6 месяцев при интервале между измерениями не менее одной недели.

4.2.6. Количество наблюдений при измерениях в каждой временной точке должно быть не менее 16 при числе перезаправок не менее 3.

4.2.7. Результаты наблюдений заносят в рабочий протокол по форме, приведенной в рекомендуемом приложении 5.

4.2.8. Обработка результатов наблюдений

Из результатов каждой j-й группы наблюдений, соответствующей моменту времени Tj (j = 1, ..., N), исключают промахи согласно ГОСТ 11.002-73. Для каждой группы наблюдений определяют среднее арифметическое отношения напряжений , среднее квадратическое отклонение (СКО) результата измерений  согласно разд. 2 ГОСТ 8.207-76 и доверительные границы ε случайной погрешности результата измерений при доверительной вероятности 0,95 согласно разд. 3 ГОСТ 8.207-76.

По N значениям  методом наименьших квадратов определяют коэффициенты аппроксимирующей функции вида

Uа = А + ВТ + СT2,                                                                           (14)

где Uа - текущее значение относительного изменения чувствительности за время Т.

Коэффициенты А, В и С вычисляют по формулам

 (15)                                           (16)

                                                                    (17)

где   

   

При определении коэффициентов А, В и С для гидрофонов допускается использовать результаты, полученные при предыдущей аттестации. При этом число групп наблюдений и период измерений могут быть уменьшены.

4.2.9. Определяют допустимое относительное изменение чувствительности в течение межповерочного интервала sм.и при доверительной вероятности 0,95 по формуле

                                         (18)

где s0 - допустимая доверительная погрешность определения чувствительности M(f) при доверительной вероятности 0,68, соответствующая ступени общесоюзной поверочной схемы по ГОСТ 8.124-74, занимаемой гидрофоном; Dk - разность между значениями коэффициента функции влияния температуры для крайних точек диапазона температур, в котором определяют чувствительность гидрофона M(f) согласно п. 4.3.3; sм - погрешность определения чувствительности M(f) при доверительной вероятности 0,68, которую берут из технического описания на серийное оборудование или из свидетельства об аттестации для нестандартизированной аппаратуры.

В случае, оговоренном в п. 4.1.7, значение Dk в формуле (25) не учитывают.

4.2.10. Определяют допустимое значение функции Ua в течение межповерочного интервала по формуле

                                                                             (19)

где  - значение Uj для последней N-й группы наблюдений, если значение коэффициента С отрицательно, и по формуле

                                                                            (20)

если коэффициент С положителен.

4.2.11. Определяют значение времени, соответствующее окончанию межповерочного интервала, по формуле

                                                        (21)

при отрицательном значении коэффициента С и по формуле

                                                         (22)

при положительном значении коэффициента С.

4.2.12. Определяют разность Tм.и - ТN, где TN - момент времени, соответствующий последней N-й группе наблюдений. Полученное значение Tм.и - ТN округляют в меньшую сторону с точностью до месяца.

4.2.13. За значение межповерочного интервала принимают меньшее из полученного в п. 4.2.12 значения Tм.и ТN и значения межповерочного интервала, указанного в нормативно-технической документации, представленной на гидрофон.

4.2.14. Полученный в п. 4.2.13 межповерочный интервал является индивидуальной нормируемой метрологической характеристикой гидрофона и не распространяется на однотипные гидрофоны.

4.2.15. Результаты обработки и расчетов по пп. 4.2.8 - 4.2.12 заносят в рабочий протокол по форме, приведенной в приложении 5. В свидетельстве об аттестации гидрофона по форме, приведенной в приложении 6, указывают следующий срок поверки согласно п. 4.2.13.

4.3. Определение чувствительности гидрофона в рабочем диапазоне частот

4.3.1. Чувствительность гидрофона в рабочем диапазоне частот М(f) определяют на установке, указанной в п. 3.1.2.

4.3.2. Порядок и содержание операций подготовки и проведения измерений устанавливают техническое описание и инструкция по эксплуатации на установку, указанную в п. 3.1.2.

Для установок, на которые отсутствуют инструкции по эксплуатации и технические описания в части операций подготовки, проведения и обработки результатов измерений, допускается использование методических указаний МИ 9-74.

4.3.3. При определении M(f) регистрируют температуру t' гидрофона и определяют границы ее изменения.

4.3.4. Результаты определения M(f) и температуры t' заносят в свидетельство об аттестации гидрофона по форме, приведенной в приложении 6.

5. ОФОРМЛЕНИЕ РЕЗУЛЬТАТОВ АТТЕСТАЦИИ

5.1. По результатам аттестации выдается свидетельство об аттестации гидрофона в рабочем диапазоне температур по форме, приведенной в приложении 6, и заполненное согласно пп. 4.1.7, 4.2.15 и 4.3.4.

ПРИЛОЖЕНИЕ 1

Рекомендуемое

ТЕХНИЧЕСКИЕ ТРЕБОВАНИЯ К ТЕПЛОВОЙ КАМЕРЕ МАЛОГО ОБЪЕМА

Рабочий диапазон частот, ............................................................. Гц 1 - 500

Максимальное звуковое давление, создаваемое в полости камеры, Па    300

Диапазон температур, создаваемых в полости камеры,

°C ..................................................................................................... от -4 до +40

Чувствительность контрольного гидрофона, мкВ/Па, не менее 100

Изменение чувствительности контрольного гидрофона от температуры, %/°С, не более 0,2

Изменение чувствительности контрольного гидрофона во времени, %/год, не более   1,3

Допустимая неравномерность температуры по вертикали и радиусу А и Б (см. рисунок) на удалении 5 мм от теплоизолирующей пластины, °С, не более    ± 0,5

Размеры полости А:

диаметр, мм ................................................................................ 80

высота, мм .................................................................................. 100

ПРИЛОЖЕНИЕ 2

Рекомендуемое

ТЕХНИЧЕСКИЕ ТРЕБОВАНИЯ К ИЗМЕРИТЕЛЮ ОТНОШЕНИЯ НАПРЯЖЕНИЙ

Рабочий диапазон, Гц ..................................................................... 1 - 500

Динамический диапазон сигналов при чувствительности не менее 0,5 мВ по входу, дБ, не менее     60

Диапазон измеряемых отношений, дБ, не менее ........................ 120

Среднее квадратическое отклонение результата измерения отношений, %, не более    0,5

Время измерения отношений, с, не более .................................... 2

Входное сопротивление, МОм, не менее ..................................... 100

Входная емкость, пФ, не более ..................................................... 10

ПРИЛОЖЕНИЕ 3

Рекомендуемое

ТЕХНИЧЕСКИЕ ТРЕБОВАНИЯ К УСИЛИТЕЛЮ МОЩНОСТИ

Максимальное входное напряжение, В ........................................ 5

Максимальное выходное напряжение, В ..................................... 120

Максимальная емкость нагрузки, пФ ........................................... 50000

Коэффициент нелинейных искажений, % ................................... 1

Рабочий диапазон частот, Гц ......................................................... 1 - 500

Неравномерность частотной характеристики в рабочем диапазоне частот, %, не более     5

ПРИЛОЖЕНИЕ 4

Рекомендуемое

ПРОТОКОЛ №

определения коэффициента функции влияния температуры

1. Общие данные о гидрофоне

______________________________________________________________________

          (наименование, назначение, номер, тип, дата выпуска, владелец)

2. Метрологическая характеристика - коэффициент функции влияния температуры от ___________ до ___________ °С

3. Метод исследований - согласно п. 4.1.1 РД 50-283-81

4. Операции исследования

4.1. Измерения согласно п. 4.1.4 РД 50-283-81

4.2. Обработка результатов наблюдений согласно п. 4.1.5 РД 50-283-81

4.3. Определение погрешности результата измерений согласно п. 4.1.6 РД 50-283-81

5. РЕЗУЛЬТАТЫ ИЗМЕРЕНИЙ

Направление подхода к температуре гидрофона

Номер наблюдения

Температура гидрофона, °С

Температура контрольного гидрофона, °C

Отношение напряжений на частоте, Гц

Примечание

1

1,25

1,6

2

2,5

3,15

4

5

6,3

8

250

315

400

500

Со стороны меньших значений

1

2

3

 

 

 

 

Со стороны больших значений

1

2

3

 

 

 

 

6. РЕЗУЛЬТАТЫ ОБРАБОТКИ

Температура гидрофона, °С

Рассчитываемая величина

Направление подхода к температуре гидрофона

Значение рассчитываемой величины на частоте, Гц

Среднее значение рассчитываемой величины в диапазоне частот

1

1,25

1,6

400

500

 

Среднее арифметическое отношений напряжений

Со стороны меньших значений

Со стороны больших значений

Со стороны больших и меньших значений

 

 

 

Коэффициент функции влияния температуры

Со стороны меньших значений

Со стороны больших значений

Со стороны больших и меньших значений

 

 

6.1. ОПРЕДЕЛЕНИЕ ПОГРЕШНОСТИ РЕЗУЛЬТАТА ИЗМЕРЕНИИ

Наименование определяемой величины

Значение определяемой величины, %

Номер формулы, по которой рассчитывалась определяемая величина

Погрешность вследствие усреднения в частотном диапазоне Θуср

 

 (8)

Погрешность вследствие вариаций Θвар

 

 (9)

Погрешность результата измерений D

 

 (10)

7. Выводы_____________________________________________________

              (по определяемой метрологической характеристике)

Исполнители:_____________________________________________________________

                   (должность, подпись, и., о., фамилия)

Дата

 

ПРИЛОЖЕНИЕ 5

Рекомендуемое

ПРОТОКОЛ №

определения межповерочного интервала

1. Общие данные о гидрофоне __________________________________________

                        (наименование, назначение, номер, тип, дата

_____________________________________________________________________

                        выпуска, владелец)

2. Метрологическая характеристика - межповерочный интервал

3. Метод исследования - согласно п. 4.2.1 РД 50-283-81

4. Операции исследования - согласно пп. 4.2.2 - 4.2.11 РД 50-283-81

5. Результаты наблюдений

Номер группы наблюдений

Дата наблюдения

Номер наблюдения в группе

Значения отношения напряжений

Примечания

 

 

 

 

 

6. РЕЗУЛЬТАТЫ ОБРАБОТКИ

6.1. Результаты обработки наблюдений

Номер группы наблюдений

Дата наблюдений

Наименование рассчитываемой величины

Среднее арифметическое отношение напряжений

СКО результата измерений

Доверительные границы случайной погрешности

Значение нижней границы доверительного интервала

 

 

 

 

 

 

6.2. Определение коэффициентов аппроксимирующей функции

Определяемый коэффициент

Значение коэффициента

Номер формулы, по которой определяется коэффициент

А

 

 (15)

В, сут-1

 

 (16)

С, сут-2

 

 (17)

6.3. Определение межповерочного интервала

Наименование рассчитываемой величины и ее обозначение

Значение рассчитываемой величины и ее размерность

Номер формулы, по которой определяется рассчитываемая величина

Допустимое относительное изменение чувствительности в течение межповерочного интервала sм.и

 

 (18)

Допустимое значение аппроксимирующей функции в течение межповерочного интервала Ua.д

 

 (19), (20)

Значение времени, соответствующее окончанию межповерочного интервала Тм.и, сут

 

 (21), (22)

7. Выводы___________________________________________________________

                   (согласно пп. 4.2.12, 4.2.13 РД 50-283-81)

Исполнители:_____________________________________________________________

............................................................................................................           (должность, подпись, и., о., фамилия)

Дата

 

ПРИЛОЖЕНИЕ 6

Рекомендуемое

___________________________________________________________________

          (наименование организации, выдавшей свидетельство)

СВИДЕТЕЛЬСТВО №

О метрологической аттестации гидрофона

___________________________________________________________________

              (наименование, тип, номер, владелец)

Дата выпуска «_____» ___________198    г.

Условия эксплуатации_____________________________________________________

                   (диапазон температур, диапазон частот)

Результаты аттестации

1. Характеристика чувствительности

Частота, Гц

Чувствительность, мкВ/Па

Температура, °С

Границы изменения температуры, °С

1

1,25

1,6

 

 

 

2,0

2,5

3,15

4

5

6,3

8

10

12,5

16

20

25

31,5

40

50

63

80

100

125

160

200

250

315

400

500

 

 

 

2. Коэффициент функции влияния температуры:

          Температура, °С                    Значение коэффициента

                                 функции влияния температуры

По результатам метрологической аттестации гидрофон допускается к применению в качестве рабочего средства измерений с погрешностью ___________ дБ.

Руководитель организации, проводившей аттестацию______________________

_______________________И. О. Фамилия

     (подпись)

Дата

М.П.

 

СОДЕРЖАНИЕ

1. Требования к гидрофонам, предъявляемым на аттестацию.. 2

2. Метрологические характеристики гидрофона, определяемые при аттестации. 2

3. Средства измерений, используемые при аттестации. 2

4. Определение метрологических характеристик гидрофона. 3

5. Оформление результатов аттестации. 9

Приложение 1 Технические требования к тепловой камере малого объема. 9

Приложение 2 Технические требования к измерителю отношения напряжений. 10

Приложение 3 Технические требования к усилителю мощности. 10

Приложение 4 Протокол определения коэффициента функции влияния температуры.. 11

Приложение 5 Протокол определения межповерочного интервала. 13

Приложение 6 Свидетельство о метрологической аттестации гидрофона. 14