РУКОВОДЯЩИЙ НОРМАТИВНЫЙ ДОКУМЕНТ
|
Размеры закрытых высот штампов для листовой штамповки |
РД Введены впервые |
Утверждены Постановлением Госстандарта от 20 января 1981 г. № 104, срок ведения установлен с 1 января 1982 г.
1. Настоящие методические указания устанавливают числовые значения закрытых высот штампов листовой штамповки, эксплуатируемых на закрытых кривошипных прессах простого и двойного действия. Данные методические указания соответствуют методическому материалу СЭВ «Штампы для листовой штамповки. Высоты закрытые штампов. Размеры».
2. Закрытые высоты штампов Н, эксплуатируемых на прессах простого действия, указаны на черт. 1 и в табл. 1.
1 - ползун пресса; 2 - верхняя часть штампа; 3 - нижняя часть штампа; 4 - подштамповая плита или стол пресса
Таблица 1
мм
|
Пред. откл. |
Н |
Пред. откл. |
|
|
220 |
±5 |
670 |
±10 |
|
260 |
750 |
||
|
300 |
800 |
||
|
360 |
850 |
||
|
400 |
950 |
±15 |
|
|
450 |
±10 |
1060 |
|
|
500 |
1120 |
||
|
560 |
1180 |
||
|
600 |
1250 |
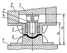
3. Закрытые высоты штампов (Н1, Н2), эксплуатируемых на прессах двойного действия (черт. 2), выбираются по табл. 2.
1 - внутренний ползун; 2 - наружный ползун; 3 - удлинитель пуансона; 4 - пуансон; 5 - прижим; 6 - нижняя часть штампа; 7 - подштамповая плита или стол пресса
Таблица 2
мм
|
Н1 |
Н2 |
Н1 |
Н2 |
Н1 |
Н2 |
Н1 |
Н2 |
|
Пред. откл. ±5 |
Пред. откл. ±10 |
Пред. откл. ±10 |
Пред. откл. ±15 |
||||
|
280 |
360 |
450 |
560 |
710 |
900 |
1000 |
1180 |
|
320 |
420 |
480 |
630 |
800 |
950 |
1060 |
1320 |
|
360 |
450 |
560 |
710 |
900 |
1060 |
1250 |
1500 |
|
420 |
530 |
630 |
800 |
- |
- |
1400 |
1700 |
Примечание. В случае применения промежуточных (быстрозажимных) плит их толщина учтена в закрытой высоте штампа.