
ГОСУДАРСТВЕННЫЙ
КОМИТЕТ РОССИЙСКОЙ
ФЕДЕРАЦИИ ПО СВЯЗИ И ИНФОРМАТИЗАЦИИ
РУКОВОДЯЩИЙ ДОКУМЕНТ ОТРАСЛИ
Системы радиовещания, телевизионного вещания
Средства измерений специализированные
Методические указания по поверке телевизионной измерительной аппаратуры TMZ 81 и видеоанализатора компьютерного ВК-1
РД 45.009-99
ЦНТИ «ИНФОРМСВЯЗЬ»
Москва - 1999
Предисловие
1 РАЗРАБОТАН Государственным научно-исследовательским институтом радио (НИИР)
ВНЕСЕН Научно-техническим управлением и охраны труда Госкомсвязи России
2 УТВЕРЖДЕН Госкомсвязи России
3 ВВЕДЕН В ДЕЙСТВИЕ информационным письмом от 11.08.99 г. № 4826
РД 45.009-99
РУКОВОДЯЩИЙ ДОКУМЕНТ ОТРАСЛИ
|
СИСТЕМЫ РАДИОВЕЩАНИЯ, ТЕЛЕВИЗИОННОГО ВЕЩАНИЯ СРЕДСТВА ИЗМЕРЕНИЙ СПЕЦИАЛИЗИРОВАННЫЕ Методические указания по поверке телевизионной измерительной аппаратуры TMZ 81 и видеоанализатора компьютерного ВК-1 |
Дата введения 01.09.99 г.
Настоящий руководящий документ (РД) отрасли устанавливает единый порядок поверки телевизионной измерительной аппаратуры TMZ 81 (далее аппаратуры) и видеоанализатора компьютерного ВК-1 (далее видеоанализатора).
Рекомендуемый межповерочный интервал периодической поверки 1 год.
Требования РД обязательны для выполнения специалистами метрологической службы отрасли, занимающимися поверкой данных типов средств измерений.
РД отрасли разработан с учетом ОСТ 45.88 и рекомендации [1].
В настоящем РД использованы ссылки на следующие стандарты:
ГОСТ 12.3.019-80 ССБТ Испытания и измерения электрические. Общие требования безопасности
ОСТ 45.88-96 Отраслевая система стандартизации. Порядок разработки руководящих документов отрасли
3.1 Операции поверки
3.1.1 Состав поверяемой аппаратуры, перечень метрологических характеристик и операций по поверке приведены в таблице 1.
|
Номер пункта методических указаний по поверке |
Виды поверки |
||
|
первичная |
периодическая |
||
|
1 |
2 |
3 |
4 |
|
Внешний осмотр и опробование |
Да |
Да |
|
|
Определение метрологических характеристик измерительного телевизионного осциллоскопа МТО 11 |
|
|
|
|
- неравномерности амплитудно-частотной характеристики (АЧХ) |
Да |
Да |
|
|
- погрешности установки уровня калибровочного напряжения |
Да |
Да |
|
|
- погрешности измерения уровня сигнала |
Да |
Да |
|
|
- нелинейности канала вертикального отклонения |
Да |
Да |
|
|
- погрешности коэффициентов развертки |
Да |
Да |
|
|
- перекоса вершины импульса |
Да |
Да |
|
|
Определение метрологических характеристик видеовольтметра VMV21 |
|
|
|
|
- погрешности измерения напряжения синусоидальной формы |
Да |
Да |
|
|
- погрешности измерения амплитуды видеоимпульсов |
Да |
Да |
|
|
- неравномерности АЧХ |
Да |
Да |
|
|
- затухания фильтра ФНЧ-1 кГц |
Да |
Нет |
|
|
- затухания фильтра ФНЧ-6 Мгц |
Да |
Нет |
|
|
- затухания визометрического фильтра |
Да |
Нет |
|
|
- затухания фильтра ФВЧ-10 кГц |
Да |
Нет |
|
|
- затухания фильтра ФВЧ-100 кГц |
Да |
Нет |
|
|
- затухания режекторного фильтра |
Да |
Да |
|
|
- затухания полосового фильтра |
Да |
Нет |
|
|
Определение метрологических характеристик измерителя дифференциальных искажений MDZ2 |
|
|
|
|
- погрешности измерения дифференциальной фазы и максимальной чувствительности прибора при ее измерении |
Да |
Да |
|
|
- погрешности измерения дифференциального усиления и максимальной чувствительности прибора при его измерении |
Да |
Да |
|
|
- собственной неравномерности дифференциальной фазы и дифференциального усиления |
Да |
Да |
|
|
Определение метрологических характеристик измерителя уровня и нелинейных искажений MNZ21 |
|
|
|
|
- погрешности измерения уровня входного сигнала при напряжении 0 дБ |
Да |
Да |
|
|
- минимального уровня входных напряжений в режиме измерения коэффициента гармоник |
|
|
|
|
- погрешности входного делителя |
Да |
Нет |
|
|
- погрешности измерения коэффициента нелинейных искажений и пределов его измерения |
Да |
Да |
|
|
Да |
Да |
||
|
Определение метрологических характеристик генератора низкой частоты NFG21 |
|
|
|
|
- погрешности установки частоты |
Да |
Да |
|
|
- максимального выходного напряжения |
Да |
Нет |
|
|
- изменения выходного напряжения при перестройке частоты генератора |
Да |
Да |
|
|
- погрешности измерения напряжения встроенным вольтметром |
Да |
Да |
|
|
- погрешности выходного делителя |
Да |
Да |
|
|
- погрешности дополнительного делителя нелинейных искажений |
Да |
Да |
|
|
Да |
Да |
||
|
Определение метрологических характеристик анализатора боковых полос АРР31 |
|
|
|
|
- собственной неравномерности АЧХ |
Да |
Да |
|
|
- напряжения входного сигнала |
Да |
Да |
|
|
Определение метрологических характеристик измерителя импульса 20Т MLC1 |
|
|
|
|
- неравномерности АЧХ канала яркости |
Да |
Да |
|
|
- подавления сигнала цветности в канале яркости |
Да |
Да |
|
|
- неравномерности АЧХ канала цветности и ее изменения при переключении полярности задержки |
Да |
Да |
|
|
- подавления сигнала яркости и второй гармоники сигнала цветности в канале цветности |
Да |
Да |
|
|
- погрешности измерения разности амплитуд |
Да |
Да |
|
|
- погрешности измерения расхождения во времени сигналов яркости и цветности |
Да |
Да |
|
|
Определение метрологических характеристик измерительного телевизионного приемника МТР31 |
|
|
|
|
- напряжения на видеовыходе |
Да |
Нет |
|
|
- нелинейности амплитудной характеристики |
Да |
Да |
|
|
- АЧХ канала изображения |
Да |
Да |
|
|
- характеристики группового времени запаздывания |
Да |
Да |
|
|
- дифференциального усиления |
Да |
Да |
|
|
- дифференциальной фазы |
Да |
Да |
|
|
- отношения сигнала к взвешенному флуктуационному шуму |
Да |
Да |
|
|
- АЧХ канала звукового сопровождения в режимах частотной модуляции (ЧМ) и амплитудной модуляции (AM) |
Да |
Да |
|
|
- погрешности измерения девиации и глубины модуляции |
Да |
Да |
|
|
- нелинейных искажений |
Да |
Да |
|
|
- отношения сигнала к псофометрическому шуму |
Да |
Да |
|
|
- отношения сигнал-помеха при проникновении AM сигнала изображения в канал звукового сопровождения |
Да |
Да |
|
|
- перекоса плоской части прямоугольных импульсов частоты полей и частоты строк |
Да |
Да |
|
|
- затухания несогласованности |
Да |
Нет |
|
|
Определение метрологических характеристик генератора телевизионных сигналов GTS11 |
|
|
|
|
- номинальных размахов импульсов измерительных сигналов и погрешностей их установки |
Да |
Да |
|
|
- перекоса вершины прямоугольных импульсов в сигналах № 1, № 2 и № 5 |
Да |
Да |
|
|
- длительностей импульсов в измерительных сигналах |
Да |
Да |
|
|
- частоты цветовой поднесущей |
Да |
Да |
|
|
- частоты синусоидальных сигналов в сигнале № 8 |
Да |
Да |
|
|
Определение метрологических характеристик генератора и избирательного измерителя уровня GSM1 |
|
|
|
|
- точности уровня выходного сигнала генератора |
Да |
Да |
|
|
- АЧХ генератора |
Да |
Да |
|
|
- нелинейных искажений генератора |
Да |
Да |
|
|
- АЧХ избирательного измерителя уровня |
Да |
Да |
|
2.2 Средства поверки
2.2.1 При проведении поверки должны применяться средства поверки, указанные в таблице 2. Допускается замена перечисленных средств поверки аналогичными по назначению и параметрам, если они соответствуют необходимым требованиям к измерениям.
2.2.2 Применяемые средства поверки должны быть поверены и иметь свидетельства о поверке.
|
Наименование и тип основного или вспомогательного средства поверки; обозначение нормативного документа, регламентирующего технические требования, и (или) метрологические и основные технические характеристики средства поверки |
|
|
1 |
2 |
|
Прибор для поверки вольтметров и калибраторов В1-18; ХВ2.085.019 ТУ; U = 1 мB - 10 B; D < ± 0,015 % |
|
|
Милливольтметр В3-59; ЯЫ2.710.078 ТУ; f = 10 Гц - 100 МГц; U = 0,3 мВ - 300 B; D £ ± 0,4 % |
|
|
Вольтметр В3-60; ЯЫ2.710.081 ТУ; f = 20 Гц - 100 кГц; U = 10 мкВ - 1000 В; D £ ± (0,035 - 0,2) % |
|
|
Вольтметр цифровой В3-62; ЯЫ2.710.084 ТУ; f = 10 кГц - 1500 МГц; U = 0,7 мВ - 1000 В; D £ ± 1,5 % |
|
|
Вольтметр В3-63; ЯЫ2.710.083 ТУ; f = 10 Гц - 10 МГц; U = 10 мВ - 100 В; D £ ± (0,05 - 2) % |
|
|
Вольтметр селективный В6-15; МГ2.710.018 ТУ; f = (0,01 - 30) МГц; D £ ± 2,5 % |
|
|
3.7.2.1, 4; 3.7.3.1, 3 - 10; 3.7.8.1 - 5; 3.7.9.2, 3, 5, 7, 9, 11, 12 |
Генератор сигналов низкочастотный Г3-126/1; УИВР.468.782.006 ТУ; f = 10 Гц - 10 МГц; D £ ± 3 % |
|
Генератор сигналов низкочастотный Г3-123; ЕХ3.269.113 ТУ; f = 1 Гц - 300 кГц; D £ ± 1 % |
|
|
Генератор сигналов низкочастотный Г3-125; УИВР.468.782.001 ТУ; f = 1 Гц - 200 кГц; U = 5 В; Кг = (0,0005 - 0,02) %; D £ ± 1,5 % |
|
|
Генератор сигналов высокочастотный Г4-165; ВР3.260.029 ТУ; f = (0,14 -130) МГц; D f £ ± 1´10-6f |
|
|
Генератор сигналов высокочастотный Г4-176; ГВ3.260.110 ТУ; f = (0,1 -1020) МГц; D f £ ± 1,5-1f |
|
|
Генератор импульсов точной амплитуды Г5-75; ЕХ3.269.092 ТУ; t = 50 нс - 1 с; DU £ ± 1 % |
|
|
Генератор импульсов Г5-95; ЕХ3.269.117 ТУ; f = 0,l Гц - 10 МГц; выброс 0,3 %; перекос 0,2 % |
|
|
Генератор ТВ сигналов Г6-35, ГВ2.739.100 ТУ; |
|
|
Генератор сигналов специальной формы Г6-37; ЕХ3.211.037 ТУ; f = 0,001 Гц - 20 МГц; D £ 2 %; U = (0,005 - 5) В |
|
|
Измеритель шума и сигналов ИШС-НЧ; 2г3.7.10.5.064 ТУ; U = 0,1 мB - 10 B; D £ ± 5 % |
|
|
Источник временных сдвигов И1-8; ГВ3.260.011 ТУ; Т = 10 нс - 10 мс; D £ ± 0,5 нс |
|
|
Калибратор осциллографов И1-9; ГВ2.085.024 ТУ; U = 30 мкВ - 100 В; D £ ± 0,135 %; Т = 100 нс - 10 с; 10; 20; 50 нс; Dt £ ± 0,135 % |
|
|
Измеритель мгновенных напряжений импульсный И1-10; ГВ2.739.010 ТУ; U = (0,1 - 10) В; D £ ± 0,4 % |
|
|
Измеритель временных интервалов И2-26; ГВ2.817.019 ТУ; f = (0,01 - 100) кГц; t = 10 нс - 10 мс; Dt = 5´10-1t + 0,8 нс |
|
|
Установка измерительная образцовая K2-54; ВР1.402.012 ТУ; f = (0,1 - 1000) МГц; fмод = (0,02 - 200) кГц; Кг = 0,1 %; D £ ± 0,1 дБ |
|
|
Магазин затуханий МЗ-50-2; РХ2.704.018 ТУ; f = (0 - 50) МГц; (0 - 122) дБ; D £ ± 0,1 дБ |
|
|
Измеритель КСВН панорамный Р2-73; ЦЮ1.400.252 ТУ; f = (0,01 - 1,25) ГГц; D £ ± 5К % |
|
|
Измеритель модуляции вычислительный СК3-45; ВР2.740.008 ТУ; f = (0,1 - 1000) МГц; D £ 2 % |
|
|
Установка образцовая для поверки измерителей нелинейных искажений СК6-10; ДЛИ2.770.001 ТУ; f = 20 Гц - 200 кГц; Кг = (0,1 - 100) %; D £ ±(1 - 2) % |
|
|
Измеритель нелинейных искажений СК6-16; МИСК.468.166.001 ТУ; f = (0,01 - 199) кГц; D £. ± (0,001 - 0,01) % |
|
|
Осциллограф универсальный С1-108; ГВ2.044.117 ТУ; f = (0 - 350) МГц; D £ (1 ± 5/h) % (h - изобр., см) |
|
|
Осциллограф универсальный С1-126, УШЯИ.411161.001 ТУ; f = (0 - 100) МГц; (2´10-8 - 0,2) с/дел. |
|
|
Измеритель нелинейных искажений С6-12; ДЛИ2.770.004 ТУ; f = 10 Гц - 200 кГц; D £ ± (0,6 Кг + 0,3) |
|
|
Измеритель разности фаз Ф2-34; ХВ2.721.057 ТУ; U = (0,001 - 300) В; f = (0,1 - 10´106) Гц; D £ ± 0,6° |
|
|
Измеритель ГВЗ Ф4-15А; ЦЮ1.401.301 ТУ; (0 - 200) нс; D £ ± 10 % |
|
|
Частотомер вычислительный Ч3-65; ЕЭ2.721.626 ТУ; f = (0,01 - 5´108) Гц; Df £ ± 1´10-9 |
|
|
Генератор и избирательный измеритель уровня GSM1 (вспомогательное устройство) |
|
|
Устройство изображения ZJ1 (вспомогательное устройство) |
|
|
Фильтр визометрический; рекомендация МККР № 567-3; t = 245 нс |
|
|
|
Смеситель из комплекта CК3-41; ЕЭ5.436.065 ТУ |
|
Переход из комплекта генератора Г4-117 или Г4-118 |
|
|
Тройник СР-5С-95Ф |
|
|
Тройник из комплекта вольтметра В3-49 |
|
|
Нагрузка из комплекта вольтметра В3-49 |
|
|
Трансформатор симметрирующий из комплекта вольтметра В3-33 или В3-57 |
|
|
Тройник СР-75-193Ф |
|
|
Разветвитель 75 Ом; (6 ± 0,1) дБ; f = (0,05 - 0,8) ГГц |
3.3 Требования к квалификации поверителей
3.3.1 Поверка должна осуществляться лицами, аттестованными в качестве поверителей в порядке, установленном в [2].
3.4 Требования безопасности
3.4.1 При проведении поверки должны соблюдаться требования безопасности в соответствии с ГОСТ 12.3.019.
3.5 Условия поверки
3.5.1 При проведении поверки должны соблюдаться следующие условия:
температура окружающей среды (20 ± 5) °С;
относительная влажность воздуха (65 ± 15) %;
атмосферное давление (100 ± 4) кПа (750 ± 30) мм рт.ст.;
электропитание от сети переменного тока напряжением (220 ± 4,4) В, частотой (50 ± 0,5) Гц.
3.5.2 В помещении, в котором проводится поверка, не должно быть вибраций и сотрясений, а уровни электромагнитных полей не должны превышать величин, указанных в таблице 3.
|
Уровень электромагнитного поля |
|
|
(30 - 300) кГц |
25 В/м |
|
(0,3 - 3) МГц |
15 В/м |
|
(3 - 30) МГц |
10 В/м |
|
(30 - 300) МГц |
3 В/м |
|
(0,3 - 3) ГГц |
10 мкВт/см2 |
3.6 Подготовка к поверке
3.6.1 Поверитель должен изучить эксплуатационные технические документы на поверяемые приборы и используемые средства поверки.
3.6.2 Поверяемый прибор и используемые средства поверки должны быть заземлены, если это предусмотрено их конструкцией, а также на них должно быть включено электропитание и выдержано время установления рабочего режима, указанное в технической документации.
3.7 Проведение поверки
3.7.1 Внешний осмотр и опробование
При внешнем осмотре аппаратуры проверяются:
- состояние лакокрасочных и гальванических покрытий;
- отсутствие механических повреждений корпуса, лицевых панелей приборов, регулировочных и соединительных элементов;
- крепление органов управления и регулировки, плавность их хода и обеспечение фиксации во всех позициях при совпадении указателя позиции с соответствующими надписями на лицевых панелях приборов;
- состояние соединительных кабелей.
Перед проведением поверки необходимо подготовить испытываемую аппаратуру и средства поверки к работе в соответствии с их инструкциями по эксплуатации.
3.7.2 Определение метрологических характеристик измерительного телевизионного осциллоскопа МТО 11
3.7.2.1 Определение неравномерности АЧХ осциллоскопа МТО 11 осуществляется по схеме, приведенной на рисунке 1.
Установить органы управления осциллоскопом в положения, указанные в разделе «Подготовка прибора к измерению» руководства по эксплуатации осциллоскопа.
На осциллоскопе нажать кнопку 75 Ом - 1 МОм.
На вход осциллоскопа Х3(38) с выхода генератора Г4-165 через переход 50 → 75 Ом подать сигнал, уровень которого контролируется вольтметром В3-59, подключенным к разъему Х4 осциллоскопа.
На генераторе Г4-165 установить частоту сигнала 100 кГц, а его уровень отрегулировать так, чтобы величина изображения была равна 5 см.
С помощью вольтметра В3-59 измерить напряжение сигнала Uср и зафиксировать результат измерений.
На генераторе Г4-165 установить частоту сигнала 1 МГц и отрегулировать его уровень так, чтобы величина изображения была опять равна 5 см.
Измерить величину входного сигнала Uf и зафиксировать результат измерений.
Вычислить неравномерность АЧХ Н, дБ, по формуле:
Провести аналогичные измерения на частотах 5 и 10 МГц.
Неравномерность АЧХ в полосе до 10 МГц должна быть не более ± 0,3 дБ.
Провести аналогичные измерения на частотах 15, 20 и 25 МГц.
Неравномерность АЧХ в полосе частот до 25 Мгц должна быть от минус 3 до + 0,5 дБ.
Подключить ко входу осциллоскопа МТО 11 генератор Г3-126/1 через переход 50 → 75 Ом и провести измерения неравномерности АЧХ на частотах 100; 1; 0,1; 0,05 и 0,01 кГц.
Неравномерность АЧХ в полосе частот от 0,05 до 100 кГц должна быть не более ± 0,3 дБ.
На осциллоскопе установить переключатель 10х - 10 МГц в положение 10х и выполнить вышеописанные измерения на частотах 0,1; 1 и 6 МГц.
Неравномерность АЧХ в диапазоне до 6 МГц должна быть не более ± 0,5 дБ.
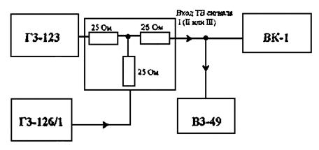
3.7.2.2 Определение погрешности установки уровня калибровочного напряжения проводится по схеме, приведенной на рисунке 2.
На приборе В1-18 установить такой режим работы, который соответствует его работе в качестве источника калиброванных напряжений.
На измерителе мгновенных напряжений И1-10 установить переключатель КОМПЕНСАЦИОННОЕ НАПРЯЖЕНИЕ - в положение ВНЕШН., переключатель ЗАПУСК - в положение ВНУТР., переключатель ВРЕМЕННОЙ СДВИГ - в положение ВКЛ., переключатель МНОЖИТЕЛЬ - в положение xl, переключатель РАЗВЕРТКА мкс/дел - в положение 1 и переключатель РЕЖИМ РАБОТЫ - в положение РУЧНОЙ.
К выходу калибровочного напряжения осциллоскопа МТО 11 подключить нагрузку 75 Ом.
Используя измеритель мгновенных напряжений И1-10 и прибор В1-18, измерить размах импульсов на выходе генератора калибровочного напряжения.
Размах импульсов между серединами их верхней и нижней частей должен быть (1 ± 0,005) В.
3.7.2.3 Определение погрешности измерения уровня сигнала выполняется по схеме, приведенной на рисунке 3.
Установить органы управления осциллоскопом в положения, указанные в разделе 4.2 «Подготовка прибора к измерению» руководства по эксплуатации осциллоскопа, и настроить измеритель уровня по методике, изложенной в этом же разделе.
На высокоомный вход осциллоскопа 7-Х7 от калибратора осциллографов И1-9 подать калибровочный сигнал Uк размахом 0,9 В.
С помощью ручек смещения луча в вертикальном направлении ↑↓ совместить нулевую измерительную линию с нижней частью осциллограммы на экране ЭЛТ.
С помощью потенциометра 10-R7U совместить измерительную линию с верхней частью осциллограммы на экране ЭЛТ.
Для более точной установки измерительной линии нужно нажать кнопку ЛИНЗА У 5х и повторить предыдущие операции.
По табло цифрового измерителя уровня отсчитать величину калибровочного напряжения Uи.
Вычислить погрешность измерения напряжения D U, %, по формуле:
Погрешность измерения напряжения до 1 В должна быть не более ± 1 %.
3.7.2.4 Определение нелинейности канала вертикального отклонения осуществляется по схеме, приведенной на рисунке 4.
Установить органы управления осциллоскопом в положения, указанные в разделе 4.2 «Подготовка прибора к измерению» руководства по эксплуатации осциллоскопа.
Перевести переключатель входного делителя осциллоскопа в положение 0,5 В/5 см.
На высокоомный вход осциллоскопа от генератора Г3-126/1 подать сигнал частотой 100 кГц с таким уровнем, при котором размер осциллограммы в центре экрана ЭЛТ будет составлять точно 3 деления.
С помощью ручек 6 (смещение Y) и 29 (смещение X) последовательно устанавливать осциллограмму в правый верхний, левый верхний, правый нижний и левый нижний углы растра и каждый раз измерять размер осциллограммы.
Измеренные размеры должны отличаться от трех делений не более чем на 0,1 деления.
3.7.2.5 Определение погрешности коэффициентов развертки проводится при помощи калибратора осциллографов И1-9 по схеме, приведенной на рисунке 3.
Установить органы управления осциллоскопом в положения, указанные в разделе 4.2 «Подготовка прибора к измерению» руководства по эксплуатации осциллоскопа.
На осциллоскопе перевести переключатель коэффициентов развертки ВРЕМЯ/см в положение 10 мс, а переключатель 28 (линза X) - в положение 1х.
На вход осциллоскопа подать импульсный сигнал с периодом 10 мс.
С помощью ручки УРОВЕНЬ СИНХРОНИЗАЦИИ осциллоскопа добиться устойчивой синхронизации.
Ручкой ↔ установить вершину первого остроконечного калибровочного импульса на вторую от левого края экрана вертикальную линию.
Изменяя период калибровочных импульсов, добиться того, чтобы вершина девятого импульса совпала с предпоследней вертикальной линией на экране ЭЛТ.
Зафиксировать установленный период калибровочных импульсов и вычислить погрешность коэффициента развертки D Р, %, по формуле:
где Ро - коэффициент развертки, установленный на осциллоскопе,
Рк - период калибровочных импульсов.
Аналогичные измерения провести при остальных положениях переключателя коэффициентов развертки, за исключением положений 0,1 мкс и TV.
От калибратора И1-9 на вход осциллоскопа подать синусоидальный сигнал с периодом 10 нс.
Переключатель коэффициентов развертки установить в положение 0,1 мкс и провести вышеописанные измерения.
Переключатель коэффициентов развертки перевести в положение 1 мс, а переключатель 28 (линза X) - в положение 2х.
От калибратора И1-9 подать импульсы с периодом повторения 0,5 мс и выполнить вышеописанные операции.
Аналогичную проверку провести при установках переключателя 28 в положения 5х и 10х, уменьшая период повторения калибровочных импульсов соответственно в 5 и 10 раз.
3.7.2.6 Определение перекоса вершины импульса производится по схеме, приведенной на рисунке 5.
Установить органы управления осциллоскопом в положения, указанные в разделе 4.2 «Подготовка прибора к измерению» руководства по эксплуатации осциллоскопа.
На осциллоскопе установить переключатель входного делителя - в положение 0,5 В/дел., переключатель = ~ - в положение =, переключатель коэффициентов развертки ВРЕМЯ/см - в положение 10 мс, переключатель полосы пропускания - в положение 25 МГц.
На вход 75 Ом осциллоскопа от генератора Г5-95 подать импульсы частотой 10 Гц (меандр) и размахом Uср = 2,5 В.
Увеличить чувствительность осциллоскопа в N раз и измерить размах одного из импульсов в точке 0,1 его длительности U01 и в точке 0,9 его длительности U09.
Вычислить перекос вершины П, %, по формуле;
Провести аналогичные измерения при подаче на вход осциллоскопа импульсов частотой 200 кГц (меандр).
Перекос плоской части импульсов должен быть не более 1 %.
3.7.3 Определение метрологических характеристик видеовольтметра VMV 21
3.7.3.1 Определение погрешности измерения напряжения синусоидальной формы видеомилливольтметром VMV 21 производится по схеме, приведенной на рисунке 6.
Выключатель питания установить в положение ВЫКЛ.
С помощью винта, расположенного на измерительном приборе под крышкой, установить механический нуль стрелочного прибора Р1.
Включить прибор и дать ему прогреться не менее 5 минут.
Нажать кнопку S4/1, стрелка измерителя Р1 должна указывать на нулевую отметку.
Нажать кнопку S4/2 «КАЛ.» и откалибровать прибор по калибрационной метке (30 мВ) шкалы измерения эффективного напряжения.
Нажать кнопку S4/3, переводящую вольтметр в режим измерения эффективных напряжений.
Ко входам Х5 и Х6, находящимся сзади, подключить генератор Г3-126/1 и вольтметр В3-60.
Нажать кнопку S1 выбора входа (75 Ом).
Переключить диапазон измерения вольтметра VMV 21 на 0,3 мВ.
От генератора Г3-126/1 на вход вольтметра VMV 21 через переход 50 → 75 Ом подать сигнал с частотой 1 кГц и уровнем Uн = 0,3 мВ, который устанавливается с помощью вольтметра В3-60.
Измерить этот сигнал вольтметром VMV 21 и зафиксировать его значение Uи.
Определить погрешность D U, %, по формуле:
Повторить измерения во всех диапазонах работы вольтметра VMV 21 (1; 3; 10; 30; 100 мВ; 1 В).
Погрешность измерений должна быть не более ± 5 %.
3.7.3.2 Определение погрешности измерений видеоимпульсов производится с помощью калибратора осциллографов И1-9.
Выключатель питания установить в положение ВЫКЛ.
С помощью винта, расположенного на измерительном приборе под крышкой, установить механический нуль стрелочного прибора Р1.
Включить прибор и дать ему прогреться не менее 5 мин.
Нажать кнопку S4/7, стрелка измерителя Р1 должна указывать на нулевую отметку.
Нажать кнопку S4/6 «КАЛ.» и откалибровать прибор по калибрационной метке (60 мВ) шкалы измерения пиковых значений напряжения.
Нажать кнопку S4/5, переводящую вольтметр в режим измерения пиковых значений напряжения.
Ко входу Х7 подключить импульсный калибратор И1-9.
Отжать кнопку S1 выбора входа Х7 (Rвх = 1 МОм).
Переключить диапазон измерения вольтметра VMV 21 на 1 мВ.
От калибратора И1-9 на вход вольтметра VMV 21 подать импульсы с частотой 1 кГц и уровнем Uн = 1 мВ.
Зафиксировать показание Uи вольтметра VMV 21.
Определить погрешность D U, %, по формуле:
Повторить измерения во всех диапазонах работы вольтметра VMV 21 3; 10; 30; 100 мВ; 1; 3 В.
Погрешность измерений должна быть не более ± 10 %.
3.7.3.3 Определение неравномерности АЧХ производится по схеме, приведенной на рисунке 7.
ТРОЙНИК
Настроить генератор Г3-126/1 на частоту 100 кГц и с помощью вольтметра В3-60 установить уровень его выходного сигнала, равным 0,5 В.
Зафиксировать затухание Зн, установленное на магазине затуханий МЗ-50-2.
Установить на генераторе частоту 40 Гц, не меняя уровня выходного напряжения, который контролируется прибором В3-60.
Изменяя затухание магазина МЗ-50-2, добиться ранее установленных показаний на приборе VMV 21.
Зафиксировать затухание Зч, введенное при частоте сигнала 40 Гц.
Определить неравномерность АЧХ Н, дБ, на частоте 40 Гц относительно частоты 100 кГц по формуле:
Провести аналогичные измерения на частотах 100 Гц, 1 кГц, 5 и 6 МГц.
Неравномерность АЧХ должна быть не более ± 0,5 дБ.
3.7.3.4 Определение затухания фильтра ФНЧ-1 кГц на частоте 10 кГц относительно частоты 100 Гц производится по схеме, приведенной на рисунке 8.
Нажатием кнопки S5/1 включить в измерительный тракт фильтр ФНЧ-1 кГц.
С помощью магазина затуханий МЗ-50-2 ввести затухание Зн = 70 дБ.
На генераторе Г3-126/1 установить частоту fl = 100 Гц при напряжении 10 В и зафиксировать отсчет прибора VMV 21.
Установить частоту f2 = 10 кГц при том же напряжении генератора.
Регулировкой магазина затуханий МЗ-50-2 установить прежнее показание прибора VMV 21 и зафиксировать величину затухания Зк, вносимого магазином МЗ-50-2.
Затухание фильтра ФНЧ-1 кГц Зф, дБ, на частоте f2 относительно частоты fl рассчитать по формуле:
Затухание фильтра должно быть не менее 60 дБ.
3.7.3.5 Определение затухания фильтра ФНЧ-6 МГц относительно частоты 10 кГц производится по схеме, приведенной на рисунке 8.
Вместо фильтра ФНЧ-1 кГц включить фильтр ФНЧ-6 МГц.
Измерить затухания фильтра ФНЧ-6 МГц относительно частоты 10 кГц на частотах 5,8 МГц и ниже и на частотах 6,53 МГц и выше по методике, изложенной в п. 3.7.3.4, при Зн = 50 дБ.
Затухание фильтра ФНЧ-6 МГц на частотах ниже 5,8 МГц должно быть не более 1,5 дБ, а на частотах выше 6,53 МГц должно быть не менее 40 дБ.
3.7.3.6 Определение затухания визометрического фильтра относительно частоты 10 кГц производится по схеме, приведенной на рисунке 8.
Вместо фильтра ФНЧ-1 кГц включить визометрический фильтр.
Измерить затухания фильтра на частотах 482 кГц, 1,45 и 4,8 МГц относительно частоты 10 кГц по методике, изложенной в п. 3.7.3.4, при Зн = 30 дБ.
Затухание визометрического фильтра на частотах 482 кГц, 1,45 и 4,8 МГц должно быть соответственно (3 ± 0,5) дБ; (10 ± 1) дБ и (20 ± 1) дБ.
3.7.3.7 Определение затухания фильтра ФВЧ-10 кГц на частоте 10 кГц относительно частоты 100 кГц производится по схеме, приведенной на рисунке 8.
Вместо фильтра ФНЧ-1 кГц включить фильтр ФВЧ-10 кГц.
Измерить затухание фильтра ФВЧ-10 кГц на частоте 10 кГц относительно затухания на частоте 100 кГц по методике, изложенной в п. 3.7.3.4.
Затухание фильтра ФВЧ-10 кГц на частоте 10 кГц относительно затухания на частоте 100 кГц должно быть (3 ± 0,5) дБ.
3.7.3.8 Определение затухания фильтра ФВЧ-100 кГц на частоте 100 кГц относительно частоты 1 МГц производится по схеме, приведенной на рисунке 8.
Вместо фильтра ФНЧ-1 кГц включить фильтр ФВЧ-100 кГц.
Измерить затухание фильтра ФВЧ-100 кГц на частоте 100 кГц относительно затухания на частоте 1 МГц по методике, изложенной в п. 3.7.3.4.
Затухание фильтра ФВЧ-100 кГц на частоте 100 кГц относительно затухания на частоте 1 МГц должно быть (3 ± 0,5) дБ.
3.7.3.9 Определение затухания режекторного фильтра на частоте 4,433 МГц относительно частоты 10 кГц производится по схеме, приведенной на рисунке 8.
Вместо фильтра ФНЧ-1 кГц включить режекторный фильтр.
Измерить затухание режекторного фильтра на частоте 4,433 МГц относительно затухания на частоте 10 кГц по методике, изложенной в п. 3.7.3.4.
Затухание режекторного фильтра на частоте 4,433 МГц относительно затухания на частоте 10 кГц должно быть не менее 25 дБ.
3.7.3.10 Определение затухания полосового фильтра цветовой поднесущей на частоте 4,433 МГц относительно частот 2,7 и 6 МГц производится по схеме, приведенной на рисунке 8.
Вместо фильтра ФНЧ-1 кГц включить полосовой фильтр нажатием кнопки S5/7 видеовольтметра VMV 21.
Измерить затухание полосового фильтра на частотах 2,7 и 6 МГц относительно частоты 4,433 МГц по методике, изложенной в п. 3.7.3.4.
Затухание полосового фильтра на частотах 2,7 МГц и 6 МГц относительно затухания на частоте 4,433 МГц должно быть не менее 35 дБ.
3.7.4 Определение метрологических характеристик измерителя дифференциальных искажений MDZ 2
3.7.4.1 Определение погрешности измерения дифференциальной фазы и максимальной чувствительности прибора при ее измерении производится по схеме, приведенной на рисунке 9.
Выход ЦВП генератора Г6-35 соединить с одним из входов устройства сложения, второй вход которого через магазин затуханий МЗ-50-2 подключить к генератору Г4-176. В качестве устройства сложения используется тройник из комплекта измерителя ГВ3 Ф4-15А.
Выход устройства сложения соединить со входом ОСНОВ генератора Г6-35, выход которого подключить ко входу Х3 75 Ω прибора MDZ 2.
Ко второму входу Х4 75 Ω подключить нагрузку 75 Ом, входящую в комплект прибора.
Выход СИНХР ОСЦИЛ генератора Г6-35 соединить со входом Х7 для внешней синхронизации поверяемого прибора, выход Х6 которого подключить ко входу для сигнала внешней синхронизации осциллографа С1-108.
На генераторе Г6-35 установить режим сигналов ВВЕДЕНИЕ СИНХРОСМЕСИ.
На приборе MDZ 2 отжать кнопку внешней синхронизации S2.
Отрегулировать частоту сигнала от генератора Г4-176 так, чтобы она была равна 4,4536 МГц.
Подключить выход ОСНОВ генератора Г6-35 ко входу осциллографа С1-108 и с помощью магазина затуханий МЗ-50-2 добиться равенства сигналов, подаваемых на устройство сложения, по появлению на экране осциллографа в середине осциллограммы узловых (нулевых) точек.
Заметив установленное на магазине затухание Зн, переключить выход ОСНОВ генератора Г6-35 на вход прибора MDZ 2, выход которого 75 Ω, расположенный на задней панели, соединить со входом осциллографа С1-108.
Установить переключатель S3 режимов работы поверяемого прибора в положение КАЛИБРОВКА 1° и при помощи ручки потенциометра R7 на приборе MDZ 2, а также органов регулировки чувствительности осциллографа установить расстояние между калибровочными линиями Рк, равным 5 см, как показано на рисунке 10.
С помощью магазина МЗ-50-2 установить затухание З = Зк + Зн, где Зк - затухание, соответствующее выбранному номиналу калибровки (см. таблицу 4).
|
1 |
10 |
40 |
60 |
|
|
Зк, дБ |
41,2 |
21,2 |
9,3 |
6 |
На поверяемом приборе перевести переключатель режима работы в положение ИЗМЕРЕНИЕ и отсчитать на экране осциллографа размах синусоидального сигнала Ри.
Вычислить погрешность измерения дифференциальной фазы Dдф, %, по формуле:
Аналогичные измерения провести при установке переключателя режимов работы в положение 10°.
Погрешность измерения дифференциальной фазы должна быть не более ± 10 %.
Для определения погрешности измерения дифференциальной фазы в точках 40° и 60° перевести переключатель режима работы в положение КАЛИБРОВКА 10° и установить расстояние между калибровочными линиями Рк, равным 1 см.
Изменить затухание, вносимое магазином МЗ-50-2, в соответствии с формулой З = Зк + Зн и таблицей 4, перевести переключатель режима работы в положение ИЗМЕРЕНИЕ и измерить размах Ри синусоидального сигнала на экране осциллографа.
Вычислить погрешность измерения Dдф, %, по формулам:
для точки 40° Dдф = 100 (Ри - 4Рк) / 4Рк, (10)
для точки 60° Dдф = 100 (Ри - 6Рк) / 6Рк (11)
Погрешность измерений для точки 40° должна быть не более ± 10 %, а для точки 60° должна быть не более ± 17 %.
При номинале калибровки 1° проверить максимальную чувствительность прибора при измерении дифференциальной фазы. Для этого установить ручку ВЫХОДНОЕ НАПРЯЖЕНИЕ Dj в крайнее правое положение и с помощью осциллографа определить расстояние между калибровочными линиями, которое должно быть не менее 1 В.
3.7.4.2 Определение погрешности измерения дифференциального усиления и максимальной чувствительности прибора при его измерении производится по схеме, приведенной на рисунке 9.
Схема соединений приборов, а также первоначальная установка органов управления ими такие же, как и при определении погрешности измерения дифференциальной фазы.
Установить переключатель режима работы S3 в положение КАЛИБРОВКА 1 % или КАЛИБРОВКА 10 % в зависимости от выбранного номинала калибровки.
При помощи ручки ВЫХОДНОЕ НАПРЯЖЕНИЕ D А поверяемого прибора, а также органами регулировки усиления осциллографа установить расстояние между калибровочными линиями Рк, равным 8 см. (см. рисунок 11).
На магазине МЗ-50-2 установить затухание З = Зн + Зк, где Зн - затухание, зафиксированное при предыдущих измерениях, а Зк - затухание, зависящее от выбранного номинала калибровки (см. таблицу 5).
|
Номинал калибровки D А, % |
1 |
10 |
|
Зк, дБ |
46 |
25,4 |
На поверяемом приборе установить переключатель режимов работы в положение ИЗМЕРЕНИЕ DА и на экране осциллографа измерить размах Ри синусоидального сигнала.
Вычислить погрешность измерения дифференциального усиления Dду; %, по формуле:
Выбрать номинал калибровки 1 %, установить ручку ВЫХОДНОЕ НАПРЯЖЕНИЕ А в крайнее правое положение и с помощью осциллографа С1-108 измерить напряжение, соответствующее расстоянию между калибровочными линиями при максимальной чувствительности прибора.
Величина измеренного напряжения должна быть не менее 0,4 В.
3.7.4.3 Определение собственной неравномерности дифференциальной фазы и дифференциального усиления производится по схеме, приведенной на рисунке 12.
Выход ЦВП генератора Г6-35 соединить с его входом ОСНОВ, а выход ОСНОВ подключить к одному из входов устройства сложения, на другой вход которого подать пилообразный сигнал с генератора Г6-37.
Разъем ВНЕШНИЙ ЗАПУСК генератора Г6-37, а также вход СИНХРОНИЗАЦИЯ генератора Г6-35 через тройник соединить с выходом генератора Г5-75, вырабатывающего сигнал синхронизации.
На один из входов прибора MDZ 2 подать сигнал с выхода устройства сложения, ко второму входу которого подключить нагрузку 75 Ом, входящую в комплект прибора.
Подключить разъем ВЫХОД поверяемого прибора к 75-омному входу осциллографа С1-108, вход которого для сигнала внешней синхронизации соединить с разъемом Х6 прибора MDZ 2.
На поверяемом приборе отжать кнопку внешней синхронизации S2.
На генераторе Г6-35 установить режим ВВЕДЕНИЕ СИНХРОСМЕСИ.
На генераторе Г6-37 установить частоту 20 кГц, пилообразную форму импульсов, ждущий режим работы с запуском от внешнего сигнала и амплитуду выходного сигнала 4,4 В.
На генераторе Г5-75 установить частоту повторения импульсов 15,625 кГц, длительность импульсов 5 мкс, амплитуду импульсов 5 В при положительной полярности.
Откалибровать прибор MDZ 2 при номинале калибровки Dj = 1°.
Переключить поверяемый прибор в режим ИЗМЕРЕНИЕ и измерить собственную неравномерность дифференциальной фазы, которая не должна быть более 0,1°.
Перевести прибор в режим калибровки и откалибровать его при номинале калибровки D А = 1 %.
Переключить прибор в режим ИЗМЕРЕНИЕ и измерить собственную неравномерность дифференциального усиления, которая должна быть не более 0,2 %.
3.7.5 Определение метрологических характеристик измерителя уровня и нелинейных искажений MNZ 21
3.7.5.1 Определение погрешности измерения уровня входного сигнала при напряжении 0 дБ производится с помощью вольтметра В3-60 и генератора Г3-123. Измерения производятся по схеме, приведенной на рисунке 13.
Перед включением сетевого напряжения с помощью отвертки установить стрелку прибора измерителя MNZ 21 на нуль.
Установить органы управления измерителя MNZ 21 в основные положения, указанные в его инструкции по эксплуатации.
Через 15 мин после включения питания с помощью ручки потенциометра R7 установить стрелку измерительного прибора на риску 0 дБ.
С выхода генератора на несимметричный вход измерителя MNZ 21 подать сигнал с частотой 1 кГц и напряжением 0 дБ, который устанавливается по показаниям вольтметра В3-60.
По шкале измерителя MNZ 21 с использованием лупы для отсчета уровня определить величину входного напряжения. Отсчет измерителя MNZ 21 должен отличаться от 0 дБ не более чем на ± 0,1 дБ.
3.7.5.2 Определение минимального уровня входных напряжений в режиме измерения коэффициента гармоник производится с помощью генератора Г3-123 и вольтметра В3-60 по схеме, приведенной на рисунке 13.
С помощью переключателя S7 измерителя MNZ 21 выбрать режим измерения коэффициента гармоник.
Переключателем S4 измерителя MNZ 21 и ручкой потенциометра R12 установить максимальную чувствительность измерителя MNZ 21 в режиме калибровки 100 %.
Нажать кнопки НАСТ. 100% и Uэфф.
На несимметричный вход прибора MNZ 21 от генератора Г3-123 подать сигнал с частотой 1 кГц и напряжением около 100 мВ.
Регулировкой входного напряжения установить стрелку измерительного прибора на риску 100 %.
С помощью вольтметра В3-60 определить минимальное напряжение на входе, которое должно быть не более 100 мВ.
Повторить все операции на частотах 0,02 и 200 кГц и определить минимальное напряжение на входе, которое должно быть не более 100 мВ.
3.7.5.3 Определение погрешности входного делителя производится по схеме, приведенной на рисунке 13, с помощью генератора Г3-123, милливольтметра В3-59 и вольтметра В3-60.
Установить переключатель S7 входного делителя измерителя MNZ 21 в положение + 20 дБ, а переключатель выбора режима измерений S7 - в положение Uэфф.
На несимметричный вход измерителя MNZ 21 подать от генератора Г3-123 сигнал с частотой 1 кГц.
С помощью вольтметра В3-60 установить уровень Uн подаваемого сигнала генератора + 9 В (+ 21,3 дБ) и снять показания Uи измерителя MNZ 21.
Устанавливая последовательно делители генератора и измерителя MNZ 21 в положения + 10, 0, - 10, - 20, - 30, - 40, - 50, - 60 и - 70 дБ, снять показания измерителя MNZ 21 при входных уровнях соответственно 2,85; 0,9; 0,285 В; 90; 28,5; 9; 2,85; 0,9 и 0,285 мВ.
Провести аналогичные измерения на частотах 20; 60 Гц и 60 кГц.
Провести аналогичные измерения на частоте 200 кГц, но для контроля входного напряжения вместо вольтметра В3-60 использовать милливольтметр В3-59.
Вычислить погрешность входного делителя DUи, %, по формуле:
D Uи = 100 (Uи - Uн) / Uн (13)
Погрешность на указанных частотах должна быть не более величин, приведенных в таблице 6.
|
Уровень входного сигнала, мВ |
Допустимая погрешность, % |
|
|
1 |
2 |
3 |
|
0,02 |
9000 - 90 |
± 1,7 |
|
28,5 - 2,85 |
± 2,3 |
|
|
0,9 - 0,285 |
± 3,5 |
|
|
0,06 |
9000 - 90 |
± 0,6 |
|
28,5 - 2,85 |
± 1,2 |
|
|
0,9 - 0,285 |
± 3,5 |
|
|
1 |
9000 - 2,85 |
± 0,6 |
|
0,9 - 0,285 |
± 2,3 |
|
|
60 |
9000 - 90 |
± 0,6 |
|
28,5 - 2,85 |
± 1,2 |
|
|
0,9 - 0,285 |
± 3,5 |
|
|
200 |
9000 - 90 |
± 1,7 |
|
28,5 - 2,85 |
± 2,3 |
Выполнить те же операции на частотах 30, 90 Гц и 60 кГц при подаче сигнала с симметричного выхода генератора Г3-123 на симметричный вход MNZ 21, при этом гнездо входа, к которому подключен экран соединительного кабеля, должно быть заземлено на специальное гнездо заземления.
Погрешность на частоте 30 Гц должна быть не более:
± 2,3 % при положениях делителя от + 10 до минус 20 дБ,
± 2,9 % при положениях делителя + 20 и минус 50 дБ,
± 3,5 % при положениях делителя от минус 60 до минус 70 дБ.
Погрешность на частотах 90 Гц и 60 кГц должна быть не более:
± 1,7 % при положениях делителя от + 20 до минус 50 дБ,
± 3,5 % при положениях делителя от минус 60 до минус 70 дБ.
3.7.5.4 Определение погрешности измерения коэффициента нелинейных искажений и пределов его измерения производится по схеме, приведенной на рисунке 14, с помощью образцовой установки для поверки измерителей нелинейных искажений СК6-10 и генератора Г3-125 путем сравнения коэффициентов гармоник, измеренных прибором MNZ 21, с номинальными значениями коэффициентов гармоник в проверяемых точках.
На измерителе MNZ 21 установить переключатель выбора режима измерений S7 в положение, соответствующее измерению коэффициента гармоник, нажать кнопку НАСТ. 100 % и кнопку Uэфф, а делителем S3 установить поддиапазон П = 0,3 %.
От образцовой установки для поверки измерителей нелинейных искажений на несимметричный вход измерителя MNZ 21 подать сигнал с частотой 30 Гц, уровнем 1 В и коэффициентом гармоник Кгн = 0,05 %.
Переключателем S4 измерителя MNZ 21 и ручкой потенциометра R12 установить стрелку измерительного прибора на риску 100 %.
Отжать кнопку НАСТ. 100 % и измерить коэффициент гармоник Кги измерителем MNZ 21.
Вычислить погрешность измерения коэффициента гармоник D Кг, %, по формуле:
Погрешность измерения коэффициента гармоник должна быть не более ± 0,05´П.
Провести аналогичные измерения при заданных коэффициентах гармоник 0,8, 2,5; 8 и 30 % на частотах 0,06; 0,09; 0,12; 0,533; 0,8; 1; 4; 10 и 15 кГц.
Аналогичным образом на указанных частотах определить погрешность измерения коэффициентов гармоник с помощью фильтров с фиксированной настройкой.
3.7.6 Определение метрологических характеристик генератора низкой частоты NFG 21
3.7.6.1 Определение погрешности установки частоты на генераторе NFG 21 осуществляется с помощью частотомера Ч3-65.
Подключить частотомер Ч3-65 к несимметричному выходу генератора NFG 21.
На генераторе установить частоту в режиме плавной регулировки и отсчитать ее значение по частотомеру Ч3-65.
Измерения провести на частотах 0,02; 0,1; 1; 10; 50 и 200 кГц.
Погрешность установки частоты по встроенному частотомеру должна быть не более величины ± 0,05 % относительно величины, отсчитанной частотомером Ч3-65.
Измерения, указанные выше, провести в режиме фиксированных частот 30, 60, 90, 120, 533, 800 Гц; 1; 4; 4,2; 5,6; 6,8; 7,2; 10; 12; 15 кГц.
Погрешность установки частоты на фиксированных частотах 30, 60, 90, 120 Гц должна быть не более ± 0,9 Гц.
Погрешность установки частоты на фиксированных частотах 533, 800 Гц и 1 кГц должна быть не более ± 9 Гц.
Погрешность установки частоты на фиксированных частотах 4; 4,2; 5,6; 6,8; 7,2; 10, 126 и 15 кГц должна быть не более ± 90 Гц.
3.7.6.2 Определение максимального выходного напряжения генератора осуществляется с помощью вольтметра В3-63.
К несимметричному выходу генератора NFG 21 подключить нагрузку 600 Ом и вольтметр В3-63.
Установить ручки ступенчатой и плавной регулировок уровня в положения, соответствующие максимальному выходному напряжению.
С помощью вольтметра измерить выходные напряжения на частотах 0,02; 0,06; 0,12; 1; 10; 15; 60; 100 и 200 кГц.
Максимальное выходное напряжение должно быть не менее 6,0 В.
3.7.6.3 Определение изменения выходного напряжения при перестройке частоты генератора осуществляется с помощью вольтметра В3-63.
К несимметричному выходу генератора NFG 21 подключить вольтметр В3-63 и нагрузку 600 Ом.
Установить уровень выходного напряжения генератора, равным + 3 дБ.
Измерить напряжения на выходе генератора на частотах 0,02; 0,06; 0,12; 1, 10; 15; 60; 100 и 200 кГц.
Изменения выходного напряжения, измеренные с помощью вольтметра В3-63, должны быть не более:
± 0,1 дБ в диапазоне от 0,02 до 0,059 кГц,
± 0,05 дБ в диапазоне от 0,06 до 60 кГц,
± 0,1 дБ в диапазоне от 61 до 200 кГц.
3.7.6.4 Определение погрешности измерения напряжения встроенным вольтметром осуществляется с помощью вольтметра В3-63.
Подключить вольтметр В3-63 к несимметричному выходу генератора NFG 21.
На выходе генератора включить нагрузку 600 Ом.
Настроить генератор на частоту 1 кГц и по встроенному вольтметру установить напряжение выходного сигнала 0 дБ.
Измерить это напряжение с помощью вольтметра В3-63.
Погрешность измерения напряжения встроенным вольтметром должна быть не более ± 0,1 дБ.
3.7.6.5 Определение погрешности выходного делителя выполняется с помощью вольтметра В3-63.
К несимметричному выходу генератора NFG 21 подключить вольтметр В3-63.
На выходе генератора включить нагрузку 600 Ом, настроить генератор на частоту 1 кГц и установить уровень выходного сигнала U0 = 6 В (нажата кнопка + 10 дБ).
Нажать кнопку 0 дБ (Кн = 0 дБ) и измерить напряжение Uи на выходе генератора.
Вычислить коэффициент деления делителя Кд, дБ, по формуле:
Определить погрешность делителя D Кд, дБ, по формуле:
где Кн - номинальное значение коэффициента деления.
Аналогичные измерения провести при установке ручки делителя в положения - 10, - 20, - 30, - 40 и - 50 дБ.
Повторить измерения на частоте 200 кГц. Погрешность выходного делителя должна быть от + 0,1 до минус 0,2 дБ.
3.7.6.6 Определение погрешности дополнительного делителя выполняется с помощью вольтметра В3-63.
К несимметричному выходу генератора NFG 21 подключить дополнительный делитель.
Выход делителя нагрузить на сопротивление 600 Ом и подключить к нему вольтметр В3-63.
Настроить генератор на частоту 1 кГц.
Установить напряжение на выходе генератора 0 дБ.
Изменяя коэффициент деления Кд от + 6 до минус 6 дБ через 2 дБ, определить погрешность делителя D Кд, дБ, по формуле:
где Кн - номинальное значение коэффициента деления.
Погрешность дополнительного делителя должна быть не больше ± 0,1 дБ.
3.7.6.7 Определение нелинейных искажений проводится измерителем нелинейных искажений СК6-16.
На несимметричном выходе генератора NFG 21 включить нагрузку 600 Ом и установить максимальное выходное напряжение.
Подключить измеритель СК6-16 к несимметричному выходу генератора и измерить нелинейные искажения на частотах 0,03; 0,06; 0,12; 1; 10; 20; 60; 100 и 200 кГц. Нелинейные искажения должны быть не более:
0,1 % в диапазонах частот от 0,03 до 0,059 и от 21 до 60 кГц,
0,05 % в диапазоне частот от 0,06 до 20 кГц,
0,2 % в диапазоне частот от 61 до 200 кГц.
Аналогичные операции выполнить, подключив нагрузку 600 Ом и измеритель нелинейных искажений СК6-16 к симметричному входу генератора NFG 21.
3.7.7 Определение метрологических характеристик анализатора боковых полос АРР 31
3.7.7.1 Определение собственной неравномерности АЧХ анализатора боковых полос производится по схеме, приведенной на рисунке 15, с использованием генератора, избирательного измерителя уровня GSM 1 и устройства изображения ZJ 1, которые в данном случае являются вспомогательными устройствами. Указанные приборы входят в состав стойки TMZ 81.
Ко входному разъему АРР 31 через переход 50 → 75 Ом подключить выход генератора Г4-176.
Приборы АРР 31, GSM 1 и ZJ 1 соединить между собой в соответствии с их инструкциями по эксплуатации для режима измерения боковых полос, провести подготовку к измерению и установить их органы управления в исходные положения.
От генератора Г4-176 подать немодулированный сигнал, частота которого равна номинальной несущей частоте изображения Fн проверяемого телевизионного канала (см. таблицу 7).
|
№ канала |
Полоса частот радиоканала, МГц |
Номин. частота несущей, МГц |
||
|
Изобр. |
Зв. сопров. |
|||
|
1 |
2 |
3 |
4 |
5 |
|
I |
1 |
48,5 - 56,5 |
49,75 |
56,25 |
|
2 |
58,0 - 66,0 |
59,25 |
65,75 |
|
|
II |
3 |
76,0 - 84,0 |
77,25 |
83,75 |
|
4 |
84,0 - 92,0 |
85,25 |
91,75 |
|
|
5 |
92,0 - 100,0 |
93,25 |
99,75 |
|
|
III |
6 |
174,0 - 182,0 |
175,25 |
181,75 |
|
7 |
182,0 - 190,0 |
183,25 |
189,75 |
|
|
8 |
190,0 - 198,0 |
191,25 |
197,75 |
|
|
9 |
198,0 - 206,0 |
199,25 |
205,75 |
|
|
10 |
206,0 - 214,0 |
205,25 |
213,75 |
|
|
11 |
214,0 - 222,0 |
215,25 |
221,75 |
|
|
12 |
222,0 - 230,0 |
223,25 |
229,75 |
|
|
IV |
21 |
470,0 - 478,0 |
471,25 |
477,75 |
|
22 |
478,0 - 486,0 |
479,25 |
485,75 |
|
|
23 |
486,0 - 494,0 |
487,25 |
493,75 |
|
|
24 |
494,0 - 502,0 |
495,25 |
501,75 |
|
|
25 |
502,0 - 510,0 |
503,25 |
509,75 |
|
|
26 |
510,0 - 518,0 |
511,25 |
517,75 |
|
|
27 |
518,0 - 526,0 |
519,25 |
525,75 |
|
|
28 |
526,0 - 534,0 |
527,25 |
533,75 |
|
|
29 |
534,0 - 542,0 |
535,25 |
541,75 |
|
|
30 |
542,0 - 550,0 |
543,25 |
549,75 |
|
|
31 |
550,0 - 558,0 |
551,25 |
557,75 |
|
|
32 |
558,0 - 566,0 |
559,25 |
565,75 |
|
|
33 |
566,0 - 574,0 |
567,25 |
573,75 |
|
|
34 |
574,0 - 582,0 |
575,25 |
581,75 |
|
|
V |
35 |
582,0 - 590,0 |
583,25 |
589,75 |
|
36 |
590,0 - 598,0 |
591,25 |
597,75 |
|
|
37 |
598,0 - 606,0 |
599,25 |
605,75 |
|
|
38 |
606,0 - 614,0 |
607,25 |
613,75 |
|
|
39 |
614,0 - 622,0 |
615,25 |
621,75 |
|
|
40 |
622,0 - 630,0 |
623,25 |
629,75 |
|
|
41 |
630,0 - 638,0 |
631,25 |
637,75 |
|
|
42 |
638,0 - 646,0 |
639,25 |
645,75 |
|
|
43 |
646,0 - 654,0 |
647,25 |
653,75 |
|
|
44 |
654,0 - 662,0 |
655,25 |
661,75 |
|
|
45 |
662,0 - 670,0 |
663,25 |
669,75 |
|
|
46 |
670,0 - 678,0 |
671,25 |
677,75 |
|
|
47 |
678,0 - 686,0 |
679,25 |
685,75 |
|
|
48 |
686,0 - 694,0 |
687,25 |
693,75 |
|
|
49 |
694,0 - 702,0 |
695,25 |
701,75 |
|
|
50 |
702,0 - 710,0 |
703,25 |
709,75 |
|
|
51 |
710,0 - 718,0 |
711,25 |
717,75 |
|
|
52 |
718,0 - 726,0 |
719,25 |
725,75 |
|
|
53 |
726,0 - 734,0 |
727,25 |
733,75 |
|
|
54 |
734,0 - 742,0 |
735,25 |
741,75 |
|
|
55 |
742,0 - 750,0 |
743,25 |
749,75 |
|
|
56 |
750,0 - 758,0 |
751,25 |
757,75 |
|
|
57 |
758,0 - 766,0 |
759,25 |
765,75 |
|
|
58 |
766,0 - 774,0 |
767,25 |
773,75 |
|
|
59 |
774,0 - 782,0 |
775,25 |
781,75 |
|
|
60 |
782,0 - 790,0 |
783,25 |
789,75 |
|
На генераторе GSM 1 нажать кнопки АРР (S4/6) и - 2 ... + 8 МГц (S6/1), переключателем S2/7 установить режим «Малый шум» и переключателем S2/1-6 установить чувствительность + 10 дБ.
На анализаторе АРР 31 с помощью кнопок КАНАЛ (S1/...3) выбрать соответствующий канал, с помощью переключателя S2 установить чувствительность + 10 дБ и с помощью ручки точной настройки, расположенной на соответствующем сменном блоке генератора, установить центральную частоту в центре экрана ЭЛТ устройства изображения ZJ 1.
С помощью аттенюатора генератора Г4-176 и ручки ВХОДНОЙ УРОВЕНЬ анализатора АРР 31 установить размер отклика несущей изображения на экране ЭЛТ, равный точно максимальному рабочему размеру изображения.
Установить на генераторе Г4-176 частоту, сдвинутую на 1,5 МГц относительно частоты Fн.
Изменяя уровень выходного сигнала генератора Г4-176, установить размер изображения отклика, равный точно максимальному рабочему размеру изображения, и зафиксировать уровень сигнала, подаваемого от генератора Г4-176.
Установить на генераторе частоту, сдвинутую на 2 МГц относительно частоты Fн, и выполнить аналогичные операции.
Вычислить разность уровней выходного сигнала генератора Г4-176 при сдвиге частоты на 1,5 и 2 МГц, которая и является неравномерностью АЧХ.
Аналогичные измерения провести при сдвигах частоты выходного сигнала генератора относительно частоты Fн на минус 2; ± 4; ± 6 и ± 8 МГц.
Неравномерность АЧХ относительно частоты, сдвинутой на ± 1,5 МГц от несущей, должна быть не более:
± 0,2 дБ в полосе частот от минус 1,5 до + 1,5 МГц и
± 0,1 дБ/МГц в полосе частот от минус 8 до + 8 МГц.
3.7.7.2 Определение напряжения входного сигнала производится по схеме, приведенной на рисунке 15.
На анализаторе боковых полос установить переключатель ВХОДНОЙ УРОВЕНЬ в положение 0.
Выбрать частоту выходного сигнала генератора Г4-176 так, чтобы отклик этого сигнала на экране ЭЛТ находился в районе его центра.
Установить такой уровень выходного сигнала генератора Г4-176, при котором размер его отклика на экране будет равен максимальному рабочему размеру.
Отсчитать уровень Ум выходного сигнала генератора Г4-176, который должен быть не более 88 мВ.
3.7.8 Определение метрологических характеристик измерителя импульса 20Т MLC 1
3.7.8.1 Определение неравномерности АЧХ канала яркости измерителя MLC 1 осуществляется по схеме, приведенной на рисунке 16.
На измерителе MLC 1 установить переключатель S8/4 в положение ИЗМЕРЕНИЕ, переключатель S8/2 в положение ЯРКОСТЬ, переключатель S4 - в положение «+» а переключатели S2 и S3 - в положение 250 нс.
На вход измерителя MLC 1 от генератора Г3-126/1 подать сигнал частотой 100 кГц и уровнем 0,5 В, который контролируется вольтметром В3-63.
С табло вольтметра В3-63, включенного на выходе измерителя MLC 1, считать отсчет Uср и зафиксировать его.
Поддерживая постоянным напряжение на входе измерителя MLC 1, провести аналогичные измерения на частотах 0,03; 0,3; 3, 30, 100, 300 и 500 кГц и считать соответствующие напряжения Uf.
Вычислить неравномерность АЧХ канала яркости Н, дБ, по формуле:
Неравномерность АЧХ должна быть не более ± 0,1 дБ.
Перевести переключатель S4 в положение « - » и провести аналогичные измерения.
Неравномерность АЧХ должна быть не более ± 0,1 дБ.
3.7.8.2 Определение подавления сигнала цветности в канале яркости производится по схеме, приведенной на рисунке 17.
На измерителе MLC 1 установить переключатель S8/4 в положение ИЗМЕРЕНИЕ, а переключатель S8/3 - в положение ЦВЕТНОСТЬ.
На вход измерителя MLC 1 от генератора Г3-126/1 подать сигнал частотой 4,43 МГц и уровнем 530 мВ.
С табло вольтметра В3-63, включенного на выходе измерителя MLC 1, считать отсчет U1 и зафиксировать его.
На измерителе MLC 1 установить переключатель S8/2 в положение ЯРКОСТЬ и снова измерить уровень выходного сигнала U2.
Вычислить подавление сигнала цветности П, дБ, по формуле:
(19)
Подавление сигнала цветности в канале яркости должно быть не менее 40 дБ.
3.7.8.3 Определение неравномерности АЧХ канала цветности и ее изменения при переключении полярности задержки осуществляется по схеме, приведенной на рисунке 17.
На измерителе MLC 1 установить переключатель S8/4 в положение ИЗМЕРЕНИЕ, переключатель S8/3 - в положение ЦВЕТНОСТЬ, переключатель S4 - в положение «+», а переключатели S2 и S3 - в положение 250 нс.
На вход измерителя MLC 1 от генератора Г3-126/1 подать сигнал частотой 4,43 МГц и уровнем 0,5 В, который контролируется вольтметром В3-63.
С табло вольтметра В3-63, включенного на выходе измерителя MLC 1, считать отсчет Uср и зафиксировать его.
Поддерживая постоянным напряжение на входе измерителя MLC 1, провести аналогичные измерения на частотах 3,93; 4,03; 4,23; 4,63; 4,83 и 4,93 МГц и считать соответствующие напряжения Uf.
Вычислить неравномерность АЧХ Н, дБ, по формуле:
Неравномерность АЧХ канала цветности должна быть не более ± 0,2 дБ.
Перевести переключатель S4 в положение « - » и провести аналогичные измерения.
Неравномерность АЧХ должна быть не более ± 0,2 дБ.
3.7.8.4 Определение подавления сигнала яркости и второй гармоники сигнала цветности в канале цветности производится по схеме, приведенной на рисунке 17.
На измерителе MLC 1 установить переключатель S8/4 в положение ИЗМЕРЕНИЕ, а переключатель S 8/2 - в положение ЯРКОСТЬ.
На вход измерителя MLC 1 от генератора Г3-126/1 подать сигнал частотой 0,5 МГц и уровнем 530 мВ.
С табло вольтметра В3-63, включенного на выходе измерителя MLC 1, считать отсчет U1 и зафиксировать его.
На измерителе MLC 1 установить переключатель S8/3 в положение ЦВЕТНОСТЬ и снова измерить уровень выходного сигнала U2.
Вычислить подавление сигнала яркости П, дБ, по формуле:
Подавление сигнала яркости в канале цветности должно быть не менее 40 дБ.
На измерителе MLC 1 установить переключатель S8/4 в положение ИЗМЕРЕНИЕ, а переключатель S8/3 - в положение ЦВЕТНОСТЬ.
На вход измерителя MLC 1 от генератора Г3-126/1 подать сигнал частотой 4,43 МГц и уровнем 530 мВ.
С табло вольтметра В3-63, включенного на выходе измерителя MLC 1, считать отсчет U1 и зафиксировать его.
На генераторе Г3-126/1 установить частоту 8,86 МГц при том же уровне сигнала.
Измерить уровень сигнала U2 на выходе измерителя MLC 1.
Вычислить подавление второй гармоники сигнала цветности П, дБ, по формуле:
Подавление второй гармоники сигнала цветности должно быть не менее 18 дБ.
3.7.8.5 Определение погрешности измерения разности амплитуд выполняется по схеме, приведенной на рисунке 17.
На измерителе MLC 1 установить переключатель S8/4 в положение ИЗМЕРЕНИЕ, переключатель S8/3 - в положение ЦВЕТНОСТЬ, а переключатели S2 и S3 - в положение 0 дБ.
На вход измерителя MLC 1 от генератора Г3-126/1 подать сигнал частотой 4,43 МГц и уровнем 280 мВ.
С табло вольтметра В3-63, включенного на выходе измерителя MLC 1, считать отсчет Uср и зафиксировать его.
На измерителе MLC 1 установить переключатели S2 и S3 в положение З = + 1,5 дБ и снова измерить уровень выходного сигнала U+.
Вычислить погрешность измерения разности амплитуд D Р, дБ, по формуле:
Провести аналогичные измерения при установке переключателей S2 и S3 в положения + 2,5; + 3,5 и + 4,5 дБ.
По аналогичной методике выполнить измерения при установке переключателей S2 и S3 в положения - 1,5; - 2,5; - 3,5 и - 4,5 дБ.
Измерить уровень выходного сигнала U- и вычислить погрешность измерения разности амплитуд D Р, дБ, по формуле:
Погрешность измерения разности амплитуд должна быть не более ± 0,1 дБ.
3.7.8.6 Определение погрешности измерения расхождения во времени сигналов яркости и цветности производится по схеме, приведенной на рисунке 18.
На измерителе MLC 1 установить переключатель S8/4 в положение ИЗМЕРЕНИЕ, переключатель S8/2 - в положение ЯРКОСТЬ, а переключатели S5, S6 и S7 - в положение 0 нс.
На вход измерителя MLC 1 от генератора Г5-75, который работает в режиме внешнего запуска, подать импульсный сигнал частотой 100 кГц, длительностью импульсов 1,6 мкс и размахом не более 1,5 В.
С помощью измерителя временных интервалов И2-26 измерить сдвиг tн между двумя группами импульсов, поступающими на его входы, и зафиксировать его.
Переключатель S6 измерителя MLC 1 установить в положение tуст = 10 нс и еще раз с помощью И2-26 измерить сдвиг между группами импульсов tизм.
Вычислить погрешность измерения расхождения во времени D t, нс, по формуле:
Провести аналогичные измерения при установке задержки 50 нс (переключателями S6 и S7) и 95 нс (переключателями S5, S6 и S7).
Погрешность должна быть не более ± 2 нс.
По аналогичной методике провести измерения при установке задержки на 200 и 250 нс.
Погрешность измерения должна быть не более ± 2 нс.
3.7.9 Определение метрологических характеристик измерительного телевизионного приемника МТР 31
3.7.9.1 Определение напряжения на выходе канала изображения приемника МТР 31 осуществляется по схеме, приведенной на рисунке 19.
К выходу приемника через переход 75 → 50 Ом подключить вход 50 Ом осциллографа С1-108.
Установить на выходе генератора Г4-176 одну из частот несущей изображения диапазона I в соответствии с таблицей 7.
Установить уровень выходного сигнала генератора Г4-176, равным 285 мВ.
На приемнике МТР 31 включить режим манипуляции.
Измерить уровень сигнала на выходе канала изображения с помощью осциллографа по уровню манипуляционного импульса.
При измерениях между Г4-176 и МТР 31 необходимо включить переход 50 → 75 Ом.
Аналогичным путем проверить уровни на выходе канала изображения на частотах II - V диапазонов, указанных в таблице 7.
Уровень выходного сигнала должен быть не ниже 1 В (размах).
3.7.9.2 Определение нелинейности амплитудной характеристики производится по схеме, приведенной на рисунке 20.
К выходу канала изображения через переход 75 → 50 Ом подключить высокоомный вход вольтметра В6-15 и вход 50 Ом осциллографа С1-108.
На генераторе Г4-176 установить частоту выходного сигнала, равную одной из частот диапазонов I - V (таблица 7) с уровнем 1,1 В (уровень контролируется по вольтметру В3-62).
На один из входов устройства сложения подать от генератора Г3-126/1 модулирующий сигнал с частотой 1,2 МГц.
Установить уровень модулирующего сигнала таким, при котором отсчет селективного вольтметра В6-15, подключенного к выходному разъему канала изображения приемника МТР 31, должен быть 3 мВ.
Плавно снижая уровень сигнала от генератора Г4-176 до величины 88 мВ, считывать показания вольтметра В6-15.
Определить нелинейность Н, %, по формуле:
Н = [(Uмакс - Uмин) / Uмакс] 100 (26)
где Uмакс и Uмин соответственно максимальное и минимальное значения сигнала на выходе приемника, мВ.
Нелинейность амплитудной характеристики должна быть не более 5 %.
3.7.9.3 Определение АЧХ канала изображения производится по схеме, приведенной на рисунке 21, на промежуточной частоте или на одной из несущих частот канала изображения.
От генератора Г4-176 на устройство сложения подать сигнал частотой 38 МГц и таким уровнем, при котором выходной сигнал канала изображения будет равен 355 мВ.
От генератора Г4-165 на устройство сложения подать сигнал частотой 1,5 МГц и уровнем, который на 40 дБ меньше уровня сигнала, подаваемого от генератора Г4-176.
С помощью вольтметра В3-62 измерить напряжение U1,5 на выходе канала изображения приемника и зафиксировать его, это напряжение будет соответствовать 100 % или 0 дБ.
На генераторе Г4-165 последовательно устанавливать частоты выходного сигнала, равные величинам отклонения от несущей частоты изображения в соответствии с таблицей 8, и в каждом случае измерять выходное напряжение Uf приемника.
Вычислить неравномерность АЧХ Н, % или дБ, по формуле:
|
Величина затухания (допуски), % |
Величина отклонения от несущей частоты изображения, МГц |
Величина затухания (допуски), дБ |
|
|
Менее - 1,65 |
0 ... 2 |
1,5 ... 5 |
- 0,5 ... + 0,5 |
|
- 1,65 ... - 1,35 |
0 ... 0,8 |
5,4 |
- 1,5 ... + 0,5 |
|
- 1 |
0 ... 8,5 |
5,85 |
- 6 ... + 0,5 |
|
- 0,5 |
15 ... 25 |
5,85 ... 6,35 |
Менее 0,5 |
|
0 |
48 ... 52 |
6,35 ... 6,65 |
Менее - 46 |
|
0,5 |
75 ... 85 |
6,65 ... 7,85 |
Менее - 40 |
|
1 |
91,5 ... 101,5 |
7,85 ... 8,15 |
Менее - 46 |
|
1,5 |
100 % (0 дБ) |
Более 8,15 |
Менее - 40 |
Результаты измерений должны быть в пределах допусков, указанных в таблице 8.
3.7.9.4 Определение характеристики группового времени запаздывания (ГВЗ) проводится по схеме, приведенной на рисунке 22.
На генераторе Г4-176 установить частоту выходного сигнала, равной 103 МГц, и уровень выходного сигнала, равным 600 мВ.
Включить измеритель Ф4-15А в режим работы «на себя» согласно инструкции по его эксплуатации, используя выход «- 10 dBm». Установить на измерителе Ф4-15А:
частоту f = 67,5 МГц;
полосу 2 D f = 5 МГц;
частоту МЧ = 92,6 кГц;
девиацию D F = 300 кГц;
аттенюатор «- dB» в положение 3 dB;
кнопку МЧ (Пм) в положение ВНЕШН.
Установить частотные метки на экране индикатора Ф4-15А по краям изображения, при этом правая метка будет соответствовать частоте 33 МГц, а левая (скользящая) - частоте 38 МГц.
С помощью кнопки Y2 ШАГ переключателя ВЫБОР МАСШТАБА измерителя Ф4-15А (Пм) установить изображение характеристики ГВЗ в пределах масштабной сетки индикатора.
Нажать нижнюю кнопку переключателя НЕРАВНОМЕРНОСТЬ измерителя Ф4-15А.
Отсчитать неравномерность характеристики ГВЗ приемника МТР 31 по цифровому табло или экрану измерителя Ф4-15А.
Результаты измерений должны быть в пределах допусков, указанных в таблице 9.
|
Отклонение несущей изображения, МГц |
Значение ГВЗ, нс |
Неравномерность ГВЗ, нс |
|
|
38 |
0 |
0 |
± 15 |
|
37 |
1 |
- 35 |
± 15 |
|
36 |
2 |
- 75 |
± 15 |
|
35 |
3 |
- 90 |
± 20 |
|
34 |
4 |
- 70 |
± 25 |
|
33,57 |
4,43 |
- 55 |
± 20 |
|
33 |
5 |
0 |
± 35 |
3.7.9.5 Определение дифференциального усиления производится по схеме, приведенной на рисунке 20, аналогично п. 3.7.9.2 за исключением того, что частота модулирующего сигнала устанавливается, равной 4,43 МГц, а уровень сигнала, подаваемого от генератора Г4-176, изменяется от 935 до 88 мВ.
Выходное напряжение приемника следует измерять с помощью осциллографа С1-108.
Неравномерность дифференциального усиления должна быть не более 4 %.
3.7.9.6 Определение дифференциальной фазы осуществляется по схеме, приведенной на рисунке 23.
На приборе Ф4-15А (Пд) установить переключатель МЧ в положение 4,43 МГц, переключатель РЕЖИМ РАЗВЕРТКИ - в положение ВНЕШН., аттенюатор МЧ-dBm - в положение 0, ручки МЧ - в положение 10 dBm и 0 dBm.
На магазине затуханий МЗ-50-2 установить затухание 10 дБ.
На приборе Г4-176 установить частоту сигнала 54,18 МГц, уровень сигнала 0,5 В и глубину AM 90 %.
Настроить приемник МТР 31 на частоту первого канала и по прибору Ф2-34 отсчитать фазовый сдвиг j1.
На приборе Ф4-15А установить аттенюатор МЧ-dBm в положение 20.
На магазине затуханий МЗ-50-2 установить затухание 30 дБ.
По прибору Ф2-34 отсчитать фазовый сдвиг сигналов j2.
Изменение
должно быть не более 3°.
3.7.9.7 Определение отношения сигнала к взвешенному флуктуационному шуму проводится по схеме, приведенной на рисунке 24.
Подключить генератор Г4-176 к разъему ВЧ-ПЧ приемника МТР 31 через переход 50 → 75 Ом. Установить частоту сигнала, равной одной из частот в соответствии с таблицей 7.
На вход внешней ТВ модуляции генератора Г4-176 подать от генератора Г3-126/1 модулирующий сигнал с частотой 1,2 МГц.
Уровень промодулированного сигнала установить таким, чтобы отсчет милливольтметра В3-59, подключенного к выходу изображения через визометрический фильтр, составил Uос = 250 мВ.
Отсоединить генератор Г4-176 и подключить ко входу приемника МТР 31 нагрузку 75 Ом.
Измерить уровень собственных флуктуационных помех Uв прибора МТР 31 милливольтметром В3-59.
Отношение сигнал/помеха А, дБ, определить по формуле:
Отношение сигнала к взвешенной флуктуационной помехе должно быть не менее 63 дБ.
3.7.9.8 Определение АЧХ канала звукового сопровождения в режимах ЧМ и AM производится по схеме, приведенной на рисунке 25.
На приемнике МТР 31 нажать кнопки ЗВУК (S1/1), ВЫХОД 50 мкс и отжать кнопку ЧУВСТВИТ.
С помощью кнопки ЧМ 60 кГц установить требуемый предел измерений 60 кГц.
На установке К2-54 включить режим генерации сигналов с калиброванной ЧМ.
Установить на выходе установки К2-54 сигнал одной из частот несущей звукового сопровождения согласно таблице 7 при уровне 110 мВ.
Установить величину девиации частоты 50 кГц модулирующим сигналом частотой 1 кГц.
Измерить прибором В3-59 уровень сигнала Uн на выходе канала звукового сопровождения.
Изменяя частоту модулирующего сигнала, измерить напряжения Uвых на выходе канала звукового сопровождения MTF 31 на частотах 0,03; 0,1; 0,4; 5, 10, 12 и 15 кГц.
Определить неравномерность АЧХ канала звукового сопровождения Н, дБ, по формуле:
Неравномерность АЧХ канала звукового сопровождения приемника МТР 31 в режиме ЧМ должна быть не более ± 0,3 дБ.
Провести аналогичные измерения в режиме AM, установив соответствующие переключатели на приемнике МТР 31 в положения, соответствующие режиму AM.
От установки К2-54 подать AM сигнал с глубиной модуляции 25 % сигналом частотой 1 кГц.
Неравномерность АЧХ канала звукового сопровождения приемника МТР 31 в режиме AM должна быть не более ± 0,5 дБ.
3.7.9.9 Определение погрешности измерения девиации и глубины модуляции производится по схеме, приведенной на рисунке 26.
Провести калибровку приемника МТР 31 для измерения амплитудной модуляции и девиации частоты в соответствии с инструкцией по его эксплуатации.
Установить на выходе генератора Г4-176 одну из несущих частот звукового сопровождения согласно таблице 7 и режим внешней ЧМ.
Подать от генератора Г3-126/1 синусоидальный сигнал с частотой 1 кГц и с уровнем, обеспечивающим девиацию частоты 50 кГц (девиацию измерять измерителем модуляции СК3-45).
Уровень выходного сигнала генератора Г4-176 установить, равным 110 мВ.
Переключателем S5/3 приемника МТР 31 установить предел измерений 60 кГц.
По прибору Р1, входящему в состав МТР 31, определить величину девиации Dи.
Погрешность измерений девиации частоты D D, %, определить по формуле:
D D = 100 (Dи - Dск) / Dск, (30)
где Dск - девиация частоты, устанавливаемая по измерителю модуляции СК3-45.
Провести аналогичные измерения при девиации частот 25 и 140 кГц.
Повторить измерения при частотах модулирующего сигнала 0,03 и 15 кГц.
Погрешность измерений девиации частоты приемником МТР 31 должна быть не более ± 5 %.
На генераторе Г4-176 и измерителе девиации СК3-45 установить режим AM.
Изменяя выходной уровень генератора Г3-126/1, установить по показаниям измерителя девиации СК3-45 величину глубины модуляции Мск = 9 %.
Переключателем S5/6 приемника МТР 31 установить предел измерений 10 %.
Определить величину глубины модуляции Ми по прибору Р1 и вычислить погрешность измерения глубины модуляции D М, %, по формуле:
D М = 100 (Ми - Мск) / Мск (31)
Аналогичные измерения провести при установке глубины модуляции 2 и 25 %.
Повторить измерения на частотах модулирующего сигнала 0,03 и 15 кГц.
Погрешность измерения глубины модуляции приемником МТР 31 должна быть не более ± 8 %.
3.7.9.10 Определение нелинейных искажений производится по схеме, приведенной на рисунке 27.
Переключателем ВЫХОД 50 мкс (S3/2) приемника МТР 31 отключить корректор 50 мкс.
Переключателем ЧМ 150 кГц (S5/2) приемника МТР 31 установить предел измерения девиации частоты 150 кГц.
Генератор Г4-176 установить в режим внешней ЧМ и настроить его на одну из несущих частот звукового сопровождения в соответствии с таблицей 7.
Установить уровень выходного сигнала генератора Г4-176, равным 110 мВ.
Генератор Г3-125 настроить на частоту 1 кГц.
Меняя уровень выходного сигнала генератора Г3-125, установить по измерителю модуляции СК3-45 величину девиации частоты 75 кГц.
С помощью прибора С6-12 измерить коэффициент нелинейных искажений генератора Г4-176 Кг, %, через низкочастотный выход измерителя модуляции, а затем - коэффициент нелинейных искажений на выходе приемника Кизм, %. Коэффициент нелинейных искажений приемника Кпр, %, вычислить по формуле:
(32)
Провести аналогичные измерения на частотах 0,03 и 15 кГц.
Коэффициент нелинейных искажений должен быть не более 0,5 %.
3.7.9.11 Определение отношения сигнала к псофометрическому шуму производится по схеме, приведенной на рисунке 28.
Переключателем ВЫХОД 50 мкс (S3/2) приемника МТР 31 включить корректор 50 мкс.
Переключателем ЧМ 60 кГц (S5/3) приемника МТР 31 установить предел измерения девиации частоты 150 кГц.
На генераторе Г4-176 установить одну из несущих частот звукового сопровождения (таблица 7).
Включить режим внешней ЧМ.
От генератора Г3-126/1 на генератор Г4-176 подать модулирующий сигнал с частотой 1 кГц.
Установить уровень выходного сигнала 110 мВ.
Изменяя уровень выходного сигнала генератора Г3-126/1, установить по прибору Р1 девиацию частоты 50 кГа.
Измерителем ИШС-НЧ с отключенным взвешивающим фильтром измерить напряжение сигнала Uс на выходе приемника МТР 31.
Переключить вход МТР 31 на сопротивление 75 Ом ± 10 %.
В измерителе ИШС-НЧ включить взвешивающий фильтр и измерить напряжение шума Uш.
Определить отношение сигнала к псофометрическому шуму b, дБ, по формуле:
Отношение сигнала к псофометрическому шуму приемника МТР 31 должно быть не менее 66 дБ.
3.7.9.12 Определение отношения сигнал-помеха при проникновении AM сигнала изображения в канал звукового сопровождения производится по схеме, приведенной на рисунке 29. В качестве устройства сложения служит тройник из комплекта измерителя ГВЗ Ф4-15А.
С помощью переключателя ПОДНЕСУЩАЯ (S3/4) приемника МТР 31 включить режим с поднесущей частотой.
Установить на генераторе Г4-176 канала изображения (КИ) одну из несущих частот изображения (таблица 7) с уровнем выходного сигнала, равным 350 мВ.
Переключить генератор Г4-176 (КИ) в режим внешней AM.
На вход внешней AM генератора Г4-176 (КИ) подать от генератора Г3-126/1 модулирующий сигнал с частотой 50 Гц и с уровнем, обеспечивающим глубину амплитудной модуляции 90 %.
Подать от генератора Г4-176 канала звукового сопровождения (КЗС) сигнал с несущей частотой звукового сопровождения в соответствии с выбранной несущей частотой канала изображения.
Установить на генераторе Г4-176 (КЗС) режим внешней ЧМ и уровень выходного сигнала 110 мВ.
Отключить генератор Г4-176 (КИ).
Переключателем ЧМ 60 кГц (S5/3) приемника МТР 31 установить предел измерения девиации частоты 60 кГц.
С помощью переключателя ВЫХОД 50 мкс (S3/2) приемника МТР 31 включить корректор 50 мкс.
Установить на генераторе Г3-126/1 (КЗС) частоту 1 кГц.
Изменяя уровень выходного сигнала генератора Г3-126/1 (КЗС), добиться девиации частоты 50 кГц, отсчитываемой по прибору Р1.
Подключить генератор Г4-176 (КИ).
Отключить взвешивающие фильтры на измерителе ИСШ-НЧ и с его помощью измерить уровень сигнала Uс на выходе канала звукового сопровождения приемника МТР 31.
Выключить генератор Г4-176 (КЗС).
В измерителе ИШС-НЧ включить взвешивающий фильтр.
Измерить напряжение помехи Uп.
Рассчитать отношение сигнал/помеха b, дБ, по формуле:
b = 20 lg Uс / Uп (34)
Отношение сигнал/помеха при проникновении AM сигнала изображения в канал звукового сопровождения приемника МТР 31 должно быть не менее 52 дБ.
3.7.9.13 Определение перекоса плоской части прямоугольных импульсов частоты полей и частоты строк осуществляется по схеме, приведенной на рисунке 30.
На приборе В1-18 установить такой режим работы, который соответствует его работе в качестве источника калиброванных напряжений.
На измерителе мгновенных напряжений И1-10 установить переключатель КОМПЕНСАЦИОННОЕ НАПРЯЖЕНИЕ - в положение ВНЕШН., переключатель ЗАПУСК - в положение ВНЕШН., переключатель ВРЕМЕННОЙ СДВИГ - в положение ВКЛ., переключатель МНОЖИТЕЛЬ - в положение xl и переключатель РЕЖИМ РАБОТЫ - в положение РУЧНОЙ.
На вход генератора Г4-176 для внешней модуляции от генератора Г6-35 подать сигнал № 1 периодический и измерить размах одного из импульсов частотой 50 Гц в точке 0,1 его длительности U01, в точке 0,9 его длительности U09 и в его середине Uср.
Вычислить перекос вершины импульса П, %, по формуле:
Вместо сигнала № 1 подать на генератор Г4-176 сигнал № 3 периодический с введением.
Провести аналогичные измерения перекоса вершины одного из импульсов частоты строк.
Перекос вершины импульса в сигналах должен быть не более ± 0,5 %.
3.7.9.14 Определение затухания несогласованности входов приемника МТР 31 осуществляется с помощью измерителя КСВН Р2-73 панорамного. Измерения проводятся в диапазоне частот 48 - 790 МГц. Методика измерений приводится в техническом описании прибора Р2-73.
Затухание несогласованности должно быть не меньше 26 дБ для входа 0 - 4 дБ и не меньше 23 дБ для входа минус 6 - минус 10 дБ.
3.7.10 Определение метрологических характеристик генератора телевизионных сигналов GTS 11
3.7.10.1 Определение номинальных размахов импульсов измерительных сигналов генератора GTS 11 и погрешностей их установки осуществляется по схеме, приведенной на рисунке 31.
На приборе В1-18 установить такой режим работы, который соответствует его работе в качестве источника калиброванных напряжений.
На измерителе мгновенных напряжений И1-10 установить переключатель КОМПЕНСАЦИОННОЕ НАПРЯЖЕНИЕ - в положение ВНЕШН., переключатель ЗАПУСК - в положение ВНЕШН., переключатель ВРЕМЕННОЙ СДВИГ - в положение ВКЛ., переключатель МНОЖИТЕЛЬ - в положение xl, переключатель РАЗВЕРТКА мкс/дел - в положение 1 и переключатель РЕЖИМ РАБОТЫ - в положение РУЧНОЙ.
К основному выходу генератора GTS 11 подключить нагрузку 75 Ом, а его выходной делитель установить в положение 0 дБ.
С помощью переключателя на выход генератора последовательно подать измерительные сигналы № 1 - № 9, измерить их размахи и считать отсчеты прибора для поверки вольтметров В1-18.
Уровни сигналов должны быть:
размах S импульсов - 300 мВ ± 1 %,
разность уровней черный-гасящий - 50 мВ ± 1 %,
в сигнале № 2 размах импульсов 0,4 Н - 700 мВ ± 1 %, а отклонение уровней импульсов Sin2 T, Sin2 2Т и Sin2 20T от уровня импульса 0,4 Н должно быть не более ± 1 %,
в сигнале № 4 разность уровней ступеней - не более 0,5 %,
в сигнале № 5 размах импульсов частотой 200 кГц - 700 мВ ± 1 %,
в сигнале № 8 размах опорного импульса - 60 мВ ± 1 %, а отклонения размахов частотных пакетов от размаха опорного импульса не должны превышать ± 1 %,
в сигнале № 9 размах сигнала цветности в первом интервале должен быть 100 мВ ± 1 %, а во втором - 60 мВ ± 1 %.
3.7.10.2 Определение перекоса вершины прямоугольных импульсов в измерительных сигналах № 1, № 2 и № 5 осуществляется по схеме, приведенной на рисунке 31.
На приборе В1-18 установить такой режим работы, который соответствует его работе в качестве источника калиброванных напряжений.
На измерителе мгновенных напряжений И1-10 установить переключатель КОМПЕНСАЦИОННОЕ НАПРЯЖЕНИЕ - в положение ВНЕШН., переключатель ЗАПУСК - в положение ВНЕШН, переключатель ВРЕМЕННОЙ СДВИГ - в положение ВКЛ., переключатель МНОЖИТЕЛЬ - в положение xl, переключатель РАЗВЕРТКА мкс/дел - в положение 1 и переключатель РЕЖИМ РАБОТЫ - в положение РУЧНОЙ.
К основному выходу генератора GTS 11 подключить нагрузку 75 Ом, а его выходной делитель установить в положение 0 дБ.
Подать на выход генератора сигнал № 1 и измерить размах одного из импульсов частотой 50 Гц в точке 0,1 его длительности U01, в точке 0,9 его длительности U09 и в его середине Uср.
Вычислить перекос вершины импульса П, %, по формуле:
Провести аналогичные измерения перекоса вершины одного из импульсов 0,4 Н в сигнале № 2 и одного из импульсов частотой 200 кГц в сигнале № 5.
Перекос вершины импульса в сигналах должен быть не более 1 %.
3.7.10.3 Определение длительностей импульсов в измерительных сигналах осуществляется по схеме, приведенной на рисунке 32.
На источнике временных сдвигов И1-8 установить переключатель ЗАПУСК в положение ВНЕШН., переключатель ПЕРИОД - в положение 0, переключатель ЗАДЕРЖКА 50 нс - в положение 0 и переключатель ЗАДЕРЖАННЫЙ ИМПУЛЬС - в положение П.
На осциллографе установить режим ждущей развертки, внешний запуск и чувствительность канала вертикального отклонения 0,2 В/дел.
К основному выходу генератора GTS 11 подключить нагрузку 75 Ом, а к выходу источника И1-8 - нагрузку 50 Ом.
Подавая на выход генератора соответствующие измерительные сигналы, с помощью источника временных сдвигов И1-8 и осциллографа С1-126, который играет роль индикатора, измерить длительности импульсов, причем длительность измеряется на уровне 0,5 от их размаха.
В сигнале № 1 измерить длительность первого полупериода, которая должна быть (10 ± 0,5) мс.
Выполнить аналогичные измерения параметров импульсов частотой 200 кГц в сигнале № 5.
Длительность полупериода импульсов в сигнале № 5 должна быть(2,5 ± 0,1) мкс, а длительность фронтов в режиме Т и Т/2 должна быть соответственно (80 ± 5) нс и (40 ± 05) нс.
В сигнале № 2 измерить длительность фронта импульса 0,4Н при нажатой кнопке Т переключателя 0,4 Н (S3/3) генератора GTS 11, а затем при нажатой кнопке 2Т.
Длительности фронтов импульса 0,4 Н должны быть соответственно: (80 ± 5) мкс и (160 ± 5) мкс.
Длительности импульсов Sin2 T, Sin2 2Т, Sin2 20T на уровне 0,5 должны быть соответственно: (80 ± 5) нс, (160 ± 5) нс и (2000 ± 60) нс.
Длительность строчного гасящего импульса Z должна быть (12 ± 0,3) мкс.
Длительность импульса строчной синхронизации S должна быть (4,7 ± 0,2) мкс.
Период строчной развертки Н должен быть (64 ± 0,032) мкс.
3.7.10.4 Определение частоты цветовой поднесущей осуществляется с помощью частотомера Ч3-65.
На вход частотомера от разъема Х7 4 MHz генератора GTS 11 подать сигнал цветовой поднесущей и по табло частотомера отсчитать ее частоту.
Частота цветовой поднесущей должна быть (4433619 ± 10) Гц.
3.7.10.5 Определение частоты синусоидальных сигналов в измерительном сигнале № 8 производится по схеме, приведенной на рисунке 32.
На источнике временных сдвигов И1-8 установить переключатель ЗАПУСК в положение ВНЕШН., переключатель ПЕРИОД - в положение 0, переключатель ЗАДЕРЖКА 50 нс - в положение 0 и переключатель ЗАДЕРЖАННЫЙ ИМПУЛЬС - в положение П.
На осциллографе установить режим ждущей развертки, внешний запуск и чувствительность канала вертикального отклонения 0,2 В/дел.
К основному выходу генератора GTS 11 подключить нагрузку 75 Ом, а к выходу источника И1-8 - нагрузку 50 Ом.
С помощью источника временных сдвигов И1-8 и осциллографа С1-126 измерить длительности двух периодов сигнала первого пакета (0,5 МГц), шести периодов сигнала второго пакета (1,5 МГц), по десяти периодов сигналов третьего (2,8 МГц), четвертого (4,0 МГц), пятого (4,8 МГц) и шестого (5,8 МГц) пакетов.
Измеренные длительности должны быть: для первого и второго пакетов - (4 ± 0,1) мкс, для третьего пакета - (3,57 ± 0,09) мкс, для четвертого пакета - (2,5 ± 0,06) мкс, для пятого пакета - (2,08 ± 0,05) мкс и для шестого пакета - (1,72 ± 0,04) мкс.
3.7.11 Определение метрологических характеристик генератора и избирательного измерителя уровня GSM 1
3.7.11.1 Определение точности уровня выходного сигнала генератора GSM 1 осуществляется с помощью милливольтметра В3-59.
При выключенном приборе проверить установку «механического нуля» стрелочного индикатора Р1.
К выходному разъему Х20 генератора GSM 1 подключить нагрузочное сопротивление 75 Ом и милливольтметр В3-59.
Включить прибор GSM 1 и дать ему прогреться в течение 30 мин.
Отжать кнопку S12 выбора выхода.
Установить частоту выходного сигнала генератора, равной 0,1 МГц.
Переключатели S7/1-6, S8/1-10 и S9/1-10 генератора GSM 1 установить в положение 0 дБ, соответствующее уровню выходного сигнала 1 В.
С помощью милливольтметра В3-59 измерить выходное напряжение.
Выходное напряжение должно находиться в пределах 1 B ± 0,2 %.
3.7.11.2 Определение АЧХ генератора производится по схеме, приведенной на рисунке 33.
На генераторе GSM 1 установить выходное напряжение 1 В (0 дБ) и частоту выходного сигнала 100 кГц.
Последовательно устанавливая частоты выходного сигнала 10; 15; 20; 30; 500 кГц; 1; 5; 10 и 20 МГц, снять показания Uf милливольтметра В3-59.
Вычислить неравномерность АЧХ Н, дБ, по формуле:
На частотах от 10 до 20 кГц неравномерность АЧХ должна быть не более ± 0,3 дБ.
На частотах от 30 кГц до 20 МГц неравномерность АЧХ должна быть не более ± 0,15 дБ.
3.7.11.3 Определение нелинейных искажений генератора проводится измерителем нелинейных искажений СК6-16.
На выходе генератора GSM 1 включить нагрузку 75 Ом и установить уровень выходного напряжения 1 В (размах) на частоте 10 кГц.
К выходу генератора GSM 1 подключить измеритель СК6-16 и измерить нелинейные искажения на частотах 10, 20, 100 и 199 кГц.
Вместо измерителя нелинейных искажений СК6-16 к выходу генератора GSM 1 подключить селективный вольтметр В6-15, используя его высокоомный вход (нагрузка 75 Ом остается включенной).
Установить частоту сигнала генератора GSM 1 F = 1 МГц с уровнем U1эфф = 0,355 мВ (1 В - размах).
Селективным вольтметром В6-15 измерить напряжения U2 и U3 2-й и 3-й гармоник (т.е. на частотах 2F = 2 МГц и 3F = 3 МГц).
Коэффициент гармоник К, %, рассчитать по формуле:
Аналогичные измерения выполнить на частотах 5 и 10 МГц. Коэффициент гармоник не должен превышать 1 %.
Примечание - При отсутствии прибора СК6-16 измерения в диапазоне частот до 200 кГц можно проводить с помощью селективного вольтметра В6-15 по изложенной методике.
3.7.11.4 Определение АЧХ избирательного измерителя уровня производится по схеме, приведенной на рисунке 34.
После 30-ти минутного прогрева прибора GSM 1 произвести калибровку избирательного измерителя уровня в соответствии с его инструкцией по эксплуатации.
Подсоединить ко входу Х16 прибора GSM 1 выход генератора Г4-165, выходное напряжение которого контролировать милливольтметром В3-59.
С помощью кнопки S1/1 измерителя GSM 1 выбрать передний вход 75 Ом.
Установить на выходе генератора Г4-165 напряжение 1 В на частоте 100 кГц.
С помощью кнопки 4 дБ ЛИН. установить диапазон измерений 4 дБ.
Поддерживая постоянный уровень напряжения на входе измерителя GSM 1, снять показания его индикатора на частотах 10, 20, 30, 500 кГц и 1, 5, 10 и 20 МГц.
Показания индикатора на указанных частотах должны отличаться от его показания на частоте 100 кГц не более чем на ± 0,2 дБ.
4.1 Операции поверки
4.1.1 Состав поверяемой аппаратуры, перечень метрологических характеристик и операций по поверке приведены в таблице 10.
|
Номер пункта методических указаний по поверке |
Виды поверки |
||
|
первичная |
периодическая |
||
|
Внешний осмотр и опробование |
Да |
Да |
|
|
Определение метрологических характеристик видеоанализатора компьютерного ВК-1 |
|
|
|
|
- точности преобразований синусоидальных сигналов |
Да |
Да |
|
|
- точности формирования синусоидальных сигналов1) |
Да |
Да |
|
|
- погрешности измерения синусоидальных сигналов1) |
Да |
Да |
|
|
- нелинейности амплитудной характеристики измерительных каналов |
Да |
Да |
|
|
- нелинейных искажений формируемых синусоидальных сигналов1) |
Да |
Да |
|
|
- нелинейных искажений каналов формирования и преобразования синусоидальных сигналов1) |
Да |
Да |
|
|
- характеристики группового времени запаздывания каналов формирования сигналов1) |
Да |
Да |
|
|
- характеристики группового времени запаздывания каналов преобразования1) 2) |
Да |
Да |
|
|
- погрешностей измерения параметров ТВ сигналов1) 2) |
Да |
Да |
|
|
- пределов допускаемой дополнительной погрешности измерения параметров сигналов |
Да |
Да |
|
|
Поверка датчика текущего времени |
Да |
Да |
|
|
1) Для модификации ВК-1/2 |
|
||
|
2) Для модификации ВК-1/1 |
|
||
4.2 Средства поверки
4.2.1 При проведении поверки должны применяться средства поверки, указанные в таблице 11. Допускается замена перечисленных средств поверки аналогичными по назначению и параметрам, если они соответствуют необходимым требованиям к измерениям.
4.2.2 Применяемые средства поверки должны быть поверены и иметь свидетельства о поверке.
|
Наименование и тип основного или вспомогательного средства поверки; обозначение нормативного документа, регламентирующего технические требования, и (или) метрологические и основные технические характеристики средства поверки |
|
|
Вольтметр переменного тока В3-49; ЯЫ2.710.061 ТУ; U = (0,1 - 3) В; f = 50 Гц - 6,5 МГц; D £ ± 0,2 % |
|
|
Генератор сигналов низкочастотный Г3-126/1; УИВР.468.782.006 ТУ; f = 10 Гц - 10 МГц; D £ ± 3 % |
|
|
Генератор сигналов низкочастотный Г3-123; ЕХ3.269.113 ТУ; f = 1 Гц - 300 кГц; D £ ± 1 % |
|
|
Осциллограф специальный С9-1; И22.044.069 ТУ; U = (0 - 5) B; D £ ± 1 % |
4.3 Требования к квалификации поверителей
4.3.1 Поверка должна осуществляться лицами, аттестованными в качестве поверителей в порядке, установленном в [2].
4.4 Требования безопасности
4.4.1 При проведении поверки должны соблюдаться требования безопасности в соответствии с ГОСТ 12.3.019.
4.5 Условия поверки
4.5.1 При проведении поверки должны соблюдаться следующие условия:
температура окружающей среды (20 ± 5) °С;
относительная влажность воздуха (65 ± 15) %;
атмосферное давление (100 ± 4) кПа (750 ± 30) мм.рт.ст.;
электропитание от сети переменного тока напряжением (220 ± 4,4) В,
частотой (50 ± 0,5) Гц.
4.6 Подготовка к поверке
4.6.1 Поверитель должен изучить эксплуатационные технические документы на поверяемые приборы и используемые средства поверки.
4.6.2 Поверяемый прибор и используемые средства поверки должны быть заземлены, если это предусмотрено их конструкцией, а также на них должно быть включено электропитание и выдержано время установления рабочего режима, указанное в технической документации.
4.7 Проведение поверки
4.7.1 Внешний осмотр и опробование
4.7.1.1 При внешнем осмотре видеоанализатора проверяются:
- состояние лакокрасочных и гальванических покрытий;
- отсутствие механических повреждений корпуса и соединительных элементов;
- состояние соединительных кабелей.
Перед проведением поверки необходимо подготовить испытываемый видеоанализатор и средства поверки к работе в соответствии с их инструкциями по эксплуатации.
Установить блоки видеоанализатора в персональный компьютер, а средства поверки подключить к питающей сети и дать им прогреться в течение времени, оговоренном в их инструкциях по эксплуатации, для установления рабочего режима.
4.7.2 Определение метрологических характеристик видеоанализатора компьютерного ВК-1
4.7.2.1 Определение точности преобразований синусоидальных сигналов, поступающих на измерительные входы видеоанализатора производить по структурной схеме, приведенной на рисунке 35, путем подачи сигналов тональных частот 15625 Гц, 0,5; 1; 2; 4; 4,8 и 5,8 МГц с напряжением 0,18 В эфф от генератора синусоидальных сигналов на один из измерительных входов видеоанализатора.
Величины напряжений синусоидальных сигналов на измерительном входе компьютерного видеоанализатора устанавливаются по показаниям вольтметра переменного тока. Работа компьютерного видеоанализатора осуществляется при установленном программным способом нулевом значении фиксации постоянного уровня сигнала (нулевой уровень фиксации устанавливается в видеоанализаторе по умолчанию при отсутствии программных инструкций о значении этого уровня).
Величины размахов синусоидальных сигналов выводятся в правом верхнем углу дисплея видеоанализатора, работающего в режиме компьютерного осциллографирования. При этом максимальные отклонения величин измеряемых размахов синусоидальных сигналов от их среднего значения должны быть не более ± 3,5 мВ.
Методика п. 4.7.2.1 используется для определения погрешностей измерений при подаче сигналов последовательно на каждый из трех входов видеоанализатора. Выбор используемого входа осуществляется программным способом.
4.7.2.2 Определение точности формирования видеоанализатором (модификация ВК-1/2) синусоидальных сигналов проводить по структурной схеме, приведенной на рисунке 36.
Размах синусоидальных сигналов программно устанавливается равным 500 мВ. Вольтметром переменного тока производится измерение значения напряжения синусоидального сигнала, сформированного компьютером, на каждом из выходов видеоанализатора.
Результаты измерений эффективных значений напряжений для каждой из частот 15,625 кГц; 0,5; 1; 2; 4; 4,8; 5,8 МГц должны отличаться от их средней величины не более чем на ± 3,5 мВ.
4.7.2.3 Определение погрешности измерения синусоидальных сигналов видеоанализатором (модификация ВК-1/2) осуществляется по структурной схеме, приведенной на рисунке 37.
Синусоидальные сигналы с частотами 15,625 кГц; 0,5; 1; 2; 4; 4,8 и 5,8 МГц, сформированные компьютером, последовательно подаются с одного из выходов видеоанализатора непосредственно на один из его измерительных входов.
Величины измеряемых размахов синусоидальных сигналов, выводимые в правом верхнем углу дисплея, должны отличаться от их средней величины не более чем на ± 5 мВ.
4.7.2.4 Определение нелинейности амплитудной характеристики измерительных каналов видеоанализатора проводить по структурной схеме, приведенной на рисунке 38.
Для измерений используется сумма двух синусоидальных сигналов (низкой частоты 15,625 кГц и высокой частоты 1,2 и 4,43 МГц), которые подаются на измерительный вход видеоанализатора с выходов соответствующих генераторов через пассивный сумматор.
Перед началом измерений с помощью вольтметра переменного тока напряжение низкочастотной составляющей измерительного сигнала устанавливается равным 300 мВ эфф. (при выключенном генераторе высокочастотной насадки), а напряжение высокочастотной насадки устанавливается равным 200 мВ эфф. (при отключенном генераторе низкочастотной составляющей).
Измерения проводятся дважды при различных частотах насадки.
В видеоанализаторе с помощью цифрового фильтра происходит подавление низкочастотной составляющей измерительного сигнала (15,625 кГц).
Форма огибающей полученного в результате фильтрации сигнала высокочастотной насадки отображается на экране компьютерного осциллографа.
Значение нелинейности амплитудной характеристики измерительных каналов видеоанализатора, программно рассчитанное по искажениям огибающей высокочастотной насадки, выводится в правом верхнем углу дисплея.
Это значение должно быть не более 0,25 %.
4.7.2.5 Определение нелинейных искажений синусоидальных сигналов, формируемых видеоанализатором (модификация ВК-1/2) проводить в соответствии со структурной схемой, приведенной на рисунке 39.
Размах низкочастотной составляющей (синусоидальный сигнал частотой 15,625 кГц) измерительного сигнала программно устанавливается равным 800 мВ. Размах сигнала высокочастотной насадки (1,2 или 4,43 МГц) программно устанавливается равным 600 мВ.
Нелинейность канала формирования измерительных сигналов проверяется с помощью телевизионного осциллографа в режиме с использованием фильтра выделения насадки частотой 1,2 или 4,43 МГц.
Измерение максимального отклонения размаха насадки осуществляется с применением электронной лупы осциллографа путем оценки неравномерности ее верхней и нижней огибающих, которая должна быть не более 0,25 %.
4.7.2.6 Нелинейные искажения каналов формирования и преобразования синусоидальных сигналов определяются в соответствии со структурной схемой, приведенной на рисунке 37.
Сигналы частотой 15,625 кГц с высокочастотной насадкой (1,2 и 4,43 МГц), сформированные компьютером, подаются с выхода видеоанализатора (модификация ВК-1/2) непосредственно на его измерительный вход. С помощью компьютера производятся подавление низкочастотной составляющей измерительного сигнала и амплитудное детектирование сигнала, выделенного с помощью фильтра. Форма сигнала высокочастотной насадки, полученного в результате фильтрации, отображается на экране компьютерного осциллографа.
Величина нелинейных искажений каналов формирования и измерения синусоидальных сигналов, рассчитанная по искажениям указанного сигнала, выводится в правом верхнем углу дисплея компьютера. Это значение должно быть не более 0,4 %.
4.7.2.7 Определение характеристики группового времени запаздывания каналов формирования измерительных сигналов в видеоанализаторе (модификация ВК-1/2) производится по структурной схеме, приведенной на рисунке 39.
Для анализа характеристик группового времени запаздывания видеоанализатор формирует измерительный сигнал, содержащий сложные синусквадратичные импульсы с различными частотами заполнения:
, (39)
где T¢ = 2 мкc - длительность сигнала, отсчитанная на половине его размаха,
f0 - частота заполнения, равная 1; 2; 3; 4; 5 и 5,5 МГц,
U0 - размах сигнала.
В случае, если в канале формирования групповое время запаздывания низкочастотной составляющей этого сигнала отличается от группового времени запаздывания компоненты, спектр которой концентрируется в области частоты f0, сигнал на выходе видеоанализатора имеет вид:
(40)
где t - задержка одной компоненты сигнала относительно другой.
В этом случае форма сигнала имеет вид, показанный на рисунке 40.
Характерной особенностью такого сигнала является отклонение огибающей основания сигнала от прямой линии. При этом, измеряя размах отклонения огибающей основания сигнала (D U) и выражая эту величину в процентах относительно величины размаха верхней огибающей сигнала U0 (D U = 100 D U / U0), можно получить соотношение, определяющее величину t, нc:
По значениям D U, измеренным в шести указанных сигналах, на экране осциллографа с использованием электронной лупы, вычисляются величины t, которые должны быть не более 3 нc на частотах 4 и 5 МГц и более 6 нc - на всех остальных частотах.
4.7.2.8 Определение характеристики группового времени запаздывания каналов преобразования измерительных сигналов (модификация ВК-1/1) и каналов формирования измерительных сигналов и их преобразования (модификация ВК-1/2) в видеоанализаторе производится по структурной схеме, приведенной на рисунке 41. В случае модификации ВК-1/1 в качестве генератора используется поверенный видеоанализатор ВК-1/2.
Принцип измерения аналогичен изложенному в п. 3.7.2.7. Результаты измерения искажений сигналов воспроизводятся на экране компьютерного осциллографа.
Величины t должны быть не более 5 нс на частотах 4 и 5 МГц и не более 10 нс на всех остальных частотах.
4.7.2.9 Определение погрешностей измерения параметров ТВ сигналов и качественных показателей ТВ канала, указанных в таблице 12 при номинальных значениях измеряемых величин, а также погрешностей формирования измерительных сигналов (модификация ВК-1/2) производится по структурной схеме, приведенной на рисунке 41.
В случае модификации ВК-1/1 в качестве генератора ТВ измерительных сигналов используется поверенный прибор ВК-1/2.
Видеоанализатором формируется и с его выхода подается на измерительный вход любой периодический измерительный сигнал с испытательными строками, введенными в интервалы 17, 18, 330 и 331 строк гасящих импульсов полей, подается с его выхода на измерительный вход. Размах сигналов испытательных строк программно устанавливается равным номинальному значению. Форма сигнала контролируется по экрану компьютерного осциллографа.
Результаты измерений, воспроизводимые на экране дисплея в составе таблиц «Основные параметры» и «Дополнительные параметры», должны соответствовать величинам, указанным в таблице 12.
После оценки результатов измерений контролируется форма генерируемых и измеряемых сигналов на экране дисплея, переключенного в осциллографический режим работы, согласно описанию программного обеспечения.
Далее программно изменяется размах сигналов испытательных строк на ± 50 %. При этом результат измерений параметра ИБ должен отличаться от заданной величины не более чем на ± 3 %.
4.7.2.10 Определение пределов допускаемой дополнительной погрешности измерения параметров сигналов и качественных показателей ТВ канала, обусловленных наличием флуктуационных помех во входном сигнале, производится по методике, изложенной в п. 4.7.2.9, при введении в сигнал программным способом флуктуационной помехи с уровнями 40 дБ и 26 дБ. При этом погрешность измерения должна увеличиваться в первом случае не более, чем на величину основной погрешности, а во втором случае - не более, чем на учетверенную величину основной погрешности, указанной в таблице 12.
4.7.3 Поверка датчика текущего времени
Поверка датчика текущего времени производится путем сравнения текущего времени, индицируемого видеоанализатором, с текущим временем, отсчитываемым компьютером.
5.1 Средства измерений, удовлетворяющие требованиям настоящих Методических указаний, признаются годными к применению. При этом результаты поверки оформляются путем нанесения оттиска поверительного клейма на средство измерений или техническую документацию по [4] или выдачи «Свидетельства о поверке», форма которого приведена в [3].
5.2 Средства измерений, не удовлетворяющие требованиям настоящих Методических указаний, к дальнейшему применению не допускаются. На такие средства измерений выдаются извещения с указанием причин их непригодности к дальнейшей эксплуатации по форме, приведенной в [3], гасятся клейма предыдущих поверок по [4], а в эксплуатационных паспортах (или их дубликатах) делаются соответствующие записи.
(информационное)
[1] Рекомендация МИ 2526-99 «Государственная система обеспечения единства измерений. Нормативные документы на методики поверки средств измерений. Основные положения»
[2] ПР 50.2.012-94 «Порядок аттестации поверителей средств измерений»
[3] ПР 50.2.006-94 «Порядок проведения поверки средств измерений»
[4] ПР 50.2.007-94 «Поверительные клейма»
Ключевые слова: поверка, аппаратура, метрологические характеристики, погрешность, средства измерений, амплитуда, частота, калибровка, напряжение, уровень, сигнал, нелинейность, затухание, фильтр, фаза, перекос, неравномерность, чувствительность, искажение, гармоника, яркость, цветность, полярность, задержка, усиление, модуляция, девиация, шум, помеха, импульс, несогласованность, размах, длительность, точность.
СОДЕРЖАНИЕ
|
3 Поверка телевизионной измерительной аппаратуры TMZ 81. 2 4 Поверка видеоанализатора компьютерного ВК-1. 37 |