
ГОСУДАРСТВЕННЫЙ КОМИТЕТ РОССИЙСКОЙ
ФЕДЕРАЦИИ ПО СВЯЗИ И ИНФОРМАТИЗАЦИИ
РУКОВОДЯЩИЙ ДОКУМЕНТ ОТРАСЛИ
Средства
измерений параметров радиосвязи,
радиовещания и телевидения специализированные
Методические
указания по поверке импульсных
рефлектометров ИР-4 и ИР-6, измерителей потери
достоверности ИПД-2
РД 45.012-98
ЦНТИ «ИНФОРМСВЯЗЬ»
Москва - 1999
Предисловие
1. РАЗРАБОТАН Московским Техническим Университетом Связи и Информатики (МТУСИ)
ВНЕСЕН Научно-техническим управлением и охраны труда Госкомсвязи России
2. УТВЕРЖДЕН Госкомсвязи России
3. ВВЕДЕН В ДЕЙСТВИЕ информационным письмом от 11.08.99 г. № 4826
4. ВВЕДЕН ВПЕРВЫЕ
СОДЕРЖАНИЕ
|
2. Методические указания по поверке специализированных средств измерений ИР-4, ИР-6 и ИПД-2. 2 2.1. Поверка импульсных рефлектометров ИР-4. 2 2.2 Поверка импульсных рефлектометров ИР-6. 5 |
РУКОВОДЯЩИЙ ДОКУМЕНТ ОТРАСЛИ
|
Средства измерений параметров радиосвязи, радиовещания и телевидения специализированные Методические указания по поверке импульсных рефлектометров ИР-4 и ИР-6, измерителей потери достоверности ИПД-2 |
Дата введения 01.09.99 г.
Настоящий руководящий документ отрасли устанавливает порядок поверки импульсных рефлектометров ИР-4 и ИР-6, а также измерителей потери достоверности ИПД-2.
Требования руководящего документа обязательны для выполнения специалистами метрологической службы отрасли, занимающихся поверкой данных типов средств измерений.
Руководящий документ отрасли разработан с учетом положений РД 50-660-88 «Документы на методики поверки средств измерений», введенного в действие постановлением Госстандарта России от 22 февраля 1988 года № 313 и стандарта отрасли ОСТ 45.88-96 «Отраслевая система стандартизации. Порядок разработки руководящих документов отрасли».
2.1.1. Условия поверки
При поверке импульсных рефлектометров ИР-4 должны соблюдаться следующие условия:
температура окружающей среды + 20 ± 5 °С;
относительная влажность 65 ± 15 %;
атмосферное давление 100 ± 4 кПа (750 ± 30 мм.рт.ст);
напряжение сети электропитания 220 ± 4,4 В, 50 Гц;
время прогрева поверяемого импульсного рефлектометра не менее 30 минут.
2.1.2. Операции поверки
Поверка импульсных рефлектометров ИР-4 должна производиться в объеме и последовательности операций, указанной в таблице 1.
ТАБЛИЦА 1
|
Номера пунктов методических указаний по поверке ИР-4 |
|
|
1 |
2 |
|
Опробование |
|
|
Определение диапазона несущий частоты зондирующих импульсов |
|
|
Определение коэффициента направленности направленного ответвителя |
|
|
Определение минимальной измеряемой величины коэффициента отражения |
|
|
Определение погрешности измерения коэффициента отражения |
|
|
Определение разрешающей способности по расстоянию |
|
|
Определение погрешности измерений расстояний до неоднородностей |
|
|
Определение погрешности установки несущей частоты |
2.1.3 Средства поверки
При проведении поверки импульсных рефлектометров ИР-4 должны применяться средства измерений, указанные в таблице 2.
ТАБЛИЦА 2
|
Наименование средства измерения |
Тип или ТУ |
Норма основной погрешности |
|
1 |
2 |
3 |
|
Аттенюатор поляризационный волноводный |
Д3-31 |
40 дБ |
|
ЕЭ0.224.013 ТУ |
(0,01 + 0,004А) дБ |
|
|
Комплект образцовых нагрузок |
Э9-79 |
± (0,5 - 1) % |
|
|
ПИ2.700.037 |
|
|
Частотомер электронно-счетный |
Ч3-66 |
5´10-5 |
|
|
ДЛИ2.721.010 |
|
Допускается применение других средств измерений, если они обеспечивают измерение метрологических характеристик поверяемых импульсных рефлектометров ИР-4 с требуемой точностью.
При опробовании импульсных рефлектометров ИР-4 проверить:
четкость фиксации переключателей и совпадение их указателей с соответствующими отметками на шкалах;
отсутствие механических повреждений, которые могут повлиять на их работу;
возможность управления прибором.
2.1.5 Определение диапазона несущей частоты зондирующих импульсов
Для определения диапазона несущей частоты зондирующих импульсов подключить к гнезду ВЫХ.ГЕН.СВЧ поверяемого прибора частотомер Ч3-66. Установив переключатель КОНТРОЛЬ ТОКОВ И НАПРЯЖЕНИЙ, расположенный на блоке питания, в положение V УПР.ГЕН., записать показание стрелочного прибора (вся шкала прибора 150 В). Открыв откидную крышку, расположенную на правой стенке кожуха блока СВЧ, с помощью отвертки с изолированной ручкой поворачивать ось резистора V УПР.ГЕН. до тех пор, пока стрелочный прибор не покажет напряжение минус 30 В. После выполнения этих операций с помощью частотомера Ч3-66 измерить несущую частоту генератора СВЧ в двух крайних точках шкалы ГИГАГЕРЦЫ (3,4 и 3,9 ГГц). По окончании измерений установить первоначальное смещение на управляющем электроде лампы генератора.
Диапазон несущей частоты зондирующих импульсов должен находиться в пределах 3400 ± 20 - 3900 ± 20 Мгц.
2.1.6 Определение коэффициента направленности направленного ответвителя
Для определения коэффициента направленности направленного ответвителя подключить к нему волновод 3в5.060.302, входящей в комплект рефлектометра. Последовательно с кабелем, соединяющим гнездо ВХОД УС.СВЧ и гнездо ВЫХОД направленного ответвителя, подключить аттенюатор Д3-31. С помощью заглушки 3в8.632.433, входящий в комплект рефлектометра, закоротить конец волновода. Переключатель ПРЕДЕЛЫ ИЗМЕРЕНИЯ установить в положение 30, а с помощью ручки СМЕЩЕНИЕ совместить линию развертки с нижней горизонтальной линией шкалы электронно-лучевой трубки (ЭЛТ). Ручкой УСТАНОВКА ЧАСТОТЫ установить по шкале ГИГАГЕРЦЫ частоту 3,4 ГГц. Шкалу ДЕЦИБЕЛЫ измерительного аттенюатора рефлектометра установить на нуль. С помощью аттенюатора Д3-31 установить размер изображения импульса, отраженного от заглушки, равным 20 мм и провести отсчет затухания Ан, вносимого аттенюатором Д3-31. Затем вместо заглушки к концу волновода подключить нагрузку Э9-79/4 и с помощью аттенюатора Д3-31 установить такой же размер зондирующего импульса (первый импульс). Провести отсчет затухания Ак, вносимого аттенюатором Д3-31, и подсчитать коэффициент направленности Кно по формуле:
Кно = Ан - Ак, дБ
Измерения провести в диапазоне 3,6 - 3,9 ГГц через каждые 100 МГц. Полученные данные сравнить с графиком градуировки направленного ответвителя.
2.1.7 Определение минимальной измеряемой величины коэффициента отражения
Для определения минимальной измеряемой величины коэффициента отражения подключить к направленному ответвителю рефлектометра волновод 3в5.060.302, на конце которого установить нагрузку Э9-79/4. Шкалу ДЕЦИБЕЛЫ рефлектометра установить на нуль. Между гнездом ВХОД УС.СВЧ и гнездом ВЫХОД направленного ответвителя подключить аттенюатор Д3-31. С помощью ручки УСТАНОВКА ЧАСТОТЫ установить частоту 3,4 ГГц, а с помощью ручки УРОВЕНЬ ВЫХОДА добиться максимума амплитуды зондирующего импульса (первый импульс). С помощью аттенюатора Д3-31 установить размер зондирующего импульса, равный 10 мм.
Минимальная измеряемая величина коэффициента отражения подсчитывается по формуле:
Nmиh = К + А, дБ
где: К - коэффициент направленности направленного ответвителя, дБ;
А - затухание, вносимое аттенюатором Д3-31, дБ.
Измерения проводить в диапазоне от 3,4 до 3,9 ГГц через каждые 100 Мгц.
Минимальная измеряемая величина коэффициента отражения должна быть не более минус 45 дБ во всем диапазоне частот 3,4 - 3,6 ГГц и не более минус 54 дБ в одной точке этого диапазона.
2.1.8 Определение погрешности измерения коэффициента отражения
Для определения погрешности измерения коэффициента отражения подключить к направленному ответвителю рефлектометра волновод 3в5.060.302, на другом конце которого установить нагрузку Э9-79/4. С помощью ручки УСТАНОВКА ЧАСТОТЫ установить частоту 3,4 ГГц и провести измерение отражения от этой нагрузки. Измерение отражения от нагрузки проводится по методике, изложенной в техническом описании и инструкции по эксплуатации импульсных рефлектометров ИР-4. Измерения выполнить для случаев настройки нагрузки Э9-79/4 на максимальное и минимальное отражение от нее. Провести измерения также на частотах 3,65 и 3,9 ГГц. Аналогичные измерения выполнить и для нагрузки Э9-79/2. Результаты измерений сравнить с паспортными значениями коэффициента отражения от образцовых нагрузок. Погрешность измерения коэффициента отражения не должна быть более ± 3 дБ.
2.1.9 Определение разрешающей способности по расстоянию
Для определения разрешающей способности по расстоянию подключить к направленному ответвителю рефлектометра волновод 3в5.060.302, на конце которого установить нагрузку Э9-79/4. Переключатель ПРЕДЕЛЫ ИЗМЕРЕНИЯ установить в положение 30. С помощью ручки УСТАНОВКА ЧАСТОТЫ установить частоту 3,4 ГГц, а с помощью ручки ИЗМЕРЕНИЕ ОТРАЖЕНИЯ установить размер изображения импульсов на экране ЭЛТ не более 20 мм. Ручка УРОВЕНЬ ВЫХОДА должна находиться в крайнем левом положении.
Разрешающая способность будет равна длине волновода 3в5.060.302, если уровень, соответствующий слиянию заднего фронта зондирующего импульса с передним фронтом отраженного импульса, не будет превышать 0,4 от амплитуды импульсов.
Измерения провести во всем диапазоне 3,4 - 3,9 ГГц через каждые 100 МГц.
Разрешающая способность по расстоянию должна быть не более 3 м.
2.1.10 Определение погрешности измерений расстояний до неоднородностей
Для определения погрешности измерения расстояний до неоднородностей подключить к направленному ответвителю рефлектометра волноводный тракт сечением 25´58 мм и длиной 120 м. Ручкой УСТАНОВКА ЧАСТОТЫ установить частоту 3,4 ГГц. Переключатель ПРЕДЕЛЫ ИЗМЕРЕНИЯ установить в положение 30. Провести измерения расстояний до неоднородностей, имеющихся в местах стыков секций волноводного тракта. Измерение расстояний до неоднородностей проводится по методике, изложенной в техническом описании и инструкции по эксплуатации импульсных рефлектометров ИР-4.
Аналогичные измерения провести при установке переключателя ПРЕДЕЛЫ ИЗМЕРЕНИЯ в положения 60 и 120.
Погрешность измерения расстояний не должна быть более ± (5 % + 1 м).
2.1.11 Определение погрешности установки несущей частоты
Определение погрешности установки несущей частоты проводится по методике, изложенной в пункте 2.1.5 настоящих методических указаний. Измерения проводить в диапазоне 3,4 - 3,9 ГГц через каждые 100 МГц.
Погрешность установки частоты не должна быть более ± 20 МГц.
2.2.1 Условия поверки
При поверке импульсных рефлектометров ИР-6 должны соблюдаться следующие условия:
температура окружающей среды +20 ± 5 °С;
относительная влажность 65 ± 15 %;
атмосферное давление 100 ± 4 кПа (750 ± 30 мм.рт.ст.);
напряжение сети электропитания 220 ± 4,4 В, 50 Гц;
время прогрева поверяемого импульсного рефлектометра не менее 30 минут.
2.2.2 Операции поверки
Поверка импульсных рефлектометров ИР-6 должна проводиться в объеме и последовательности операций, указанной в таблице 3.
ТАБЛИЦА 3
|
Номера пунктов Методических указаний по поверке ИР-6 |
|
|
1 |
2 |
|
Опробование |
|
|
Определение диапазона несущей частоты зондирующих импульсов |
|
|
Определение коэффициента направленности направленного ответвителя |
|
|
Определение минимальной измеряемой величины коэффициента отражения |
|
|
Определение погрешности измерения коэффициента отражения |
|
|
Определение разрешающей способности по расстоянию |
|
|
Определение погрешности измерения расстояний до неоднородностей |
|
|
Определение погрешности установки несущей частоты |
2.2.3 Средства поверки
При проведении поверки импульсных рефлектометров ИР-6 должны применяться средства измерений, указанные в таблице 4.
ТАБЛИЦА 4
|
Тип или ТУ |
Норма основной погрешности |
|
|
1 |
2 |
3 |
|
Аттенюатор поляризационный волноводный |
Д3-19 |
40 дБ |
|
ЕЭ1.403.000ТУ |
(0,01 + 0,004А) дБ |
|
|
Комплект образцовых нагрузок |
Э9-81 |
± (0,5 - 1) % |
|
ПИ2.700.037 |
|
|
|
Частотомер электронно-счетный |
Ч3-66 |
5´10-5 |
|
ДЛИ2.721.010 |
|
Допускается применение других средств измерений, если они обеспечивают измерение метрологических характеристик поверяемых импульсных рефлектометров ИР-6 с требуемой точностью.
При опробовании импульсных рефлектометров ИР-6 проверить:
четкость фиксации переключателей и совпадение их указателей с соответствующими отметками на шкалах;
отсутствие механических повреждений, которые могут повлиять на их работу;
Возможность управления прибором.
2.2.5 Определение диапазона несущей частоты зондирующих импульсов
Для определения диапазона несущей частоты зондирующих импульсов подключить к гнезду ВЫХ.ГЕН.СВЧ поверяемого прибора частотомер Ч3-66. Установив переключатель КОНТРОЛЬ ТОКОВ И НАПРЯЖЕНИЙ, расположенный на блоке питания, в положение V УПР.ГЕН., записать показание стрелочного прибора (вся шкала прибора 150 В). Открыв откидную крышку, расположенную на правой стенке кожуха блока СВЧ, с помощью отвертки с изолированной ручкой поворачивать ось резистора V УПР.ГЕН. до тех пор, пока стрелочный прибор не покажет напряжение минус 30 В. После выполнения этих операций с помощью прибора Ч3-66 измерить несущую частоту генератора СВЧ в двух крайних точках шкалы ГИГАГЕРЦЫ (5,6 и 6,2 ГГц). По окончании измерений установить первоначальное смещение на управляющем электроде лампы генератора.
Диапазон несущей частоты зондирующих импульсов должен находиться в пределах 5600 ± 20 - 6200 ± 20 МГц.
2.2.6 Определение коэффициента направленности направленного ответвителя
Для определения коэффициента направленности направленного ответвителя подключить к нему волновод 3в5.060.304, входящий в комплект рефлектометра. Последовательно с кабелем, соединяющим гнездо ВХОД УС.СВЧ и гнездо ВЫХОД направленного ответвителя, подключить аттенюатор Д3-19. С помощью заглушки 3в8.632.237, входящей в комплект рефлектометра, закоротить конец волновода. Переключатель ПРЕДЕЛЫ ИЗМЕРЕНИЯ установить в положение 30, а с помощью ручки СМЕЩЕНИЕ совместить линию развертки с нижней горизонтальной линией шкалы электронно-лучевой трубки (ЭЛТ). Ручкой УСТАНОВКА ЧАСТОТЫ установить по шкале ГИГАГЕРЦЫ частоту 5,6 ГГц. Шкалу ДЕЦИБЕЛЫ измерительного аттенюатора рефлектометра установить на нуль. С помощью аттенюатора Д3-19 установить размер изображения импульса, отраженного от заглушки, равный 20 мм и произвести отсчет затухания Ан, вносимого аттенюатором Д3-19. Затем вместо заглушки к концу волновода подключить нагрузку 3в5.435.034 и с помощью аттенюатора Д3-19 установить такой же размер зондирующего импульса (первый импульс). Произвести отсчет затухания Ак, вносимого аттенюатором Д3-19. Вычислить коэффициент направленности Кно по формуле:
Кно = Ан - Ак, дБ
Измерения провести в диапазоне 5,6 - 6,2 ГГц через каждые 100 МГц. Полученные данные сравнить с графиком градуировки направленного ответвителя.
2.2.7 Определение минимальной измеряемой величины коэффициента отражения
Для определения минимальной измеряемой величины коэффициента отражения подключить к направленному ответвителю рефлектометра волновод 3в5.060.304, к концу которого через волноводный переход 3в5.433.044 подсоединить нагрузку Э9-81/4. Шкалу ДЕЦИБЕЛЫ установить на нуль. Между гнездом ВХОД УС.СВЧ и гнездом ВЫХОД направленного ответвителя подключить аттенюатор Д3-19. С помощью ручки УСТАНОВКА ЧАСТОТЫ установить частоту 5,6 ГГц, а с помощью ручки УРОВЕНЬ ВЫХОДА добиться максимума амплитуды зондирующего импульса (первый импульс). С помощью аттенюатора Д3-19 установить размер зондирующего импульса, равный 10 мм.
Определить минимальную измеряемую величину коэффициента отражения по формуле:
Nmиh = К + А, дБ
где: К - коэффициент направленности направленного ответвителя, дБ;
А - затухание, вносимое аттенюатором Д3-19, дБ.
Измерения проводить в диапазоне от 5,6 до 6,2 ГГц через каждые 100 МГц.
Минимальная измеряемая величина коэффициента отражения должна быть не более минус 45 дБ во всем диапазоне частот 5,6 - 6,2 ГГц и не более минус 54 дБ в одной точке этого диапазона.
2.2.8 Определение погрешности измерения коэффициента отражения
Для определения погрешности измерения коэффициента отражения подключить к направленному ответвителю рефлектометра волновод 3в5.060.304, на другом конце которого, через переход 3в5.433.044, подсоединить нагрузку Э9-81/4. С помощью ручки УСТАНОВКА ЧАСТОТЫ установить частоту 5,6 ГГц и провести измерение отражения от этой нагрузки. Измерение отражения от нагрузки проводится по методике, изложенной в техническом описании и инструкции по эксплуатации импульсных рефлектометров ИР-6. Измерения выполнить для случаев настройки нагрузки Э9-81/4 на максимальное и минимальное отражение от нее. Провести измерения также на частотах 5,9 и 6,2 ГГц. Аналогичные измерения выполнить и для нагрузки Э9-81/2. Результаты измерений сравнить с паспортными значениями коэффициента отражения от образцовых нагрузок. Погрешность измерения коэффициента отражения не должна быть более ± 3 дБ.
2.2.9 Определение разрешающей способности по расстоянию
Для определения разрешающей способности по расстоянию подключить к направленному ответвителю рефлектометра волновод 3в5.060.304, на конце которого, через переход 3в5.433.044, подсоединить нагрузку Э9-81/4. Переключатель ПРЕДЕЛЫ ИЗМЕРЕНИЯ установить в положение 30. С помощью ручки УСТАНОВКА ЧАСТОТЫ установить частоту 5,6 ГГц, а с помощью ручки ИЗМЕРЕНИЕ ОТРАЖЕНИЯ установить размер изображения импульсов на экране ЭЛТ не более 20 мм. Ручка УРОВЕНЬ ВЫХОДА должна находиться в крайнем левом положении.
Разрешающая способность по расстоянию будет равна длине волновода 3в5.060.304, если уровень, соответствующий слиянию заднего фронта зондирующего импульса с передним фронтом отраженного импульса, не будет превышать 0,4 от амплитуды импульсов.
Измерения провести во всем диапазоне 5,6 - 6,2 ГГц через каждые 100 МГц.
Разрешающая способность по расстоянию должна быть не более 3 м.
2.2.10 Определение погрешности измерения расстояний до неоднородностей
Для определения погрешности измерения расстояний до неоднородностей подключить к направленному ответвителю рефлектометра через переход 3в5.433.044 волноводный тракт сечением 24´48 мм и длиной 120 м. Ручкой УСТАНОВКА ЧАСТОТЫ установить частоту 5,7 ГГц. Переключатель ПРЕДЕЛЫ ИЗМЕРЕНИЯ установить в положение 30. Провести измерения расстояний до неоднородностей, имеющихся в местах стыков секций волноводного тракта. Измерение расстояний до неоднородностей проводится по методике, изложенной в техническом описании и инструкции по эксплуатации импульсных рефлектометров ИР-6.
Аналогичные измерения провести при установке переключателя ПРЕДЕЛЫ ИЗМЕРЕНИЯ в положения 60 и 120.
Погрешность измерения расстояний не должна быть более ± (5 % + 1 м).
2.1.11 Определение погрешности установки несущей частоты
Определение погрешности установки несущей частоты проводится по методике, изложенной в пункте 2.2.5 настоящих методических указаний. Измерения проводить в диапазоне 5,6 - 6,2 ГГц через каждые 100 МГц.
Погрешность установки частоты не должна быть более ± 20 МГц.
2.3.1 Условия поверки
При поверке измерителей потери достоверности ИПД-2 должны соблюдаться следующие условия:
температура окружающей среды +20 ± 5 °С;
относительная влажность 65 ± 15 %;
атмосферное давление 100 ± 4 кПа (750 ± 30 мм.рт.ст.);
напряжение сети электропитания 220 ± 4,4 В, 50 Гц.
2.3.2 Операции поверки
Поверка измерителей потери достоверности ИПД-2 должна проводиться в объеме и последовательности операций, указанной в таблице 5.
ТАБЛИЦА 5
|
Номера пунктов методических указаний по поверке ИПД-2 |
|
|
1 |
2 |
|
Опробование |
|
|
Определение относительной величины отклонения фиксированных скоростей передачи, периодов формирования ПСП, сдвига испытательных сигналов ИС1 и ИС2 между собой. |
|
|
Определение формы и уровней сигнала на выходе преобразователя, возможности формирования испытательного сигнала в виде произвольной комбинации из шестнадцати символов. |
|
|
Проверка инвестирования, уровней импульсов, видов тактового синхросигнала и испытательных сигналов ИС1, ИС2. |
|
|
Проверка кодов испытательных сигналов на выходах «ИС1» и «ИС2», уровней и формы импульсов. |
|
|
Проверка амплитуды и формы импульсов испытательного сигнала на выходах переходов с симметричным выходом. |
|
|
Проверка длительности нулевых промежутков, вводимых в испытательные сигналы ИС1 и ИС2. |
|
|
Проверка возможности введения смещения фазы и фазового дрожания в испытательные сигналы. |
|
|
Проверка возможности введения в испытательный сигнал периодических ошибок. |
|
|
Определение погрешности измерения коэффициента ошибок при сигналах различных уровней и кодов. Проверка регистрации проскальзываний и перерывов связи. |
|
|
Проверка правильности отсчета длительности сеансов измерений. |
|
|
Проверка работы измерителя при внутренней синхронизации. |
2.3.3 Средства поверки
При проведении поверки измерителей потери достоверности ИПД-2 должны применяться средства измерений, указанные в таблице 6.
ТАБЛИЦА 6
|
Наименование средства измерения |
Норма основной погрешности |
|
|
1 |
2 |
3 |
|
Частотомер электронно-счетный |
Ч3-63 |
Измерение частоты до 200 МГц с погрешностью более 10-6, измерение периода следования импульсов до 100 с. |
|
Генератор сигналов |
Г4-102 |
Диапазон частот от 0,1 до 50 МГц, погрешность установки частоты 1 %, выходное напряжение до 0,5 В. |
|
Осциллограф |
С1-75 |
Диапазон частот до 250 МГц, погрешность измерения амплитуды - не более 6 %, погрешность измерения временных интервалов - не более 6 %. |
Допускается применение других средств измерений, если они обеспечивают измерение метрологических характеристик поверяемых измерителей потери достоверности ИПД-2 с требуемой точностью.
При опробовании измерителей потери достоверности ИПД-2 проверить:
четкость фиксации переключателей и совпадение их указателей с соответствующими отметками на шкалах;
отсутствие механических повреждений, которые могут повлиять на их работу;
возможность управления прибором.
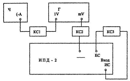
2.3.5 Определение относительной величины отклонения фиксированных скоростей передачи, периодов формирования ПСП, сдвига испытательных сигналов ИС1 и ИС2 между собой
Определение относительной величины отклонения фиксированных скоростей передачи проводиться путем измерения частоты тактового синхросигнала; определение периодов формирования ПСП - путем измерения отношения частот тактового синхросигнала и сигнала, соответствующего периоду ПСП; определение сдвига между ИС1 и ИС2 - путем измерения отношения периода ПСП и длительности импульсов, соответствующих периоду и взаимному сдвигу ПСП.
Собрать схему, как показано на рисунке 1.
Ч - частотомер Ч3-63; КС1 - кабель соединительный из комплекта ЗИП Ч3-63.
Рисунок 1
Включить частотомер в режиме измерения частоты, установив его входное сопротивление равным 50 Ом.
Устанавливая переключатель СКОРОСТЬ ПЕРЕДАЧИ Mbit/s ИПД-2 последовательно в положения «0,512»; «0,7004»; «2,048»; «2,56»; «5,12»; «8,448»; «10,24»; «17,184»; «20,48»; «25,48»; «34,368», снять показания частотомера на каждой скорости передачи.
Определить относительные величины отклонения фиксированных скоростей передачи от номинальных значений по формуле:
![]()
где: d - относительная величина отклонения;
fизм - измеренное значение частоты;
fном - номинальное значение частоты, числено равное номинальному значению скорости передачи Bn ном.
Результат вычислений считается удовлетворительным, если относительные величины отклонений фиксированных скоростей передачи не превышают ± 20 · 10-6.
Включить частотомер Ч3-63 в режим измерения отношения частот. На ИПД-2 нажать кнопку «29 - 1» переключателя ИСПЫТАТ. СИГНАЛ. Снять показания частотомера. Результат измерений считается удовлетворительным, если измеренное отношение частот равно 511.
Провести аналогичные измерения и оценки результатов при нажатии кнопок «215 - 1» и «223 - 1» переключателя ИСПЫТАТ. СИГНАЛ. Показания частотомера должны быть 32767 и 8388607 соответственно.
Установить переключатель ИСПЫТАТ. СИГНАЛ ИПД-2 последовательно в положения «223 - 1», «215 - 1» и «29 - 1» измеряя при этом длительности и периоды следования импульсов, поступающих с выхода ПРОВЕРКА ИС. Вычислить их отношения. Результат вычислений считается удовлетворительным, если отношения будут равны 0,5 ± 0,05.
2.3.6 Определение формы и уровней сигнала на выходе преобразователя, возможности формирования испытательного сигнала в виде произвольной комбинации из шестнадцати символов
Определение формы и уровней сигнала на выходе преобразователя сигнала, а также формирование испытательного сигнала в виде произвольной комбинации из шестнадцати символов проводится путем наблюдения их на осциллографе.
Собрать схему, как показано на рисунке 2.
Установить переключатели измерителя в следующие положения:
СКОРОСТЬ ПЕРЕДАЧИ Mbit/s - ВНЕШН.;
ИСПЫТАТ. СИГНАЛ - КОМБИНАЦИЯ;
На переключателе набора комбинации установкой кнопки «1» в нажатое состояние и остальных кнопок в отжатое состояние набрать комбинацию 100 ... 0.
ЧАСТОТА - «Х4»;
Остальные - в отжатое состояние.
Установить на генераторе Г4-102 частоту 50 МГц и напряжение на выходе 0,5 В.
Установить на осциллографе С1-75 переключатель РЕЖИМ в положение ПООЧЕРЕДНО, а переключатель СИНХР. в положение А.
Провести измерение уровня и скважности сигнала, поступающего на вход Б осциллографа. Результат измерений считается удовлетворительным, если уровни сигнала соответствуют ЭСЛ, а скважность равна 2 ± 0,2.
Определить на осциллографе С1-75 соотношение количества импульсов сигналов, поступающих на ВХОД «А» и «Б». Установить переключатель ЧАСТОТА в положение «X1» и вновь определите это соотношение. Результат считается удовлетворительным, если на экране осциллографа наблюдается устойчивое синхронное изображение обоих сигналов. При этом в течение одного импульса сигнала, подаваемого на ВХОД А, в первом случае должны наблюдаться 4 импульса, а во втором случае - 1 импульс сигнала, подаваемого на ВХОД Б.
Г - генератор сигналов Г4-102; КС2 - кабель соединительный из комплекта ЗИП Г4-102; КС3 - кабель соединительный из комплекта ЗИП ИПД-2 (3г4.850.108-01); Т - тройник из комплекта ЗИП ИПД-2 (ВРО.364.013); П1 - переход из комплекта ЗИП ИПД-2 (3г5.433.752); Д - делитель 1:50 из комплекта ЗИП С1-75;
H1 - нагрузка 75 Ом из комплекта ЗИП ИПД-2 (3г5.435.506); 0 - осциллограф С1-75.
Рисунок 2
Нажать последовательно кнопки «2», «3», ..., «16», «1» переключателя набора комбинации, наблюдая при этом за изменением вида сигнала, поступающего на ВХОД А осциллографа. Результат считается удовлетворительным, если при каждом нажатии кнопок происходит увеличение продолжительности уровня единицы на один импульс сигнала, поступающего на ВХОД Б, а при последнем нажатии установится сигнал с нулевым уровнем и продолжительностью в один импульс указанного сигнала.
2.3.7 Проверка инвентирования, уровней импульсов, видов тактового синхросигнала и испытательных сигналов ИС1 и ИС2
Проверка инвентирования, уровней импульсов, видов тактового синхросигнала и испытательных сигналов ИС1, ИС2 проводится путем наблюдения их на осциллографе С1-75.
Собрать схему, как показано на рисунке 3.
Установить переключатели измерителя в следующие положения:
СКОРОСТЬ ПЕРЕДАЧИ Mbit/s - ВНЕШН.;
ИСПЫТАТ. СИГНАЛ - КОМБИНАЦИЯ
ЧАСТОТА - X1.
Набрать комбинацию 11110 ... 0, установив на переключателе набора комбинации кнопки «1», «2», «3», «4» в нажатое состояние, а остальные кнопки в отжатое состояние.
Г - генератор сигналов Г4-102; КС2 - кабель соединительный из комплекта ЗИП Г4-102; КС3 - кабель соединительный из комплекта ЗИП ИПД-2 (3г4.850.108-01); Т - тройник из комплекта ЗИП ИПД-2 (ВРО.364.013); П1 - переход из комплекта ЗИП ИПД-2 (3г5.433.752); Д - делитель 1:50 из комплекта ЗИП С1-75; H1 - нагрузка 75 Ом из комплекта ЗИП ИПД-2 (3г5.435.506); О - осциллограф С1-75.
Рисунок 3
Установить на генераторе Г4-102 частоту 50 МГц и напряжение на выходе 0,5 В. Установить на осциллографе С1-75 переключатели в положения:
РЕЖИМ - ПООЧЕРЕДНО, СИНХР. - A, «V/CM» - 0,01, «ВРЕМЯ/см» - 20 нс, РАСТЯЖКА - Х10. В дальнейшем все измерения и наблюдения проводить на сигнале, поступающем на ВХОД Б осциллографа. Импульсы на экране осциллографа должны входить в шаблон 3.3 (из комплекта ЗИП ИПД-2).
Установить на ИПД-2 скорость передачи 34,368 Мбит/с. Нажать кнопку переключателя ТТЛ-ЭСЛ выходов ТС, ИС1 и ИС2. На осциллографе С1-75 установить переключатели в положение «V/см» - 0,02, «ВРЕМЯ/см» - 50 нс. Импульсы на экране осциллографа должны входить в шаблон 2.2 (из комплекта ЗИП ИПД-2).
Зафиксировать положение импульсов на экране осциллографа. Нажать кнопку выхода ТС. Результат проверки считается удовлетворительным, если наблюдается инвертирование импульсов.
Переключить тройник Т с выхода ТС на выход «ИС1». Запомнить вид сигнала на экране осциллографа. Нажать кнопку выхода ИС1. Результат проверки считается удовлетворительным, если наблюдается инвертирование сигнала на экране осциллографа.
Последовательно нажать кнопки «0» и «1» выхода «ИС1». Результат проверки считается удовлетворительным, если наблюдалась установка сигнала в виде нуля и единицы в прежнем виде при отпускании кнопок.
Нажать кнопку «ИС1 + t» переключателя выхода ИС2. Запомнить вид сигнала на экране осциллографа. Переключить тройник Т с выхода «ИС1» на выход «ИС2». Результат проверки считается удовлетворительным, если вид сигнала на экране осциллографа не изменился.
Последовательно нажать кнопки «0», «1», «1:2» и «1:16» выхода ИС2. Результат проверки считается удовлетворительным, если на экране осциллографа последовательно наблюдались сигналы в виде: уровня единицы; одного единичного символа за два тактовых интервала; одного единичного символа за шестнадцать тактовых интервалов.
2.3.8 Проверка кодов испытательных сигналов на выходах «ИС1» и «ИС2», уровней и формы импульсов
Проверка кодов испытательных сигналов на выходах «ИС1» и «ИС2», а также уровней и формы импульсов проводится путем наблюдения их на осциллографе С1-75. Собрать схему, как показано на рисунке 3. Подключить тройник Т к выходу «ИС1».
Установить переключатели измерителя в положения:
СКОРОСТЬ ПЕРЕДАЧИ mBIT/S - ВНЕШН.;
ИСПЫТАТ. СИГНАЛ - КОМБИНАЦИЯ;
ЧАСТОТА - X1.
Набрать комбинацию 1010 ... 10 установив на переключателе набора комбинации кнопки «1», «3», ..., «15» в нажатое состояние, а остальные - в отжатое состояние.
Установить на генераторе Г4-102 частоту 50 МГц и напряжение на выходе 0,5 В.
Установить на осциллографе С1-75 переключатели в положения:
РЕЖИМ - ПООЧЕРЕДНО;
СИНХР. - А;
ВРЕМЯ/см - «50ns»;
РАСТЯЖКА - «x10»;
«V/см» - «0,01».
Все измерения и наблюдения производить на сигнале, поступающем на ВХОД Б осциллографа.
Наложите на экран осциллографа шаблон 3.1 (из комплекта ЗИП ИПД-2).
Результат проверки считается удовлетворительным, если изображение импульса укладывается в шаблон 3.1.
Нажать кнопку TTL - ECL выходов ИС1 и ИС2. Установить переключатель «V/см» осциллографа C1-75 в положение «0,02». Наложить на экран осциллографа шаблон 3.2 (из комплекта ЗИП ИПД-2).
Результат проверки считается удовлетворительным, если изображение импульса укладывается в шаблон 3.2.
Установить переключатель СКОРОСТЬ ПЕРЕДАЧИ Mbit/s в положение 34,368.
Нажать кнопку «
» - «
»
выходов ИС1 и ИС2.
Наложить шаблон 2.2 из комплекта ИПД-2 на экран осциллографа С1-75.
Результат проверки считается удовлетворительным, если импульсы имеют поочередно положительную и отрицательную полярность, а изображения импульсов (положительных и отрицательных) укладываются в шаблон 2.2.
Нажать кнопку «2,4V» - «3V» выходов ИС1 и ИС2.
Наложить на экран осциллографа C1-75 шаблон 2.4 (из комплекта ЗИП ИПД-2).
Результат проверки считается удовлетворительным, если изображение импульса укладывается в этот шаблон.
Установить в отжатое состояние кнопку «2,4V» - «3V». Нажать кнопку «1V» - «3V» выходов ИС1 и ИС2.
Установить на осциллографе C1-75 переключатель «V/см» в положение «0,01».
Наложить на экран осциллографа шаблон 2.3 (из комплекта ЗИП ИПД-2).
Результат проверки считается удовлетворительным, если изображение импульса укладывается в этот шаблон.
Переключить тройник Т с выхода ИС1 к выходу ИС2.
Нажать кнопку «ИС1 + t» выхода ИС2 и произвести аналогичные измерения и оценки результатов проверки.
2.3.9 Проверка амплитуды и формы импульсов испытательного сигнала на выходах переходов с симметричным выходом
Проверка амплитуды и формы импульсов испытательного сигнала на выходах переходов с симметричным выходом проводиться путем их наблюдения и измерения на осциллографе C1-75.
Собрать схему, как показано на рисунке 4.
Установить переключатели измерителя в положения:
СКОРОСТЬ ПЕРЕДАЧИ Mbit/s - «2,048»;
ИСПЫТАТ. СИГНАЛ - КОМБИНАЦИЯ.
Набрать комбинацию 1010 ... 10 установив
на переключателе набора комбинации кнопки «1», «3», ..., «15» в нажатое
состояние, а остальные кнопки - в отжатое состояние. Установить кнопку «
»
выходов ИС1 и ИС2 в нажатое состояние. Установить на осциллографе С1-75
переключатели в положения: «V/см» - «0,01», ВРЕМЯ/см - «50», РЕЖИМ - А.
О - осциллограф С1-75;
П1, П2 и П3 - переходы из комплекта ЗИП ИПД-2 (3г5.433.752, 3г5.434.057, 3г5.434.057-01);
Н2 и Н3 - симметричные нагрузки из комплекта ЗИП ИПД-2 (3г5.435.510, 3г5.435.510-01);
Д - делитель 1:50 из комплекта ЗИП C1-75.
Рисунок 4
Провести измерение амплитуды и формы импульсов сигнала на экране осциллографа. Результат проверки считается удовлетворительным, если номинальное значение амплитуды равно 1,5 В, а форма соответствует шаблону 4.1 (из комплекта ЗИП ИПД-2).
Заменить переход П2 на переход П3. Провести аналогичным образом измерения и оценку результатов проверки.
Установить на осциллографе С1-75 переключатель ВРЕМЯ/см в положение 20 нс/см. Заменить нагрузку Н2 на нагрузку Н3. Провести аналогичные измерения и оценку результатов проверки с использованием двух переходов П3 на скорости передачи 8,448 Мбит/с с шаблоном 1.3 (из комплекта ЗИП ИПД-2).
2.3.10 Проверка длительности нулевых промежутков, вводимых в испытательные сигналы ИС1 и ИС2
Проверка длительности нулевых промежутков, вводимых в испытательные сигналы ИС1, ИС2 проводится путем измерения их длительностей на осциллографе С1-75.
Собрать схему как показано на рисунке 5. Подключить тройник Т к выходу ИС2.
Установить переключатели измерителя в положения:
СКОРОСТЬ ПЕРЕДАЧИ Mbit/s - «34,368»;
ИСПЫТАТ. СИГНАЛ - КОМБИНАЦИЯ.
Кнопки переключателя набора комбинации установить в нажатое состояние.
Нажать кнопку «1:2» выхода ИС2.
Установить на осциллографе С1-75 переключатель РЕЖИМ в положение А. Переключателем ВРЕМЯ/см на осциллографе установить изображение сигнала так, чтобы четыре импульса занимали примерно половину развертки. Зафиксировать длительность, которую они занимают. Нажать кнопку «1» выхода ИС2, а также кнопки «n» - «n» и «3» - «6» переключателя «НУЛЕВОЙ ПРОМЕЖУТОК 2n».
О - осциллограф C1-75;
H1 - нагрузка 75 Ом из комплекта ЗИП ИПД-2 (3г5.435.506);
Т - тройник из комплекта ЗИП ИПД-2 (ВРО.364.013);
П1 - переход го комплекта ЗИП ИПД-2 (3г5.433.752);
Д - делитель 1:50 из комплекта ЗИП С1-75.
Рисунок 5
Результат проверки считается удовлетворительным, если на экране осциллографа наблюдается сигнал, имеющий нулевой уровень, длительность которого равна ранее зафиксированной величине.
Установить в отжатое состояние кнопку «3» - «6», а кнопку «4» - «7» переключателя «НУЛЕВОЙ ПРОМЕЖУТОК 2n» в нажатое состояние. Результат проверки считается удовлетворительным, если длительность нулевого уровня увеличилась вдвое.
Провести аналогичные измерения и оценки результатов проверки при установке в нажатое состояние кнопок «5» - «8» и «6» - «9», и при отжатых других кнопках переключателя «НУЛЕВОЙ ПРОМЕЖУТОК 2n».
Зафиксировать длительность нулевого уровня. Установить в нажатое состояние кнопку «3» - «6», а кнопки «6» - «9» и «n» - «n» переключателя «НУЛЕВОЙ ПРОМЕЖУТОК 2n» в отжатое состояние.
Результат проверки считается удовлетворительным, если длительность нулевого уровня осталась неизменной. Переключить тройник Т с выхода ИС2 на выход ИС1. Результат проверки считается удовлетворительным, если длительность нулевого промежутка не изменилась.
2.3.11 Проверка возможности введения смещения фазы и фазового дрожания в испытательные сигналы
Проверка возможности введения в испытательные сигналы смещения фазы проводится путем измерения их величин и частостей при помощи осциллографа С1-75.
Собрать схему, как показано на рисунке 6.
О - осциллограф C1-75; П1 - переход из комплекта ЗИП ИПД-2 (3г5.433.752); Т - тройник из комплекта ЗИП ИПД-2 (ВРО.364.013); Д - делитель 1:50 из комплекта ЗИП С1-75; H1 - нагрузка 75 Ом из комплекта ЗИП ИПД-2 (3г5.435.506).
Рисунок 6
Установить переключатели ИПД-2 в положения:
СКОРОСТЬ ПЕРЕДАЧИ Mbit/s, - «17,184»;
ИСПЫТАТ. СИГНАЛ - КОМБИНАЦИЯ.
На переключателе набора комбинации установить комбинацию 10 ... 10, нажав кнопки «1», «3», ..., «15». На переключателе ФАЗОВОЕ ДРОЖАНИЕ кнопки ns установить в положение «4». Измерить с помощью осциллографа С1-75 (включенного в режим синхронизации от сигнала, поступающего на вход А) смещение фазы испытательного сигнала в сторону опережения при нажатии кнопки ЗНАК «-» переключателя ФАЗОВОЕ ДРОЖАНИЕ. Результаты проверки считаются удовлетворительными, если значение измеренного смещения фазы равно (4 ± 2) нс. Аналогичные измерения провести для смещения фазы испытательного сигнала в сторону отставания (при нажатии кнопки ЗНАК «+»), а также при установке кнопок ns в положение «8» и «12». Результаты проверки считаются удовлетворительными, если значения измеренных смещений фазы равны (8 ± 3) нс и (12 ± 4) нс соответственно.
Установить скорость передачи 10,24 Мбит/с. Провести аналогичные измерения при установке кнопок UJ в положение «0,125» и «025». Результаты проверки считаются удовлетворительными, если значения измеренных смещений фазы равны (12,2 ± 3) нс и (24,4 ± 5) нс соответственно.
Отключить переход П от разъема ВЫХОД ТС и подключить его к разъему ПРОВЕРКА ИС. Установить на переключателе ФАЗОВОЕ ДРОЖАНИЕ кнопки ЗНАК «-» и «+» в нажатое состояние, а кнопки ЧАСТОСТЬ в положение 2. При этом на экране осциллографа C1-75 должна наблюдаться последовательность периодических импульсов, среди которых имеют место импульсы с измененной длительностью. Результаты проверки считаются удовлетворительными, если в последовательности наблюдаются два суженных по длительности импульса, а затем два расширенных импульса и т.д. При этом периодичность импульсов с измененной длительностью должна быть равна двум импульсам испытательного сигнала.
Провести аналогичные измерения при установке кнопок ЧАСТОСТЬ в положения «4» и «8». Результаты проверки считаются удовлетворительными, если периодичность импульсов с измененной длительностью равна соответственно четырем и восьми импульсам испытательного сигнала.
2.3.12 Проверка возможности введения в испытательный сигнал периодических ошибок
Проверка возможности введения в испытательный сигнал периодических ошибок проводится путем измерения периодов следования ошибок на определенной скорости передачи по схеме приведенной на рисунке 7.
Ч - частотомер Ч3-63; КС1 - кабель соединительный из комплекта ЗИП Ч3-63.
Рисунок 7
Установить переключатели ИПД-2 в положения:
СКОРОСТЬ ПЕРЕДАЧИ Mbit/s, - «8,448»;
ИСПЫТАТ. СИГНАЛ - КОМБИНАЦИЯ;
ВВЕДЕНИЕ ОШИБОК - «10-3».
Кнопки переключателя набора комбинации установить в отжатое состояние.
Измерить период сигнала, поступающего на частотомер Ч3-63. Результат проверки считается удовлетворительным, если период следования ошибок равен (118 ± 2) мкс.
Провести аналогичные измерения при установке переключателя ВВЕДЕНИЕ ОШИБОК в положения «10-6» и «10-9». Результат проверки считается удовлетворительным, если периоды следования ошибок равны (118 ± 2) мс и (118 ± 2) мс соответственно.
2.3.13 Определение погрешности измерения коэффициента ошибок при сигналах различных уровней и кодов. Проверка регистрации проскальзываний и перерывов связи
Определение погрешности измерения коэффициента ошибок проводится на испытательном сигнале различных уровней и кодов, в которые введены калиброванные ошибки. Проверка регистрации проскальзываний и перерывов связи проводится на испытательном сигнале, в котором имитируются условия для их проверки. Собрать схему, как показано на рисунке 8.
КС3 - кабель соединительный из комплекта ЗИП ИПД-2 (3г4.850.108-01); Ат1 - аттенюатор 75 Ом (12 дБ) из комплекта ЗИП ИПД-2 (3г5.435.507).
Рисунок 8
Установить переключатели ИПД-2 в положения:
СКОРОСТЬ ПЕРЕДАЧИ Mbit/s - «34,368»;
ИСПЫТАТ. СИГНАЛ - «223 - 1»;
ДЛИТЕЛЬНОСТЬ СЕАНСА - «108»;
СИНХРОНИЗ. - ВНЕШН.;
ИЗМЕРЕНИЯ - НЕПРЕР.;
ВВЕДЕНИЕ ОШИБОК - «10-6»;
ПЕРЕРЫВЫ - «300ms».
Измерить коэффициент ошибок. Результат определения погрешности измерения считается удовлетворительным, если измеренное значение коэффициента ошибок не выходит за пределы (1,0 ± 0,1)´10-6.
Нажать кнопки «AMI NRZ _ HDB3 RZ» и «TTL-ECL» выходов ИС1 и ИС2 и входа ИС. Вновь провести измерение коэффициента ошибок. Результат определения погрешности измерения считается удовлетворительным, если измеренный коэффициент ошибок не выходит за пределы (1,0 ± 0,1)´10-6.
Аналогичные измерения и оценку результата
определения погрешности измерения провести для каждого случая при
последовательном нажатии кнопок «
» - «
», «AMI
NRZ _ HDB3 RZ»,
«1V» - «3V» выходов ИС1 и ИС2 и входа ИС.
Отключить от разъема ВХОД ИС кабель соединительный КС3 и подключить его к аттенюатору Ат1. Аттенюатор Ат1 подключить к разъему ВХОД ИС. Установить в нажатое состояние кнопку «0,3V» - «3V» и в отжатое состояние кнопку «1V» - «3V» входа ИС. Измерить коэффициент ошибок. Результат определения погрешности измерения считается удовлетворительным, если измеренный коэффициент ошибок не выходит за пределы (1,0 ± 0,1)´10-6.
Нажать кнопку переключателя «-1 БИТ». Результат проверки считается удовлетворительным, если в сеансе измерения будет обнаружено проскальзывание и засветится световой указатель ПРОСКАЛЬЗ.
Нажать кнопку «0» переключателя кратковременной установки испытательного сигнала ИС1 в виде нуля. Результат проверки считается удовлетворительным, если в сеансе измерения будет обнаружен перерыв связи и засветится световой указатель ПЕРЕРЫВ.
2.3.14 Проверка правильности отсчета длительности сеансов измерений
Проверка правильности отсчета длительности сеансов измерений проводится путем введения в испытательный сигнал калиброванных по периоду следования ошибок, выявления их и подсчета общего количества за проверяемый сеанс измерений. Собрать схему, как показано на рисунке 8.
Установить переключатели измерителя в положения:
СКОРОСТЬ ПЕРЕДАЧИ Mbit/s - «34,368»;
ИСПЫТАТ. СИГНАЛ - «215 - 1»;
ДЛИТЕЛЬНОСТЬ СЕАНСА - «10 МИН»;
СИНХРОНИЗ. - ВНУТР.;
ИЗМЕРЕНИЯ - РАЗ (кнопку РАЗ-ВНУТР. - в нажатое состояние, а кнопку ПАКЕТН. - НЕПРЕР. - в отжатое состояние);
ВВЕДЕНИЕ ОШИБОК - «109».
Нажать кнопку ПУСК. После окончания сеанса измерения (погасания и загорания светового указателя ОТСЧЕТ) снять результат измерений. Результат проверки считается удовлетворительным, если количество ошибок будет равно 21 ± 1.
Установить переключатель ДЛИТЕЛЬНОСТЬ СЕАНСА в положение «1010». Нажать кнопку ПУСК. По окончании сеанса измерения снять результат измерения. Результат проверки считается удовлетворительным, если коэффициент ошибок будет равен 1,0 · 109.
Для проверки разового режима работы измерителя установить переключатель ДЛИТЕЛЬНОСТЬ СЕАНСА в положение «108». Нажать кнопку ПУСК. Результат проверки считается удовлетворительным, если через ~1,5 с световой указатель ОТСЧЕТ погаснет, а через ~1,5 с загорится и в дальнейшем будет продолжать гореть.
2.3.15 Проверка работы измерителя при внутренней синхронизации
Проверка работы измерителя при внутренней синхронизации проводится путем подачи на вход измерителя испытательного сигнала без ошибок и обработки его в измерителе.
Собрать схему, как показано на рисунке 9.
Ч - частотомер Ч3-63; Г - генератор сигналов Г4-102; КС1 - кабель соединительный из комплекта ЗИП Ч3-63; КС2 - кабель соединительный из комплекта ЗИП Г4-102; КС3 - кабель соединительный из комплекта ЗИП ИПД-2 (3г4.850.108-01).
Рисунок 9
Установить переключатели измерителя в положения:
СКОРОСТЬ ПЕРЕДАЧИ Mbit/s - «34,368»;
ИСПЫТАТ. СИГНАЛ - КОМБИНАЦИЯ;
ДЛИТЕЛЬНОСТЬ СЕАНСА - «1 сек»;
СИНХРОНИЗ. - ВНУТР.;
ИЗМЕРЕНИЯ - НЕПРЕР.
Нажать кнопку «AMI NRZ - HDB3 RZ» входа ИС. Установить на генераторе Г4-102 частоту в восемь раз меньшую численного значения установленной скорости передачи. Результат проверки считается удовлетворительным, если плавной подстройкой частоты генератора удается получить на табло результат 00 · 100.
Провести аналогичные измерения и оценку результата проверки на скоростях передачи 17,184 и 10,24 Мбит/с.
Средства измерений, удовлетворяющие требованиям настоящих Методических указаний, признаются годными к применению. Результаты поверки оформляются клеймением средств измерений и выдачей свидетельств о поверке или же записью результатов поверки в эксплуатационных паспортах (или их дубликатах).
Средства измерений, не удовлетворяющие требованиям настоящих Методических указаний, к дальнейшему применению не допускаются. На такие средства измерений выдаются извещения с указанием причин их непригодности к дальнейшей эксплуатации, гасятся клейма предыдущих поверок, а в эксплуатационных паспортах (или их дубликатах) делаются соответствующие записи.