АО «ЦНИИПромзданий»
|
|
Проектная документация сертифицирована. Сертификат соответствия № ГОСТ Р RU |
ПОЛЫ ЖИЛЫХ И ОБЩЕСТВЕННЫХ ЗДАНИЙ СО СБОРНЫМИ
СТЯЖКАМИ ИЗ ГИПСОВОЛОКНИСТЫХ ЛИСТОВ
Материалы для проектирования
и рабочие чертежи узлов
М 27.54/99
|
Зам. генерального директора |
С.М. Гликин |
|
Зав отделом |
A.M. Воронин |
Москва 1999 г.
|
СИСТЕМА СЕРТИФИКАЦИИ ГОСТ Р |
|||||
|
СЕРТИФИКАТ СООТВЕТСТВИЯ № ГОСТ Р RU.9048.C00025 Срок действия с 03.02.2000 по 03.02.2003 ГОССТРОЙ РОССИИ № 0075638 |
|||||
|
ОРГАН ПО СЕРТИФИКАЦИИ ОРГАН ПО СЕРТИФИКАЦИИ ПРОЕКТНОЙ ПРОДУКЦИИ МАССОВОГО ПРИМЕНЕНИЯ В СТРОИТЕЛЬСТВЕ - ОС «ГУП ЦПП», № ГОСТ Р RU.9001.5.1.9048 от 29.03.99. 127238, Москва, Дмитровское шоссе, д. 46, корп. 2, Россия тел. 482-42-27 |
|||||
|
ПРОДУКЦИЯ ПРОЕКТНАЯ ДОКУМЕНТАЦИЯ «ПОЛЫ ЖИЛЫХ И ОБЩЕСТВЕННЫХ ЗДАНИЙ СО СБОРНЫМИ СТЯЖКАМИ ИЗ ГИПСОВОЛОКНИСТЫХ ЛИСТОВ», ШИФР М27.54/99 |
код ОК 005 (ОКП) |
||||
|
СООТВЕТСТВУЕТ ТРЕБОВАНИЯМ НОРМАТИВНЫХ ДОКУМЕНТОВ |
код ТН ВЭД СНГ |
||||
|
ИЗГОТОВИТЕЛЬ АО «ЦНИИПромзданий» Россия, 127238, Москва, Дмитровское шоссе, 46, корп. 2. Тел. 482-18-23 ОКПО 02495342 СЕРТИФИКАТ ВЫДАН АО «ЦНИИПромзданий» Россия, 127238, Москва, Дмитровское шоссе,46, корп. 2. Тел. 482-18-23 ОКПО 02495342 НА ОСНОВАНИИ экспертного заключения № 164с/2000 от 01.02.2000 г., выполненного органом по сертификации проектной продукции массового применения в строительстве № ГОСТ Р RU.9001.5.1.9048 от 29.03.99. ДОПОЛНИТЕЛЬНАЯ ИНФОРМАЦИЯ Маркировка проектной документации производится знаком соответствия органа по сертификации «ГУП ЦПП» № ГОСТ Р RU.9001.5.1.9048 в правом верхнем углу титульного листа.
|
|||||
|
Сертификат не применяется при обязательной сертификации |
|||||
СОДЕРЖАНИЕ
|
Обозначение |
Наименование |
Стр. |
|
1 |
2 |
3 |
|
|
Сертификат соответствия технической документации |
|
|
М 27.54/99-ПЗ |
Пояснительная записка |
|
|
|
1. Введение. |
6 |
|
|
2. Область применения. |
6 |
|
|
3. Материалы. |
8 |
|
|
4. Конструкции полов. |
11 |
|
|
5. Устройство полов. |
15 |
|
1 |
20 |
|
|
М 27.54/99-1.1 |
Пол из штучного паркета. Тип П1. |
21 |
|
М 27.54/99-1.2 |
Пол из паркетных досок. Тип П2. |
22 |
|
М 27.54/99-1.3 |
Пол из линолеума. Тип ПЗ. |
23 |
|
М 27.54/99-1.4 |
Полы на лагах. Тип П4. |
24 |
|
М 27.54/99-1.5 |
Пол из керамической плитки. Тип П5. |
25 |
|
М 27.54/99-1.6 |
Полы по сплошной железобетонной плите. Тип П6 |
26 |
|
М 27.54/99-1.7 |
Полы по сборной стяжке при утолщенном слое засыпки из песка. Тип П7 |
27 |
|
М 27.54/99-1.8 |
Пол из штучного паркета. Тип 8. |
28 |
|
М 27.54/99-1.9 |
Пол из паркетных досок. Тип 9. |
29 |
|
М 27.54/99-1.10 |
Пол из линолеума. Тип П10. |
30 |
|
М 27.54/99-1.11 |
Пол из керамической плитки. Тип П11. |
31 |
|
М 27.54/99-1.12 |
Пол на лагах с покрытием из линолеума. Тип П12. |
32 |
|
М 27.54/99-1.13 |
Полы из линолеума без подосновы. Тип П13. |
33 |
|
М 27.54/99-1.14 |
Полы по грунту на лагах с теплоизоляцией из пенопластовых плит.Тип П14. |
34 |
|
М 27.54/99-1.15 |
Полы по грунту на лагах с засыпкой керамзитовым песком. Тип П15. |
35 |
|
М 27.54/99-1.16 |
Полы по грунту с теплоизоляцией из пенопластовых плит. Тип П16 |
36 |
|
М 27.54/99-1.17 |
Полы по грунту с засыпкой керамзитовым песком. Тип П17 |
37 |
|
М 27.54/99-1.18 |
Полы на лагах по столбикам. Тип П18 |
38 |
|
2 |
39 |
|
|
М 27.54/99-2.1 |
Элемент пола из ГВЛ. |
40 |
|
М 27.54/99-2.2 |
Примыкание полов из штучного паркета, паркетных досок к стенам. |
41 |
|
М 27.54/99-2.3 |
Примыкание к стенам полов на лагах. |
42 |
|
М 27.54/99-2.4 |
Сопряжение полов из линолеума с полом санитарно-технической кабины. |
43 |
|
М 27.54/99-2.5 |
Примыкание плиточных полов к перегородкам. |
44 |
|
М 27.54/99-2.6 |
Примыкание пола к стене в ванной комнате. |
45 |
|
М 27.54/99-2.7 |
Сопряжение пола с перегородкой. |
46 |
|
М 27.54/99-2.8 |
Крепление каркаса перегородки к сборной стяжке из элементов пола. |
47 |
|
М 27.54/99-2.9 |
Сопряжение пола с дверной коробкой. |
48 |
|
М 27.54/99-2.10 |
Сопряжение полов из керамической плитки и штучного паркета. |
49 |
|
М 27.54/99-2.11 |
Пропуск трубы через перекрытие. |
50 |
|
М 27.54/99-2.12 |
Сопряжение пола с трубопроводом. |
51 |
Работа выполнена АО «ЦНИИПромзданий» по договору М 24.54/99 с ЗАО «Тиги-Кнауф Маркетинг» в соответствии с техническим заданием на «Разработку конструктивных решений полов жилых и общественных зданий по сборным стяжкам из гипсоволокнистых листов».
2.1. Альбом содержит конструктивные решения и рабочие чертежи узлов полов предназначенные для применения в жилых и общественных зданиях.
2.2. Конструкции полов разработаны при устройстве их на грунте и на перекрытиях из сплошных железобетонных панелей толщиной 140 мм и многопустотных плит толщиной 220 мм. Полы также могут быть устроены по несущим деревянным балкам и щитам.
2.3. При проектировании и строительстве конкретных объектов кроме рекомендаций данной работы необходимо учитывать требования действующих норм:
СНиП 2.08.01-89 «Жилые здания».
СНиП 2.08.02-89 «Общественные здания и сооружения».
СНиП 2.03.13-88 «Полы».
СНиП 2.01.07-85 «Нагрузки и воздействия».
СНиП II-12-77 «Защита от шума».
2.4. Рекомендуемая область применения разработанных конструкций полов для жилых и общественных зданий дана в таблице 1.
Таблица 1
|
№ п/п |
Наименование и расположение конструкции пола |
Тип пола |
|
1 |
2 |
3 |
|
Жилые здания |
||
|
1. |
Перекрытия между помещениями квартир. |
П1 - П4; П7 |
|
2. |
Перекрытия между помещениями квартир и неиспользуемыми чердачными помещениями |
То же |
|
3. |
Перекрытия между помещениями квартиры и подвалами, холлами и используемыми чердачными помещениями. |
То же |
|
4. |
Перекрытия между комнатами в двухэтажной квартире. |
П1 - П4; П6 - П10, П12; П13 |
|
5. |
Перекрытия, отделяющие помещения культурно-бытового обслуживания общежитий друг от друга и от помещений общего пользования (холлы, вестибюли, коридоры). |
То же |
|
Гостиницы |
||
|
6. |
Перекрытия между номерами. |
П1 - П4; П6 - П10, П12 |
|
7. |
Перекрытия, отделяющие номера от помещений общего пользования (вестибюли, холлы, буфеты). |
То же |
|
Здания управлений общественных организаций |
||
|
8. |
Перекрытия между рабочими комнатами, кабинетами, секретариатами и отделяющие эти помещения от помещений общего пользования (вестибюли, холлы). |
П1 - П4; П6 - П10; П12; П13 |
|
9. |
Перекрытия, отделяющие рабочие комнаты, кабинеты от рабочих, не защищаемых от шума помещений (машбюро, телетайпные зала и т.п.). |
То же |
|
Больницы и санатории |
||
|
10. |
Перекрытия между палатами, кабинетами врачей. |
П1 - П4; П6 - П10; П12 |
|
11. |
Перекрытия, отделяющие палаты, кабинеты врачей от помещений общего пользования (вестибюлей, холлов). |
То же |
|
Школы и другие учебные заведения |
||
|
12. |
Перекрытия между классными помещениями, учебными кабинетами и аудиториями и отделяющие эти помещения от помещений общего пользования (коридоры, вестибюли, холлы). |
П1 - П4; П6 - П10; П12 |
|
Детские ясли-сады |
||
|
13. |
Перекрытия между групповыми комнатами, спальнями и между другими детскими комнатами. |
П1 - П4; П6 - П10, П12 |
|
14. |
Перекрытия, отделяющие групповые комнаты, спальни от кухонь. |
То же |
|
Вспомогательные здания и помещения промышленных предприятий |
||
|
Перекрытия между помещениями для отдыха, учебных занятий, здравпунктами, рабочими комнатами управлений и конструкторских бюро, кабинетами, помещениями общественных организаций и отделяющие эти помещения от помещений общего пользования (вестибюлей, гардеробных). |
П1 - П4, П6 - П10, П12; П13 |
|
|
16. |
Перекрытия между помещениями лабораторий, красных уголков, залами для собраний, столовыми и отделяющие эти помещения от помещений, указанных в поз. 15 настоящей таблицы. |
П1 - П4; П6 - П10, П12 |
|
17. |
В помещениях с влажным режимом эксплуатации. |
П5; П11 |
|
18. |
Спортивные залы. |
П14 - П18 |
|
19. |
Торговые залы магазинов и предприятий общественного питания. |
П14 - П18 |
3.1. Основные материалы, принятые для устройства полов, представлены в таблице 2
Таблица 2
|
№ п/п |
Наименование материалов, ГОСТ, ТУ |
Масса |
Назначение в конструкции пола |
|
|
кг/м3 |
кг/м2 |
|||
|
1 |
2 |
3 |
4 |
5 |
|
1 |
Раствор цементно-песчаный ГОСТ 5802-78 |
1800 |
- |
Прослойка, выравнивание поверхностей |
|
2 |
Плитки керамические для полов толщиной 13 мм ГОСТ 6787-90 |
- |
31 |
Покрытие |
|
3 |
Гидростеклоизол ТУ 400-1-51-83 |
- |
Гидроизоляция |
|
|
4 |
Щебень из естественного камня для строительных работ ГОСТ 8267-75 |
1600 |
Укрепление основания |
|
|
5 |
Бетон |
2300 |
-»- |
|
|
6 |
Пленка полиэтиленовая толщиной 0,2 мм ГОСТ 10354-82 |
- |
0,184 |
разделительный слой |
|
7 |
Плиты пенополистирольные ГОСТ 15588-86 |
17 |
- |
Подстилающий слой |
|
8 |
Пиломатериалы хвойных пород ГОСТ 24454-80*Е |
600 |
- |
Лаги |
|
9 |
Паркет штучный ГОСТ 862.1-85 |
800 |
- |
Покрытие пола |
|
10 |
Доски паркетные ГОСТ 862.3-86 |
600 |
- |
-«- |
|
11 |
Щиты паркетные ГОСТ 862.4-87 |
600 |
- |
-«- |
|
12 |
Линолеум поливинилхлоридный на теплозвукоизолирующей подоснове ГОСТ 18108-80 |
- |
5,0 |
-«- |
|
13 |
Линолеум поливинилхлоридный на тканевой подоснове ГОСТ 7251-77 |
- |
3,3 |
Покрытие пола |
|
14 |
Дисперсия ПВА ТУ 2241-027-0020-3521-96 |
1100 |
- |
Приклейка покрытий полов, ГВЛ и фальцев готовых элементов пола |
|
15 |
Клей «Бустилат» ТУ 400-2-50-75 |
1100 |
- |
Приклейка линолеума |
|
16 |
Изделия погоножные профильные поливинилхлоридные ГОСТ 19111-77 |
1600 |
|
Отделка примыканий полов к стенам и перегородкам |
|
17 |
Детали деревянные фрезерованные для строительства по ГОСТ 8242-75 |
600 |
|
-«- |
|
18 |
Плиты древесноволокнистые по ГОСТ 4598-86* |
1100 |
|
-«- |
|
Материалы, поставляемые ЗАО «ТИГИ КНАУФ Маркетинг» |
||||
|
19 |
Гипсоволокнистые листы влагостойкие ТУ 5742-004-03515377-97 |
1200 |
Сборная стяжка для помещений с влажным режимом |
|
|
20 |
Готовый элемент сборного пола |
1200 |
Сборная стяжка |
|
|
21 |
Песок керамзитовый |
500 - 800 |
- |
Подстилающий слой |
|
22 |
Мастика клеящая ТУ 5772-001-18693021-99 |
Склеивание фальцев элементов пола |
||
|
23 |
Бумага ламинированная п/э пленкой |
Разделительный слой по деревянным щитам |
||
|
24 |
Шпаклевка «Фугенфюллер ГВ» |
Заделка стыков сборной стяжки и мест установки шурупов |
||
|
25 |
Шпаклевка «Унифлот» |
|||
|
26 |
Уплотнительная лента «Флехендихтбанд» |
Уплотнение стыков полов со стенами во влажных помещениях |
||
|
27 |
Гидроизоляция «Флехендихт» |
Гидроизоляция полов во влажных помещениях |
||
|
28 |
Кромочная лента |
Отделка примыканий полов к стенам и перегородкам |
||
|
29 |
Шурупы специальные для ГВЛ |
Крепление сборной стяжки |
||
3.2. В качестве основания под покрытие полов принята сборная стяжка из гипсоволокнистых листов, либо из готовых элементов пола (лист 2.1).
3.3. Готовый элемент пола выполнен из двух гипсоволокнистых влагостойких листов марки ГВЛ В (ТУ 5742-004-03515377-97) размером 1500×500×10 мм, склееных между собой в заводских условиях со смещением относительно друг друга на 50 мм.
3.4. На элементы сборного пола (ТУ 5742-007-03515377-97) выдан сертификат соответствия Госстроя России и гигиенический сертификат. Номинальные размеры элементов пола приведены в таблице 3.
Таблица 3
|
№ п/п |
Параметры |
Размеры, мм |
Предельные отклонения, мм |
|
1 |
Длина |
1500 |
± 1,5 |
|
2 |
Ширина |
500 |
± 1,0 |
|
3 |
Толщина |
20,4 |
± 0,6 |
|
4 |
Ширина фальца |
||
|
- нижнего листа; |
48 |
± 2,0 |
|
|
- верхнего листа |
50 |
± 2,0 |
3.5. Пожарно-технические характеристики готовых элементов пола даны в таблице 4.
Таблица 4
|
№ п/п |
Характеристика |
|
|
1 |
Группа горючести по ГОСТ 30244-94 |
Г1 |
|
2 |
Группа воспламеняемости по ГОСТ 30402-96 |
В1 |
|
3 |
Группа дымообразующей способности по ГОСТ 12.1.044-89 |
Д1 |
|
4 |
Группа токсичности ГОСТ 12.1.044-89 |
Т1 |
|
5 |
Группа распространения пламени по ГОСТ Р 51038-97 |
Т1 |
4.1. Конструктивные решения полов по безпустотным панелям перекрытия толщиной 140 мм (листы - 1.1 - 1.7) предусматривают тепло-звукоизоляционный слой толщиной 30, 40 мм из пенополистирольных плит марки 25, размещаемых по слою полиэтиленовой пленки толщиной 0,2 мм, уложенной по предварительно выровненной цементно-песчаным раствором марки 150.
4.2. Конструктивные решения полов по многопустотным панелям перекрытия толщиной 220 мм (листы - 1.8 - 1.13) предусматривают теплозвукоизоляционный слой толщиной 40 - 60 мм из керамзитового песка по слою из полиэтиленовой пленки
В случаях, когда звукоизоляция перекрытий не нормируется толщина засыпки может быть уменьшена до 20 мм.
4.3. Конструктивные решения полов по грунту предусматривают теплоизоляционный слой керамзитового песка или пенопластовых плит по двум слоям гидростеклоизола по бетонной подготовке (листы - 1.14 - 1.17).
4.4. В местах примыкания полов к стенам, перегородкам и другим конструкциям здания должен быть предусмотрен зазор шириной 10 - 20 мм, заполняемый звукоизоляционной прокладкой из мягкой древесноволокнистой плиты, либо кромочной лентой (листы - 2.1 ÷ 2.3; - 2.5 ÷ 2.7; 2.11).
4.5. Звукоизоляционные характеристики разработанных конструкций полов приведены в таблице 5.
4.6. В таблице 6 даны предельные значения сосредоточенных нагрузок на полы, интенсивность движения и воздействие влаги и химических веществ.
4.7. Допускаемые равномерно распределенные нагрузки для полов со сборными стяжками даны в таблице 7.
Таблица 5
|
Наименование покрытия пола |
Поверхностная плотность, кг/м2 |
Общая толщина пола, мм |
Индекс изоляции воздушного шума Iв, дБ |
Индекс приведенного уровня ударного шума Iy, дБ |
|
|
Полы по сплошным плитам перекрытия толщиной 140 мм |
|||||
|
П1 |
Штучный паркет |
388 |
67 |
52 |
60 |
|
П2 |
Паркетная доска |
390 |
75 |
52 |
60 |
|
П3 |
Линолеум ПВХ на тепло-звукоизоляционной основе |
379 |
85 |
52 |
61 |
|
П4 |
Паркетная доска (полы по лагам) |
395 |
85 |
51 |
58 |
|
П5 |
Керамическая плитка |
441 |
91 |
53 |
58 |
|
П6 |
Паркетная доска (сборная стяжка по плите перекрытия) |
417 |
53 |
- |
70 |
|
П7 |
Линолеум (с дополнительным листом ГВЛ) |
470 |
135 |
52 |
67 |
|
Полы по многопустотным плитам перекрытия толщиной 220 мм |
|||||
|
П8 |
Штучный паркет |
393 |
97 |
50 |
70 |
|
П9 |
Паркетная доска |
396 |
98 |
50 |
70 |
|
П10 |
Линолеум ПВХ на теплоизолирующей основе |
386 |
85 |
52 |
70 |
|
П11 |
Плитка керамическая |
448 |
91 |
51 |
68 |
|
П12 |
Линолеум на тканевой основе (полы по лагам) |
391 |
91 |
50 |
69 |
|
П13 |
Линолеум без подосновы |
363 |
63 |
49 |
74 |
Таблица 6
Предельные значения сосредоточенных нагрузок на пол, интенсивность движения и воздействие влаги и химических веществ.
|
Наименование покрытия пола (назначение пола по Приложению 2 гл. СНиП 2.03.13-88 «Полы») |
Удельное давление на покрытие пола от сосредоточенной нагрузки на площадке 3×3 см, кгс/см2 |
Интенсивность движения |
Воздействие влаги и химических веществ |
||||||
|
По перекрытию с теплозвукоизоляцией |
По перекрытию на лагах с теплозвукоизоляцией |
По грунту |
Тележек на металлических шинах |
Транспорта на резиновом ходу |
|||||
|
Из Пенопласта |
Из керамзитового песка |
Из Пенопласта |
Из керамзитового песка |
По пенопласту |
По керамзитовому песку |
||||
|
1 |
2 |
3 |
4 |
5 |
6 |
7 |
8 |
9 |
10 |
|
1. Полимерные материалы: |
|||||||||
|
- линолеум, плитки ПВХ; |
9 |
20 |
9 |
10 |
9 |
40 |
Не допускается |
Не допускается |
|
|
- ПВХ-пластикой; |
9 |
10 |
9 |
10 |
9 |
10 |
То же |
То же |
|
|
- мастичное поливинилацетатное; |
5 |
5 |
5 |
5 |
5 |
5 |
-«- |
-«- |
|
|
- мастичное эпоксидное. |
9 |
20 |
9 |
10 |
9 |
40 |
-«- |
Не допускается воздействие воды и кислот |
|
|
2. Паркетные доски и щиты, штучный или наборный паркет |
9 |
20 |
9 |
10 |
9 |
40 |
Не допускается |
Не допускается |
|
|
3. Рулонные материалы на основе синтетических волокон (ковровое покрытие) |
9 |
10 |
9 |
10 |
9 |
10 |
Не допускается |
Не допускается |
|
|
4. Керамические плитки |
9 |
20 |
9 |
10 |
9 |
20 |
Допускается как правило, в помещениях с повышенными санитарно-гигиеническими требованиями |
В зависимости от типа прослойки по Приложению 5 гл. СНиП 2.03.13-88 «Полы» |
|
Таблица 7
Допускаемые равномерно распределенные нагрузки для пола со сборной стяжкой и теплозвукоизоляцией из пенополистирольных плит плотностью 17 кг/м3 (ГОСТ 15588-86) и керамзитового песка (ГОСТ 9757-90)
|
Наименование помещений жилых и общественных зданий |
Равномерно распределенная нагрузка с учетом коэффициента перегрузки, кгс/м2 |
|||||
|
По перекрытию с теплозвукоизоляцией |
По перекрытию на лагах с теплозвукоизоляцией |
На грунте с теплоизоляцией |
||||
|
Из пенополистирола |
Из керамзитового песка |
Из пенополистирола |
Из керамзитового песка |
Из пенополистирола |
Из керамзитового песка |
|
|
1 |
2 |
3 |
4 |
5 |
6 |
7 |
|
1. Жилые и спальные помещения |
210 |
210 |
210 |
210 |
- |
- |
|
2. Служебные помещения административных зданий |
260 |
260 |
260 |
260 |
550 |
1000 |
|
3. Зрительные, концертные и спортивные залы |
520 |
520 |
520 |
520 |
550 |
1000 |
5.1. Устройство полов должно выполняться после окончания всех строительно-монтажных, электротехнических, санитарно-технических и отделочных работ.
5.2. Относительная влажность воздуха в помещениях в процессе устройства покрытий полов не должна превышать 60 %. Температура воздуха на уровне пола при устройстве сборной стяжки из ГВЛ и покрытий из древесных материалов должна быть не ниже +10 °С, а из синтетических материалов не ниже +15 °С.
5.3. До начала производства работ по устройству полов монтажные отверстия в перекрытиях, зазоры между плитами, места примыканий перекрытий к стенам перегородкам, трубам должны быть тщательно заделаны цементно-песчаным раствором марки не ниже М100.
5.4. При применении в качестве тепло- звукоизоляционного слоя пенополистирольных плит (листы - 1.1 ÷ 1.5) и укладке готовых элементов пола непосредственно по плитам перекрытия (лист - 1.6) поверхность основания должна быть выровнена цементно-песчаным раствором или шпатлевкой.
5.5. Ровность поверхности следует проверять двухметровой рейкой, передвигаемой во всех направлениях. Просветы между рейкой и основанием не должны превышать 2 мм.
5.6. По бетонному основанию устраивают пароизоляционный слой из полиэтиленовой пленки толщиной 0,2 мм. Пленку укладывают с нахлесткой кромок полотнищ не менее 200 мм. По периметру помещения край пленки заводят выше уровня стяжки. После окончания работ по устройству сборной стяжки выступающие части пленки и кромочной ленты аккуратно срезают.
По деревянному основанию пароизоляцию выполняют из ламинированной бумаги.
5.7. Пенополистирольные плиты подстилающего слоя должны быть уложены без зазоров. Не допускается совпадение стыков элементов сборной, стяжки и нижележащих пенополистирольных плит. Расположенные под сборной стяжкой трубы с теплоносителем обертывают минераловатными матами (лист - 2.12).
5.8. Звукоизоляционную засыпку из керамзитового песка фракцией 2 - 5 мм укладывают по всей поверхности перекрытия. Выравнивание засыпки производят рейкой по выставленным с помощью уровня профилям, начиная от стены, противоположной входу.
5.9. Укладку готовых элементов сборной стяжки начинают от стены с дверным проемом. У сопряжения со стеной фальц крайнего элемента обрезают. Каждый новый ряд начинают с укладки отрезанной по месту части последнего элемента предыдущего ряда, что обеспечивает смещение торцевых стыков в соседних рядах и исключает отходы.
На фальцы уложенных элементов стяжки сплошным слоем наносят дисперсию ПВА или клеящую мастику и накрывают последующим элементом. В процессе монтажа скрепление фальцев производят специальными шурупами для ГВЛ длиной не менее 19 мм. С шагом не более 300 мм. Выступающий из стыков клей удаляют шпателем.
5.10. При толщине засыпки более 100 мм под стяжку из готовых элементов пола подкладывают дополнительный слой крупноформатных гипсоволокнистых листов (лист - 1.7).
5.11. В смежных помещениях рекомендуется сквозная укладка элементов сборной стяжки. Если это не удается, то при образовании прямого стыка элементов с обрезанными фальцами (например, в дверном проеме) под стык подкладывают опору из дерева или ДСП шириной не менее 100 мм. Края элементов стяжки закрепляют на подложке шурупами (лист - 2.9).
5.12. При устройстве сборной стяжки в помещениях с влажным режимом (ванные комнаты) стыки пола со стенами уплотняют лентой «Флехендихтбанд», а поверхность элементов из ГВЛ покрывают гидроизоляцией «Флехендихт».
5.13. При устройстве сборной стяжки из отдельных гипсоволокнистых листов на объекте выполняют:
- раскрой и заготовку листов по размерам помещений;
- укладку первого слоя листов с зазором в стыках не более 1 мм;
- нанесение клея сплошным слоем производят последовательно под каждый лист второго слоя;
- укладку листов второго слоя с минимальным зазором с перекрытием стыков нижнего слоя не менее, чем 250 мм;
- крепление каждого листа второго слоя 20-ю шурупами для ГВЛ.
5.14. Стыки элементов сборной стяжки и места установки шурупов под покрытие из линолеума, поливинилхлоридных плиток и текстильных ковров должны быть заделаны шпаклевкой «Фугенфюллер ГВ», или «Унифлот». Поверхность стяжки должна быть чистой, ровной и очищенной от пыли.
5.15. Перед устройством полов линолеум, плитки, ковровое покрытие следует выдерживать в помещении при температуре не ниже 15 °С в течение 2 суток.
Рулоны линолиума и коврового покрытия раскатывают по подготовленному основанию и разрезают на полотнища по размерам помещения, а затем раскладывают с напуском кромок 20 - 30 мм и выдерживают до исчезновения волнистости. При покрытиях из винилхлоридных плиток выполняют разбивку осей и предварительную раскладку насухо.
5.16. Линолеум и плитки приклеивают к стяжке по всей площади. Для обеспечения плотной приклейки покрытия, материал необходимо тщательно прижимать к основанию при помощи гладилки до полного удаления воздуха из-под покрытия.
5.17. При наклейке плиток, резинового линолеума и линолеума без подосновы клей наносят на стяжку шпателем слоем 0,3 - 0,4 мм и на изнаночную сторону покрытия - слоем толщиной 0,2 - 0,3 мм.
При текстильных ковровых покрытиях клей наносят слоем 0,5 мм только на стяжку. Через 15 - 20 мин после нанесения клея ковер приклеивают.
5.18. При наклейке линолеума оставляют неприклеенными кромки смежных полотнищ на ширину 100 - 150 мм для последующей прирезки стыков. Прирезку стыков производят по металлической линейке специальным ножом.
Стыки наклеенных полотнищ и стыки линолеума в дверных проемах должны быть прирезаны после высыхания клеевой прослойки, но не ранее, чем через 3 суток после наклейки (период усадки линолеума).
После удаления обрезков линолеума кромки полотнищ приклеивают к основанию тем же клеем по той же технологии, что и полотнища, а стыки прикатывают катком.
При наклейке линолеума с теплозвукоизолирующей подосновой необходимо обеспечить, чтобы клей попал на стык между кромками, создавая армирующий шов. После подгонки кромок избыток клея сразу удаляют.
5.19. Линолеум и плитки рекомендуется наклеивать на дисперсионных клеях «Бустилат» и др.
5.20. Паркетные доски укладывают насухо, склеивая между собой дисперсией ПВА. На продольные гребни ее наносят точечно с шагом 400 - 500 мм, а на торцевые - по всей поверхности.
Первую паркетную доску укладывают гребнем к стене по шнуру на расстоянии 12 - 15 мм от стены удаленной от входа. К ней в торец со сплошной промазкой дисперсией ПВА гребня укладывают вторую доску и так далее вдоль всей стены.
В зазор между уложенными досками и стенами (перегородками) и в торцах каждого ряда досок устанавливают деревянные клинья на расстоянии 50 - 60 см друг от друга.
К первому ряду досок укладывают второй, промазывая клеем гребень и плотно сплачивая доски.
В смежных помещениях паркетные доски укладывают во взаимно перпендикулярных направлениях.
После укладки последнего ряда досок между ним и стеной устанавливают клинья, с помощью которых сплачивают покрытие. После твердения клея (2 - 3 суток) клинья удаляют и устанавливают плинтуса.
5.21. Влажность древесины плинтусов в период установки не должна превышать 12 %.
5.22. При креплении плинтусов устанавливают звукоизоляционные прокладки из полосок теплозвукоизоляционного линолеума или пенополиуретановых лент.
Звукоизоляционные прокладки устанавливают между плинтусом и полом, если плинтус крепят к стене или между плинтусом и стеной - при креплении плинтуса к полу.
5.23. Конструкции полов типов П4; П12 устраивают по деревянным лагам укладываемым по многопустотным и безпустотным плитам покрытия, либо по бетонной подготовке или кирпичным столбикам - при устройстве полов по грунту (листы - 1.14; 1.15).
В перекрытиях по многопустотным плитам (листы 1.8 - 1.13) для обеспечения требуемого уровня звукоизоляции, лаги укладывают по засыпке из керамзитового песка толщиной 40 - 60 мм.
В полах по грунту и по безпустотным плитам перекрытия предусмотрены самонивелирующиеся лаги.
5.24. В качестве лаг применяют нестроганые доски 2 и 3 сорта шириной 80 мм и толщиной 40 мм из древесины хвойных пород.
Лаги должны быть антисептированы и антиперированы, влажность древесины не должна превышать 18 %.
5.25. Расстояние между лагами 375 мм регламентируется размерами готовых элементов пола из ГВЛ (1500 мм). Между лагами и стенами или перегородками оставляют зазор 20 ÷ 30 мм.
5.26. В местах дверных проемов предусматривают уширенную лагу-доску, выступающую за перегородку не менее, чем на 50 мм с каждой ее стороны.
5.27. Все лаги должны быть расположены в одной плоскости, что проверяют двухметровой рейкой с уровнем, прикладываемой к лагам в любом направлении.
Конструктивные решения полов в работе в виде схем и рабочих чертежей узлов образуют две группы:
1. Конструктивные решения полов.
2. Основные узлы.

1 - покрытие пола из штучного паркета; 2 - сборная стяжка из готовых элементов пола; 3 - плиты пенополистирольные ПСБ-С; 4 - пленка полиэтиленовая; 5 - безпустотная панель перекрытия
|
Показатели на 1 кв. м |
Масса |
Нормативный расход основных материалов |
||||
|
Паркет штучный |
Элемент пола из ГВЛ5 |
Пенонолистирольные плиты |
Пленка полиэтиленовая |
Мастика холодная |
||
|
ед. изм. |
кг |
м2 |
м2 |
м2 |
м2 |
кг |
|
кол-во |
37,7 |
1,02 |
1,02 |
1,02 |
1,15 |
0,5 |

1 - покрытие из паркетных досок; 2 - сборная стяжка из готовых элементов пола; 3 - плиты пенополистирольные; 4 - пленка полиэтиленовая; 5 - безпустотная железобетонная панель перекрытия
|
Показатели на 1 кв. м |
Масса |
Нормативный расход основных материалов |
|||
|
Доска паркетная |
Элемент пола из ГВЛВ |
Пенонолистирольные плиты |
Пленка полиэтиленовая |
||
|
ед. изм. |
кг |
м2 |
м |
м2 |
м2 |
|
кол-во |
40,2 |
1,02 |
1,02 |
1,02 |
1,15 |

1 - покрытие из линолеума ПВХ на тканевой основе нехолодной водостойкой мастике; 2 - сборная стяжка из готовых элементов пола; 3 - плиты пенополистирольные; 4 - пленка полиэтиленовая; 5 - безпустотная панель перекрытия
|
Показатели на 1 кв. м |
Масса |
Нормативный расход основных материалов |
||||
|
Линолеум |
Элемент пола из ГВЛВ |
Пенонолистирольные плиты |
Пленка полиэтиленовая |
Мастика |
||
|
ед. изм. |
кг |
м2 |
м2 |
м2 |
м2 |
кг |
|
кол-во |
29,5 |
1,02 |
1,02 |
1,02 |
1,15 |
0,5 |
Вместо линолеума ПВХ на тканевой основе могут быть использованы безосновные ПВХ плитки, линолеум на вспененной основе толщиной 1,8 мм. Рекомендуется применять совместно с попами из штучного паркета или паркетной доски в остальных помещениях квартир.

1 - покрытие пола из паркетных досок; 2 - сборная стяжка; 3 - лага самонивелирующаяся; 4 - плиты пенополистирольные; 5 - битуминозный рулонный материал; 6 - плита перекрытия безпустотная
|
Показатели на 1 кв. м |
Масса |
Нормативный расход основных материалов |
||||
|
Паркет штучный |
Элемент пола из ГВЛВ |
Пенонолистирольные плиты |
Пленка полиэтиленовая |
Пиломатериал |
||
|
ед. изм. |
кг |
м2 |
м2 |
м2 |
м2 |
м3 |
|
кол-во |
45,3 |
1,02 |
1,02 |
1,02 |
1,15 |
0,084 |

1 - покрытие из керамической плитки на цементно-песчаном растворе; 2 - гидроизоляция из битуминозных материалов; 3 - сборная стяжка; 4 - плиты пенополистирольные; 5 - полиэтиленовая пленка; 6 - безпустотная железобетонная плита перекрытия
|
Показатели на 1 кв. м |
Масса |
Нормативный расход основных материалов |
||||
|
Плитка керамическая |
Элемент пола из ГВЛВ |
Пенонолистирольные плиты |
Пленка полиэтиленовая |
Гидростеклоизол |
||
|
ед. изм. |
кг |
м2 |
м2 |
м2 |
м2 |
м2 |
|
кол-во |
90,8 |
1,02 |
1,02 |
1,02 |
1,15 |
1,15 |

1 - покрытие пола; 2 - сборная стяжка из готовых элементов пола; 3 - пленка полиэтиленовая; 4 - выравнивающая стяжка из цементно-песчаного раствора; 5 - безпустотная железобетонная плита перекрытия
1. Данный тип пола предусмотрен для коттеджного строительства и для общественных зданий
2. В качестве покрытия пола могут быть использованы линолеум на теплозвукоизоляционной основе, текстильный ковер, штучный паркет, паркетная доска и др.
|
Показатели на 1 кв. м |
Масса |
Нормативный расход основных материалов |
|||
|
Доска паркетная |
Элемент пола из ГВЛВ |
Раствор |
Пленка полиэтиленовая |
||
|
ед. изм. |
кг |
м2 |
м2 |
М3 |
м2 |
|
кол-во |
66,7 |
1,02 |
1,02 |
0,015 |
1,15 |

1 - покрытие пола; 2 - сборная стяжка из готовых элементов пола; 3 - крупноформатный гипсоволокнистый лист; 4 - засыпка из керамзитового песка; 5 - полиэтиленовая пленка; 6 - безпустотная железобетонная плита перекрытия; 7 и 8 - клей и шуруп для ГВЛ
1. Покрытие пола может быть выполнено из линолеума всех типов плиток ПВХ, текстильного ковра, штучного и щитового паркета, паркетной доски и др.
2. Данный тип пола предназначен для устройства по перекрытиям из безпустотных железобетонных плит толщиной 140 - 160 мм
|
Показатели на 1 кв. м |
Масса |
Нормативный расход основных материалов |
||||
|
Линолеум |
Элемент пола из ГВЛВ |
Гравий керамзитовый |
Пленка полиэтиленовая |
Лист ГВЛ |
||
|
ед. изм. |
кг |
м2 |
м2 |
м3 |
м2 |
м2 |
|
кол-во |
1,02 |
1,02 |
0,115 |
1,15 |
1,02 |
|

1 - покрытие из штучного паркета на холодной водостойкой мастике; 2 - сборная стяжка из готовых элементов пола; 3 - подстилающий слой из керамзитового песка; 4 - полиэтиленовая пленка; 5 - многопустотная железобетонная плита перекрытия
|
Показатели на 1 кв. м |
Масса |
Нормативный расход основных материалов |
||||
|
Паркет штучный |
Элемент пола из ГВЛВ |
Песок керамзитовый |
Пленка полиэтиленовая |
Мастика |
||
|
ед. изм. |
кг |
м2 |
м2 |
м3 |
м2 |
кг |
|
кол-во |
93,2 |
1,02 |
1,02 |
0,07 |
1,15 |
0,5 |

1 - покрытие пола из паркетных досок; 2 - сборная стяжка; 3 - засыпка из керамзитового песка; 4 - пленка полиэтиленовая; 5 - многопустотная плита перекрытия.
|
Показатели на 1 кв. м |
Масса |
Нормативный расход основных материалов |
|||
|
Доски паркетные |
Элемент пола из ГВЛВ |
Песок керамзитовый |
Пленка полиэтиленовая |
||
|
ед. изм. |
кг |
м2 |
м2 |
м3 |
м2 |
|
кол-во |
95,7 |
1,05 |
1,02 |
0,07 |
1,15 |

1 - покрытие из линолеума ПВХ ТЗИЛ на клее «Бустилат»; 2 - сборная стяжка из готовых элементов пола; 3 - засыпка из керамзитового песка; 4 - пленка полиэтиленовая; 5 - многопустотная железобетонная плита перекрытия
|
Показатели на 1 кв. м |
Масса |
Нормативный расход основных материалов |
|||||
|
Линолеум |
Элемент пола из ГВЛВ |
Пиломатериал |
Песок керамзитовый |
Клей |
Пленка полиэтиленовая |
||
|
ед. изм. |
кг |
м2 |
м2 |
М3 |
м3 |
кг |
м2 |
|
кол-во |
86,2 |
1,02 |
1,02 |
- |
0,07 |
0,5 |
1,15 |

1 - покрытие из керамической плитки 150×150×13 на цементно-песчаном растворе М150; 2 - гидроизоляционный слой; 3 - сборная стяжка из готовых элементов пола; 4 - подсыпка из керамзитового песка; 5 - пленка полиэтиленовая; 6 - многопустотная железобетонная плита перекрытия
|
Показатели на 1 кв. м |
Масса |
Нормативный расход основных материалов |
|||||
|
Плитка керамическая |
Раствор М150 |
Гидроизоляционный материал |
Мастика |
Элемент попа из ГВЛВ |
Песок |
||
|
ед. изм. |
кг |
м2 |
м3 |
м2 |
кг |
м2 |
м3 |
|
кол-во |
147,7 |
1,02 |
0,022 |
1,15 |
2,4 |
1,02 |
0,06 |

1 - покрытие из линолеума на тканевой основе на холодной водостойкой мастике; 2 - сборная стяжка из готовых элементов пола; 3 - сплошной дощатый настил из обрезных досок 80×25 мм; 4 - лаги 80×40 мм; 5 - керамзитовый песок; 6 - многопустотная панель перекрытия; 7 - пленка полиэтиленовая
|
Показатели на 1 кв. м |
Масса |
Нормативный расход основных материалов |
|||
|
Линолеум |
Элемент пола из ГВЛВ |
Пиломатериал |
Песок |
||
|
ед. изм. |
кг |
м2 |
м2 |
м3 |
м3 |
|
кол-во |
90,6 |
1,02 |
1,02 |
0,035 |
0,052 |

1 - покрытие пола из линолеума без подосновы; 2 - сборная стяжка из готовых элементов пола; 3 - подстилающий слой из керамзитового песка; 4 - полиэтиленовая пленка; 5 - многопустотная железобетонная плита перекрытия
1 Данный тип пола рекомендуется для устройства в подсобных помещениях по железобетонным плитам перекрытия толщиной 220 мм.
2. Вместо укладки линолеума без подосновы по сборной стяжке может быть выполнен окрасочный слой.
3 Стыки между элементами пола и места установки шурупов необходимо прошпатлевать и зачистить.
|
Показатели на 1 кв. м |
Масса |
Нормативный расход основных материалов |
||||
|
Линолеум |
Элемент пола из ГВЛВ |
Гравий керамзитовый |
Пленка полиэтиленовая |
Клей |
||
|
ед. изм. |
кг |
м2 |
м2 |
м3 |
м2 |
кг |
|
кол-во |
63 |
1,02 |
1,02 |
0,044 |
1,15 |
0,5 |

1 - покрытие пола; 2 - сборная стяжка из готовых элементов пола; 3 - плиты пенополистирольные; 4 - лаги самонивелирующиеся; 5 - подстилающий слой из бетона М150 с затертой поверхностью; 6 - два слоя гидростеклоизола; 7 - бетон М150; 8 - щебень (гравий) крупностью 40 - 60 мм, втрамбованный в грунт основания.
|
Показатели на 1 кв. м |
Масса |
Нормативный расход основных материалов |
||||||
|
Покрытие пола |
Элемент пола из ГВЛВ |
Пенополистирольные плиты |
Гидростеклоизол |
Бетон |
Щебень |
Пиломатериалы |
||
|
ед. изм. |
кг |
м2 |
м2 |
м2 |
м2 |
м3 |
м3 |
м3 |
|
кол-во |
- |
1,02 |
1,02 |
1,02 |
2,3 |
0,17 |
0,042 |
0,08 |
В зависимости от функционального назначения помещений покрытие пола может быть выполнено из паркетных досок, линолеума, текстильных ковров, керамических плиток и др.

1 - покрытие пола; 2 - сборная стяжка из готовых элементов пола; 3 - засыпка из керамзитового гравия; 4 - лаги самонивелирующиеся; 5 - подстилающий слой из бетона М150 с затертой поверхностью; 6 - два слоя гидростеклоизола; 7 - бетон М150; 8 - щебень (гравий) крупностью 40 - 60 мм, втрамбованный в грунт основания.
|
Показатели на 1 кв. м |
Масса |
Нормативный расход основных материалов |
||||||
|
Покрытие пола |
Элемент пола из ГВЛВ |
Керамзитовый песок |
Гидростеклоизол |
Бетон |
Щебень |
Пиломатериалы |
||
|
ед. изм. |
кг |
м2 |
м2 |
м2 |
м2 |
м3 |
м3 |
м3 |
|
кол-во |
1,02 |
1,02 |
0,05 |
2,3 |
0,17 |
0,042 |
0,08 |
|
В зависимости от функционального назначения помещений покрытие пола может быть выполнено из паркетных досок, линолеума, текстильных ковров, керамических плиток и др.

1 - покрытие пола; 2 - сборная стяжка из готовых элементов пола; 3 - плиты пенополистирольные; 4 - два слоя гидростеклоизола; 5 - подстилающий слой из бетона М150 с затертой поверхностью; 6 - щебень (гравий) крупностью 40 - 60 мм, втрамбованный в грунт основания.
|
Показатели на 1 кв. м |
Масса |
Нормативный расход основных материалов |
|||||
|
Покрытие пола |
Элемент пола из ГВЛВ |
Пенополистирольные плиты |
Гидростеклоизол |
Бетон |
Щебень |
||
|
ед. изм. |
кг |
м2 |
м2 |
м2 |
м2 |
м3 |
м3 |
|
кол-во |
- |
1,02 |
1,02 |
1,02 |
2,3 |
0,084 |
0,042 |

1 - покрытие пола; 2 - сборная стяжка из готовых элементов пола; 3 - засыпка из керамзитового песка; 4 - два слоя гидростеклоизола; 5 - подстилающий слой из бетона М150 с затертой поверхностью; 6 - щебень (гравий) крупностью 40 - 60 мм, втрамбованный в грунт основания.
|
Показатели на 1 кв. м |
Масса |
Нормативный расход основных материалов |
|||||
|
Покрытие пола |
Элемент пола из ГВЛВ |
Керамзитовый песок |
Гидростеклоизол |
Бетон |
Щебень |
||
|
ед. изм. |
кг |
м2 |
м2 |
м2 |
м2 |
м3 |
м3 |
|
кол-во |
- |
1,02 |
1,02 |
- |
2,3 |
0,084 |
0,042 |
В зависимости от функционального назначения помещений покрытие пола может быть выполнено из паркетных досок, линолеума, текстильных ковров, керамических плиток и др.

1 - лага 80×40 мм; 2 - слой гидростеклоизола; 3 - гвоздь К4×100; 4 - шуруп для ГВЛ; 5 - покрытие пола; 6 - элемент пола; 7 - бетонный (кирпичный) столбик 250×250×150 через 800 мм; 8 - щебень (гравий) фракцией 40 - 60 мм втрамбовать в грунт основания.
|
Показатели на 1 кв. м |
Масса |
Нормативный расход основных материалов |
|||||
|
Доска паркетная |
Элемент пола из ГВЛВ |
Гидростеклоизол |
Щебень |
Бетон |
Пиломатериал |
||
|
ед. изм. |
кг |
м2 |
м2 |
м2 |
м3 |
м3 |
м3 |
|
кол-во |
48,5 |
1,02 |
1,02 |
0,70 |
0,042 |
0,082 |
0,015 |
1. Данная конструкция пола применяется на грунтах с ненарушенной структурой, естественной плотности, с отметкой поверхности основания пола выше уровня отмостки здания и выше уровня опасного капиллярного поднятия грунтовых вод.

Примечание. Схему раскладки сборных стяжек из отдельных гипсоволокнистых листов и готовых элементов пола см. приложение

1 - кромочная лента; 2 - звукоизолирующая прокладка; 3 - плинтус тип 4 по ГОСТ 8242-75; 4 - гвозди П 1,2×20 по ГОСТ 4028-63*; 5 - герметик (лента, шнур); 6 - раствор; 7 - монтажный бетон; 8 - плиты пенопластовые; 9 - покрытие пола; 10 - плита перекрытия; 11 - стена; 12 - сборная стяжка.

1 - кромочная лента; 2 - плинтус типа 3; 3 - гвоздь (шуруп); 4 - звукоизолирующая прокладка; 5 - покрытие пола; 6 - лага; 7 - плиты пенополистирольные; 8 - стена; 9 - плита перекрытия; 10 - сборная стяжка.

1 - покрытие пола; 2 - поддон сантех. кабины; 3 - дверной блок; 4 - подсыпка из песка; 5 - плинтус тип 1; 6 - гвоздь П 1,2×20; 7 - сборная стяжка.

1 - пол из керамических плиток; 2 - гидроизоляция; 3 - пленка полиэтиленовая; 4 - кромочная лента; 5 - плинтус керамический или из цементно-песчаного раствора М150; 6 - полоса из линолеума; 7 - несущая плита перекрытия; 8 - стена; 9 - сборная стяжка.

1 - железобетонная плита перекрытия; 2 - выравнивающая затирка из цементно-песчаного раствора; 3 - пленка полиэтиленовая; 4 - кромочная лента; 5 - плиты пенополистирольные; 6 - сборная стяжка; 7 - приклеивающий состав; 8 - плитка керамическая; 9 - лента гидроизолирующая; 10 - упругий заполнитель; 11 - герметизирующая мастика; 12 - гидроизоляция.

1 - перегородка; 2 - уплотнитель; 3 - дюбельный гвоздь; 4 - несущая плита перекрытия; 5 - пленка полиэтиленовая; 6 - сборная стяжка; 7 - покрытие пола; 8 - кромочная лента; 9 - плинтус пластиковый; 10 - подстилающий слой.

1 - элемент каркаса перегородки; 2 - уплотняющая лента; 3 - дюбель; 4 - элемент пола из ГВЛ; 5 - засыпка из керамзитового песка; 6 - железобетонная плита перекрытия.

1 - сборная стяжка; 2 - опора из древесностружечной плиты под прямой стык из ГВЛ в дверном проеме; 3 - шуруп 45 мм для ГВЛ; 4 - покрытие пола из рулонных материалов; 5 - порожек поливинилхлоридный; 6 - дверная коробка; 7 - подстилающий слой.

1 - пол из керамической плитки; 2 - пол из штучного паркета; 3 - гидроизоляция; 4 - дверная коробка; 5 - несущая плита перекрытая; 6 - сборная стяжка; 7 - подстилающий слой.

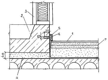
1 - пропускаемая труба; 2 - гильза из асбестового картона; 3 - безусадочный раствор; 4 - кромочная лента; 5 - плинтус тип 3; 6 - покрытие пола; 7 - несущая плита перекрытия; 8 - стена; 9 - сборная стяжка; 10 - подстилающий слой.

1 - труба; 2 - минеральная вата; 3 - плиты пенополистирольные; 4 - засыпка из керамзитового песка; 5 - покрытие пола; 6 - сборная стяжка; 7 - пленка полиэтиленовая; 8 - несущая плита перекрытия.
|
Укладка стяжки на подстилающий слой из сухой засыпки (вариант А) |
Укладка стяжки на подстилающий слой из пенополистирола (вариант Б) |
|
Стяжка из готовых элементов пола |
|
|
|
|
|
Стяжка из отдельных гипсоволокнистых листов |
|
|
|
|
|
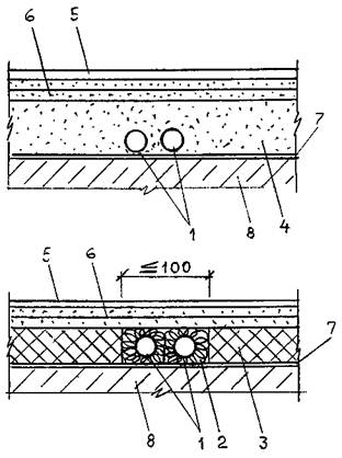
Нанесение клея и соединение листов |
Расположение шурупов на листе 2-го слоя стяжки |
|
|
|