«УТВЕРЖДАЮ»

Заместитель директора

ЦЕНТРА МЕТРОЛОГИИ

ГУП «Водоканал Санкт-Петербурга»

_____________________ А.Н. Ермаков

Схемы установки счетчиков
в водомерных узлах на внутренних
водопроводных сетях объектов

ЦИРВ03А.00.00.00

Согласовано:

Главный метролог ЦМ                                  /Зайцев А.П./

Начальник РТС                                              /Тюрин А.В./

Начальник РО РТС                                        /Низамова С.В./

 

СОДЕРЖАНИЕ

Основные положения. 1

Требования к устройству водомерных узлов. Пояснительная записка. 2

Основные схемы устройства водомерных узлов. 3

Варианты компоновки водомерных узлов. 8

Приложение. 15

Основные положения

1. Настоящий альбом распространяется на установку тахометрических (механических) счетчиков расхода воды, монтируемых на внутренних сетях объектов и выпущен взамен альбома типовых конструкций ЦИРВ03.00.00.00.

2. В альбоме представлены конструкции узлов учета расхода воды (далее - водомерные узлы) в различных исполнениях, в зависимости от типа счетчика, условий водопотребления (расходов воды) и места установки.

3. Используемые приборы учета расхода воды должны входить в Госреестр средств измерений, допущенных к применению на территории Российской Федерации.

4. Конструкция, порядок установки и эксплуатация водомерных узлов должны производится в соответствии с требованиями нормативных документов:

- «Технические требованиями к оборудованию водомерных узлов, расположенных на внутренних сетях объектов», согласованные Центром метрологии ГУП «Водоканал Санкт-Петербурга» (см. приложение 1);

- «Правила пользования системой коммунального водоснабжения и канализации в Российской Федерации» от «12» февраля 1999 г.;

- «Внутренний водопровод и канализация» - СНиП 2.04.01-85*, издание 2000 г.,

- «Закон Российской Федерации об обеспечении единства измерений» от «27» апреля 1993 г. за № 48471-1.

Порядок установки и эксплуатация водомерных узлов в квартирах жилых зданий дополнительно регламентируется следующими документами:

- распоряжение губернатора Санкт-Петербурга от «06» ноября 1996 г. за № 277-Р «Об установке приборов учета во вновь строящихся и реконструируемых зданиях»;

- распоряжение губернатора Санкт-Петербурга от «17» сентября 1997 г. за № 1139-Р «Об установке приборов учета расхода энергоресурсов в эксплуатируемых жилых зданиях»;

- приказ комитета по содержанию жилищного фонда администрации Санкт-Петербурга от «11» июля 1998 г. за № 77 «Об утверждении Временного Положения о порядке расчетов населения за потребляемые энергоресурсы по показаниям квартирных приборов учета».

5. Диаметры условного прохода счетчиков должны согласовываться с представителями служб водопроводно-канализационного хозяйства (ВКХ) при наличии с этим предприятием договора на водопользование. В остальных случаях - с балансодержателем водопроводных сетей (для ЖСК, ЖК, ТСЖ, кондоминиумы и т.д.) или представителями жилищно-эксплуатационной службы (ЖЭС), обслуживающей водопроводные сети (для муниципальных жилых объектов).

6. Местоположение водомерных узлов, их количество на объекте определяется водопотребителем и в обязательном порядке согласовывается с балансодержателем водопроводных сетей объекта или представителем ЖЭС. Согласование необходимо для исключения безучетного водопотребления, то есть использования санитарно-технических приборов помимо счетчика.

7. Приемка и опломбирование водомерного узла производится представителями служб ВКХ или балансодержателя или ЖЭС, в зависимости от того, с кем производится расчет за потребляемую воду.

Требования к устройству водомерных узлов. Пояснительная записка

1. Водомерный узел рекомендуется устанавливать на подводящей водопроводной магистрали на объект или на отдельный санитарно-технический прибор сразу за запорным устройством.

2. Наиболее распространенные схемы водомерных узлов с горизонтальным и вертикальным расположением счетчиков указаны, соответственно, на рис. 1 и 2 (исполнение 1).

Данные схемы допускается применять в случае, если штуцера с накидными гайками, входящие в комплект заводской поставки к счетчику, обеспечивают требования к длине прямых участков до и после счетчика. Эта информация содержится в сопроводительной документации (паспорте) на счетчик.

3. Если в паспорте на счетчик специально оговорены длины прямолинейных участков до и после счетчика и штуцера с накидными гайками, входящие в комплект заводской поставки, не удовлетворяют этому требованию рекомендуется применять схемы водомерных узлов, указанные на рис. 3, 4, 5, 6 (исполнения 2, 3). В этих схемах обеспечивается длина прямого участка до счетчика пять и более диаметров условного прохода счетчика (dy).

4. Обязательными условиями при установке счетчика являются:

- соответствие длин прямолинейных участков до и после счетчика требованиям по монтажу конкретного счетчика (по паспорту);

- соответствие диаметров прямолинейных участков диаметру условного прохода счетчика (dy).

5. Допускается комбинированная схема установки счетчика, например: (см. рис. а, б, в, г, д). Возможны и другие схемы с соблюдением последовательности установки: запорное устройство - фильтрующее устройство - счетчик.

6. В случае, если слив воды из системы затруднен или нежелателен (наличие баков, циркуляционных систем и т.п.) рекомендуется устанавливать запорное устройство после счетчика (см. рис. а, б).

7. Установка сливного крана (пробки) рекомендуется в случаях, если слив воды необходимо произвести непосредственно из водомерного узла, а так же для контроля давления на выходе из счетчика (см. рис а, б). Давление на входе счетчика возможно контролировать через сливную пробку фильтра.

8. При использовании в качестве запорной арматуры перед счетчиком шаровых кранов, затворов поворотных и других устройств, не обеспечивающих плавное регулирование потока при открытии, возможен гидроудар и, как следствие, поломка счетчика. Поэтому открытие таких устройств необходимо производить плавно или устанавливать после них демпфирующее устройство, например регулятор давления (см. рис. 10, 11). Регулятор давления устанавливается также в случаях необходимости снижения избыточного давления воды до оптимального. Пример такой конструкции водомерного узла с установкой крана-фильтра (КВФ) и настраиваемого регулятора давления указан на рис. 12, 13.

9. В схеме подключения водомерного узла (узлов) к внутренней водопроводной сети объекта, согласовываемой с балансодержателем сетей или с ЖЭС, должны быть указаны места установки водомерных узлов и диаметры подводных магистралей. Желательно указать санитарно-технические приборы, потребляющие воду.

На рис. 12, 13 представлены два варианта схемы подключения к внутренней водопроводной сети одного и того же объекта с тремя (рис. 12) и одним (рис. 13) водомерными узлами. Рекомендуется устанавливать минимальное количество водомерных узлов, что облегчает их обслуживание и съем показаний, однако, часто это связано с прокладкой дополнительных магистралей (см. рис. 13).

Иногда используется установка водомерных узлов перед каждым санитарно-техническим прибором (унитазом, умывальником и т.д.). При этом следует учитывать, что все счетчики должны периодически поверяться в органах Госстандарта, поэтому использование большого количества водомерных узлов может существенно удорожить их эксплуатацию.

10. Монтаж водомерного узла производится на стальные трубопроводы (газо-водопроводные, нержавеющие стали), медные, металлопластиковые, пластмассовые и др. Гибкие шланги допускается использовать только после водомерного узла.

Для монтажа водомерных узлов рекомендуется привлекать организации, имеющие лицензию для производства подобных работ, особенно, проводимых на медных, металлопластиковых и пластмассовых трубопроводах. В приложении к альбому (листы 21 ... 33) указаны основные методы монтажа водомерных узлов на различных типах трубопроводов.

11. В обозначение водомерного узла записываются следующие основные параметры:

- тип узла: без обводной линии - обозначение - «1»;

(водомерные узлы с обводной линией в данном альбоме не рассматриваются)

- диаметр подводной магистрали, Dy;

- диаметр условного прохода счетчика, dy;

Например установка счетчика диаметром условного прохода счетчика - 20 мм на вводе диаметром 25 мм: 1-25. сч. 20.

Возможно более детальное обозначение водомерного узла с использованием дополнительных параметров:

- горизонтальная установка счетчика - «Н»

- вертикальная установка счетчика - «V»

- исполнение обвязки счетчика - «1», «2», «3»

Например вертикальная установка того же счетчика на вертикальном вводе диаметром 25 мм по исполнению 3, то есть со сгоном и муфтой:

V1-25.Vcч.20-3.

Основные схемы устройства водомерных узлов

Горизонтальная установка счетчика. Исполнение 1

Рис. 1

1. Прибор учета расхода воды (счетчик), dy

2. Штуцера с накидными гайками - 2 шт. (входят в комплект поставки счетчика), dy

3. Устройство запорное, Dy

4. Устройство фильтрующее, Dy

5. Переход, Dy´dy

Примечания:

- данная конструкция водомерного узла применяется при условии, что штуцера с накидными гайками, входящие в комплект заводской поставки к счетчику, обеспечивают требования к длине прямых участков до и после счетчика;

- при совпадении диаметров условного прохода ввода Dy и счетчика dy переход, поз. 5, не устанавливается.

Основные схемы устройства водомерных узлов

Вертикальная установка счетчиков на восходящих и нисходящих потоках.

Исполнение 1

Рис. 2

1. Прибор учета расхода воды (счетчик), dy

2. Штуцера с накидными гайками - 2 шт. (входят в комплект поставки счетчика), dy

3. Устройство запорное, Dy

4. Устройство фильтрующее, Dy

5. Переход, Dy´dy

Примечания:

- данная конструкция водомерного узла применяется при условии, что штуцера с накидными гайками, входящие в комплект заводской поставки к счетчику, обеспечивают требования к длине прямых участков до и после счетчика;

- при совпадении диаметров условного прохода ввода Dy и счетчика dy переход, поз. 5, не устанавливается;

- возможность вертикальной установки счетчика должна быть специально оговорена в сопроводительной документации (паспорте) на счетчик.

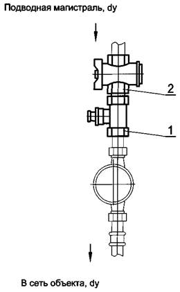
Основные схемы устройства водомерных узлов

Горизонтальная установка счетчика.

Исполнение 2

Рис. 3

1. Прибор учета расхода воды (счетчик), dy

2. Штуцер с накидной гайкой (входит в комплект поставки счетчика), dy

3. Устройство запорное, Dy

4. Устройство фильтрующее, Dy

5. Переход, Dy´dy

6. Удлиненный штуцер с накидной гайкой, dy

Примечания:

- размер Б - в соответствии с требованиями к длинам прямых участков до и после счетчика, указанных в паспорте на прибор. Данная конструкция водомерного узла применяется при условии, что штуцера с накидными гайками, входящие в комплект заводской поставки к счетчику, не обеспечивают требование к длине прямого участка до счетчика.

- при совпадении диаметров условного прохода ввода Dy и счетчика dy переход, поз. 5, не устанавливается.

Основные схемы устройства водомерных узлов

Вертикальная установка счетчиков на восходящих и нисходящих потоках.

Исполнение 2

Рис. 4

1. Прибор учета расхода воды (счетчик), dy

2. Штуцер с накидной гайкой (входит в комплект поставки счетчика), dy

3. Устройство запорное, Dy

4. Устройство фильтрующее, Dy

5. Переход, Dy´dy

6. Удлиненный штуцер с накидной гайкой, dy

Примечания:

- размер Б - в соответствии с требованиями к длинам прямых участков до и после счетчика, указанных в паспорте на прибор. Данная конструкция водомерного узла применяется при условии, что штуцера с накидными гайками, входящие в комплект заводской поставки к счетчику, не обеспечивают требование к длине прямого участка до счетчика.

- при совпадении диаметров условного прохода ввода Dy и счетчика dy переход, поз. 5, не устанавливается;

- возможность вертикальной установки счетчика должна быть специально оговорена в сопроводительной документации (паспорте) на счетчик.

Основные схемы устройства водомерных узлов

Горизонтальная установка счетчика.

Исполнение 3

Рис. 5

1. Прибор учета расхода воды (счетчик), dy

2. Штуцера с накидными гайками - 2 шт. (входят в комплект поставки счетчика), dy

3. Устройство запорное, Dy

4. Устройство фильтрующее, Dy

5. Переход, Dy´dy

6. Муфта соединительная, dy

7. Сгон, dy

Примечания:

- данная конструкция водомерного узла применяется при условии, что штуцера с накидными гайками, входящие в комплект заводской поставки к счетчику, не обеспечивают требование к длине прямого участка до счетчика;

- при совпадении диаметров условного прохода ввода Dy и счетчика dy переход, поз. 5, не устанавливается;

- диаметр условного прохода муфты, поз. 6, и сгона, поз. 7, должны соответствовать диаметру условного прохода счетчика, dy.

Основные схемы устройства водомерных узлов

Вертикальная установка счетчиков на восходящих и нисходящих потоках.

Исполнение 3

Рис. 6

1. Прибор учета расхода воды (счетчик), dy

2. Штуцера с накидными гайками - 2 шт. (входят в комплект поставки счетчика), dy

3. Устройство запорное, Dy

4. Устройство фильтрующее, Dy

5. Переход, Dy´dy

6. Муфта соединительная, dy

7. Сгон, dy

Примечания:

- данная конструкция водомерного узла применяется при условии, что штуцера с накидными гайками, входящие в комплект заводской поставки к счетчику, не обеспечивают требование к длине прямого участка до счетчика;

- при совпадении диаметров условного прохода ввода Dy и счетчика dy переход, поз. 5, не устанавливается;

- возможность вертикальной установки счетчика должна быть специально оговорена в сопроводительной документации (паспорте) на счетчик;

- диаметр условного прохода муфты, поз. 6, и сгона, поз. 7, должны соответствовать диаметру условного прохода счетчика, dy.

Варианты компоновки водомерных узлов

Рис. 7а

1. Устройство запорное, Dy

2. Устройство фильтрующее, Dy

3. Переход угловой, Dy´dy

Рис. 7б

1. Устройство запорное, Dy

2. Устройство фильтрующее, dy

3. Переход, Dy´dy

1. Устройство запорное, Dy

2. Устройство фильтрующее, Dy

3. Переход угловой, Dy´dy

Рис. 7в

Рис. 7г

1. Устройство запорное, Dy

2. Устройство фильтрующее, dy

3. Переход, Dy´dy

4. Уголок, dy´dy

Рис. 8а

1. Устройство запорное, Dy

Рис. 8б

1. Устройство запорное, Dy

2. Переход, Dy´dy

Рис. 9а

1. Устройство запорное, Dy

2. Тройник, dy

3. Переход, Dy´dy

4. Кран сливной, dy

Рис. 9б

1. Устройство запорное, Dy

2. Тройник, dy

3. Пробка сливная, dy

Рис. 12

1. Переход, Dy´dy

2. Регулятор давления, Dy

3. Кран-фильтр (КВФ), Dy

Рис. 13

1. Регулятор давления, dy

2. Кран-фильтр (КВФ), dy

Рис. 10

1. Переход, Dy´dy

2. Регулятор давления, dy

Рис. 11

1. Регулятор давления, Dy

2. Переход, Dy´dy

Пример схемы подключения к внутренней сети объекта

Вариант установки 3-х водомерных узлов

Согласовано:

Председатель ЖСК № 000 ______________ /Иванов И.И./

Рис. 12

Пример схемы подключения к внутренней сети объекта

Вариант установки 1-го водомерного узла

Согласовано:

Председатель ЖСК № 000 ______________ /Иванов И.И./

Рис. 13

ПРИЛОЖЕНИЕ

к альбому типовых конструкций ЦИРВ03А.00.00.00.

Установка водомерных узлов на различных типах трубопроводов

Основные методы монтажа

Водомерные узлы устанавливаются, как правило, либо на существующие магистрали, либо при врезке в стояк.

В настоящее время наиболее распространены следующие виды трубопроводов:

- стальные (газо-водопроводные, нержавеющие стали);

- медные;

- металлопластиковые;

- пластмассовые.

Соединение элементов трубопроводов между собой, а так же присоединение к ним различных приборов (в нашем случае - это водомерные узлы) осуществляется соединительными устройствами различной конструкции (фитингами).

1. Установка водомерных узлов на стальных трубопроводах.

Установка водомерных узлов производится на горизонтальные и вертикальные трубопроводы. Основным вариантом является присоединение к резьбовым частям трубопровода (см. рис. 14, 15). В случаях, когда нарезание резьбы на трубопроводе невозможно рекомендуется применять обжимные фитинги с резьбовым отводом (см. рис. 16, 17). Конструкция такого фитинга показана на рис. 16, вид А. В данном варианте уплотнение (кольцо резиновое, поз. 3) и крепление фитинга на трубопроводе (кольцо разрезное, поз. 2) осуществляется зажимом гайки накидной, поз. 1.

Основным способом присоединения водомерного узла к стояку является установка сваркой прямолинейных и криволинейных отводов с резьбовым концом (см. рис. 18, 19). При наличии составного стояка, соединенного резьбовыми тройниками рекомендуется присоединения, указанные на рис. 20, 21. В случае, если сварные работы на стояке производить затруднительно и отсутствуют соединительные резьбовые тройники возможно присоединение с использованием фитингов типа хомут (см. рис. 22, 23). Конструкция такого хомута представлена на рис. 22, вид А. Подобный способ присоединения используется и для других типов трубопроводов.

2. Установка водомерных узлов на медных трубопроводах.

Основным способом монтажа медных трубопроводов является пайка с предварительной развальцовкой концов труб, обеспечивающей их состыковку между собой. Различные варианты монтажа представлены на рис. 24 ... 28:

- трубы одинакового диаметра - рис. 24;

- трубы различного диаметра - рис. 25, 26;

- врезка в стояк, с предварительной отбортовкой отверстий, - рис. 27, 28.

Присоединение к водомерному узлу осуществляется, как правило, фитингами с резьбовым отводом. В настоящее время наиболее распространена конструкция фитинга без развальцовки конца трубы, изображенная на рис. 29. В данном варианте уплотнение и крепление фитинга осуществляются кольцом сферическим, поз. 2 по наружному диаметру трубопровода за счет зажима гайки накидной, поз. 1.

На рис. 30, 31 указаны схемы, где присоединение к штуцеру с резьбовым отводом осуществляется при предварительной развальцовке конца трубы. Причем вариант, указанный на рис. 31, предназначен, в основном, для систем с высоким давлением (до 6,3 МПа).

3. Установка водомерных узлов на металлопластиковых трубопроводах.

Для монтажа металлопластиковых трубопроводов используются в настоящее время два основных способа:

- напрессовка металлической гильзы (рис. 32);

- установка фитинга (рис. 33).

При напрессовке гильзы (рис. 32) предварительно производится развальцовка трубопровода, затем сборка со штуцером, поз. 1 и напрессовка металлической гильзы, поз. 2. Данное соединение является неразборным.

Второй вариант (установка фитинга, рис. 33) допускает многоразовый монтаж фитинга на трубопроводе, причем развальцовка конца трубы не требуется. В этом варианте уплотнение осуществляется резиновыми кольцами, поз. 3 по внутреннему диаметру трубы. Крепление фитинга - по наружному диаметру трубы разрезным кольцом, поз. 2 за счет зажима гайки накидной, поз. 1.

Следует отметить, что при обоих способах крепления происходит локальное заужение диаметра условного прохода трубопровода.

При присоединении водомерного узла к металлопластиковому стояку используется, как правило, обжимной хомут (рис. 22, вид А).

4. Установка водомерных узлов на пластмассовых трубопроводах.

При применении трубопроводов и арматуры из пластмассы необходимо учитывать следующие особенности:

- возможность их использования в системе хозяйственно-питьевого водопровода (наличие сертификата санитарно-гигиенической службы на использование данного типа пластмассы);

- срок службы пластмассовых трубопроводов существенно зависит от параметров окружающей среды, а именно: перепады температур воздуха, воздействие солнечных лучей, механические воздействия (вибрация) и т.д.;

- использование пластмассовых трубопроводов в открытом исполнении, например, внутренние водопроводные сети зданий, требует обязательного согласования с пожарной службой, поскольку трубопроводы из пластмассы, как правило, не термостойкие.

Монтаж пластмассовых трубопроводов производится несколькими способами, в зависимости от типа используемой пластмассы. В настоящее время используются следующие методы:

- склеивание;

- сварка;

- присоединение обжимными фитингами;

- раструбное соединение.

4.1. Монтаж пластмассовых трубопроводов путем склеивания.

Склеивание трубопроводов производится, как правило, с использованием соединительных муфт, прямых или переходных (рис. 34), тройников (рис. 35) и других соединительных элементов. В зависимости от поставленной задачи, а также, учитывая, что клееные соединения являются неразборными, подключение водомерных узлов осуществляется с использованием специальных фитингов, либо с накидной гайкой (рис. 36), либо с резьбовым отводом (рис. 37).

4.2. Монтаж пластмассовых трубопроводов путем сварки.

Сварка пластмассовых трубопроводов производится, как правило, в стык (рис. 38, 39). В некоторых случаях применяется сварка внахлест с использованием соединительных муфт или тройников (рис. 40, 41). Присоединение водомерных узлов осуществляется с использованием специальных фитингов с накидными гайками или с резьбовыми отводами, аналогично клееным соединениям (рис. 36, 37).

4.3. Монтаж пластмассовых трубопроводов на обжимных фитингах.

Некоторые типы пластмассовых трубопроводов не допускают склеивание или сварку. Для их монтажа используются обжимные фитинги, как например: муфты с резьбовым отводом, муфты соединительные, тройники и т.п. (см. рис. 45, 46, 47). Часто этот способ крепления используется при необходимости состыковки различных типов трубопроводов, например: сталь - пластмасса, металлопластик - пластмасса и т.п.

4.4. Монтаж пластмассовых трубопроводов на раструбных соединениях.

В последнее время получил широкое распространение метод монтажа напорных водопроводных систем с применением раструбных соединений (см. рис. 48, 49, 50). Как правило, монтаж подобных систем используется для диаметров трубопроводов от 50 мм и более. Для исключения самопроизвольного разъема соединений используются различного типа стяжки или фиксаторы муфт.

1. Установка водомерных узлов на стальных трубопроводах.

Рис. 14

1 - резьбовые части трубопроводов

Рис. 15

Рис. 16

1 - трубопровод - гладкий конец

2 - муфта обжимная

1 - гайка накидная

2 - уплотнение

3 - кольцо разрезное

4 - шайба

5 - штуцер

Рис. 17

Рис. 18

1 - стояк стальной, Dy

2 - прямолинейный отвод с резьбовым концом

3 - криволинейный отвод с резьбовым концом

Рис. 19

Рис. 20

1 - стояк стальной, Dy

2 - тройник резьбовой, Dy´dy

3 - ниппель резьбовой, dy

4 - угольник резьбовой, dy

Рис. 21

Рис. 22

1 - стояк стальной, Dy

2 - хомут с резьбовым отводом, dy

3 - ниппель резьбовой, dy

4 - угольник резьбовой, dy

Рис. 23

1 - полумуфта с резьбовым отводом (передняя)

2 - полумуфта (задняя)

Примечание:

- при необходимости между передней полумуфтой и стояком устанавливается уплотняющая прокладка;

2. Установка водомерных узлов на медных трубопроводах.

Соединение пайкой

1 - трубопровод, Dy (без развальцовки)

2 - трубопровод, Dy (с развальцовкой)

Рис. 24

1 - трубопровод, dy (с развальцовкой)

2 - трубопровод, Dy (с развальцовкой)

Рис. 25

1 - трубопровод, dy (без развальцовки)

2 - трубопровод, Dy (с развальцовкой)

Рис. 26

1 - трубопровод, Dy (с отбортовкой отверстия)

2 - трубопровод, dy (без развальцовки)

Рис. 27

1 - трубопровод, Dy (с отбортовкой отверстия)

2 - трубопровод, dy (с развальцовкой)

Рис. 28

1 - гайка накидная

2 - кольцо сферическое

3 - штуцер

Рис. 29

1 - гайка накидная

2 - прокладка

3 - штуцер

4 - шайба

Рис. 30

1 - гайка накидная

2 - ниппель

3 - штуцер

Рис. 31

3. Установка водомерных узлов на металлопластиковых трубопроводах.

Рис. 32

1 - гайка накидная

2 - кольцо разрезное

3 - кольцо резиновое, (2 шт.)

4 - кольцо фторопластовое

5 - штуцер

Рис. 33

4.1. Установка водомерных узлов на пластмассовых трубопроводах.

Соединение склеиванием

1 - трубопровод, Dy

2 - трубопровод, dy

3 - муфта прямая, Dy

4 - муфта переходная, Dy´dy

Рис. 34

1 - трубопровод, Dy

2 - трубопровод,dy

3 - тройник, Dy´dy

Рис. 35

1 - прокладка

2 - запрессованный ниппель

3 - гайка накидная

4 - переход

Рис. 36

1 - запрессованный штуцер

Рис. 37

4.2. Установка водомерных узлов на пластмассовых трубопроводах.

Соединение сваркой

1 - трубопровод, Dy

2 - трубопровод,dy

4 - переход, Dy´dy

Рис. 38

1 - сегменты трубопроводов, Dy

Рис. 39

1, 2, 3 - части трубопроводов с разделкой

Рис. 40

Рис. 41

1 - трубопровод, Dy

2 - трубопровод, dy

3 - муфта прямая, Dy

4 - муфта переходная, Dy´dy

Рис. 43

1 - трубопровод, Dy

2 - трубопровод, dy

3 - тройник, Dy´dy

Рис. 44

4.3. Установка водомерных узлов на пластмассовых трубопроводах.

Соединение обжимными фитингами

1 - гайка накидная

2 - уплотнение

3 - кольцо разрезное

4 - шайба

5 - корпус

6 - запрессованный штуцер

Рис. 45

1 - гайка накидная

2 - уплотнение

3 - кольцо разрезное

4 - шайба

5 - штуцер

Рис. 46

1 - гайка накидная, Dy

2 - уплотнение, Dy

3 - кольцо разрезное, Dy

4 - шайба, Dy

5 - тройник, Dy´dy

6 - гайка накидная, dy

7 - уплотнение, dy

8 - кольцо разрезное, dy

9 - шайба, dy

Рис. 47

4.4. Установка водомерных узлов на пластмассовых трубопроводах.

Соединение раструбное

1 - втулка раструбная

2 - манжета уплотнительная

3 - запрессованный штуцер

Рис. 48

1 - втулка раструб - фланец

2 - манжета уплотнительная

Рис. 49

1 - тройник - раструб - раструб - резьба

2 - манжета уплотнительная

3 - запрессованный штуцер

Рис. 50

«УТВЕРЖДАЮ»

Заместитель директора ЦМ

ГУП «Водоканал С-Петербурга»

___________ /Ермаков А.Н./

«___» ___________ 2002 г.

ТЕХНИЧЕСКИЕ ТРЕБОВАНИЯ К ОБОРУДОВАНИЮ ВОДОМЕРНЫХ УЗЛОВ, РАСПОЛОЖЕННЫХ НА ВНУТРЕННИХ СЕТЯХ ОБЪЕКТОВ

1. Назначение.

1.1. Водомерные узлы предназначены для измерения объемов потребления воды питьевого качества. Технические требования распространяются на оборудование водомерных узлов с тахометрическими (механическими) счетчиками, устанавливаемых на магистралях внутренних водопроводных сетей объектов.

1.2. Для диаметров магистралей от 15 ... 40 мм рекомендуется устройство водомерных узлов согласно альбома типовых конструкций ЦИРВ03А.

1.3. Для диаметров от 50 мм и выше - согласно альбома типовых конструкций ЦИРВ02А.

2. Требования к конструкции водомерных узлов.

2.1. Необходимость установки приборов учета воды определяются «Правилами пользования системами коммунального водоснабжения и канализации в Российской Федерации» от «12» февраля 1999 г.

2.2. Диаметры счетчиков, конструкции водомерных узлов должны соответствовать требованиям СНиП 2.04.01.86* «Внутренний водопровод и канализация зданий», издание 2000 г.

2.3. Конструкция водомерного узла должна обеспечивать выполнение требований по установке конкретного типа счетчика, изложенного в сопроводительном документе (паспорт) на прибор, а именно:

- совпадение направления потока воды и стрелки на корпусе счетчика;

- наличие запорной арматуры перед счетчиком;

- наличие требуемой длины прямолинейных участков до и после счетчика, соответствующих диаметру условного прохода счетчика;

- возможность ориентации счетчика (горизонтально, вертикально) и др.

3. Состав водомерных узлов.

3.1. В состав водомерных узлов входят:

- средства измерения питьевой воды (счетчики);

- запорная арматура (вентили, задвижки, шаровые краны, затворы и др.);

- водопроводная арматура (уголки, сгоны, тройники, муфты, ниппели и др.);

- фильтрующие устройства;

- клапан обратный (в случае необходимости);

- регулятор давления (в случае необходимости).

4. Требования к установке водомерных узлов.

4.1. Количество и диаметры условного прохода счетчиков, устанавливаемых на объекте, согласовываются с представителями служб водопроводно-канализационного хозяйства (ВКХ) при наличии с этим предприятием договора на водопользование. В остальных случаях - с балансодержателем водопроводных сетей (для ЖСК, ЖК, ТСЖ, кондоминиумов и т.д.) или представителями жилищно-эксплуатационной службы (ЖЭС), обслуживающей водопроводные сети (для муниципальных жилых объектов).

4.2. Водомерный узел необходимо устанавливать в легкодоступном месте, обеспечивающем беспрепятственный доступ на него представителей служб ВКХ, балансодержателя водопроводных сетей и представителей ЖЭС.

4.3. Расположение водомерного узла должно обеспечивать возможность его технического обслуживания (съем счетчика, ремонт).

4.4. Все санитарно-технические приборы объекта должны быть подключены через водомерный узел (узлы). При устройстве водомерного узла с обводной линией установка счетчика на пожарно-резервной линии обязательна. Допускается не устанавливать счетчики только на специализированные противопожарные сети, не соединенные с системой хозяйственно-питьевого водопровода.

4.5. Местоположение водомерных узлов, их количество на объекте определяется водопотребителем и в обязательном порядке согласовывается с балансодержателем водопроводных сетей объекта или представителем ЖЭС для исключения безучетного водопотребления, помимо счетчика. Использование одного или нескольких санитарно-технических приборов, подключенных в обход счетчика, не допускается.

4.6. В качестве подвода к водомерному узлу и отвода от него допускается использовать стальные газо-водопроводные трубы, а так же трубы из металлопластика, пластмассы, нержавеющих сталей, цветных металлов и др. В качестве отвода от водомерного узла допускается применять гибкие шланги. Использовать гибкие шлаги в качестве подвода к водомерному узлу не рекомендуется. Обязательным условием является допустимость использования труб и шлангов в системе хозяйственно-питьевого водопровода.

4.7. Рекомендуется устанавливать водомерный узел непосредственно на подводящую магистраль на объект, сразу за запорным устройством.

4.8. При приемке водомерного узла производится опломбирование счетчика представителями ВКХ или балансодержателем водопроводных сетей объекта или представителем ЖЭС. Опломбирование следует производить таким образом, чтобы исключить возможность несанкционированного съема счетчика.

Наиболее оптимальным является опломбирование корпуса счетчика и подводящей магистрали на объект, перед запорным устройством до счетчика. В случае если подвод к счетчику осуществляется последовательно несколькими элементами, необходимо опломбировать все точки соединения элементов от счетчика до подводной магистрали на объект. Рекомендуется также пломбировать «сливную» гайку (винт) на устройстве фильтрующем если через нее возможен несанкционированный (помимо счетчика) забор воды.

4.9. Установка и эксплуатация водомерных узлов, порядок расчета за потребляемую воду в квартирах жилых зданий регламентируется следующими документами:

- распоряжение губернатора Санкт-Петербурга от «17» сентября 1996 г. за № 217-Р «Об установке приборов учета во вновь строящихся и реконструируемых зданиях»;

- распоряжение губернатора Санкт-Петербурга от «06» ноября 1997 г. за № 1139-Р «Об установке приборов учета расхода энергоресурсов в эксплуатируемых жилых зданиях»;

- приказ комитета по содержанию жилищного фонда администрации Санкт-Петербурга» от «11» июля 1998 г. за № 77 «Об утверждении Временного Положения о порядке расчетов населения за потребленные энергоресурсы по показаниям квартирных приборов учета».

5. Требования к эксплуатации водомерных узлов.

5.1. Условия эксплуатации счетчиков в водомерных узлах в должны соответствовать требованиями сопроводительной документации на счетчик. При использовании крыльчатых счетчиков рекомендуется отдавать предпочтение «сухоходам» (счетный механизм отделен от воды водонепроницаемой перегородкой) перед «мокроходами» (счетный механизм находится в постоянном контакте с водой), для более удобной и длительной эксплуатации счетчика.

5.2. Точность учета расхода воды зависит от класса счетчика. Рекомендуется использовать счетчики повышенного класса точности В или С (в отличии от класса А). Класс точности счетчика должен быть указан в сопроводительной документации на него.

5.3. Все счетчики должны обязательно иметь четкую и несмываемую маркировку, содержащую информацию указанную на корпусе или маркировочной пластине:

- название или торговый знак изготовителя;

- метрологический класс, номинальный расход, в м3/час;

- год выпуска и серийный номер;

- стрелку, указывающую направление потока;

- максимальное рабочее давление в барах, если оно превышает 10 бар;

- буквенное обозначение возможности ориентации счетчика - Н, V, соответственно, горизонтальная и вертикальная установка счетчика.

5.3. К эксплуатации допускается счетчик, включенный в государственный реестр и поверенный органами Госстандарта. На механизме счетчика должна быть установлена пломба государственного поверителя.

5.4. Срок эксплуатации счетчика не должен превышать предельно допустимого для данного типа прибора.

5.5. Течи стыков элементов водомерного узла не допускаются.

6. Требования к стандартизации и унификации.

6.1. Рекомендуется комплектовать водомерный узел из стандартных элементов (уголки, сгоны, муфты, тройники и т.д.) для обеспечения их взаимозаменяемости.

7. Требования безопасности.

7.1. Не допускается устанавливать водомерный узел на корродированных и ветхих магистралях.

7.2. При использовании в качестве запорной арматуры перед счетчиком шаровых кранов, затворов поворотных и других устройств, не обеспечивающих регулирование потока, открытие их производить плавно, для избежания гидроудара и поломки счетчика или установить перед счетчиком демпфирующее устройство, например регулятор давления.

7.3. Арматура, используемая в водомерном узле, должна быть разрешена к применению в системе хозяйственно-питьевого водопровода.

8. Требования к антикоррозионной защите.

8.1. В случае использования в водомерном узле элементов из черных металлов они должны быть защищены от коррозии лакокрасочным покрытием. Следы коррозии на водомерном узле не допускаются.

9. Требования к помещению водомерного узла.

9.1. Помещение водомерного узла должно соответствовать п. 39 «Правил пользования системами коммунального водоснабжения и канализации в Российской Федерации» 1999 г.

9.2. Температура воздуха в помещении водомерного узла не должна опускаться ниже 5 °С.

9.3. В помещении не должны храниться посторонние предметы, препятствующие доступу к водомерному узлу.

9.4. Помещение должно иметь запирающуюся дверь, а в случае ее отсутствия должны быть приняты меры по обеспечению сохранности водомерного узла (например, установка короба, препятствующего несанкционированному доступу к счетчику).

9.5. В помещении водомерного узла желательно иметь двухполюсную розетку электропитания 220 В переменного тока для подключения контрольно-измерительных приборов.

10. Особые требования.

10.1. При наличии системы внутреннего пожаротушения с расходами воды, превышающими пропускную способность счетчика (с учетом хозяйственно-питьевых нужд) водомерный узел должен быть оборудован пожарно-резервной линией, на которую устанавливается задвижка с электроприводом для дистанционного открытия пожарно-резервной линии.

10.2. Замена задвижки с электроприводом на пожарно-резервной линии на задвижку с ручным приводом допускается только с письменного разрешения районного отряда пожарной охраны.

Главный метролог ЦМ ________________ /Зайцев А. П./

Начальник РТС ЦМ ________________ /Тютрин А. В./

Начальник РО РТС ________________ /Низамова С. В./