МИНИСТЕРСТВО СЕЛЬСКОГО ХОЗЯЙСТВА СССР

ГЛАВНОЕ УПРАВЛЕНИЕ МЕХАНИЗАЦИИ
И ЭЛЕКТРИФИКАЦИИ СЕЛЬСКОГО ХОЗЯЙСТВА

ВСЕСОЮЗНЫЙ НАУЧНО-ИССЛЕДОВАТЕЛЬСКИЙ ИНСТИТУТ
ЭЛЕКТРИФИКАЦИИ СЕЛЬСКОГО ХОЗЯЙСТВА

 

РЕКОМЕНДАЦИИ
ПО ИНФРАКРАСНОМУ ОБОГРЕВУ
МОЛОДНЯКА
СЕЛЬСКОХОЗЯЙСТВЕННЫХ
ЖИВОТНЫХ И ПТИЦЫ

 

 

МОСКВА «КОЛОС» 1979

 

Рекомендации разработаны Всесоюзным научно-исследовательским институтом электрификации сельского хозяйства с использованием материалов научно-исследовательских институтов: Харьковского института механизации и электрификации сельского хозяйства, Всесоюзного научно-исследовательского и технологического института птицеводства, Ленинградского зооветинститута, Латвийской ордена Трудового Красного Знамени сельскохозяйственной академии, Харьковского зооветеринарного института, Тульского педагогического института, Львовского института физиологии и биохимии сельскохозяйственных животных, Львовского зооветеринарного института, Латвийского научно-исследовательского института животноводства, а также опыта работы совхоза «Пушной» Тульской области.

Одобрены Научно-техническим советом и Главным управлением механизации и электрификации сельского хозяйства МСХ СССР.

Предназначены для проектных, конструкторских, монтажных организаций и специалистов сельского хозяйства: инженеров-электриков, зоотехников, ветеринарных врачей и других специалистов, занимающихся эксплуатацией инфракрасных облучательных установок для молодняка сельскохозяйственных животных, птицы и пушных зверей.

1. ПРЕДИСЛОВИЕ

Важнейшее звено промышленной технологии содержания животных - процесс выращивания и сохранения здорового молодняка. Для этих целей наукой разработаны технические средства, основанные на использовании оптического излучения. Опыт применения в практике сельского хозяйства показал высокую эффективность и перспективность использования инфракрасного (ИК) излучения для локального обогрева молодняка животных и птицы в начальный период выращивания; при этом повышаются сохранение и продуктивность молодняка, значительно улучшаются условия труда обслуживающего персонала.

В рекомендациях рассматриваются основные положения, связанные с применением отдельных облучателей и установок для ИК обогрева молодняка, а также даны указания по монтажу и эксплуатации этих установок.

2. БИОЛОГИЧЕСКОЕ ДЕЙСТВИЕ ИНФРАКРАСНОГО ИЗЛУЧЕНИЯ НА МОЛОДНЯК

Большая часть территории нашей страны характеризуется холодным осенне-зимним периодом, который (в зависимости от зоны) длится 5 ... 8 месяцев и считается наиболее трудным для содержания сельскохозяйственных животных. Особенно необходимо тепло в этот период молодняку, у которого в первые дни жизни механизмы терморегуляции несовершенны. Поросята, например, рождаются без волосяного покрова и подкожного жира; через 30 мин после рождения температура их тела понижается на 2 ... 3 °С.

Молодняку крупного рогатого скота в начальный период выращивания, особенно в период новорожденности, также требуется повышенный тепловой режим.

Физическая терморегуляция у новорожденных ягнят вступает в действие только через 10... 15 дней после рождения, а при содержании в сырых и холодных помещениях даже позднее.

У только что вылупившегося цыпленка наблюдаются колебания температуры тела при изменении температуры воздуха всего на 0,03 °C, а при снижении ее до 14 ... 15 °C температура тела резко понижается. С возрастом устойчивость к колебаниям окружающей температуры повышается, а к двум неделям температура тела цыплят достигает постоянного уровня, характерного для взрослой птицы.

Низкая температура и высокая влажность воздуха в помещении неблагоприятно отражаются на росте и развитии молодняка, приводят к нарушению обмена веществ, возникновению простудных заболеваний, расстройству пищеварения и даже гибели.

Необходимый температурный режим при выращивании молодняка может быть обеспечен общим обогревом помещения или комбинированной системой общего и локального обогрева. Более целесообразно применение комбинированной системы, позволяющей создавать повышенную температуру только в небольшой ограниченной зоне нахождения молодняка в первый период выращивания.

Для местного обогрева используют различные нагревательные установки - обогреваемые полы, коврики, панели и др. Широкое применение в практике сельского хозяйства получил инфракрасный обогрев молодняка, обладающий благотворным биологическим действием на организм животных.

При падении потока излучения на поверхность тела животного часть излучения отражается, остальное поглощается в коже или подкожной ткани, вызывая их нагрев. Тепловое действие инфракрасного излучения основано на том, что при его поглощении в тканях происходит переполнение кровеносных сосудов кровью, нормализуется обмен веществ.

Степень проникновения ИК излучения через кожу зависит от ее состояния (влажности, наличия шерстного или пухо-перьевого покрова, пигментации). Поглощение ИК излучения кожным покровом - весьма сложный биологический процесс, в котором принимает участие весь организм животного с его терморегуляторным аппаратом. Проникая в кожу и подкожные ткани, излучение вызывает общую реакцию организма, которая возникает рефлекторно через тепловые рецепторы. Действуя через кожу на нервную систему, а через нее на внутренние органы, ИК излучение улучшает функции желез, кровоснабжение тканей и органов.

Вследствие неодинаковой глубины проникновения механизм действия длинноволнового (с длиной волны более 1500 нм*) и коротковолнового (750 ... 1500 нм) излучения различен: длинноволновое излучение поглощается поверхностными слоями кожи и вызывает их покраснение, а коротковолновое проникает на глубину до 7 ... 8 см и прогревает глубоколежащие ткани. Благодаря этому создается надежный барьер на пути проникновения холода в организм животного, предупреждается его переохлаждение. ИК излучение, проникая в глубоколежащие слои кожи и подкожной клетчатки, посредством реакций кожи и нервной системы улучшает функции желез и общий обмен веществ.

* нм - нанометр; 1 нм = 10-9 м.

Установлено, что после воздействия ИК излучения на кожу и глубоколежащие ткани в организме животных происходит активация кроветворных органов, в крови увеличивается количество эритроцитов, лейкоцитов, содержание гемоглобина, а также появляются активные продукты распада белков.

Исследования показали, что ИК облучение оказывает положительное влияние на резистентность животных. При облучении в оптимальных режимах в организме увеличивается количество лизоцима, повышается фагоцитарная активность лейкоцитов, их агрессивность, титр нормальных агглютининов, что приводит к активации физиологических отправлений и повышению естественной резистентности организма.

При прерывистом режиме работы ИК излучателей попеременное воздействие высоких и низких температур на животных подвергает их сосудистую систему своеобразной тренировке, происходит закаливание организма.

Таким образом, ИК облучение, в отличие от других средств местного обогрева, не только предохраняет животных от переохлаждения, но и усиливает биологические процессы в их организме, способствует повышению тонуса и естественных защитных сил, положительно сказывается на состоянии, развитии, приросте, а также нa сохранении молодняка.

Специфичность воздействия позволяет также использовать ИК облучение в лечебных целях. В основе терапевтического действия коротковолнового излучения лежит способность вызывать активную гиперемию (тепловую эритему), что улучшает питание тканей, ускоряет рассасывание патологических продуктов. Этим обусловлено применение ИК излучения для лечения различных воспалительных процессов. В подострых и хронических стадиях воспаления при воздействии ИК излучения в гиперемированной области сосредоточивается большое количество ферментных элементов крови, что увеличивает образование продуктов окисления и повышает обмен в тканях. Благодаря этим же процессам усиливается питание поврежденных тканей, регенерация клеток, в результате ускоряется заживление ран, язв и т.д. ИК облучение усиливает испарение влаги, чем объясняется его высушивающее действие, которое используется при лечении мокнущих экзем, дерматитов, ожогов.

Особенно перспективно использование инфракрасного обогрева в комплексе с ультрафиолетовым (УФ) облучением. Исследования показали, что ИК обогрев улучшает условия УФ облучения и такое совместное воздействие позволяет значительно повысить эффективность облучения.

3. ТЕХНИЧЕСКИЕ СРЕДСТВА ИНФРАКРАСНОГО ОБОГРЕВА МОЛОДНЯКА

3.1. Источники инфракрасного излучения

В зависимости от спектрального состава источники ИК излучения делятся на «светлые» и «темные». Преимущественное применение в животноводстве для обогрева молодняка нашли «светлые» источники излучения - лампы накаливания, работающие при пониженной по сравнению с обычными осветительными лампами температуре нити накала (Т = 2000 ... 2500 К). Источником ИК излучения в лампах служит спираль из вольфрамовой проволоки, помещенная в стеклянную грушевидную колбу.

Диапазон излучения «светлых» источников лежит в основном в ИК области спектра с максимумом 1100 ... 1150 нм (рис. 1). Некоторая часть излучения приходится на видимую область спектра, поэтому ИК лампы получили название «светлых» источников.

Внутренняя часть колбы лампы, прилегающая к цоколю, покрыта зеркальным слоем, образованным испарением алюминия в вакууме или серебрением. Такое зеркало в ИК области спектра имеет коэффициент отражения около 0,9.

Важное преимущество «светлых» источников - их быстродействие. В отличие от других средств местного обогрева (электрообогреваемых полов, ковриков), которые характеризуются значительной тепловой инерцией, требуемый температурный режим в зоне обогрева ИК ламп создается практически сразу после их включения, так как вольфрамовая нить нагревается до рабочей температуры в течение десятых долей секунды.

Рис. 1. Относительное распределение спектральной интенсивности излучения инфракрасных ламп:

а - ИКЗК 220-250; б - ИКЗ 220-800; в - КГ 220-1000.

Отечественной промышленностью выпускаются специальные электрические инфракрасные зеркальные лампы ИКЗК 220-250, ИКЗ 220-500 (ГОСТ 13874-76), ИКЗ 220-500-1, имеющие уменьшенные габаритные размеры - такие же, как у ИК ламп мощностью 250 Вт.

Нижняя часть колбы ламп ИКЗК 220-250 покрыта красным термостойким лаком. Применение цветного лака и стекла вызвано необходимостью уменьшить долю видимого излучения в общем потоке лампы.

Распределение потока излучения и КПД зеркальных ламп практически постоянны в процессе эксплуатации, так как внутренний зеркальный слой не подвергается атмосферному воздействию.

Инфракрасная кварцевая галогенная лампа с йодным циклом КГ 220-1000 (ТУ 16-535.354-70) представляет собой цилиндрическую колбу диаметром 10 мм, изготовленную из кварцевого стекла, хорошо пропускающего ИК излучение. Тело накала выполнено в виде моноспирали, смонтированной по оси трубки на вольфрамовых поддержках. Лампы КГ 220-1000 могут работать только в горизонтальном положении (угол допустимого отклонения составляет 4°).

Технические характеристики ИК ламп приведены в таблице 1.

«Темные» источники ИК излучения генерируют в длинноволновой области ИК спектра (более 2500 нм). Чем выше температура излучающей поверхности, тем короче длина волны максимального излучения. Существуют различные конструкции «темных» источников излучения. Наиболее распространены ТЭНы - металлические трубки, внутри которых помещена запрессованная в огнестойкую изоляционную массу спираль. Температура излучающей поверхности ТЭНа порядка 450 К, длина волны максимума излучения - 4000 ... 5000 нм. ТЭНы находят применение в брудерах для обогрева молодняка птицы.

Таблица 1. Технические характеристики электрических источников ИК излучения

Тип источники

Цвет колбы

Мощность, Вт

Напряжение питания, В

Габаритные размеры (длина и высота), мм

Длина волны максимума излучения, нм

Доля ИК излучения от общей мощности, %

Срок службы, ч

«Светлые» источники излучения

ИКЗК 220-250

Красный

250

220

130´185

1100

70

6000

ИКЗС 220-250

Синий

250

220

130´185

1100

70

6000

ИКЗ 220-500

Прозрачный

500

220

180´267

1150

80

6000

ИКЗ 220-500-1

То же

500

220

130´185

1150

80

6000

КГ 220-1000

» »

1000

220

12´375

1100

80

5000

ПС-70/Е-11010-375

» »

375

220

 

 

80

 

«Темные» источники излучения

ТЭН

-

400 ... 800

220

 

4000 ... 5000

30

10000

3.2. Облучатели с источниками ИК излучения и комбинированные облучательные установки

Для защиты источников ИК излучения от механических повреждений и капель воды, а в некоторых случаях и для перераспределения потока излучения в пространстве применяют специальные арматуры. Источник излучения вместе с арматурой называется облучателем.

Облучатель ССПО1-250 (рис. 2) состоит из пластмассового корпуса и эмалированного защитного кожуха. Внутри корпуса помещается фарфоровый патрон Е27. Облучатель покрыт силикатной эмалью, которая легко очищается от загрязнения. Снизу предусмотрена сетка, предохраняющая ИК лампу от механических повреждений.

На корпусе облучателя имеется закрывающееся пластмассовым щитком отверстие, где расположены клеммные колодки. Клеммная колодка допускает подсоединение как медных, так и алюминиевых проводов или кабеля с площадью сечения до 4 мм2.

Облучатель предназначен для ламп мощностью 250 Вт.

Облучатели ОРИ-1, ОРИ-2 (рис. 3) представляют собой конический корпус из листовой стали. Сверху облучателя под пластмассовым колпаком расположен фарфоровый патрон Е40. Облучатель ОРИ-1 выпускается с лампой мощностью 500 Вт, ОРИ-2 предназначен для ИК ламп ПС-70/Е-11010-375, выпускаемых в Польской Народной Республике фирмой «Унитра».

Рис. 2. Инфракрасный облучатель ССПО1-250.

Рис. 3. Инфракрасный облучатель ОРИ-1 (ОРИ-2).

Для малогабаритных ИК ламп мощностью 500 Вт серийно выпускается облучатель ОВИ-1 (рис. 4).

В Латвии разработан и серийно выпускается подвесной облучатель «Латвико» с лампой КГ 220-1000 (рис. 5). Корпус облучателя коробчатой формы, изготовлен из оцинкованной жести. Внутри корпуса расположена лампа с отражателем, защищенная снизу металлической сеткой. Облучатель крепится к натянутому тросу проволокой за проушины корпуса.

Рис. 4. Инфракрасный облучатель ОВИ-1:

1 - лампа ИКЗ 220-600; 2 - патрон Е40; 3 - защитная сетка; 4 - корпус.

Рис. 5. Инфракрасный облучатель «Латвико».

Технические характеристики ИК облучателей приведены в таблице 2.

Таблица 2. Технические характеристики ИК облучателей и облучательных установок

Тип облучателя, установки

Тип лампы

Мощность, Вт

Габаритные размеры, мм

Масса, кг

Тип цоколя

Облучатели

ССПО1-250

ИКЗК 220-250

250

330´390

2,4

Е27

ОРИ-1

ИКЗ 220-500

500

340´245

1,5

Е40

ОРИ-2

ПС-70/Е-11010-375

375

405´275

2,0

Е40

ОВИ-1

ИКЗ 220-500-1

500

320´185

1,5

Е40

«Латвико»

КГ 220-1000

1000

400´250´220

2,5

Специальный

Установки

ИКУФ-1

ИКЗК 220-250,

520

270´200´900

5,1

Е27, специальный

ЛЭ-15

(ЛЭО-15)

ИКУФ-1М

ИКЗК 220-250,

520

300´200´800

6,5

Е27, специальный

ЛЭ-15

(ЛЭО-15)

«Луч»

ИКЗК 220-250,

520

520´400´245

5,9

Е27, специальный

ЛЭ-15

(ЛЭО-15)

Примечание. Заявки на ИК облучатели необходимо направлять в областные конторы Зооветснаба или в местные отделения Госкомсельхозтехники.

Стационарные автоматизированные установки типа ИКУФ, «Луч» предназначены для одновременного ИК обогрева и УФ облучения молодняка сельскохозяйственных животных и птицы. Установки включают, как правило, 40 облучателей и пульт управления. Каждый облучатель содержит две ИК лампы и одну ультрафиолетовую (эритемную) типа ЛЭ-15 или эритемно-осветительную типа ЛЭО-15 (табл. 2). Лампы ЛЭ-15 и ЛЭО-15 одинаковы по конструктивному выполнению, габаритным размерам, мощности и отличаются лишь спектральным составом излучения: поток излучения лампы ЛЭ-15 целиком лежит в УФ области спектра, а ЛЭО-15 включает видимый участок, и поток УФ излучения этой лампы примерно в три раза меньше потока излучения лампы ЛЭ-15.

Технические характеристики этих ламп приведены в таблице 3.

Облучатели установок ИКУФ-1, ИКУФ-1М аналогичны по конструктивному выполнению (рис. 6). Отличие заключается в том, что в установке ИКУФ-1М исполнение облучателя герметичное, и на нем нет переключателей, предназначенных для индивидуального управления ИК обогревом и УФ облучением молодняка. Каждый переключатель имеет три положения: нейтральное, верхнее и нижнее. Режим работы ламп в зависимости от положения переключателей приведен в инструкции к установке ИКУФ-1.

Рис. 6. Облучатель установки ИКУФ-1:

1 - корпус; 2 - дужка для подвеса; 3 - пускорегулирующее устройство УФ Лампы; 4 - переключатели; 5 - соединительный провод со штепсельным разъемом; 6 - ИК лампа; 7 - УФ лампа; 8 - защитная сетка.

Таблица 3. Технические характеристики ламп ЛЭ-15 и ЛЭО-15

Тип лампы

Мощность, Вт

Напряжение, В

Габаритные размеры (диаметр´длина), мм

Эритемный поток, мэр

Видимый поток, лм

Срок службы, ч

ЛЭ-15

15

127

30´452,4

300

40

3000

ЛЭО-15

15

127

30´452,4

110

650

5000

К сети облучатели подключают трехпроводным шнуром. Подвешивают их над зоной молодняка на тросе или подвесках из стальной проволоки за специальные дужки.

Пульт управления установки типа ИКУФ предназначен для включения группы из сорока облучателей. Его корпус изготовлен в виде прямоугольной металлической коробки. Внутри смонтированы трансформатор 220/127 В, автоматические выключатели, магнитные пускатели и реле времени 2РВМ.

На передней панели пульта управления расположены переключатель рода работ, кнопки включения и отключения ламп, сигнальные лампы.

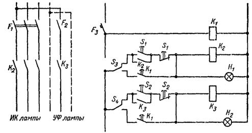
Электрическая схема управления ИК и УФ лампами (рис. 7) предусматривает два режима работы: автоматический и с ручным управлением. При автоматическом режиме тумблеры S3 и S4 устанавливают в положение А. Системы управления при помощи реле времени 2РВМ обеспечивают работу ИК и УФ ламп по заданной суточной программе, определяющей длительность пауз и включений ламп в соответствии с биологическими ритмами жизни животных (кормление, отдых). При подаче в схему управления напряжения автоматом F3 через замыкающие контакты реле времени срабатывают магнитные пускатели K2 и K3, которые включают ИК и УФ лампы. Согласно каждой из двух программ реле времени (отдельно для ИК обогрева и УФ облучения) через определенное время контакты реле времени размыкаются и наступает пауза ИК обогрева или УФ облучения.

Рис. 7. Электрическая схема управления ИК и УФ лампами в установке ИКУФ-1.

Рис. 8. Структурная электрическая схема установки «Луч».

При ручном управлении тумблеры S3 и S4 устанавливают в положение Р, а лампы включают и отключают кнопками S1 и S2. Для защиты оборудования и электрической сети от коротких замыканий предусмотрены автоматические выключатели F1, F2, F3.

Структурная электрическая схема установки «Луч» приведена на рисунке 8.

4. РЕКОМЕНДАЦИИ ПО ИНФРАКРАСНОМУ ОБОГРЕВУ МОЛОДНЯКА

4.1. Обогрев поросят

При опоросах в холодное время года необходимо в свинарниках-маточниках создавать два раздельных температурно-влажностных режима: один для подсосных маток, другой для поросят-сосунов. Для маток должна поддерживаться температура воздуха не более 18 ... 20 °C. При температуре выше 20 °C у них снижается обмен веществ, уменьшается молочность, появляются вялость, учащенное дыхание, плохой аппетит.

Поросята рождаются без волосяного покрова и подкожного жира и в первые дни жизни крайне чувствительны к воздействиям холода, сквозняков, сырости, повышенному содержанию в воздухе аммиака.

Температура в зоне нахождения поросят-сосунов должна быть 30 °C и снижаться к отъему в 26 дней - до 24 °C, к концу первого месяца - 23 °C, 1,5 месяцам - 22 °C и в двухмесячном возрасте до 21 °C. При более низких температурах поросята большую часть времени проводят около матки, часто задавливаются ею, нерегулярно сосут, отстают в росте, у них наблюдается ряд отклонений в физиологии развития.

Раздельный температурно-влажностный режим для маток и молодняка может быть обеспечен созданием для поросят локальных зон инфракрасного обогрева.

Поросят в подсосный период следует обогревать в зоне их отдыха. Бетонные неутепленные полы устилают опилками или соломой слоем до 5 см. На деревянных полах без щелей, а также на утепленных бетонных полах подстилку можно не применять.

Наиболее благоприятные условия для выращивания поросят позволяют создавать комбинированный электрообогрев (сочетание ИК облучателей или комбинированных установок с теплоаккумулирующими электрообогреваемыми полами, электронагревательными панелями или ковриками). При таком обогреве теплота к животным подводится снизу и сверху, гарантируется обогрев во время перерывов в электроснабжении.

Применение систем обеспечения микроклимата с комбинированным электрообогревом эффективно по энергозатратам для любых помещений в климатических зонах страны с минимальной температурой наружного воздуха ниже -5 °C.

Для ИК обогрева поросят могут быть использованы различные инфракрасные облучатели и облучательные установки. Один облучатель установок ИКУФ, «Луч», а также ОРИ-1, «Латвико» используют, как правило, для обогрева двух смежных станков, облучатели ОРИ-2, ССПО1-250 подвешивают по одному над каждым станком.

Облучатели «Латвико» целесообразно применять в районах с жесткими климатическими условиями и на фермах, где нет системы общего обогрева помещения; при использовании в этих условиях установок типа ИКУФ, «Луч» облучатели следует подвешивать по одному на каждое станко-место.

Для одного помета отгораживают часть площади размером 0,7 - 1 м2 с лазом размером 20´30 см. Отделения для обогрева поросят можно делать в форме треугольника или прямоугольника.

Если площадь станков достаточная, подкормочные отделения следует располагать в отделениях для обогрева поросят, но не в зоне действия ИК ламп.

В зданиях, где кормо-навозный проход расположен по продольной оси, предусматривают отделения для одновременного обогрева поросят-сосунов, размещенных в двух (рис. 9, а, б) или трех (в, г) станках. На рисунке 9 показаны возможные варианты размещения отделений для обогрева и подкормки поросят.

В зданиях, где кормо-навозные проходы расположены вдоль наружных стен, а станки - в средней части свинарника, для ИК обогрева предусматривают одно отделение на 4 - 5 станков. Отделение размещают или в центре четырех станков, где пересекаются их внутренние перегородки, или в двух станках вдоль продольной или поперечной перегородки (рис. 10, а, б) Размещение источников ИК излучения для пяти станков показано на рисунке 10, в.

В свинарниках-маточниках, в которых кормовые проходы расположены вдоль наружных стен, а навозный проход - по продольной оси здания, отделения на два-три помета устраивают со стороны кормового прохода (рис. 11, а, б). Когда в станках нет лишней площади, отделения устраивают в кормовых проходах (рис. 11, в).

Рис. 9. Варианты размещения отделений для обогрева поросят в станках, разделенных кормо-навозным проходом:

а, б - для двух, в, г - для трех смежных станков; 1 - отделения для обогрева поросят; 2 - подкормочные отделения; 3 - ИК облучатели.

Рис. 10. Варианты размещения отделений для обогрева поросят в станках, не разделенных проходами:

а, б - для четырех; в - для пяти пометов; 1 - отделение для обогрева; 3 - ИК облучатели.

Рис, 11. Размещение отделений для обогрева и подкормки поросят в станках, разделенных кормовыми и навозными проходами:

1 - отделения для обогрева; 2 - отделения для подкормки; 3 - ИК облучатели.

При использовании ИК облучательных установок в свинарниках должны быть учтены следующие особенности:

1) при размещении отделений для обогрева у наружных стен последние должны быть утеплены щитами из досок, иначе температура внутреннего воздуха у стены значительно понижается;

2) перегородки между отделениями для ИК обогрева делают высотой 60 см, перегородки между пометами высотой 40 см;

3) ИК лампы включают за 1 ... 2 дня до опороса после мойки и дезинсекции пола логова для его высушивания и обогрева;

4) при использовании для обогрева «темных» ИК облучателей установившийся температурный режим в отделениях создается через 12 ... 24 часа после их включения, поэтому их также следует включать за 1 ... 2 дня до опороса.

В крупных репродукторных хозяйствах промышленного типа для опороса маток и их содержания с новорожденными поросятами разработаны конструкции специальных станков, в которых предусмотрено фиксированное положение матки. Такое содержание подсосных маток позволяет значительно повысить производительность труда, уменьшить возможность задавливания поросят.

Выбор станка для совместного содержания маток и поросят-сосунов зависит от срока отъема поросят. Так, при отъеме поросят в возрасте 60 дней станки должны иметь площадь 7,0 ¸ 7,5 м2, при отъеме в 30 ¸ 35 дней 5 ¸ 5,5 м2, а при очень раннем отъеме (в возрасте 4 ¸ 10 дней) - до 3,0 ¸ 3,8 м2.

В настоящее время в промышленном свиноводстве применяют станки типов ССИ-2, «Крюковский», СОИЛ-2 («Ленинградский»), «Распашной», «Диагональный» и большое число их модификаций.

Станок СОИЛ-2 (рис. 12) разделен на три бокса, в середине располагается бокс для фиксации матки, а по бокам - боксы для отдыха и подкормки поросят. Инфракрасный облучатель подвешивают над зоной отдыха поросят. Станки СОИЛ-2 входят в комплект станочного оборудования ОСМ-60.

Станки типа «Распашной» и «Диагональный» (рис. 13, а и б) по конструкции аналогичны станкам СОИЛ-2, за исключением некоторых технических особенностей.

Станок ССИ-2 (по типу станка итальянской фирмы «Джи-э-джи») конструкции ВНИИМЖ (рис. 14, а) представляет собой разборно-сборную конструкцию из водопроводных труб. Каждый станок имеет клетку для проведения опоросов, два отделения для отдыха и подкормки поросят и площадку для прогулки и кормления матки. Схема устройства станка типа «Крюковский» приведена на рисунке 14, б.

Высота подвеса облучателей в зависимости от температуры воздуха в свинарнике и возраста поросят должна устанавливаться в соответствии с данными таблицы 4.

Продолжительность УФ облучения поросят в течение суток в зависимости от высоты подвеса облучателя устанавливается в соответствии с таблицей 5. УФ лампы включают 2 - 3 раза в сутки на равные промежутки времени.

В свинарнике-маточнике с температурой воздуха 14 ... 15 °C при высоте подвеса облучателя 60 ... 80 см рекомендуется следующий режим инфракрасного и ультрафиолетового облучения поросят:

в первые 3 дня ИК лампы включены постоянно, УФ лампы включают в первый день: ЛЭ-15 на 20 мин, ЛЭО-15 - на 1 ч, во второй день - на 40 мин и на 1 ч 20 мин, в третий день - на 1 ч и на 3 ч соответственно. Включают и отключают УФ лампы в этот период вручную;

с 3-го до 10-го дня ИК и УФ лампы работают в автоматическом режиме: ИК лампы 45 мин обогрев и 15 мин пауза, УФ лампы включаются: ЛЭ-15 3 раза по 40 мин, ЛЭО-15 3 раза по 2 ч в дневное время;

с 10-го до 45-го дня ИК и УФ лампы работают в автоматическом режиме: ИК лампы 1 ч обогрев, 30 мин пауза, УФ лампы ЛЭ-15 3 раза по 40 мин; ЛЭО-15 3 раза по 2 ч в дневное время.

Рис. 12. Схема устройства станка СОИЛ-2 для фиксированного содержания свиноматок:

1 - кормушка для матки; 2 - кормушка для поросят; 3 - самокормушка; 4 - автопоилка ПАС-2А; 6 - ИК облучатель.

Рис. 13. Схемы устройства станков для проведения опоросов и выращивания поросят под матками:

а - «Диагональный»; б - «Распашной»; 1 - клетка для проведения опоросов; 2 - обогреваемое; 3 - необогреваемое логово для поросят; 4 - ИК облучатель; 5 - кормушка для матки; 6 - кормушка-корыто для поросят.

Рис. 14. Схемы устройства станков для проведения опоросов и выращивания поросят под матками:

а - ССИ-2; б - «Крюковский»; 1 - клетка для проведения опоросов; 2 - обогреваемое; 3 - необогреваемое логово для поросят; 4 - ИК облучатель; 5 - автокормушка для поросят; 6 - кормушка для матки.

Таблица 4. Высота подвеса (см) ИК облучателей над полом при обогреве поросят

Возраст поросят, суток

Вид облучателя

Температура воздуха в свинарнике, °C

8 ... 10

12 ... 14

16 ... 18

20

1 ... 20

ИКУФ-1, ИКУФ-1М, ССПО1-250

-

50 ... 60

60 ... 70

70 ... 80

ОРИ-1, ОРИ-2

70

85

100

110

«Латвико»

70 ... 80

90 ... 100

110 ... 120

150

20 ... 45

ИКУФ-1, ИКУФ-1М, ССПО1-250

60

70

80

90

ОРИ-1, ОРИ-2

85

100

110

125

«Латвико»

100 ... 110

110 ... 120

130 ... 140

160

Свыше 45

ИКУФ-1, ИКУФ-1М, ССПО1-250

70

80

90

100

ОРИ-1, ОРИ-2

100

110

125

140

«Латвико»

120

130

150

170

При использовании установок ИКУФ, «Луч» для поросят при откорме время УФ облучения должно быть увеличено (табл. 5);

Таблица 5. Суточное время УФ облучения поросят

Возраст поросят

Тип УФ лампы

Высота подвеса облучателя над полом, см

60

70

80

Поросята-сосуны

ЛЭ-15

1 ч 20 мин

1 ч 40 мин

2 ч

ЛЭО-15

4 ч

5 ч

6 ч

Откормочники

ЛЭ-15

2 ч

2 ч 30 мин

3 ч

ЛЭО-15

6 ч

7 ч 30 мин

9 ч

При температуре воздуха в помещении выше 16 °C ИК лампы рекомендуется переключать с параллельного на последовательное соединение (при помощи переключателей, расположенных на облучателе ИКУФ).

Испытания установки ИКУФ-1 проходили в совхозе «Талдом» Московской области. Комбинированное действие ИК обогрева и УФ облучения на поросят позволило увеличить прирост на 20 % по сравнению с ИК обогревом без УФ облучения.

Широкая хозяйственная проверка различных установок ИК обогрева поросят проведена в Чувашской АССР, в хозяйствах Тульской и Московской областей, Литовской ССР, Украинской ССР и др.

Так, в колхозе «Гвардеец» Чувашской АССР применение установки ИКУФ-1 для обогрева поросят-сосунов дало следующие результаты: в опытной группе по сравнению с контрольной при одинаковых условиях кормления и содержания средняя масса одного поросенка на 60-й день со дня рождения составила 18,97 и 16,24 кг соответственно. Среднесуточный прирост в опыте был равен 322 г, в контроле - 276 г, прибавка составляла 15,8 %. После внедрения установок ИКУФ-1 в среднем за два года сохранение молодняка достигло 99,2 % против 86,4 % в 1972 г.

В возрасте от 2 до 4 месяцев разница в приросте поросят-сосунов опытной и контрольной групп составила 12 %, а в группах откорма - 8 %. До сдаточной массы в 110 кг опытную группу содержали 260 дней, контрольную 281 день. Оборот откорма свиней сократился на 21 день, при этом достигнута значительная экономия кормов. В результате окупаемость оборудования составила один туровой опорос. В 1972 г. до внедрения ИКУФ-1 хозяйство получало в среднем от одной матки 12,6 поросенка; после внедрения установки в 1973 - 1975 гг. - 17,4; 22,3 и 24 поросенка.

В колхозах и совхозах Чувашской АССР в течение 1973 - 1975 гг. смонтировано 310 комплектов ИКУФ-1, в основном в свинарниках-маточниках.

В Ефремовском свиноводческом комплексе Тульской области, где внедрены установки ИКУФ-1, за 1976 г, получено 23132 поросенка, в холодное время года - в I и IV кварталах - 13490. Сохранение поросят до 2-месячного возраста составило 96,3 %. Отъемная масса поросят - 18 кг. На основную матку в год получено 1,7 опороса.

4.2. Обогрев телят

Для обогрева и УФ облучения телят наиболее целесообразно применять установки типа ИКУФ, «Луч». При содержании телят в клетках один облучатель используют для обогрева и облучения двух смежных клеток, а при групповом содержании оборудуют обогреваемую площадку из расчета один облучатель на 4 м2 площади. Рекомендуемый режим обогрева телят - прерывистый с выключением на 30 мин после каждых 1 ¸ 1,5 ч работы. Допускается также непрерывный обогрев телят с тремя часовыми перерывами во время кормления - утром, днем и вечером.

Режим УФ облучения автоматический, лампы включаются 3 раза в день; суточное время облучения зависит от высоты подвеса облучателей (табл. 6).

Таблица 6. Суточное время УФ облучения телят, ч

Тип УФ лампы

Высота подвеса облучателя над полом, см

120

130

140

150

ЛЭ-15

2

4

5

6

ЛЭО-15

6

12

15

18

Высота подвеса облучателей в зависимости от температуры воздуха в помещении для подсосного периода и при доращивании телят приведена в таблице 7.

Таблица 7. Высота подвеса ИК облучателей от пола при обогреве телят, см

Возраст телят, суток

Вид облучателя

Температура воздуха в телятнике, °C

5 ... 6

7 ... 8

9 ... 10

11 ... 13

1 ... 45

ИКУФ-1, ИКУФ-1М, ССПО1-250

120

130

140

150

ОРИ-1, ОРИ-2

170

180

195

210

«Латвико»

190

210

230

250

45 ... 120

ИКУФ-1, ИКУФ-1 М, ССПО1-250

140

150

160

170

ОРИ-1, ОРИ-2

195

210

225

240

«Латвико»

230

240

250

260

В первые два-три дня, когда телята больше лежат, высота подвеса облучателей должна быть уменьшена на 40 - 50 см.

Облучатели установки «Луч» подвешивают на высоте 120 см от пола, режим обогрева изменяют при помощи регулятора напряжения согласно таблице 8.

Таблица 8. Напряжение на ИК лампах при обогреве телят установкой «Луч (высота подвеса 50 ... 60 см от спины животных)

Возраст телят, суток

Температура воздуха в телятнике, °C

Напряжение на ИК лампах, В

1 ... 45

5 ... 7

220

8 ... 10

173

11 ... 14

127

45 ... 120

5 ... 7

173

8 ... 10

127

11 ... 14

90

Для обогрева и обсушивания телят в первые часы жизни целесообразно использовать переносные облучатели с лампой ИКЗК 220-250, которые крепят непосредственно к клетке.

Испытания установки ИКУФ-1, проведенные в совхозе «Фаустово» Московской области, показали, что приросты телят в опытной группе по сравнению с контрольной были к возрасту 20 дней выше на 24 %, желудочно-кишечные заболевания снизились на 30 %. В зоне нахождения телят под облучателями концентрация аммиака была в 2,8 раза ниже, относительная влажность в зоне обогрева 65 %, а в окружающем воздухе 86 %.

В совхозе «Горьковский» Тульской области применение установок ИКУФ-1 для обогрева телят в течение 1972 - 1973 гг. позволило повысить сохранение животных до 95 (1972 г.) и 97,6 % (1973 г.) против 75 ... 80 % (до 1972 г.).

4.3. Обогрев ягнят

В соответствии с существующими нормами технологического проектирования ферм (НТП-СХА, 5-68) помещения для содержания овец, кроме родильного отделения, не отапливаются. Поскольку до последнего времени овец содержали на пастбищах и на глубокой подстилке в овчарнях, факторам микроклимата не уделяли нужного внимания. При переходе на бесподстилочное содержание мясных ягнят на щелевых полах или в клетках создание необходимого микроклимата приобретает первостепенное значение. Новорожденные ягнята и молодняк в первый период жизни не имеют установившихся внутренних механизмов, поддерживающих постоянство температуры тела; у них хорошо развита регуляция теплообразования, а теплоотдача обычно несовершенна. В первый период жизни колебания температуры воздуха, особенно в сочетании с повышенной влажностью, резко сказываются на температуре тела ягненка. Физическая терморегуляция ягнят вступает в действие только через 10 ... 15 дней после рождения, а при содержании в сырых и холодных помещениях даже позднее.

При низкой температуре и высокой относительной влажности воздуха в организме ягнят происходят значительные физиологические и иммунобиологические перестройки, снижается активность обменных процессов. Исследованиями и практическими наблюдениями установлено, что ягнята, рождающиеся зимой в помещениях с температурой воздуха ниже 5 ... 8 °C при относительной влажности 85 ... 98 %, в первые 2 ... 3 дня бывают вялыми, не проявляют присущей им подвижности и длительное время стоят или лежат около овцематки. Наиболее слабые ягнята погибают от переохлаждения. Поэтому создание оптимального температурно-влажностного режима в помещениях для ягнят имеет практическое значение для профилактики простудных заболеваний, является одним из важных условий сохранения приплода, особенно в зимнее время, и повышения продуктивности животных.

По отечественным и зарубежным данным, нижняя граница оптимальных температур для ягнят +10 °C, для остальных групп овец +8 °C. Верхняя граница оптимальных температур для ягнят +17 °C.

Один из способов создания необходимого температурного режима и снижения относительной влажности воздуха помещений - местный обогрев молодняка инфракрасным излучением.

ИК облучение ягнят следует начинать сразу же после окота. Использование стационарных автоматизированных установок типа ИКУФ, «Луч» позволяет получить наилучшие результаты, поскольку одновременно с ИК обогревом они обеспечивают ультрафиолетовое облучение молодняка. Высота подвеса облучателей приведена в таблице 9.

Таблица 9. Высота подвеса ИК облучателей над полом при обогреве ягнят, см

Возраст ягнят, суток

Вид облучателя

Температура воздуха в помещении, °C

-5

0

+5

+10

1 ... 20

ОРИ-1, ОРИ-2, ССПО1-250

110

120

130

140

ИКУФ-1, ИКУФ-1М

80

90

100

110

21 ... 60

ОРИ-1, ОРИ-2

140

150

160

-

ССПО1-250, ИКУФ-1, ИКУФ-1М

110

120

130

-

Помещение для проведения ягнения оборудуют облучателями из расчета 25 Вт на матку с приплодом, а при искусственном выращивании ягнят - из расчета 250 Вт на 10 ягнят.

Первые три-четыре дня ягнят обогревают в течение 20 ч в режиме 3 ч обогрев, 40 мин пауза. Паузы обогрева целесообразно совмещать с кормлением ягнят.

В последующие дни (до 15 ... 20-дневного возраста) время обогрева сокращают до 16 ч в сутки, причем в течение дня через каждый час лампы выключают на полчаса.

При температуре воздуха в овчарне не ниже +10 °C локальный ИК обогрев ягнят применяют до 10 ... 15-дневного возраста, при более низкой температуре ИК лампы следует оставлять включенными и в следующий период выращивания (до 45 ... 60-дневного возраста). При использовании установки ИКУФ-1 высота подвеса может оставаться неизменной, но ИК лампы переключают с параллельного соединения на последовательное.

Режим УФ облучения ягнят - автоматический. Время УФ облучения ягнят в течение суток в зависимости от высоты подвеса облучателей установок ИКУФ над полом приведено в таблице 10.

Таблица 10. Суточное время УФ облучения ягнят в зависимости от высоты подвеса облучателя

Тип УФ лампы

Высота подвеса над полом, см

80

90

100

110

120

130

ЛЭ-15

2 ч

2 ч 40 мин

3 ч 30 мин

4 ч 20 мин

5 ч 30 мин

7 ч

ЛЭО-15

6 ч

8 ч

10 ч

13 ч

-

-

Облучают ягнят в течение всего периода выращивания. УФ лампы включают 2 ... 3 раза в сутки, облучение проводят равномерными порциями. После 10 дней облучения делают 10-дневный перерыв. Для обогрева новорожденных ягнят в кошарах на пунктах зимовки целесообразно применять облучатели «Латвико» или ОРИ-1. Облучатели подвешивают над клетками-кучками, в которых ягнятся овцы, на высоте 1,1 - 1,2 м.

Исследования показали, что применение ИК облучателей для обогрева ягнят позволяет увеличить живую массу (в 10-дневном возрасте на 17 %) и сохранность молодняка. УФ облучение улучшает функции пищеварительного аппарата, повышает скорость роста и упитанность ягнят.

4.4. Обогрев крольчат

Инфракрасный обогрев рекомендуется применять при промышленном выращивании крольчат в типовых механизированных крольчатниках на фоне электрокалориферного отопления. Вследствие повышенной чувствительности кроликов к высокой освещенности для обогрева можно применять только ИК лампы с окрашенной колбой - ИКЗК 220-250. Могут быть использованы облучатели ССПО1-250, а также механизированные облучательные установки типа ИКУФ, «Луч».

Облучатели располагают на высоте 60 ... 70 см от пола в центре над четырьмя смежными бескаркасными сетчатыми клетками (размер клеток 60´45´90 см).

При использовании автоматизированных облучательных установок рекомендуется прерывистый режим обогрева: 60 мин облучение, 40 мин пауза.

В зверосовхозе «Пушной» Тульской области применяли установку ИКУФ-1 в механизированном крольчатнике. Локальный обогрев включали в зимние месяцы на фоне электрокалориферного отопления с общей температурой в помещении +4 - +12 °C.

Применение установки ИКУФ-1 позволило улучшить температурно-влажностный режим маточника, что благоприятно отразилось на росте и развитии кроликов. Подстилка в гнезде была сухой и теплой, гнезда часто открыты. Под лампами ИКЗК 220-250 крольчата чаще отдыхают, не скучиваются. Красный свет их не беспокоит и не пугает, а тепло привлекает.

Прерывистый ИК обогрев маточных отделений дает возможность создавать в них в холодное время года оптимальный температурно-влажностный режим и тем самым резко сокращать отход молодняка вследствие простудных заболеваний.

В результате применения установки ИКУФ-1 в 1973 - 1976 гг. получено увеличение прироста на 9 %, сохранение с 78 % поднялось до 82 ... 85 %, улучшился микроклимат крольчатника.

УФ лампы ЛЭ-15 следует включать три раза в сутки по 10 мин, лампы ЛЭО-15 по 30 мин в дневное время.

4.5. Обогрев молодняка птицы

Для обогрева молодняка птицы используются ИК лампы только с окрашенной колбой. Одной лампой мощностью 250 Вт можно обогреть 100 ... 120 цыплят, 60 ... 80 индюшат, гусят или утят первого возраста.

Рис. 15. Выращивание индюшат под комбинированными облучателями.

ИК обогрев можно применять как при напольном, так и при клеточном выращивании. Наиболее эффективны комбинированные облучательные установки типа ИКУФ, «Луч».

При напольном выращивании вместо брудера БП-1 можно использовать по два облучателя ИКУФ, «Луч» или по четыре облучателя ССПО1-250 (рис. 15), оставив остальное оборудование (поилки, кормушки, ограждение) без изменения. Тепловой режим под облучателями регулируется изменением высоты подвеса (таблица 11).

При клеточном выращивании молодняка птицы ИК обогрев можно применять только в одноярусных клеточных батареях или в многоярусных со «стартовым» ярусом. Облучатели стационарно подвешивают к потолочным перекрытиям или на тросе над верхним ярусом на высоте 60 ... 70 см от полика клетки, располагая их вдоль оси (рис. 16).

Молодняк птицы обогревают с 1 до 20 ... 30-дневного возраста (в зависимости от температуры воздуха в птичнике). Режим обогрева, как правило, непрерывный.

Режим УФ облучения автоматический, УФ облучение проводится в течение всего периода выращивания. Время УФ облучения зависит от высоты подвеса облучателя и типа УФ лампы (табл. 12). УФ лампы включают 2 - 3 раза в сутки, облучение проводят равными порциями. После 10 дней облучения можно сделать 10-дневный перерыв.

Время УФ облучения цыплят должно быть уменьшено в 1,5 раза.

В процессе выращивания следят за поведением и физиологическим состоянием молодняка. При появлении симптомов перегрева следует облучатели поднять выше или уменьшить напряжение, если же наблюдается скучивание молодняка - опустить облучатели или увеличить напряжение на лампах.

Таблица 11. Примерная высота подвеса облучателей ИКУФ, ССПО1-250 при напольном выращивании молодняка птицы, см

Вид, возраст молодняка, суток

Температура воздуха в помещении, °С

16 ... 18

20

22

24 ... 26

Цыплята

 

 

 

 

1 ... 5

60

60

70

80

6 ... 12

60

70

80

90

13 ... 21

70

80

90

100

22 ... 30

80

90

100

-

Индюшата

 

 

 

 

1 ... 5

-

60

60

70

6 ... 10

60

60

70

80

11 ... 15

60

70

80

90

16 ... 30

70

80

90

100

Утята

 

 

 

 

1 ... 10

70

80

90

100

11 ... 20

80

90

100

-

21 ... 30

90

100

-

-

Гусята

 

 

 

 

1 ... 20

70

80

90

100

21 ... 30

80

90

100

-

Рис. 16. Варианты расположения ИК облучателей в птичниках над клеточными батареями различных типов:

а, б, в - многоярусные со стартовым ярусом; г - одноярусные; Л - ИК лампы.

Таблица 12. Суточное время УФ облучения индюшат, утят в зависимости от высоты подвеса облучателя

Тип УФ лампы

Высота подвеса, см

60

70

80

90

100

250 (при поднятом брудере)

ЛЭ-15

1 ч 20 мин

1 ч 40 мин

2 ч

2 ч 15 мин

2 ч 30 мин

6 ч

ЛЭО-15

4 ч

5 ч

6 ч

6 ч 40 мин

7 ч 30 мин

18 ч

Варианты размещения ИК облучателей в птичниках с клеточным выращиванием показаны на рисунке 16, с напольным на рисунке 17. В опытах, проведенных на Егорьевской птицефабрике, живая масса индюшат к 4-недельному возрасту увеличилась на 8,46 %, сохранение - на 3,33 %.

Получен положительный эффект и при использовании установки ИКУФ для обогрева и УФ облучения утят. Режим обогрева - 2 ч обогрев, 15 мин перерыв; УФ облучения - 3 раза в дневное время по 40 - 45 мин, 10 дней облучение и 10 дней перерыв. Живая масса утят увеличилась на 4,64 % (причем, 2,66 % получено за счет УФ облучения), сохранение - на 4 %.

Рис. 17. Варианты размещения ИК брудеров при напольном выращивании в птичниках шириной 12 (а) и 18 (б) м.

5. ОСОБЕННОСТИ МОНТАЖА И ЭКСПЛУАТАЦИИ ИК ОБЛУЧАТЕЛЬНЫХ УСТАНОВОК

Монтаж ИК облучательных установок должен проводиться специализированными организациями согласно «Правилам устройства электроустановок». Электрооборудование подвергают приемосдаточным испытаниям в присутствии представителей энергонадзора и пожарной охраны хозяйства. Монтаж осуществляется в соответствии с заводской инструкцией. Провода электросети можно прокладывать в трубах и по тросу. При прокладке электросети в трубах можно использовать провода марок ПВ, АПР, ПРГ, АПВ, ПВГ, ПРТО и АПРТО. Затягивают провода в трубы вручную. Предварительно в трубы закладывают стальную проволоку диаметром 1,5 ... 3 мм с петлей на конце, с помощью которой и затягивают провода. На протяженных трубопроводах с большим числом изгибов устанавливают дополнительно протяжные коробки, на открытых концах труб устанавливают втулки для предохранения изоляции проводов от повреждения. В вертикально проложенных трубах провода затягивают снизу вверх и закрепляют изоляционными кликами или зажимами. Соединение и ответвление проводов, проложенных в трубах, выполняют только в коробках. Соединение проводов непосредственно в трубах не разрешается. Соединения и ответвления в коробках выполняют опрессованием проводов, сваркой или на сжимах. При прокладке электросети по тросу могут использоваться кабели марок НРГ, АНРГ, ВРГ, АВРГ, ABB, АВП и др.

Прокладка труб или тросовая подвеска при кабельном питании выполняется на высоте 1,8 ... 2,5 м от пола.

Облучатели укрепляют на трубе или тросе с помощью подвесок. При монтаже необходимо обратить внимание на следующее:

для питания следует применять систему 380/220 В с глухим заземлением нейтрали и нулевым проводом;

нулевой провод должен иметь сечение, равное сечениям фазных проводов, независимо от материала провода;

нагрузки (облучатели) должны равномерно распределяться между фазами;

все металлические токоведущие части установки (облучатели, блоки) должны быть заземлены;

распайка проводов должна производиться через герметизированные распаечные коробки.

Щит управления размещают на стене в электрощитовой, а при отсутствии щитовой - в тамбурах вне помещения.

При эксплуатации электроустановок для ИК обогрева молодняка сельскохозяйственных животных следует руководствоваться «Правилами технической эксплуатации электроустановок потребителей» и «Правилами техники безопасности при эксплуатации электроустановок потребителей», утвержденными Госэнергонадзором Министерства энергетики и электрификации СССР в 1969 г. и обязательными для потребителей энергии всех министерств и ведомств.

В процессе эксплуатации вся электросеть должна находиться под постоянным контролем специалистов. Лица, ответственные за эксплуатацию ИК облучательных установок, предварительно должны пройти необходимый инструктаж, ознакомиться с инструкцией по эксплуатации установки и оформить ознакомление распиской.

Перед включением установки необходимо проверить:

а) наличие и целостность заземления у каждого из облучателей;

б) наличие и целостность заземления у каждого из силовых блоков;

в) наличие и целостность заземления у программного блока.

Не реже одного раза в три месяца необходимо проводить техническое обслуживание щитов управления и облучателей. При этом особое внимание следует обращать на надежность заземления, целостность изоляции и ламп, наличие запыленности, коррозии металлических частей.

Изоляцию электропроводов проверяют на электрическую прочность не реже одного раза в год, причем составляют акт проверки.

При эксплуатации ИК облучательных установок следует строго соблюдать рекомендуемую высоту подвеса и режим ИК облучения. Нельзя контролировать тепловой режим в зоне облучения термометрами, термографами; вследствие специфических особенностей лучистого обогрева измерения этими приборами не позволяют получить объективных данных о состоянии теплового режима под ИК лампами. В случае необходимости пользуются специальными приборами (пиранометром Янишевского с фильтром КС-19, термоэлементами с потенциометром ПП-63).

Рабочему персоналу животноводческого помещения категорически запрещается самовольно проводить работы по техническому обслуживанию или ремонту установок. Обо всех неисправностях в работе установки следует сообщить электромонтеру и требовать немедленного их устранения.

6. ТЕХНИКА БЕЗОПАСНОСТИ И ОХРАНА ТРУДА ПРИ РАБОТЕ С ИНФРАКРАСНЫМИ ОБЛУЧАТЕЛЯМИ И ОБЛУЧАТЕЛЬНЫМИ УСТАНОВКАМИ

На каждом объекте, оборудованном облучателями и облучательными установками, необходимо вывесить правила техники безопасности, пожарной безопасности и инструкции по оказанию первой помощи при поражении электрическим током.

Животноводческие помещения, в которых эксплуатируются ИК облучатели и облучательные установки, относятся к помещениям с повышенной опасностью поражения электрическим током. Для питания облучателей в помещениях этой категории не допускается напряжение, превышающее 250 В по отношению к земле. Персонал, обслуживающий облучатели и облучательные установки, должен знать и строго выполнять правила и инструкции.

Все работы по ремонту и чистке облучателей и облучательных установок, а также замене излучателей разрешается проводить только после полного отключения их от электросети лицам, имеющим квалификационную группу по технике безопасности не ниже третьей.

При работе с облучательными установками обязательно соблюдение требований охраны труда. ИК излучение при несоблюдении правил техники безопасности и санитарии может оказывать неблагоприятное воздействие на человека. В частности, во избежание теплового поражения глаз обслуживающего персонала при работе со «светлыми» источниками ИК излучения не рекомендуется смотреть на включенные источники с близкого расстояния. Защиты глаз облучаемых животных не требуется, так как при облучении эффективными дозами вредного действия ИК излучения не наблюдается. Следует помнить, что в этом случае защитные очки не предохраняют глаза, поскольку стекло пропускает коротковолновое ИК излучение.

С целью пожарной безопасности в помещениях для содержания сельскохозяйственных животных, где применяется ИК облучение, необходимо строго выполнять следующие противопожарные мероприятия:

источники ИК излучения должны питаться от самостоятельного распределительного щита шкафного типа с запирающейся дверцей;

электрощит следует оборудовать вводным рубильником для отключения всей электросети, а также автоматическими выключателями или предохранителями, которые должны обеспечить защиту сети от перегрузок и коротких замыканий. Для этого номинальный ток плавких вставок (предохранителей) должен быть больше или равен рабочему току нагрузки, а сечение проводов подбирается по допустимому длительному току, равному 125 % номинального тока плавкой вставки (ПУЭ, III-1-9; III-1-10; I-3-8; табл. I-3-1; I-3-22);

провода через отверстия в стенах, перегородках и других конструкциях должны проходить раздельно и иметь дополнительную защиту в виде гибкой изоляции (трубки) с фарфоровыми воронками или втулками, заполненными изоляционной массой;

все соединения и ответвления проводов выполняют только при помощи сварки, пайки или специальных зажимов (ПУЭ, II-4, СНиП III-И, 6-62 п. 8, 58);

провода для зарядки патронов облучателей в местах ввода следует обматывать шнуровым асбестом, или они должны иметь термостойкую изоляцию (РКПМ, ПРБС, ПРКС);

все облучатели с ИК источниками должны иметь металлическую защитную сетку и подвешиваться на высоте не ниже 50 см от пола (сгораемой подстилки).

В случае возникновения пожара необходимо немедленно выключить электросеть, вызвать пожарную охрану и принять меры к тушению пожара и эвакуации животных.

Гасить огонь на электроустановках необходимо углекислотным огнетушителем или сухим песком. Применять воду или жидкостные огнетушители категорически запрещается.

7. ЭКОНОМИЧЕСКАЯ ЭФФЕКТИВНОСТЬ ПРИМЕНЕНИЯ УСТАНОВКИ ИКУФ ДЛЯ ОБОГРЕВА И ОБЛУЧЕНИЯ БРОЙЛЕРОВ ПРИ НАПОЛЬНОМ ВЫРАЩИВАНИИ (ПРИМЕР РАСЧЕТА)

Основными показателями, характеризующими эффективность механизации, в том числе обогрев и облучение птицы, являются затраты труда, капитальные вложения, эксплуатационные расходы и приведенные затраты.

Затраты труда должны определяться посредством проведения фотографии рабочего дня работников, занятых на этом процессе.

Капитальные вложения. При оценке механизации отдельного процесса в капитальных вложениях учитывают:

1) стоимость машин, оборудования;

2) торгово-транспортные расходы по доставке оборудования к месту назначения;

3) монтаж оборудования;

4) стоимость внутренних электрических проводок.

Стоимость машин и оборудования определяют по справочникам оптовых цен на сельскохозяйственные и другие машины.

Торгово-транспортные расходы приняты в размере 11 % от оптовой цены.

Стоимость монтажа машин и оборудования, выпускаемых серийно, определена по ценнику № 35 Госстроя СССР на монтаж оборудования. Для новых машин, которых нет в ценнике, стоимость монтажа принималась по аналогии с серийно выпускаемыми машинами одинакового назначения.

Расходы на внутреннюю электрическую проводку определены по методике ВИЭСХ, согласно которой стоимость внутренней проводки принята в размере 20 руб. на каждый обогреватель.

Годовые эксплуатационные расходы. Эти расходы слагаются из затрат на обслуживание и эксплуатацию машин и включают:

1) заработную плату с начислениями;

2) отчисления на амортизацию;

3) отчисления на текущий ремонт;

4) стоимость электроэнергии;

5) стоимость кормов.

Отдельные составляющие эксплуатационных расходов определены на основании действующих нормативов или в соответствии с существующими методами.

Заработная плата вычислялась по часовым тарифным ставкам оплаты труда в совхозах и других государственных предприятиях с учетом доплат за продукцию, классность, увеличение нагрузки и др. и принята в размере 0,87 руб. за 1 чел. × ч.

Отчисления на амортизацию машин и оборудования, а также на текущий ремонт приняты соответственно в размере 14,2 и 18 % от капитальных вложений на машины и оборудование («Нормы амортизационных отчислений по основным фондам народного хозяйства СССР и положение о порядке планирования, начисления и использования амортизационных отчислений в народном хозяйстве», М., 1974). Отчисления (амортизация и текущий ремонт) на внутреннюю проводку приняты в размере 17,4 %.

Стоимость электрической энергии определялась по льготному тарифу 1 коп/кВт × ч.

Стоимость кормов определялась по сборнику нормативно-справочных материалов (В/О «Союзсельхозтехника», 1974 г.).

Приведенные затраты по каждому из рассматриваемых вариантов представляют собой сумму эксплуатационных расходов и капитальных вложений, приведенных к одинаковой размерности с помощью нормативного коэффициента эффективности, принятого равным 0,15.

Лучшему варианту механизации соответствуют минимальные затраты. Разница приведенных затрат двух вариантов определяет годовую экономию от внедрения новых технических средств.

Ниже приводится расчет экономической эффективности применения установки ИКУФ по сравнению с электрическими брудерами БП-1А (табл. 13).

Годовой экономический эффект составит: Эг = (К1 ´ 0,15 + Э1) - (К2 ´ 0,15 + Э2) ´ Nг = (4,9 ´ 0,15 + 63,9) - (8,6 ´ 0,15 + 37,4) ´ 445,44 = 11581 руб. на птичник, или 26 руб. на 100 голов.

Таблица 13. Расчет экономической эффективности внедрения установки ИКУФ для обогрева и облучения бройлеров при напольном содержании

Показатели

Базовый вариант

Сравниваемый вариант

электрические брудеры БП-1А

установка ИКУФ

всего

на 100 голов

всего

на 100 голов

Вместимость птичника, голов

10000

-

10000

-

Сохранение молодняка, %

89,3

-

92,8

-

Повышение прироста, %

-

-

7,75

-

Число партий, выращенных за год

4,8

-

4,8

-

Поголовье бройлеров, выращенное за год, голов

42864

-

44544

-

Средняя масса бройлеров в 56-дневном возрасте, кг

1,500

-

1,616

-

Валовое производство мяса бройлеров за год, ц

643,0

-

720,0

-

Сдаточная цена 1 ц мяса бройлеров, руб.

159,3

-

159,3

-

Стоимость дополнительно полученной продукции, руб.

-

-

12266

-

Расход кормов (5 кг на голову за цикл выращивания), кг

214320

-

222720

-

Стоимость кормов (123 руб. за 1 т), руб.

26361

-

27394

-

Головой расход электроэнергии, кВт × ч

34560

-

36494

-

Годовые затраты труда, чел. × ч

100

0,21

80

0,18

Капитальные вложения, всего, руб.

2088

4,9

3835

8,6

       в том числе:

 

 

 

 

            оптовая цена

1400

-

2500

-

            торгово-транспортные расходы

154

-

275

-

            монтаж

134

-

260

-

            внутренняя проводка

400

-

800

-

Годовые эксплуатационные расходы, всего, руб.

27408

63,9

16679

37,4

       в том числе;

 

 

 

 

            заработная плата

87

-

70

-

            амортизация и текущий ремонт

614

-

1116

-

            стоимость электроэнергии

346

-

365

-

            стоимость кормов

26361

-

27394

-

            стоимость дополнительно полученной продукции

-

-

12266

-

Приведенные затраты, руб.

27721

64,7

17254

38,7

СПИСОК ЛИТЕРАТУРЫ

Кожевникова Н.Ф., Лямцов А.К., Муругов В.П. Применение оптического излучения. М., 1977, 40 с.

Временные указания по применению инфракрасного обогрева и ультрафиолетового облучения молодняка сельскохозяйственных животных. Тула, 1974.

Светотехника в 1974 - 1975 годах (обзор). - Светотехника, 1976, № 1, с. 3 - 19.

Кожевникова Н.Ф. Применение инфракрасного излучения в животноводстве. - Светотехника, 1978, № 5.

Бакшеев Н.Д., Созин Д.С. Комбинированные источники оптического излучения для животноводства. - Механизация и электрификация социалистического сельского хозяйства, 1977, № 7, с. 16 - 17.

Указания по инфракрасному облучению сельскохозяйственных животных. М., 1969.

Осетров П.А., Земляной И.Н. Обоснование технических требований к УФ облучательным установкам сельскохозяйственного назначении. В кн.: Применение оптического излучения в животноводстве и растениеводстве (Тезисы докладов к Всесоюзному научно-техническому совещанию 5 - 8 октября 1976 г.), М. - Орджоникидзе, 1976, с. 19 - 20.

Аралов В.В., Белоусов В.М. Применение ИК обогрева при шедовом и промышленном выращивании кроликов. Там же, с. 51 - 52.

Андрийчук П.Е. Влияние УФ и ИК излучений на организм утят. Там же, с. 57 - 58.

Ливак И.И., Равлык А.М., Головач В.Н. Влияние УФ, ИК и комбинированного облучения на обмен веществ и мясную продуктивность утят. Там же, с. 57 - 58.

Мелюков А.Н., Аралов В.В. ИК облучение животных. Тула, 1971, 48 с.

Голосов И.М. Применение лучистой энергии в животноводстве и ветеринарии. 1971, 179 с.

Кожевникова Н.Ф., Самсонова Л.И., Алексеев Ф.Ф. ИК обогрев и УФ облучение индюшат. - Механизация и электрификация социалистического сельского хозяйства, 1977, № 7, с. 20 - 22.

Голосов И.М., Шафран М.Б. Естественная резистентность организма поросят при прерывистом ИК обогреве. - В сб.: Материалы VII Всесоюзной научно-технической конференции по зоогигиене с основами ветеринарии. М., 1968.

Муругов В.П., Кожевникова Н.Ф. Инфракрасный обогрев ягнят. - В сб.: Электромеханизация технологических процессов в овцеводстве. Труды ВИЭСХ, т. 47. М., 1978.

 

СОДЕРЖАНИЕ

1. Предисловие. 1

2. Биологическое действие инфракрасного излучения на молодняк. 1

3. Технические средства инфракрасного обогрева молодняка. 3

4. Рекомендации по инфракрасному обогреву молодняка. 9

5. Особенности монтажа и эксплуатации ик облучательных установок. 20

6. Техника безопасности и охрана труда при работе с инфракрасными облучателями и облучательными установками. 21

7. Экономическая эффективность применения установки икуф для обогрева и облучения бройлеров при напольном выращивании (пример расчета) 22

Список литературы.. 24