Occupational safety standards system. Protective clothing against heat and flame. Method for determination of heat transmission on exposure to flame

ФЕДЕРАЛЬНОЕ АГЕНТСТВО
ПО ТЕХНИЧЕСКОМУ РЕГУЛИРОВАНИЮ И МЕТРОЛОГИИ

НАЦИОНАЛЬНЫЙ
СТАНДАРТ
РОССИЙСКОЙ
ФЕДЕРАЦИИ

ГОСТ Р ИСО
9151-2007

Система стандартов безопасности труда

ОДЕЖДА ДЛЯ ЗАЩИТЫ ОТ ТЕПЛА
И ПЛАМЕНИ

Метод определения теплопередачи
при воздействии пламени

ISO 9151:1995
Protective clothing against heat and flame -
Determination of heat transmission on exposure to flame
(IDT)

 

Москва
Стандартинформ
2007

 

Предисловие

Цели и принципы стандартизации в Российской Федерации установлены Федеральным законом от 27 декабря 2002 г. № 184-ФЗ «О техническом регулировании», а правила применения национальных стандартов Российской Федерации - ГОСТ Р 1.0-2004 «Стандартизация в Российской Федерации. Основные положения»

Сведения о стандарте

1 ПОДГОТОВЛЕН Техническим комитетом по стандартизации средств индивидуальной защиты ТК 320 «СИЗ» на основе официального аутентичного перевода ФГУП «СТАНДАРТИНФОРМ» стандарта, указанного в пункте 4

2 ВНЕСЕН Техническим комитетом по стандартизации средств индивидуальной защиты ТК 320 «СИЗ»

3 УТВЕРЖДЕН И ВВЕДЕН В ДЕЙСТВИЕ Приказом Федерального агентства по техническому регулированию и метрологии от 20 февраля 2007 г. № 20-ст

4 Настоящий стандарт идентичен международному стандарту ИСО 9151:1995 «Одежда для защиты от тепла и пламени. Определение теплопередачи при воздействии пламени» (ISO 9151:1995 «Protective clothing against heat and flame - Determination of heat transmission on exposure to flame»).

Наименование настоящего стандарта изменено относительно наименования указанного международного стандарта для приведения в соответствие с ГОСТ Р 1.5-2004 (подраздел 3.5)

5 ВВЕДЕН ВПЕРВЫЕ

Информация об изменениях к настоящему стандарту публикуется в ежегодно издаваемом информационном указателе «Национальные стандарты», а текст изменений и поправок - в ежемесячно издаваемых информационных указателях «Национальные стандарты». В случае пересмотра (замены) или отмены настоящего стандарта соответствующее уведомление будет опубликовано в ежемесячно издаваемом информационном указателе «Национальные стандарты». Соответствующая информация, уведомление и тексты размещаются также в информационной системе общего пользования - на официальном сайте Федерального агентства по техническому регулированию и метрологии в сети Интернет

Введение

Настоящий метод был разработан на основе метода Американского общества по испытаниям и материалам (ASTM), который, в свою очередь, основан на методе определения показателя термической защиты (TPI - thermal protective index), разработанном фирмой Дюпон. Он подвергся существенным изменениям по сравнению с предыдущими вариантами после широких межлабораторных испытаний, выполненных комитетом ISO/ТС 94/SC 13/WG2.

Передача тепла через одежду определяется в значительной степени ее толщиной, включая любые воздушные прослойки между различными слоями. Воздушные прослойки могут существенно изменяться на различных участках одежды одной и той же конструкции. Настоящий метод обеспечивает классификацию материалов, испытания которых проводились при стандартных условиях.

По сравнению с предыдущими вариантами в настоящий метод испытаний внесены следующие основные изменения:

a) Устранен воздушный зазор между обратной стороной опытного образца и калориметром. Было установлено, что такой зазор увеличивает все зарегистрированные значения, приводит к более широкому диапазону значений и искажает результаты испытаний по одним материалам больше, чем по другим.

b) Увеличены размеры испытуемых образцов, и определена масса установочной пластины. Установочная пластина используется для удержания на месте образца, который придавливается пластиной стандартной массы, что также ограничивает его усадку.

c) Метод определения передачи тепла кардинально упрощен, и введен термин «показатель передачи тепла (HTI)» (HTI - heat transfer index), чтобы избежать путаницы с показателем термической защиты (TPI) или с другими терминами, применявшимися в прежних вариантах данного испытания. Это изменение облегчает выполнение испытания и снижает вероятность математических ошибок при расчете результатов. Показатель передачи тепла обеспечивает классификацию материалов, но метод не подразумевает, что прошедший испытание материал обеспечивает какую-то определенную продолжительность защиты в реальных условиях применения.

d) От других методов крепления испытуемых образцов, например, с помощью зажимов или штырей, было решено отказаться, исходя из результатов межлабораторных испытаний из-за практических затруднений, которые, вероятно, привели к увеличению разброса результатов, полученных различными лабораториями.

e) При данном методе испытаний не проводят измерения продолжительности защиты, которую обеспечивает опытный материал. Защита, обеспечиваемая в реальных условиях пользования, варьируется в широких пределах в зависимости от интенсивности реального источника пламени и толщины одежды, включая промежуточные воздушные прослойки на участке, подвергшемся воздействию.

 

НАЦИОНАЛЬНЫЙ СТАНДАРТ РОССИЙСКОЙ ФЕДЕРАЦИИ

Система стандартов безопасности труда

ОДЕЖДА ДЛЯ ЗАЩИТЫ ОТ ТЕПЛА И ПЛАМЕНИ

Метод определения теплопередачи при воздействии пламени

Occupational safety standards system. Protective clothing against heat and flame.
Method for determination of heat transmission on exposure to flame

Дата введения - 2007-07-01

1 Область применения

Настоящий стандарт устанавливает метод сравнения теплопередачи через материалы или пакеты материалов, применяемые в защитной одежде. Материалы классифицируют по результатам вычисления показателя передачи тепла, который является оценкой относительной теплопередачи материалов при заданных условиях испытаний. Показатель передачи тепла не является мерой продолжительности защиты, обеспечиваемой испытанными материалами в реальных условиях использования.

2 Нормативные ссылки

В настоящем стандарте использованы нормативные ссылки на следующие стандарты:

ИСО 139:1973 Текстиль. Стандартные атмосферы для кондиционирования и испытаний

МЭК 584-1:1977 Термопары. Часть 1. Справочные таблицы

3 Термины и определения

В настоящем стандарте применены следующие термины с соответствующими определениями:

3.1 испытуемый образец (test specimen): Все слои ткани или других материалов (пакет материалов), расположенные так, как они используются на практике, включая, при необходимости, нательное белье.

3.2 плотность теплового потока (incident heat flux density): Количество энергии, поступающей за единицу времени на открытую лицевую поверхность образца, выраженное в киловаттах на квадратный метр (кВт/м2).

3.3 показатель передачи тепла (пламени) (heat transfer index (flame): Целое число, вычисляемое как среднеарифметическое значение продолжительности времени в секундах, необходимого для достижения подъема температуры на (24,0 ± 0,2) °C, при проведении испытания данным методом с использованием медного диска массой (18,00 ± 0,05) г при исходной температуре (25 ± 5) °C.

4 Сущность метода

Горизонтально расположенный испытуемый образец ограничен в движении и подвергается воздействию поступающего теплового потока плотностью 80 кВт/м2, создаваемого пламенем помещенной под ним газовой горелки. Тепло, проходящее через образец, измеряют с помощью небольшого медного калориметра, расположенного поверх образца и соприкасающегося с ним.

Регистрируют время в секундах, в течение которого температура калориметра поднимается на (24,0 ± 0,2) °C. За «показатель передачи тепла (пламени)» принимают среднее значение, рассчитанное по трем испытуемым образцам.

5 Испытательное оборудование

В состав испытательного оборудования входят:

- газовая горелка;

- медный дисковый калориметр;

- опорная рама для образца;

- установочная пластина калориметра;

- опорный штатив;

- соответствующие средства измерений;

- шаблон.

5.1 Газовая горелка

Следует использовать горелку типа «Мекер», «Fisher» модели 3-902Р (или другого подобного типа) с плоским верхом с отверстием в верхней части диаметром (38 ± 2) мм и форсункой, подходящей для сжигания пропана.

Горелка должна заправляться пропаном товарных сортов; поток газа контролируется клапаном тонкой регулировки и расходомером.

5.2 Медный дисковый калориметр, состоящий из медного диска, чистотой не менее 99 %, диаметром 40 мм, толщиной 1,6 мм и массой 18 г. До монтажа диск взвешивают на точных весах.

Медь-константановая термопара с выходным сигналом в милливольтах, соответствующая стандарту МЭК 584-1, монтируется на медный диск, как показано на рисунке 1. Константановый провод должен присоединяться к центру диска, а медный провод должен крепиться как можно ближе к краю диска, однако при этом он не должен мешать установке диска в блок. Диаметр обоих проводов должен составлять не более 0,26 мм, причем обнажается только часть проводов, присоединяемая к диску.

1 - константановый провод; 2 - медный провод

Примечание 1 - 2 мм £ х £ 5 мм, чтобы не препятствовать установке диска в монтажный блок; при этом провод должен располагаться как можно ближе к кромке.

Примечание 2 - Провода подсоединяются к диску мягким припоем в минимально возможном количестве.

Рисунок 1 - Калориметр

Калориметр размещается в монтажном блоке, который состоит из круглого куска негорючей теплоизолирующей пластины без асбеста диаметром 89 мм и номинальной толщиной 13 мм. Тепловые характеристики должны соответствовать следующим требованиям:

плотность (750 ± 50) кг/м3,

теплопроводность 0,18 Вт/(м · К) ± 10 %.

В центре монтажного блока вытачивается круглая полость для размещения диска и воздушного зазора, как показано на рисунке 2. Диск по окружности закрепляется клейкой лентой, выдерживающей температуру не менее 200 °C. Лицевая сторона медного диска должна быть на одном уровне с поверхностью монтажного блока. Она также покрывается тонким слоем оптически черной краски с коэффициентом поглощения a не менее 0,9 (см. приложение А).

Материал конструкции: Monolux 500 (термостойкие картоны) или его эквивалент

Рисунок 2 - Монтажный блок калориметра

5.3 Опорная рама образца, состоящая из квадратного листа меди с длиной стороны 150 мм и толщиной 1,6 мм. В центре рамы расположено квадратное отверстие с длиной стороны 50 мм (см. рисунок 3).

1 - медный лист

Рисунок 3 - Опорная рама для образца

5.4 Установочная пластина калориметра, изготовленная из квадратного листа алюминия с длиной стороны 149 мм и толщиной 6 мм с круглым отверстием диаметром 90 мм, расположенным по центру (см. рисунок 4). Масса пластины должна составлять (264 ± 13) г.

Рисунок 4 - Установочная пластина калориметра

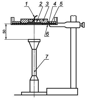
5.5 Опорный штатив, используемый для установки опорной рамы образца относительно горелки. Верхняя лицевая поверхность опорной рамы образца должна находиться на 50 мм выше верхней лицевой поверхности горелки и должна быть параллельна ей, причем ось горелки совмещается с центром отверстия в опорной раме (см. рисунок 5).

1 - провода термопары; 2 - калориметр; 3 - монтажный блок калориметра; 4 - установочная пластина калориметра;
5 - образец; 6 - опорная рама для образца; 7 - газовая горелка

Рисунок 5 - Опорный штатив

Для удобства между горелкой и опорной рамой образца рекомендуется помещать заслонку. Заслонка должна полностью открываться менее чем за 0,2 с и срабатывать немедленно после установки горелки в исходное положение. Эта заслонка полезна в том случае, если расположением горелки или отверстием в заслонке (при ее наличии) можно воспользоваться для автоматической регистрации начала воздействия тепла.

5.6 Регистрирующее устройство

Для определения абсолютной температуры медного диска термопару необходимо подсоединить к холодному или рекомендуемому свободному спаю. Сигнал напряжения от термопары должен поступать на соответствующий потенциометрический самописец или на программируемый регистратор данных.

Регистрирующее устройство должно считывать напряжения с погрешностью не более 10 мкВ и регистрировать время до 0,2 с.

5.7 Плоский жесткий шаблон размерами 140´140 мм.

6 Требования по обеспечению безопасной работы при испытаниях

Испытание проводят в помещении, оборудованном вытяжной или иной вентиляцией для удаления дымов. При испытании во избежание влияния на устойчивость пламени может потребоваться отвод отработанных продуктов или экранирование аппаратуры.

Во время испытания оборудование разогревается, и некоторые испытуемые материалы могут плавиться или образовывать капли. При работе с горячими предметами пользуются защитными перчатками.

Горючие материалы необходимо держать в стороне от горелки. Растворитель, применяемый для очистки калориметра, не должен находиться рядом с горячими поверхностями или вблизи открытого пламени.

7 Отбор образцов

7.1 Размеры образцов

Образцы размерами 140´140 мм вырезают из участков без дефектов, расположенных на расстоянии не менее 50 мм от кромки кусков материала. Пакеты материалов должны воспроизводить порядок расположения слоев при практическом использовании материалов.

Образец размечают с помощью шаблона (см. 5.7).

7.2 Число образцов

Испытания каждого материала или пакета материалов проводят не менее, чем на трех образцах.

8 Условия кондиционирования и испытаний

8.1 Условия кондиционирования

Перед проведением испытаний образцы выдерживают не менее 24 ч при температуре (20 ± 2) °C и относительной влажности (65 ± 2) % (см. ИСО 139). Если испытание не проводят сразу же после окончания кондиционирования, то кондиционированные испытуемые образцы помещают в герметичную емкость. Испытание каждого образца начинают не более чем через 3 мин с момента окончания кондиционирования или извлечения образца из герметичной емкости.

8.2 Условия испытаний

Испытания проводят при температуре от 10 °C до 30 °C и относительной влажности от 15 % до 80 %; сквозняки при этом недопустимы.

9 Проведение испытания

9.1 Подготовка и калибровка

9.1.1 Предварительные операции

Располагают опорную раму на опорном штативе таким образом, чтобы верхняя поверхность, на которой расположен образец, была выше верхней поверхности горелки на 50 мм. Рекомендуется использовать направляющие и стопорные приспособления, что позволит быстро установить горелку в нужное положение, при котором ее ось окажется совмещенной с центром образца.

Перемещают горелку на одну сторону, включают и зажигают подаваемый газ и ожидают несколько минут, пока пламя не стабилизируется.

Подсоединяют термопару к холодному спаю и подают сигнал выходного напряжения на регистрирующее устройство.

Перед каждым регулированием плотности поступающего теплового потока или испытанием образца температура медного диска должна находиться в относительно стабильном состоянии и не должна отличаться от комнатной температуры более чем на ± 2 °C. Охлаждение можно ускорить с помощью любого сухого, сильно охлажденного поглотителя тепла или принудительного воздушного потока. Помимо этого, многие калориметры можно вращать. Разогрева можно достичь, приложив ладонь руки к медному диску или подвергнув его на короткое время воздействию пламени горелки.

Примечание - Монтажный блок калориметра ни при каких обстоятельствах не должен соприкасаться с водой. При случайном попадании воды перед дальнейшим использованием блок необходимо полностью просушить.

9.1.2 Регулирование плотности поступающего теплового потока

Расход газа и заданные параметры горелки изменяются в зависимости от индивидуальной комбинации, и регулирования их параметров вместе или по отдельности будет необходима при начальной установке и периодически входе испытания. Необходимый тепловой поток достигается при пламени с четко выделяющимся стабильным голубым конусом, исходящим непосредственно от решетки горелки с большим рассеянным голубоватым пламенем над ним.

Заданные параметры пламени подтверждаются измерением плотности теплового потока с помощью калориметра.

Помещают установочную пластину калориметра на опорную раму для образца. Калориметр помещают в отверстие установочной пластины, обращая медный диск лицевой стороной вниз.

Выбирают требуемую скорость записи регистрирующего устройства и быстро и аккуратно передвигают горелку под калориметр, пока она не будет остановлена стопорным устройством. При наличии заслонки ее открывают (см. 5.5).

Горелка должна оставаться в этом положении около 10 с.

Удаляют горелку или закрывают заслонку.

Зарегистрированный во времени выходной сигнал должен иметь следующий вид: нелинейный участок кривой зависимости температуры от времени немедленно после начала воздействия пламени, после чего должен появиться линейный участок, продолжающийся до прекращения воздействия. Для определения скорости подъема температуры в градусах Цельсия в секунду на этом линейном участке следует обратиться к стандартным таблицам электродвижущей силы термопары. Плотность теплового потока Q, кВт/м2, вычисляют по формуле

                                                              (1)

где М - масса медного диска, кг;

сρ - удельная теплоемкость меди, равная 0,385 кДж/(кг · °C);

R - скорость подъема температуры диска на линейном участке, °C/с;

А - площадь диска, м2.

Плотность теплового потока, определенная данным методом, должна находиться в пределах ± 5 % от заданного значения 80 кВт/м2. При необходимости следует отрегулировать расход газа и повторять операцию до тех пор, пока не будут получены последовательно три значения, находящиеся в требуемых пределах.

9.2 Установка опытного образца

9.2.1 Располагают образец лицевой стороной наружного слоя вниз на опорную раму для образца (см. 5.3). Поверх образца помещают установочную пластину (см. 5.4).

9.2.2 Если образец состоит из нескольких слоев, и эти слои не прикреплены друг к другу, то необходимо снять установочную пластину, поместить каждый последующий слой в том порядке и ориентации, в котором они находятся в готовом изделии. Чтобы прижать каждый слой и обеспечить соприкосновение с предыдущим слоем, следует воспользоваться массой установочной пластины, не прибегая к дополнительным грузам.

9.2.3 После того, как уложен последний (самый внутренний) слой, необходимо вновь поместить на место установочную пластину и вставить калориметр в отверстие установочной пластины таким образом, чтобы медный диск оказался в соприкосновении с лицевой стороной наружного слоя.

9.3 Воздействие пламени на испытуемый образец

9.3.1 Быстро и аккуратно передвигают горелку в нужное положение. Если установлена заслонка, ее необходимо немедленно убрать из-под образца. Включают регистрирующее устройство одновременно с воздействием на образец пламени горелки или отмечают начало воздействия на уже работающем регистрирующем устройстве, в зависимости от применяемого оборудования.

9.3.2 Воздействие пламени на образец продолжают до тех пор, пока не будет достигнут подъем температуры на (24,0 ± 0,2) °C. Ведут наблюдение и отмечают любые изменения во внешнем виде образца во время испытания, например, усадку, обгорание, обугливание, образование отверстий, тление, плавление или капание. При наличии заслонки ставят ее на место и убирают горелку. Выключают регистрирующее устройство.

9.3.3 Снимают калориметр и счищают с него все продукты горения, пока он остается в горячем состоянии (см. раздел 6). Охлаждают до температуры окружающей среды с точностью ± 0,2 °C.

Если нагар, оставшийся на калориметре, имеет большую или неодинаковую толщину, если произошло разрушение черного покрытия или обнажилась медная поверхность, то диск калориметра необходимо очистить (см. приложение А) и покрасить заново (см. 5.2). Перед испытанием следующих образцов необходимо провести, как минимум, один калибровочный цикл (см. 9.1.2) для калориметра с новым покрытием.

9.3.4 Измеряют в секундах время подъема температуры в калориметре на (24,0 ± 0,2) °C (см. приложение С).

9.3.5 Проводят повторные испытания еще на двух образцах. Рассчитывают показатель передачи тепла как среднее значение времени подъема температуры на (24,0 ± 0,2) °C, округляя его до ближайшего целого числа.

Примечание - Существует также возможность измерить в секундах время подъема температуры на (12,0 ± 0,1) °C, что соответствует повышению выходного сигнала термопары на 0,5 мВ при использовании калориметра массой 18 г. Этим измерением можно воспользоваться для определения того, в какой степени задерживается или снижается передача тепла. Следует, однако, подчеркнуть, что измерения времени имеют при данном методе ограниченную точность и необязательно связаны с продолжительностью защиты в реальных условиях использования.

10 Протокол испытаний

Протокол испытаний должен содержать следующую информацию:

a) наименование испытательной лаборатории;

b) дату;

c) ссылку на настоящий стандарт;

d) идентификационный номер испытанных материалов;

e) описание испытанных материалов и испытательной установки, по возможности следует привести общепринятые названия материалов, массу на единицу площади, толщину в обычном состоянии и под нагрузкой установочной пластины калориметра;

f) время в секундах, необходимое для подъема температуры на 24 °C по каждому испытанному образцу, и показатель передачи тепла, рассчитанный на основе этих отдельных результатов;

g) время в секундах, необходимое для подъема температуры на 12 °C по каждому испытанному образцу, если это требуется;

h) описание любых изменений во внешнем виде образцов;

i) слова: «Данные результаты были получены методом испытаний, предназначенным исключительно для классификации материала, и необязательно применимы к реальным условиям воздействия огня».

Приложение A

(справочное)

Примеры материалов и устройств

Настоящая информация приведена для удобства пользователей настоящим стандартом и не должна рассматриваться как одобрение этой продукции со стороны Международной организации по стандартизации (ИСО). Другие фирмы-производители могут предложить такие же материалы.

Газовая горелка Fisher модели 3-902 Р (см. 5.1)

Fisher Scientific Company,

Mueller-Scherr,

711 Forbes Ave.,

Laborausruestungsgesellschaft m.b.H &

Co. KG

Pittsburg, PA 15219

Leopold-Hasner-Strasse 36,

USA

A-4020 Linz,

Austria

Изоляционный картон Monolux 500 (см. 5.2)

Cape Boards & Panels Ltd.

Iver Lane,

Uxbridge UB80 2JQ,

England

Черная краска (см. 5.2)

Nextel Velvet Coating Black 2010.

3M UK Ltd.

P.O. Box 38, Yeoman House,

63 Croydon Road,

Penge, London SE20 7TR,

England

Чистящая жидкость для калориметра (см. 9.3.3) - смесь трех объемных частей 1,1,1-трихлорэтана и объемной части эталона.

Средство для удаления краски (см. 9.3.3) - ацетон.

Приложение B

(справочное)

Форма отчета о результатах испытаний образцов

Испытания выполнены в соответствии с ГОСТ Р ИСО 9151-2007.

Испытательная лаборатория__________________________________________________

Ссылка (номер испытания)___________________________________________________

Дата______________________________________________________________________

Испытуемые материалы

Тип

Масса/единица площади, г/м2

Толщина, мм

без давления

под установочной пластиной

Слой 1 (наружный)

2

3

4

5

Результаты испытаний______________________________________________________

Падающий тепловой поток ____________________________________________кВт/м2

Образец

Время подъема температуры на 24 °C

1

2

3

Показатель передачи тепла

Оценка внешнего вида образца:

_________________________________________________________________________

_________________________________________________________________________

Данные результаты были получены методом испытаний, предназначенным исключительно для классификации материала, и необязательно применимы к реальным условиям воздействия огня.

Приложение C

(справочное)

Значение испытаний на теплопередачу

Показатель передачи тепла (HTI) обеспечивает возможность градации способности комплектов одежды задерживать передачу тепла от пламени. Он определяется временем (в секундах), необходимым для подъема температуры на 24 °C в заданных условиях испытаний, что соответствует повышению выходного сигнала термопары на (1 ± 0,01) мВ (± 10 мкВ) и общей передачи тепла на (132,3 ± 1,1) кДж/м2.

Передача тепла через одежду зависит от толщины комплекта одежды, включая любые воздушные прослойки. HTI определяется, когда образец прижимается стандартным грузом, чтобы свести к минимуму воздушные прослойки. Более толстая одежда обеспечивает повышенную защиту и дает более высокие показатели HTI, однако, в этом случае наблюдается большой разброс значений.

Показатель передачи тепла не следует воспринимать как время, в течение которого одежда будет обеспечивать защиту от воздействия пламени. В реальных условиях применения интенсивность пламени и сжатие одежды непостоянны и могут существенно отличаться от стандартных условий испытаний. Показатели мокрой одежды могут отличаться от показателей сухого испытуемого образца.

В 1989 году было проведено межлабораторное испытание 18 однослойных или многослойных образцов в пяти лабораториях. В ходе следующего межлабораторного испытания в 1991 г. в семи различных лабораториях были испытаны семь однослойных или многослойных образцов. На основе этого последнего испытания были выведены следующие показатели повторяемости и воспроизводимости соответственно:

- 0,19 + 0,055 (среднее значение);

- 1,21 + 0,12 (среднее значение).

Эксплуатационные характеристики материалов, прошедших эти испытания, можно разделить на пять областей, как показано в таблице С.1.

Из таблицы С.1 видно, как добавление дополнительных слоев ведет к росту значения HTI. Особенно эффективны толстые материалы, в частности, материалы, содержащие большее количество воздуха в прослойках. Предлагаемые пределы различных областей основаны на эксплуатационных характеристиках реальных материалов и обеспечивают допуск на различие в результатах, полученных в разных лабораториях.

Срединные точки каждой области выводятся из часто повторяющихся значений, а ширина области вдвое шире, чем воспроизводимость на основе этого срединного значения. Если уровни эксплуатационных характеристик заданы слишком близко к формальному значению, различные лаборатории дадут различные классификации.

В данной предлагаемой классификации любой испытуемый комплект, дающий результаты, находящиеся в пределах той или иной области, необходимо подвергнуть повторному испытанию. Классификация должна основываться как минимум на двух суммах результатов, попадающих в одну и ту же область. Комплекты, дающие результаты, находящиеся ниже уровня воспроизводимости для данной области, не следует считать существенно отличающимися между собой. Показатель передачи тепла (HTI) (24 - 12) можно определить в качестве дополнительного фактора в целях разграничения различных материалов. Однако на этот параметр также влияют низкая воспроизводимость и ошибки при округлении.

Таблица С.1 - Эксплуатационные характеристики материалов, прошедших испытания

Область

Пределы HTI

Типовая конструкция

Примечания

Воспроизводимость

1

3 - 6

Однослойная

Большинство однослойных тканей дает результаты 4 или 5

1,7

2

7 - 12

Двухслойная, толстая однослойная

Охватывает широкий диапазон обычной многослойной одежды

2,3

3

13 - 20

Трехслойная, толстая двухслойная

Специальная одежда для пожарных имеет HTI около 16

3,2

4

21 - 30

Очень толстая

Специальная теплозащитная одежда

4,3

5

³ 31

Чрезвычайно толстая

Весьма специальное применение

-

Приложение D

(справочное)

Сведения о соответствии национальных стандартов Российской Федерации
ссылочным международным стандартам

Таблица D.1

Обозначение ссылочного международного стандарта

Обозначение и наименование соответствующего национального стандарта

ИСО 139:1973

*

МЭК 584-1:1977

*

* Соответствующий национальный стандарт отсутствует. До его утверждения рекомендуется использовать перевод на русский язык данного международного стандарта, который находится в Федеральном информационном фонде технических регламентов и стандартов.

 

Ключевые слова: средство индивидуальной защиты, защитная одежда, защита от тепла, защита от пламени, сопротивляющиеся теплу материалы, сопротивляющиеся огню материалы, регистрация, испытания, тепловые испытания, пламя, измерение, передача тепла, показатель передачи тепла

СОДЕРЖАНИЕ

1. Область применения. 3

2. Нормативные ссылки. 3

3. Термины и определения. 3

4. Сущность метода. 3

5. Испытательное оборудование. 3

6. Требования по обеспечению безопасной работы при испытаниях. 6

7. Отбор образцов. 6

8. Условия кондиционирования и испытаний. 7

9. Проведение испытания. 7

10. Протокол испытаний. 9

Приложение А. Примеры материалов и устройств. 9

Приложение B. Форма отчета о результатах испытаний образцов. 10

Приложение C. Значение испытаний на теплопередачу. 10

Приложение D. Сведения о соответствии национальных стандартов Российской Федерации ссылочным международным стандартам.. 12