|
ФЕДЕРАЛЬНОЕ
АГЕНТСТВО |
||
|
|
НАЦИОНАЛЬНЫЙ |
ГОСТ Р (МЭК 62059-21: |
АППАРАТУРА ДЛЯ ИЗМЕРЕНИЯ
ЭЛЕКТРИЧЕСКОЙ ЭНЕРГИИ.
НАДЕЖНОСТЬ
Часть 21
Сбор данных о надежности
счетчиков в условиях
эксплуатации
IEC
62059-21:2002
Electricity metering equipment. Dependability - Part 21: Collection of meter
dependability data from the field
(MOD)
![]()
Москва
Стандартинформ
2007
Предисловие
Цели и принципы стандартизации в Российской Федерации установлены Федеральным законом от 27 декабря 2002 г. № 184-ФЗ «О техническом регулировании», а правила применения национальных стандартов Российской Федерации - ГОСТ Р 1.0-2004 «Стандартизация в Российской Федерации. Основные положения»
Сведения о стандарте
1 РАЗРАБОТАН ОАО «НИИ Электромера», ОАО «Ленинградский электромеханический завод» на основе аутентичного перевода стандарта, выполненного ОАО «НИИ Электромера», указанного в пункте 4
2 ВНЕСЕН Техническим комитетом по стандартизации ТК 232 «Аппаратура для измерения электрической энергии и контроля нагрузки»
3 УТВЕРЖДЕН И ВВЕДЕН В ДЕЙСТВИЕ Приказом Федерального агентства по техническому регулированию и метрологии от 29 марта 2007 г. № 57-ст
4 Настоящий стандарт является модифицированным по отношению к международному стандарту МЭК 62059-21:2002 «Аппаратура для измерения электрической энергии. Надежность. Часть 21. Сбор данных о надежности счетчиков в условиях эксплуатации» (IEC 62059-21:2002 Electricity metering equipment. Dependability. Part 21. Collection of meter dependability data from the field»). При этом дополнительные и измененные положения, включенные в текст стандарта для учета потребностей национальной экономики Российской Федерации и/или особенностей российской национальной стандартизации, выделены курсивом.
Настоящий стандарт дополнен приложением C для учета потребностей национальной экономики Российской Федерации
5 ВВЕДЕН ВПЕРВЫЕ
Информация об изменениях к настоящему стандарту публикуется в ежегодно издаваемом информационном указателе «Национальные стандарты», а текст изменений и поправок - в ежемесячно издаваемых информационных указателях «Национальные стандарты». В случае пересмотра (замены) или отмены настоящего стандарта соответствующее уведомление будет опубликовано в ежемесячно издаваемом информационном указателе «Национальные стандарты». Соответствующая информация, уведомление и тексты размещаются также в информационной системе общего пользования - на официальном сайте Федерального агентства по техническому регулированию и метрологии в сети Интернет
СОДЕРЖАНИЕ
НАЦИОНАЛЬНЫЙ СТАНДАРТ РОССИЙСКОЙ ФЕДЕРАЦИИ
|
АППАРАТУРА ДЛЯ ИЗМЕРЕНИЯ
ЭЛЕКТРИЧЕСКОЙ ЭНЕРГИИ. Часть 21 Сбор данных о надежности счетчиков в условиях эксплуатации Electricity metering equipment. Dependability. |
Дата введения - 2008-01-01
Настоящий стандарт распространяется на электромеханическую и статическую аппаратуру, предназначенную для измерения электрической энергии и управления нагрузкой (далее - аппаратура).
Настоящий стандарт устанавливает методы сбора и анализа данных об отказах при эксплуатации аппаратуры с использованием отчетов об отказах аппаратуры в процессе эксплуатации и планов выборочного контроля.
В настоящем стандарте приводятся определения сложности аппаратуры и классификации отказов для получения возможности сравнения результатов анализа данных об отказах. Форма отчета об отказах приведена в приложении А.
В настоящем стандарте использованы ссылки на следующие стандарты:
ГОСТ Р 52555-2006 Аппаратура для измерения электрической энергии. Надежность. Часть 11. Общие положения (МЭК 62059-11:2002, MOD)
ГОСТ 27.002-89 Надежность в технике. Основные понятия. Термины и определения
ГОСТ 25990-83 Счетчики электрические активной энергии класса точности 2,0. Приемочный контроль
Примечание - При пользовании настоящим стандартом целесообразно проверить действие ссылочных стандартов на официальном сайте Федерального агентства по техническому регулированию и метрологии в сети Интернет или по ежегодно издаваемому указателю «Национальные стандарты», который опубликован по состоянию на 1 января текущего года, и по соответствующим ежемесячно издаваемым информационным указателям, опубликованным в текущем году. Если ссылочный стандарт заменен (изменен), то при пользовании настоящим стандартом следует руководствоваться замененным (измененным) стандартом. Если ссылочный стандарт отменен без замены, то положение, в котором дана ссылка на него, применяется в части, не затрагивающей эту ссылку.
В настоящем стандарте применены термины и определения в соответствии с [1] и [2], а также следующие термины с соответствующими определениями.
3.1 категория: Класс или группа объектов, обладающих одними и теми же общими качественными характеристиками.
3.2 классификация: Систематизированное размещение объектов по категориям с учетом одного или нескольких критериев классификации.
3.3 надежность: Собирательный термин, характеризующий готовность изделия к качественному функционированию в целом, и перечень факторов, влияющих на нее: безотказность работы, ремонтопригодность и качество проведения технического обслуживания.
[1], позиция 191-02-03.
Надежность: Свойство изделия сохранять во времени в установленных пределах значения всех параметров, характеризующих способность выполнять требуемые функции в заданных режимах и условиях применения, технического обслуживания, хранения и транспортирования (см. ГОСТ 27.002).
Примечание - Термин «надежность» используют только для общих описаний без количественной оценки.
3.4 отказ: Нарушение способности изделия выполнять требуемую функцию.
Примечания
1. Термин «отказ» характеризует результат функционирования, в отличие от термина «неисправность», который характеризует состояние изделия.
2. После отказа изделие находится в неисправном состоянии.
3. Это положение не относится к изделиям, включающим в себя только программное обеспечение, так как у таких изделий допускается появление сбоев.
[1], позиция 191-04-01.
Замечание - Функциональный отказ может быть определен как неспособность любого изделия соответствовать требуемым характеристикам качества функционирования.
3.5 максимальная допускаемая погрешность в процессе эксплуатации mpes: Предельное значение погрешности для конкретного измерительного прибора при его эксплуатации, допускаемое требованиями нормативных документов на конкретный измерительный прибор.
3.6 безотказность: Вероятность того, что изделие может выполнять требуемую функцию при данных условиях в течение интервала времени t1, t2.
Примечания
1. Предполагается, что изделие в состоянии выполнять требуемую функцию с начала рассматриваемого интервала времени.
2. Термин «безотказность» используют также при определении ожидаемого качества функционирования.
[1], позиция 191-12-01.
3.7 срок службы: При заданных условиях - интервал времени от заданного момента времени и до момента, когда интенсивность отказов изделия становится неприемлемой или когда изделие рассматривают как не подлежащее ремонту в результате неисправности.
[1], позиция 191-10-06.
3.8 средний срок службы: Математическое ожидание срока службы (см. ГОСТ 27.002).
В процессе контроля надежности аппаратуры определяют тип оцениваемой аппаратуры и подходящую совокупность, из которой отбирают изделия. См. [3], пункты 5.2.1 и 7.1.
Настоящий стандарт охватывает широкий круг электромеханической и статической аппаратуры, используемой при измерении электрической энергии - от простых переключателей по времени до сложных счетчиков, предназначенных для измерения электрической энергии разных видов, и многотарифных счетчиков. Для формирования однородной совокупности изделий в настоящем стандарте приводится классификация аппаратуры.
На безотказность конкретного класса аппаратуры влияют ее сложность, технология и производственные процессы, используемые при ее производстве.
Кроме того, влияние условий окружающей среды на аппаратуру зависит от ее конструкции. Отличия в конструкции аппаратуры могут приводить к различиям в значениях показателей безотказности для устройств, выполняющих одну и ту же функцию. Поэтому при оценке безотказности должна учитываться внутренняя структура самой аппаратуры.
Функции аппаратуры можно классифицировать как:
- связанные с составлением счетов, например измерительная функция, управление и импульсный вход, контроль тарифов, сохранение информации о составлении счетов;
- не влияющие на составление счетов, но необходимые для пользователя, например представление вспомогательной информации;
- вспомогательные, например дистанционное программирование, дистанционное считывание и вывод информации для потребителя электрической энергии и другие измерения, такие как измерения мгновенных значений или качества поставляемой электрической энергии, когда они не являются частью процесса составления счетов.
Данная классификация основана на функциональных возможностях аппаратуры, поэтому изменения в ее конструкции не принимаются во внимание.
Классификация является простой, с использованием только нескольких определяемых категорий. С другой стороны, следует обратить внимание на то, чтобы при группировании изделий с различными функциями для получения однородной совокупности результаты собранных эксплуатационных данных можно было бы сравнивать с требованиями по безотказности. Исходя из этого, определены следующие классы аппаратуры по степени сложности, приведенные в таблице 1.
Таблица 1 - Классификация аппаратуры по степени сложности
|
Описание аппаратуры |
Обозначение сложности аппаратуры |
|
|
Базовая |
Счетчики без устройств внутренней тарификации или контроля нагрузки, с импульсным выходом или без него, с оптическим портом связи или без него. Переключатели по времени и приемники дистанционного управления |
А |
|
Для измерения электрической энергии разных видов |
Счетчики, измеряющие более одного вида электрической энергии, с импульсным выходом или без него, с оптическим портом связи или без него |
В |
|
Многофункциональная |
Базовые счетчики или счетчики, измеряющие электрическую энергию разных видов, в дополнение к базовым метрологическим функциям обладающие такими функциями, как регистрация максимума, регистрация времени пользования, тарификация и/или контроль нагрузки; переключатели по времени или приемники дистанционного управления, многотарифные счетчики, с различным профилем нагрузки, с интерфейсами. |
С |
|
Счетчики с дополнительными функциями |
Счетчики с другими функциональными блоками, например PLC, радио или телефонная связь, устройства для чтения платежных карточек и т.д. |
D |
|
Примечание - Обозначения класса аппаратуры приведены для использования в форме отчета об отказе, представленной в приложении А. |
||
Спецификация и классификация условий эксплуатации аппаратуры приведены в таблице 2.
Таблица 2 - Условия эксплуатации
|
Спецификация аппаратуры |
Обозначение условий эксплуатации аппаратуры |
|
|
Тип сети, в которой используется аппаратура |
Подземная |
R 01 |
|
Надземная |
R 02 |
|
|
Воздушно-проводная |
R 03 |
|
|
Другие |
R 99 |
|
|
Место размещения аппаратуры |
Внутри помещения |
I 01 |
|
Вне помещения |
I 02 |
|
|
Пластмассовый шкаф |
I 03 |
|
|
Металлический шкаф |
I 04 |
|
|
Другие |
I 99 |
|
|
Специальные условия окружающей среды |
Отмечают дополнительно |
А 01 |
Возможные основания для замены аппаратуры указаны в таблице 3.
Таблица 3 - Начальное обнаружение неисправностей
|
Описание неисправности |
Обозначение неисправности |
|
|
Необнаруженная неисправность |
Отсутствие внешнего проявления неисправности или повреждения |
NF |
|
Физическое повреждение |
Корпус поврежден, изоляция нарушена или отсутствует и т.д. |
PD |
|
Обнаруженная неисправность |
Отмечают дополнительно |
FD |
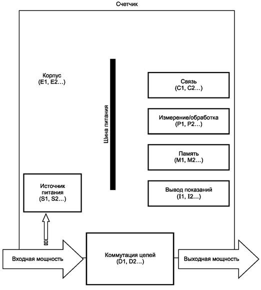
Зная функциональные характеристики аппаратуры, можно планировать минимальную группу основных ее функций. Схематическое представление счетчика на основе функциональных блоков статического счетчика приведено в приложении B. Структурная схема электромеханического счетчика приведена в приложении C. Отказы аппаратуры следует классифицировать в соответствии с таблицей 4.
Таблица 4 - Классификация отказов - функциональный уровень
|
Описание функции аппаратуры |
Обозначение отказа |
|
|
Связь |
Обмен информацией между потребителем/обслуживающей организацией и счетчиком, например передача признака оплаты, доступ к счетным механизмам, регистрам счетчика, дистанционный обмен данными, входной/выходной импульсы, испытательный выход |
C |
|
Измерение/обработка |
Измерение и обработка, например обработка и сбор сигналов, реализация программных средств |
P |
|
Память |
Запоминание данных счетчиков, например счетная схема потребления, счетная схема кредитов |
M |
|
Вывод показаний |
Элементы индикации интерфейса пользователя, например светоизлучающие диоды (СИД), жидкокристаллический (ЖК) дисплей, устройство звуковой сигнализации/зуммер, счетный механизм электромеханического счетчика |
I |
|
Коммутация цепей |
Функции, которые связаны с подачей питания, например управление нагрузкой, шины и клеммные соединения/колодки |
D |
|
Корпус |
Корпус счетчика, место установки печатной платы, светодиодов СИД, ЖК окна, счетного механизма, измерительного блока, щитка, фирменная табличка или крышка |
Е |
|
Источник питания |
Источник питания для выполнения всех функций. Содержит элементы защиты от повышенных напряжений |
S |
|
Примечания 1. Цель классификации отказов заключается в том, чтобы классифицировать отказы посредством увязки его только с одной функцией, т.е. выбирают наиболее очевидную функцию при исключении других возможных. Детальный анализ отказов, проводимый обслуживающей организацией, изготовителем или третьей стороной, может привести к пересмотру выбора аппаратуры. Если отказ может быть связан более чем с одной функцией, он должен быть представлен как два или более отказов и его классифицируют отдельно. 2. Выбор числа функций не следует смешивать с выбором числа подсистем: типичная функция может подразумевать одну или более подсистем. 3. Классификация второго уровня, т.е. число отказов с понятным кратким описанием каждого отказа, могла бы использоваться совместно с обозначением отказа, представленного в таблице 4, т.е. с обозначением отказа первого уровня. Примеры: Р1: Счетчик выходит за пределы mpes; Р2: Блокировка процессора (неопределенное состояние программного обеспечения). S1: Счетчик полностью неработоспособен; S2: Все СИД и ЖК не работают. С1: Клавиша «6» клавиатуры не регистрирует; С2: Невозможность дистанционного считывания показаний; С3: Отказ испытательного выхода. |
||
Отказы аппаратуры классифицируют как характерные и нехарактерные. Для оценки безотказности аппаратуры будут использоваться только характерные отказы. К нехарактерным отказам аппаратуры относятся отказы:
- вызываемые ошибками человека, например:
повреждением аппаратуры при установке,
несчастным случаем или неправильным обращением с аппаратурой;
- обусловленные внешними приложенными чрезмерными нагрузками, превышающими установленные требования по проведению испытаний (в том числе отказы из-за несанкционированного вмешательства);
- отчеты о которых неправильны и не могут быть подтверждены впоследствии;
- вызываемые нарушением нормальных рабочих настроек, указанных в руководствах по эксплуатации на аппаратуру конкретного типа.
Об отказе аппаратуры не сообщается в случае ее вторичных отказов, непосредственно вызываемых характерными или нехарактерными первичными отказами. Следует показать, что вторичные отказы зависят от первичного отказа. Зависимый отказ аппаратуры - это отказ, который может вызываться отказом связанного с ним элемента.
Проведение детального анализа отказов аппаратуры на элементном уровне возлагается на изготовителя конкретной аппаратуры, т.е. установление причины отказа (а именно, какой элемент аппаратуры отказал). Кроме того, классификация на «общепонятном языке» являлась бы меньшим компромиссом для изготовителей, т.к. степень детализации отказов была бы утрачена ввиду значительных отличий в уровне технологии, конструкции и стоимости материалов.
Однако основная причина отказа аппаратуры может быть связана с очень небольшим числом взаимоисключающих, универсально применимых обозначений, которые можно распределять по группам, определяемым стороной, несущей ответственность за безотказность аппаратуры (изготовитель или обслуживающая организация /поставщик электрической энергии/ оператор, обслуживающий счетчики) или прочими причинами, обычно представляющими собой предельные значения параметров, выходящие за рамки спецификации/стандарта, при которых ни одна из сторон не может нести ответственность за безотказность аппаратуры.
После получения информации от изготовителя счетчиков в тех случаях, когда это необходимо, определяют основную причину отказа на основе установления ответственности сторон, используя таблицу 5.
Таблица 5 - Основная причина отказов
|
Сторона, ответственная за безотказность аппаратуры; другие причины отказа |
Основная причина отказа |
Обозначение причины отказа |
|
Изготовитель |
Ошибка проектирования |
М01 |
|
Нарушение технологии производства |
М02 |
|
|
Качество комплектующих |
М03 |
|
|
|
|
|
|
Другие (описать) |
М99 |
|
|
Обслуживающая организация; поставщик электрической энергии; оператор, обслуживающий счетчики |
Неправильная установка |
U01 |
|
Не соответствующие требованиям спецификации/стандарта на аппаратуру конкретного типа |
U02 |
|
|
Неправильное применение счетчика (аппаратных/программных средств) |
U03 |
|
|
Попытка неправильного обращения |
U04 |
|
|
Невыполнение калибровок/поверок |
U05 |
|
|
Необнаружение неисправности |
U06 |
|
|
|
|
|
|
Другие (описать) |
U99 |
|
|
Другие причины отказа |
Грозовой разряд |
Х01 |
|
Вода (затопление) |
Х02 |
|
|
Пожар |
Х03 |
|
|
Электромагнитные явления, не отраженные в спецификации |
Х04 |
|
|
Старение/дрейф элементов |
Х05 |
|
|
Случайный отказ элементов |
Х06 |
|
|
|
|
|
|
Предельные значения других параметров, не вошедших в спецификацию |
Х99 |
|
|
Примечания 1. Добавление понятного краткого описания причины отказа (сообщаемого изготовителем) к обозначению, приведенному в таблице 5, является необязательным, но в некоторых случаях полезным. Примеры: М 02: Очень коротко обрезан вывод конденсатора С14 - плохо спаянное соединение. U 05: Снижение точности за 12 лет - требуется повторная сертификация. М 03: Поставщик использовал не те материалы, которые требовались. М 03: Элемент не включен в спецификацию. U 02: В спецификации предусматривался пункт о перенапряжении (400 В). 2. Группы обозначений, приведенные в таблице 5 (М01 - М03 и U01 - U06), считаются исчерпывающими и полными и, следовательно, соответствуют «общепонятному языку». Тем не менее, включение позиции «другие (описать)», т.е. обозначения М99 и U99, предусматривает возможность того, что информация от пользователей настоящего стандарта может в результате привести к появлению дополнительных обозначений. |
||
Характерные отказы аппаратуры не всегда одинаковы по степени важности или критичности для заинтересованных сторон, ожидающих их. Например, потребители электрической энергии озабочены только отказами, связанными с подачей электрической энергии, правильностью составления счетов и исправностью выходов счетчика для контроля нагрузки. Обслуживающие организации, кроме того, могут интересовать отказы, связанные с коммуникациями и дополнительными измерительными функциями. Законодательные органы могут интересовать только точность счетчика и вероятное время отказа.
В компетенцию заинтересованных сторон входит классификация функций и отказов аппаратуры с точки зрения критичности для предполагаемой ее эксплуатации. Следовательно, для оценки отказов с точки зрения их критичности должны быть ясно и точно определены цели аппаратуры.
Определения критических, существенных и несущественных отказов аппаратуры по [4], приложение B, кажутся не совсем подходящими для этой цели, так как критичность отказа относится только к одной функции, в то время как для счетчиков требуется оценить относительную важность различных функций, выполняемых счетчиком в их взаимосвязи.
Например, функция «электропитание счетчика» всегда будет классифицироваться как «критическая», потому что она влияет на регистрацию электрической энергии и, следовательно, на составление счетов для потребителя. Отказ типа «Вывод показаний» счетчика может классифицироваться как «критический», если дисплей (например в бытовом счетчике) является единственным средством получения информации для составления счета для потребителя, но может быть классифицирован как «несущественный», если данные для составления счетов собираются с помощью других средств, таких как дистанционное считывание, при условии, что целостность данных не нарушена.
Классификация критичности отказов, влияющих на счетчики при их эксплуатации, приведена в таблице 6.
Таблица 6 - Критичность отказов
|
Описание отказа |
Обозначение отказа |
|
|
Критический отказ |
Отказ, влияющий на составление счетов любым способом (например, отказ источника питания счетчика, счетчик не соответствует его классу точности или законодательным требованиям, неправильно вычислено время пользования или максимального потребления) |
C1 |
|
Существенный отказ |
Отказ, влияющий на сбор данных для составления счетов (нарушение связи) или данных, предоставляемых конечному потребителю для контроля потребления электрической энергии |
C2 |
|
Несущественный отказ |
Ложные тревоги, отказ в выводе показаний, когда данные для составления счетов собираются другими средствами связи, незначительный механический отказ |
C3 |
Сбор данных об отказавших счетчиках, рассмотренный в настоящем стандарте, может быть недостаточным для удовлетворения всех потребностей заинтересованных сторон. Поскольку счетчики работают в течение длительных периодов времени без обслуживания, отказы счетчиков могут обнаруживаться намного позже их возникновения. Кроме того, некоторые типы отказов (например, выход погрешности за допускаемые пределы) могут быть неочевидны. В общем случае не все отказы могут быть легко обнаружены вовремя.
Поэтому рекомендуется структурированный выборочный контроль счетчиков в процессе эксплуатации.
Две системы сбора данных - сбор данных о неисправных счетчиках и структурированный выборочный контроль - дополняют друг друга.
Метод, описанный в подразделе 10.2, учитывает все экономические и физические ограничения, приведенные в [5].
Для того чтобы сделать значимые выводы относительно поведения и функционирования аппаратуры, исходя из ее надежности, проводят репрезентативную выборку из планируемой совокупности изделий. Выборочный контроль проводят по качественным характеристикам в соответствии с планом выборочного контроля, приведенного в [6]; общий уровень контроля II, план двойного выборочного контроля при нормальном контроле. Приемлемый уровень качества (AQL) следует согласовать с заинтересованными сторонами.
Серию испытаний проводят в соответствии с [7], как определено в 10.2.3 настоящего стандарта, и ГОСТ 25990.
10.2.1. Условия испытаний
Условия испытаний - в соответствии с [7], пункты 7.1 Нормальные условия и 7.3 Счетчик закрыт и опломбирован.
10.2.2. Погрешность измерений
Измерительные приборы и другое оборудование, используемые для испытаний, должны быть такими, чтобы общая погрешность измерений не превышала пределов, указанных в [7], пункт 7.2.
Для других классов точности общую погрешность измерений выбирают адекватно указанной в настоящем пункте.
Испытания следует проводить в соответствии с [7]:
- пункт 8.5 Проверка точности (см. 10.2.4);
- пункт 8.3 Испытание без нагрузки на самоход;
- пункт 8.4 Испытание на порог чувствительности.
Проверку требований по точности для однофазных и многофазных счетчиков проводят при значениях тока и значениях коэффициента мощности, приведенных в таблице 7.
Таблица 7 - Проверка точности счетчиков
|
Коэффициент мощности |
Пределы погрешности |
|
|
0,05Ib или 0,05Iном |
1 |
mpes |
|
Ib или Iном |
1 |
mpes |
|
Ib или Iном |
0,5 (при индуктивной нагрузке) |
mpes |
|
Imax |
1 |
mpes |
Проверку требований по точности счетчиков проводят в соответствии с нормативными документами на счетчики конкретного типа.
10.2.5. Формирование выборки
Выборку формируют случайным образом, либо использованием случайной последовательности, либо любым другим способом, наиболее предпочтительным с экономической точки зрения. Отобранные счетчики, не принадлежащие к рассматриваемой совокупности, заменяют посредством нового случайного отбора.
10.2.6. Периодичность выборки
При введении нового типа аппаратуры ее работу нужно тщательно контролировать, используя отчеты об отказах. Если из отчетов видно, что существует проблема в части безотказности аппаратуры, должно быть проведено выборочное испытание на соответствующем числе образцов.
Следует также провести выборочное испытание не позднее чем через период времени, равный половине среднего срока службы аппаратуры, а также в последний год ее службы.
Обозначения для идентификации источников информации об отказах аппаратуры приведены в таблице 8.
Таблица 8 - Источники информации об отказах
|
Обозначение источника информации |
|
|
Испытания (проводимые обслуживающими организациями) изделий, доставляемых на склады (приемочные испытания), которые не входят в оценку качества функционирования при эксплуатации |
А |
|
Внеплановые проверки в условиях эксплуатации (выборочные испытания) |
В |
|
Плановые и инспекционные испытания в условиях эксплуатации (функционирование в условиях эксплуатации) |
С |
|
Контролеры или обслуживающий персонал |
D |
|
Информация по счетам/статистические данные о потреблении электрической энергии и ее изменения |
Е |
|
Испытания по запросам потребителей |
F |
|
Источник |
Описание |
Поле данных |
Длина |
Пример |
|
Контролер счетчиков (обслуживающая организация) |
Общая информация (обслуживающая организация, телефон, адрес, отдел счетчиков ...) |
|
30 |
|
|
Дата обнаружения отказа (гггг-мм-дд) |
|
10 |
1998-05-12 |
|
|
Серийный номер счетчика |
|
20 |
732-9612345 |
|
|
Местонахождение счетчика/заказчика |
|
40 |
a - город, b - улица, c - заказчик... |
|
|
Рабочие условия (см. таблицу 2) |
|
|
|
|
|
- тип сети |
|
3 |
R02 - надземная |
|
|
- тип установки |
|
3 |
I02 - вне помещения |
|
|
- особые внешние условия |
|
3 |
А01 - отметить дополнительно |
|
|
Начальное обнаружение (см. таблицу 3) |
|
2 |
PD - физическое повреждение |
|
|
Обслуживающая организация |
Тип и техническая информация |
|
30 |
Счетчик типа X 3 ´ 230/400 В, 5//1 А |
|
Год производства (гггг) |
|
4 |
1996 |
|
|
Дата сертификации (гггг-мм) |
|
7 |
1997-03 |
|
|
Дата установки (гггг-мм-дд) |
|
10 |
1997-05-12 |
|
|
Производитель/изготовитель |
|
30 |
Производитель xyz |
|
|
Номер партии (внутренняя классификация для выборочных испытаний) yyyy-zzzz |
|
15 |
1996-abcd-xyz |
|
|
Классификация сложности аппаратуры по степени сложности (см. таблицу 1) |
|
1 |
С - многофункциональный счетчик |
|
|
Отказ |
||||
|
Классификация отказов (см. таблицу 4) |
|
1 |
С - связь |
|
|
Основная причина отказа (см. таблицу 5) |
|
3 |
М03 - проблема качества элемента |
|
|
Критичность отказа (см. таблицу 6) |
|
2 |
С3 - несущественный отказ |
|
|
Источник информации (см. таблицу 8) |
|
1 |
D - обслуживающий персонал |
|
|
Производитель |
Причина дефекта |
|
30 |
|
|
Дефект устройства/изделия |
|
30 |
Дефектное изделие |
|
|
Другие отметки |
|
50 |
|
|

Рисунок В.1 - Схема счетчика на основе функциональных блоков

Рисунок С.1 - Структурная схема электромагнитного счетчика
|
МЭК 60050 (191):1990 |
Международный электротехнический словарь (МЭС). Глава 191. Надежность и качество обслуживания |
|
|
|
(IEC 60050 (191):1990) |
(International Electrotechnical Vocabulary (IEV) - Chapter 191: Dependability and quality of service) |
|
МЭК TO 62051:1999 |
Измерение электрической энергии. Словарь терминов |
|
|
|
(IEC TR 62051:1999) |
(Electricity metering - Glossary of terms) |
|
МЭК 60605-1:1978 |
Испытание аппаратуры на надежность. Часть 1. Общие требования. Изменение 1 (1982) |
|
|
|
(IEC 60605-1:1978) |
Equipment reliability testing - Part 1: General requirements Amendment 1 (1982)] |
|
МЭК 60812:1985 |
Техника анализа надежности систем. Метод анализа вида и последствий отказов |
|
|
|
(IEC 60812:1985) |
Analysis techniques for system reliability-Procedure for failure mode and effects analysis (FMEA)] |
|
МЭК 60300-3-2:1993 |
Управление надежностью. Часть 3. Руководство по применению. Раздел 2. Сбор данных по надежности в условиях эксплуатации |
|
|
|
(IEC 60300-3-2:1993) |
(Dependability management - Part 3: Application guide - Section 2: Collection of dependability data from the field) |
|
МЭК 60410:1973 |
Правила и планы выборочного контроля по качественным характеристикам |
|
|
|
(IEC 60410:1973) |
(Sampling plans and procedures for inspection by attributes) |
|
МЭК 61358:1996 |
Счетчики ватт-часов переменного тока статические с прямым подсоединением (классы 1 и 2). Приемочный контроль |
|
|
|
(IEC 61358:1996) |
Acceptance inspection for direct connected alternating current static watt-hour meters for active energy (classes 1 and 2)] |
|
Ключевые слова: аппаратура, электромеханические счетчики, статические счетчики, измерение электрической энергии, надежность, сбор данных |