Electrical installations of buildings. Part 7-710. Requirements for special electrical installations. Medical locations

ФЕДЕРАЛЬНОЕ АГЕНТСТВО
ПО ТЕХНИЧЕСКОМУ РЕГУЛИРОВАНИЮ И МЕТРОЛОГИИ

НАЦИОНАЛЬНЫЙ
СТАНДАРТ
РОССИЙСКОЙ
ФЕДЕРАЦИИ

ГОСТ Р
50571.28-
2006

(МЭК 60364-7-710:
2002)

Электроустановки зданий

Часть 7-710

ТРЕБОВАНИЯ К СПЕЦИАЛЬНЫМ
ЭЛЕКТРОУСТАНОВКАМ

Электроустановки медицинских помещений

IEC 60364-7-710:2002
Electrical installations of buildings.
Part 7-710: Requirements for special installations or locations.
Medical locations (MOD
)

Москва

Стандартинформ

2007

Предисловие

Цели и принципы стандартизации в Российской Федерации установлены Федеральным законом от 27 декабря 2002 г. № 184-ФЗ «О техническом регулировании», а правила применения национальных стандартов Российской Федерации - ГОСТ Р 1.0-2004 «Стандартизация в Российской Федерации. Основные положения»

Сведения о стандарте

1 ПОДГОТОВЛЕН Рабочей группой специалистов Всероссийского научно-исследовательского института по стандартизации и сертификации в машиностроении (ВНИИНМАШ) и Московского института энергобезопасности и энергосбережения (МИЭЭ) при участии специалистов Общества с ограниченной ответственностью «Завод электрощитового оборудования» на основе собственного аутентичного перевода стандарта, указанного в пункте 4

2 ВНЕСЕН Техническим комитетом по стандартизации ТК 337 «Электроустановки зданий»

3 УТВЕРЖДЕН И ВВЕДЕН В ДЕЙСТВИЕ Приказом Федерального агентства по техническому регулированию и метрологии от 27 декабря 2006 г. № 413-ст

4 Настоящий стандарт является модифицированным по отношению к международному стандарту МЭК 60364-7-710:2002 «Электроустановки зданий. Часть 7-710. Требования к специальным электроустановкам. Электроустановки медицинских помещений» (IEC 60364-7-710:2002 «Electrical installations of buildings. Part 7-710: Requirements for special installations or locations. Medical locations»). При этом дополнительные положения и требования, включенные в текст стандарта для учета национальных особенностей в практике проектирования и устройства электроустановок медицинских помещений и особенностей национальной стандартизации, выделены в тексте курсивом

5 ВВЕДЕН ВПЕРВЫЕ

Информация об изменениях к настоящему стандарту публикуется в ежегодно издаваемом информационном указателе «Национальные стандарты», а текст изменений и поправок - в ежемесячно издаваемых информационных указателях «Национальные стандарты». В случае пересмотра (замены) или отмены настоящего стандарта соответствующее уведомление будет опубликовано в ежемесячно издаваемом информационном указателе «Национальные стандарты». Соответствующая информация, уведомление и тексты размещаются также в информационной системе общего пользования - на официальном сайте Федерального агентства по техническому регулированию и метрологии в сети Интернет

Содержание

710 Медицинские помещения. 4

710.1 Область применения. 4

710.2 Нормативные ссылки. 5

710.3 Термины и определения. 5

710.30 Основные характеристики. 6

710.31 Источники питания и построение системы.. 6

710.313 Электроснабжение. 7

710.4 Защитные меры электробезопасности. 7

710.41 Меры безопасности от поражения электрическим током.. 7

710.411 Защита от прямого и косвенного прикосновения. 7

710.412 Защита от прямого прикосновения. 7

710.413 Защита от косвенного прикосновения. 7

710.422 Пожарная безопасность. 10

710.5 Выбор и установка электрического оборудования. 10

710.51 Общие требования. 10

710.512 Эксплуатационные условия и внешние воздействия. 10

710.52 Электропроводки. 11

710.53 Аппараты коммутации и управления. 11

710.55 Прочее оборудование. 12

710.556 Обеспечение безопасности. 12

710.6 Испытания. 14

710.61 Приемосдаточные испытания. 14

710.62 Периодичность проведения испытаний электроустановок, находящихся в эксплуатации. 14

Приложение А (обязательное) Классы безопасности медицинских помещений. 15

Приложение В (справочное) Примеры присвоения номеров групп и классов безопасности медицинским помещениям.. 16

Библиография. 18

 

Введение

В настоящее время требования к устройству электроустановок в медицинских помещениях установлены в ведомственной инструкции Министерства здравоохранения и социального развития Российской Федерации и не в полной мере увязаны с комплексом действующих стандартов ГОСТ Р 50571 на электроустановки зданий. Требования к устройству электроустановок медицинских помещений не включены в [1], что затрудняет проектирование, монтаж и наладку электроустановок проектными и монтажно-наладочными предприятиями и организациями, создает условия принятия решений на основе ведомственной инструкции.

Применение в более широких масштабах современного медицинского оборудования и приборов, внедрение современных методик обследования и лечения обусловливает внедрение в практику требований, обеспечивающих безопасность пациентов и медицинского персонала.

В медицинских помещениях необходимо гарантировать безопасность пациентов и медицинского персонала при пользовании медицинским электрооборудованием. При каждом применении медицинского электрооборудования должны соблюдаться соответствующие меры безопасности. Безопасность пациентов и медицинского персонала достигается обеспечением безопасного подключения медицинского электрооборудования к электрической сети, соответствующими мерами безопасности при их эксплуатации и соблюдением требований при техническом обслуживании электроустановки. При применении медицинского электрооборудования предъявляются повышенные требования к обеспечению безопасности пациентов, подвергающихся интенсивной терапии (или находящимся в критическом состоянии) при соответствующей надежности и безопасности электроснабжения.

Меры для обеспечения безопасной и продолжительной работы медицинского электрооборудования и надежной работы медицинских электроустановок устанавливаются в настоящем стандарте. Изменения требований настоящего стандарта в сторону повышения безопасности и надежности являются приемлемыми.

Требования настоящего стандарта изменяют или заменяют некоторые общие требования комплекса стандартов ГОСТ Р 50571, содержащиеся в частях 1 - 6.

В настоящем стандарте сохранена нумерация разделов, пунктов и подпунктов, принятая в комплексе стандартов ГОСТ Р 50571. Например, нумерация пунктов, следующих за номером 710, соответствует нумерации пунктов стандартов, содержащихся в частях 1-6 комплекса стандартов ГОСТ Р 50571.

Отсутствие в настоящем стандарте ссылок на разделы или пункты, содержащиеся в частях 1 - 6 комплекса стандартов ГОСТ Р 50571, означает, что установленные в этих частях требования применяются для целей настоящего стандарта.

ГОСТ Р 50571.28-2006
(МЭК 60364-7-710:2002)

НАЦИОНАЛЬНЫЙ СТАНДАРТ РОССИЙСКОЙ ФЕДЕРАЦИИ

Электроустановки зданий

Часть 7-710

ТРЕБОВАНИЯ К СПЕЦИАЛЬНЫМ ЭЛЕКТРОУСТАНОВКАМ

Электроустановки медицинских помещений

Electrical installations of buildings.
Part 7-710. Requirements for special electrical installations. Medical locations

Дата введения - 2008-01-01

710 Медицинские помещения

710.1 Область применения

Настоящий стандарт устанавливает требования к электроустановкам, находящимся в медицинских помещениях для обеспечения безопасности пациентов и медицинского персонала. Установленные в настоящем стандарте требования, в основном, распространяются на больницы, поликлиники, частные клиники, помещения для медицинского обслуживания и зубоврачебной практики, оздоровительные центры и специальные медицинские помещения на производственных предприятиях.

Примечания

1 В случае перепрофилирования помещения может возникнуть необходимость реконструкции электрооборудования помещения в соответствии с требованиями настоящего стандарта. В этом случае следует с особым вниманием отнестись к переоборудованию помещений, в которых будут проводиться кардиологические процедуры.

2 В необходимых случаях требования настоящего стандарта применимы в ветеринарных клиниках. Требования настоящего стандарта не относятся к медицинским электроприборам и электроаппаратам.

3 Требования к медицинским электроприборам и аппаратам приведены в ГОСТ Р 50267.0.

710.2 Нормативные ссылки

В настоящем стандарте использованы ссылки на следующие стандарты:

ГОСТ Р 50267.0-92 (МЭК 601-1-88) Изделия электрические медицинские. Часть 1. Общие требования безопасности

ГОСТ Р 50571.3-94 (МЭК 364-4-41-92) Электроустановки зданий. Часть 4. Требования по обеспечению безопасности. Защита от поражения электрическим током

ГОСТ Р 50571.16-99 (МЭК 60364-6-61-86) Электроустановки зданий. Часть 6. Испытания. Глава 61. Приемосдаточные испытания

ГОСТ 12.1.004-91 Система стандартов безопасности труда. Пожарная безопасность. Общие требования

Примечание - При пользовании настоящим стандартом целесообразно проверить действие ссылочных стандартов в информационной системе общего пользования - на официальном сайте Федерального агентства по техническому регулированию и метрологии в сети Интернет или по ежегодно издаваемому информационному указателю «Национальные стандарты», который опубликован по состоянию на 1 января текущего года, и по соответствующим ежемесячно издаваемым информационным указателям, опубликованным в текущем году. Если ссылочный документ заменен (изменен), то при пользовании настоящим стандартом следует руководствоваться замененным (измененным) документом. Если ссылочный документ отменен без замены, то положение, в котором дана ссылка на него, применяется в части, не затрагивающей эту ссылку.

710.3 Термины и определения

В настоящем стандарте применены следующие термины с соответствующими определениями:

710.3.1 медицинское помещение: Помещение, предназначенное для целей диагностики, лечения (в том числе косметических процедур) и процедур.

Примечание - Для обеспечения электробезопасности пациентов должны применяться дополнительные меры безопасности. Опасности, могущие возникнуть для пациентов, зависят от типа установленного оборудования и условий его применения. Медицинские помещения подразделяют по типу проводимых процедур и используемого оборудования.

710.3.2 пациент: Живое существо (человек или животное), подвергающееся медицинскому или зубоврачебному обследованию или лечению.

Примечание - Человек, подвергающийся косметическим процедурам, рассматривается как пациент в соответствии с требованиями настоящего стандарта.

710.3.3 медицинское электрооборудование: Электрическое оборудование, снабженное не более чем одним присоединением к специальной питающей сети и предназначенное для диагностики, лечения или мониторинга пациента, находящегося под медицинским наблюдением, которое:

- имеет физический или электрический контакт с пациентом и/или

- передает энергию к или от пациента и/или

- обнаруживает передачу энергии к или от пациента.

Примечание - Дополнительные принадлежности, указанные производителем, необходимые для нормальной работы оборудования, относятся к медицинскому оборудованию.

710.3.4 контактирующая часть: Часть медицинского электрооборудования, которая при нормальной работе:

- физически соприкасается с пациентом для выполнения своей функции или

- может быть введена внутрь или

- должна касаться пациента.

710.3.5 группа 0: Медицинское помещение, в котором не предполагается применять контактирующие части.

710.3.6 группа 1: Медицинское помещение, в котором контактирующие части предполагается применять:

- наружно;

- внутренне относительно любой части тела, за исключением случаев, оговоренных в 710.3.7.

710.3.7 группа 2: Медицинское помещение, в котором контактирующие части предполагается применять для выполнения внутрисердечных процедур, в операционных для показательных операций и при выполнении других жизненно важных лечебных процедур, когда прекращение (сбой) электроснабжения представляет опасность для жизни пациента.

Примечание - Внутрисердечные процедуры - это процедуры, при которых электрический проводник вживляется в сердце пациента или по иному контактирует с сердцем и доступ к которому находится вне тела пациента. В этом случае электрический проводник включает в себя изолированные провода, например электроды для электростимуляции или внутрисердечные электроды ЭКГ, или изолированные трубки, наполненные проводящими ток жидкостями.

710.3.8 медицинская электрическая система: Комплекс оборудования, по крайней мере одна единица которого является медицинским электрооборудованием, соединенным с остальным оборудованием функционально или посредством электрических разъемных соединений.

Примечание - В состав медицинской электрической системы входят принадлежности, необходимые для обеспечения работоспособности системы, и приведенные в инструкции по эксплуатации.

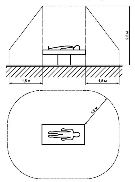
710.3.9 окружающая обстановка пациента: Любое пространство, где может произойти намеренный или непреднамеренный контакт пациента с частями медицинской электрической системы или с каким-либо лицом, имеющим контакт с частями системы (см. рисунок 710А).

Примечание - Данное определение применяется, когда положение пациента фиксировано, в других случаях должны рассматриваться все возможные положения пациента.

710.3.10 главный распределительный щит: Электрощит в здании, обеспечивающий распределение энергии между подключенными к нему нагрузками и включение аварийных систем при падении напряжения.

710.3.11 медицинская система IT: Электрическая система IT, в которой соблюдены особые требования для медицинских помещений.

710.30 Основные характеристики

Отнесение медицинских помещений к группам 0, 1 и 2 должно быть согласовано с федеральными органами исполнительной власти и государственного контроля (надзора) в области здравоохранения. Для классификации медицинского помещения по безопасности необходимо, чтобы медицинский персонал указал, какие медицинские процедуры будут проводиться в данном помещении. Помещение классифицируют в соответствии с заявленным его использованием (использование медицинского помещения для целей, отличных от заявленных и требующих отнесения его к более высокой группе, входит в ответственность местных должностных лиц).

Примечания

1 Класс медицинского помещения по безопасности выбирают в зависимости от группы помещения и его назначения (см. приложение В).

2 Требования к контактирующим частям определяются стандартами на конкретное медицинское электрооборудование.

710.31 Источники питания и построение системы

710.312.2 Типы систем заземления

Применение систем заземления TN-C в медицинских помещениях и зданиях после главного распределительного щита не допускается.

710.313 Электроснабжение

710.313.1 Общие положения

Распределительные питающие сети медицинских помещений должны быть спроектированы и выполнены так, чтобы было обеспечено автоматическое переключение оборудования, связанного с жизнеобеспечением, с основной распределительной питающей сети на аварийную.

710.4 Защитные меры электробезопасности

710.41 Меры безопасности от поражения электрическим током

710.411 Защита от прямого и косвенного прикосновения

710.411.1 Системы БСНН (SELV) И ЗСНН (PELV)

При использовании безопасной системы сверхнизкого напряжения (БСНН) и/или заземленной системы сверхнизкого напряжения (ЗСНН) в медицинских помещениях групп 1 и 2 номинальное питающее напряжение электроприемников не должно превышать 25 В переменного тока (среднеквадратичное значение) или 60 В постоянного тока (без пульсаций). Защита посредством изоляции токоведущих частей в соответствии с ГОСТ Р 50571.3, пункт 412.1 или посредством ограждений или оболочек в соответствии с ГОСТ Р 50571.3, пункт 412.2 при использовании систем БСНН и/или ЗСНН является обязательной.

В медицинских помещениях группы 2 открытые проводящие части оборудования (например светильники в операционных) должны быть подключены к проводнику уравнивания потенциалов.

710.412 Защита от прямого прикосновения

710.412.3 Барьеры

Защита от прямого прикосновения с применением барьеров не допускается.

710.412.4 Размещение вне зоны досягаемости

Защита от прямого прикосновения путем размещения вне зоны досягаемости не допускается. Допускается только защита посредством изоляции токоведущих частей или защита посредством ограждений или оболочек.

710.413 Защита от косвенного прикосновения

710.413.1 Автоматическое отключение питания

710.413.1.1 Общие положения

710.413.1.1.1 Отключение питания

В медицинских помещениях групп 1 и 2 следует применять следующие нормы:

- для систем типа IT и TN напряжение прикосновения U не должно превышать 25 В;

- для систем типа TN и IT следует пользоваться таблицей 1.

Таблица 1 - Наибольшее время отключения

Система TN

Система IT

Номинальное напряжение установки

Время отключения, с

Номинальное
напряжение установки
U0IU, В

Время включения, с

Сосредоточенная нейтраль

Распределенная нейтраль

120

0,35

120-240

0,4

1,0

230

0,2

230/400

0,2

0,5

277

0,2

277/480

0,2

0,5

400, 480

0,05

400/690

0,06

0,2

580

0,02b)

580/1000

0,02

0,08

а) U0 - фазное напряжение.

b) Если значение времени отключения нельзя гарантировать, необходимо принять другие меры защиты, такие как дополнительное выравнивание потенциалов.

Примечание - Отключение электропитания при возникновении перегрузки или короткого замыкания может осуществляться способами, предусмотренными в действующих правилах и инструкциях.

(Поправка)

710.413.1.3 Системы TN

В цепях питания конечных потребителей медицинских помещений группы 1 со значением тока не более 32 А в качестве дополнительной защиты должны использоваться устройства защитного отключения (УЗО) с номинальным дифференциальным током срабатывания не более 30 мА.

В цепях питания конечных потребителей медицинских помещений группы 2 устройства защитного отключения с номинальным дифференциальным током срабатывания не более 30 мА должны использоваться только в цепях, питающих:

- операционные столы;

- флюорографические установки.

Примечание - Это требование в основном применяется к передвижным флюорографическим установкам, установленным в помещениях группы 2.

- оборудование с номинальной мощностью более 5 кВт;

- электрические аппараты, не используемые для поддержания жизни пациентов.

Одновременное подключение нескольких электрических аппаратов к одной групповой линии не должно вызывать отключения УЗО.

В медицинских помещениях групп 1 и 2, в которых УЗО применяется в соответствии с требованиями настоящего подпункта, следует применять УЗО типа А или В в зависимости от значения возможного возникшего тока повреждения.

710.413.1.4 Системы ТТ

В медицинских помещениях, расположенных на территории Российской Федерации, систему ТТ не применяют.

710.413.1.5 Медицинская система IT

В медицинских помещениях группы 2 для питающих цепей электромедицинского оборудования и систем для жизнеобеспечения пациентов хирургического назначения и другого электрического оборудования, расположенного «в окружении пациента», должна использоваться медицинская система IT. Исключение составляет оборудование, перечисленное в 713.413.1.3.

Для мобильных и/или транспортируемых медицинских установок, например мобильных станций переливания крови, рентгеновских и флюорографических передвижных установок, полевых госпиталей, диагностических и профилактических передвижных лабораторий и мобильных и/или транспортируемых установок для оказания медицинских услуг, не относящихся к группе 2, при питании от стационарной сети, а также для стационарных объектов при питании их от воздушных линий напряжением до 1 кВ, выполненных неизолированными проводами, следует использовать медицинскую систему IT с разделительным трансформатором или автономным генератором и контролем изоляции. Требования к указанным выше установкам устанавливают в соответствии с [2]. Применение медицинской системы IT для указанных выше установок, не относящихся к группе 2, рассматривается как рекомендуемое, в этом случае объем требований, предъявляемых к медицинской системе IT, должен быть предметом соглашения с потребителем (заказчиком), но не может быть ниже установленного в [2].

Для каждой группы помещений с аналогичными предназначениями необходима, как минимум, одна медицинская система IT. Система IT должна быть оборудована устройством контроля изоляции в соответствии с [3] со следующими требованиями:

- внутреннее сопротивление переменному току должно быть не менее 100 кОм;

- измерительное напряжение не должно превышать 25 В постоянного тока;

- максимальное значение измерительного тока даже при повреждении изоляции не должно превышать 1 мА;

- система должна иметь устройство для проверки сопротивления изоляции и устройства индикации снижения сопротивления изоляции до 50 кОм.

Каждая медицинская система IT должна иметь устройство для звуковой и световой аварийной сигнализации, которое устанавливают так, чтобы оно находилось под постоянным контролем медицинского персонала и было оборудовано:

- зеленой сигнальной лампой (лампами) для индикации нормальной работы;

- желтой сигнальной лампой, которая загорается, когда сопротивление изоляции достигает минимально допустимого значения. Для данной сигнализации не допускается возможность сброса или отключения;

- желтой сигнальной лампой, которая загорается при превышении нормируемой температуры обмоток трансформатора. Для данной сигнализации не допускается возможность сброса или отключения;

- желтой сигнальной лампой, которая загорается, когда возникает перегрузка трансформатора, не превышающая нормируемую двухчасовую перегрузку, и переходит в мигающий режим, когда перегрузка превышает нормируемую величину перегрузки. Для данной сигнализации не допускается возможность сброса или отключения.

Желтая сигнальная лампа (лампы) может отключаться только при восстановлении нормальных условий эксплуатации;

- звуковой сигнализацией, которая включается при достижении минимального значения сопротивления изоляции и/или при превышении нормируемой температуры обмоток трансформатора, и/или при перегрузке трансформатора. Данная звуковая сигнализация может отключаться.

Задержка на включение световой и звуковой сигнализации не должна превышать 5 с.

Устройства сигнализации должны быть установлены в непосредственной близости к медицинскому помещению, внутри или вне его.

Включение устройств звуковой сигнализации не должно создавать помех для действий медицинского персонала, находящегося в непосредственном контакте с пациентом.

Необходимое число и конкретные места установки устройств контроля изоляции определяются заданием на проектирование.

В случае, если отдельный электроприемник питается от отдельного трансформатора медицинской системы IT, устройство контроля изоляции допускается не устанавливать.

Контроль перегрузки и превышения температуры трансформатора медицинской системы IT является обязательным.

(Поправка)

710.413.1.6 Дополнительное уравнивание потенциалов

710.413.1.6.1 Каждое медицинское помещение группы 1 или 2 должно быть оборудовано системой дополнительного уравнивания потенциалов для уравнивания электрических потенциалов следующих частей электрооборудования, относящегося к «окружению пациента»:

- защитные проводники;

- сторонние проводящие части;

- экраны от внешних электрических полей (если установлены);

- сетки токопроводящих полов (если установлены);

- металлические оболочки разделительных трансформаторов (если имеются).

Примечание - Стационарное вспомогательное токопроводящее неэлектрическое медицинское оборудование, служащее для фиксации пациента (например, операционные столы, физиотерапевтическая мебель, зубоврачебные кресла) должно быть соединено с проводниками системы уравнивания потенциалов, за исключением случаев, когда специально оговорено, что подобное оборудование должно быть изолировано от земли.

710.413.1.6.2 Для медицинских помещений группы 2 электрическое сопротивление проводников, включая сопротивление соединений между зажимами защитного проводника штепсельных розеток или стационарного оборудования или любых сторонних проводящих частей и шины уравнивания потенциалов, не должно превышать 0,2 Ом.

Примечание - Значение сопротивления допускается определять, исходя из площади поперечного сечения заземляющего проводника.

710.413.1.6.3 Шины уравнивания потенциалов должны быть расположены в самом медицинском помещении или в непосредственной близости от него. В каждом распределительном шкафу или в непосредственной близости от него должна быть расположена шина системы дополнительного уравнивания потенциалов, к которой подключают проводники дополнительного уравнивания потенциалов и защитные проводники. Все соединения должны быть выполнены так, чтобы они были хорошо различимы и предусматривали возможность индивидуального отключения.

710.422 Пожарная безопасность

Пожарная безопасность электроустановок медицинских помещений должна быть обеспечена в соответствии с требованиями ГОСТ 12.1.004.

710.5 Выбор и установка электрического оборудования

710.51 Общие требования

710.512 Эксплуатационные условия и внешние воздействия

710.512.1 Эксплуатационные условия

710.512.1.1 Трансформаторы для медицинских систем IT

Трансформаторы для медицинских систем IT должны быть установлены в непосредственной близости к медицинскому помещению внутри или вне его и помещены в шкаф или иметь защитную оболочку (кожух) для предотвращения случайного прикосновения к токоведущим частям.

Номинальное напряжение на вторичной обмотке трансформатора не должно превышать 250 В.

710.512.1.6 Медицинские системы IT для медицинских помещений группы 2

Трансформаторы медицинских систем IT должны соответствовать [4] и следующим дополнительным требованиям:

Ток утечки на землю выходных проводников и защитной оболочки (кожуха), измеренный при отсутствии нагрузки при номинальном напряжении и номинальной частоте, не должен превышать 0,5 мА.

Номинальная мощность однофазных трансформаторов, используемых в медицинских системах IT для переносного и стационарного оборудования, должна быть не менее 0,5 и не более 10 кВт.

Если в медицинских помещениях имеется оборудование с трехфазной системой питания, требующее установки медицинской системы IT, то следует использовать отдельный трехфазный трансформатор с выходным линейным напряжением, не превышающим 250 В.

Для медицинской системы IT применяют специальные разделительные трансформаторы. При необходимости функционального экранирования используются трансформаторы с изолированным экраном.

Все элементы медицинской системы IT, включая блоки питания и управления, трансформаторы, распределительные устройства и блоки сигнализации, должны иметь естественное воздушное охлаждение.

Элементы медицинской системы IT, устанавливаемые непосредственно в медицинских помещениях, должны допускать обработку дезинфицирующими растворами в соответствии с условиями применения.

(Поправка)

710.512.2 Внешние воздействия

Примечание - В необходимых случаях необходимо уделять внимание защите от электромагнитного излучения.

710.512.2.1 Обеспечение взрывобезопасности

Примечания

1 Требования кмедицинскомуэлектрооборудованию,используемомусовместнослегковоспламеняющими-ся газами и жидкостями, - по ГОСТ Р 50267.0.

2 При возникновения опасных условий (например утечки легковоспламеняющихся жидкостей и газов) должны быть предприняты особые меры предосторожности.

3 Рекомендуется принимать меры для предотвращения возникновения статического электричества.

Электрические разъединительные устройства, например разъемы и выключатели, должны устанавливаться на расстоянии не менее 0,5 м от газовых соединений для уменьшения опасности возгорания легковоспламеняющихся газов. В комплектных оконечных системах газоснабжения указанное выше расстояние может быть уменьшено до 0,2 м.

710.514.5 Схемы, эксплуатационные документы и технические инструкции

Пользователю должны быть предоставлены общая схема электроснабжения, описания, схемы подключений, руководства по эксплуатации и обслуживанию электроустановки и электрооборудования и другие необходимые документы.

Эксплуатационные документы должны включать в себя:

- однолинейную блок-схему распределительной сети, на которой должны быть обозначены участки нормального и аварийного и электроснабжения. На этих блок-схемах должны быть указаны места установки щитов и распределительных устройств в пределах здания;

- однолинейную блок-схему главного и вторичных распределительных щитов с указанием расположения разъединительных устройств и устройств управления;

- принципиальные электрические схемы;

- инструкции по эксплуатации, ремонту, обслуживанию и проверке аккумуляторных батарей и источников питания, используемых в аварийных режимах;

- список потребителей, постоянно подключенных к системе аварийного обеспечения с указанием номинальных токов и, в случае наличия у потребителя электродвигателя, пусковых токов;

- регистрационный журнал необходимых проверок и испытаний электроустановки и электрооборудования, проведенных перед сдачей в эксплуатацию.

710.52 Электропроводки

Электропроводки, относящиеся к медицинским помещениям группы 2, должны быть предназначены для использования исключительно с оборудованием и приборами, находящимися в данном помещении.

710.53 Аппараты коммутации и управления

710.53.1 Защита электропроводок в медицинских помещениях группы 2

Все цепи питания конечных потребителей электропитания должны быть защищены от коротких замыканий и перегрузок. Защита электропроводок должна обеспечиваться автоматическими выключателями с одновременным отключением всех фаз, полюсов и нулевого рабочего проводника. Использование предохранителей не допускается.

В медицинских системах IT защита от перегрузок не допускается в питающих линиях (фидерах) до и после разделительного трансформатора.

В медицинских системах IT защита от коротких замыканий в питающих цепях до разделительного трансформатора должна быть нечувствительна к пусковым токам разделительного трансформатора и не должна срабатывать при длительных перегрузках, допустимых по условиям применения разделительного трансформатора. Использование предохранителей и/или устройств дифференциальной защиты для автоматического отключения питания не допускается.

Участки электропроводок, а также цепи внутри комплектных устройств, не защищенные от токов перегрузки, должны быть пожаробезопасными.

Защита электропроводок конечных цепей должна быть обеспечена во всем диапазоне токов перегрузки.

710.55 Прочее оборудование

710.55.1 Цепи освещения

В медицинских помещениях групп 1 и 2 часть светильников должна быть подключена к двум цепям электроснабжения. Одна из этих цепей должна быть подключена к аварийной системе.

На маршрутах эвакуации должны быть установлены светильники аварийного освещения, подключенные к аварийной системе (см. 710.556).

710.55.3 Подключение розеток электропитания в медицинских помещениях группы 2 с медицинской системой IT

Для каждого места лечения пациентов, например в изголовье коек, должны соблюдаться следующие правила установки розеток электропитания:

- должно быть установлено не менее двух розеток с питанием от отдельных линий либо

- должна быть обеспечена индивидуальная защита от сверхтока для каждой розетки.

Если в части медицинского помещения используются другие системы (TN-S), то розетки, подключенные к медицинской системе IT, должны иметь:

- конструкцию, которая исключала бы их использование в другой системе, или

- четкую, прочную маркировку.

710.556 Обеспечение безопасности

710.556.5.2 Источники аварийного питания

Классы безопасности медицинских помещений - в соответствии с приложением А.

710.556.5.2.1 Общие требования к аварийным источникам питания групп 1 и 2

710.556.5.2.1.1 Медицинские учреждения необходимо обеспечивать аварийными источниками электропитания, которые позволяли бы поддерживать нормальную работу медицинского оборудования по 710.556.5.2.2.1 - 710.556.5.2.2.3 в течение заданного периода времени и время приведения в действие которых не превышало бы времени, установленного соответствующими нормами.

710.556.5.2.1.2 Если на одном или нескольких линейных проводниках главного распределительного устройства напряжение понизится более чем на 10 % относительно номинального, должна автоматически включаться система аварийного электроснабжения.

Переключение электропитания должно происходить с задержкой времени, достаточной для нормального срабатывания коммутационных аппаратов и предотвращения ложных срабатываний.

Для каждого медицинского помещения, оборудованного системой аварийного электроснабжения, требуется устройство световой сигнализации о состоянии основного и аварийного источника питания, которое должно быть установлено так, чтобы оно находилось под постоянным контролем медицинского персонала.

Устройства сигнализации должны быть установлены в непосредственной близости к медицинскому помещению, внутри или вне его.

Необходимое число и конкретные места установки устройств контроля определяют заданием на проектирование.

710.556.5.2.1.3 Специальные требования к электропроводкам аварийного электроснабжения см. [1].

Электропроводка между аварийным источником питания и соответствующим ему распределительным щитом, а также между аккумуляторной батареей и зарядным устройством, должна выполняться так, чтобы снизить до минимума опасность случайного контакта между токоведущими частями и открытыми проводящими частями или сторонними проводящими частями. Электропроводка не должна располагаться вблизи горючих материалов.

Примечание - Электрическая цепь, соединяющая источник аварийного электропитания с главным распределительным устройством, относится к аварийным электрическим цепям.

710.556.5.2.1.4 Электрические розетки, подключенные к аварийным электрическим цепям, должны быть четко обозначены.

710.556.5.2.2 Конкретные требования к источникам аварийного электропитания

710.556.5.2.2.1 Источники аварийного электропитания с временем переключения, равным или менее 0,5 с

В случае падения напряжения на одном или нескольких линейных проводниках главного распределительного устройства источник аварийного электропитания должен обеспечить освещение операционных столов и питание других важных объектов, например эндоскопов, на время не менее 3 ч. Время переключения на аварийное электроснабжение не должно превышать 0,5 с.

(Поправка)

710.556.5.2.2.2 Источники аварийного электропитания с временем переключения равным или менее 15 с

Оборудование, указанное в 710.556.7.5 и 710.556.8, должно быть подключено к источнику аварийного электропитания с временем переключения, не превышающим 15 с. Источник аварийного электроснабжения должен иметь возможность поддерживать электропитание в течение не менее 24 ч и приводиться в действие при понижении напряжения на одном или нескольких линейных проводниках главного распределительного устройства на 10 % на время более 3 с.

Примечание - Требование поддерживать электропитание в течение 24 ч может быть уменьшено до минимального, равного 3 ч, если специфика медицинского учреждения позволяет в течение этого времени закончить все необходимые процедуры и провести эвакуацию.

710.556.5.2.2.3 Источники аварийного электропитания с временем переключения более 15 с

Оборудование, не упомянутое в 710.556.5.2.2.1 и 710.556.5.2.2.2 и используемое для вспомогательных нужд, может подключаться к источнику аварийного электроснабжения, способного поддерживать электропитание в течение не менее 24 ч автоматически или вручную. К такому оборудованию относят, например:

- стерилизационное оборудование;

- технические службы эксплуатации здания, включающие в себя вентиляцию и кондиционирование воздуха, отопительную систему, мусороудаление;

- холодильное оборудование;

- оборудование для приготовления пищи;

- устройства для зарядки аккумуляторов.

710.556.7 Требования к аварийному освещению

710.556.7.5 Аварийное освещение

В случае неисправности основной питающей сети освещение медицинских помещений должно быть обеспечено от аварийной сети. Время переключения на аварийное освещение не должно превышать 15 с. Аварийным освещением должны обеспечиваться:

- маршруты эвакуации людей;

- подсветка указателей выхода;

- помещения, в которых расположены аварийные электрогенераторы и распределительные устройства основной и аварийной электросетей;

- помещения для экстренных процедур. В каждом помещении должен быть, по крайней мере, один светильник, подключенный к аварийной сети;

- помещения группы 1. В каждом помещении должен быть, по крайней мере, один светильник, подключенный к аварийной сети;

- помещения группы 2. В этих помещениях не менее 50 % светильников должны иметь подключение к аварийной сети.

Примечание - Значения минимальной освещенности устанавливаются в соответствии с [5].

710.556.8 Прочее оборудование и объекты, требующие безопасного обслуживания Объектами, требующими переключения на аварийное электроснабжение за время, не превышающее 15 с, могут быть, например:

- лифты для передвижения пожарных расчетов;

- вентиляционные системы для удаления дыма;

- пейджинговая служба;

- медицинское электрооборудование, расположенное в помещениях группы 2, предназначенное для хирургических и других измерений экстренной важности. Состав такого оборудования определяется медицинским персоналом;

- медицинское оборудование для подачи газа, включающее подачу сжатого воздуха, вакуумные насосы, и оборудование, используемое для анестезии и их управляющие устройства;

- системы пожарной сигнализации и пожаротушения.

710.6 Испытания

Результаты и сроки проведенных испытаний и осмотров электроустановок медицинских помещений должны быть зафиксированы в соответствующих протоколах и отчетах.

710.61 Приемосдаточные испытания

Ниже приведены проверки, измерения и испытания, дополняющие требования ГОСТ Р 50571.16 при проведении визуальных осмотров и испытаний электроустановок медицинских помещений перед сдачей объектов в эксплуатацию и при проведении периодических осмотров и испытаний:

a) проверка устройств контроля сопротивления изоляции в медицинских системах IT, включая систему визуальной и акустической сигнализации;

b) измерения, подтверждающие соответствие системы дополнительного уравнивания потенциалов требованиям 710.413.1.6.1 и 710.413.1.6.2;

c) контроль соответствия системы уравнивания потенциалов по 710.413.1.6.3;

d) проверка соответствия требованиям в отношении обеспечения безопасности по 710.556;

e) измерение токов утечки в цепях питания конечных потребителей и защитных оболочках трансформаторов медицинских систем IT на холостом ходу.

710.62 Периодичность проведения испытаний электроустановок, находящихся в эксплуатации

Периодичность проведения проверок, измерений и испытаний параметров в соответствии с перечислениями а) - е) по 710.61 устанавливается в ведомственных нормативных документах Министерства здравоохранения и социального развития Российской Федерации.

В случае отсутствия соответствующих нормативов рекомендуется следующая периодичность:

a) проверка систем переключения на аварийное электроснабжение - один раз в 12 мес;

b) проверка устройств контроля сопротивления изоляции - один раз в 12 мес;

c) визуальная проверка уставок устройств защиты - один раз в 12 мес;

d) измерения в системе дополнительного уравнивания потенциалов - один раз в 36 мес;

e) проверка целостности системы уравнивания потенциалов - один раз в 36 мес;

f) ежемесячно:

- объекты, требующие безопасного обслуживания, использующие батареи, - в течение 15 мин,

- объекты, требующие безопасного обслуживания, использующие двигатели внутреннего сгорания до достижения двигателем номинальной температуры, - один раз в 12 мес («нагрузочные испытания»),

- проверка емкости батарей - для объектов, требующих безопасного обслуживания,

- двигатели внутреннего сгорания - в течение 60 мин.

Во всех случаях должна обеспечиваться мощность от 50 % до 100 % номинальной;

g) измерение тока утечки трансформаторов медицинской системы IT - один раз в 36 мес;

h) проверка отключения УЗО по дифференциальному току - не реже одного раза в 12 мес.

Рисунок 710А-Пример «окружения пациента»

Приложение А
(обязательное)

Классы безопасности медицинских помещений

Таблица А.1 - Классы безопасности медицинских помещений

Класс безопасности

Характеристика переключения на резервный источник питания

Класс 0

(безобрывное переключение)

Автоматическое переключение на резервный источник без прерывания электроснабжения

Класс 0,15

(очень быстрое переключение)

Автоматическое переключение на резервный источник с временем переключения не более 0,15 с

Класс 0,5

(быстрое переключение)

Автоматическое переключение на резервный источник с временем переключения не более 0,5 с

Класс 15

(среднее время переключения)

Автоматическое переключение на резервный источник с временем переключения не более 15 с

Класс > 15

(большое время переключения)

Автоматическое переключение на резервный источник с временем переключения более 15 с

Примечания

1 В общем случае непрерываемое электроснабжение не применяется. Такое электроснабжение может понадобиться для некоторых типов оборудования, управляемого микропроцессорами.

2 Если в медицинском учреждении требуется применять различные классы электроснабжения, то за основу принимается более высокий класс ( см. приложение В).

3 Термин «не более» означает «менее или равно».

Приложение В
(справочное)

Примеры присвоения номеров групп и классов безопасности медицинским помещениям

Перечень медицинских помещений с отнесением их к группам и классам безопасности приведен в качестве примера, т.к. конкретная классификация помещений различается не только в разных странах, но и в пределах одной страны.

Таблица В.1 - Примерная классификация медицинских помещений

Медицинские помещения

Группа

Класс безопасности

0

1

2

От 0 до 0,5

От 0,5 до 15
и более

1 Массажные кабинеты

X

X

X

2 Больничные палаты

X

3 Родильные отделения

X

Ха)

X

4 Помещения для проведения ЭКГ, ЭЭГ, ЭГГ

X

X

5 Помещения для проведения эндоскопии

Хb)

Хb)

6 Процедурные кабинеты

X

X

7 Урологические кабинеты

Хb)

Хb)

8 Радиологические диагностические и терапевтические кабинеты, отличные от позиции 21

X

X

9 Гидротерапевтические кабинеты

X

X

10 Физиотерапевтические кабинеты

X

X

11 Анестезиологические кабинеты

X

Ха)

X

12 Операционные

X

Ха)

X

13 Кабинеты для подготовки к операциям

X

X

Ха)

X

14 Травматологические кабинеты

X

X

Ха)

X

15 Послеоперационная палата

X

X

Ха)

X

16 Помещения для введения сердечных катетеров

X

Ха)

X

17 Отделения реанимации

X

Ха)

X

18 Помещения для ангиографии

X

Ха)

X

19 Помещения для проведения гемодиализа

X

X

20 Помещения для магниторезонансной томографии

X

X

21 Помещения для радиационной терапии

X

X

22 Помещения для недоношенных детей

X

Ха)

X

a) Для светильников и оборудования жизнеобеспечения время переключения не менее 0,5 с.

b) Не для операционных.

Пояснение к таблице В.1

1 Массажные кабинеты.

2 Больничные палаты.

Комната или группа комнат, предназначенных для пребывания больных в медицинском или лечебном учреждении.

3 Родильные отделения.

Помещения, предназначенные для приема родов.

4 Помещения для проведения электрокардиографии (ЭКГ), электроэцефалографии (ЭЭГ) и электрогистерографии (ЭГГ).

5 Помещения для проведения эндоскопии.

Помещения, предназначенные для проведения исследований внутренних органов.

6 Процедурные кабинеты.

7 Урологические кабинеты (не являющиеся операционными).

Помещения, в которых проводятся диагностические и терапевтические процедуры на урогенитальном тракте с использованием электрооборудования, например рентгенографического, эндоскопического, УЗИ.

8 Рентгенологические диагностические и терапевтические кабинеты. Помещения для проведения рентгенологической диагностики.

Помещения, предназначенные для использования ионизирующей радиации для обследования внутренних органов посредством рентгенографии, флюроскопии или радиоактивных изотопов. Терапевтические помещения. Помещения, предназначенные для лечения с использованием ионизирующей радиации.

9 Гидротерапевтические кабинеты.

Помещения, предназначенные для лечения гидротерапевтическими методами, например лечение водой, морской водой, грязями, илом, паром, песком, газированной водой, газированной морской водой, ингаляционная терапия, электрофорез, массажная термотерапия и термотерапия в воде (с добавлением или без добавления лечебных веществ).

Плавательные бассейны общего назначения и обычные ванные комнаты не являются гидротерапевтическими помещениями.

10 Физиотерапевтические кабинеты.

Помещения, предназначенные для проведения физиотерапевтических процедур.

11 Анестезиологические помещения.

Медицинские помещения для проведения ингаляционной анестезии.

Примечание - Анестезиологическое помещение может входить в состав операционной, травматологического или процедурного кабинета.

12 Операционные.

Помещения для проведения хирургических операций.

13 Помещения для подготовки к операциям (предоперационные).

Помещения, в которых проводится подготовка больных к операциям, например проводится анестезия.

14 Травматологические кабинеты.

Помещения для наложения гипса или подобных процедур с использованием анестезии.

15 Послеоперационная палата.

Помещение, в котором больной находится под наблюдением врача после анестезии.

Примечание - Такие помещения обычно находятся в непосредственной близости от операционных, но не обязательно являются их частью.

16 Помещения для введения сердечных катетеров.

Помещения, предназначенные для исследования и лечения сердца с применением катетеров. Примерами таких процедур могут служить измерения гемодинамики сердца, скорости кровотока, инъекции контраста или применение стимулирующих препаратов.

17 Отделения реанимации.

Помещения, где тяжелобольных наблюдают при помощи электронного медицинского оборудования и при необходимости проводят стимуляцию органов.

18 Помещения для ангиографии.

Помещения, предназначенные для исследований артерий и вен с использованием контрастных веществ.

19 Помещения для проведения гемодиализа. Помещение, предназначенное для детоксикации крови.

20 Помещения для магниторезонансной томографии.

21 Помещения для радиационной терапии.

22 Помещения для недоношенных детей.

Библиография

[1]

ПУЭ, 7 издание

Правила устройства электроустановок

[2]

МЭК 60364-7-717:2001

Электроустановки зданий. Часть 7. Требования кспециальным электроустановкам. Раздел 717. Передвижные электроустановки

[3]

МЭК 61557-8:1997

Электробезопасность в сетях переменного тока напряжением до 1000 В и постоянного тока до 1500 В. Оборудование для проверки, измерения и мониторинга электробезопасности. Раздел 8. Устройства контроля изоляции в электрических сетях системы IT

[4]

МЭК 61558-2-15:1999

Безопасность силовых трансформаторов, силовых блоков питания и аналогичных устройств. Часть 8. Особые требования к изоляции силовых трансформаторов для медицинских учреждений

[5]

СНиП 23-05-95

Естественное и искусственное освещение

 

Ключевые слова: электроустановки зданий, электроустановки медицинских помещений, обеспечение безопасности, заземление, устройства защитного отключения, защита от поражения электрическим током, медицинские системы IT, уравнивание потенциалов