ГОССТРОЙ СССР
СОЮЗМЕТАЛЛОСТРОЙНИИПРОЕКТ
Центральный ордена Трудового Красного Знамени
научно исследовательский и проектныЙ институт
строительных металлоконструкций
имени Н.П. Мельникова
ЦНИИПРОЕКТСТАЛЬКОНСТРУКЦИЯ им. Мельникова
РУКОВОДСТВО
ПО ПОДБОРУ
СЕЧЕНИЙ ЭЛЕМЕНТОВ
СТРОИТЕЛЬНЫХ СТАЛЬНЫХ КОНСТРУКЦИЙ
ЧАСТЬ 3
Москва 1988
руководство по подбору сечений элементов строительных стальных конструкций, часть 3. М., ЦНИИпроектстальконструкция им. Мельникова, 1988.
В Руководстве приведены данные по расчету колонн одноэтажных промышленных зданий и вспомогательные таблицы по подбору сечений.
В составлении Руководства принимали участие инженеры П.И. Суздалов - руководитель работы, А.А. Бычков, С.Д. Курина, Л.Б. Музыкантская (ЦНИИпроектстальконструкция им. Мельникова) и канд. тех. наук В.Б. Барский (УКРниипроектстальконструкция).
Руководство предназначено для инженерно-технических работников проектных организаций. Все замечания и предложения направлять по адресу: г. Москва, 117393, ул. архитектора Власова, 49, технический отдел института.
СОДЕРЖАНИЕ
КОЛОННЫ И ФАХВЕРКИ ПРОМЫШЛЕННЫХ ЗДАНИЙ
1.1. Стальные колонны могут быть трех типов: постоянного по высоте колонны сечения, ступенчатые и раздельные.
Колонны постоянного по высоте сечения (т.е. без изменения габарита сечения, но при этом площадь сечения колонны может меняться по высоте колонны в зависимости от расчетных усилий) применяются:
в зданиях без мостовых кранов;
в зданиях с кранами с опиранием подкрановых балок на консоли;
в многоэтажных зданиях;
в рабочих площадках и фахверке зданий.
Колонны ступенчатые являются наиболее рациональными в производственных зданиях с кранами грузоподъемностью более 20 т. Колонны раздельного типа применяются сравнительно редко, лишь в частных случаях:
при низком расположении кранов большой грузоподъемности;
при многоярусном расположении кранов;
при реконструкции цехов (например, при увеличении числа пролетов).
По типу поперечных сечений, колонны или отдельные участки колонн могут быть сплошностенными, имеющими сплошную стенку между поясами, и сквозными, в которых пояса соединены решеткой или планками.
1.2. Размеры поперечных сечений колонн должны определяться:
исходя из условий обеспечения прочности, устойчивости и жесткости колонны и всего здания;
в увязке с размещением подвижного и стационарного технологического оборудования, габаритов приближения и пролетов мостовых кранов, наличием проходов вдоль крановых путей;
с учетом доступности для сварки как ручной, так и автоматической.
Для определения ориентировочных размеров высоту сечения колонн рекомендуется принимать:
для колонн постоянного сечения 1/15 - 1/20 высоты колонны;
для верхней части ступенчатой колонны 1/6 - 1/10 высоты надкранового участка;
для нижней части ступенчатых колонн 1/15 - 1/22 полной высоты колонны.
1.3. Расстояние от разбивочной оси до наружной грани крайней колонны принимается 250 мм. При больших высотах колонн и значительных нагрузках - 500 мм.
Расстояние от разбивочной оси здания до оси подкранового пути принимается:
для кранов грузоподъемностью до 50 т при отсутствии проходов - 750 мм и при наличии проходов вдоль крановых путей - 1000 мм;
для кранов грузоподъемностью 80 - 125 т - 1000 мм;
для кранов грузоподъемностью более 125 т - 1250 мм.
1.4. Сечения сплошностенчатых колонн обычно выполняют из широкополочных двутавров типа К или Ш, или сварного профиля двутаврового сечения из толстолистовой стали. Применение колонн двутаврового сечения с одной осью симметрии допускается, если изгибающий момент одного знака значительно больше изгибающего момента другого знака. Компоновка сечения должна быть такой, чтобы все поперечное сечение колонн было включено в работу.
Сечения сквозных колонн компонуют из двух ветвей. Сечения средних колонн - симметрично в виде широкополочных двутавров типа Б или Ш или сварных. В крайних колоннах для облегчения крепления стеновых панелей шатровая ветвь может быть выполнена швеллерного сечения. Соединительную решетку рекомендуется применять двухплоскостную из одиночных уголков. Решетка должна быть раскосная без стоек, чтобы в элементах решетки не возникали дополнительные усилия от обжатия поясов.
1.5. Подбор сечений элементов колонн производится по расчетным усилиям N, М и Q, получаемым в результате комбинации усилий от отдельных загружений с учетом возможных для колонн в целом или отдельных элементов неблагоприятных сочетаний нагрузок и воздействий с учетом п. 5.29 (1). Подбор сечений элементов колонн производится в соответствии со следующими пунктами (1):
а) проверка прочности пп. 5.1, 5.24, 5.25, 5.28;
б) проверка устойчивости по пп. 5.3, 5.5, 5.6, 5.26, 5.27; 5.30 - 5.35;
в) проверка местной устойчивости стенки колонн по пп. 7.16 - 7.19;
г) проверка местной устойчивости полок колонн по пп. 7.23 - 7.27;
л) определение предельной гибкости по п. 6.15;
е) определение расчетных длин колонн по пп. 6.8 - 6.13.
В табл. 1 приведены числовые значения вспомогательных коэффициентов, имеющих частое употребление в формулах [1].
Вспомогательные материалы по подбору сечений колонн приведены в приложениях 1 - 6.
1.6. При проверке устойчивости сквозных колонн по формулам (7) или (51) пп. 5.3 и 5.27 [1] следует обращать внимание на следующее.
Основным допущением расчетной схемы, принятым при выводе формул табл. 7 (1) для сквозных стержней с решетками, является то, что число отсеков по длине должно быть достаточно большим. При небольших же высотах зданий число отсеков (участков между узлами решетки одной ветки) бывает от 2 до 5. В этом случае колонны являются стержневыми системами типа ферм, в которых несущая способность определяется, главным образом, устойчивостью отдельных ветвей на участках между их закреплениями. Поскольку на колонны действует общая продольная сжимающая сила, необходимо учесть при этом взаимодействие отдельной ветви и всего элемента в целом при расчете его по деформированной схеме. В этом случае для практических расчетов может быть рекомендован следующий приближенный прием расчета.
Если гибкость
отдельной ветви на участке между узлами
то расчетное сопротивление при проверке
сквозного стержня с решетками по формулам (7) или (51) [1] может быть принято равным j1Ry (в правых
частях этих формул будем иметь j1Rygс); здесь j1 - коэффициент
продольного изгиба для отдельной ветви при ее расчетной гибкости 0,7λ1.
Коэффициенты j и jс в формулах (7)
и (51) [1] необходимо принимать
соответственно по табл. 72 и 75 [1] при указанной выше расчетной сопротивлении (j1Ry) в зависимости
от λef и
При
значение j1 принимается
равным 1,0, а в интервале 2,5 < λ1 < 3,2 - по линейной
интерполяции между 1,0 и значением j1 при
При этом могут быть сняты
требования п. 5.6 [1] в части ограничения гибкостей
отдельных ветвей между узлами (последний абзац п. 5.6 [1] на стр. 11). Естественно, что
наряду с указанной проверкой сквозных стержней с решетками, расположенными в
плоскостях, параллельных плоскостей изгиба, необходимо выполнять все другие
проверки, требуемые [1].
Вспомогательные величины для расчёта сжатых и изгибаемых элементов в функции от расчетного сопротивления стали Ry
|
Ry, МПа |
Вспомогательные величины по пунктам СНиП 11-23-81 |
||||||||||||
|
п. 3.1 |
п. 5.13; 7.3 и др. |
п. 5.31 |
п. 5.81) |
п. 7.12 |
п. 7.20 |
п. 7.21 |
п. 7.24 табл. 30 |
||||||
|
Rs, МПа |
|
|
|
B, кН/см2 |
|
|
|
|
|
|
|
|
|
|
205 |
119 |
31,7 |
0,0315 |
99,5 |
0,19 |
20,6 |
26,9 |
72,9 |
9,5 |
14,3 |
15,8 |
23,8 |
85,6 |
|
210 |
122 |
31,3 |
0,0319 |
98,3 |
0,20 |
20,4 |
26,6 |
72,0 |
9,4 |
14,1 |
15,7 |
23,5 |
84,6 |
|
215 |
125 |
31,0 |
0,0323 |
97,2 |
0,21 |
20,1 |
26,3 |
71,3 |
9,3 |
13,9 |
15,5 |
23,2 |
83,6 |
|
220 |
128 |
30,6 |
0,0326 |
96,1 |
0,22 |
19,9 |
26,0 |
70,4 |
9,2 |
13,8 |
15,3 |
23,0 |
82,6 |
|
225 |
130 |
30,3 |
0,0330 |
95,0 |
0,23 |
19,7 |
25,7 |
69,7 |
9,1 |
13,6 |
15,1 |
22,7 |
81,7 |
|
230 |
133 |
29,9 |
0,0334 |
94,0 |
0,24 |
19,5 |
25,4 |
69,8 |
9,0 |
13,5 |
15,0 |
22,4 |
80,8 |
|
235 |
136 |
29,6 |
0,0337 |
93,0 |
0,24 |
19,2 |
25,2 |
68,0 |
8,9 |
13,3 |
14,8 |
22,2 |
79,9 |
|
240 |
139 |
29,3 |
0,0341 |
92,0 |
0,25 |
19,0 |
24,9 |
67,4 |
8,8 |
13,2 |
14,6 |
22,0 |
79,1 |
|
250 |
145 |
28,7 |
0,0348 |
90,1 |
0,27 |
18,7 |
24,4 |
66,0 |
8,6 |
12,9 |
14,4 |
21,5 |
77,5 |
|
260 |
151 |
28,1 |
0,0355 |
88,4 |
0,29 |
18,3 |
23,9 |
64,6 |
8,4 |
12,7 |
14,1 |
21,1 |
76,0 |
|
270 |
157 |
27,6 |
0,0362 |
86,7 |
0,30 |
18,0 |
23,5 |
63,5 |
8,3 |
12,4 |
13,8 |
20,7 |
74,6 |
|
280 |
162 |
27,1 |
0,0368 |
85,2 |
0,32 |
17,6 |
23,1 |
62,3 |
8,1 |
12,2 |
13,6 |
20,3 |
73,2 |
|
290 |
168 |
26,7 |
0,0375 |
83,7 |
0,34 |
17,3 |
22,7 |
61,4 |
8,0 |
12,0 |
13,3 |
20,0 |
72,0 |
|
310 |
180 |
25,8 |
0,0387 |
80,9 |
0,37 |
16,8 |
21,9 |
59,3 |
7,7 |
11,6 |
12,9 |
19,3 |
69,6 |
|
315 |
183 |
25,6 |
0,0391 |
80,3 |
0,38 |
16,6 |
21,7 |
58,9 |
7,7 |
11,5 |
12,8 |
19,2 |
69,0 |
|
320 |
186 |
25,4 |
0,0394 |
79,7 |
0,39 |
16,5 |
21,6 |
58,4 |
7,6 |
11,4 |
12,7 |
19,0 |
68,5 |
|
330 |
191 |
25,0 |
0,0400 |
78,5 |
0,40 |
16,2 |
21,2 |
57,5 |
7,5 |
11,2 |
12,5 |
18,7 |
67,5 |
|
335 |
194 |
24,8 |
0,0403 |
77,9 |
0,41 |
16,1 |
21,1 |
57,0 |
7,4 |
11,2 |
12,4 |
18,6 |
67,0 |
|
340 |
197 |
24,6 |
0,0406 |
77,3 |
0,42 |
16,0 |
20,9 |
56,6 |
7,4 |
11,1 |
12,3 |
18,5 |
66,5 |
|
345 |
200 |
24,4 |
0,0409 |
76,7 |
0,43 |
15,9 |
20,8 |
56,1 |
7,3 |
11,0 |
12,2 |
18,3 |
66,0 |
|
355 |
206 |
24,1 |
0,0415 |
75,6 |
0,44 |
15,7 |
20,5 |
55,4 |
7,2 |
10,8 |
12,0 |
18,1 |
65,0 |
|
360 |
209 |
23,9 |
0,0418 |
75,1 |
0,45 |
15,5 |
20,3 |
55,0 |
7,2 |
10,8 |
12,0 |
17,9 |
64,6 |
|
370 |
215 |
23,6 |
0,0423 |
74,1 |
0,47 |
15.3 |
20,1 |
54,3 |
7,1 |
10,6 |
11,8 |
17,7 |
63,7 |
|
375 |
217 |
23,4 |
0,0426 |
73,6 |
0,48 |
15,2 |
19,9 |
53,8 |
7,0 |
10,5 |
11,7 |
17,6 |
63,3 |
|
400 |
232 |
22,7 |
0,0440 |
71,3 |
0,62 |
14,8 |
19,3 |
52,2 |
6,8 |
10,2 |
11,3 |
17,0 |
61,3 |
|
515 |
299 |
20,0 |
0,0590 |
62,8 |
0,71 |
13,0 |
17,0 |
46,0 |
6,0 |
9,0 |
10,0 |
15,0 |
54,0 |
Примечания: 1. В = 7,15∙10-6 (2330 - Е/Ry)∙Ry.
2. Максимальное значение Qfic = В∙А (кН).
где А - площадь сквозного стержня.
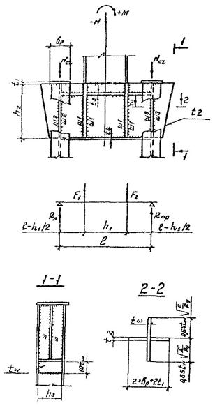
1.7. При опирании балок, стропильных и подстропильных ферм и надколонников сверху оголовок колонны конструируют в соответствии с черт. 1. Ребра оголовка (a) и сварные швы, прикрепление их к стенке колонны, рассчитываются с коэффициентом 1,5, учитывающим возможную неравномерность передачи опорного давления F1.
Толщину ребра (a)t1 определяют из условия сопротивления его торца сжатию
(1)
где число 3 - размер двух скосов в см.
Высоту ребра h1 определяют по срезу ребра на участке h1.
(2)
Катет сварных
швов, прикрепляющих ребра к станку колонны, определяют исходя из усилия 1 см
длины шва, равного
при этом расчетная длина сварных швов
должна быть не более 85bfkf1 (bf - коэффициент,
принимаемый по табл. 34 [1]).
Черт. 1. Оголовок колонны
1.8. Толщину опорной плиты определяют из условия сопротивления срезу при возможном смещении опорных ребер балок или ферм с ребра оголовка
(3)
1.9. Если на оголовок колонны опираются подстропильные фермы, следует проверить местные напряжения в стенке оголовка по формуле (31), пункт 5.13 [1], а в случае необходимости в стенке делают вставку или стенку колонны усиливают приваркой деталей (δ) на черт. 1.
1.10. Поясные сварные швы колонн должны воспринимать долю опорного давления Ff, приходящегося на полки колонн. С некоторым запасом поясные швы колонн в место оголовка могут быть рассчитаны на срез от воздействия поперечной силы в колонне и части опорного давления Ff, определяемого по формуле
(4)
При приложении силы F на оголовок колонны с эксцентриситетом численное значение Ff определяется по формуле
(5)
Af и А - площадь сечения полки и площадь всего сечения колонны;
J1 и J - момент инерции двух поясов относительно нейтральной оси сечения колонны и момент инерции всего сечения колонны;
F - суммарное опорное давление на оголовок колонны;
М - суммарный момент от внецентренного приложения силы F;
hw - высота стенки колонны.
Расчетная длина поясных швов в колонне при воздействии силы Ff принимается равной высота ребра a (h1) или длине усиленного участка стенки (при наличии вставки).
1.11. Стенка колонны должна быть равнопрочна при работе на срез поясным сварным швам, а также сварным швам, прикрепляющим ребра оголовка и опорные столики.
1.12. При передаче опорной реакции балок непосредственно на полки колонны производят расчет на смятие торцевой поверхности полок и в случае необходимости увеличивают их сечение.
1.13. Опирание балок или стропильных ферм на колонну сбоку выполняют через опорные столики. Торец опорного ребра балки или фермы и верхнюю кромку столика строгают. Для небольших опорных реакций столик выполняют из уголка со срезанной полкой; для опорных реакций 300 - 4000 кН - из толстолистовой стали. Расчет сварных швов, прикрепляющих столик к колонне, производят с коэффициентом k = 1,5, учитывающим неравномерность распределения реакции между сварными швами, с учетом изгибающего момента, возникающего в сварных швах. Для увеличения общей длины сварных швов в столике делают вырезы. Подбор сечений столиков и швов производят по табл. 2.
|
Эскиз |
Размеры столика, мм |
kf, мм |
Несущая способность столика, кН |
Масса 1 шт., кг |
Примечание |
|||||
|
l |
b |
t |
c |
материал свариваемой стали |
||||||
|
ЕСт3 |
09Г2С |
|||||||||
|
П1 |
|
6 |
196 |
245 |
Из L200´14 |
|||||
|
П2 |
200 |
40 |
14 |
- |
8 |
294 |
343 |
10,3 |
09Г2С |
|
|
П3 |
10 |
343 |
392 |
|||||||
|
П4 |
220 |
50 |
16 |
- |
12 |
392 |
441 |
12,9 |
Из L220´16 |
|
|
П5 |
14 |
441 |
441 |
09Г2С |
||||||
|
П6 |
10 |
539 |
588 |
|||||||
|
П7 |
270 |
250 |
40 |
- |
12 |
637 |
686 |
22,3 |
||
|
П8 |
16 |
834 |
834 |
|||||||
|
П9 |
10 |
981 |
1030 |
|||||||
|
П10 |
400 |
320 |
40 |
- |
12 |
1177 |
1482 |
42 |
||
|
П11 |
16 |
1422 |
1482 |
|||||||
|
П12 |
10 |
1270 |
1320 |
|||||||
|
П13 |
500 |
360 |
40 |
- |
12 |
1520 |
1620 |
59,4 |
||
|
П14 |
16 |
1860 |
1860 |
|||||||
|
П15 |
10 |
686 |
736 |
|||||||
|
П16 |
270 |
250 |
40 |
100 |
12 |
834 |
834 |
15,5 |
||
|
П17 |
16 |
1030 |
1030 |
|||||||
|
П18 |
10 |
1960 |
2060 |
|||||||
|
П19 |
600 |
360 |
40 |
250 |
12 |
2350 |
2500 |
54,3 |
||
|
П20 |
16 |
2890 |
2890 |
|||||||
|
П21 |
10 |
2300 |
2400 |
|||||||
|
П22 |
700 |
400 |
50 |
300 |
12 |
2750 |
2890 |
83,8 |
||
|
П23 |
16 |
3380 |
3380 |
|||||||
|
П24 |
10 |
2750 |
2940 |
|||||||
|
П25 |
800 |
450 |
50 |
300 |
12 |
3330 |
3480 |
104,2 |
||
|
П26 |
16 |
4070 |
4070 |
|||||||
Примечания: 1. При расчете швов, прикрепляющих столики, учтены изгиб и срез углового шва; введен коэффициент запаса К = 1,5 на возможную неравномерность передачи усилия.
2. Вид сварки - полуавтоматическая, проволокой диаметром 1,4 - 2 мм, положение шва - нижнее.
1.14. Для опирания подкрановых балок (под краны небольшой грузоподъемности) или других конструкций в колоннах делают консоли, привариваемые к стержню колонны на заводе-изготовителе (если позволяют габариты перевозки). Консоли для опирания подкрановых балок следует проектировать, как правило, одностенчатыми. Конструктивное примыкание одностенчатых консолей в зависимости от типа колонн показано на черт. 2.
Черт. 2. Подкрановые консоли одностенчатые
а - в сплошностенчатой колонне
б - в решетчатой колонне
Консоли и сварные швы, прикрепляющие их к колонне, рассчитывают предполагая, что изгибающий момент М воспринимается только полками консоли, а вертикальное давление F (поперечная сила) - стенкой консоли. В этом случае нормальные и касательные напряжения в полках и стенке консоли определяют по формулам:
(6)
(7)
где: Аf и Aw - площади сечений полки и стенки консолей;
М - момент в опорном сечении консоли от вертикального давления F, равный Fl.
Напряжения местного смятия в станке консоли проверяют по формуле
(8)
(Обозначения см. п. 5.13 [1]).
Верхний пояс консоли проверяют на срез силой, равной опорной реакции подкрановой балки, в случае возможного смещения с оси консоли.
В месте опирания подкрановых балок на консоль стенка консоли укрепляется ребрами жесткости.
1.15. Ребра в колонне принимаются такой же толщины, как и полки консоли; сварные швы, прикрепляющие их к колонне, определяют по усилиям, действующим в основании консоли, принимая расчетную длину швов не более 85bfkf (см. п. 12.8г [1]).
1.16. В стенке колонн в месте примыкания консоли возникает сложное напряженное состояние, вызванное действием на стенку нормальных и касательных напряжений. В этом сечении стенки должны выполняться условия:
(9)
(10)
где: sх - суммарное нормальное напряжение в краевом участке стенки колонны (у поясных швов), возникающее от нормальных сил N и внешнего момента М в колонне на уровне верхнего ребра;
τxy - суммарное касательное напряжение в стенке от поперечной силы Q и горизонтальной силы Н, равное
(11)
Аw - площадь сечения стенки колонны.
1.17. Крепление
одностенчатой консоли к решетчатой колонне (черт. 20)
рассчитывают так же, как примыкание консоли к сплошностенчатой колонне.
Горизонтальная сила
воспринимается сварными швами,
соединяющими полки консоли с полками ветви консоли. Сечение жесткой вставки в
колонне принимается, как правило, таким же, как и сечение консоли.
Пример опирания двухступенчатых консолей на решетчатую колонну в случае, когда общая длина консоли превышает габарит перевозки, показан на черт. 3. При расчете каждой ветви консоли необходимо учитывать возможную (или условную) неравномерность передачи вертикальной силы F, принимая на каждую ветвь 0,6F.
Черт. 3. Подкрановые консоли двухступенчатые
1.18. В ступенчатых решетчатых колоннах для прикрепления верхнего надкранового участка, с опирания подкрановых балок в месте ступенчатого изменения сечения колонии ставят траверсы (черт. 4), проектируемые, как правило, одностенчатыми. Применение двустенчатых траверс допускается лишь в случаях, когда по действующим усилиям или по конструктивным соображениям нельзя применять одностенчатую траверсу. Конструкция траверсы должна обеспечивать доступность и удобство наложения сварных швов на все прикрепленные элементы. При расчете подкрановых траверс принимаются следующие условности расчета:
а) расчетную схему траверса принимают в виде балки на двух опорах с пролетом l, равным расстоянию между прикреплением траверсы и ветвями нижней части колонны;
б) считают, что стенка прикрепленного участка колонны не участвует в передаче усилий на траверсу и усилие полностью передается через полки подкранного участка колонны в виде сосредоточенных сил F1 и F2.
в) в расчетное сечение одностенчатых траверс включают только вертикальную стенку, ввиду условностей, принятых при расчете траверсы, и чтобы обеспечить ей достаточную жесткость.
При передаче давления подкранных балок Noc непосредственно через траверсу, опорная реакция траверсы увеличиваются на величину Not при наличии прорези в стенке подкрановой ветви и на величину 0,6Not при отсутствии прорези (коэфф. 0,6 учитывает неравномерность распределения Not между траверсой и ребром).
Напряжения смятия в местах передачи давления надкрановых балок не должны превышать Rp. Толщину опорной балки t1 проверяют на срез силой Nсt, учитывая возможное смещение опорных ребер балок. Толщину ребра ts принимают не менее толщины стенки верхней части колонны. Толщину нижнего пояса траверсы принимают конструктивно равной:
t4 = 10 мм - при h3 = 500 мм;
t4 = 12 мм - при h3 = 700 мм;
t4 = 14 мм - при h3 = 900 мм.
1.19. Сварные швы Ж1, прикрепляющие полки верхнего участка колонны траверса, принимают одинаковыми для двух полок и рассчитывают на усилие от максимальной силы F1 или F2, вводя в расчет длину швов, равную 85bfkf (см. п. 12.8г [1]). Швы Ш2 и Ш3, крепящие траверсу к стенке ветви колонны (при отсутствии прорези), рассчитывают на усилие от давления надкрановой части колонны, а от давления подкрановой балки - длину швов принимают равную 85bfkf.
В месте опирания траверсы, стенку ветви необходимо проверить на срез по формуле
(12)
где А - большая из величин опорных реакций траверсы от воздействий надкранового участка колонны. При t > Rs - необходимо делать вставку в стенке ветви колонны.

Черт. 4. Подкрановая траверса
1.20. Проем в стенке колонны для прохода вдоль подкрановых путей выполняется только в том случае, когда габариты мостовых кранов не позволяют организовать проход вдоль подкрановых путей вне стенки надкрановой части колонны. Размеры проема для прохода должны быть не менее 400 мм по ширине и 1800 мм по высоте (черт. 5). Ослабленный проемом участок стенки необходимо усилить. Усиление стенки производят в зависимости от ширины стенки колонны. При b0 £ 200 мм усиление выполняется из двух листов, привариваемых к стенке сварными швами с разделкой кромок (подварка корня сварного шва выполняется обязательно). При b0 > 200 мм усиление выполняется из одного листа, привариваемого к стенке колонны угловыми швами. Для возможности установки листа «в вилку» он должен состоять из двух частей с последующей стыковкой частей между собой.
Черт. 5. Проем в стенке колонны для прохода
а - конструктивное оформление прохода; б - расчетная схема
1.21. Сечение колонны в месте прохода необходимо проверить расчетом на ту комбинацию усилий, по которой было подобрано основное сечение надкрановой части колонны. Это делается для того, чтобы основное и усиленное сечения были равнопрочными. Ветвь колонны в месте прохода проверяют как сжато-вогнутый стержень по формулам [1] на следующие воздействия:
(13)
(14)
где: М, N и Q - усилия в основном сечении надкрановой части колонны. При этом расчетную длину ветви в плоскости действия момента принимают равной высоте прохода, а из плоскости - принимают равной расстоянию между точками закрепления надкрановой части колонны вдоль здания, т.е. такой же, как и при подборе основного сечения. Катет сварных швов Ш1 определяют по усилию
где А1 - площадь листа усиления прохода колонны.
Схема для подбора сечений опорных плит баз колонн
|
Схема 2 |
||||||||||||||||||||
|
Значения коэффициентов a1 и a2 при b/a |
||||||||||||||||||||
|
b/a |
1 |
1,1 |
1,2 |
1,3 |
1,4 |
1,5 |
1,6 |
1,7 |
1,8 |
1,9 |
2,0 |
∞ |
||||||||
|
a1 |
0,0517 |
0,0554 |
0,0612 |
0,0669 |
0,0714 |
0,0753 |
0,0784 |
0,0807 |
0,0821 |
0,0826 |
0,0829 |
0,0833 |
||||||||
|
a2 |
0,0479 |
0,0553 |
0,0626 |
0,0693 |
0,0753 |
0,0812 |
0,0862 |
0,0908 |
0,0948 |
0,0985 |
0,1017 |
0,125 |
||||||||
|
Плиты, опертые по трем сторонам |
||||||||||||||||||||
|
при b > a M2 = b2qa2 |
||||||||||||||||||||
|
Значение коэффициентов b1 и b2 при b/a |
||||||||||||||||||||
|
b/a |
0,3 |
0,4 |
0,5 |
0,6 |
0,7 |
0,8 |
0,9 |
1,0 |
1,2 |
1,5 |
2,0 |
∞ |
||||||||
|
b1 |
0,383 |
0,278 |
0,200 |
0,148 |
0,111 |
0,0865 |
0,0850 |
0,0851 |
0,0848 |
0,0846 |
0,0845 |
|||||||||
|
b2 |
- |
- |
0,060 |
0,074 |
0,088 |
0,097 |
0,107 |
0,112 |
0,121 |
0,128 |
0,132 |
0,133 |
||||||||
|
Плиты, опертые по двум сторонам Схема 5 a = 0,284 при b/a = 1 a = 0,388 при b/a = 1,5 a = 0,444 при b/a = 2,0 Схема 7 |
Консольные участки плит в виде трапеций при замкнутых сечениях колонн Схема 6
F1 = (b + c1)c1 F2 = (b - c2)c2
|
|||||||||||||||||||
|
Однопролетные плиты с консолями при с < 0,289а
при с = 0,289а
при с = 0,354а
при с = 0,408а |
Двухпролетные плиты с консолями при с = 0,408а
при с < 0,408а при с > 0,408а решающим будет момент на консоли М1
|
|||||||||||||||||||
|
Условные обозначения: |
||||||||||||||||||||
1.22. База является опорной частью колонны и предназначена для передачи усилия с колонны на фундамент. Конструкция базы должна соответствовать принятому в расчетной схеме колонны способу сопряжения ее с фундаментом (сопряжение шарнирное или жесткое) и иметь минимальное число деталей и количество сварных швов. Как правило, базы проектируют с учетом опирания колонны на заранее установленные, выверенные и подлитые опорные плиты, с верхней строганной или фрезерованной поверхностью. Усилия от колонны на плиту передаются через фрезерованный торец колонны. При негабаритных размерах нижних частей колонн следует предусматривать контактный стык с фрезерованными торцами выше базы на отметке, близкой к нулевой.
1.23 Расчет плит баз выполняют на расчетный отпор фундамента, который предполагается распределенным по всей площади опорной плиты. В рабочую площадь включают только те участки опорной плиты, работа которых на изгиб обеспечивает передачу усилия от колонны на фундамент. Для баз колонн при шарнирном сопряжении с фундаментом и для раздельных баз решетчатых колонн напряжение в колонне под плитой определяют по формуле
(16)
и соответственно для баз колонн с жестким защемлением в фундаменте по формуле
(17)
где: N и M - нормальная сила и изгибающий момент внизу колоны и ее ветви;
Rb,loc - расчетное сопротивление бетона смятию по п. 3.39 [5];
А и W - расчетные площади и моменты сопротивления плиты.
При расчетах обычно принимается Rb,loc = 1,05 кН/см2 для бетона марки В15.
Расчетная схема плиты устанавливается в зависимости от ее размеров и конструктивного решения базы. Опорная плита базы плата разбивается на участки, которые рассчитываются как консольные, однопролетные и многопролетные плиты с консолями, а также плиты, опертые по двум, трем или четырем сторонам. Наибольший изгибающий момент, действующий на этих участках на полосе шириной 1 см вычисляется по формулам табл. 3.
Для оптимального подбора сечения плиты, ребра траверсы, при необходимости их устройства, следует располагать так, чтобы изгибающие моменты для отдельных участков плиты были близки по величине друг другу, т.к. определение толщины плиты производится по наибольшему значения изгибающих моментов. Эту задачу, в основном, решают соответствующим выбором размеров консольных участков плиты.
Плиту, опертую
по трем и четырем сторонам, следует рассчитывать как шарнирно опертую только
при малых вылетах консольных участков, в остальных случаях следует учитывать
разгружающее влияние консолей и производить расчет по схемам 1, 3 табл. 3. При отношении сторон
плиту
рассчитывают как однопролетную или двухпролетную балку с консолями (схемы 8 и 9
табл. 3),
вылет которых выбирают из условия выравнивания пролетных и опорных моментов.
Толщину опорной плиты базы определяют по формуле
(18)
где М - расчетный момент в плите, отнесенный к полосе шириной 1 см;
Ry - расчетное сопротивление изгибу опорной плиты.
1.24. Расчет траверс и ребер базы выполняют на нагрузку, передаваемую на них опорной плитой с соответствующей грузовой площади. Расчетную схему этих элементов принимают в виде консолей или балок на двух опорах в зависимости от конструкции базы.
Опорные плиты баз колонн, к которым крепятся вертикальный связи, должны быть приварены к специальным закладным элементам, заделанным в фундамент. Швы рассчитывают на горизонтальную составляющую от усилия в вертикальной связи, на это же усилие, в случае передачи вертикальной нагрузки через фрезерованные торцы ствола колонны и траверс на строганную поверхность опорной плиты, должны быть рассчитаны швы, крепящие ствол колонны к опорной плите.
В опорных плитах баз колонн следует предусматривать отверстия диаметром 80 - 100 мм для удаления воздуха, который может скапливаться под плитой во время подливки раствора; число отверстий назначают из расчета - одно отверстие на 1 м2 плиты.
Анкерные плиты рассчитывают как балки, опорами для которых являются ребра и траверсы, а нагрузками - силы, равные несущей способности принятых фундаментных болтов. При определении момента инерции анкерных плит следует учитывать ослабление их отверстиями, диаметр которых принимают на 8 мм больше диаметра шпилек фундаментных болтов.
1.25. Расчетное усилие в фундаментных болтах, прикрепляющих базу внецентренно-сжатой колонны (без учета развития пластических деформаций в бетоне), определяется, исходя из предположения, что растягивающая сила, соответствующая растянутой зоне эпюры напряжений, полностью воспринимается фундаментными болтами по формуле
(19)
где: М и N - соответствующие значения момента и продольной силы при отрывной комбинации;
а, y - размеры по нижеприведенной схеме на черт. 6.
Сечение фундаментных болтов по найденным усилиям подбирается по табл. 3 приложения 3.
1.26. Соединительные планки центрально-сжатых составных колони рассчитываются на условную поперечную силу Qfic, принимаемую постоянной по всей длине стержня в соответствии с п. 5.8 [1]. Расчет соединительных планок и их прикрепления выполнять в соответствии с п. 5.9 [1].
Соединительные планки составных внецентренно-сжатых стержней должны рассчитываться на поперечную силу, равную большей из величин: фактической поперечной силы или условной поперечной силы Qfic, вычисленной согласно указаниям п. 5.8 [1].
Черт. 6. Эпюра напряжений в бетоне при расчете анкерных болтов при упругой стадии расчета бетона
В случае, когда фактическая поперечная сила больше условной, соединение ветвей составных внецентренно-сжатых колонн с помощью планок не рекомендуется.
1.27. Вертикальные связи по колоннам при наличии мостовых кранов проектируются двух типов: основные - выполняемые на всю высоту колонн, и дополнительные - располагаемые выше подкрановых балок. Основные вертикальные связи воспринимают все продольные усилия и обеспечивают неизменяемость каркаса в продольном направлении. Основные связи необходимо располагать в соответствии с требованиями п. 13.5 [1].
Дополнительные связи рекомендуется устанавливать по краям температурных отсеков, а также в тех панелях, где расположены поперечные связи покрытия. Дополнительные связи предназначены обеспечивать передачу продольных усилий с торцов здания и конструкций покрытия на продольные конструкции (подкрановые балки и распорки).
Типы вертикальных связей по колоннам приведены на черт. 7.
Черт. 7. Типы вертикальных связей по колоннам
а - полураскосные; б - раскосные; в - крестовые; г - портальные.
1.28. Расчет вертикальных связей выполняют на большую из величин: сумма реальных продольных усилий (ветер, торможение крана, горизонтальные технологические нагрузки) или условную поперечную силу Qfic, определяемую по указаниям п. 5.8 [1], при этом количество колонн, от которых определяется Qfic, принимают, исходя из следующего:
но не менее 2, (20)
где nрасч. - расчетное количество колонн, от которых определяют Qfic;
n - количество колонн в ряду.
2.1. Схема фахверка определяется местом расположения стен здания - наружные или внутренние, торцевые, поперечные или продольные; материалом стен; конструкцией стен (панелей) - несущие, самонесущие, навесные; наличием проемов.
Фахверк состоит из стоек, ригелей, элементов, передающих нагрузки с фахверка на каркас (ветровые фермы и т.д.), и элементов, обеспечивающих устойчивость фахверка.
Для обеспечения передачи горизонтальных усилий в узлы связей покрытия, стойки фахверка располагают по разбивочным осям здания. При небольшой высоте здания передача горизонтальных усилий на каркас осуществляется только в уровне покрытия (чаще на связи по нижним поясам фермы); при большой высоте зданий выполняются ветровые связи, устанавливаемые с шагом 10 - 15 м по высоте. В качестве ветровых связей используются тормозные конструкции путей мостовых кранов, торцевые переходные площадки.
Наличие ригелей в схеме фахверка диктуется материалом и конструкцией стен. Ригели фахверка могут воспринимать только горизонтальную нагрузку (ветровые) и одновременно нагрузку от стен (несущие).
2.2. Стойки фахверка рассчитываются как сжато-изогнутые стержни на нагрузки от стен, ветра, технологических нагрузок (перекрытия встроенных помещений, трубопроводы и т.д.).
2.3. Ветровые ригели фахверка рассчитывают как изгибаемые элементы в случае, если они не являются одновременно распорками, а несущие ригели рассчитывают на изгиб в двух плоскостях (вертикальной и горизонтальной). При включении ригелей фахверка в систему продольных связей они рассчитываются как сжато-изогнутые стержни.
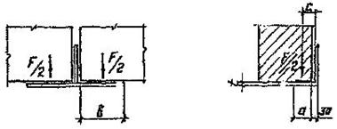
2.4. Расчет столиков для опирания стеновых панелей из легких бетонов производится на «отгиб» опорной плиты с учетом распределения опорного давления на минимальной площади, располагаемой возможно ближе к опорной части плиты (черт. 8).
(21)
где: а - минимальная ширина по смятию бетона;
b - длина площадки смятия;
Rb - призменная прочность бетона;
γb - коэффициент условия работы бетона;
F - полная нагрузка на столик.

Черт. 8. Столики для опирания стеновых панелей
Погонный изгибающий момент в опорной плите на единицу ширины
(22)
Требуемая толщина опорной плиты столика определяется по формуле
(23)
где Ry - расчетное сопротивление стали изгибу.
Швы, прикрепляющие столики к колоннам или стойкам фахверка, должны быть рассчитаны на совместное действие среза от полной силы F и изгиба М = F ∙ (0,5а ± 0,03) кН∙м.
Колонии здания и стойки фахверка в местах установки столиков должны быть проверены и при необходимости усилены для обеспечения восприятия сечениями усилий, передаваемых столиками.
2.5. Конструкции фахверка не должны препятствовать свободной деформации элементов каркаса, т.е. не воспринимать вертикальной нагрузки от них, поэтому крепление стоек фахверка к каркасу осуществляется листовыми шарнирами, передающими только горизонтальные нагрузки.
В таблицах Приложения 1 приведены значения предельных усилий центрально сжатых колонн с шарнирными закреплениями концов из двутавров по ГОСТ 26020-83 при значениях минимального радиуса инерции iy и расчетных длинах в плоскости наименьшей жесткости, а также значения отношений максимального радиуса инерции к минимальному ix/iy.
Приняты марки стали ВСт3пс6, ВСт3пс6-1, ВСт3сп5-2, ВСт3сп5, ВСт3с5-1 и 09Г2С категории 6, 9, 12 и 15.
Максимальная гибкость колонн принята равной 150. Значения гибкости λ ³ 120 отделены сплошной линией. Интервал расчетных длин принят равным 0,5 м. Промежуточные значения предельных нормальных усилий принимаются по интерполяции. При закреплениях концов колонн, отличных от шарнирных, расчетная условная длина колонны определяется по формуле (67) [1].
В тех случаях,
когда выполняется условие
расчет на устойчивость в плоскости
наибольшей жесткости можно не производить, в противном случае расчет с помощью
таблиц осуществляется с использованием приведенной длины стержня, определяемой
по формуле 
При подборе
сечений основных колонн с гибкостью λ более 120 предельные усилия в
соответствии с табл. 19 п. 6.15 СНиП II-23-81 должны определяться по формуле
где λ
- гибкость основной колонны; Nn - несущая
способность колонны по таблицам.
Ниже приведены примеры подбора сечений колонн с помощью таблиц.
Требуется подобать сечение колонны из двутавров типа Ш по ГОСТ 26020-83 из стали марки 09Г2С-6 по ГОСТ 19281-73.
Расчетное усилие N = 3500 кН. Расчетные длины: lx = 8 м, ly = 5 м. Отношение расчетных длин lx/ly = 1,6. По табл. 2 принимаем сечение двутавра 5052 с Nn = 3580 > 3500 кН и lx/ly = 3,03. Поскольку отношение расчетных длин lx/ly < ix/iy устойчивость в плоскости наибольшей жесткости обеспечена.
Требуется подобрать сечение колонны из двутавров типа Ш по ГОСТ 26020-83 из стали марки ВСт3сп5-2 по ТУ 14-1-3023-80.
Расчетное усилие N = 2000 кН.
Расчетные длины: lx = 12 м; ly = 4 м.
Отношение lx/ly = 3.
По табл. 2 принимаем сечение двутавра I 35Ш2 с Nn = 2110 кН и ix/iy = 2,46.
Поскольку отношение lx/ly > ix/iy, то определяем приведенную длину

и по табл. 2 находим требуемое сечение I 40Ш для которого при ly = 5,0; Nn = 2430 > 2000, т.е. интерполяции проводить не нужно.
Нормальные двутавры
|
А см2 |
iy см |
|
Предельные усилия Nn, кН при ly, м |
||||||||||
|
1,5 |
2,0 |
2,5 |
3,0 |
3,5 |
4,0 |
4,5 |
5,0 |
5,5 |
6,0 |
||||
|
Сталь марки ВСт3сп5-1 λ ³ 120 |
|||||||||||||
|
23Б1 |
32,9 |
2,47 |
3,86 |
655 |
648 |
429 |
326 |
243 |
|||||
|
26Б1 |
35,6 |
3,63 |
4,04 |
725 |
628 |
502 |
392 |
297 |
|||||
|
30Б1 |
41,9 |
3,5 |
4,03 |
892 |
808 |
691 |
567 |
457 |
359 |
287 |
|||
|
35Б1 |
49,5 |
3,27 |
4,36 |
1070 |
983 |
869 |
727 |
599 |
485 |
387 |
|||
|
35Б2 |
55,2 |
3,36 |
4,31 |
1200 |
1100 |
990 |
834 |
692 |
566 |
454 |
372 |
||
|
40Б1 |
61,3 |
3,42 |
4,69 |
1330 |
1230 |
1110 |
943 |
787 |
647 |
521 |
427 |
||
|
40Б2 |
69,7 |
3,52 |
4,63 |
1470 |
1370 |
1250 |
1080 |
914 |
763 |
629 |
512 |
||
|
45Б1 |
76,2 |
3,75 |
4,82 |
1600 |
1530 |
1410 |
1250 |
1070 |
913 |
786 |
631 |
527 |
|
|
45Б2 |
86,0 |
3,84 |
4,77 |
1850 |
1730 |
1600 |
1440 |
1240 |
1060 |
897 |
749 |
621 |
|
|
50Б1 |
93,0 |
4,15 |
4,81 |
1960 |
1910 |
1790 |
1650 |
1460 |
1260 |
1090 |
932 |
783 |
663 |
|
50Б2 |
102,8 |
4,27 |
4,75 |
2210 |
2130 |
2000 |
1850 |
1650 |
1440 |
1250 |
1070 |
914 |
771 |
|
55Б1 |
113,4 |
4,61 |
4,81 |
2380 |
2360 |
2260 |
2120 |
1950 |
1720 |
1510 |
1320 |
1150 |
989 |
|
55Б2 |
124,8 |
4,70 |
4,77 |
2580 |
2640 |
2500 |
2350 |
2180 |
1930 |
1710 |
1490 |
1300 |
1120 |
|
60Б1 |
135,3 |
4,83 |
5,00 |
2850 |
2820 |
2730 |
2570 |
2400 |
2130 |
1910 |
1680 |
1470 |
1280 |
|
60Б2 |
147,3 |
4,92 |
4,96 |
3170 |
3140 |
2990 |
2820 |
2640 |
2380 |
2120 |
1870 |
1650 |
1440 |
|
70Б1 |
164,7 |
5,25 |
5,26 |
3390 |
3370 |
3360 |
3230 |
3050 |
2830 |
2540 |
2270 |
2020 |
1790 |
|
70Б2 |
183,6 |
5,44 |
5,18 |
3870 |
3840 |
3820 |
3640 |
3450 |
3240 |
2930 |
2630 |
2350 |
2090 |
|
80Б1 |
203,2 |
5,54 |
5,66 |
4130 |
4100 |
4090 |
4060 |
3840 |
3620 |
3290 |
2970 |
2660 |
2380 |
|
90Б1 |
247,1 |
5,82 |
6,03 |
4970 |
4940 |
4980 |
4930 |
4760 |
4510 |
4180 |
3800 |
3430 |
3090 |
|
Сталь марки ВСт3сп5-2 λ ³ 120 |
|||||||||||||
|
23Б1 |
32,9 |
2,47 |
3,66 |
719 |
584 |
447 |
330 |
245 |
|||||
|
26Б1 |
35,6 |
2,63 |
4,04 |
798 |
672 |
526 |
401 |
298 |
|||||
|
30Б1 |
41,9 |
3,05 |
4,03 |
986 |
885 |
735 |
592 |
466 |
289 |
||||
|
35Б1 |
49,5 |
3,27 |
4,36 |
1180 |
1070 |
929 |
765 |
618 |
487 |
389 |
|||
|
35Б2 |
55,2 |
3,36 |
4,31 |
1330 |
1210 |
1060 |
880 |
718 |
574 |
457 |
374 |
||
|
40Б1 |
61,3 |
3,42 |
4,69 |
1460 |
1350 |
1190 |
997 |
818 |
659 |
524 |
430 |
||
|
40Б2 |
69,7 |
3,52 |
4,63 |
1640 |
1510 |
1360 |
1150 |
958 |
784 |
629 |
515 |
||
|
45Б1 |
76,2 |
3,75 |
4,82 |
1750 |
1690 |
1550 |
1340 |
1130 |
948 |
780 |
635 |
530 |
|
|
45Б2 |
86,0 |
3,84 |
4,77 |
2040 |
1920 |
1760 |
1540 |
1310 |
1100 |
917 |
749 |
626 |
|
|
50Б1 |
93,0 |
4,16 |
4,81 |
2150 |
2130 |
1980 |
1790 |
1550 |
1330 |
1130 |
948 |
787 |
668 |
|
50Б2 |
102,8 |
4,27 |
4,75 |
2420 |
2370 |
2210 |
2020 |
1760 |
1520 |
1300 |
1090 |
915 |
776 |
|
55Б1 |
113,4 |
4,61 |
4,81 |
2610 |
2580 |
2500 |
2330 |
2090 |
1830 |
1590 |
1370 |
1170 |
969 |
|
55Б2 |
124,8 |
4,70 |
4,77 |
2940 |
2910 |
2770 |
2590 |
2340 |
2060 |
1790 |
1550 |
1330 |
1120 |
|
60Б1 |
135,3 |
4,83 |
5,00 |
3130 |
3100 |
3030 |
2840 |
2600 |
2300 |
2010 |
1750 |
1510 |
1290 |
|
60Б2 |
147,3 |
4,92 |
4,96 |
3480 |
3450 |
3320 |
3110 |
2870 |
2550 |
2240 |
1960 |
1700 |
1460 |
|
70Б1 |
164,7 |
5,26 |
5,26 |
3720 |
3690 |
3670 |
3570 |
3350 |
3030 |
2700 |
2390 |
2100 |
1840 |
|
70Б2 |
183,6 |
5,44 |
5,18 |
4250 |
4210 |
4190 |
4030 |
3790 |
3490 |
3120 |
2780 |
2460 |
2160 |
|
80Б1 |
203,2 |
5,54 |
5,66 |
4520 |
4490 |
4470 |
4470 |
4230 |
3920 |
3520 |
3140 |
2790 |
2460 |
|
90Б1 |
247,1 |
5,82 |
6,03 |
5400 |
5410 |
5390 |
5380 |
5260 |
4940 |
4490 |
4040 |
3620 |
3220 |
|
Сталь марки 09Г2С λ ³ 120 |
|||||||||||||
|
23Б1 |
32,9 |
2,47 |
3,86 |
822 |
635 |
466 |
331 |
247 |
|||||
|
26Б1 |
35,6 |
2,63 |
4,04 |
915 |
736 |
557 |
403 |
301 |
|||||
|
30Б1 |
41,9 |
3,05 |
4,03 |
1130 |
994 |
797 |
622 |
469 |
364 |
292 |
|||
|
35Б1 |
49,5 |
3,27 |
4,36 |
1340 |
1230 |
1010 |
815 |
636 |
491 |
393 |
|||
|
35Б2 |
55,2 |
3,36 |
4,31 |
1450 |
1320 |
1120 |
920 |
736 |
674 |
459 |
377 |
||
|
40Б1 |
61,3 |
3,42 |
4,69 |
1580 |
1470 |
1270 |
1040 |
841 |
659 |
527 |
432 |
||
|
40Б2 |
69,7 |
3,52 |
4,63 |
1860 |
1700 |
1480 |
1230 |
1000 |
797 |
634 |
520 |
||
|
45Б1 |
76,2 |
3,75 |
4,82 |
1950 |
1900 |
1710 |
1440 |
1190 |
978 |
781 |
640 |
535 |
|
|
45Б2 |
86,0 |
3,84 |
4,77 |
2280 |
2160 |
1970 |
1670 |
1390 |
1140 |
922 |
755 |
631 |
|
|
50Б1 |
93,0 |
4,16 |
4,81 |
2390 |
2370 |
2210 |
1950 |
1650 |
1400 |
1160 |
950 |
793 |
673 |
|
50Б2 |
102,8 |
4,27 |
4,75 |
2710 |
2680 |
2480 |
2210 |
1890 |
1600 |
1340 |
1100 |
921 |
782 |
|
55Б1 |
113,4 |
4,61 |
4,81 |
2920 |
2880 |
2820 |
2590 |
2260 |
1950 |
1670 |
1410 |
1170 |
996 |
|
55Б2 |
124,8 |
4,70 |
4,77 |
3290 |
3250 |
3120 |
2890 |
2540 |
2200 |
1890 |
1600 |
1340 |
1130 |
|
60Б1 |
135,3 |
4,83 |
5,00 |
3490 |
3450 |
3420 |
3170 |
2820 |
2460 |
2130 |
1820 |
1540 |
1290 |
|
60Б2 |
147,3 |
4,92 |
4,96 |
3890 |
3840 |
3740 |
3490 |
3130 |
2740 |
2380 |
2040 |
1730 |
1460 |
|
70Б1 |
164,7 |
5,26 |
5,26 |
4150 |
4110 |
4080 |
4010 |
3700 |
3280 |
2890 |
2520 |
2180 |
1860 |
|
70Б2 |
183,6 |
5,44 |
5,18 |
4750 |
4690 |
4660 |
4530 |
4240 |
3780 |
3350 |
2940 |
2560 |
2210 |
|
80Б1 |
203,2 |
5,54 |
5,66 |
5040 |
4990 |
4970 |
4920 |
4730 |
4260 |
3780 |
3340 |
2920 |
2530 |
|
90Б1 |
247,1 |
5,82 |
6,03 |
6070 |
6010 |
5980 |
5970 |
5820 |
5410 |
4850 |
4310 |
3820 |
3350 |
|
100Б1 |
293,8 |
6,26 |
6,22 |
6730 |
6670 |
6620 |
6590 |
6540 |
6370 |
5940 |
5380 |
4850 |
4350 |
|
100Б2 |
328,9 |
6,46 |
6,13 |
7808 |
7740 |
7680 |
7650 |
7620 |
7330 |
6840 |
6220 |
3630 |
5070 |
|
100Б3 |
364,0 |
6,61 |
6,08 |
8900 |
8830 |
8770 |
8730 |
8620 |
8200 |
7710 |
7030 |
6390 |
5780 |
|
100Б4 |
400,6 |
6,67 |
6,06 |
9580 |
9520 |
9480 |
9330 |
8950 |
8540 |
8100 |
7480 |
6840 |
6230 |
Таблица 2
Широкополочные двутавры
|
А см2 |
iy см |
|
Предельные усилия Nn, кН при расчетной длине lef, м |
№ профиля |
|||||||||||||||||||
|
1,5 |
2,0 |
2,5 |
3,0 |
3,5 |
4,0 |
4,5 |
5,0 |
5,5 |
6,0 |
6,5 |
7,0 |
7,5 |
8,0 |
8,5 |
9,0 |
9,5 |
10,0 |
10,5 |
|||||
|
Сталь марки ВСт3пс6-1 λ ³ 120 |
|||||||||||||||||||||||
|
20Ш1 |
38,9 |
3,61 |
2,29 |
830 |
773 |
709 |
619 |
526 |
442 |
367 |
300 |
20Ш1 |
|||||||||||
|
23Ш1 |
46,1 |
3,67 |
2,62 |
986 |
919 |
846 |
744 |
635 |
536 |
447 |
366 |
306 |
23Ш1 |
||||||||||
|
26Ш1 |
54,4 |
4,23 |
2,53 |
1180 |
1120 |
1050 |
978 |
868 |
756 |
654 |
560 |
475 |
400 |
26Ш1 |
|||||||||
|
26Ш2 |
62,7 |
4,31 |
2,52 |
1370 |
1300 |
1220 |
1130 |
1010 |
891 |
773 |
665 |
567 |
479 |
26Ш2 |
|||||||||
|
30Ш1 |
68,3 |
4,64 |
2,66 |
1510 |
1440 |
1360 |
1280 |
1180 |
1040 |
923 |
807 |
700 |
603 |
515 |
30Ш1 |
||||||||
|
30Ш2 |
77,6 |
4,73 |
2,65 |
1720 |
1640 |
1560 |
1460 |
1360 |
1210 |
1070 |
941 |
821 |
710 |
607 |
528 |
30Ш2 |
|||||||
|
30Ш3 |
87,0 |
4,80 |
2,65 |
1930 |
1850 |
1750 |
1650 |
1540 |
1370 |
1220 |
1070 |
940 |
816 |
700 |
608 |
30Ш3 |
|||||||
|
35Ш1 |
95,7 |
5,84 |
2,46 |
2170 |
2100 |
2020 |
1940 |
1840 |
1740 |
1620 |
1470 |
1330 |
1200 |
1070 |
963 |
856 |
753 |
671 |
35Ш1 |
||||
|
35Ш2 |
104,7 |
5,90 |
2,46 |
2370 |
2300 |
2220 |
2130 |
2030 |
1920 |
1790 |
1630 |
1480 |
1330 |
1190 |
1070 |
954 |
840 |
749 |
35Ш2 |
||||
|
35Ш3 |
116,3 |
5,99 |
2,45 |
2690 |
2560 |
2470 |
2370 |
2260 |
2150 |
2010 |
1840 |
1670 |
1510 |
1360 |
1210 |
1080 |
960 |
856 |
35Ш3 |
||||
|
40Ш1 |
122,4 |
7,18 |
2,33 |
2810 |
2750 |
2680 |
2600 |
2510 |
2420 |
2320 |
2220 |
2090 |
1930 |
1780 |
1640 |
1500 |
1370 |
1250 |
1140 |
1020 |
933 |
851 |
40Ш1 |
|
40Ш2 |
141,6 |
7,14 |
2,35 |
3260 |
3180 |
3100 |
3000 |
2900 |
2800 |
2680 |
2560 |
2400 |
2220 |
2050 |
1880 |
1730 |
1580 |
1440 |
1300 |
1170 |
1060 |
974 |
40Ш2 |
|
Сталь марки ВСт3сп5-1 λ ³ 120 |
|||||||||||||||||||||||
|
20Ш1 |
38,9 |
3,61 |
2,29 |
861 |
801 |
732 |
633 |
536 |
448 |
369 |
301 |
20Ш1 |
|||||||||||
|
23Ш1 |
46,1 |
3,67 |
2,62 |
1020 |
952 |
873 |
761 |
646 |
543 |
450 |
367 |
307 |
23Ш1 |
||||||||||
|
26Ш1 |
54,4 |
4,23 |
2,53 |
1230 |
1160 |
1090 |
1000 |
888 |
770 |
663 |
565 |
473 |
401 |
26Ш1 |
|||||||||
|
26Ш2 |
62,7 |
4,31 |
2,52 |
1370 |
1300 |
1220 |
1130 |
1010 |
891 |
773 |
665 |
567 |
479 |
26Ш2 |
|||||||||
|
30Ш1 |
68,3 |
4,64 |
2,66 |
1510 |
1440 |
1360 |
1280 |
1180 |
1040 |
923 |
807 |
700 |
603 |
515 |
30Ш1 |
||||||||
|
30Ш2 |
77,6 |
4,73 |
2,65 |
1720 |
1640 |
1560 |
1460 |
1360 |
1210 |
1070 |
941 |
821 |
710 |
607 |
528 |
30Ш2 |
|||||||
|
30Ш3 |
87,0 |
4,80 |
2,65 |
1913 |
1850 |
1750 |
1650 |
1540 |
1370 |
1220 |
1070 |
940 |
816 |
700 |
608 |
30Ш3 |
|||||||
|
35Ш1 |
95,7 |
5,84 |
2,46 |
2170 |
2100 |
2020 |
1940 |
1840 |
1740 |
1620 |
1470 |
1330 |
1200 |
1080 |
963 |
856 |
753 |
671 |
35Ш1 |
||||
|
35Ш2 |
104,7 |
5,90 |
2,43 |
2370 |
2300 |
2220 |
2130 |
2030 |
1920 |
1790 |
1630 |
1480 |
1330 |
1199 |
1072 |
954 |
840 |
749 |
35Ш2 |
||||
|
35Ш3 |
116,3 |
5,99 |
2,45 |
2640 |
2560 |
2470 |
2370 |
2260 |
2150 |
2010 |
1840 |
1670 |
1510 |
1360 |
1219 |
1088 |
960 |
856 |
35Ш3 |
||||
|
40Ш1 |
122,4 |
7,18 |
2,33 |
2810 |
2750 |
2680 |
2600 |
2510 |
2420 |
2320 |
2220 |
2090 |
1930 |
1785 |
1643 |
1507 |
1379 |
1257 |
1143 |
1029 |
933 |
851 |
40Ш1 |
|
40Ш2 |
141,6 |
7,14 |
2,35 |
3260 |
3180 |
3100 |
3000 |
2900 |
2800 |
2680 |
2560 |
2400 |
2220 |
2053 |
1888 |
1731 |
1582 |
1442 |
1309 |
1177 |
1068 |
974 |
40Ш2 |
|
Сталь марки ВСт3сп5-2 λ ³ 120 |
|||||||||||||||||||||||
|
20Ш1 |
38,9 |
3,61 |
2,29 |
955 |
882 |
796 |
673 |
561 |
460 |
369 |
303 |
20Ш1 |
|||||||||||
|
23Ш1 |
46,1 |
3,67 |
2,62 |
1030 |
1040 |
955 |
810 |
678 |
559 |
451 |
369 |
309 |
23Ш1 |
||||||||||
|
26Ш1 |
54,4 |
4,23 |
2,53 |
1370 |
1290 |
1200 |
1080 |
943 |
809 |
685 |
574 |
476 |
404 |
26Ш1 |
|||||||||
|
26Ш2 |
62,7 |
4,31 |
2,52 |
1530 |
1450 |
1350 |
1240 |
1080 |
940 |
805 |
681 |
568 |
482 |
26Ш2 |
|||||||||
|
30Ш1 |
68,3 |
4,64 |
2,66 |
1690 |
1600 |
1510 |
1410 |
1260 |
1110 |
969 |
836 |
714 |
603 |
518 |
30Ш1 |
||||||||
|
30Ш2 |
77,6 |
4,73 |
2,65 |
1920 |
1830 |
1730 |
1610 |
1460 |
1290 |
1120 |
978 |
840 |
711 |
611 |
531 |
30Ш2 |
|||||||
|
30Ш3 |
87,0 |
4,80 |
2,65 |
2160 |
2060 |
1940 |
1820 |
1660 |
1470 |
1280 |
1120 |
965 |
819 |
704 |
612 |
30Ш3 |
|||||||
|
35Ш1 |
95,7 |
5,84 |
2,46 |
2430 |
2340 |
2250 |
2150 |
2040 |
1910 |
1740 |
1570 |
1400 |
1250 |
1113 |
981 |
856 |
757 |
675 |
35Ш1 |
||||
|
35Ш2 |
104,7 |
5,90 |
2,46 |
2660 |
2370 |
2470 |
2360 |
2240 |
2110 |
1920 |
1730 |
1560 |
1390 |
1239 |
1094 |
955 |
845 |
754 |
35Ш2 |
||||
|
35Ш3 |
116,3 |
5,99 |
2,45 |
2960 |
2860 |
2750 |
2630 |
2500 |
2360 |
2160 |
1960 |
1760 |
1580 |
1409 |
1247 |
1092 |
966 |
861 |
35Ш3 |
||||
|
40Ш1 |
122,4 |
7,18 |
2,33 |
3160 |
3080 |
2990 |
2900 |
2790 |
2680 |
2560 |
2430 |
2240 |
2060 |
1890 |
1725 |
1569 |
1422 |
1283 |
1147 |
1035 |
939 |
856 |
40Ш1 |
|
40Ш2 |
141,6 |
7,14 |
2,35 |
3650 |
3560 |
3460 |
3350 |
3220 |
3090 |
2950 |
2800 |
2580 |
2370 |
2172 |
1982 |
1801 |
1630 |
1470 |
1313 |
1185 |
1075 |
980 |
40Ш2 |
|
Сталь марки 09Г2С λ ³ 120 |
|||||||||||||||||||||||
|
20Ш1 |
38,9 |
3,61 |
2,29 |
1100 |
1010 |
881 |
729 |
591 |
468 |
373 |
305 |
20Ш1 |
|||||||||||
|
23Ш1 |
46,1 |
3,67 |
2,62 |
1240 |
1140 |
1010 |
853 |
703 |
569 |
453 |
371 |
311 |
23Ш1 |
||||||||||
|
26Ш1 |
54,4 |
4,23 |
2,53 |
1500 |
1410 |
1300 |
1150 |
993 |
840 |
700 |
573 |
479 |
406 |
26Ш1 |
|||||||||
|
26Ш2 |
62,7 |
4,31 |
2,52 |
1740 |
1640 |
1520 |
1360 |
1160 |
994 |
834 |
686 |
572 |
485 |
26Ш2 |
|||||||||
|
30Ш1 |
68,3 |
4,64 |
2,66 |
1920 |
1820 |
1700 |
1570 |
1370 |
1180 |
1010 |
861 |
717 |
606 |
522 |
30Ш1 |
||||||||
|
30Ш2 |
77,6 |
4,73 |
2,65 |
2190 |
2080 |
1950 |
1800 |
1590 |
1380 |
1180 |
1010 |
845 |
716 |
616 |
536 |
30Ш2 |
|||||||
|
30Ш3 |
87,0 |
4,80 |
2,65 |
2460 |
2330 |
2190 |
2030 |
1800 |
1570 |
1350 |
1160 |
979 |
825 |
709 |
617 |
30Ш3 |
|||||||
|
35Ш1 |
95,7 |
5,84 |
2,46 |
2770 |
2670 |
2550 |
2420 |
2280 |
2100 |
1880 |
1670 |
1480 |
1300 |
1130 |
983 |
862 |
763 |
681 |
35Ш1 |
||||
|
35Ш2 |
104,7 |
5,90 |
2,46 |
3040 |
2930 |
2800 |
2660 |
2510 |
2320 |
2080 |
1860 |
1640 |
1450 |
1260 |
1090 |
962 |
852 |
760 |
35Ш2 |
||||
|
35Ш3 |
116,3 |
5,99 |
2,45 |
3380 |
3260 |
3120 |
2970 |
2800 |
2610 |
2350 |
2100 |
1860 |
1650 |
1440 |
1250 |
1090 |
973 |
868 |
35Ш3 |
||||
|
40Ш1 |
122,4 |
7,18 |
2,33 |
3610 |
3510 |
3400 |
3280 |
3150 |
3010 |
2860 |
2650 |
2420 |
2210 |
2000 |
1800 |
1620 |
1450 |
1280 |
1150 |
1040 |
946 |
864 |
40Ш1 |
|
40Ш2 |
141,6 |
7,14 |
2,35 |
4180 |
4060 |
3940 |
3790 |
3640 |
3480 |
3300 |
3050 |
2790 |
2540 |
2300 |
2070 |
1860 |
1660 |
1470 |
1320 |
1190 |
1080 |
989 |
40Ш2 |
|
40Ш3 |
157,2 |
7,18 |
2,35 |
4640 |
4510 |
4370 |
4220 |
4050 |
3870 |
3670 |
3400 |
3110 |
2830 |
2570 |
2320 |
2080 |
1860 |
1650 |
1480 |
1330 |
1210 |
1100 |
40Ш3 |
|
50Ш1 |
145,7 |
5,81 |
3,00 |
4270 |
4160 |
4020 |
3860 |
3690 |
3510 |
3300 |
3000 |
2730 |
2470 |
2220 |
1980 |
1760 |
1550 |
1380 |
1240 |
1120 |
1020 |
50Ш1 |
|
|
50Ш2 |
176,6 |
6,69 |
3,03 |
5180 |
5030 |
4850 |
4660 |
4450 |
4220 |
3940 |
3580 |
3240 |
2920 |
2620 |
2330 |
2070 |
1820 |
1620 |
1450 |
1310 |
1190 |
50Ш2 |
|
|
50Ш3 |
199,2 |
6,81 |
3,02 |
5490 |
5340 |
5160 |
4970 |
4760 |
4540 |
4300 |
3960 |
3610 |
3270 |
2960 |
2670 |
2390 |
2130 |
1880 |
1690 |
1520 |
1380 |
50Ш3 |
|
|
50Ш4 |
221,7 |
6,92 |
3,01 |
6120 |
5950 |
5760 |
5550 |
5330 |
5090 |
4830 |
4460 |
4080 |
3710 |
3370 |
3040 |
2730 |
2440 |
2160 |
1940 |
1750 |
1590 |
50Ш4 |
|
|
60Ш1 |
181,1 |
7,17 |
3,40 |
5130 |
5080 |
5030 |
4860 |
4660 |
4450 |
4230 |
3920 |
3580 |
3260 |
2960 |
2670 |
2390 |
2140 |
1890 |
1700 |
1530 |
1390 |
1270 |
60Ш1 |
|
60Ш2 |
225,3 |
7,06 |
3,43 |
6230 |
6060 |
5880 |
5670 |
5450 |
5210 |
4950 |
4620 |
4230 |
3860 |
3510 |
3180 |
2870 |
2570 |
2280 |
2050 |
1850 |
1680 |
1530 |
60Ш2 |
|
60Ш3 |
261,8 |
7,16 |
3,42 |
7240 |
7060 |
6840 |
6610 |
6360 |
6080 |
5790 |
5430 |
4980 |
4560 |
4150 |
3770 |
3410 |
3060 |
2740 |
2440 |
2200 |
2000 |
1820 |
60Ш3 |
|
60Ш4 |
298,3 |
7,23 |
3,42 |
8260 |
8050 |
7810 |
7550 |
7270 |
6960 |
6630 |
6240 |
5730 |
5250 |
4790 |
4350 |
3940 |
3550 |
3180 |
2840 |
2560 |
2320 |
2120 |
60Ш4 |
|
70Ш1 |
216,4 |
6,93 |
4,07 |
5970 |
5910 |
5860 |
5760 |
5510 |
5250 |
4970 |
4540 |
4130 |
3740 |
3380 |
3030 |
2700 |
2390 |
2120 |
1900 |
1720 |
1560 |
70Ш1 |
|
|
70Ш2 |
251,7 |
7,07 |
4,04 |
6840 |
6770 |
6570 |
6340 |
6090 |
5820 |
5540 |
5160 |
4730 |
4320 |
3930 |
3560 |
3210 |
2880 |
2560 |
2290 |
2070 |
1880 |
1710 |
70Ш2 |
|
70Ш3 |
299,8 |
7,09 |
4,05 |
8290 |
8070 |
7830 |
7550 |
7260 |
6940 |
6610 |
6170 |
5650 |
5160 |
4700 |
4260 |
3840 |
3450 |
3080 |
2750 |
2480 |
2250 |
2050 |
70Ш3 |
|
70Ш4 |
341,6 |
7,11 |
4,06 |
9450 |
9200 |
8920 |
8610 |
8280 |
7920 |
7540 |
7040 |
6460 |
5900 |
5370 |
4870 |
4400 |
3950 |
3530 |
3150 |
2840 |
2580 |
2350 |
70Ш4 |
|
70Ш5 |
389,7 |
7,17 |
4,06 |
10060 |
8910 |
9540 |
9230 |
8890 |
8530 |
8150 |
7740 |
7130 |
6550 |
6000 |
5480 |
4980 |
4510 |
4070 |
3640 |
3280 |
2980 |
2710 |
70Ш5 |
Колонные двутавры
|
А см2 |
iy см |
|
Предельные усилия Nn, кН при расчетной длине lef, м |
№ профиля |
||||||||||||||||||||||
|
1,5 |
2,0 |
2,5 |
3,0 |
3,5 |
4,0 |
4,5 |
5,5 |
5,5 |
6,0 |
6,5 |
7,0 |
7,5 |
8,0 |
8,5 |
9,0 |
9,5 |
10,0 |
10,5 |
11,0 |
11,5 |
12,0 |
|||||
|
Сталь марки ВСт3пс6, ВСт3сп5 λ ³ 120 |
||||||||||||||||||||||||||
|
20К1 |
52,8 |
5,03 |
1,69 |
1150 |
1110 |
1060 |
1000 |
943 |
863 |
777 |
383 |
607 |
534 |
406 |
403 |
354 |
20К1 |
|||||||||
|
20К2 |
59,7 |
5,07 |
1,70 |
1300 |
1250 |
1200 |
1110 |
1060 |
982 |
893 |
783 |
694 |
611 |
534 |
462 |
403 |
20К2 |
|||||||||
|
23К1 |
66,5 |
6,03 |
1,65 |
1480 |
1440 |
1390 |
1330 |
1270 |
1210 |
1140 |
1040 |
952 |
863 |
779 |
701 |
627 |
559 |
495 |
444 |
23К1 |
||||||
|
23К2 |
75,8 |
6,04 |
1,66 |
1680 |
1640 |
1580 |
1520 |
1450 |
1380 |
1300 |
1190 |
1080 |
985 |
890 |
800 |
717 |
639 |
566 |
508 |
23К2 |
||||||
|
26К1 |
83,1 |
6,51 |
1,71 |
1860 |
1810 |
1760 |
1690 |
1630 |
1560 |
1480 |
1390 |
1280 |
1170 |
1070 |
977 |
886 |
800 |
720 |
642 |
579 |
26К1 |
|||||
|
26К2 |
93,2 |
6,52 |
1,72 |
2080 |
2030 |
1970 |
1900 |
1830 |
1750 |
1670 |
1570 |
1440 |
1320 |
1200 |
1090 |
996 |
899 |
809 |
722 |
652 |
26К2 |
|||||
|
26К3 |
105,9 |
6,55 |
1,73 |
2370 |
2310 |
2240 |
2160 |
2080 |
1990 |
1900 |
1790 |
1640 |
1500 |
1370 |
1250 |
1130 |
1020 |
927 |
827 |
747 |
26К3 |
|||||
|
30К1 |
108,0 |
7,50 |
1,73 |
2440 |
2390 |
2330 |
2270 |
2200 |
2120 |
2040 |
1960 |
1870 |
1750 |
1620 |
1500 |
1390 |
1280 |
1170 |
1080 |
987 |
894 |
814 |
746 |
30К1 |
||
|
30К2 |
122,7 |
7,54 |
1,73 |
2770 |
2720 |
2650 |
2580 |
2500 |
2420 |
2330 |
2230 |
2130 |
2000 |
1860 |
1720 |
1590 |
1460 |
1350 |
1230 |
1130 |
1030 |
935 |
856 |
30К2 |
||
|
30К3 |
138,7 |
7,54 |
1,74 |
3140 |
3070 |
3000 |
2920 |
2830 |
2730 |
2630 |
2530 |
2410 |
2260 |
2100 |
1940 |
1800 |
1660 |
1520 |
1390 |
1280 |
1160 |
1050 |
968 |
30К3 |
||
|
35К1 |
139,7 |
8,76 |
1,72 |
3180 |
3130 |
3070 |
3010 |
2930 |
2860 |
2780 |
2690 |
2600 |
2510 |
2410 |
2270 |
2130 |
1990 |
1860 |
1740 |
1620 |
1500 |
1400 |
1290 |
1190 |
1090 |
35К1 |
|
35К2 |
160,4 |
8,83 |
1,72 |
3660 |
3600 |
3530 |
3460 |
3370 |
3290 |
3200 |
3100 |
3000 |
2890 |
2780 |
2620 |
2460 |
2310 |
2160 |
2020 |
1880 |
1750 |
1620 |
1500 |
1390 |
1270 |
35К2 |
|
40К1 |
175,8 |
10,00 |
1,73 |
4030 |
3970 |
3910 |
3850 |
3770 |
3690 |
3610 |
3820 |
3430 |
3330 |
3230 |
3120 |
3010 |
2850 |
2700 |
1550 |
2400 |
2260 |
2130 |
2000 |
1870 |
1750 |
40К1 |
|
40К2 |
211,0 |
10,03 |
1,73 |
4830 |
4770 |
4700 |
4620 |
4530 |
4440 |
4340 |
4230 |
4120 |
4010 |
3890 |
3760 |
3630 |
3440 |
3260 |
3080 |
2900 |
2740 |
2580 |
2420 |
2270 |
2130 |
40К2 |
|
40К3 |
257,8 |
10,07 |
1,75 |
5410 |
5350 |
5270 |
5190 |
5090 |
5000 |
4890 |
4780 |
4660 |
4540 |
4420 |
4280 |
4150 |
3990 |
3790 |
3590 |
3400 |
3220 |
3040 |
2870 |
2700 |
2540 |
40К3 |
|
Сталь марки 09Г2С λ ³ 120 |
||||||||||||||||||||||||||
|
20К1 |
52,3 |
5,03 |
1,69 |
1500 |
1430 |
1350 |
1260 |
1140 |
1000 |
878 |
759 |
649 |
547 |
470 |
409 |
359 |
20К1 |
|||||||||
|
20К2 |
59,7 |
5,07 |
1,70 |
1700 |
1620 |
1530 |
1430 |
1300 |
1140 |
1000 |
868 |
743 |
628 |
540 |
469 |
412 |
20К2 |
|||||||||
|
23К1 |
66,5 |
6,03 |
1,65 |
1930 |
1860 |
1780 |
1700 |
1610 |
1500 |
1350 |
1210 |
1070 |
954 |
838 |
726 |
637 |
564 |
503 |
452 |
23К1 |
||||||
|
23К2 |
75,8 |
6,04 |
1,66 |
2200 |
2120 |
2030 |
1940 |
1830 |
1710 |
1540 |
1380 |
1230 |
1080 |
957 |
833 |
729 |
644 |
575 |
516 |
23К2 |
||||||
|
26К1 |
83,1 |
6,51 |
1,71 |
2430 |
2350 |
2270 |
2170 |
2070 |
1960 |
1810 |
1640 |
1480 |
1320 |
1180 |
1050 |
925 |
814 |
726 |
651 |
588 |
26К1 |
|||||
|
26К2 |
93,2 |
6,52 |
1,72 |
2730 |
2640 |
2540 |
2440 |
2320 |
2200 |
2030 |
1840 |
1660 |
1490 |
1330 |
1180 |
1040 |
916 |
816 |
733 |
662 |
26К2 |
|||||
|
26К3 |
105,9 |
6,55 |
1,73 |
3100 |
3000 |
2900 |
2780 |
2640 |
2500 |
2320 |
2100 |
1900 |
1700 |
1520 |
1350 |
1190 |
1040 |
936 |
840 |
759 |
26К3 |
|||||
|
30К1 |
108,0 |
7,50 |
1,73 |
3200 |
3120 |
3020 |
2920 |
2820 |
2700 |
2570 |
2420 |
2230 |
2040 |
1860 |
1690 |
1530 |
1380 |
1240 |
1100 |
999 |
907 |
827 |
758 |
30К1 |
||
|
30К2 |
122,7 |
7,54 |
1,73 |
3630 |
3540 |
3440 |
3330 |
3200 |
3070 |
2930 |
2770 |
2550 |
2330 |
2130 |
1940 |
1760 |
1580 |
1420 |
1270 |
1140 |
1040 |
949 |
870 |
30К2 |
||
|
30К3 |
138,7 |
7,54 |
1,74 |
4110 |
4010 |
3890 |
3760 |
3620 |
3470 |
3320 |
3130 |
2880 |
2640 |
2410 |
2190 |
1990 |
1790 |
1610 |
1430 |
1290 |
1170 |
1070 |
983 |
30К3 |
||
|
35К1 |
139,7 |
8,76 |
1,72 |
4170 |
4090 |
4000 |
3900 |
3790 |
3670 |
3540 |
3400 |
3260 |
3070 |
2850 |
2650 |
2450 |
2260 |
2080 |
1900 |
1740 |
1580 |
1430 |
1310 |
1200 |
1110 |
35К1 |
|
35К2 |
160,4 |
8,83 |
1,72 |
4800 |
4700 |
4600 |
4480 |
4350 |
4220 |
4070 |
3920 |
3760 |
3550 |
3300 |
3060 |
2840 |
2620 |
2410 |
2210 |
2020 |
1840 |
1670 |
1530 |
1400 |
1290 |
35К2 |
|
40К1 |
175,8 |
10,00 |
1,73 |
5290 |
5200 |
5110 |
5000 |
4890 |
4760 |
4630 |
4490 |
4350 |
4190 |
4030 |
3790 |
3550 |
3330 |
3110 |
2900 |
2690 |
2500 |
2310 |
2130 |
1960 |
1800 |
40К1 |
|
40К2 |
211,0 |
10,06 |
1,73 |
6350 |
6250 |
6130 |
6010 |
5870 |
5720 |
5570 |
5400 |
5230 |
5050 |
4860 |
4570 |
4290 |
4020 |
3760 |
3500 |
3260 |
3030 |
2800 |
2590 |
2380 |
2180 |
40К2 |
|
40К3 |
257,8 |
10,07 |
1,75 |
7270 |
7160 |
7030 |
6890 |
6750 |
6580 |
6410 |
6230 |
6040 |
5840 |
5630 |
5370 |
5050 |
4750 |
4450 |
4170 |
3890 |
3630 |
3380 |
3130 |
2900 |
2680 |
40К3 |
|
40К4 |
308,6 |
10,10 |
1,77 |
8700 |
8570 |
8420 |
8260 |
8080 |
7890 |
7680 |
7470 |
7240 |
7000 |
6750 |
6440 |
6060 |
5700 |
5350 |
5010 |
4680 |
4370 |
4060 |
3770 |
3490 |
3230 |
40К4 |
|
40К5 |
371,0 |
10,11 |
1,79 |
9750 |
9610 |
9450 |
9280 |
9090 |
8860 |
8660 |
8430 |
8190 |
7940 |
7670 |
7410 |
6990 |
6590 |
6210 |
5830 |
5470 |
5130 |
4790 |
4470 |
4160 |
3870 |
40К5 |
В приложении приведены значения предельных усилий в колоннах замкнутого и сквозного сечения с планками из двух швеллеров по ГОСТ 8240-72 с уклоном полок при расчете на устойчивость в плоскости, параллельной оси х - х, табл. 1 и в плоскости; параллельной оси у - у, табл. 2.
Черт. 1. Сечение стержней из двух швеллеров
Материал стержней - сталь марок: ВСт3кп2, ВСт3пс6, ВСт3пс6-1, ВСт3пс6-2 и 09Г2С-6 или 12 категории, согласно табл. 50 СНиП II-23-61.
При расчете стержней приняты следующие условия:
закрепление концов стержней шарнирное; максимальная гибкость λ = 150;
расчетные длины с 3 до 12 м с интервалом 1 м;
расстояние между планками в свету для швеллеров высоты от 80 до 220 мм - 500 мм; для швеллеров высотой более 220 мм - 1000 мм;
швеллеры расположены полками внутрь (по черт. 1). Размер «а», равный расстоянию между полками швеллеров, принят равным 2bf (черт. 1б) и 200, 300 и 400 мм (черт. 1а) (bf - ширина полок швеллера), но не менее а ³ 2bf + 100, для возможности прокрашивания внутренних поверхностей швеллеров.
В табл. 3 приведены сечения планок для сквозных колонн при соответствующих расстояниях между планками и расстояниями «а» между полками швеллеров.
Примеры расчета.
Требуется подобрать сечение стержня из двух швеллеров из стали марки 09Г2С-6.
Расчетное усилие N = 1370 кН. Расчетные длины lx = 10 м, ly = 10 м.
Принимаем сечение стержня из двух швеллеров № 30 с расстоянием между полками а = 300 мм.
Нормальные силы: N = 1460 кН > 1370 кН и Ny = 1420 кН > 1370 кН.
Расстояние в свету между планками принимается равным 1000 мм.
Требуется подобрать сечение стержня из двух швеллеров из стали марки ВСт3пс6. Расчетное усилие N = 1000 кН. Расчетная длина lx = 4 м, ly = 7 м.
Принимаем сечение стержня из двух швеллеров № 22 с расстоянием в свету между полками а = 300 мм.
Нормальные силы:
Nx = 1090 кН > 1000 кН, Ny = 1020 кН > 1000 кН.
Расстояние в свету между планками принимается равным 1000 мм.
Предельные усилия в колоннах Nn в зависимости от расчетной длины lx
|
А см2 |
ix см |
Nn, при расчетной длине lx, м |
||||||||||
|
3 |
4 |
5 |
6 |
7 |
8 |
9 |
10 |
11 |
12 |
|||
|
ВСт3кп2 λ ³ 120 |
||||||||||||
|
10 |
10,90 |
3,99 |
362 |
275 |
202 |
|||||||
|
12 |
13,30 |
4,78 |
479 |
405 |
319 |
245 |
184 |
|||||
|
14 |
15,60 |
5,60 |
591 |
532 |
446 |
363 |
290 |
226 |
||||
|
ВСт3пс6, ВСт3сп5 λ ³ 120 |
||||||||||||
|
22 |
26,70 |
8,89 |
1150 |
1090 |
1030 |
967 |
880 |
775 |
679 |
590 |
508 |
432 |
|
24 |
30,60 |
9,73 |
1290 |
1280 |
1210 |
1140 |
1070 |
971 |
863 |
763 |
671 |
586 |
|
27 |
35,20 |
10,9 |
1480 |
1480 |
1440 |
1370 |
1300 |
1220 |
1110 |
1000 |
898 |
801 |
|
30 |
40,50 |
12,0 |
1690 |
1600 |
1670 |
1620 |
1550 |
1470 |
1390 |
1260 |
1150 |
1040 |
|
40 |
61,50 |
15,7 |
2480 |
2480 |
2480 |
2450 |
2410 |
2370 |
2320 |
2260 |
2180 |
2070 |
|
ВСт3пс6-1 λ ³ 120 |
||||||||||||
|
10 |
10,90 |
3,99 |
378 |
283 |
204 |
|||||||
|
12 |
13,30 |
4,78 |
505 |
426 |
327 |
248 |
184 |
|||||
|
14 |
15,60 |
5,60 |
626 |
559 |
462 |
371 |
293 |
227 |
||||
|
16 |
18,10 |
6,42 |
752 |
689 |
610 |
510 |
421 |
342 |
273 |
|||
|
18 |
20,70 |
7,24 |
882 |
822 |
754 |
660 |
561 |
472 |
392 |
321 |
||
|
20 |
23,40 |
8,07 |
1010 |
959 |
893 |
820 |
713 |
616 |
527 |
446 |
372 |
315 |
|
ВСт3пс6-2 λ ³ 120 |
||||||||||||
|
10 |
10,90 |
3,99 |
406 |
396 |
204 |
|||||||
|
12 |
13,30 |
4,78 |
556 |
448 |
340 |
249 |
186 |
|||||
|
14 |
15,60 |
5,60 |
693 |
608 |
489 |
385 |
294 |
228 |
||||
|
16 |
18,10 |
6,42 |
836 |
760 |
654 |
538 |
435 |
343 |
274 |
|||
|
18 |
20,70 |
7,24 |
983 |
910 |
829 |
704 |
590 |
487 |
394 |
323 |
||
|
20 |
23,40 |
8,07 |
1130 |
1060 |
964 |
881 |
758 |
645 |
543 |
451 |
374 |
317 |
|
09Г2С λ ³ 120 |
||||||||||||
|
14 |
15,60 |
5,60 |
622 |
686 |
553 |
400 |
297 |
231 |
||||
|
16 |
18,10 |
6,42 |
999 |
893 |
729 |
580 |
449 |
347 |
278 |
|||
|
18 |
20,70 |
7,24 |
1170 |
1070 |
939 |
777 |
631 |
501 |
398 |
326 |
||
|
20 |
23,40 |
8,07 |
1360 |
1260 |
1150 |
989 |
830 |
686 |
556 |
453 |
378 |
321 |
|
22 |
26,70 |
8,89 |
1470 |
1400 |
1310 |
1180 |
1020 |
881 |
746 |
622 |
516 |
438 |
|
24 |
30,60 |
9,73 |
1630 |
1620 |
1550 |
1440 |
1280 |
1120 |
974 |
835 |
707 |
595 |
|
27 |
35,20 |
10,9 |
1840 |
1840 |
1790 |
1720 |
1620 |
1450 |
1280 |
1130 |
988 |
854 |
|
30 |
40,50 |
12,0 |
2100 |
2100 |
2060 |
2000 |
1920 |
1820 |
1630 |
1460 |
1300 |
1150 |
|
40 |
61,50 |
15,7 |
3090 |
3090 |
3080 |
3030 |
2790 |
2900 |
2810 |
2720 |
2560 |
2390 |
Таблица 2
Предельные усилия в колоннах Nn в зависимости от расчетной длины ly
|
А см2 |
ix см |
а см |
Nn, при расчетной длине ly, м |
||||||||||
|
3 |
4 |
5 |
6 |
7 |
8 |
9 |
10 |
11 |
12 |
||||
|
Сталь марки ВCт3кп2 |
|||||||||||||
|
10 |
10,90 |
3,44 |
92 |
319 |
227 |
153 |
|||||||
|
13,63 |
300 |
436 |
427 |
417 |
405 |
392 |
377 |
361 |
338 |
314 |
291 |
||
|
12 |
13,30 |
3,97 |
104 |
440 |
334 |
244 |
|||||||
|
13,55 |
300 |
539 |
528 |
515 |
500 |
483 |
465 |
445 |
418 |
388 |
359 |
||
|
14 |
15,60 |
4,47 |
116 |
547 |
445 |
342 |
256 |
||||||
|
13,44 |
300 |
639 |
626 |
610 |
592 |
571 |
549 |
525 |
494 |
458 |
423 |
||
|
Сталь марки ВСт3пс6, ВСт3сп5 |
|||||||||||||
|
22 |
26,70 |
6,44 |
164 |
1080 |
1000 |
891 |
748 |
619 |
505 |
405 |
|||
|
13,01 |
300 |
1160 |
1130 |
1100 |
1060 |
1020 |
983 |
935 |
871 |
801 |
735 |
||
|
17,95 |
400 |
1160 |
1160 |
1140 |
1120 |
1100 |
1070 |
1040 |
1010 |
984 |
950 |
||
|
24 |
30,60 |
7,08 |
180 |
1340 |
1180 |
1080 |
943 |
800 |
671 |
556 |
454 |
||
|
12,85 |
300 |
1250 |
1230 |
1190 |
1150 |
1110 |
1060 |
996 |
922 |
850 |
780 |
||
|
17,77 |
400 |
1270 |
1260 |
1240 |
1220 |
1190 |
1160 |
1130 |
1100 |
1060 |
1010 |
||
|
27 |
35,230 |
7,54 |
190 |
1470 |
1380 |
1280 |
1140 |
989 |
843 |
711 |
592 |
491 |
|
|
12,82 |
300 |
1450 |
1420 |
1380 |
1340 |
1280 |
1230 |
1150 |
1060 |
984 |
903 |
||
|
17,74 |
400 |
1470 |
1460 |
1430 |
1410 |
1380 |
1350 |
1310 |
1270 |
1230 |
1180 |
||
|
30 |
40,50 |
8,00 |
200 |
1680 |
1620 |
1510 |
1390 |
1210 |
1040 |
894 |
758 |
632 |
536 |
|
12,80 |
300 |
1660 |
1640 |
1600 |
1540 |
1490 |
1420 |
1330 |
1230 |
1130 |
1040 |
||
|
17,71 |
400 |
1680 |
1670 |
1650 |
1630 |
1600 |
1560 |
1520 |
1470 |
1420 |
1360 |
||
|
40 |
61,50 |
9,33 |
230 |
2480 |
2420 |
2350 |
2260 |
2100 |
1870 |
1650 |
1450 |
1260 |
1090 |
|
17,55 |
400 |
2460 |
2450 |
2430 |
2400 |
2380 |
2340 |
2300 |
2250 |
2190 |
2100 |
||
|
Сталь марки ВСт3пс6-1 |
|||||||||||||
|
10 |
10,90 |
3,44 |
92 |
331 |
231 |
154 |
|||||||
|
8,67 |
200 |
445 |
424 |
399 |
366 |
325 |
286 |
250 |
216 |
184 |
158 |
||
|
13,63 |
300 |
462 |
453 |
441 |
428 |
413 |
397 |
377 |
351 |
325 |
300 |
||
|
12 |
13,30 |
3,97 |
104 |
459 |
343 |
246 |
|||||||
|
8,60 |
200 |
550 |
524 |
492 |
452 |
401 |
352 |
307 |
264 |
224 |
192 |
||
|
13,55 |
300 |
572 |
560 |
546 |
529 |
510 |
490 |
467 |
434 |
402 |
371 |
||
|
14 |
15,60 |
4,47 |
116 |
576 |
461 |
349 |
255 |
||||||
|
8,50 |
200 |
651 |
619 |
581 |
534 |
472 |
413 |
359 |
308 |
261 |
223 |
||
|
13,44 |
300 |
678 |
664 |
646 |
626 |
603 |
579 |
552 |
513 |
474 |
437 |
||
|
18,41 |
400 |
688 |
679 |
669 |
657 |
644 |
629 |
613 |
596 |
578 |
559 |
||
|
16 |
18,10 |
4,97 |
128 |
698 |
692 |
467 |
360 |
270 |
|||||
|
13,33 |
300 |
793 |
775 |
755 |
731 |
704 |
675 |
643 |
598 |
552 |
507 |
||
|
18,30 |
400 |
805 |
795 |
783 |
763 |
753 |
735 |
716 |
695 |
674 |
651 |
||
|
18 |
20,70 |
5,46 |
140 |
824 |
733 |
596 |
475 |
371 |
286 |
||||
|
13,22 |
300 |
913 |
892 |
867 |
839 |
808 |
774 |
737 |
685 |
631 |
579 |
||
|
18,17 |
400 |
927 |
915 |
900 |
884 |
865 |
844 |
822 |
799 |
774 |
747 |
||
|
20 |
23,40 |
5,95 |
152 |
954 |
863 |
736 |
603 |
486 |
382 |
||||
|
13,12 |
300 |
1030 |
1010 |
984 |
951 |
915 |
876 |
833 |
774 |
712 |
653 |
||
|
18,06 |
400 |
1050 |
1030 |
1020 |
1080 |
981 |
958 |
932 |
905 |
875 |
846 |
||
|
Сталь марки ВСт3пс6-2 |
|||||||||||||
|
10 |
10,90 |
3,44 |
92 |
351 |
236 |
155 |
|||||||
|
8,67 |
200 |
494 |
468 |
438 |
392 |
345 |
300 |
258 |
220 |
185 |
159 |
||
|
13,63 |
300 |
514 |
503 |
469 |
473 |
455 |
435 |
405 |
373 |
345 |
316 |
||
|
12 |
13,30 |
3,97 |
104 |
493 |
359 |
247 |
|||||||
|
8,60 |
200 |
611 |
579 |
541 |
485 |
426 |
369 |
317 |
259 |
226 |
193 |
||
|
13,55 |
300 |
638 |
623 |
606 |
585 |
563 |
538 |
508 |
464 |
427 |
391 |
||
|
14 |
15,60 |
4,47 |
116 |
633 |
488 |
360 |
257 |
||||||
|
8,50 |
200 |
724 |
685 |
639 |
575 |
501 |
433 |
371 |
313 |
262 |
224 |
||
|
13,44 |
300 |
757 |
739 |
718 |
693 |
666 |
636 |
596 |
549 |
504 |
460 |
||
|
18,41 |
400 |
768 |
758 |
746 |
731 |
715 |
697 |
678 |
657 |
635 |
607 |
||
|
16 |
18,10 |
4,97 |
128 |
770 |
633 |
489 |
366 |
271 |
|||||
|
13,33 |
300 |
886 |
865 |
839 |
810 |
777 |
742 |
696 |
640 |
586 |
535 |
||
|
18,50 |
400 |
900 |
888 |
873 |
856 |
836 |
815 |
792 |
757 |
741 |
710 |
||
|
18 |
20,70 |
5,46 |
140 |
911 |
789 |
630 |
491 |
371 |
288 |
||||
|
13,22 |
300 |
1020 |
995 |
965 |
930 |
892 |
851 |
798 |
733 |
671 |
611 |
||
|
18,17 |
400 |
1030 |
1020 |
1000 |
984 |
962 |
937 |
910 |
881 |
851 |
816 |
||
|
20 |
23,40 |
5,95 |
152 |
1050 |
948 |
784 |
631 |
496 |
384 |
||||
|
13,12 |
300 |
1150 |
1120 |
1090 |
1050 |
1010 |
963 |
903 |
829 |
757 |
688 |
||
|
18,06 |
400 |
1170 |
1160 |
1140 |
1110 |
1090 |
1080 |
1030 |
999 |
964 |
925 |
||
|
Сталь марки 09Г2С |
|||||||||||||
|
14 |
15,60 |
4,47 |
116 |
725 |
531 |
368 |
259 |
||||||
|
8,50 |
200 |
865 |
811 |
736 |
641 |
546 |
461 |
382 |
315 |
265 |
327 |
||
|
13,44 |
300 |
911 |
886 |
867 |
823 |
785 |
732 |
670 |
610 |
552 |
496 |
||
|
18,41 |
400 |
926 |
913 |
886 |
876 |
853 |
828 |
802 |
773 |
730 |
685 |
||
|
16 |
18,10 |
4,97 |
128 |
906 |
702 |
517 |
367 |
275 |
|||||
|
13,33 |
300 |
1060 |
1030 |
1000 |
982 |
917 |
857 |
783 |
711 |
642 |
576 |
||
|
18,30 |
400 |
1080 |
1070 |
1040 |
1020 |
989 |
969 |
938 |
903 |
856 |
802 |
||
|
18 |
20,70 |
5,46 |
140 |
1080 |
887 |
682 |
505 |
375 |
292 |
||||
|
13,22 |
300 |
1230 |
1190 |
1150 |
1100 |
1050 |
985 |
899 |
815 |
734 |
658 |
||
|
18,17 |
400 |
1250 |
1230 |
1200 |
1180 |
1140 |
1110 |
1070 |
1030 |
985 |
922 |
||
|
20 |
23,40 |
5958 |
152 |
1260 |
1080 |
864 |
667 |
500 |
388 |
||||
|
13,12 |
300 |
1390 |
1350 |
1300 |
1250 |
1190 |
1110 |
1010 |
921 |
828 |
741 |
||
|
18,05 |
400 |
1410 |
1400 |
1370 |
1340 |
1300 |
1260 |
1220 |
1170 |
1110 |
1040 |
||
|
22 |
26,70 |
6,44 |
164 |
1390 |
1250 |
1040 |
843 |
664 |
513 |
411 |
|||
|
13,01 |
300 |
1480 |
1460 |
1410 |
1350 |
1290 |
1220 |
1110 |
1010 |
918 |
824 |
||
|
17,95 |
400 |
1500 |
1480 |
1470 |
1450 |
1410 |
1370 |
1320 |
1270 |
1220 |
1150 |
||
|
24 |
30,60 |
7,08 |
180 |
1610 |
1490 |
1300 |
1080 |
886 |
707 |
562 |
46 |
||
|
12,85 |
300 |
1600 |
1570 |
1510 |
1450 |
1370 |
1260 |
1160 |
1050 |
955 |
858 |
||
|
17,77 |
400 |
1610 |
1600 |
1580 |
1550 |
1510 |
1470 |
1420 |
1350 |
1270 |
1190 |
||
|
27 |
35,20 |
7,54 |
190 |
1620 |
1780 |
1590 |
1340 |
1110 |
911 |
729 |
597 |
499 |
|
|
12,82 |
300 |
1800 |
1770 |
1730 |
1680 |
1600 |
1470 |
1340 |
1220 |
1100 |
995 |
||
|
17,74 |
400 |
1820 |
1810 |
1790 |
1760 |
1730 |
1690 |
1640 |
1570 |
1480 |
1380 |
||
|
30 |
40,50 |
8,00 |
200 |
2090 |
2000 |
1860 |
1630 |
1380 |
1150 |
944 |
769 |
642 |
545 |
|
12,80 |
300 |
2060 |
2020 |
1970 |
1920 |
1850 |
1700 |
1560 |
1420 |
1280 |
1150 |
||
|
17,71 |
400 |
2080 |
2050 |
2030 |
2010 |
1970 |
1530 |
1680 |
1820 |
1710 |
1610 |
||
|
40 |
61,50 |
9,33 |
230 |
3080 |
2990 |
2860 |
2710 |
2430 |
2110 |
1810 |
1530 |
1280 |
1080 |
|
12,67 |
300 |
3020 |
2970 |
2910 |
2820 |
2730 |
2550 |
2360 |
2140 |
1930 |
1730 |
||
|
17,55 |
400 |
3050 |
3030 |
3000 |
2950 |
2900 |
2840 |
2780 |
2700 |
2570 |
2480 |
||
Примечание: в рамку заключены значения Nn для колонн, имеющих гибкость λ > 120.
Сечения соединительных планок составных стержней из двух швеллеров по ГОСТ 8240-72.
|
F см2 |
l мм |
hw мм |
Сечения планок при «а» в мм |
||||
|
200° |
250 |
300 |
400 |
||||
|
Сталь марки ВСт3пс6 |
|||||||
|
10 |
10,9 |
700 |
4 |
160´6 |
160´6 |
160´6 |
160´6 |
|
12 |
13,3 |
700 |
4 |
160´6 |
160´6 |
160´6 |
160´6 |
|
14 |
15,6 |
700 |
4 |
160´6 |
160´6 |
160´6 |
160´6 |
|
16 |
18,1 |
700 |
4 |
160´6 |
160´6 |
160´6 |
160´6 |
|
18 |
20,7 |
700 |
4 |
160´6 |
160´6 |
160´6 |
160´6 |
|
20 |
23,4 |
700 |
4 |
160´6 |
160´6 |
160´6 |
160´6 |
|
22 |
26,7 |
1200 |
6 |
200´8 |
200´8 |
200´8 |
200´8 |
|
24 |
30,6 |
1200 |
6 |
200´8 |
200´8 |
200´8 |
200´8 |
|
27 |
35,2 |
1200 |
7 |
200´8 |
200´8 |
200´8 |
200´8 |
|
30 |
40,5 |
1200 |
8 |
- |
250´8 |
250´8 |
250´8 |
|
40 |
61,5 |
1200 |
8 |
- |
- |
250´10 |
250´8 |
|
Сталь марки 09ГС |
|||||||
|
10 |
10,9 |
700 |
4 |
160´6 |
160´6 |
160´6 |
160´6 |
|
12 |
13,3 |
700 |
4 |
160´6 |
160´6 |
160´6 |
160´6 |
|
14 |
15,6 |
700 |
5 |
160´6 |
160´6 |
160´6 |
160´6 |
|
16 |
18,1 |
700 |
5 |
200´8 |
160´6 |
160´6 |
160´6 |
|
18 |
20,7 |
700 |
5 |
200´8 |
200´8 |
200´8 |
200´8 |
|
20 |
23,4 |
700 |
5 |
200´8 |
200´8 |
200´8 |
200´8 |
|
22 |
26,7 |
1200 |
6 |
250´8 |
250´8 |
250´8 |
250´8 |
|
24 |
30,6 |
1200 |
7 |
250´8 |
250´8 |
250´8 |
250´8 |
|
27 |
35,2 |
1200 |
8 |
250´10 |
250´8 |
250´8 |
250´8 |
|
30 |
40,5 |
1200 |
8 |
- |
250´10 |
250´10 |
250´10 |
|
40 |
61,5 |
1200 |
8 |
- |
- |
300´10 |
300´10 |
Примечание: 1. Материал планок - сталь марки ВСт3пс6 по ГОСТ 380-71.
2. Электроды Э42. Расчетные сопротивления сварных швов срезу по металлу шва Rwf = 0,7 МПа. Коэффициент bt = 0,7 для ручной сварки.
В табл. 1 - 4 приложения приведены данные для расчета опорных плит баз колонн, фундаментных болтов и анкерных плиток. Материал плит - сталь ВСт3пс6 при толщинах до 25 мм включительно и сталь марки 09Г2С при толщинах свыше 28 мм. Табличные значения вычислены для плит как без учета припусков на строжку, так и с их учетом.
При расчете плит из стали марки ВСт3пс6 принят коэффициент условий роаботы 1,2 в соответствии с п. 11 табл. 6 [1].
В большинстве случаев расчета опорных плит без колонн определяющим является несущая способность консольных участков или несущая способность средних участков плит, работающих по балочной схеме, с учетом разгружающего влияния консолей (черт. 1 а, б).

Черт. 1. К расчету опорной плиты базы колонны
а - однопролетная опорная плита; б - двухпролетная опорная плита.
В табл. 1 приведены допускаемые вылеты консолей в зависимости от местного смятия бетона под опорной плитой.
В табл. 2 приведены допускаемые пролеты опорных плит в зависимости от местного смятия бетона под опорной плитой при М = gl2/12.
В табл. 3 приведены предельные усилия фундаментных болтов по ГОСТ 24379.00-80, длина нарезки резьбы «а» и размер выступающей части болтов над анкерной плиткой «b». Расчетное сопротивление болтов определялось по диаметру шпильки d1*, по табл. 2 ГОСТ 24379.1-80. Глубина заделки определяется при расчете фундаментов, в зависимости от типа и конструкции фундаментных болтов.
В табл. 4 приведены предельные моменты, воспринимаемые анкерными плитками, в зависимости от их геометрических размеров.
Предельные вылеты консолей опорных плит
|
t1 мм |
t2 мм |
W см3 |
Ryγc МПа |
Предельный вылет консолей «с», мм при Rb,loc, Мпа |
|||||||||||
|
8 |
9 |
10 |
10,5 |
11 |
12 |
13 |
14 |
15 |
16 |
18 |
20 |
||||
|
Без учета припусков на строжку |
|||||||||||||||
|
10 |
10 |
0,17 |
270 |
34 |
32 |
30 |
29 |
29 |
27 |
26 |
25 |
24 |
24 |
22 |
21 |
|
12 |
12 |
0,24 |
270 |
40 |
38 |
36 |
35 |
34 |
33 |
32 |
30 |
29 |
28 |
27 |
25 |
|
14 |
14 |
0,33 |
270 |
47 |
44 |
42 |
41 |
40 |
38 |
37 |
35 |
34 |
33 |
31 |
30 |
|
16 |
16 |
0,43 |
270 |
54 |
51 |
48 |
47 |
46 |
44 |
42 |
41 |
39 |
38 |
36 |
34 |
|
18 |
18 |
0,54 |
270 |
60 |
57 |
54 |
53 |
51 |
49 |
47 |
46 |
44 |
43 |
40 |
38 |
|
20 |
20 |
0,67 |
270 |
67 |
63 |
60 |
59 |
57 |
55 |
53 |
51 |
49 |
47 |
45 |
42 |
|
22 |
22 |
0,81 |
258 |
72 |
68 |
65 |
63 |
62 |
59 |
57 |
55 |
53 |
51 |
48 |
46 |
|
25 |
25 |
1,04 |
258 |
82 |
77 |
73 |
72 |
70 |
67 |
64 |
62 |
60 |
58 |
55 |
52 |
|
28 |
28 |
1,31 |
290 |
97 |
92 |
87 |
85 |
83 |
79 |
76 |
74 |
71 |
69 |
65 |
62 |
|
30 |
30 |
1,50 |
290 |
104 |
98 |
93 |
91 |
89 |
85 |
82 |
79 |
76 |
74 |
70 |
66 |
|
32 |
32 |
1,71 |
290 |
111 |
105 |
99 |
97 |
95 |
91 |
87 |
84 |
81 |
79 |
74 |
70 |
|
36 |
36 |
2,16 |
270 |
121 |
114 |
108 |
105 |
103 |
99 |
95 |
91 |
88 |
85 |
80 |
76 |
|
40 |
40 |
2,67 |
270 |
134 |
126 |
120 |
117 |
114 |
110 |
105 |
101 |
98 |
95 |
89 |
85 |
|
46 |
45 |
3,38 |
270 |
151 |
142 |
135 |
132 |
129 |
123 |
118 |
114 |
110 |
107 |
101 |
95 |
|
50 |
50 |
4,17 |
270 |
168 |
158 |
150 |
146 |
143 |
137 |
132 |
127 |
122 |
119 |
112 |
106 |
|
60 |
60 |
6,00 |
270 |
201 |
190 |
180 |
176 |
172 |
164 |
158 |
152 |
147 |
142 |
134 |
127 |
|
80 |
30 |
10,67 |
260 |
263 |
248 |
236 |
230 |
225 |
215 |
207 |
199 |
192 |
186 |
176 |
167 |
|
100 |
100 |
16,67 |
250 |
323 |
304 |
289 |
282 |
275 |
264 |
253 |
244 |
236 |
228 |
215 |
204 |
|
120 |
120 |
24,00 |
250 |
387 |
365 |
346 |
338 |
330 |
316 |
304 |
293 |
283 |
274 |
258 |
245 |
|
140 |
140 |
32,67 |
250 |
452 |
426 |
404 |
394 |
385 |
369 |
354 |
342 |
330 |
320 |
301 |
286 |
|
160 |
160 |
42,67 |
250 |
516 |
487 |
462 |
451 |
440 |
422 |
405 |
390 |
377 |
365 |
344 |
327 |
|
С учетом припусков на строжку |
|||||||||||||||
|
10 |
10 |
0,17 |
270 |
34 |
32 |
30 |
29 |
29 |
27 |
26 |
25 |
24 |
24 |
22 |
21 |
|
12 |
12 |
0,24 |
270 |
40 |
38 |
36 |
35 |
34 |
33 |
32 |
30 |
29 |
28 |
27 |
25 |
|
14 |
14 |
0,33 |
270 |
47 |
44 |
42 |
41 |
40 |
38 |
37 |
35 |
34 |
33 |
31 |
30 |
|
16 |
16 |
0,43 |
270 |
54 |
51 |
48 |
47 |
46 |
44 |
42 |
41 |
39 |
38 |
36 |
34 |
|
18 |
18 |
0,54 |
270 |
60 |
57 |
54 |
53 |
51 |
49 |
47 |
46 |
44 |
43 |
40 |
38 |
|
20 |
18 |
0,54 |
270 |
60 |
57 |
54 |
53 |
51 |
49 |
47 |
46 |
44 |
43 |
40 |
38 |
|
22 |
20 |
0,67 |
258 |
66 |
62 |
59 |
57 |
56 |
54 |
51 |
50 |
48 |
46 |
44 |
41 |
|
25 |
23 |
0,86 |
258 |
75 |
71 |
67 |
65 |
64 |
62 |
59 |
57 |
55 |
53 |
50 |
48 |
|
28 |
25 |
1,04 |
290 |
87 |
82 |
78 |
76 |
74 |
71 |
68 |
66 |
63 |
61 |
58 |
55 |
|
30 |
27 |
1,21 |
290 |
94 |
88 |
84 |
82 |
80 |
77 |
74 |
71 |
69 |
66 |
63 |
59 |
|
32 |
29 |
1,40 |
290 |
101 |
95 |
90 |
88 |
86 |
82 |
79 |
76 |
74 |
71 |
67 |
64 |
|
36 |
33 |
1,81 |
270 |
111 |
104 |
99 |
97 |
94 |
90 |
87 |
84 |
81 |
78 |
74 |
70 |
|
40 |
37 |
2,28 |
270 |
124 |
117 |
111 |
108 |
106 |
101 |
97 |
91 |
91 |
88 |
83 |
78 |
|
45 |
42 |
2,94 |
270 |
141 |
133 |
126 |
123 |
120 |
115 |
111 |
106 |
103 |
100 |
94 |
89 |
|
50 |
45 |
3,38 |
270 |
151 |
142 |
135 |
132 |
129 |
123 |
118 |
114 |
110 |
107 |
101 |
95 |
|
60 |
55 |
5,04 |
270 |
184 |
174 |
165 |
161 |
157 |
151 |
145 |
139 |
135 |
130 |
123 |
117 |
|
80 |
70 |
8,17 |
260 |
230 |
217 |
206 |
201 |
196 |
188 |
181 |
171 |
168 |
163 |
154 |
146 |
|
100 |
90 |
13,50 |
250 |
290 |
274 |
260 |
254 |
248 |
237 |
228 |
220 |
212 |
205 |
194 |
184 |
|
120 |
110 |
20,17 |
250 |
355 |
335 |
318 |
310 |
303 |
290 |
279 |
236 |
259 |
251 |
237 |
225 |
|
140 |
130 |
28,17 |
250 |
420 |
396 |
375 |
366 |
358 |
343 |
329 |
317 |
306 |
297 |
280 |
265 |
|
160 |
160 |
37,50 |
250 |
484 |
456 |
433 |
423 |
413 |
396 |
380 |
366 |
354 |
342 |
323 |
306 |
Обозначения: Rb,loc - расчетные сопротивления бетона смятию;
t1 - толщина листа (заготовки) с учетом припуска на строжку;
t2 - расчетная толщина опорной плиты.
Предельные пролеты опорных плит
|
t1 мм |
t2 мм |
W см3 |
Ryγc МПа |
Предельный пролет l, мм при Rb,loc, МПа |
|||||||||||
|
8 |
9 |
10 |
10,5 |
11 |
12 |
13 |
14 |
15 |
16 |
18 |
20 |
||||
|
Без учета припуска на строжку |
|||||||||||||||
|
10 |
10 |
0,17 |
270 |
82 |
77 |
73 |
72 |
70 |
67 |
64 |
62 |
60 |
58 |
55 |
52 |
|
12 |
12 |
0,24 |
270 |
99 |
93 |
88 |
86 |
84 |
80 |
77 |
75 |
72 |
70 |
66 |
62 |
|
14 |
14 |
0,33 |
270 |
115 |
108 |
103 |
100 |
98 |
94 |
90 |
87 |
84 |
81 |
77 |
73 |
|
16 |
16 |
0,43 |
270 |
131 |
124 |
118 |
115 |
112 |
107 |
103 |
99 |
96 |
93 |
88 |
83 |
|
18 |
18 |
0,54 |
270 |
148 |
139 |
132 |
129 |
126 |
121 |
116 |
112 |
108 |
105 |
99 |
94 |
|
20 |
20 |
0,67 |
270 |
164 |
155 |
147 |
143 |
140 |
134 |
129 |
124 |
120 |
116 |
110 |
104 |
|
22 |
22 |
0,81 |
258 |
177 |
167 |
158 |
154 |
151 |
144 |
139 |
134 |
129 |
125 |
118 |
112 |
|
25 |
25 |
1,04 |
258 |
201 |
189 |
180 |
175 |
171 |
164 |
158 |
152 |
147 |
142 |
134 |
127 |
|
28 |
28 |
1,31 |
290 |
238 |
225 |
213 |
208 |
203 |
195 |
187 |
180 |
174 |
169 |
159 |
151 |
|
30 |
30 |
1,50 |
290 |
255 |
241 |
228 |
223 |
218 |
209 |
200 |
193 |
187 |
181 |
170 |
162 |
|
32 |
32 |
1,71 |
290 |
272 |
257 |
244 |
238 |
232 |
222 |
214 |
206 |
199 |
193 |
182 |
172 |
|
36 |
36 |
2,16 |
270 |
296 |
279 |
265 |
258 |
252 |
241 |
232 |
224 |
216 |
209 |
197 |
187 |
|
40 |
40 |
2,67 |
270 |
329 |
310 |
294 |
287 |
280 |
268 |
258 |
248 |
240 |
232 |
219 |
208 |
|
45 |
45 |
3,38 |
270 |
370 |
349 |
331 |
323 |
315 |
302 |
290 |
279 |
270 |
261 |
246 |
234 |
|
50 |
50 |
4,17 |
270 |
411 |
387 |
367 |
359 |
350 |
335 |
322 |
311 |
300 |
290 |
274 |
260 |
|
60 |
60 |
6,00 |
270 |
493 |
465 |
441 |
430 |
420 |
402 |
387 |
373 |
360 |
349 |
329 |
312 |
|
80 |
80 |
10,67 |
260 |
645 |
608 |
577 |
563 |
550 |
527 |
506 |
488 |
471 |
456 |
430 |
408 |
|
100 |
100 |
16,67 |
250 |
791 |
745 |
707 |
690 |
674 |
645 |
620 |
598 |
577 |
559 |
527 |
500 |
|
120 |
120 |
24,00 |
250 |
949 |
894 |
849 |
828 |
809 |
775 |
744 |
717 |
693 |
671 |
632 |
500 |
|
140 |
140 |
32,67 |
250 |
1107 |
1043 |
990 |
966 |
944 |
904 |
868 |
837 |
808 |
783 |
738 |
700 |
|
160 |
160 |
42,67 |
250 |
1265 |
1193 |
1131 |
1104 |
1079 |
1033 |
992 |
956 |
924 |
894 |
843 |
800 |
|
С учетом припуска на строжку |
|||||||||||||||
|
10 |
10 |
0,17 |
270 |
82 |
77 |
73 |
72 |
70 |
67 |
64 |
62 |
60 |
58 |
55 |
52 |
|
12 |
12 |
0,24 |
270 |
99 |
93 |
88 |
86 |
84 |
80 |
77 |
75 |
72 |
70 |
66 |
62 |
|
14 |
14 |
0,33 |
270 |
115 |
108 |
103 |
100 |
98 |
94 |
90 |
87 |
84 |
81 |
77 |
73 |
|
16 |
16 |
0,43 |
270 |
131 |
124 |
118 |
115 |
112 |
107 |
103 |
99 |
96 |
93 |
88 |
83 |
|
18 |
18 |
0,54 |
270 |
148 |
139 |
132 |
129 |
126 |
121 |
116 |
112 |
108 |
105 |
99 |
94 |
|
20 |
18 |
0,54 |
270 |
148 |
139 |
132 |
129 |
126 |
121 |
116 |
112 |
108 |
105 |
99 |
94 |
|
22 |
20 |
0,67 |
258 |
161 |
151 |
144 |
140 |
137 |
131 |
126 |
121 |
117 |
114 |
107 |
102 |
|
25 |
23 |
0,88 |
258 |
185 |
174 |
165 |
161 |
158 |
151 |
145 |
140 |
135 |
131 |
123 |
117 |
|
28 |
25 |
1,04 |
290 |
213 |
201 |
190 |
186 |
182 |
174 |
167 |
161 |
155 |
151 |
142 |
135 |
|
30 |
27 |
1,21 |
290 |
230 |
217 |
206 |
201 |
196 |
188 |
180 |
174 |
168 |
163 |
153 |
145 |
|
32 |
29 |
1,40 |
290 |
247 |
233 |
221 |
216 |
211 |
202 |
194 |
187 |
180 |
175 |
165 |
156 |
|
36 |
33 |
1,81 |
270 |
271 |
256 |
242 |
237 |
231 |
221 |
213 |
205 |
198 |
192 |
181 |
171 |
|
40 |
37 |
2,28 |
270 |
304 |
287 |
272 |
265 |
259 |
248 |
238 |
230 |
222 |
215 |
203 |
192 |
|
45 |
42 |
2,94 |
270 |
345 |
325 |
309 |
301 |
294 |
282 |
241 |
261 |
252 |
244 |
230 |
218 |
|
50 |
45 |
3,38 |
270 |
370 |
349 |
331 |
323 |
315 |
302 |
290 |
279 |
270 |
261 |
246 |
234 |
|
60 |
55 |
5,04 |
270 |
452 |
426 |
404 |
394 |
385 |
369 |
354 |
342 |
330 |
320 |
301 |
286 |
|
80 |
70 |
8,17 |
260 |
564 |
532 |
505 |
493 |
481 |
461 |
443 |
427 |
412 |
399 |
376 |
357 |
|
100 |
90 |
13,50 |
250 |
712 |
671 |
636 |
621 |
607 |
581 |
558 |
538 |
520 |
503 |
474 |
450 |
|
120 |
100 |
20,17 |
250 |
870 |
820 |
778 |
759 |
742 |
710 |
682 |
657 |
635 |
615 |
580 |
550 |
|
140 |
130 |
28,17 |
250 |
1028 |
969 |
919 |
897 |
876 |
839 |
806 |
777 |
751 |
727 |
685 |
650 |
|
160 |
150 |
37,50 |
250 |
1186 |
1118 |
1061 |
1035 |
1011 |
968 |
930 |
896 |
866 |
839 |
791 |
750 |
Примечания: 1. Предельный пролет рассчитан для пластинки с защемлением на опорах с расчетным моментом M = Rb,loc ∙ l2/12
Обозначения: Rb,loc - расчетные сопротивления бетона смятию;
t1 - толщина листа (заготовки) с учетом припуска на строжку;
t2 - расчетная толщина опорной плиты.
Предельные усилия фундаментных болтов по ГОСТ 24379.0-80
|
Площадь сечения болтов нетто А, см2 |
Предельные усилия одного болта, кН для марок стали |
Размеры по черт. 1 |
||||
|
ВСт3кп2 |
09Г2С-6(2) |
10Г2С1-6(2) |
а, мм |
b, мм |
||
|
20 |
2,25 |
33 |
42 |
43 |
80 |
100 |
|
24 |
3,24 |
47 |
60 |
61 |
90 |
110 |
|
30 |
5,19 |
76 |
95 |
98 |
100 |
120 |
|
36 |
7,59 |
111 |
137 |
137 |
110 |
130 |
|
42 |
10.34 |
151 |
186 |
186 |
120 |
140 |
|
48 |
13,80 |
201 |
248 |
248 |
130 |
150 |
|
56 |
18,74 |
274 |
337 |
337 |
140 |
160 |
|
64 |
25,12 |
367 |
442 |
432 |
150 |
170 |
|
72 |
32,23 |
471 |
567 |
554 |
160 |
180 |
|
80 |
40,87 |
597 |
703 |
703 |
170 |
190 |
|
90 |
53,68 |
784 |
923 |
923 |
190 |
210 |
|
100 |
67,32 |
983 |
1158 |
- |
210 |
230 |
|
110 |
82,67 |
1207 |
1422 |
- |
220 |
240 |
|
125 |
108,56 |
1585 |
1867 |
- |
230 |
250 |
|
140 |
138,01 |
2015 |
2374 |
- |
250 |
270 |
Примечание: 1. Шпильки расчетных болтов из стали марок 09Г2С-2 и 10Г2С1-2 по ГОСТ 19281-73 допускается применять при расчетной температуре наружного воздуха минус 40 °С и выше для диаметров
2. Расчетное сопротивление болтов определялось по диаметру шпильки d1* по табл. 2 ГОСТ 24379.1-80.
3. Обозначения: b - длина нарезки резьбы, a - размер выступающей части болтов над анкерной плиткой.
4. Наименьшие допустимые расстояния между осями болтов, необъединенных одной анкерной плитой, и от оси крайних болтов до грани фундамента, а также глубину заделки принимать по приложению 2 СНиП 2.09.03-85.

Предельные усилия на анкерные плитки
Обычно размер «Е» принимают равным
Е = d + t/2 , но не менее Е = d/2 + 30 + t
где d - диаметр анкерного болта, мм;
t - толщина траверсы, мм.
|
d мм |
d0 мм |
Ва мм |
Предельные усилия М, кН, см анкерных плиток при их толщине t1, мм |
||||||||||||
|
20 |
22 |
25 |
28 |
30 |
32 |
36 |
40 |
45 |
50 |
60 |
80 |
100 |
|||
|
Усилия по сечению брутто для типа 2 |
|||||||||||||||
|
20 |
28 |
120 |
216 |
250 |
322 |
455 |
522 |
594 |
700 |
864 |
1090 |
||||
|
24 |
32 |
120 |
250 |
322 |
455 |
522 |
594 |
700 |
864 |
1090 |
1350 |
||||
|
30 |
38 |
160 |
430 |
606 |
696 |
792 |
933 |
1150 |
1450 |
1790 |
2590 |
||||
|
36 |
44 |
200 |
758 |
870 |
990 |
1160 |
1430 |
1820 |
2240 |
3040 |
|||||
|
42 |
50 |
200 |
870 |
990 |
1160 |
1430 |
1820 |
2240 |
3240 |
||||||
|
48 |
56 |
240 |
1390 |
1720 |
2180 |
2700 |
3880 |
6650 |
|||||||
|
56 |
68 |
240 |
2700 |
3880 |
6650 |
||||||||||
|
64 |
78 |
280 |
3140 |
4530 |
7760 |
11600 |
|||||||||
|
72 |
83 |
320 |
3590 |
5180 |
8870 |
13300 |
|||||||||
|
80 |
93 |
360 |
5830 |
9980 |
15000 |
||||||||||
|
90 |
103 |
450 |
7290 |
12400 |
18700 |
||||||||||
|
Усилия по сечению нетто для типа 1 |
|||||||||||||||
|
20 |
28 |
120 |
166 |
191 |
247 |
349 |
400 |
455 |
537 |
662 |
838 |
1030 |
|||
|
24 |
32 |
120 |
236 |
333 |
383 |
436 |
513 |
634 |
802 |
990 |
1420 |
||||
|
30 |
38 |
160 |
462 |
531 |
604 |
712 |
878 |
1110 |
1370 |
1970 |
|||||
|
36 |
44 |
200 |
591 |
679 |
772 |
910 |
1120 |
1420 |
1750 |
2520 |
|||||
|
42 |
50 |
200 |
875 |
1080 |
1360 |
1660 |
2430 |
4160 |
|||||||
|
48 |
56 |
240 |
1320 |
1670 |
2060 |
2980 |
5100 |
||||||||
|
56 |
68 |
240 |
1930 |
2780 |
4770 |
7160 |
|||||||||
|
64 |
78 |
280 |
3270 |
5600 |
8410 |
||||||||||
|
72 |
83 |
320 |
3830 |
6570 |
9870 |
||||||||||
|
80 |
93 |
360 |
7400 |
11100 |
|||||||||||
|
90 |
103 |
450 |
9620 |
14400 |
|||||||||||
В таблицах 1 и 2 приведены предельные усилия для баз колонн без траверс (черт. 1) в зависимости от высоты двутавра и ширины полок, а также толщин опорных плит и размеров их в плане.
Материал опорных плит при их толщине - до 25 мм - сталь марки ВСт3пс6 по ГОСТ 380-71, при толщинах свыше 25 мм - сталь марки 09Г2С-6 по ГОСТ 19262-73. Напряжения смятия бетона фундамента над опорной плитой приняты равными 10,5 МПа.
Толщина опорных плит определялась для двух случаев передачи усилий на опорную плиту:
при помощи сварных швов без обработки поверхности опорной плиты (табл. 1);
через фрезерованный торец колонны со строжкой поверхности опорной плиты (табл. 2).
Во втором случае расчетные толщины опорных плит определялись с учетом следующих припусков на строжку:
|
Припуски на строжку, мм |
|
|
20 £ t < 28 |
2 |
|
28 £ t < 50 |
3 |
|
50 £ t < 80 |
5 |
|
80 £ t < 160 |
10 |
При разработке чертежей КМ в технической спецификации стали необходимо приводить в этом случае номинальные толщины плиты по ГОСТ 19903-74 (толщина заготовки) и на листе «Общих данных» помещать текст следующего содержания: «Плоскостность опорных плит толщиной до 50 мм включительно, для которых в чертежах приведено указание о строжке плоскости, допускается обеспечивать.
Зазор между поверхностью опорной плиты и ребром стальной линейки длиной 1 м не должен превышать 0,3 мм независимо от метода получения поверхности (правкой, строжкой или фрезеровкой).
В табл. 1 приведены требуемые толщины опорных плит без припуска на строжку, в табл. 2 - с учетом припуска на строжку.
Принятые в расчете вылеты консоли «С» в зависимости от толщины опорных плит и способа передачи усилий приведены ниже.
Ширина плиты принималась равной ширине полки двутавра плюс 20 мм с обеих сторон (черт. 1)
Получаемые расчетные размеры в плане опорных плит необходимо округлить до унифицированных размеров.
|
Вылеты консоли «С», мм при толщине плиты заготовки t, мм |
||||||||||||
|
20 |
22 |
25 |
28 |
30 |
32 |
36 |
40 |
45 |
50 |
60 |
80 |
|
|
При помощи сварных швов (без обработки) |
59 |
63 |
72 |
85 |
91 |
97 |
105 |
117 |
132 |
146 |
176 |
230 |
|
Через фрезерованный торец колонны (строжка плиты) |
53 |
57 |
66 |
76 |
82 |
88 |
97 |
108 |
123 |
135 |
161 |
215 |
Требуется подобрать базу колонны для двутавра 40К1 по ГОСТ 26020-83. Расчетное усилие в колонне N = 2690 кН.
Передача усилий через фрезерованный торец.
По табл. 2 подбираем базу, состоящую из опорной плиты толщиной 50 мм, шириной 440 мм и длиной, равной L = 400 + 2´132 = 664 мм. Предельное усилие на базу N = 2700 кН > 2690 кН.
Округляем размер L до 700 мм.
Требуется подобрать базу колонны для двутавра 30Ш по ГОСТ 26020-83.
Расчетное усилие 860 кН. Усилие от колонны на опорную плиту передается через сварные швы без строжки поверхности плиты.
По табл. 1 подбираем базу, состоящую из опорной плиты толщиной 25 мм, и шириной 240 мм и длиной L = 300 + 2´72 = 444 мм. Округляем размер до 450 мм.
Предельное усилие на базу N = 910 кН > 860 кН.

Черт. 1. Базы для центрально-сжатых колонн из двутавров по ГОСТ 26020-83.
Параллельные усилия на опорную плиту без учета припусков на строжку
|
В см |
N, кН при толщине плиты t, мм |
||||||||||||
|
20 |
22 |
25 |
28 |
30 |
32 |
36 |
40 |
45 |
50 |
60 |
80 |
||
|
23Б |
15 |
486 |
510 |
554 |
630 |
649 |
668 |
694 |
731 |
787 |
823 |
916 |
|
|
26Б |
16 |
546 |
575 |
628 |
719 |
739 |
760 |
788 |
827 |
876 |
925 |
1020 |
1200 |
|
30В |
18 |
642 |
678 |
745 |
837 |
904 |
926 |
958 |
1000 |
1050 |
1110 |
1230 |
1420 |
|
35В |
20 |
740 |
784 |
865 |
980 |
1020 |
1070 |
1140 |
1180 |
1240 |
1300 |
1420 |
1640 |
|
40Б |
21 |
819 |
869 |
961 |
1090 |
1140 |
1200 |
1290 |
1340 |
1410 |
1470 |
1600 |
1830 |
|
45Б |
22 |
915 |
972 |
1070 |
1230 |
1290 |
1350 |
1430 |
1560 |
1630 |
1690 |
1830 |
2080 |
|
50Б |
24 |
1020 |
1080 |
1200 |
1380 |
1460 |
1530 |
1630 |
1750 |
1900 |
1970 |
2120 |
2390 |
|
55Б |
26 |
1120 |
1200 |
1340 |
1540 |
1630 |
1710 |
1820 |
1970 |
2200 |
2280 |
2440 |
2730 |
|
60Б |
27 |
1210 |
1290 |
1440 |
1660 |
1750 |
1850 |
1970 |
2130 |
2310 |
2510 |
2670 |
2980 |
|
70Б |
30 |
1400 |
1490 |
1670 |
1940 |
2060 |
2170 |
2320 |
2520 |
2750 |
2970 |
3280 |
3620 |
|
80Б |
32 |
1570 |
1680 |
1880 |
2180 |
2320 |
2450 |
2620 |
2850 |
3130 |
3390 |
3830 |
4200 |
|
90Б |
34 |
1740 |
1880 |
2090 |
2430 |
2580 |
2730 |
2930 |
3200 |
3520 |
3820 |
4440 |
4820 |
|
100Б |
36 |
1900 |
2030 |
2290 |
2670 |
2840 |
3000 |
3220 |
3520 |
3880 |
4220 |
4850 |
5470 |
|
20Ш |
19 |
538 |
567 |
671 |
724 |
748 |
772 |
806 |
852 |
911 |
969 |
1080 |
|
|
23Ш |
20 |
589 |
622 |
680 |
811 |
835 |
860 |
894 |
942 |
1000 |
1060 |
1180 |
1400 |
|
26Ш |
22 |
681 |
721 |
793 |
824 |
935 |
1020 |
1060 |
1120 |
1180 |
1250 |
1390 |
1640 |
|
30Ш |
24 |
777 |
824 |
910 |
1030 |
1080 |
1130 |
1190 |
1320 |
1390 |
1470 |
1610 |
1890 |
|
35Ш |
29 |
954 |
1010 |
1120 |
1290 |
1350 |
1420 |
1500 |
1620 |
1830 |
1920 |
2090 |
2420 |
|
40Ш |
34 |
1130 |
1200 |
1340 |
1550 |
1640 |
1720 |
1830 |
1980 |
2140 |
2290 |
2630 |
3020 |
|
50Ш |
34 |
1250 |
1330 |
1480 |
1720 |
1810 |
1910 |
2040 |
2210 |
2400 |
2580 |
2980 |
3360 |
|
60Ш |
36 |
1410 |
1500 |
1680 |
1950 |
2070 |
2180 |
2330 |
2530 |
2770 |
2990 |
3370 |
3920 |
|
70Ш |
38 |
1530 |
1630 |
1830 |
2130 |
2260 |
2380 |
2550 |
2780 |
3040 |
3290 |
3730 |
4310 |
|
20К |
24 |
661 |
700 |
852 |
920 |
950 |
981 |
1020 |
1080 |
1150 |
1220 |
1370 |
1640 |
|
23К |
28 |
798 |
846 |
936 |
1160 |
1200 |
1230 |
1280 |
1350 |
1440 |
1520 |
1700 |
2010 |
|
26К |
30 |
878 |
932 |
1030 |
1170 |
1240 |
1410 |
1460 |
1540 |
1630 |
1720 |
1900 |
2250 |
|
30К |
34 |
1020 |
1080 |
1210 |
1380 |
1460 |
1530 |
1630 |
1890 |
1990 |
2100 |
2310 |
2690 |
|
35К |
39 |
1190 |
1270 |
1420 |
1640 |
1740 |
1830 |
1950 |
2110 |
2480 |
2600 |
2840 |
3280 |
|
40К |
44 |
1380 |
1470 |
1640 |
1900 |
2020 |
2130 |
2270 |
2470 |
2700 |
2910 |
3430 |
3930 |
Таблица 2
Предельные усилия на опорную плиту с учетом припуска на строжку
|
№ профиля |
В см |
N, кН при толщине плиты t, мм |
|||||||||||
|
20 |
22 |
25 |
28 |
30 |
32 |
36 |
40 |
45 |
50 |
60 |
80 |
||
|
23Б |
15 |
450 |
478 |
526 |
601 |
620 |
639 |
667 |
703 |
750 |
777 |
869 |
|
|
26Б |
16 |
504 |
537 |
593 |
652 |
709 |
729 |
758 |
797 |
847 |
876 |
974 |
1150 |
|
30Б |
18 |
591 |
630 |
701 |
776 |
817 |
856 |
925 |
969 |
1020 |
1050 |
1160 |
1370 |
|
35Б |
20 |
679 |
727 |
812 |
904 |
955 |
1000 |
1060 |
1150 |
1210 |
1240 |
1360 |
1590 |
|
40Б |
21 |
750 |
804 |
900 |
1000 |
1060 |
1120 |
1190 |
1310 |
1370 |
1410 |
1530 |
1770 |
|
45Б |
22 |
836 |
897 |
1000 |
1120 |
1190 |
1260 |
1350 |
1460 |
1590 |
1630 |
1760 |
2010 |
|
50Б |
24 |
932 |
1000 |
1120 |
1260 |
1340 |
1420 |
1530 |
1660 |
1850 |
1900 |
2050 |
2320 |
|
55Б |
26 |
1020 |
1100 |
1250 |
1400 |
1500 |
1580 |
1700 |
1860 |
2040 |
2200 |
2360 |
2650 |
|
60Б |
27 |
1100 |
1180 |
1340 |
1510 |
1610 |
1710 |
1840 |
2010 |
2210 |
2310 |
2590 |
2900 |
|
70Б |
30 |
1270 |
1370 |
1550 |
1760 |
1880 |
2000 |
2160 |
2370 |
2610 |
2750 |
3190 |
3530 |
|
80Б |
32 |
1420 |
1540 |
1740 |
1980 |
2120 |
2250 |
2440 |
2680 |
2970 |
3130 |
3730 |
4100 |
|
90Б |
34 |
1580 |
1700 |
1940 |
2200 |
2360 |
2510 |
2720 |
3000 |
3330 |
3520 |
4100 |
4720 |
|
100Б |
36 |
1720 |
1860 |
2120 |
2410 |
2580 |
2750 |
2990 |
3300 |
3670 |
3880 |
4550 |
5370 |
|
20Ш |
19 |
498 |
530 |
585 |
688 |
712 |
736 |
771 |
817 |
876 |
911 |
1020 |
|
|
23Ш |
20 |
543 |
579 |
642 |
708 |
743 |
823 |
858 |
906 |
966 |
1000 |
1120 |
1340 |
|
26Ш |
22 |
626 |
669 |
746 |
827 |
873 |
915 |
1020 |
1080 |
1140 |
1180 |
1320 |
1570 |
|
30Ш |
24 |
712 |
763 |
853 |
951 |
1000 |
1050 |
1120 |
1210 |
1350 |
1390 |
1540 |
1810 |
|
35Ш |
29 |
872 |
936 |
1050 |
1180 |
1250 |
1320 |
1410 |
1530 |
1670 |
1830 |
2000 |
2340 |
|
40Ш |
34 |
1030 |
1110 |
1250 |
1410 |
1500 |
1590 |
1710 |
1870 |
2050 |
2140 |
2530 |
2920 |
|
50Ш |
34 |
1130 |
1220 |
1380 |
1560 |
1660 |
1770 |
1900 |
2080 |
2290 |
2400 |
2740 |
3260 |
|
60Ш |
36 |
1280 |
1380 |
1560 |
1770 |
1890 |
2010 |
2170 |
2380 |
2630 |
2770 |
3190 |
3820 |
|
70Ш |
36 |
1390 |
1500 |
1700 |
1930 |
2060 |
2190 |
2370 |
2610 |
2880 |
3040 |
3520 |
4210 |
|
20К |
24 |
608 |
650 |
723 |
874 |
904 |
935 |
978 |
1030 |
1110 |
1150 |
1300 |
1570 |
|
23К |
28 |
731 |
783 |
877 |
979 |
1030 |
1180 |
1230 |
1300 |
1390 |
1440 |
1610 |
1930 |
|
26К |
30 |
803 |
861 |
967 |
1080 |
1140 |
1210 |
1410 |
1480 |
1570 |
1630 |
1810 |
2160 |
|
30К |
34 |
934 |
1000 |
1120 |
1270 |
1350 |
1420 |
1530 |
1660 |
1930 |
1990 |
2200 |
2590 |
|
35К |
39 |
1090 |
1170 |
1320 |
1490 |
1590 |
1690 |
1820 |
1990 |
2180 |
2480 |
2720 |
3160 |
|
40К |
44 |
1250 |
1350 |
1530 |
1730 |
1850 |
1960 |
2120 |
2320 |
2560 |
2700 |
3300 |
3800 |
В таблице 2 приведены предельные усилия, воспринимаемые базами колонн без траверс в зависимости от номера швеллера, ширины их расстановки, а также толщин опорных плит и их размеров в плане (черт. 1).
Черт. 1. Базы центрально-сжатой колонны из двух швеллеров
Материал опорных плит при их толщине до 25 мм - сталь марки ВСт3пс6 по ГОСТ 380-71, при толщине свыше 25 мм - сталь марки 09Г2С-6 по ГОСТ 19282-73.
Толщина опорных плит по подбору сечений принимается без припуска на строжку, что должно быть оговорено в чертежах марки КМ. Напряжения смятия бетона под опорной плитой приняты равными 10,5 МПа.
При определении предельных усилий по табл. 2 приняты следующие размеры опорной плиты:
В1 = а + 2с - ширина плиты;
L = h + 2c - длина плиты
где: а - ширина колонны
h - высота швеллера
c - требуемый вылет консоли, принимаемый по табл. 1.
Требуемые вылеты консолей
|
Толщина плиты t, мм |
16 |
18 |
20 |
22 |
25 |
28 |
30 |
32 |
36 |
40 |
|
Вылет консоли с, мм |
40 |
45 |
50 |
55 |
60 |
75 |
80 |
85 |
90 |
100 |
Требуется подобрать базу для колонны из двух швеллеров № 24 по ГОСТ 8240-72, составленных вплотную (черт. 1а).
Расчетное усилие в колонне N = 1000 кН.
По табл. 2 для замкнутого сечения колонны подбираем базу, состоящую из опорной плиты толщиной 25 мм. Вылет консоли по табл. 1 с = 60 мм.
Ширина плиты В1 = 180 + 2´60 = 300 мм.
Длина плиты L = 240 + 2´60 = 360 мм.
Предельное усилие на базу N = 1020 кН > 1000 кН.
Требуется подобрать базу для сквозной колонны из двух швеллеров № 30 по ГОСТ 8240-72, с шириной а = 300 мм (черт. 1б).
Расчетное усилие в колонне N = 1500 кН.
По табл. 2 подбираем базу для сквозного сечения колонны, состоящую из опорной плиты толщиной 25 мм. Вылет консоли по табл. 1 с = 60 мм.
Ширина плиты В1 = 300 + 2´60 = 420 мм.
Длина плиты L = 300 + 2´60 = 420 мм.
Предельное усилие на базу Nn = 1590 кН > 1500 кН.
Предельные усилия на базу колонн из двух швеллеров
|
а мм |
Предельные усилия Nn, кН при t, мм |
||||||||||
|
16 |
18 |
20 |
22 |
25 |
28 |
30 |
32 |
36 |
40 |
||
|
Замкнутые сечения колонн по (черт. 1а) |
|||||||||||
|
10 |
92 |
289 |
325 |
||||||||
|
12 |
104 |
347 |
386 |
428 |
428 |
471 |
|||||
|
14 |
116 |
410 |
453 |
497 |
544 |
593 |
644 |
697 |
|||
|
16 |
128 |
454 |
524 |
572 |
622 |
675 |
786 |
786 |
844 |
905 |
1030 |
|
18 |
140 |
509 |
573 |
652 |
706 |
761 |
879 |
941 |
941 |
1000 |
1130 |
|
20 |
152 |
617 |
636 |
707 |
794 |
853 |
977 |
1040 |
1100 |
1170 |
1250 |
|
22 |
164 |
675 |
756 |
776 |
849 |
949 |
1080 |
1140 |
1210 |
1290 |
1360 |
|
24 |
180 |
741 |
830 |
918 |
935 |
1020 |
1200 |
1270 |
1350 |
1420 |
1580 |
|
27 |
190 |
814 |
912 |
1000 |
1020 |
1200 |
1340 |
1420 |
1490 |
1580 |
1740 |
|
30 |
200 |
887 |
994 |
1100 |
1120 |
1310 |
1520 |
1570 |
1650 |
1730 |
1910 |
|
40 |
230 |
1120 |
1260 |
1390 |
1430 |
1670 |
1950 |
2080 |
2210 |
2390 |
2490 |
|
Сквозные сечения колонн по (черт. 1б) |
|||||||||||
|
12 |
200 |
509 |
588 |
639 |
|||||||
|
12 |
300 |
681 |
768 |
854 |
924 |
||||||
|
14 |
200 |
544 |
612 |
680 |
756 |
814 |
936 |
||||
|
300 |
716 |
807 |
898 |
982 |
1070 |
1210 |
|||||
|
400 |
887 |
1000 |
1100 |
1250 |
1330 |
1500 |
|||||
|
16 |
200 |
632 |
651 |
724 |
819 |
879 |
1000 |
||||
|
300 |
814 |
846 |
941 |
1020 |
1160 |
1300 |
|||||
|
400 |
996 |
1040 |
1150 |
1260 |
1400 |
1610 |
|||||
|
18 |
200 |
668 |
748 |
827 |
840 |
944 |
1070 |
||||
|
300 |
850 |
953 |
1050 |
1070 |
1180 |
1390 |
|||||
|
400 |
1030 |
1150 |
1280 |
1310 |
1450 |
1700 |
|||||
|
20 |
250 |
796 |
892 |
987 |
1000 |
1170 |
1390 |
1390 |
1460 |
1540 |
1710 |
|
300 |
887 |
994 |
1100 |
1120 |
1310 |
1520 |
1570 |
1650 |
1730 |
1910 |
|
|
400 |
1060 |
1190 |
1320 |
1360 |
1590 |
1920 |
1920 |
2020 |
2110 |
2310 |
|
|
22 |
250 |
832 |
933 |
1030 |
1050 |
1230 |
1470 |
1550 |
1550 |
1710 |
1800 |
|
300 |
923 |
1030 |
1140 |
1170 |
1370 |
1590 |
1740 |
1740 |
1920 |
2010 |
|
|
400 |
1100 |
1240 |
1370 |
1400 |
1640 |
1920 |
2040 |
2130 |
2330 |
3430 |
|
|
24 |
300 |
960 |
1070 |
1190 |
1290 |
1420 |
1650 |
1770 |
1930 |
2020 |
2110 |
|
400 |
1140 |
1280 |
1410 |
1540 |
1700 |
1980 |
2110 |
2250 |
2450 |
2550 |
|
|
27 |
300 |
1010 |
1130 |
1260 |
1370 |
1510 |
1750 |
1870 |
2070 |
2170 |
2360 |
|
400 |
1190 |
1340 |
1480 |
1620 |
1780 |
2080 |
2220 |
2360 |
2510 |
2840 |
|
|
30 |
250 |
978 |
1090 |
1210 |
1320 |
1450 |
1690 |
1800 |
1980 |
2070 |
2260 |
|
300 |
1060 |
1190 |
1320 |
1440 |
1590 |
1850 |
1980 |
2220 |
2310 |
2520 |
|
|
400 |
1250 |
1400 |
1550 |
1690 |
1860 |
2180 |
2320 |
2470 |
2630 |
2920 |
|
|
40 |
300 |
1250 |
1400 |
1550 |
1690 |
1860 |
2180 |
2320 |
2470 |
2630 |
2920 |
|
400 |
1430 |
1600 |
1780 |
1940 |
2140 |
2620 |
2790 |
2960 |
3150 |
3490 |
|
В табл. 1 приведены предельные усилия Nn, воспринимаемые базами колонн замкнутого сечения черт. 1, и требуемые размеры опорной плиты в зависимости от толщины опорной плиты и напряжения смятия бетона под опорной плитой.
Черт. 1. Базы центрально-сжатых колонн замкнутого сечения
а - из уголков; б - из листового проката.
Материал опорных плит - сталь марки 09Г2С по ГОСТ 19282-73. Расчет опорных плит был произведен с учетом припуска на строжку.
Требуется подобрать сечение опорной плиты для колонны из четырех уголков L 160´160´16.
Расчетное сопротивление смятия бетона под плитой равно 16 МПа.
Расчетное усилие N = 4000 кН.
По табл. 1 подбираем базу из опорной плиты толщиной tпа = 60 мм и шириной l = 530 мм.
Предельное усилие на базу Nn = 4990 кН > 4000 кН.
Предельные усилия Nn на базу колонн замкнутого сечения
|
Напряжение под плитой МПа |
Предельные усилия Nn в кН и размеры l, мм при толщине плиты tпл, мм |
||||||||||||
|
30 |
32 |
36 |
40 |
45 |
50 |
60 |
80 |
100 |
120 |
140 |
160 |
||
|
320 |
10,5 |
1960 460 |
2100 470 |
2250 480 |
2620 500 |
2830 520 |
2940 530 |
3410 570 |
4430 650 |
5290 710 |
6380 780 |
7400 840 |
8500 900 |
|
12 |
2090 450 |
2240 460 |
2410 470 |
2710 490 |
3120 510 |
3240 520 |
3760 560 |
4760 630 |
5710 690 |
6740 750 |
7870 810 |
9080 870 |
|
|
14 |
2260 440 |
2440 450 |
2630 460 |
2980 480 |
3490 500 |
3640 510 |
4080 540 |
5200 610 |
6280 670 |
7460 730 |
8510 780 |
9870 840 |
|
|
16 |
2390 430 |
2590 440 |
2810 450 |
3200 470 |
3600 490 |
3990 500 |
4490 530 |
5660 590 |
6750 650 |
7830 730 |
9240 780 |
10490 810 |
|
|
18 |
2640 430 |
2860 440 |
3100 450 |
3370 460 |
3830 480 |
4060 490 |
4860 520 |
6050 580 |
7140 630 |
8560 690 |
9850 740 |
11230 790 |
|
|
400 |
12 |
2640 530 |
2830 540 |
3180 560 |
3430 570 |
3830 590 |
4180 610 |
5060 650 |
6220 720 |
7300 780 |
8660 850 |
10150 920 |
11520 980 |
|
14 |
2850 520 |
3070 530 |
3320 540 |
3750 560 |
4210 580 |
4460 590 |
5550 630 |
6850 700 |
8080 760 |
9410 820 |
10840 880 |
12370 940 |
|
|
16 |
3180 520 |
3260 520 |
3710 540 |
4030 550 |
4550 570 |
4820 580 |
6150 820 |
7390 680 |
8760 740 |
10230 800 |
11830 860 |
13240 910 |
|
|
18 |
5320 510 |
3590 520 |
3900 530 |
4250 540 |
4830 560 |
5130 570 |
6270 610 |
8080 670 |
9330 720 |
10950 780 |
12700 840 |
14250 890 |
|
|
20 |
3410 500 |
3710 510 |
4050 520 |
4650 540 |
5060 550 |
5390 560 |
6640 600 |
8710 660 |
10080 710 |
11550 760 |
13440 820 |
15130 870 |
|
|
500 |
12 |
3470 640 |
3720 650 |
4000 660 |
4480 680 |
5000 700 |
5270 710 |
6270 750 |
8260 830 |
9710 900 |
11290 970 |
12970 1040 |
14510 1100 |
|
14 |
3760 630 |
3860 630 |
4360 650 |
4730 660 |
5510 690 |
5820 700 |
6980 740 |
9180 810 |
10590 870 |
12370 940 |
13990 1000 |
16020 1070 |
|
|
16 |
3990 620 |
4300 630 |
4660 640 |
5070 650 |
5730 670 |
6300 690 |
7370 720 |
9980 790 |
11550 850 |
13540 920 |
15360 980 |
16970 1030 |
|
|
18 |
4160 610 |
4510 620 |
4900 630 |
5590 650 |
6080 660 |
6710 680 |
7910 710 |
10950 780 |
12400 830 |
14250 890 |
16240 950 |
18360 1010 |
|
|
20 |
4530 610 |
4860 610 |
5090 620 |
5830 640 |
6640 660 |
7060 670 |
8370 700 |
10840 760 |
13440 820 |
15480 880 |
17290 930 |
19600 990 |
|
|
600 |
12 |
4170 740 |
4470 750 |
4820 760 |
5400 780 |
6030 800 |
6560 820 |
7800 860 |
10600 940 |
12240 1010 |
13990 1080 |
15860 1150 |
17860 1220 |
|
14 |
4520 730 |
4860 740 |
5250 750 |
5910 770 |
6640 790 |
7020 800 |
8430 840 |
11120 920 |
13440 980 |
15430 1050 |
18560 1120 |
19490 1180 |
|
|
16 |
4800 720 |
5170 730 |
5610 740 |
6350 760 |
7160 780 |
7390 790 |
9180 830 |
11950 900 |
14740 960 |
16970 1030 |
19000 1090 |
21150 1150 |
|
|
18 |
5010 710 |
5420 720 |
5900 730 |
6720 750 |
7610 770 |
8080 780 |
9840 820 |
12610 880 |
15900 940 |
18360 1010 |
20600 1070 |
22570 1120 |
|
|
20 |
5440 710 |
5610 710 |
6420 730 |
7020 740 |
7990 760 |
8510 770 |
10430 810 |
13480 870 |
17290 930 |
19600 990 |
22050 1050 |
24200 1100 |
|
В табл. 1 приведены предельные усилия на базы для центрально и внецентренно сжатых колонн из двутавров по ГОСТ 26020-83 в зависимости от высоты двутавров, ширины полок, эксцентриситета сечения траверс и катеты сварных швов, прикрепляющих траверсы к колонне, предельные усилия на фундаментные болты, определенные по несущей способности траверс, и предельные усилия на базу колонн при комбинации усилий в опорном сечении для расчета фундаментных болтов в зависимости от предельных усилий на фундаментные болты.
Материал опорных плит при их толщине до 25 мм - сталь марки ВСт3пс6 по ГОСТ 380-71, при толщине свыше 25 мм - сталь марки 09Г2С-6 по ГОСТ 19282-73.
Толщина опорных плит при подборе сечений принимается с учетом припуска на строжку, что должно быть оговорено в чертежах марки КМ.
Напряжение смятия бетона фундамента под опорной плитой приняты равными 10,5 МПа.
Материал траверс - сталь марки 09Г2С-6 по ГОСТ 19282-73.
Приварка траверс полуавтоматической сваркой в среде углекислого газа (Rurun = 490 МПа, Rurf = 215 МПа).
Расчет траверс производился при расчетном усилии Nn соответствующем е = 0.
Расчет опорных плит производился, исходя из определения максимальных вылетов консолей и изгибающие моменты в плите превышали их несущую способность, из работы плиты исключались заштрихованные участки на черт. 1.

Черт. 1. База колонн из двутавров по ГОСТ 26020-83 с траверсами
Определение усилий Zа, приходящихся на анкерные болты для внецентренно сжатых сплошностенчатых колонн производилось с учетом упругой работы бетона под опорной плитой. Допускаемые усилия от растянутых фундаментных болтов Nb определены по несущей способности двух траверс.
Допускаемые изгибающие моменты на базу колонн Ма, определялись при Na = 0, Мa = Мmax, а также при Na ≠ 0 и эксцентриситете е, принимающем ряд значений от 2,5 см до 400 см.
В тех случаях, когда действительные значения усилий на анкерные болты Nb менее табличных значений или изгибающие моменты превышают табличные значения, необходим индивидуальный расчет баз колонн.
Для сквозных колонн усилие на анкерные болты равно отрывающему усилию в ветви колонны.
Сечение анкерных болтов можно определять с помощью табл. 3, а сечение анкерных плиток - по табл. 4 Приложения 3.
Требуется подобрать базу для ветви сквозной колонны. Сечение ветви колонны из двутавра 1 50Ш1 по ГОСТ 26020-83, ширина полки двутавра В = 300 мм.
Расчетное усилие в ветви колонны N = 3100 кН. Отрыв в ветви N = -830 кН.
Подбор сечения опорной плиты и траверс
По табл. 1 подбираем базу с предельным усилием Nn = 3418 кН > 3100 кН.
Размеры опорной плиты из стали марки ВСт3пс6 по ГОСТ 380-71х: L = 800 мм; В1 = 450 мм, Т1 = 25 мм.
Сечение траверсы из стали марки 09Г2С-6 по ГОСТ 19282-73: НТ = 300 мм, Т2 = 12 мм, катет сварных швов Ш = 8 мм.
Подбор сечений анкерных болтов и плиток
По табл. 3 Приложения 3 принимаем 4 фундаментных болта по ГОСТ 24379.0-80 с номинальным диаметром резьбы стали 48 мм.
Предельное усилие болтов Nb = 4,248 = 992 кН > 830 кН.
Назначаем размеры Е1 = 90 мм, Е = 60 мм.
Расчетное усилие на одну анкерную плитку N = 830/2 = 415 кН.
Изгибающий момент в анкерной плитке М = 415/2(6 + 0,6) = 1370 кН см.
По табл. 4 Приложения 3 принимаем сечение анкерной плитки 240´45 (диаметр отверстия Æ = 56 мм).
Предельный момент анкерной плитки по сечению нетто М = 1670 кН см > 1370 кН см.
Проверка сечения траверсы на усилия от анкерных болтов: исходя из несущей способности траверсы допустимые усилия на анкетные болты Nb = 2´Zа = 2´446 = 892 тc > 830 кН.
Требуется подобрать базу для внецентренно сжатой колонны постоянного сечения из двутавра 1 70Ш по ГОСТ 26020-83, В = 320 мм.
Расчетные усилия: N = 1650 кН, М = 495 кНМ, е = М/N = 30 см (комбинация для фундаментных болтов) Na = 300 кН, Мa = 390 кНМ.
Подбор сечений опорной плиты и траверс
По табл. 1 при е = 0,3 м подбираем базу с предельным усилием Nn = 1675 кН > 1650 кН.
При размерах плиты из стали марки 09Г26-6 по ГОСТ 19282-73 L = 1100 мм, B1 = 490 мм, Т1 = 30 мм и сечении траверсы из стали марки 09Г2С-6 по ГОСТ 19282-73 НТ = 400 мм, Т2 = 14 мм и катете сварных швов Ш = 12 мм.
Подбор сечений фундаментных болтов и анкерных плиток.
По табл. 1 находим значение допускаемых усилий на анкерные болты по несущей способности траверс и допускаемых изгибающих моментов, и нормальных сил:
Ма = 780 кН м, Na = 211 кН.
Т.к. табличные значения М выше, а N ниже расчетных, то расчета баз и траверс на усилия от фундаментных болтов производить не требуется. Фундаментные болты подбираем, исходя из несущей способности траверс, с усилием на одну сторону базы Nb = 772 кН.
По табл. 3 приложения 3 принимаем четыре фундаментных болта по ГОСТ 24379.0-80 по два на каждую сторону с нормальным диаметром резьбы шпильки d = 64 мм из стали марки 09Г2С-6.
Предельные усилия в анкерных болтах на каждую сторону базы
Nb = 442´2 = 884 кН > 772 кН.
задаемcя размером с = 70 мм > 64 мм.
Изгибающий момент в анкерной плите
М = 0,5´772´(7 + 0,7) = 2972 кН см.
По табл. 4 Приложения 3 принимаем сечения анкерных плиток 280´60 (диаметр отверстия 78 мм). Предельный момент анкерной плитки по сечению нетто
М = 3270 кН см > 2972 кН см.
Примечание к таблице 1: Ma, Na - максимальный изгибающий момент в колонне и соответствующая ему минимальная продольная сила при комбинации для анкерных болтов.
Zа - предельное усилие в анкерных болтах на одну сторону базы, определяемое по несущей способности траверсов.
Nn - предельное усилие на базу колонны.
СЕЧЕНИЯ И ПРЕДЕЛЬНЫЕ УСИЛИЯ НА БАЗЫ КОЛОНН
|
Геометрические размеры базы |
Вес базы |
Усилия для расчета фундаментных болтов |
Nn, кН при эксцентриситете «е», см |
Т1 |
№ профиля |
||||||||||||||||||||
|
B |
L |
В1 |
Т1 |
HТ |
Т2 |
ш |
G |
Za |
Мa |
Na |
|||||||||||||||
|
мм |
кг/м |
кН |
кН∙м |
кН |
0 |
0,25 |
0,5 |
0,75 |
10 |
20 |
30 |
40 |
50 |
60 |
70 |
80 |
мм |
||||||||
|
30Б |
140 |
500 |
260 |
20 |
200 |
10 |
6 |
49 |
207 |
103 |
- |
1325 |
1002 |
805 |
673 |
579 |
370 |
272 |
215 |
178 |
152 |
132 |
117 |
20 |
30Б |
|
270 |
22 |
10 |
6 |
52 |
207 |
107 |
29 |
1388 |
1055 |
850 |
712 |
613 |
393 |
289 |
229 |
189 |
151 |
141 |
125 |
22 |
|||||
|
30Ш |
200 |
500 |
320 |
20 |
10 |
6 |
54 |
207 |
112 |
33 |
1564 |
1165 |
928 |
772 |
660 |
418 |
306 |
241 |
199 |
170 |
148 |
131 |
20 |
30Ш |
|
|
500 |
330 |
22 |
200 |
10 |
6 |
57 |
207 |
117 |
69 |
1634 |
1224 |
979 |
815 |
699 |
444 |
326 |
257 |
212 |
151 |
158 |
140 |
22 |
|||
|
500 |
350 |
25 |
10 |
7 |
63 |
207 |
126 |
140 |
1763 |
1332 |
1071 |
895 |
769 |
492 |
362 |
286 |
236 |
201 |
176 |
156 |
25 |
||||
|
800 |
370 |
28 |
10 |
8 |
69 |
207 |
134 |
223 |
1901 |
1448 |
1169 |
980 |
844 |
542 |
400 |
316 |
262 |
223 |
195 |
172 |
28 |
||||
|
500 |
380 |
30 |
10 |
8 |
73 |
207 |
138 |
276 |
1980 |
1512 |
1223 |
1027 |
885 |
570 |
420 |
333 |
276 |
235 |
205 |
182 |
30 |
||||
|
500 |
390 |
32 |
10 |
8 |
78 |
207 |
144 |
289 |
2056 |
1574 |
1276 |
1072 |
925 |
596 |
440 |
349 |
289 |
246 |
215 |
191 |
32 |
||||
|
500 |
410 |
36 |
12 |
10 |
92 |
248 |
162 |
231 |
2169 |
1669 |
1356 |
1162 |
986 |
638 |
472 |
374 |
310 |
285 |
231 |
205 |
36 |
||||
|
600 |
430 |
40 |
200 |
12 |
12 |
102 |
248 |
168 |
280 |
2292 |
1763 |
1433 |
1207 |
1042 |
674 |
498 |
395 |
327 |
280 |
244 |
216 |
40 |
|||
|
600 |
320 |
20 |
200 |
10 |
7 |
62 |
165 |
132 |
221 |
1785 |
1378 |
1122 |
947 |
818 |
531 |
393 |
312 |
259 |
221 |
193 |
191 |
20 |
|||
|
600 |
330 |
22 |
200 |
10 |
7 |
66 |
165 |
138 |
277 |
1875 |
1455 |
1189 |
1005 |
870 |
567 |
420 |
334 |
277 |
237 |
207 |
183 |
22 |
|||
|
600 |
350 |
25 |
200 |
10 |
8 |
73 |
165 |
150 |
375 |
2039 |
1596 |
1311 |
1113 |
966 |
633 |
471 |
375 |
311 |
256 |
232 |
206 |
25 |
|||
|
600 |
370 |
28 |
200 |
10 |
12 |
80 |
165 |
168 |
420 |
2220 |
1751 |
1445 |
1230 |
1071 |
706 |
526 |
420 |
349 |
299 |
261 |
232 |
28 |
|||
|
600 |
380 |
30 |
200 |
12 |
12 |
92 |
198 |
178 |
445 |
2324 |
1839 |
1522 |
1298 |
1131 |
748 |
558 |
445 |
371 |
317 |
277 |
246 |
30 |
|||
|
600 |
390 |
32 |
200 |
12 |
12 |
97 |
198 |
188 |
470 |
2425 |
1925 |
1596 |
1363 |
1190 |
788 |
589 |
470 |
392 |
335 |
293 |
260 |
32 |
|||
|
30К |
300 |
500 |
420 |
20 |
200 |
10 |
5 |
62 |
207 |
123 |
112 |
1763 |
1320 |
1055 |
879 |
753 |
479 |
351 |
277 |
229 |
195 |
170 |
150 |
20 |
30К |
|
500 |
430 |
22 |
200 |
10 |
5 |
66 |
207 |
129 |
162 |
1885 |
1414 |
1131 |
963 |
808 |
514 |
377 |
298 |
246 |
209 |
182 |
162 |
22 |
|||
|
500 |
450 |
25 |
200 |
10 |
7 |
73 |
207 |
140 |
280 |
2193 |
1635 |
1303 |
1084 |
927 |
588 |
430 |
339 |
280 |
239 |
208 |
184 |
25 |
|||
|
500 |
470 |
28 |
200 |
12 |
7 |
86 |
248 |
162 |
231 |
2353 |
1772 |
1422 |
1187 |
1018 |
650 |
477 |
377 |
312 |
256 |
231 |
205 |
28 |
|||
|
500 |
480 |
30 |
200 |
12 |
8 |
91 |
248 |
168 |
280 |
2442 |
1848 |
1486 |
1243 |
1068 |
684 |
503 |
398 |
329 |
280 |
244 |
216 |
30 |
|||
|
500 |
490 |
32 |
200 |
12 |
8 |
96 |
248 |
173 |
345 |
2528 |
1921 |
1549 |
1298 |
1116 |
716 |
527 |
417 |
345 |
294 |
257 |
227 |
32 |
|||
|
500 |
510 |
36 |
200 |
12 |
8 |
106 |
248 |
179 |
447 |
2655 |
2029 |
1642 |
1379 |
1188 |
765 |
565 |
447 |
370 |
316 |
275 |
244 |
36 |
|||
|
500 |
530 |
40 |
250 |
12 |
8 |
127 |
387 |
221 |
138 |
2807 |
2155 |
1749 |
1472 |
1270 |
821 |
607 |
481 |
398 |
340 |
297 |
263 |
40 |
|||
|
600 |
420 |
20 |
200 |
10 |
6 |
71 |
165 |
142 |
284 |
1984 |
1526 |
1240 |
1005 |
902 |
584 |
?32 |
342 |
284 |
242 |
211 |
187 |
20 |
|||
|
600 |
430 |
22 |
200 |
10 |
6 |
76 |
185 |
148 |
369 |
2126 |
1638 |
1333 |
1123 |
971 |
629 |
465 |
369 |
306 |
261 |
225 |
202 |
22 |
|||
|
600 |
450 |
25 |
200 |
10 |
8 |
85 |
165 |
169 |
422 |
2470 |
1895 |
1538 |
1294 |
1116 |
721 |
533 |
422 |
350 |
299 |
260 |
231 |
25 |
|||
|
600 |
470 |
28 |
200 |
12 |
8 |
100 |
198 |
189 |
473 |
2671 |
2071 |
1690 |
1428 |
1236 |
804 |
596 |
473 |
393 |
335 |
293 |
260 |
28 |
|||
|
600 |
480 |
30 |
200 |
12 |
10 |
106 |
198 |
201 |
503 |
2786 |
2170 |
1772 |
1504 |
1304 |
851 |
632 |
503 |
417 |
356 |
311 |
276 |
30 |
|||
|
600 |
490 |
32 |
200 |
12 |
12 |
112 |
198 |
200 |
667 |
2898 |
2266 |
1861 |
1578 |
1370 |
897 |
607 |
531 |
441 |
377 |
329 |
292 |
32 |
|||
|
600 |
510 |
36 |
250 |
12 |
10 |
134 |
310 |
244 |
407 |
3060 |
2407 |
1983 |
1687 |
1467 |
965 |
719 |
573 |
476 |
407 |
356 |
316 |
36 |
|||
|
600 |
530 |
40 |
250 |
12 |
12 |
148 |
310 |
259 |
519 |
3262 |
2580 |
2134 |
1819 |
1585 |
1047 |
782 |
824 |
519 |
444 |
388 |
345 |
40 |
|||
|
30К |
300 |
700 |
420 |
20 |
200 |
12 |
7 |
88 |
165 |
176 |
351 |
2205 |
1745 |
1443 |
1230 |
1072 |
708 |
529 |
422 |
351 |
300 |
263 |
233 |
20 |
30К |
|
700 |
430 |
22 |
200 |
12 |
7 |
94 |
165 |
182 |
456 |
2366 |
1875 |
1553 |
1325 |
1155 |
764 |
571 |
456 |
379 |
325 |
284 |
252 |
22 |
|||
|
700 |
450 |
25 |
200 |
12 |
10 |
103 |
165 |
209 |
523 |
2746 |
2169 |
1793 |
1528 |
1331 |
878 |
655 |
523 |
435 |
372 |
325 |
289 |
25 |
|||
|
700 |
470 |
28 |
250 |
12 |
10 |
124 |
258 |
252 |
421 |
2990 |
2383 |
1981 |
1695 |
1481 |
985 |
737 |
589 |
491 |
421 |
363 |
327 |
28 |
|||
|
700 |
480 |
30 |
250 |
12 |
10 |
132 |
258 |
262 |
523 |
3130 |
2506 |
2089 |
1792 |
1568 |
1046 |
785 |
628 |
523 |
449 |
393 |
349 |
30 |
|||
|
700 |
490 |
32 |
300 |
12 |
8 |
149 |
372 |
306 |
278 |
3267 |
2626 |
2196 |
1886 |
1653 |
1107 |
832 |
666 |
555 |
476 |
417 |
371 |
32 |
|||
|
700 |
510 |
36 |
300 |
12 |
10 |
164 |
372 |
326 |
362 |
3466 |
2800 |
2349 |
2023 |
1776 |
1194 |
899 |
721 |
602 |
517 |
452 |
402 |
36 |
|||
|
700 |
530 |
40 |
300 |
14 |
12 |
190 |
434 |
363 |
363 |
3716 |
3019 |
2542 |
2195 |
1931 |
1304 |
985 |
791 |
661 |
568 |
497 |
443 |
40 |
|||
|
600 |
420 |
20 |
250 |
12 |
7 |
110 |
221 |
230 |
287 |
2427 |
1968 |
1656 |
1429 |
1257 |
848 |
640 |
514 |
429 |
368 |
323 |
287 |
20 |
|||
|
800 |
430 |
22 |
250 |
12 |
7 |
117 |
221 |
244 |
349 |
2607 |
2118 |
1783 |
1560 |
1355 |
915 |
691 |
555 |
464 |
398 |
349 |
311 |
22 |
|||
|
800 |
450 |
25 |
250 |
12 |
10 |
127 |
221 |
274 |
457 |
3023 |
2450 |
2060 |
1777 |
1562 |
1053 |
794 |
638 |
533 |
457 |
401 |
356 |
25 |
|||
|
800 |
470 |
28 |
300 |
12 |
10 |
151 |
319 |
328 |
365 |
3309 |
2703 |
2285 |
1978 |
1745 |
1185 |
897 |
722 |
604 |
519 |
455 |
405 |
28 |
|||
|
800 |
480 |
30 |
300 |
12 |
10 |
159 |
319 |
341 |
487 |
3474 |
2849 |
2415 |
2096 |
1851 |
1261 |
957 |
771 |
645 |
555 |
487 |
433 |
30 |
|||
|
800 |
490 |
32 |
300 |
14 |
12 |
179 |
372 |
375 |
416 |
3637 |
2993 |
2543 |
2211 |
1955 |
1337 |
1016 |
819 |
686 |
590 |
518 |
462 |
32 |
|||
|
800 |
510 |
36 |
300 |
16 |
12 |
206 |
425 |
412 |
412 |
3872 |
3201 |
2728 |
2377 |
2106 |
1446 |
1101 |
889 |
745 |
642 |
563 |
502 |
36 |
|||
|
35Б |
155 |
500 |
280 |
20 |
200 |
10 |
6 |
50 |
235 |
112 |
- |
1421 |
1078 |
868 |
727 |
625 |
401 |
295 |
233 |
193 |
164 |
143 |
127 |
20 |
35Б |
|
500 |
280 |
22 |
200 |
10 |
6 |
53 |
236 |
118 |
- |
1482 |
1128 |
911 |
764 |
658 |
423 |
311 |
246 |
204 |
174 |
152 |
134 |
22 |
|||
|
500 |
300 |
25 |
200 |
10 |
7 |
58 |
236 |
127 |
34 |
1592 |
1219 |
987 |
830 |
715 |
461 |
341 |
270 |
223 |
191 |
166 |
147 |
25 |
|||
|
600 |
280 |
20 |
200 |
10 |
7 |
58 |
184 |
135 |
150 |
1642 |
1287 |
1059 |
899 |
781 |
512 |
381 |
304 |
252 |
216 |
188 |
167 |
28 |
|||
|
35Ш |
250 |
500 |
370 |
20 |
200 |
10 |
5 |
58 |
236 |
131 |
60 |
1710 |
1300 |
1049 |
879 |
757 |
486 |
358 |
283 |
234 |
200 |
174 |
154 |
20 |
35Ш |
|
500 |
380 |
22 |
200 |
10 |
6 |
61 |
236 |
138 |
115 |
1921 |
1447 |
1160 |
969 |
831 |
530 |
389 |
308 |
254 |
217 |
189 |
167 |
22 |
|||
|
500 |
400 |
25 |
200 |
12 |
7 |
73 |
283 |
157 |
71 |
2051 |
1558 |
1257 |
1053 |
906 |
581 |
428 |
339 |
280 |
239 |
205 |
185 |
25 |
|||
|
500 |
420 |
28 |
200 |
12 |
7 |
80 |
283 |
167 |
139 |
2189 |
1676 |
1357 |
1140 |
983 |
634 |
468 |
371 |
307 |
262 |
228 |
203 |
28 |
|||
|
500 |
430 |
30 |
200 |
12 |
8 |
85 |
283 |
171 |
190 |
2267 |
1740 |
1411 |
1187 |
1025 |
662 |
489 |
388 |
321 |
274 |
239 |
212 |
30 |
|||
|
500 |
440 |
32 |
250 |
10 |
7 |
91 |
369 |
191 |
32 |
2341 |
1801 |
1463 |
1232 |
1064 |
689 |
509 |
404 |
334 |
286 |
249 |
221 |
32 |
|||
|
500 |
460 |
36 |
250 |
12 |
7 |
108 |
443 |
203 |
- |
2432 |
1871 |
1520 |
1280 |
1105 |
715 |
529 |
419 |
347 |
297 |
259 |
229 |
36 |
|||
|
500 |
480 |
40 |
250 |
12 |
8 |
119 |
443 |
213 |
- |
1555 |
1965 |
1597 |
1345 |
1161 |
751 |
555 |
441 |
365 |
312 |
272 |
241 |
40 |
|||
|
600 |
370 |
20 |
200 |
10 |
6 |
67 |
184 |
148 |
246 |
1932 |
1502 |
1229 |
1040 |
901 |
588 |
436 |
347 |
288 |
246 |
215 |
190 |
20 |
|||
|
600 |
380 |
22 |
200 |
10 |
7 |
71 |
184 |
156 |
313 |
2161 |
1668 |
1358 |
1146 |
991 |
643 |
475 |
377 |
313 |
267 |
233 |
207 |
22 |
|||
|
600 |
400 |
25 |
200 |
12 |
8 |
85 |
220 |
179 |
298 |
2327 |
1815 |
1485 |
1257 |
1090 |
712 |
529 |
420 |
349 |
298 |
260 |
231 |
25 |
|||
|
600 |
420 |
28 |
200 |
12 |
10 |
93 |
220 |
194 |
388 |
2508 |
1969 |
1621 |
1378 |
1198 |
787 |
586 |
467 |
388 |
332 |
290 |
257 |
28 |
|||
|
600 |
430 |
30 |
200 |
12 |
12 |
99 |
220 |
197 |
493 |
2611 |
2058 |
1698 |
1445 |
1258 |
829 |
618 |
493 |
410 |
350 |
306 |
272 |
30 |
|||
|
600 |
440 |
32 |
250 |
10 |
8 |
106 |
287 |
226 |
322 |
2711 |
2144 |
1773 |
1511 |
1317 |
870 |
649 |
518 |
431 |
369 |
322 |
286 |
32 |
|||
|
600 |
460 |
36 |
250 |
12 |
10 |
126 |
344 |
251 |
351 |
2854 |
2266 |
1879 |
1605 |
1400 |
928 |
694 |
554 |
461 |
395 |
345 |
307 |
36 |
|||
|
600 |
480 |
40 |
250 |
12 |
12 |
139 |
344 |
261 |
373 |
3032 |
2416 |
2009 |
1719 |
1502 |
998 |
747 |
597 |
497 |
426 |
373 |
331 |
40 |
|||
|
35Ш |
250 |
700 |
370 |
20 |
200 |
10 |
7 |
76 |
150 |
170 |
425 |
2153 |
1717 |
1427 |
1222 |
1068 |
710 |
532 |
425 |
354 |
303 |
265 |
236 |
20 |
35Ш |
|
700 |
380 |
22 |
200 |
10 |
8 |
81 |
150 |
185 |
463 |
2401 |
1903 |
1576 |
1345 |
1173 |
776 |
580 |
463 |
385 |
330 |
288 |
256 |
22 |
|||
|
700 |
400 |
25 |
200 |
12 |
12 |
97 |
180 |
208 |
519 |
2603 |
2081 |
1734 |
1485 |
1299 |
866 |
649 |
519 |
433 |
371 |
324 |
288 |
25 |
|||
|
700 |
420 |
28 |
200 |
12 |
12 |
106 |
180 |
233 |
582 |
2826 |
2277 |
1906 |
1640 |
1438 |
965 |
726 |
582 |
485 |
416 |
364 |
324 |
28 |
|||
|
700 |
430 |
30 |
250 |
12 |
12 |
123 |
282 |
265 |
442 |
2955 |
2389 |
2006 |
1728 |
1518 |
1021 |
770 |
617 |
515 |
442 |
385 |
345 |
30 |
|||
|
700 |
440 |
32 |
250 |
12 |
12 |
130 |
282 |
281 |
468 |
3081 |
2499 |
2103 |
1815 |
1596 |
1077 |
813 |
653 |
545 |
468 |
410 |
365 |
32 |
|||
|
700 |
460 |
36 |
250 |
12 |
12 |
143 |
282 |
294 |
588 |
3260 |
2656 |
2241 |
1938 |
1707 |
1156 |
874 |
703 |
588 |
505 |
442 |
394 |
36 |
|||
|
35К |
350 |
500 |
470 |
20 |
200 |
10 |
5 |
66 |
236 |
145 |
181 |
1926 |
1479 |
1201 |
1011 |
873 |
564 |
417 |
330 |
274 |
234 |
204 |
181 |
20 |
35Ш |
|
500 |
480 |
22 |
200 |
10 |
5 |
70 |
236 |
153 |
219 |
2063 |
1586 |
1288 |
1084 |
936 |
606 |
447 |
355 |
294 |
251 |
219 |
194 |
22 |
|||
|
500 |
500 |
25 |
200 |
12 |
6 |
83 |
283 |
176 |
219 |
2311 |
1780 |
1447 |
1219 |
1053 |
682 |
504 |
400 |
331 |
283 |
247 |
219 |
25 |
|||
|
500 |
520 |
28 |
280 |
12 |
6 |
100 |
443 |
217 |
- |
2693 |
2056 |
1663 |
1396 |
1202 |
774 |
571 |
452 |
374 |
319 |
278 |
247 |
28 |
|||
|
500 |
530 |
30 |
250 |
12 |
7 |
105 |
443 |
228 |
- |
2781 |
2132 |
1728 |
1453 |
1254 |
809 |
597 |
473 |
392 |
335 |
292 |
259 |
30 |
|||
|
500 |
540 |
32 |
250 |
12 |
7 |
111 |
443 |
234 |
63 |
2866 |
2205 |
1792 |
1509 |
1303 |
843 |
623 |
494 |
409 |
350 |
305 |
270 |
32 |
|||
|
500 |
560 |
36 |
250 |
12 |
7 |
122 |
443 |
240 |
75 |
2957 |
2275 |
1848 |
1556 |
1344 |
870 |
643 |
510 |
422 |
361 |
315 |
279 |
36 |
|||
|
500 |
580 |
40 |
300 |
12 |
7 |
143 |
638 |
257 |
- |
3080 |
2369 |
1925 |
1621 |
1400 |
906 |
670 |
531 |
440 |
376 |
328 |
291 |
40 |
|||
|
600 |
470 |
20 |
200 |
10 |
5 |
76 |
184 |
161 |
321 |
2147 |
1672 |
1369 |
1159 |
1005 |
656 |
487 |
387 |
321 |
275 |
240 |
213 |
20 |
|||
|
600 |
480 |
22 |
200 |
10 |
6 |
82 |
184 |
167 |
417 |
2304 |
1796 |
1471 |
1246 |
1031 |
706 |
524 |
417 |
346 |
296 |
258 |
229 |
22 |
|||
|
600 |
500 |
25 |
200 |
12 |
7 |
97 |
220 |
196 |
392 |
2588 |
2022 |
1639 |
1407 |
1221 |
799 |
594 |
472 |
392 |
335 |
293 |
260 |
25 |
|||
|
600 |
520 |
28 |
250 |
12 |
7 |
116 |
344 |
242 |
220 |
3012 |
2339 |
1911 |
1616 |
1400 |
912 |
676 |
537 |
446 |
351 |
332 |
295 |
28 |
|||
|
600 |
530 |
30 |
250 |
12 |
8 |
123 |
344 |
252 |
280 |
3125 |
2438 |
1999 |
1693 |
1469 |
960 |
713 |
567 |
471 |
402 |
351 |
312 |
30 |
|||
|
600 |
540 |
32 |
250 |
12 |
8 |
129 |
344 |
263 |
328 |
3236 |
2535 |
2083 |
1768 |
1536 |
1007 |
749 |
596 |
495 |
424 |
370 |
328 |
32 |
|||
|
600 |
560 |
36 |
250 |
12 |
10 |
143 |
344 |
274 |
456 |
3400 |
2679 |
2211 |
1881 |
1638 |
1079 |
804 |
641 |
533 |
456 |
398 |
354 |
36 |
|||
|
600 |
580 |
40 |
300 |
12 |
8 |
167 |
496 |
327 |
172 |
3899 |
2852 |
2362 |
2015 |
1757 |
1162 |
868 |
693 |
577 |
494 |
432 |
384 |
40 |
|||
|
700 |
470 |
20 |
200 |
10 |
6 |
87 |
150 |
184 |
461 |
2369 |
1882 |
1561 |
1333 |
1164 |
772 |
577 |
461 |
384 |
329 |
287 |
255 |
20 |
|||
|
700 |
480 |
22 |
200 |
10 |
7 |
93 |
150 |
199 |
497 |
2544 |
2024 |
1688 |
1436 |
1254 |
832 |
622 |
497 |
414 |
355 |
310 |
276 |
22 |
|||
|
700 |
500 |
25 |
200 |
12 |
8 |
110 |
180 |
226 |
565 |
2864 |
2284 |
1899 |
1625 |
1420 |
944 |
707 |
565 |
471 |
409 |
353 |
314 |
25 |
|||
|
700 |
520 |
28 |
250 |
12 |
8 |
132 |
282 |
276 |
460 |
3330 |
2644 |
2192 |
1872 |
1633 |
1082 |
809 |
646 |
538 |
460 |
403 |
358 |
28 |
|||
|
700 |
530 |
30 |
250 |
12 |
10 |
140 |
282 |
285 |
571 |
3469 |
2767 |
2301 |
1969 |
1721 |
1145 |
857 |
685 |
571 |
489 |
428 |
380 |
30 |
|||
|
700 |
540 |
32 |
250 |
12 |
12 |
148 |
282 |
302 |
604 |
3606 |
2887 |
2408 |
2065 |
1807 |
1206 |
905 |
724 |
604 |
517 |
453 |
402 |
32 |
|||
|
700 |
560 |
36 |
250 |
12 |
12 |
163 |
282 |
313 |
782 |
3606 |
3065 |
2565 |
2206 |
1935 |
1297 |
976 |
782 |
652 |
659 |
490 |
436 |
36 |
|||
|
700 |
580 |
40 |
300 |
12 |
12 |
191 |
406 |
375 |
536 |
4054 |
3284 |
2759 |
2379 |
2091 |
1409 |
1062 |
853 |
712 |
611 |
536 |
476 |
40 |
|||
|
35К |
350 |
800 |
470 |
20 |
200 |
12 |
7 |
103 |
153 |
219 |
548 |
2590 |
2101 |
1767 |
1525 |
1341 |
905 |
683 |
548 |
458 |
393 |
345 |
307 |
20 |
35Ш |
|
800 |
480 |
22 |
200 |
12 |
8 |
112 |
153 |
237 |
592 |
2785 |
2261 |
1904 |
1644 |
1446 |
977 |
737 |
392 |
495 |
425 |
372 |
331 |
22 |
|||
|
800 |
500 |
26 |
250 |
12 |
8 |
135 |
238 |
291 |
485 |
3141 |
2657 |
2186 |
1864 |
1641 |
1111 |
840 |
675 |
564 |
485 |
425 |
378 |
25 |
|||
|
800 |
520 |
28 |
250 |
12 |
12 |
148 |
233 |
323 |
646 |
3649 |
2961 |
2491 |
2130 |
1891 |
1275 |
963 |
774 |
646 |
555 |
486 |
433 |
28 |
|||
|
800 |
530 |
30 |
300 |
12 |
10 |
168 |
343 |
369 |
462 |
3813 |
3108 |
2623 |
2269 |
1999 |
1354 |
1024 |
823 |
688 |
592 |
519 |
462 |
30 |
|||
|
800 |
540 |
32 |
300 |
12 |
12 |
178 |
343 |
385 |
550 |
3975 |
3282 |
2752 |
2385 |
2105 |
1431 |
1084 |
833 |
730 |
628 |
550 |
490 |
32 |
|||
|
800 |
560 |
36 |
300 |
14 |
12 |
206 |
401 |
426 |
532 |
4211 |
3463 |
2941 |
2555 |
2289 |
1543 |
1172 |
945 |
791 |
651 |
597 |
532 |
36 |
|||
|
800 |
580 |
40 |
300 |
16 |
14 |
238 |
458 |
468 |
585 |
4509 |
3728 |
3178 |
2769 |
2453 |
1685 |
1283 |
1036 |
869 |
748 |
657 |
585 |
40 |
|||
|
40Б |
165 |
500 |
290 |
20 |
200 |
10 |
6 |
51 |
276 |
123 |
- |
1508 |
1154 |
935 |
786 |
678 |
437 |
322 |
255 |
212 |
181 |
157 |
140 |
20 |
40Ш |
|
500 |
290 |
22 |
200 |
10 |
6 |
54 |
276 |
129 |
- |
1565 |
1201 |
975 |
820 |
708 |
437 |
338 |
268 |
222 |
189 |
165 |
146 |
22 |
|||
|
500 |
310 |
25 |
200 |
12 |
7 |
65 |
331 |
139 |
- |
1662 |
1279 |
1039 |
875 |
735 |
469 |
361 |
287 |
237 |
203 |
177 |
157 |
25 |
|||
|
600 |
330 |
28 |
200 |
12 |
8 |
71 |
531 |
147 |
- |
1768 |
1360 |
1105 |
930 |
804 |
520 |
384 |
305 |
253 |
216 |
188 |
167 |
28 |
|||
|
600 |
340 |
30 |
200 |
12 |
8 |
75 |
331 |
153 |
- |
1831 |
1409 |
1145 |
964 |
832 |
539 |
398 |
316 |
282 |
223 |
195 |
173 |
30 |
|||
|
40Б |
300 |
600 |
420 |
20 |
200 |
10 |
6 |
71 |
207 |
169 |
282 |
2095 |
1652 |
1364 |
1161 |
1011 |
666 |
497 |
396 |
329 |
282 |
246 |
219 |
20 |
40Ш |
|
600 |
430 |
22 |
200 |
12 |
6 |
83 |
248 |
188 |
235 |
2246 |
1772 |
1483 |
1246 |
1085 |
715 |
533 |
425 |
354 |
303 |
264 |
235 |
22 |
|||
|
600 |
450 |
25 |
250 |
12 |
7 |
100 |
387 |
233 |
63 |
2667 |
2085 |
1711 |
1451 |
1260 |
825 |
613 |
488 |
405 |
366 |
302 |
268 |
25 |
|||
|
600 |
470 |
28 |
250 |
12 |
7 |
109 |
387 |
253 |
121 |
2848 |
2344 |
1851 |
1575 |
1371 |
903 |
673 |
536 |
446 |
381 |
333 |
296 |
28 |
|||
|
600 |
480 |
30 |
250 |
12 |
8 |
115 |
387 |
262 |
174 |
2950 |
2332 |
1928 |
1643 |
1432 |
945 |
705 |
563 |
458 |
401 |
350 |
311 |
30 |
|||
|
600 |
490 |
32 |
300 |
12 |
7 |
131 |
558 |
292 |
- |
3049 |
2417 |
2002 |
1709 |
1491 |
986 |
737 |
568 |
490 |
419 |
367 |
326 |
32 |
|||
|
600 |
510 |
36 |
300 |
12 |
8 |
144 |
558 |
312 |
- |
3195 |
2443 |
2112 |
1806 |
1578 |
1048 |
784 |
627 |
522 |
447 |
391 |
347 |
36 |
|||
|
600 |
530 |
40 |
300 |
12 |
8 |
158 |
558 |
326 |
88 |
3370 |
2693 |
2242 |
1921 |
1680 |
1119 |
839 |
671 |
559 |
479 |
419 |
372 |
40 |
|||
|
700 |
420 |
20 |
200 |
10 |
7 |
81 |
165 |
187 |
468 |
2316 |
1857 |
1550 |
1330 |
1165 |
778 |
584 |
468 |
390 |
334 |
293 |
260 |
20 |
|||
|
700 |
430 |
22 |
200 |
12 |
7 |
94 |
198 |
210 |
420 |
2486 |
1995 |
1660 |
1430 |
1253 |
837 |
629 |
503 |
420 |
380 |
315 |
280 |
22 |
|||
|
700 |
450 |
25 |
250 |
12 |
8 |
114 |
310 |
263 |
263 |
2944 |
2345 |
1949 |
1667 |
1456 |
968 |
724 |
879 |
482 |
413 |
361 |
321 |
25 |
|||
|
700 |
470 |
28 |
250 |
12 |
10 |
124 |
310 |
282 |
403 |
3197 |
2543 |
2125 |
1824 |
1599 |
1069 |
803 |
643 |
536 |
480 |
403 |
358 |
28 |
|||
|
700 |
480 |
30 |
250 |
12 |
10 |
132 |
310 |
298 |
426 |
3294 |
2655 |
2224 |
1914 |
1679 |
1127 |
846 |
680 |
567 |
456 |
426 |
379 |
30 |
|||
|
700 |
490 |
32 |
300 |
12 |
8 |
149 |
446 |
343 |
180 |
3419 |
2765 |
2322 |
2001 |
1758 |
1163 |
891 |
715 |
597 |
512 |
449 |
399 |
32 |
|||
|
700 |
510 |
36 |
300 |
12 |
10 |
164 |
446 |
360 |
277 |
3599 |
2925 |
2463 |
2127 |
1872 |
1265 |
955 |
767 |
641 |
551 |
483 |
429 |
36 |
|||
|
700 |
530 |
40 |
300 |
12 |
12 |
180 |
446 |
382 |
382 |
3825 |
3122 |
2637 |
228З |
2012 |
1365 |
1033 |
831 |
695 |
597 |
524 |
466 |
40 |
|||
|
40К |
300 |
800 |
420 |
20 |
200 |
12 |
8 |
99 |
165 |
231 |
463 |
2537 |
2073 |
1752 |
1517 |
1338 |
909 |
688 |
553 |
463 |
398 |
349 |
311 |
20 |
40К |
|
800 |
430 |
22 |
200 |
12 |
8 |
105 |
165 |
239 |
597 |
2727 |
2229 |
1886 |
1634 |
1441 |
979 |
742 |
597 |
499 |
429 |
376 |
335 |
22 |
|||
|
800 |
450 |
25 |
250 |
12 |
10 |
127 |
258 |
296 |
493 |
3220 |
2617 |
2205 |
1904 |
1676 |
1133 |
856 |
687 |
574 |
493 |
432 |
385 |
25 |
|||
|
800 |
470 |
28 |
250 |
12 |
12 |
139 |
258 |
322 |
644 |
3485 |
2855 |
2418 |
2097 |
1851 |
1260 |
955 |
769 |
644 |
553 |
485 |
432 |
28 |
|||
|
800 |
480 |
30 |
250 |
12 |
12 |
148 |
258 |
342 |
683 |
3638 |
2991 |
2540 |
2207 |
1951 |
1333 |
1012 |
816 |
683 |
538 |
516 |
460 |
30 |
|||
|
800 |
490 |
32 |
300 |
12 |
12 |
167 |
372 |
389 |
487 |
3788 |
3125 |
2660 |
2315 |
2050 |
1405 |
1069 |
862 |
723 |
622 |
546 |
487 |
32 |
|||
|
800 |
510 |
36 |
300 |
12 |
12 |
184 |
372 |
413 |
590 |
4005 |
3319 |
2833 |
2472 |
2192 |
1509 |
1150 |
930 |
780 |
672 |
590 |
526 |
36 |
|||
|
800 |
530 |
40 |
300 |
14 |
14 |
214 |
434 |
468 |
575 |
4280 |
3563 |
3052 |
2669 |
2371 |
1640 |
1253 |
1014 |
852 |
734 |
645 |
575 |
40 |
|||
|
40К |
400 |
600 |
520 |
20 |
200 |
10 |
5 |
81 |
207 |
186 |
372 |
2310 |
1833 |
1519 |
1297 |
1131 |
749 |
560 |
447 |
372 |
318 |
278 |
247 |
20 |
40К |
|
600 |
530 |
22 |
200 |
12 |
6 |
93 |
248 |
206 |
343 |
2482 |
1970 |
1633 |
1394 |
1217 |
806 |
602 |
481 |
400 |
343 |
300 |
266 |
22 |
|||
|
600 |
550 |
25 |
200 |
12 |
6 |
103 |
248 |
218 |
544 |
2794 |
2221 |
1842 |
1574 |
1374 |
911 |
682 |
544 |
453 |
388 |
339 |
302 |
25 |
|||
|
600 |
570 |
28 |
250 |
12 |
6 |
122 |
387 |
272 |
277 |
3125 |
2486 |
2063 |
1764 |
1540 |
1022 |
734 |
611 |
508 |
435 |
381 |
338 |
28 |
|||
|
600 |
580 |
30 |
250 |
12 |
7 |
130 |
387 |
282 |
358 |
3307 |
2631 |
2184 |
1867 |
1630 |
1081 |
809 |
646 |
538 |
481 |
403 |
358 |
30 |
|||
|
600 |
590 |
32 |
300 |
12 |
7 |
146 |
558 |
332 |
90 |
3627 |
2863 |
2366 |
2015 |
1755 |
1158 |
864 |
689 |
573 |
490 |
429 |
381 |
32 |
|||
|
600 |
610 |
36 |
300 |
14 |
8 |
170 |
651 |
366 |
- |
3792 |
3012 |
2498 |
2134 |
1862 |
1234 |
923 |
737 |
613 |
525 |
459 |
408 |
36 |
|||
|
600 |
630 |
40 |
300 |
14 |
8 |
186 |
651 |
385 |
104 |
3990 |
3185 |
2650 |
2269 |
1984 |
1321 |
990 |
791 |
659 |
565 |
494 |
439 |
40 |
|||
|
700 |
520 |
20 |
200 |
10 |
6 |
92 |
165 |
205 |
512 |
2532 |
2031 |
1696 |
1456 |
1275 |
852 |
640 |
512 |
427 |
366 |
321 |
285 |
20 |
|||
|
700 |
530 |
22 |
200 |
12 |
6 |
106 |
198 |
221 |
552 |
2722 |
2186 |
1826 |
1568 |
1374 |
918 |
690 |
552 |
461 |
395 |
346 |
307 |
22 |
|||
|
700 |
550 |
25 |
200 |
12 |
7 |
117 |
198 |
251 |
627 |
3071 |
2470 |
2065 |
1775 |
1556 |
1042 |
783 |
627 |
523 |
449 |
393 |
349 |
25 |
|||
|
700 |
570 |
28 |
250 |
12 |
7 |
140 |
310 |
304 |
507 |
3444 |
2774 |
2322 |
1997 |
1752 |
1175 |
884 |
708 |
591 |
507 |
444 |
395 |
28 |
|||
|
700 |
580 |
30 |
250 |
12 |
8 |
148 |
310 |
314 |
628 |
3651 |
2943 |
2465 |
2121 |
1861 |
1249 |
940 |
753 |
628 |
339 |
472 |
420 |
30 |
|||
|
700 |
590 |
32 |
300 |
12 |
8 |
167 |
446 |
369 |
336 |
3996 |
3203 |
2672 |
2293 |
2007 |
1340 |
1006 |
805 |
671 |
575 |
504 |
448 |
32 |
|||
|
700 |
610 |
36 |
300 |
14 |
10 |
194 |
521 |
408 |
272 |
4198 |
3384 |
2834 |
2438 |
2140 |
1436 |
1080 |
866 |
723 |
620 |
543 |
483 |
36 |
|||
|
700 |
630 |
40 |
300 |
14 |
12 |
212 |
521 |
434 |
394 |
4445 |
3603 |
3030 |
2614 |
2298 |
1550 |
1169 |
939 |
784 |
673 |
590 |
525 |
40 |
|||
|
800 |
520 |
20 |
200 |
12 |
7 |
111 |
165 |
237 |
594 |
2753 |
2243 |
1893 |
1637 |
1442 |
977 |
738 |
594 |
496 |
426 |
374 |
333 |
20 |
|||
|
800 |
530 |
22 |
200 |
12 |
7 |
119 |
165 |
256 |
641 |
2962 |
2616 |
2039 |
1764 |
1555 |
1054 |
797 |
641 |
536 |
461 |
404 |
359 |
22 |
|||
|
800 |
550 |
25 |
200 |
12 |
8 |
132 |
165 |
272 |
907 |
3347 |
2734 |
2039 |
2001 |
1765 |
1198 |
907 |
730 |
610 |
525 |
460 |
410 |
25 |
|||
|
800 |
570 |
28 |
250 |
12 |
8 |
157 |
258 |
346 |
692 |
3762 |
3079 |
2606 |
2259 |
1994 |
1356 |
1028 |
827 |
692 |
595 |
522 |
465 |
28 |
|||
|
800 |
580 |
30 |
250 |
12 |
10 |
167 |
258 |
353 |
883 |
3996 |
3274 |
2773 |
2405 |
2123 |
1446 |
1096 |
883 |
739 |
635 |
557 |
496 |
30 |
|||
|
800 |
580 |
32 |
300 |
12 |
12 |
188 |
372 |
412 |
596 |
4366 |
3561 |
3007 |
2602 |
2293 |
1555 |
1176 |
946 |
791 |
680 |
596 |
530 |
32 |
|||
|
800 |
610 |
36 |
300 |
14 |
12 |
218 |
434 |
459 |
574 |
4603 |
3775 |
3200 |
2776 |
2452 |
1671 |
1267 |
1021 |
855 |
735 |
645 |
574 |
36 |
|||
|
800 |
630 |
40 |
300 |
14 |
12 |
239 |
434 |
494 |
705 |
4899 |
4041 |
3439 |
2993 |
2649 |
1815 |
1381 |
1114 |
934 |
803 |
705 |
628 |
40 |
|||
|
45Б |
180 |
500 |
300 |
20 |
200 |
12 |
6 |
58 |
397 |
134 |
- |
1603 |
1233 |
1002 |
844 |
729 |
472 |
349 |
276 |
229 |
196 |
171 |
151 |
20 |
45Б |
|
500 |
310 |
22 |
200 |
12 |
6 |
41 |
397 |
138 |
- |
1651 |
1270 |
1032 |
869 |
750 |
486 |
359 |
285 |
236 |
201 |
176 |
156 |
22 |
|||
|
500 |
330 |
25 |
200 |
12 |
7 |
66 |
397 |
145 |
- |
1741 |
1339 |
1088 |
916 |
791 |
512 |
379 |
300 |
249 |
212 |
185 |
164 |
25 |
|||
|
500 |
350 |
28 |
250 |
12 |
6 |
81 |
620 |
154 |
- |
1846 |
1420 |
1154 |
972 |
839 |
543 |
401 |
318 |
264 |
225 |
196 |
174 |
28 |
|||
|
500 |
360 |
30 |
250 |
12 |
7 |
85 |
620 |
159 |
- |
1910 |
1469 |
1194 |
1005 |
868 |
562 |
415 |
329 |
273 |
233 |
203 |
180 |
30 |
|||
|
500 |
370 |
32 |
250 |
12 |
7 |
90 |
620 |
164 |
- |
1974 |
1518 |
1234 |
1039 |
897 |
581 |
429 |
340 |
282 |
241 |
210 |
186 |
32 |
|||
|
50Б |
200 |
600 |
320 |
20 |
250 |
12 |
6 |
78 |
517 |
198 |
- |
2026 |
1613 |
1340 |
1146 |
1001 |
665 |
498 |
398 |
331 |
284 |
248 |
221 |
20 |
50Б |
|
600 |
330 |
22 |
250 |
12 |
6 |
82 |
517 |
207 |
- |
2096 |
1673 |
1393 |
1192 |
1043 |
694 |
520 |
416 |
346 |
297 |
260 |
231 |
22 |
|||
|
600 |
350 |
25 |
250 |
12 |
7 |
89 |
517 |
222 |
- |
2215 |
1772 |
1477 |
1266 |
1108 |
738 |
554 |
443 |
369 |
316 |
277 |
246 |
25 |
|||
|
600 |
370 |
28 |
250 |
12 |
8 |
96 |
517 |
234 |
- |
2342 |
1875 |
1561 |
1338 |
1171 |
781 |
585 |
468 |
390 |
335 |
293 |
260 |
28 |
|||
|
600 |
380 |
30 |
300 |
12 |
7 |
111 |
744 |
242 |
- |
2418 |
1935 |
1612 |
1382 |
1209 |
806 |
605 |
484 |
403 |
365 |
302 |
269 |
30 |
|||
|
600 |
390 |
32 |
300 |
12 |
7 |
116 |
744 |
249 |
- |
2495 |
1996 |
1663 |
1426 |
1247 |
832 |
624 |
499 |
416 |
356 |
312 |
277 |
32 |
|||
|
50Ш |
300 |
600 |
490 |
32 |
300 |
14 |
7 |
141 |
868 |
312 |
- |
3125 |
2500 |
2083 |
1786 |
1562 |
1042 |
781 |
625 |
521 |
446 |
391 |
347 |
32 |
50Б |
|
600 |
510 |
36 |
300 |
14 |
8 |
153 |
868 |
323 |
- |
3233 |
2587 |
2156 |
1868 |
1617 |
1078 |
808 |
647 |
539 |
462 |
404 |
359 |
36 |
|||
|
600 |
530 |
40 |
300 |
16 |
8 |
176 |
992 |
338 |
- |
3381 |
2705 |
2254 |
1932 |
1690 |
1127 |
845 |
676 |
563 |
483 |
423 |
378 |
40 |
|||
|
800 |
420 |
20 |
200 |
12 |
8 |
99 |
198 |
255 |
509 |
2648 |
2188 |
1865 |
1624 |
1439 |
988 |
752 |
607 |
509 |
438 |
385 |
343 |
20 |
|||
|
800 |
430 |
22 |
250 |
12 |
7 |
117 |
310 |
303 |
303 |
2847 |
2355 |
2005 |
1767 |
1547 |
1063 |
809 |
653 |
548 |
471 |
414 |
369 |
22 |
|||
|
800 |
450 |
25 |
300 |
12 |
8 |
139 |
446 |
373 |
133 |
3418 |
2802 |
2374 |
2059 |
1818 |
1238 |
939 |
756 |
633 |
544 |
477 |
425 |
25 |
|||
|
800 |
470 |
28 |
300 |
12 |
10 |
151 |
446 |
402 |
251 |
5662 |
3021 |
2572 |
2238 |
1982 |
1358 |
1033 |
834 |
692 |
602 |
528 |
470 |
28 |
|||
|
800 |
480 |
30 |
300 |
14 |
12 |
170 |
521 |
437 |
162 |
3803 |
3147 |
2684 |
2340 |
2074 |
1426 |
1087 |
878 |
736 |
634 |
557 |
496 |
30 |
|||
|
800 |
490 |
32 |
300 |
14 |
12 |
179 |
521 |
453 |
227 |
3939 |
3270 |
2794 |
2440 |
2165 |
1493 |
1139 |
921 |
773 |
666 |
585 |
521 |
32 |
|||
|
800 |
510 |
36 |
300 |
14 |
12 |
195 |
521 |
474 |
339 |
4138 |
3447 |
2954 |
2584 |
2297 |
1590 |
1215 |
984 |
826 |
712 |
626 |
558 |
36 |
|||
|
800 |
530 |
40 |
300 |
16 |
14 |
225 |
595 |
523 |
290 |
4388 |
3669 |
3152 |
2763 |
2460 |
1709 |
1309 |
1061 |
892 |
769 |
676 |
603 |
40 |
|||
|
900 |
420 |
20 |
200 |
12 |
10 |
109 |
165 |
279 |
698 |
2869 |
2402 |
2066 |
1812 |
1614 |
1123 |
861 |
698 |
587 |
507 |
445 |
397 |
20 |
|||
|
900 |
430 |
22 |
250 |
12 |
8 |
129 |
258 |
336 |
480 |
3087 |
2586 |
2225 |
1952 |
1739 |
1210 |
928 |
752 |
633 |
546 |
480 |
428 |
22 |
|||
|
900 |
450 |
25 |
300 |
12 |
10 |
153 |
372 |
410 |
373 |
3695 |
3073 |
2630 |
2299 |
2042 |
1411 |
1078 |
872 |
732 |
631 |
554 |
49? |
25 |
|||
|
900 |
470 |
28 |
300 |
12 |
12 |
167 |
372 |
441 |
551 |
3981 |
3333 |
2866 |
2514 |
2239 |
1558 |
1194 |
968 |
814 |
703 |
618 |
551 |
28 |
|||
|
900 |
480 |
30 |
300 |
14 |
12 |
183 |
434 |
481 |
481 |
4146 |
3483 |
3002 |
2638 |
2353 |
1643 |
1262 |
1024 |
862 |
744 |
655 |
584 |
30 |
|||
|
900 |
490 |
32 |
300 |
14 |
12 |
198 |
434 |
501 |
557 |
4309 |
3630 |
3136 |
2760 |
2465 |
1726 |
1328 |
1079 |
909 |
785 |
691 |
617 |
32 |
|||
|
900 |
510 |
36 |
300 |
14 |
14 |
216 |
434 |
531 |
664 |
4544 |
3342 |
3328 |
2935 |
2626 |
1846 |
1424 |
1158 |
977 |
844 |
743 |
664 |
36 |
|||
|
900 |
530 |
40 |
300 |
16 |
16 |
250 |
495 |
588 |
654 |
4843 |
4112 |
3572 |
3157 |
2829 |
1998 |
1544 |
1259 |
1062 |
919 |
809 |
723 |
40 |
|||
|
1000 |
420 |
20 |
250 |
12 |
8 |
133 |
221 |
350 |
584 |
3091 |
2622 |
2272 |
2012 |
1802 |
1272 |
983 |
800 |
675 |
584 |
515 |
460 |
20 |
|||
|
1000 |
430 |
22 |
250 |
12 |
10 |
141 |
221 |
378 |
631 |
3328 |
2824 |
2453 |
2168 |
1943 |
1372 |
1060 |
864 |
729 |
631 |
555 |
496 |
22 |
|||
|
1000 |
450 |
25 |
300 |
12 |
12 |
168 |
319 |
458 |
573 |
3971 |
3350 |
2897 |
2552 |
2280 |
1599 |
1232 |
1001 |
844 |
729 |
642 |
573 |
25 |
|||
|
1000 |
470 |
28 |
300 |
12 |
12 |
183 |
319 |
430 |
516 |
4299 |
3650 |
3172 |
2804 |
2513 |
1775 |
1372 |
1118 |
944 |
816 |
719 |
643 |
28 |
|||
|
50? |
300 |
1000 |
480 |
30 |
300 |
14 |
14 |
205 |
372 |
535 |
765 |
4490 |
3825 |
3331 |
2950 |
2647 |
1877 |
1454 |
1187 |
1002 |
867 |
765 |
684 |
30 |
50Ш |
|
1000 |
490 |
32 |
300 |
14 |
16 |
217 |
372 |
567 |
809 |
4679 |
3996 |
3488 |
3094 |
2780 |
1978 |
1535 |
1254 |
1060 |
919 |
809 |
724 |
32 |
|||
|
1000 |
510 |
36 |
300 |
16 |
16 |
251 |
425 |
612 |
874 |
4950 |
4243 |
3713 |
3301 |
2971 |
2122 |
1651 |
1351 |
1143 |
981 |
874 |
782 |
36 |
|||
|
1000 |
530 |
40 |
400 |
18 |
16 |
274 |
587 |
717 |
652 |
5298 |
4560 |
4002 |
3566 |
3215 |
2308 |
1800 |
1475 |
1250 |
1084 |
957 |
857 |
40 |
|||
|
60Б |
230 |
700 |
350 |
20 |
300 |
12 |
6 |
101 |
744 |
294 |
- |
2582 |
2118 |
1795 |
1557 |
1376 |
938 |
711 |
573 |
479 |
412 |
362 |
322 |
20 |
|
|
700 |
360 |
22 |
300 |
12 |
7 |
106 |
744 |
308 |
- |
2665 |
2190 |
1859 |
1615 |
1428 |
975 |
740 |
597 |
500 |
430 |
377 |
336 |
22 |
|||
|
700 |
370 |
25 |
300 |
14 |
7 |
125 |
868 |
327 |
- |
2805 |
2310 |
1964 |
1707 |
1510 |
1033 |
785 |
633 |
531 |
457 |
401 |
357 |
25 |
|||
|
700 |
400 |
28 |
300 |
14 |
8 |
134 |
866 |
344 |
- |
2953 |
2432 |
2067 |
1797 |
1590 |
1088 |
827 |
667 |
559 |
481 |
422 |
376 |
28 |
|||
|
700 |
410 |
30 |
300 |
16 |
8 |
151 |
992 |
355 |
- |
3042 |
2505 |
2129 |
1852 |
1638 |
1121 |
852 |
687 |
675 |
495 |
435 |
387 |
30 |
|||
|
700 |
420 |
32 |
300 |
16 |
8 |
158 |
992 |
365 |
- |
3131 |
2578 |
2192 |
1906 |
1666 |
1154 |
877 |
707 |
592 |
510 |
447 |
398 |
32 |
|||
|
700 |
440 |
36 |
300 |
16 |
10 |
171 |
992 |
380 |
- |
3258 |
2683 |
2280 |
1983 |
1754 |
1200 |
912 |
736 |
616 |
530 |
465 |
415 |
36 |
|||
|
700 |
460 |
40 |
300 |
16 |
12 |
185 |
992 |
400 |
- |
3430 |
2825 |
2401 |
2088 |
1847 |
1264 |
960 |
774 |
649 |
558 |
490 |
437 |
40 |
|||
|
800 |
350 |
20 |
300 |
12 |
7 |
112 |
556 |
336 |
- |
2803 |
2319 |
1977 |
1723 |
1527 |
1050 |
799 |
646 |
541 |
466 |
409 |
365 |
20 |
|||
|
800 |
360 |
22 |
300 |
12 |
7 |
118 |
556 |
354 |
- |
2905 |
2410 |
2060 |
1798 |
1595 |
1100 |
339 |
678 |
569 |
490 |
431 |
384 |
22 |
|||
|
800 |
380 |
25 |
300 |
12 |
8 |
128 |
558 |
388 |
- |
3094 |
2579 |
2211 |
1935 |
1720 |
1192 |
911 |
738 |
620 |
534 |
470 |
419 |
25 |
|||
|
800 |
400 |
28 |
300 |
14 |
10 |
150 |
651 |
423 |
- |
3302 |
2763 |
2376 |
2084 |
1855 |
1290 |
989 |
802 |
674 |
581 |
511 |
456 |
28 |
|||
|
800 |
410 |
30 |
300 |
14 |
12 |
157 |
651 |
443 |
- |
3422 |
2869 |
2469 |
2167 |
1931 |
1345 |
1032 |
837 |
704 |
608 |
534 |
477 |
30 |
|||
|
800 |
420 |
32 |
300 |
14 |
12 |
165 |
651 |
483 |
- |
3539 |
2971 |
2560 |
2249 |
2005 |
1399 |
1074 |
872 |
733 |
633 |
557 |
497 |
32 |
|||
|
800 |
440 |
36 |
300 |
16 |
12 |
191 |
744 |
490 |
- |
3705 |
3116 |
2688 |
2364 |
2109 |
1474 |
1133 |
920 |
774 |
689 |
588 |
525 |
36 |
|||
|
800 |
460 |
40 |
300 |
16 |
14 |
208 |
744 |
523 |
- |
3920 |
3301 |
2851 |
2509 |
2240 |
1568 |
1206 |
980 |
825 |
713 |
627 |
560 |
40 |
|||
|
900 |
350 |
20 |
300 |
12 |
8 |
124 |
446 |
374 |
101 |
3024 |
2530 |
2175 |
1907 |
1698 |
1180 |
905 |
733 |
617 |
532 |
468 |
417 |
20 |
|||
|
900 |
360 |
22 |
300 |
12 |
8 |
130 |
446 |
397 |
107 |
3145 |
2640 |
2275 |
1999 |
1762 |
1243 |
955 |
775 |
652 |
563 |
495 |
442 |
22 |
|||
|
900 |
380 |
25 |
300 |
12 |
10 |
141 |
446 |
429 |
195 |
3370 |
2844 |
2460 |
2168 |
1938 |
1359 |
1047 |
851 |
717 |
620 |
546 |
487 |
25 |
|||
|
900 |
400 |
28 |
300 |
14 |
12 |
165 |
521 |
483 |
151 |
3621 |
3070 |
2664 |
2354 |
2108 |
1487 |
1148 |
935 |
789 |
682 |
601 |
537 |
28 |
|||
|
900 |
410 |
30 |
300 |
14 |
12 |
173 |
521 |
500 |
227 |
3766 |
3200 |
2782 |
2461 |
2206 |
1560 |
1206 |
583 |
830 |
718 |
633 |
566 |
30 |
|||
|
60Ш |
320 |
700 |
440 |
20 |
300 |
12 |
5 |
111 |
744 |
331 |
- |
2581 |
2159 |
1856 |
1628 |
1449 |
1008 |
772 |
626 |
526 |
454 |
399 |
356 |
20 |
60Ш |
|
700 |
450 |
22 |
300 |
12 |
6 |
117 |
744 |
354 |
- |
2774 |
2319 |
1992 |
1746 |
1554 |
1080 |
827 |
670 |
563 |
486 |
427 |
381 |
22 |
|||
|
700 |
470 |
25 |
300 |
14 |
6 |
137 |
868 |
387 |
- |
3106 |
2587 |
2217 |
1939 |
1723 |
1192 |
912 |
738 |
620 |
534 |
469 |
419 |
25 |
|||
|
700 |
490 |
28 |
300 |
16 |
8 |
159 |
992 |
422 |
- |
3614 |
2976 |
2530 |
2200 |
1946 |
1331 |
1012 |
816 |
684 |
558 |
516 |
460 |
28 |
|||
|
60Ш |
320 |
700 |
500 |
30 |
300 |
16 |
8 |
166 |
992 |
432 |
- |
3703 |
3050 |
2592 |
2254 |
1994 |
1364 |
1037 |
836 |
701 |
603 |
529 |
471 |
30 |
60Ш |
|
700 |
510 |
32 |
300 |
16 |
8 |
174 |
992 |
442 |
- |
3792 |
3123 |
2655 |
2308 |
2042 |
1397 |
1062 |
856 |
717 |
617 |
542 |
483 |
32 |
|||
|
700 |
530 |
35 |
400 |
14 |
7 |
202 |
1343 |
457 |
- |
3919 |
3228 |
2743 |
2386 |
2110 |
1444 |
1097 |
885 |
741 |
638 |
560 |
499 |
36 |
|||
|
700 |
550 |
40 |
400 |
14 |
8 |
219 |
1343 |
472 |
- |
4091 |
3369 |
2864 |
2490 |
2203 |
1507 |
1146 |
924 |
774 |
666 |
584 |
521 |
40 |
|||
|
800 |
440 |
20 |
250 |
12 |
7 |
112 |
387 |
341 |
201 |
3802 |
2355 |
2028 |
1782 |
1589 |
1109 |
852 |
692 |
582 |
502 |
442 |
394 |
23 |
|||
|
800 |
450 |
22 |
300 |
12 |
6 |
131 |
558 |
394 |
- |
3014 |
2530 |
2180 |
1915 |
1708 |
1191 |
915 |
742 |
625 |
539 |
474 |
423 |
22 |
|||
|
800 |
470 |
25 |
300 |
12 |
7 |
142 |
558 |
428 |
116 |
3404 |
2855 |
2459 |
2159 |
1925 |
1342 |
1030 |
835 |
703 |
607 |
534 |
476 |
25 |
|||
|
800 |
490 |
28 |
300 |
16 |
10 |
177 |
744 |
500 |
- |
3992 |
3328 |
2853 |
2497 |
2220 |
1537 |
1176 |
952 |
800 |
689 |
606 |
540 |
28 |
|||
|
800 |
500 |
30 |
300 |
16 |
12 |
185 |
744 |
523 |
- |
4121 |
3443 |
2957 |
2591 |
2305 |
1600 |
1225 |
993 |
834 |
720 |
633 |
564 |
30 |
|||
|
800 |
510 |
32 |
300 |
16 |
12 |
194 |
744 |
546 |
- |
4248 |
3556 |
3058 |
2682 |
2388 |
1661 |
1273 |
1032 |
868 |
749 |
659 |
588 |
32 |
|||
|
800 |
530 |
36 |
400 |
14 |
8 |
226 |
1157 |
579 |
- |
4433 |
3721 |
3206 |
2817 |
2511 |
1752 |
1345 |
1092 |
919 |
793 |
697 |
623 |
36 |
|||
|
800 |
550 |
40 |
400 |
14 |
10 |
245 |
1157 |
618 |
4663 |
3923 |
3385 |
2978 |
2658 |
1859 |
1429 |
1161 |
977 |
844 |
743 |
663 |
40 |
||||
|
900 |
440 |
20 |
250 |
12 |
7 |
124 |
310 |
360 |
400 |
3033 |
2558 |
2217 |
1956 |
1750 |
1231 |
950 |
773 |
652 |
563 |
496 |
443 |
20 |
|||
|
900 |
450 |
22 |
300 |
12 |
7 |
144 |
446 |
424 |
169 |
3255 |
2753 |
2386 |
2105 |
1883 |
1325 |
1022 |
832 |
701 |
605 |
534 |
477 |
22 |
|||
|
900 |
470 |
25 |
300 |
12 |
8 |
157 |
446 |
460 |
328 |
3680 |
3113 |
2697 |
2379 |
2128 |
1497 |
1155 |
940 |
792 |
685 |
603 |
539 |
25 |
|||
|
900 |
490 |
28 |
300 |
16 |
12 |
195 |
595 |
550 |
167 |
4311 |
3628 |
3132 |
2755 |
2459 |
1720 |
1323 |
1075 |
905 |
781 |
687 |
614 |
28 |
|||
|
900 |
500 |
30 |
300 |
16 |
12 |
205 |
595 |
570 |
248 |
4465 |
5768 |
3259 |
2871 |
2566 |
1800 |
1387 |
1127 |
950 |
821 |
722 |
645 |
30 |
|||
|
900 |
510 |
32 |
300 |
16 |
12 |
215 |
595 |
589 |
327 |
4618 |
3906 |
3384 |
2985 |
2671 |
1879 |
1449 |
1179 |
994 |
859 |
757 |
676 |
32 |
|||
|
900 |
530 |
36 |
400 |
14 |
12 |
250 |
926 |
678 |
- |
4839 |
4106 |
3566 |
3152 |
2824 |
1994 |
1541 |
1255 |
1059 |
916 |
807 |
721 |
36 |
|||
|
900 |
550 |
40 |
400 |
14 |
12 |
272 |
926 |
732 |
- |
5118 |
4357 |
3793 |
3358 |
3013 |
2135 |
1653 |
1349 |
1139 |
986 |
869 |
777 |
40 |
|||
|
1000 |
440 |
20 |
250 |
12 |
8 |
156 |
258 |
392 |
560 |
3245 |
2770 |
2417 |
2144 |
1926 |
1369 |
1062 |
868 |
733 |
635 |
560 |
501 |
20 |
|||
|
1000 |
450 |
22 |
300 |
12 |
8 |
158 |
372 |
456 |
379 |
3495 |
2984 |
2604 |
2310 |
2075 |
1476 |
1145 |
935 |
790 |
654 |
604 |
540 |
22 |
|||
|
1000 |
470 |
25 |
300 |
12 |
10 |
172 |
372 |
498 |
553 |
3957 |
3380 |
2949 |
2616 |
2351 |
1672 |
1297 |
1060 |
896 |
776 |
684 |
612 |
25 |
|||
|
1000 |
490 |
28 |
300 |
16 |
12 |
214 |
496 |
594 |
457 |
4629 |
3938 |
3420 |
3032 |
2719 |
1925 |
1490 |
1215 |
1026 |
888 |
782 |
699 |
28 |
|||
|
1000 |
500 |
30 |
300 |
16 |
14 |
224 |
496 |
617 |
561 |
4809 |
4103 |
3578 |
3171 |
2848 |
2023 |
1569 |
1281 |
1082 |
937 |
826 |
739 |
30 |
|||
|
1000 |
510 |
32 |
300 |
16 |
16 |
235 |
496 |
642 |
642 |
4987 |
4266 |
3726 |
3308 |
2975 |
2119 |
1646 |
1345 |
1138 |
986 |
869 |
778 |
32 |
|||
|
1000 |
530 |
36 |
400 |
14 |
12 |
274 |
772 |
762 |
206 |
5244 |
4501 |
3942 |
3506 |
3158 |
2259 |
1758 |
1439 |
1218 |
1056 |
932 |
834 |
36 |
|||
|
1000 |
550 |
40 |
400 |
14 |
14 |
298 |
772 |
814 |
326 |
5573 |
4800 |
4215 |
3757 |
3389 |
2435 |
1900 |
1558 |
1320 |
1145 |
1011 |
905 |
40 |
|||
|
702 |
260 |
800 |
380 |
20 |
300 |
16 |
6 |
139 |
992 |
389 |
- |
2783 |
2361 |
2049 |
1811 |
1622 |
1144 |
884 |
720 |
608 |
525 |
463 |
414 |
20 |
|
|
800 |
390 |
22 |
300 |
14 |
8 |
154 |
868 |
435 |
- |
3296 |
2771 |
2390 |
2102 |
1875 |
1310 |
1007 |
818 |
688 |
594 |
523 |
467 |
22 |
|||
|
800 |
410 |
25 |
300 |
16 |
8 |
155 |
992 |
461 |
- |
3458 |
2912 |
2515 |
2213 |
1976 |
1383 |
1064 |
864 |
728 |
629 |
553 |
494 |
25 |
|||
|
800 |
430 |
28 |
300 |
16 |
10 |
165 |
992 |
484 |
- |
3626 |
3054 |
2637 |
2321 |
2072 |
1451 |
1116 |
907 |
763 |
659 |
580 |
518 |
28 |
|||
|
800 |
440 |
30 |
400 |
14 |
7 |
189 |
1343 |
497 |
- |
3728 |
3140 |
2711 |
2386 |
2130 |
1491 |
1147 |
932 |
785 |
578 |
597 |
533 |
30 |
|||
|
800 |
450 |
32 |
400 |
14 |
8 |
197 |
1343 |
511 |
- |
3830 |
3225 |
2786 |
2451 |
2189 |
1532 |
1179 |
958 |
806 |
696 |
613 |
547 |
32 |
|||
|
800 |
470 |
36 |
400 |
14 |
8 |
212 |
1343 |
530 |
- |
3975 |
3347 |
2891 |
2544 |
2271 |
1590 |
1223 |
994 |
837 |
723 |
636 |
568 |
36 |
|||
|
800 |
490 |
40 |
400 |
16 |
10 |
245 |
1534 |
556 |
- |
4172 |
3513 |
3034 |
2670 |
2384 |
1669 |
1284 |
1043 |
878 |
759 |
667 |
596 |
40 |
|||
|
1000 |
380 |
20 |
300 |
12 |
8 |
140 |
446 |
466 |
166 |
3226 |
2771 |
2428 |
2161 |
1947 |
1394 |
1086 |
889 |
753 |
653 |
576 |
516 |
20 |
|||
|
1000 |
390 |
22 |
300 |
16 |
12 |
174 |
595 |
543 |
- |
3777 |
3218 |
2803 |
2483 |
2228 |
1580 |
1224 |
999 |
844 |
731 |
644 |
576 |
22 |
|||
|
1000 |
410 |
25 |
300 |
16 |
12 |
186 |
595 |
576 |
156 |
4026 |
3447 |
3013 |
2676 |
2407 |
1717 |
1334 |
1091 |
923 |
800 |
705 |
631 |
25 |
|||
|
1000 |
430 |
28 |
300 |
16 |
14 |
200 |
595 |
624 |
231 |
4304 |
3700 |
3245 |
2889 |
2604 |
1867 |
1455 |
1192 |
1009 |
875 |
773 |
692 |
28 |
|||
|
1000 |
440 |
30 |
400 |
14 |
12 |
228 |
926 |
694 |
- |
4465 |
3846 |
3378 |
3012 |
2717 |
1953 |
1524 |
1249 |
1059 |
919 |
811 |
726 |
30 |
|||
|
1000 |
450 |
32 |
400 |
14 |
12 |
238 |
926 |
728 |
- |
4624 |
3990 |
3509 |
3132 |
2827 |
2036 |
1591 |
1305 |
1107 |
961 |
849 |
760 |
32 |
|||
|
1000 |
470 |
36 |
400 |
14 |
12 |
257 |
926 |
776 |
- |
4850 |
4195 |
3696 |
3303 |
2985 |
2156 |
1687 |
1386 |
1178 |
1021 |
903 |
809 |
36 |
|||
|
70Ш |
320 |
800 |
440 |
20 |
300 |
16 |
8 |
146 |
992 |
426 |
- |
2913 |
2487 |
2171 |
1925 |
1730 |
1230 |
955 |
780 |
659 |
571 |
503 |
450 |
20 |
70Ш |
|
800 |
450 |
22 |
300 |
16 |
6 |
153 |
992 |
456 |
- |
3135 |
2675 |
2332 |
2068 |
1857 |
1319 |
1023 |
836 |
705 |
611 |
539 |
482 |
22 |
|||
|
800 |
470 |
25 |
300 |
14 |
7 |
153 |
868 |
501 |
- |
3520 |
2994 |
2604 |
2305 |
2067 |
1463 |
1132 |
923 |
779 |
674 |
594 |
531 |
25 |
|||
|
800 |
490 |
28 |
400 |
14 |
7 |
192 |
1343 |
551 |
- |
4130 |
3478 |
3004 |
2643 |
2360 |
1652 |
1271 |
1033 |
870 |
751 |
661 |
590 |
28 |
|||
|
800 |
500 |
30 |
400 |
14 |
8 |
200 |
1343 |
564 |
- |
4232 |
3564 |
3078 |
2709 |
2418 |
1693 |
1302 |
1058 |
891 |
770 |
677 |
605 |
30 |
|||
|
800 |
510 |
32 |
400 |
14 |
8 |
209 |
1343 |
578 |
- |
4334 |
3650 |
3152 |
2774 |
2477 |
1734 |
1334 |
1084 |
912 |
7?8 |
693 |
619 |
32 |
|||
|
800 |
530 |
36 |
400 |
16 |
8 |
241 |
1534 |
597 |
- |
4479 |
3772 |
3258 |
2867 |
2559 |
1792 |
1378 |
1120 |
943 |
814 |
717 |
640 |
36 |
|||
|
800 |
550 |
40 |
400 |
16 |
10 |
260 |
1534 |
623 |
- |
4676 |
3938 |
3401 |
2993 |
2672 |
1870 |
1439 |
1169 |
984 |
850 |
748 |
668 |
40 |
|||
|
1000 |
440 |
20 |
300 |
12 |
7 |
149 |
446 |
485 |
231 |
3355 |
2890 |
2538 |
2262 |
2041 |
1466 |
1144 |
938 |
795 |
690 |
609 |
545 |
20 |
|||
|
1000 |
450 |
22 |
300 |
14 |
8 |
171 |
521 |
534 |
167 |
3615 |
3113 |
2733 |
2436 |
2197 |
1578 |
1231 |
1009 |
855 |
742 |
655 |
587 |
22 |
|||
|
1000 |
470 |
25 |
300 |
16 |
10 |
198 |
595 |
606 |
173 |
4095 |
3524 |
3093 |
2756 |
2486 |
1784 |
1392 |
1141 |
966 |
838 |
740 |
663 |
25 |
|||
|
1000 |
490 |
28 |
400 |
14 |
10 |
231 |
926 |
719 |
- |
4827 |
4133 |
3614 |
3211 |
2889 |
2061 |
1602 |
1310 |
1108 |
960 |
847 |
758 |
28 |
|||
|
1000 |
500 |
30 |
400 |
14 |
12 |
242 |
926 |
756 |
- |
4994 |
4287 |
3755 |
3340 |
3008 |
2152 |
1675 |
1371 |
1161 |
1006 |
888 |
795 |
30 |
|||
|
70Ш |
320 |
1000 |
510 |
32 |
400 |
14 |
12 |
253 |
926 |
792 |
- |
5159 |
4437 |
3892 |
3466 |
3125 |
2241 |
1747 |
1431 |
1212 |
1051 |
928 |
831 |
32 |
70Ш |
|
1000 |
530 |
36 |
400 |
16 |
12 |
291 |
1058 |
845 |
- |
5399 |
4655 |
4092 |
3650 |
3295 |
2371 |
1852 |
1519 |
1288 |
1117 |
987 |
884 |
36 |
|||
|
1000 |
550 |
40 |
400 |
16 |
14 |
315 |
1068 |
910 |
- |
5702 |
4930 |
4342 |
3880 |
3506 |
2531 |
1981 |
1627 |
1380 |
1198 |
1059 |
949 |
40 |
|||
|
1100 |
440 |
20 |
300 |
12 |
8 |
162 |
372 |
514 |
429 |
3577 |
3102 |
2739 |
2451 |
2219 |
1608 |
1261 |
1037 |
881 |
766 |
677 |
607 |
20 |
|||
|
1100 |
450 |
22 |
300 |
12 |
10 |
171 |
372 |
541 |
541 |
3856 |
3344 |
2952 |
2642 |
2391 |
1733 |
1359 |
1118 |
949 |
825 |
729 |
654 |
22 |
|||
|
1100 |
470 |
25 |
300 |
14 |
12 |
201 |
434 |
613 |
613 |
4371 |
3791 |
3346 |
2995 |
2711 |
1964 |
1540 |
1267 |
1076 |
935 |
827 |
741 |
25 |
|||
|
1100 |
490 |
28 |
400 |
14 |
12 |
251 |
772 |
780 |
211 |
5145 |
4443 |
3909 |
3490 |
3152 |
2272 |
1776 |
1458 |
1236 |
1073 |
948 |
849 |
28 |
|||
|
1100 |
500 |
30 |
400 |
14 |
12 |
262 |
772 |
824 |
223 |
5339 |
4621 |
4074 |
3643 |
3294 |
2382 |
1865 |
1533 |
1301 |
1130 |
999 |
895 |
30 |
|||
|
1100 |
510 |
32 |
400 |
14 |
12 |
274 |
772 |
865 |
247 |
5529 |
4797 |
4236 |
3792 |
3433 |
2489 |
1953 |
1605 |
1364 |
1186 |
1048 |
940 |
32 |
|||
|
1100 |
530 |
36 |
400 |
16 |
14 |
316 |
882 |
930 |
250 |
5804 |
5050 |
4470 |
4009 |
3634 |
2645 |
2079 |
1713 |
1456 |
1237 |
1121 |
1005 |
36 |
|||
|
1100 |
550 |
40 |
400 |
16 |
16 |
343 |
882 |
1001 |
323 |
6157 |
5374 |
4767 |
4284 |
3889 |
2842 |
2239 |
1848 |
1572 |
1369 |
1212 |
1087 |
40 |
|||
|
1200 |
440 |
20 |
300 |
12 |
10 |
174 |
319 |
552 |
613 |
3798 |
3319 |
2947 |
2650 |
2408 |
1763 |
1390 |
1148 |
977 |
851 |
753 |
676 |
20 |
|||
|
1200 |
450 |
22 |
300 |
12 |
12 |
185 |
319 |
583 |
729 |
4096 |
3580 |
3179 |
2859 |
2597 |
1902 |
1500 |
1238 |
1054 |
918 |
813 |
729 |
22 |
|||
|
1200 |
470 |
25 |
300 |
14 |
12 |
217 |
372 |
663 |
828 |
4648 |
4063 |
3608 |
3245 |
2949 |
2159 |
1703 |
1406 |
1197 |
1043 |
923 |
828 |
25 |
|||
|
1200 |
450 |
28 |
400 |
14 |
12 |
270 |
661 |
859 |
373 |
5464 |
4759 |
4215 |
3782 |
3430 |
2500 |
1966 |
1621 |
1378 |
1199 |
1061 |
951 |
28 |
|||
|
1200 |
500 |
30 |
400 |
14 |
14 |
283 |
661 |
893 |
496 |
5683 |
4962 |
4403 |
3958 |
3594 |
2628 |
2072 |
1710 |
1455 |
1267 |
1121 |
1006 |
30 |
|||
|
1200 |
510 |
32 |
400 |
14 |
14 |
296 |
661 |
932 |
582 |
5899 |
5162 |
4589 |
4131 |
3756 |
2755 |
2175 |
1797 |
1531 |
1334 |
1181 |
1060 |
32 |
|||
|
1200 |
530 |
36 |
400 |
16 |
16 |
342 |
756 |
1019 |
536 |
6210 |
5451 |
4857 |
4380 |
3988 |
2937 |
3325 |
1924 |
1641 |
1430 |
1268 |
1138 |
36 |
|||
|
1200 |
550 |
40 |
500 |
14 |
16 |
386 |
1033 |
1161 |
314 |
6612 |
5823 |
5201 |
4700 |
4287 |
3171 |
2516 |
2086 |
1781 |
1554 |
1378 |
1238 |
40 |
|||
ЛИТЕРАТУРА
1. Стальные конструкции: СНиП II-23-81, - М., 1982, - 93 с.
2. Производственные здания промышленных предприятий. СНиП II-90-81. - М., 1982. - 14 с.
3. Нагрузки и воздействия (взамен СНиП II-6-74): СНиП 3.01.07-86. - М., 1986. - 100 с.
4. Справочник по строительной механике корабля, том 2, под ред. акад. Ю.А. Шимановского, Судпромгиз, 1958.
5. Бетонные и железобетонные конструкции: СНиП 2.03.01.84. - М., 1985. - 79 с.