СССР
ОТРАСЛЕВОЙ СТАНДАРТ
АРМАТУРА
ТРУБОПРОВОДНАЯ.
КЛАПАНЫ ЗАПОРНЫЕ.
ФОРМА И РАЗМЕРЫ ПРОТОЧНОЙ ЧАСТИ
ЛИТЫХ КОРПУСОВ
ОСТ 26-07-2043-81
УТВЕРЖДАЮЗаместитель руководителя организации п/я Г-4668 _____________ А.В. Плейкин «17» декабря 1981 г. |
ОТРАСЛЕВОЙ СТАНДАРТ
|
АРМАТУРА ТРУБОПРОВОДНАЯ. КЛАПАНЫ |
ОСТ 26-07-2043-81Взамен
|
Письмом организации от «17» декабря 1981 г. № 11-10-4/1650 срок действия установлен с «1» января 1983 г.
Несоблюдение стандарта преследуется по закону.
1. Настоящий стандарт распространяется на запорные и обратные подъемные клапаны стальные проходные на давление Ру 1,6, 2,5 и 4,0 МПа (16, 25, 40 кгс/см2), Ду от 25 до 200, сильфонные и сальниковые с любым видом уплотнения в затворе, без направления в седле, с патрубками, расположенными на одной оси, применяемые в технологических схемах для различных сред с любыми температурами.
2. Настоящий стандарт устанавливает форму и размеры проточной части литых корпусов со строительной длиной по ГОСТ 3326-86 и диаметром седла равным условному проходу, а также коэффициенты гидравлического сопротивления корпусов и зависимости коэффициентов гидравлического сопротивления от относительного хода золотника для клапанов в сборе.
3. Настоящий стандарт следует применять при новом проектировании и модернизации.
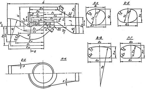
4. Проточная часть корпусов приведена на рисунке ...
5. Основные размеры проточной части корпусов должны соответствовать указанным на рисунке и в табл. 1.
6. Коэффициенты гидравлического сопротивления корпусов приведены в табл. 2.
Таблица 2
|
25 |
32 |
40 |
50 |
65 |
80 |
100 |
125 |
150 |
200 |
|
|
ζ под золотник |
5,5 |
5,9 |
5,5 |
5,1 |
5,8 |
6,2 |
6,4 |
6,2 |
6,1 |
6,0 |
7. Для сведения в приложении (черт. 1, 2, 3) приведены графики зависимостей коэффициентов гидравлического сопротивления от относительного хода золотника для клапанов в сборе ζ = f(h/Dy). Эти зависимости справедливы только для случаев протекания рабочей среды в области квадратичного сопротивления (в области автомодельности), то есть при числах Рейнольдса равных или больших 2´104 (Re ³ 2´104) и при числах Маха равных 0,3 ÷ 0,7 (M = 0,3 ÷ 0,7).
Проточная часть корпусов

Таблица 1
Размеры проточной части корпусов
мм
|
L |
H |
a |
b |
g |
D1 |
D2 |
D3 |
l1 |
l2 |
l3 |
l4 |
l5 |
l6 |
l7 |
l8 |
l9 |
l10 |
l11 |
R1 |
R2 |
R3 |
R4 |
R5 |
R6 |
R7 |
R8 |
R9 |
h1 |
h2 |
h3 |
h4 |
h5 |
h6 |
h7 |
h8 |
h9 |
h10 |
h11 |
r1 |
r2 |
r3 |
r4 |
r5 |
r6 |
r7 |
r8 |
r9 |
r10 |
r11 |
r12 |
a1 |
a2 |
a3 |
a4 |
a5 |
a6 |
a7 |
|
|
25 |
160 |
50 |
45° |
2° |
6° |
25 |
46 |
40 |
60 |
23 |
30 |
18 |
18 |
19 |
26 |
23 |
30 |
- |
- |
~ |
7 |
25 |
~ |
5 |
12,5 |
12,5 |
8 |
3 |
9 |
13 |
10 |
23 |
7 |
- |
- |
23 |
18 |
14 |
20 |
21 |
8 |
13 |
15 |
5 |
40 |
4 |
5 |
100 |
100 |
7 |
9 |
23 |
26 |
30 |
35 |
36 |
30 |
32 |
|
32 |
180 |
55 |
8° |
32 |
58 |
50 |
70 |
53 |
44 |
23 |
27 |
23 |
27 |
53 |
44 |
110 |
71 |
200 |
9 |
38 |
100 |
16 |
16 |
5 |
5 |
10 |
15 |
10 |
31 |
15 |
180 |
115 |
28 |
25 |
17 |
23 |
31 |
11 |
18 |
19 |
6 |
44 |
5 |
115 |
115 |
9 |
12 |
35 |
34 |
36 |
43 |
44 |
36 |
38 |
||||
|
40 |
200 |
60 |
6° |
40 |
70 |
52 |
80 |
16 |
30 |
24 |
26 |
28 |
33 |
16 |
30 |
120 |
86 |
220 |
9 |
36 |
200 |
6 |
20 |
20 |
10 |
4 |
12 |
14 |
10 |
34 |
8 |
1?8 |
220 |
38 |
30 |
21 |
33 |
25 |
13 |
21 |
22 |
29 |
6 |
130 |
130 |
14 |
16 |
43 |
411 |
44 |
53 |
54 |
44 |
48 |
||||
|
50 |
230 |
65 |
7° |
50 |
82 |
73 |
95 |
75 |
63 |
30 |
35 |
33 |
40 |
75 |
63 |
125 |
97 |
186 |
16 |
60 |
170 |
25 |
25 |
12 |
6 |
22 |
15 |
11 |
42 |
15 |
158 |
195 |
44 |
37 |
27 |
39 |
65 |
16 |
26 |
28 |
96 |
6 |
170 |
170 |
15 |
19 |
53 |
52 |
55 |
60 |
72 |
55 |
58 |
|||||
|
65 |
290 |
75 |
2° |
6° |
65 |
100 |
90 |
125 |
105 |
82 |
40 |
45 |
45 |
54 |
105 |
82 |
161 |
127 |
230 |
12 |
63 |
180 |
8 |
32,5 |
32,5 |
15 |
15 |
16 |
54 |
16 |
195 |
212 |
59 |
49 |
40 |
53 |
52 |
21 |
33 |
35 |
8 |
75 |
10 |
10 |
200 |
200 |
22 |
25 |
69 |
67 |
72 |
79 |
81 |
69 |
73 |
|||
|
80 |
310 |
90 |
5° |
80 |
115 |
105 |
135 |
110 |
85 |
45 |
52 |
50 |
65 |
110 |
85 |
162 |
130 |
203 |
71 |
130 |
40 |
40 |
16 |
18 |
13 |
65 |
14 |
161 |
170 |
72 |
60 |
49 |
64 |
75 |
22 |
41 |
43 |
104 |
15 |
15 |
26 |
30 |
84 |
82 |
87 |
93 |
96 |
83 |
89 |
|||||||||
|
100 |
350 |
105 |
2° |
100 |
136 |
125 |
155 |
130 |
98 |
60 |
55 |
60 |
72 |
130 |
98 |
208 |
147 |
210 |
83 |
177 |
50 |
50 |
11 |
21 |
18 |
72 |
16 |
153 |
227 |
82 |
66 |
53 |
77 |
74 |
25 |
51 |
54 |
91 |
240 |
240 |
31 |
37 |
104 |
102 |
107 |
113 |
115 |
104 |
109 |
|||||||||
|
125 |
450 |
105 |
125 |
170 |
155 |
180 |
150 |
105 |
74 |
85 |
73 |
86 |
150 |
105 |
216 |
204 |
175 |
15 |
113 |
110 |
62,5 |
62,5 |
16 |
22 |
17 |
85 |
18 |
107 |
171 |
109 |
95 |
64 |
91 |
113 |
27 |
64 |
66 |
136 |
295 |
295 |
44 |
130 |
127 |
132 |
171 |
143 |
130 |
137 |
||||||||||
|
150 |
480 |
130 |
4° |
150 |
196 |
180 |
220 |
185 |
135 |
80 |
91 |
86 |
102 |
185 |
135 |
2?5 |
243 |
256 |
12 |
122 |
230 |
75 |
75 |
20 |
8 |
17 |
23 |
102 |
13 |
178 |
305 |
135 |
114 |
80 |
116 |
128 |
33 |
77 |
80 |
10 |
157 |
340 |
340 |
41 |
60 |
156 |
152 |
160 |
166 |
168 |
155 |
161 |
||||||
|
200 |
600 |
150 |
1° |
200 |
252 |
250 |
280 |
225 |
150 |
111 |
120 |
114 |
138 |
230 |
150 |
312 |
250 |
238 |
18 |
178 |
140 |
10 |
100 |
100 |
40 |
10 |
22 |
27 |
20 |
134 |
47 |
136 |
238 |
158 |
193 |
110 |
194 |
125 |
36 |
102 |
106 |
12 |
222 |
20 |
20 |
400 |
400 |
41 |
64 |
203 |
204 |
212 |
214 |
217 |
205 |
212 |
Примечание. Размеры H* и D3* даны ориентировочно и уточняются при проектировании
Руководитель предприятия п/я Г-4745 С.И. Косых
Главный инженер М.Г. Сарайлов
Главный инженер предприятия п/я А-7899 О.Н. Шпаков
Заместитель главного инженера Ю.И. Тарасьев
Заведующие отделом 161 М.И. Власов
Заведующий отделом 153 - руководитель СКПНКА В.Н. Воронов
Заместитель заведующего отделом 153 Е.Г. Пинаева
Руководитель темы - заведующий сектором отдела 153 И.Г. Чистехина
Ответственный исполнитель - старший инженер отдела 153 Н.Е. Берова
СОГЛАСОВАНО
Старший представитель заказчика 1580 Р.П. Окользин
|
Заместитель руководителя организации п/я А-3398 ____________________ А.А. Зак «16» декабря 1981 г. |
Руководитель организации п/я А-7326 ___________________ А.М. Васильев «16» XII 1981 г. |
обязательное
![]()
Черт. 1
График зависимостей коэффициентов гидравлического сопротивления от относительного хода золотника для клапанов в сборе Dy 65, 80, 100.
![]()
Черт. 2
График зависимостей коэффициентов гидравлического сопротивления от относительного хода золотника для клапанов в сборе Dy 125, 150, 200.
![]()

Черт. 3